Проект реконструкции участка литейного цеха литья под давлением ФГУП 'НПЦ АП' – филиал 'Сосенский приборостроительный завод' с годовой программой 160 тонн отливок в год

  • Вид работы:
    Дипломная (ВКР)
  • Предмет:
    Другое
  • Язык:
    Русский
    ,
    Формат файла:
    MS Word
    1,67 Mb
  • Опубликовано:
    2012-02-18
Вы можете узнать стоимость помощи в написании студенческой работы.
Помощь в написании работы, которую точно примут!

Проект реконструкции участка литейного цеха литья под давлением ФГУП 'НПЦ АП' – филиал 'Сосенский приборостроительный завод' с годовой программой 160 тонн отливок в год














Проект реконструкции участка литейного цеха литья под давлением ФГУП “НПЦ АП” - филиал “Сосенский приборостроительный завод” с годовой программой 160 тонн отливок в год

Содержание

Аннотация

Введение

. Вводная часть и анализ задания

.1 Основание для проектирования

.2 Район и место расположения проектируемого производства

. Общая часть

.1 Производственная программа

.2 Режим работы участка

.3 Фонды времени

. Технологическая часть

.1 Характеристика сырья

.2 Составление и описание технологической схемы производства

.2.1 Плавка сплава

.2.2 Подготовка формы

.2.3 Заливка формы

.2.4 Контроль ОТК

.2.5 Исправление дефектов отливки

.2.6 Контроль ОТК.

.2.7 Транспортирование

.3 Переработка отходов

. Производственные отделения участка литья

.1 Плавильное отделение

.2 Основной участок литья под давлением

.3 Очистное отделение

. Специальная часть (литьевая машина CLPO 100/16)

. Энергетика цеха

.1 Расчёт установленной и потребляемой мощности

.2 Водопровод и канализация

. Компоновка отделений и площади цеха

.1 Планировка помещений

.2 Компоновка технологического оборудования

. Основные строительные решения

. Экономическая часть

.1 Расчет количества основных и вспомогательных рабочих

.2 Организация поставок сырья, программа производства и режим работы предприятия

.3 Стоимость оборудования

.4 Вопросы труда и заработной платы

.4.1 Расчёт фонда заработной платы рабочих

.4.2 Расчёт фонда заработной платы ИТР и МОП

.5 Расчёт заготовительных цен на сырьё, материалы и энергию, а также себестоимости продукции

.6 Расчёт амортизационных отчислений

.7 Смета расходов предприятия и на содержание и эксплуатацию оборудования

.8 Проектная калькуляция себестоимости продукции

.9 Расчет удельных капитальных вложений и производительности труда

.10 Основные технико-экономические показатели предприятия

. Охрана труда

.1 Анализ опасных и вредных производственных факторов

.2 Расчет искусственного освещения

.3 Расчет общеобменной вентиляции

.3.1 Расчёт кратности воздухообмена

.3.2 Расчёт расхода теплоты на отопление, вентиляцию, тепла выделяемого оборудованием

.4 Требования безопасности в литейном цех

.5 Противопожарные мероприятия

. Склады

. Транспорт

Заключение

Библиографический список

Аннотация

Данный дипломный проект посвящен реконструкции литейного участка по производству алюминиевых деталей входящих в изделие “компрессор” методом литья под давлением. Производительностью 160 т/год.

Расчетно-пояснительная записка состоит из следующих частей:

. Введение, посвященное целям и задачам, стоящим перед промышленностью по переработке алюминия, а также целесообразности и перспективам развития малых предприятий, как одного из основных направлений развития экономики России.

. Технологической части, посвященной обоснованию выбора и метода производства, разработки технологической схемы производства, требованиям предъявляемым качеству выпускаемой продукции, входному контролю и подготовке исходного сырья. А также технологическому оборудованию и расчету потребности в нем, организации труда, включающей в себя информацию об трудовом процессе и условиях труда, основным строительным и компоновочным решениям производственных помещений и размещении оборудования в нём, расчетам в потребности в электроэнергии, освещении , отоплении, вентиляции, водопровода и канализации.

. Части по охране среды и безопасности жизнедеятельности, посвященной рассмотрению потенциальных опасностей и вредных факторов в процессе производства, пожарной безопасности и охране окружающей среды.

. Экономической части, включающей в себя расчет основных технико-экономических показателей проектируемого предприятия.

. Заключение по проекту.

Расчетно-пояснительная записка включает 88 страниц печатного текста, 17 таблиц, 8 рисунков, 52 формулы, и 6 графических листов.

Введение

В настоящее время уровень мировой экономики и экономики отдельных стран всё в большей мере зависит от уровня развития производства и применения цветных материалов. Потребность самых различных отраслей промышленного производства в алюминии, полуфабрикатов и изделиях из них, непрерывно возрастает.

Алюминиевая промышленность является стратегически важной отраслью экономики России. Конструкционные материалы на основе алюминия широко используются в оборонной промышленности, автомобилестроении, авиации, строительстве и электротехнике, в производстве бытовых, пищевых и медицинских товаров. Алюминий - металл высоких технологий, металл будущего, на его основе создаются новые материалы и новая техника, которые радикально и благоприятно изменяют условия жизнеобеспечения человека и способствуют решению глобальных мировых проблем - энергосбережения и экологической безопасности.

Россия является крупнейшим производителем алюминия в мире (вторым после Китая) и самым крупным экспортером этого металла.

Более 80% производимого алюминия экспортируется, так как основные потребители алюминия в России до сих пор имеют уровень производства ниже “дореформенного” на 30 - 60%.

В тяжелых условиях перехода России на рыночные методы хозяйствования акционеры и менеджеры алюминиевых предприятий смогли успешно воспользоваться преимуществами разгосударствления экономики, сохранив квалифицированные кадры, рабочие места, а также лучшие традиции трудовых коллективов.

Предприятия не только не снизили, но и превзошли основные показатели производства, достигнутые в лучшие годы плановой экономики.

Объем производства алюминия вырос в 2003 году к уровню 1990 году на 19%, а к уровню 1994 года (экстремальному минимуму) - на 30%, выпуск глинозема увеличился, соответственно, на 5% и на 64%. Алюминиевый бизнес ежегодно привлекает в страну валютных ресурсов в объеме 3-4 миллиардов долларов США.

Позитивную динамику имеют и качественные показатели: материальные затраты на производство и качество выпускаемой продукции. И, что особенно важно для производства алюминия, значительно сокращен удельный расход электроэнергии (с16159 кВт·ч/т в 1990 г. до 15344 кВт·ч/т в 2003 г.).

Позитивные количественные и качественные изменения в российской алюминиевой промышленности начались в 1995 - 1997 годы. Как раз тогда, когда начали формироваться вертикально интегрированные компании.

Литейное производство - отрасль машиностроения, изготовляющая литые заготовки или детали заливкой расплавленного металла заданного химического состава в форму, полость которой имеет конфигурацию отливки. Преимущества литых деталей, в том, что их можно изготовить максимально приближающимися к заданной форме, размерам и практически любой конфигурации.

Литейное производство - один из важнейших технологических процессов в машиностроении. Ежегодно в нашей стране из чугуна, стали и сплавов цветных металлов, производится большое количество деталей, миллионы тонн литых заготовок, разнообразных по массе и размерам. Например, литьем изготавливают станины станков, коленчатые валы, рычаги, рабочие колеса насосов, лопатки газовых турбин, блоки цилиндров, корпуса подшипников и т.д.

В настоящее время литые изделия получают путем заливки металла в формы, изготовленные из песчаных смесей - обычных или жидкоподвижных самотвердеющих, а также при помощи специальных способов литья. Это литье в оболочковые формы, литье по выплавляемым моделям и др. Они являются прогрессивными, так как позволяют свести механическую обработку до минимума, а в некоторых случаях полностью ее устранить. Однако их доля в общем производстве пока не превышает 20-25 %.

Также большое количество отливок получают литьём под давлением. Не исключением является и реконструируемый участок литейного цеха.

В настоящее время на производстве назрела проблема технического переоснащения, в связи с тем, что устаревшее оборудование не справляется с задачами производства, принято решение об установке нового оборудования на имеющихся площадях и частичной автоматизации и механизации процесса изготовления деталей.

Перспективность развития производств по переработке цветных материалов заключается в высокой степени автоматизации и механизации, безотходность, расширение областей применения и номенклатуры изделий из цветных материалов.

В этих условиях от отдельных предприятий требуется концентрация усилий на производстве наиболее выгодной продукции, а также смене оборудования на современное.

В условиях рыночной экономики и современных коммерческих отношений иногда наиболее целесообразным представляется строительство малых предприятий.

Преимущества малого предприятия состоят в следующем:

малое предприятие динамичнее крупного, оно легче приспосабливается к изменяющимся условиям, оперативное отражает изменение потребительского спроса;

развитие малого предприятия существенно облегчает территориальный и отраслевой перелив рабочей силы и капитала;

малое предприятие быстрее «впитывает» новые достижения научно-технического прогресса, так как они более приспособлены для производства уникальных изделий, быстрее и дешевле перевооружаются технически, требуют меньших капиталовложений и обеспечивают их быструю окупаемость;

зачастую само создание малого предприятия реализует попытку коммерческого использования какого-либо новшества;

малое предприятие улучшает общую структуру производства, так как облегчает адаптацию «неповоротливого» крупного производства к изменяющимся условиям, к новым требованиям научно-технического прогресса, способствует развитию специализации, освобождает крупные корпорации от производства мелкосерийной продукции, занимается поиском, доработкой и освоением новых изделий, охотнее идёт на риск.

Развитие малого предпринимательства рассматривается правительствами многих стран, как важный фактор обеспечения занятости населения. Политика помощи и поддержки малых предприятий проводится и в России.

Разумеется, всё сказанное в пользу малых предприятий ни в коей мере не умаляет значения крупных предприятий, располагающих большой научно-технической базой, штатами учёных, колоссальными финансовыми средствами и мощными производственными возможностями. Будущее промышленности не в противопоставлении малых предприятий гигантам, а в разумном их сочетании.

Опираясь на вышеизложенное, можно сделать вывод, что проектируемый нами объект целесообразнее разместить по соседству с другими производственными организациями в виде малого предприятия.

Это сделает производство предприятия более рентабельным и жизнеспособным. Производство изделий из цветных металлов не может существовать без некоторых смежных производств. Например, инструментального цеха. Находящиеся в эксплуатации машины требуют постоянной и своевременной замены отдельных деталей, узлов. Работа предприятия также не возможна без систем отопления, канализации, энергоснабжения и т. п. Все эти проблемы будут решены, если разместить планируемое производство на территории предприятия, где все вышеперечисленные условия, необходимые для работы предприятия уже имеются.

Таким образом, создание малых предприятий по переработке цветных металлов - одно из основных направлений развития экономики России.

1. Вводная часть и анализ задания

.1 Основание для проектирования

Основанием для проектирования является задание на выпускную дипломную работу, утвержденное заведующим кафедры к.т.н, проф Протопоповым А.А.

1.2 Район и место расположения проектируемого производства

Проектируемое производство намечено разместить на имеющихся площадях филиала ФГУП "НПЦАП"-"СПЗ" г. Сосенский Калужской области исходя из следующих предпосылок: наличие на предприятии энергоснабжения, систем отопления, электро- и водоснабжения, наличие железнодорожной ветки, близость с другими участками заводского комплекса.

Краткая характеристика г. Сосенский :

км от МКАД

город (с 1991) в Калужской области, основан в связи с разработкой шахт в Подмосковном угольном бассейне. Первоначально посёлок назывался Шепелевский.

Город расположен на юго-востоке Калужской области, в 90 км к юго-западу от Калуги, в 12 км от Козельска, в 4 км от ближайшей железнодорожной станции.

2. Общая часть

.1 Производственная программа

Основой для проектирования является производственная программа участка. Она составлена в соответствии с заданием на дипломное проектирование, в котором предусматривается годовой выпуск литья в тоннах. Дипломное задание определяет также вид технологического процесса литье под давлением, и отрасль промышленности, к которой относится реконструируемые участки литейного цеха.

Данная производственная программа является приведенной. Она отличается от точной и условной тем, что только одна часть ее, называемая представителем программы, обеспечена чертежами и техническими условиями. Остальная часть точно определена быть не может, и ее приводят к известной части.

Условная программа задается лишь в весовом отношении без указания номенклатуры, чертежей и технических условий на отливки. Обычно такая программа относится к проектированию, участков литья для собственных нужд цеха и завода и может быть рассчитана по укрупненным показателям.

Деталь - представитель - «Шатун». Данная деталь является составной частью автокомпрессора «МУССОН». Деталь «Шатун» жестко связана с другими деталями машины. Из-за специфики работы машины деталь должна выдерживать значительные статические и динамические нагрузки.

При длительной эксплуатации данной детали происходит износ поверхностей

Автокомпрессоры "МУССОН" предназначены для накачки шин легковых автомобилей всех типов (включая внедорожники), а также шин микроавтобусов, минивэнов и грузовых автомобилей грузоподъемностью до 5 тонн ("Бычок", "Газель") с давлением в шине до 5 атм. (модель "МУССОН М1")

Технические данные:

Максимальное давление воздуха - не менее 4,5 атм

Напряжение питания (пост.ток) - 12-13,5 В

Потребляемый ток до 3,5 атм - не более 9 А

Потребляемый ток до 4,5 атм - не более 11 А

Режим работы - повторно-кратковременный (15 мин. с перерывом 20 мин.)

Температурный интервал работы - от -30°С до +40°С при влажности 98%

Время накачки колеса 170/70/R13 от 0 до 2 атм - до 140 сек

Габаритные размеры в упаковке - 210*220*110 (мм)

Длина шнура питания - 4,5м

Длина шланга - 0,8м

Масса - 1,2 кг

2.2 Режим работы участка

Работа на проектируемом предприятии планируется в три смены по 8 часов. Количество рабочих дней в году - 250. Номинальные фонды времени работы оборудования приняты по государственным нормам технологического проектирования предприятия машиностроения, приборостроения и металлообработки.

Потери времени для оборудования приняты исходя из продолжительности и периодичности планово-предупредительных работ, технологических переналадок, а также внутрисменных потерь, связанных с технологическим обслуживанием оборудования и организационными мероприятиями [1].

2.3 Фонды времени

Трудовой процесс разработан в виде баланса рабочего времени за смену по каждому рабочему месту. Баланс рабочего времени составлен из функциональной занятости в течение оперативного времени в смену (время оперативной работы); подготовительно-заключительного времени; времени обслуживания рабочего места; времени на отдых и личные надобности.

Функциональная занятость по отдельным профессиям установлена путём определения объёма работ, подлежащих выполнению рабочими в течение смены, с учётом механизации и автоматизации процесса, соответствующих современному уровню организации производства на данном участке.

При работе литьевых машин (в полуавтоматическом режиме) оператор выполняет в основном контрольные функции в течение всей смены, производя обход обслуживаемого им оборудования через определённые промежутки времени. Наиболее существенными факторами, влияющими на занятость литейщика, является конструкция оснастки и место упаковки готовой продукции. Под конструкцией оснастки подразумевается конструкция литьевых систем. Наибольшее распространение получили безлитниковые формы, формы с отрывом литника при размыкании и формы с пальчиковым литником.

Перечень элементов оперативного времени литейщика при работе литьевых машин в полуавтоматическом режиме, в зависимости от конструкции литьевой формы и с учётом упаковки у литьевых машин, приведён ниже

 Элементы оперативного времени

Повторяемость в смену

Затраты времени, с


Безлитниковая форма

Форма с отрывом литника при размыкании

Форма с пальчиковым литником

Безлитниковая форма

Форма с отрывом литника при размыкании

Форма с пальчиковым литником

Общее наблюдение за работой оборудования

8

8

8

30

30

30

Контроль параметров технологического процесса

8

8

8

10

10

10

Контроль качества изделий

8

16

Совмещён с удалением литника

10

10

-

Контроль количества сырья в бункере машины и подключение местного пневмотранспорта

2

2

2

90

90

90

Удаление литников вручную

-

n1

-

-

1

-

Удаление литников и контроль качества изделий

-

-

n1

-

-

T1

Счёт, укладка изделий в тару (при укладке в насыпь)

n1

n1

n1

1

1

1

Подготовка тары для упаковки

n2

n2

n2

60

60

60

Счёт и укладка изделий в тару (при упорядоченной укладке)

n1

n1

n1

Т2

Т2

Т2

Заполнение сертификата и укладка его в тару

n2

n2

n2

60

60

60

Вынос продукции к месту отбора

n2

n2

n2

60

60

60

Перемещение литейщика при обслуживании одной машины

-

-

-

180

180

180


Примечания: 1. n1- число циклов в смену; n2- число едениц тары в смену; T1- затраты времени на удаление литников и контроль качества изделий; Т2- то же, на счёт и укладку изделий в тару; 2. значения n1, n2, T1 и Т2 определяются для каждого конкретного изделия; 3. приведены затраты времени на прокладку рядов изделий бумагой, приходящиеся на еденицу тары.

Работа литейщика (оператора литейной машины) содержит следующий ряд основных операций: участие в настройке всех механизмов машины на заданный режим литья; разогрев машины по зонам; установление технологической последовательности и режимов литья по технологической карте и смазка литьевых форм. А также наблюдение за установленным режимом литья по контрольно-измерительным приборам; вставка в гнёзда форм арматуры и оформляющих знаков; разборка форм, съём изделий, заделка раковин; устранение неполадок в работе литьевой машины. Затраты времени литейщика на выполнение некоторых основных операций (укрупненные нормы) указаны в таблице 4.

Таблица 4.

Затраты времени литейщика

Наименование затрат времени

Продолжительность, мин.

Подготовительно-заключительное время

14

Время обслуживания рабочего места

10

Время оперативной работы литейщика

431

Время на отдых и личные надобности

25

Итого

480



3. Технологическая часть

.1 Характеристика сырья

Предполагается что предприятие будет использовать для производства продукции Сплав АК12 ГОСТ 1583-93.

Исходные шихтовые материалы:

сплавы в чушках по ГОСТ 1583-93 - 40%

возврат собственного производства (переплавленные отходы) - 60%

Температура плавки сплавов - 720-740°C

Рафинирование сплавов (процесс очистки расплава от газов и неметаллических включений) при температуре 720-730°C

марганцем двухлористым 4-х водным ГОСТ 612-75 - 0,05-0,1% от веса шихты

Или

универсальным флюсом «ФУРМ» - 0,1-0,2% от веса шихты (Флюс «ФУРМ» обладает рафинирующими и модифицирующими свойствами)

Длительность эффекта рафинирования приблизительно 1 час; в смену проводить модифицирование не более 2-х раз.

Сплавы системы Al-Si известны под общим названием силумины.

Силумины характеризуются хорошими литейными свойствами и герметичностью, средней прочностью и достаточной коррозионной стойкостью. Они применяются для изготовления сложных отливок.

Для измельчения зерна и, следовательно, улучшения механических свойств силумины модифицируют обычно натрием в количестве 0,05-0,08% от массы сплава. Модификатор вводят в расплав в виде смеси галоидных солей натрия и калия. В силумины вводят также модифицирующие добавки иттрия, стронция, циркония, бора, титана и др.

Простые силумины, содержащие только алюминий и кремний (марка АК12), относятся к термически неупрочняемым. Введение в силумины магния делает их термически упрочняемыми - они подвергаются закалке и искусственному старению.

Силумины, содержащие кроме алюминия и кремния другие компоненты, называются специальными.

Простой силумин марки АК12 благодаря эвтектической структуре имеет отличные литейные свойства (наиболее высокую жидкотекучесть среди всех алюминиевых сплавов) при невысоких механических свойствах. Из сплава получают плотные герметичные отливки сложной формы, не испытывающие в процессе эксплуатации значительных нагрузок.

3.2 Составление и описание технологической схемы производства

.2.1 Плавка сплава

1) Провести плавку сплава по инструкции в печи раздаточной CAT 0,25

) Провести рафинирование сплава по инструкции.

) Снять шлак с поверхности зеркала металла, отобрать пробу на хим. анализ и два образца для определения твёрдости сплава.

) Залить 4 образца для мех. испытаний для определения временного сопротивления и относительного удлиннения.

3.2.2 Подготовка формы

1) Установить прессформу на литейную машину CLPO-100 с помощью электротельфера и набора ключей ГОСТ 2839-80

) Проверить надёжность крепления формы к машине путём последовательной проверки элементов крепления с помощью набора ключей ГОСТ 2839-80

) Включить машину, проверить работу ходовых частей формы, толкателей, плотность закрытия формы с помощью набора щупов.

) Проверить и отрегулировать на холостом ходу рабочий цикл машины.

) Подогреть прессформу до температуры 180-200 градусов Цельсия используя паяльную лампу, и прибор измерения температур. Допускается разогрев прессформы производить запрессовками жидкого металла после предварительной смазки прессформы - 5-7 запрессовок

) Очистить рабочую поверхность прессформы кисточкой ГОСТ 10597-87

) Произвести смазку прессформы смазкой АСПФ-2 или воском и камеры сжатия воском. Кисть ГОСТ 10597-87.

3.2.3 Заливка формы

1) Сомкнуть прессформу

) Залить сплав при температуре 680 градусов Цельсия. Использовать ложку разливочную. Очистку и окраску разливочного инструмента производить один раз в смену.

) Запрессовать.

) Выдержать 12с.

) Разомкнуть прессформу.

) Удалить отливки из прессформы вручную.

) Произвести визуальный осмотр отливок на отсутствие трещин, раковин, неслитин.

) Отделить отливки от литника и 2-х промывников вручную.

) Уложить отливки в тару отдельно от литника.

) Очистить поверхность прессформы от остатков металла кистью ГОСТ 10597-87, и зубилом.

) Произвести смазку прессформы смазкой АСПФ-2 или воском через 1-2 запрессовки, смазку камеры сжатия - перед каждой запрессовкой. Кисть ГОСТ 10597-87

3.2.4 Контроль ОТК

Контролировать внешний вид отливок на соответствие требованиям визуально.

3.2.5 Исправление дефектов отливки

При изготовлении отливок в них возникают различные дефекты, характер и размеры которых зависят от применяемого сплава, способа литья и особенностей приянтого технологического процесса.

Существуют две основные системы классификации дефектов отливок:

классификация дефектов по их внешнему виду, форме, расположению на отливке, размерам;

классификация дефектов по причине их образования, по общности физико-химических явлений, в результате которых возникает дефект.

При литье цветных сплавов чаще всего применяют вторую систему классификации.

Дефекты могут быть допустимыми, исправимыми и неисправимыми. Неисправимые дефекты приводят к окончательному браку отливок.

С целью сокращения потерь от исправимого и окончательного брака необходимо знать причины, вызывающие появление дефектов как при литье деталей, так и при их последующей зачистке и обработке, и принимать меры по их устранению.

) Зачистить облой и дефекты литья по контуру отливки. Использовать кусачки ГОСТ 28037-89, напильник ГОСТ 1465-80 и надфиль ГОСТ 1513-77. Облой в отверстиях д7,5 и д3,6 не зачищать

) Уложить отливки в тару

3.2.6 Контроль ОТК

1) Контролировать размеры согласно чертежу отливки. Использовать штангенциркуль ГОСТ 166-89. Размеры радиусов и межцентровые расстояния обеспечиваются оснасткой. Объём контроля размеров -5% на первой партии и после каждого ремонта формы.

) Проверить отливку на соответствие требованиям ОСТ 92-1165-75 сплошным контролем.

3.2.7 Транспортирование

Детали с маршрутным листом направить на дальнейшую мех. обработку.

3.3 Переработка отходов

Образующиеся во время изготовления деталей отходы перерабатываются и используются в процессе плавки сплавов.

Образующиеся в процессе плавки сплавов неперерабатываемые отходы (шлак) вывозятся с участка и сдаются во вторцветмет, норматив образования отходов 0,001кг.

4. Производственные отделения участка литья

Литейный участок состоит из следующих технологических отделений:

. Плавильное отделение

. Основной участок литья под давлением

. Обрубно - очистное отделение

Склады:

. Шихтовых материалов

. Форм

. Готовых отливок

4.1 Плавильное отделение

Электропечь CAT 0,25 предназначена для плавления и поддержания температуры расплава алюминия.

Плавление алюминия в данной печи производится в графито-шамотном тигле, установленном в нагревательной камере шахтного типа. Каркас нагревательной камеры выполнен из листовой стали. Внутри каркаса располагается футеровка. В качестве футеровочных материалов применяются современные легковесные и волокнистые материалы. На внутренней поверхности футеровки закреплены проволочные электронагреватели из сплава марки Х20Н80-Н. В нижней части нагревательной камеры имеется отверстие для аварийного слива расплава алюминия в случае разрушения плавильного тигля. Верхняя часть нагревательной камеры снабжена крышкой. Подъем и опускание крышки производится рычажным механизмом с ручным приводом. Автоматическое управление температурой осуществляется системой управления, смонтированной в отдельном шкафу. В качестве регулирующего устройства используется микропроцессорный программный регулятор, позволяющий изменять напряжение на нагревателях с помощью тиристорных модулей.

Технические характеристики печи

Наименование параметра

CAT-0,25

Установленная мощность, не более, кВт

50

Номинальная температура расплава, °С

800

Точность поддержания температуры расплава, °С

±5

Емкость тигля (по алюминию), кг

250

Параметры питающей сети: - напряжение, В - частота, Гц - число фаз

 380 50 3

Наружные габариты, мм: - ширина - длина - высота

 1450 1300 1450


Комплект поставки печи включает: нагревательную камеру в сборе с крышкой и механизмом подъема, плавильный тигель, шкаф управления, эксплуатационную документацию.

По желанию заказчика комплект поставки печи может быть изменен. Также возможна поставка электропечи с другим значением установ­ленной мощности в соответствии с требованиями заказчика.

Гарантийный срок эксплуатации электропечей составляет 12 месяцев.

Предполагается что предприятие будет использовать для производства продукции Сплав АК12 ГОСТ 1583-93.

Исходные шихтовые материалы:

сплавы в чушках по ГОСТ 1583-93 - 40%

возврат собственного производства (переплавленные отходы) - 60%

Температура плавки сплавов - 720-740°C

Рафинирование сплавов (процесс очистки расплава от газов и неметаллических включений) при температуре 720-730°C

марганцем двухлористым 4-х водным ГОСТ 612-75 - 0,05-0,1% от веса шихты

Или

универсальным флюсом «ФУРМ» - 0,1-0,2% от веса шихты (Флюс «ФУРМ» обладает рафинирующими и модифицирующими свойствами)

Длительность эффекта рафинирования приблизительно 1 час; в смену проводить модифицирование не более 2-х раз.

Сплавы системы Al-Si известны под общим названием силумины.

Силумины характеризуются хорошими литейными свойствами и герметичностью, средней прочностью и достаточной коррозионной стойкостью. Они применяются для изготовления сложных отливок.

Для измельчения зерна и, следовательно, улучшения механических свойств силумины модифицируют обычно натрием в количестве 0,05-0,08% от массы сплава. Модификатор вводят в расплав в виде смеси галоидных солей натрия и калия. В силумины вводят также модифицирующие добавки иттрия, стронция, циркония, бора, титана и др.

Силумины, содержащие кроме алюминия и кремния другие компоненты, называются специальными.

Простой силумин марки АК12 благодаря эвтектической структуре имеет отличные литейные свойства (наиболее высокую жидкотекучесть среди всех алюминиевых сплавов) при невысоких механических свойствах. Из сплава получают плотные герметичные отливки сложной формы, не испытывающие в процессе эксплуатации значительных нагрузок.

4.2 Основной участок литья под давлением

Для производства изделий методом литья под давлением выбираются наиболее эффективные литьевые машины одноцилиндровой конструкции.

Выбор основного технологического оборудования должен соответствовать выбранной технологической схеме с учётом особенностей переработки алюминия в готовые изделия. К основному оборудованию относятся оборудование, оказывающее непосредственное воздействие на материал в процессе получения готовых изделий. Таким оборудованием являются литьевые машины.

В производстве изделий из алюминия наиболее распространены литьевые машины с гидравлическим приводом из-за ряда преимуществ: они наиболее просты и удобны в эксплуатации; долговечны; легко регулировать основные параметры процесса литья (скорость впрыска, давление литья).

Оборудование для литья под давлением производят в нашей стране и за рубежом. В связи с номенклатурой изделий, выпускаемых на проектируемом предприятии, выбираем горизонтальную машину литья под давлением с холодной камерой прессования и максимальным весом заливаемого металла от 1 до 2 кг, ею являются модель типа CLPO 100/16-2A. Тип и типоразмер литьевых машин выбраны исходя из массы и размеров изделия, площади литья, материала изделий, тиражности, отношения толщины изделия к его длине, гнёздности формы, конструктивных особенностей изделий, требований к точности изготовления и чистоте поверхности изделия. Марки и технологические характеристики выбранных машин указаны ниже.

Технические данные машины CLPO 100/16-2A

1. Максимальный вес заливаемого металла

1,3 кг

2. Максимальная площадь отливки

310 см2

3. Рабочий ход носителя формы

300 мм

4. Наибольшая высота формы

500 мм

5. Наименьшая высота формы

200 мм

6. Минимальная толщина неподвижной полуформы

40 мм

7. Минимальные размеры формы

180х180 мм

8. Расстояние между колоннами

185х385 мм

9. Размер плит крепления

630х630 мм

10. Ход гидравлического выталкивателя

80 мм

11. Диаметр поршня

45-80 мм


Выбор основного технологического оборудования должен соответствовать выбранной технологической схеме с учётом особенностей переработки алюминия. К основному оборудованию относятся оборудование, оказывающее непосредственное воздействие на материал в процессе получения готовых изделий. Таким оборудованием являются литьевые машины.

Произведём расчёт потребности в оборудовании по заданной ассортиментной программе.

Производительность литьевых машин по заданной ассортиментной программе рассчитывается по формуле:

= 3,6*m*T/t , (12)

где Q - производительность оборудования, кг/ч;- масса изделия, г;- число гнёзд в форме;- продолжительность цикла, с.

Производительность по шатунам для компрессора, (Qшатун ) соответственно:шатун = 3,6*5*6/50 = 2 кг/ч; (13)

Определим затраты времени, необходимые для выполнения годовой программы по изделию по формуле:

Т = Пт*m/Q (4.2.) (14)

где Т - затраты времени, необходимые для выполнения годовой программы по изделию, ч;

Пт - годовая программа по изделию, кг/ч;- производительность работы литьевой машины по данному изделию, кг/ч;

m - масса одного издели, кг;

Тшатун =1009200*0,005/2= 2523 (ч) (15)

Если сложить время, необходимое для выполнения годовой программы по каждому изделию, то получится фонд времени выполнения всей программы производства при работе одной литьевой машины:

Тост.пр = 5562 (ч)

Тобщее = Тшатун + Тост.пр. = 8085 (ч) (16)

Рассчитаем количество литьевых машин, которое обеспечит выполнение предприятием программы производства по формуле:

Чм = Т/(Фд*k) , (17)

где Чм - количество необходимых машин;

Тобщее - фонд времени выполнения всей программы производства при эксплуатации одной литьевой машины, ч;

Фд - действительный годовой фонд времени работы основного оборудования предприятия, при работе предприятия в полуавтоматическом режиме, в 3 смены составляет 5400 часов

К =0,93- коэффициент, учитывающий потери времени на обслуживание рабочего места и оборудования, подготовительно-заключительное время, время на отдых и личные надобности.

Чм = 8085/(5400*0,93) = 1,6 (18)

Таким образом, количество оборудования необходимого для выполнения всей программы производства равно 2 машины.

4.3 Очистное отделение

Классификация финишных (очистных) операций отливок производиться по их назначению, способам обработки, применяемому оборудованию и инструменту.

Удаление литников, прибылей, технологических приливов на данном участке литья под давлением осуществляется механическим способом используя фрезерные и токарные станки.

Удаление пригара, уменьшение шероховатости поверхности отливок осуществляется галтовкой с использованием галтовочного барабана.

Для механизации очистных и отделочных операций путем виброабразивной обработки на проектируемом цехе целесообразно установить Виброугалтовочную установку (RC 1100)

Удаление остатков литников, питателей, заусенцев, облоя, и выравнивание неровностей поверхности производится ручным слесарным инструментом, а также с помощью абразивных лент и полотен.

5. Специальная часть (литьевая машина CLPO 100/16)

Литье под давлением - один из перспективных способов получения фасонных заготовок. Сущность способа литья под давлением состоит в том, что установленная на машине металлическая форма, называемая пресс-формой, заполняется расплавом с высокой скоростью под давлением внешней силы, превосходящей силу тяжести, а затвердевание в ней отливки происходит под избыточным давлением. Давление создают с помощью поршня в камере прессования, которая соединена с полостью пресс-формы. Давление резко улучшает заполняемость формы, т.е. увеличивает жидкотекучесть металла, и отливки с такой точностью воспроизводят все контуры формы, что необходимость в обработке заготовки резанием исключается или сводится к минимуму.

К преимуществам литья под давлением относится также высокое качество поверхности отливки сложной конфигурации. Высокие скорости охлаждения металла в пресс-форме способствуют измельчению структуры металла в отливке, уменьшению усадочных дефектов, повышению механических свойств.

Главный недостаток литья под давлением - высокая стоимость оборудования и пресс-форм, что заставляет применять этот способ только для очень крупных серий отливок. Литьем под давлением изготовляют главным образом отливки из цветных сплавов - алюминиевых, магниевых, цинковых, медных и др. Получают под давлением отливки из стали и титана.

Размеры и масса отливок зависят от мощности машин, на которых осуществляется процесс: чем большее усилие запирания пресс-формы может развивать запирающий механизм машины и большие давление и скорость перемещения развивает ее прессующей механизм, тем большие размеры отливок можно получать.

Усилие запирания у рассматриваемой машины CLPO 100/16 составляет 1000кН.

Остальные технические характеристики:

. Максимальный вес заливаемого металла      1,3 кг

. Максимальная площадь отливки 310 см2

. Рабочий ход носителя формы     300 мм

. Наибольшая высота формы        500 мм

. Наименьшая высота формы        200 мм

. Минимальная толщина неподвижной полуформы 40 мм

. Минимальные размеры формы   180х180 мм

. Расстояние между колоннами      185х385 мм

. Размер плит крепления       630х630 мм

. Ход гидравлического выталкивателя   80 мм

. Диаметр поршня       45-80 мм

В зависимости от способа, которым металл запрессовывается в форму (рис. 2.2.1), различают машины с холодной горизонтальной, холодной вертикальной и горячей камерами прессования.

Рис.2.2.1 Типы камер прессования:

а - холодная горизонтальная; б - холодная вертикальная; в - горячая;

- подвижная половина формы; 2 - неподвижная половина формы;

- отливка; 4 - прессуемый металл; 5 - прессовый стакан;

- прессовый плунжер

На машинах с холодной камерой прессования получают отливки из алюминиевых, магниевых, медных и других тугоплавких металлов, на машинах с горячей камерой прессования - отливки главным образом из более легкоплавких сплавов на цинковой, свинцовой или оловянной основе.

На машинах с холодной горизонтальной камерой прессования (как и в случае с нашей машиной литья под давлением) (рис.2.2.1, а) расплавленный металл заливается через окно в прессовой цилиндр 5 и прессовым плунжером 6 подается в предварительно закрытую механизмом запирания форму. После затвердевания отливки форма открывается, отливка выталкивается из нее толкателями и удаляется из машины.

На машинах с холодной вертикальной камерой прессования (рис.2.2.1, б) металл заливается в прессовый стакан 5 сверху. При этом литниковые каналы, соединяющие прессовый цилиндр с формой, перекрыты нижним поршнем (пяткой) и открываются только после его опускания под давлением металла в момент прессования. Такая конструкция механизма прессования исключает попадание расплавленного металла в форму до начала прессования и позволяет получать отливки с центральным литником. Извлечение отливок из формы производится так же, как на машинах с горизонтальной камерой.

В отличие от машин с холодной камерой прессования у машины с горячей камерой прессования (рис.2.2.1, в) прессовый стакан 5 опущен в тигель с расплавленным металлом и полость стакана соединена с тиглем. При подъеме прессового поршня выше заливочного отверстия металл из тигля через отверстие поступает в прессовый стакан. При опускании прессового поршня расплавленный металл по подогреваемому каналу, называемому гузнеком, под действием плунжера попадает в форму. При новом подъеме поршня избыток металла сливается, и машина после затвердевания и выталкивания отливки готова к очередному циклу.

В промышленности наиболее широкое применение имеют машины с холодной горизонтальной и горячей вертикальной камерами прессования.

Процесс литья под давлением может быть осуществлен только на машинах. Это создает предпосылки для комплексной автоматизации технологического процесса, способствует существенному улучшению санитарно-гигиенических условий труда.

На рис.2.2.2 приведена машина с холодной горизонтальной камерой прессования. На станине 6 размещаются пресс-форма, состоящая из подвижной и неподвижной частей, закрепленных соответственно на подвижной 4 и неподвижной 7 плитах машины болтами или специальными скобами, механизм запирания 3 и прессования 9, гидронасос с приводом 2, а также электро - и гидрооборудование и аппаратура. Для нагнетания рабочей жидкости в гидроцилиндры служит насосная установка 1.

Рис.2.2.2. Машина для литья под давлением с холодной горизонтальной камерой прессования

Наличие гидрорычажного механизма 3 запирания позволяет надежно запереть форму, а гидропневматический аккумулятор 10 обеспечивает быстрый впрыск металла в форму и выдержку его во время кристаллизации отливки под необходимым давлением.

Машины с холодной камерой прессования выпускают с усилием запирания от 0,4 до 35 МПа. На этих машинах получают отливки массой от нескольких граммов до 50 кг и более (из алюминиевых сплавов) со стенками толщиной от 0,6 до 6 мм и с шероховатостью поверхности Rz = 40…10 мкм.

Процесс литья начинается с подогрева пресс-формы, заливочного стакана 8 и прессующего поршня 9. Температура нагрева пресс-формы зависит от заливаемого сплава: для цинкового - 140…180 ºC; для алюминиевого 180…210 ºC; для магниевого - 200…240 ºC; для латуни - 250…300 ºC.

Часто на производстве для нагрева в пресс-формы два-три раза заливают расплав, а полученные отливки затем переплавляют, так как они имеют дефекты.

При литье под давлением активно используют смазки, которые наносят на рабочую поверхность пресс-формы.

Смазывание пресс-форм производится с целью уменьшения усилия, необходимого для удаления отливки, а также для предотвращения задиров и привара ее к пресс-форме. Также использование смазочно-охлаждающей жидкости (СОЖ) при литье под давлением позволяет влиять на температурный режим работы пресс-формы, и, соответственно, на продолжительность затвердевания отливки в пресс-форме.

Смазка форм может смывать налет образующийся в процессе заполнения пресс-формы расплавом. Cмазки, которые используют при литье под давлением оказывают влияние также на газовую пористость в отливках. Смазка обязательно наносится перед каждой запрессовкой.

Затем включается механизм запирания 3, приводимый в движение гидроцилиндром, который перемещает подвижную плиту 4 и закрепленную на ней подвижную половину пресс-формы и соединяет ее с неподвижной половиной пресс-формы. После этого в прессовый стакан 8 заливается расплав.

Для литья алюминиевых сплавов рекомендуются следующие температуры: 580…620 °С.

Включается механизм запрессовки и поршень вытесняет расплав в полость формы. После заливки металл выдерживается в форме до затвердевания (несколько секунд), затем пресс-форма раскрывается и отливка выталкивается из нее.

При литье под давлением скорость впуска расплава в пресс-форму колеблется от 0,5 до 120 м/с, а конечное давление на расплав достигает 1000 кН. В результате форма заполняется за десятые, а часто и за сотые доли секунды.

При высоких скоростях впуска расплава в полость пресс-формы воздух, пары, газы, продукты разложения смазочного материала не успевают полностью удалиться из пресс-формы за время ее заполнения и попадают в расплав. Это способствует образованию в отливках раковин и газовоздушной пористости.

При нагреве отливки газы расширяются и на ее поверхности появляются пузыри.

Для уменьшения газовоздушной пористости в отливках используются специальные способы литья под давлением. К ним относят: литье с использованием вакуумирования пресс-формы, литье с регулированием состава газа в полости пресс-формы, подпрессовка металла, находящегося в твердо-жидком состоянии.

Существует несколько способов создания вакуума в полости пресс-формы. Один из них состоит в том, что пресс-форму заключают в герметичный кожух, из которого воздух удаляется вакуумными насосами, а затем в нее запрессовывается расплав. Вакуумирование полости пресс-формы происходит в тот момент, когда прессующий поршень перекроет заливочное отверстие в стакане.

Одним из методов литья под давлением с регулированием состава газов в полости пресс-формы является кислородный. Перед заливкой расплава полости пресс-формы и камеры прессования продуваются кислородом до полного вытеснения воздуха. При заполнении пресс-формы расплавом кислород вступает в реакцию с частицами расплава, при этом его большая часть расходуется на окисления расплава, а в форме образуется вакуум:

Al + 3O2 = 2Al2O3.                                                   (1)

Образующиеся мельчайшие частицы окисла Al2O3 не ухудшают механических свойств и обрабатываемости отливок. Вместе с тем газосодержание отливок, пористость в них значительно уменьшаются.

Перед заливкой расплава полости камеры прессования и пресс-формы заполняются гелием так, чтобы весь воздух был вытеснен и замещен гелием. При запрессовке гелий, который значительно легче воздуха, легко покидает пресс-форму через каналы вентиляционной системы и не попадает в отливку. В результате количество газовых пор резко уменьшается и плотность возрастает.

Для уменьшения усадочных пор в отливке и сжатия газовоздушных пор, повышения плотности и герметичности отливки производится подпрессовка расплава в заключительной стадии прессования.

В одной из схем подпрессовки отливок используется двойной прессующий поршень, состоящий из основного блока и блока меньшего диаметра, находящегося в центре плунжера основного блока. До момента образования корочки металла на стенках камеры прессования оба плунжера перемещаются вместе, а затем после остановки основного плунжера продолжает двигаться плунжер меньшего диаметра и давление на расплав увеличивается.

От качества пресс-формы в значительной мере зависит качество отливки, ее точность, шероховатость поверхности, наличие газовых и усадочных раковин, других дефектов.

Пресс-форма может иметь одну или несколько рабочих полостей для получения отливки, стержни и вставки, необходимые для выполнения отверстий в отливке, системы каналов для подвода расплава в рабочую полость и отвода воздуха и газов (вентиляционную систему), а также системы толкателей и каналов для охлаждения деталей пресс-формы при работе.

При проектировании пресс-формы поверхность разъема назначают с учетом усадки сплава (вследствие усадки отливка обжимает выступающие части пресс-формы, стержни и отходит от стенок формы). После раскрытия пресс-формы отливка находится в той полуформе, которая имеет большее число выступов, оформляющих ее внутренние контуры и поднутрения. В этой части пресс-формы и располагают выталкиватели для удаления отливок.

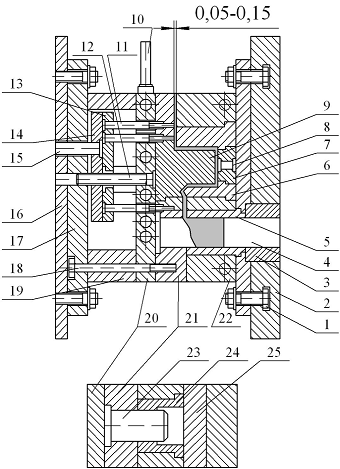
По плоскости разъема пресс-форма делится на две части (рис. 2.2.3): неподвижную, условно называемую матрицей, и подвижную - пуансон, в котором располагаются выталкиватели.


Рис.2.2.3 Пресс-форма для литья под давлением на машине с холодной камерой прессования

В матрице обычно оформляются наружные контуры отливки, а в пуансоне - внутренние ее очертания.

Плита 22 матрицы крепится к плите 25 и болтами 1 к неподвижной плите 2 машины. Плита 25 надевается на фланец камеры сжатия 3. В плите матрицы закреплены литниковая втулка 5, в которую входит прессовый поршень. В матрицу 6 вставлен неподвижный стержень 7 и в него - стержень 8, оформляющий отверстие.

Для удаления загрязненного расплава из воздухоотводного и соединительного каналов предусмотрен промывник.

Литниковая система состоит из пресс-остатка, подводящего канала и питателя. Пуансон 9 закреплен в плитке 21 пуансона и на подкладной плите 20. В этой плите и плите 22 сделаны каналы, по которым циркулирует вода для охлаждения пресс-формы. Плита 20 через стойки 19 крепится болтами 18 к плите 17 и подвижной плите 16. Плита 17 через стойки 19 крепится болтами 18 к плите 21 и подвижной плите 16. Плита 17 и стойки 19 образуют постамент. Для направления потока металла служит рассекатель. Через пуансон проходят выталкиватели 11 и контрвыталкиватели. Они крепятся между плитой 13 выталкивателей и плитой 14 упоров. Контрвыталкиватели возвращают плиты 13 и 14 в исходное положение при сближении половинок форм. Отливка выталкивается при раскрытии пресс-формы и перемещении подвижной ее части упором толкателя 15 в плиту, закрепленную на штоке запирающего цилиндра машины.

Подвижные и неподвижные части пресс-формы центрируются четырьмя штырями 23 и втулками 24. Плиты 13 и 14 направляются колонкой 12, что также уменьшает износ выталкивателей. Для транспортирования и монтажа в плиту 20 ввернуты рым-болты 10.

Конструкции пресс-форм для массового производства отличаются полной автоматизацией всех операций по извлечению стержней и подвижных вкладышей, выталкиванию отливок ,возврату стержней в исходное положение. Извлечение подвижных стержней и выталкивание отливок осуществляется за счет перемещения подвижной половины пресс-формы.

Обычно пресс-формы для массового производства имеют систему охлаждения и часто систему терморегулирования, что позволяет повысить скорость работы машины, а значит, производительность процесса.

Системы терморегулирования включают датчики для изменения температуры пресс-формы в заданных местах - термопары, систему охлаждения отдельных частей или пресс-формы в целом, систему регулирования подачи охладителя в пресс-форму.

Пресс-формы для изготовления отливок в мелкосерийном производстве характеризуются упрощенной конструкцией на базе универсальных блок-форм со сменными вкладышами. Внедрение САПР уменьшает затраты на проектирование и изготовление пресс-форм на 40…70 %. При этом рентабельно изготавливать даже партии по 400…500 отливок.

Основные детали пресс-формы делятся на три группы: формообразующие, конструктивные и входящие в механизм пресс-форм. Кроме того, в пресс-формах используют крепежные стандартные детали.

К формообразующим деталям относятся рабочие вкладыши, вставки, стержни, выталкиватели, литниковые втулки, рассекатели и т.п.

Вкладыши обычно имеют форму цилиндров или параллелепипедов. Желательно, чтобы вкладыши имели равномерную толщину стенок.

Стержни могут быть неподвижные, подвижные, отъемные и разовые.

Неподвижные стержни устанавливают перпендикулярно к плоскости разъема и закрепляют во вкладышах подвижной и неподвижной частей пресс-формы.

Подвижные стержни оформляют отверстия и полости в отливке, расположенные под углом к плоскости разъема пресс-формы или параллельно ей.

Для извлечения стержней широко применяются клиновые механизмы, позволяющие совместить раскрытие пресс-формы и удаление стержней. Для извлечения стержней, ход которых превышает 50 мм, используются реечные и реечно-клиновые механизмы.

Для извлечения длинных (более 50 мм) и крупных стержней (рис.2.2.4) используют гидравлические приводы стержней. Для облегчения удаления стержни имеют конусность 30'…1º30'.

Выталкиватели 11 (см. рис.2.2.3) следует располагать равномерно по контуру отливки, а также в местах ее торможения в форме при извлечении. В сечении выталкиватели могут быть круглые, прямоугольные, квадратные и др. Площадь поперечного сечения их должна быть максимальной, чтобы они не продавливали отливку и не ломались сами. В закрытом положении пресс-формы торцы выталкивателей должны располагаться на 0,3…0,5 мм выше или ниже оформляющей поверхности пресс-формы.

Рис 2.2.4 Гидродинамические извлекатели:

1 - гидроцилиндр двойного действия; 2 - запирающие клинья с гидроприводом

При изготовлении отливок типа втулок, колец применяют трубчатые и сегментные выталкиватели. Выталкивание плитой 13 обеспечивает равномерное удаление отливки.

Литниковая втулка 5 предназначена для сопряжения пресс-формы с камерой прессования 4.

Рассекатель используется для направления потока расплава, поступающего из литниковой втулки в каналы литниковой системы и рабочую полость пресс-формы.

Конструктивные детали рабочей пресс-формы применяются для соединения отдельных частей пресс-формы, крепления пресс-формы к плитам машины. К ним относятся: плиты подкладные, прижимные, выталкиватели, постаменты, ползуны, упоры, контрвыталкиватели, направляющие втулки и колонки, крепежные детали.

Рабочие части пресс-формы, соприкасающиеся с расплавом, испытывают значительные термические напряжения, переменные по знаку. Напряжения вызывают появление трещин вследствие термической усталости материала; постепенно происходит «разгар» этих частей формы. Поэтому матрицы, пуансоны, сменные вкладыши, оформляющие рабочие полости, стержни, литниковые втулки изготавливают из легированных сталей 4Х5МФС, 3Х2В8, 5ХНМ, а также из сталей У8, У9. Плиты, колонки и другие менее ответственные части изготавливают из обычной конструкционной стали.

Для придания необходимых эксплуатационных свойств формообразующие детали пресс-форм подвергают термической обработке - низкотемпературному цианированию на глубину 0,05…0,2 мм.

Стойкость пресс-форм (число запрессовок) при литье сплавов: цинковых - 200000, алюминиевых - 50000; латуни - 5000, магниевых - 70000; железных (сталь), при условии изготовления форм из молибденовых сплавов, - 2500.

Повышение эксплуатационных свойств пресс-форм, стержней обеспечивается лазерным упрочнением. При этом рабочая поверхность деталей нагревается выше температуры плавления и в нее вводят легирующие компоненты, которые в процессе последующей кристаллизации образуют поверхностный слой, отличный по химическому составу от основного металла. Так, с целью увеличения твердости, износостойкости, теплостойкости проводят лазерное азотирование, используя азотсодержащие обмазки на основе карбамида, аммиачной соли и др. При проведении лазерного борирования используют смесь бора, карбидов бора, буры и др. Обмазки и пасты оплавляют импульсным или непрерывным лазером. Отмечается, что в этом случае стойкость пресс-форм против эрозии возрастает в 3 раза.

6. Энергетика цеха

Литейный цех является крупным потребителем топлива, электроэнергии, сжатого воздуха, пара, воды и др. источников энергии.

6.1 Расчёт установленной и потребляемой мощности

Определим установленную мощность проектируемого электрооборудования и предприятия в целом.

Для расчёта потребления электроэнергии на технологические нужды (электропривод и электрообогрев) по соответствующим таблицам выбора оборудования определим мощность электродвигателей и нагревателей. Таким образом, мы определим установленную мощность.

Исходными данными для расчёта потребляемой электроэнергии является:- общая установленная мощность электродвигателей и нагревателей (в кВт);

К - коэффициент загрузки электродвигателей и нагревателей (К = 0,7-0,8);- коэффициент полезного действия электродвигателей (m = 0,85);

Тэф - эффективный фонд времени работы оборудования, ч.

Годовой расход электроэнергии Qгод (кВт·ч) определяется по формуле:

литье давление оборудование мощность

Qгод= N*Тэф*К*m, (22)год = N*Тэф*0,7*0,85 = N*Тэф*0,595. (23)

год = 4774,7

6.2 Водопровод и канализация

Внутренний водопровод здания проектируется в соответствии с СН и П II-170, а внутренняя канализация в соответствии с СН и П II 4-70.

Проектом предприятия предусматриваются внутренние магистрали водопровода и канализации предприятия.

Вода расходуется на санитарно хозяйственные, производственные и противопожарные нужды.

Нормы потребления воды:

расход воды на санитарно-хозяйственные нужды, qc-х = 45 л/(чел*ч);

расход питьевой воды, qпв = 2 м³/(чел*ч);

расход воды на душевую сетку, qдс = 666 л/(чел*ч);

расход горячей воды, qгв = 1 м³/(чел*ч);

бытовая канализация, qртех = 4 м³/ч;

расход воды на внутреннее пожаротушение из пожарных гидрантов для производственных и бытовых помещений, qпж = 10 л/с.

Максимальный часовой расход на пожаротушение составит:рпож = 0,01*3600 = 36 м³/ч.

Расход воды на технические нужды определяется из расчёта водопотребления технологическим оборудованием.

На основании этих данных расход воды на технические нужды составил: ртех = 1,7 м³/ч.

Суммарный максимальный расход воды за час по предприятию составит:

общ = qc-х + qпв + qдс + qгв + qрпож + qртех + qрбк , (45)

общ = 0,045 + 2 + 0,666 + 1 + 36 + 1,7 + 4 = 45,411 м³/ч.

В соответствии с этим суточный расход воды составит 1089,864 м³, годовой расход составит 272466 м³ (22266 м³ без учёта qрбк и qрпож и qртех).

В соответствии с требованиями к качеству воды и её количеству на предприятии предусматриваются три системы водоснабжения: водопровод хозяйственно-противопожарный, водопровод производственный, водопровод обратной воды.

7. Компоновка отделений и площади цеха

.1 Планировка помещений

Помещения производства делятся на помещения основного производства, складские, вспомогательные и обслуживающие (бытового, социального назначения).

К производственным площадям предприятия относятся площади, занятые производственным оборудованием, заготовками, деталями у рабочих мест и у оборудования, проходами между оборудованием.

К вспомогательным площадям относятся площади инструментального и ремонтного хозяйства; складов предприятия и кладовых; помещений ОТК; прочих вспомогательных помещений: пожарных и магистральных проездов.

Исходя из состава помещения и строительных норм, определены основные размеры строения (длина - 24 м, ширина - 18 м, высота - 7,2 м).

7.2 Компоновка технологического оборудования

При размещении оборудования необходимо учитывать следующие технологические требования: удобство обслуживания оборудования, его демонтажа и ремонта; наиболее эффективное использование производственной площади и объёма; рациональное решение внутрицехового транспорта.

При планировке оборудования необходимо соблюдать строительные нормы, правила техники безопасности и охраны труда, санитарные и противопожарные нормы [7].

В соответствии с приведёнными нормами и требованиями произведена компоновка технологического оборудования.

На предприятии имеется одно рабочее место основного производства, состоящее из двух литьевых машин.

Основными параметрами, характеризующими рабочие места для литьевых машин являются: расстояние между осями машин в зоне обслуживания (а), расстояние между осями машин с тыльной стороны (в), габаритные размеры рабочего места - длина (с) и ширина (св).

Расстояние между осями машин со стороны рабочей зоны (а) ограничивается шириной прохода в зону обслуживания и прохода в зоне обслуживания (k) (не менее 800 мм), а также расстоянием между рабочими столами или столом и термостатирующим агрегатом в зоне обслуживания (е) (не менее 1200 мм). Расстояние между осями машины с тыльной стороны определяются шириной прохода между шкафами или термостатами и литьевой машиной (m) и между пневмопогрузчиками (n) (не менее 700 мм), а также удобством прокладки коммуникаций и выполнении работ при ремонтах, осмотрах и наладке. Габаритные размеры рабочего места определяются: ширина - расстоянием между осями машин; длина - суммой длины оборудования, половины ширины прохода и половины ширины проезда.

Ширина проезда может быть различной в зависимости от вида средств механизации и их, но она не должна быть меньше 2500 мм для одностороннего проезда и 3500 мм для двустороннего. Ширина прохода может быть также разной, но не менее 800 мм. Для рабочих мест из трёх литьевых машин, при обслуживании которых литейщик в течение рабочего времени должен ходить по проходу, ширина прохода должна быть увеличена на 600 мм.

Для организации рабочих мест вспомогательных рабочих необходимо предусматривать: производственную мебель для размещения и хранения приспособлений, инструмента, измерительных приборов, вспомогательных материалов, сменных частей. А также специально выделенные места для хранения резервного оборудования; удобную тару для материалов, проводов, кабелей; инструмент, измерительные приборы; планшеты для хранения электрических схем, справочных материалов; доски для схем, плакатов, инструкций; приспособления для ухода за машиной, для уборки рабочего места; средства механизации вспомогательных работ при подъёме тяжестей и их перемещении. Для транспортировки пресс-форм и грузов массой более 25 кг на предприятии предусмотрена потолочная подвесная кран-балка грузоподъёмностью Q = 1 т. (Мощность 2,3 кВт)

8. Основные строительные решения

Устанавливаемые эксплуатационные качества здания, санитарно-технический режим и пожарная безопасность должны обеспечивать максимально возможную экономичность проектных решений (СН и П 11-90-61 «Производственные здания промышленных предприятий. Нормы проектирования»).

Согласно СН и П 11-2-80 «Противопожарные нормы проектирования зданий и сооружений» помещения по переработке алюминия в изделия, относятся к категории В.

При строительстве здания планируется применить унифицированные пролёты с сеткой колонн 6х6 метров и с высотой до низа несущей конструкции фермы 7,2 м.

На проектируемом участке литья под давлением будет присутствовать 1 кран-балка. Кран-балка будут использоваться для перемещения по цеху тяжелых или крупногабаритных грузов.

Кран-балка длиной 6м и грузоподъемностью 1т.

9. Экономическая часть

.1 Расчет технико-экономических показателей проектируемого предприятия

Основными задачами данной части проекта являются расчёт технико-экономических показателей, установление экономической целесообразности и хозяйственной необходимости организации предприятия, расчёт эффективности его действия.

Решение этих задач осуществляется путём расчёта программ производства, арендных ставок на используемые здания и сооружения, стоимости используемого оборудования, сырья и материалов, топлива и энергии, затрат и отчислений на социальное страхование, амортизацию оборудования, расходов предприятия [1].

9.2 Расчет количества основных и вспомогательных рабочих

Для производства изделий методом литья под давлением рассматривается в основном функциональное разделение труда.

По принципу функционального разделения труда выделяются следующие взаимосвязанные группы работающих: производственные рабочие, деятельность которых связана непосредственно с предметом труда и направлена на его изменение и придание ему товарного вида; вспомогательные рабочие обеспечивающие нормальное функционирование основного производства, к этой категории работающих также относятся уборщики производственных помещений; инженерно-технические работники (ИТР), деятельность которых обеспечивает организацию производства и управление им; младший обслуживающий персонал (МОП), обеспечивающий уборку конторских помещений, сюда также относятся уборщики бытовых помещений. Внутри технологических групп предусмотрено разделение труда в соответствии с квалификационным уровнем выполняемых работ. Типовой профессионально-квалификационный состав рабочих производства литьевых изделий приведён в таблице 3. Наименование профессий рабочих и тарифные разряды указаны согласно единому тарифно-эксплуатационному справочнику (ЕТКС), 1970 г. [7].

Таблица 3 Типовой профессионально-квалификационный состав рабочих производств литьевых изделий

Профессия рабочих

Распределение рабочих по разрядам


1

2

3

4

5

6

Без разряда

Производственные рабочие

Литейщик алюминий

х

х

x

Помощник мастера

х

x

Дробильщик

х

х

Аппаратчик смешивания

х

х

Укладчик-упаковщик

х

х

х

Комплектовщик

х



Вспомогательные рабочие

Наладчик литьевых машин

х

x

Слесарь-ремонтник

х

Слесарь-электрик по ремонту электрооборудования

х

Слесарь по КИП и автоматике

х

х

Контролёр

х

Кладовщик

х

Уборщик производственных помещений

х

















Для осуществления кооперации труда использована бригадная форма организации труда. Возможны две основные формы производственных бригад - специализированные и комплексные. Выбраны комплексные бригады. Они формируются из рабочих различных профессий и специальностей. Распределение работ в бригаде осуществляется в зависимости от профессии, квалификации и состава работ, подлежащих выполнению. При этом имеются различные варианты совмещения профессий, позволяющие улучшить организацию труда и более рационально использовать рабочее время.

9.3 Организация поставок сырья, программа производства и режим работы предприятия

Поставка сырья на предприятие осуществляется начальником снабжения предприятия по заявке начальника производства предприятия. Стоимость сырья указана в таблице 9.5. Прибывшее сырьё складируется на территории склада готовой продукции.

Согласно, заданию на проектирование, годовая мощность предприятия литья алюминия составляет 160 тонн изделий в год.

Режим работы предприятия:

рабочая неделя с двумя выходными;

количество смен в сутки - 3 по 8 часов;

средняя продолжительность рабочей недели - 40 час;

номинальный фонд рабочего времени составляет 250 рабочих дней;

количество праздничных и выходных дней - 115.

9.4 Стоимость оборудования

Договорная цена на основное технологическое оборудование, расчёт его общей стоимости приведены в таблице 7.

Таблица 7.

Стоимость оборудования

Наименование оборудования

Количество по проекту

Стоимость



Единицы оборудования, руб.

Проектного количества оборудования, руб.

Машина виброгалтовочная с ПУ RC1100 (0,75кВт)

1

100000

100000

Печь индукционная плавильно-раздаточная CAT-0,25 (60 кВт)

1

800000

800000

Автоматизированная машина литья под давлением типа CLPO 100/16-2A

2845725

2845725

Всего



3745725


Суммарная стоимость оборудования составляет 3745725 руб.

Общая величина затрат на технологическое оборудование определяется как сумма затрат на основное технологическое оборудование, КИП и средства автоматизации, прочее оборудование.

К сметной стоимости оборудования суммируются транспортные расходы, заготовительно-складские затраты, стоимость запчастей. Эти затраты определяются суммарно в размере 5 % от стоимости всего оборудования и составляют 187286 рублей.

Проект стоимости монтажа оборудования и КИП, спецработ по укрупнённым нормативным показателям в процентах от стоимости оборудования, транспортных, заготовительно-складских затрат, затрат на запчасти приведён в таблице 8.

Таблица 8.

Стоимость монтажа оборудования, КИП и пусконаладочных работ

Вид работ

Норма от стоимости оборудования, %.

Стоимость работ, руб.

Монтаж оборудования и КИП

7

262200

Пусконаладочные работы

1

37457

ИТОГО

8

299657

На основании приведённых расчётов определяется общая итоговая стоимость оборудования. Расчёт приведён в таблице 9.

Таблица 9.

Итоговая стоимость оборудования

Наименование работ

Стоимость, руб.

Прейскурантная стоимость

3745725

Транспортные, заготовительно-складские расходы на запчасти

187286

Стоимость монтажных и пусконаладочных работ

209657

Всего

4142668


9.5 Вопросы труда и заработной платы


.5.1 Расчёт фонда заработной платы рабочих

Расчёт фонда заработной платы для основных и вспомогательных рабочих производится отдельно в связи с тем, что заработная плата основных производственных рабочих учтена в прямых затратах, а вспомогательных рабочих, связанных с обслуживанием технологического оборудования - в смете затрат на содержание, текущий ремонт и эксплуатацию оборудования.

Вспомогательных рабочих подразделяют на две группы:

рабочие по уходу и надзору за технологическим оборудованием (контролёр, водитель-грузчик, наладчик), заработная плата которых включена в одну смету расходов по содержанию и эксплуатации оборудования;

рабочие по текущему ремонту оборудования (слесарь, электрик), заработная плата которых входит в состав расходов по текущему ремонту оборудования.

ИТР и МОП заработная плата данных рабочих учтена в смете затрат расходов предприятия.

Тарифный фонд заработной платы определяется по формуле:

Зт = Зтч*Чсп*Тэф, (46)

где Зтч - часовая тарифная ставка рабочего;

Чсп - списочная численность рабочих;

Тэф - эффективный фонд рабочего времени.

Дополнительная заработная плата взята в размере 12% от суммы тарифной зарплаты. Расчёт годового фонда заработной платы рабочих приведён в таблице ниже

Таблица 10.

Расчёт фонда заработной платы рабочих

Профессия

Продолжительность рабочего дня, ч

Количество смен

Разряд по ТКС

Списочная численность

Часовая тарифная ставка, руб./ч.

Тарифный фонд заработной платы, руб.

Премия 20%

Фонд дополнительной заработной платы, руб.

Годовой фонд заработной платы, руб.

Всего, руб.

Основные рабочие










1900800

Литейщик

8

3

IV

10

80

1440000

288000

172800

1900800


Вспомогательные рабочие по Т.Р.










340560

Слесарь

8

1

III

1

63

126000

25200

15120

166320


Электрик

8

1

III

1

66

132000

26400

15840

174240


Вспомогательные рабочие по уходу и надзору за оборудованием










948816

Контролёр

8

1

II

1

63

126000

25200

15120

166320


Водитель-резчик (дробильщик)

8

1

II

1

66

132000

26400

15840

174940


Наладчик

8

3

IV

3

76,8

460800

92160

55296

608256


Годовой фонд заработной платы основных рабочих составляет 1900800 руб., рабочих по уходу и надзору за оборудованием 948816 руб., рабочих по текущему ремонту оборудования 340560 рублей.

9.5.2 Расчёт фонда заработной платы ИТР и МОП

Расчёт фонда заработной платы ИТР и МОП производится на основании схемы должностных окладов по отраслям промышленности. Согласно схемы, предприятие литья алюминия относится к первой группе по оплате труда ИТР и МОП.

Расчёт фонда заработной платы персонала предприятия приведён выше и составляет 957600 рублей.

9.6 Расчёт заготовительных цен на сырьё, материалы и энергию, а также себестоимости продукции

Оптовые цены за сырьё, материалы и энергию Таблица 11

Сырьё, материалы, энергия

Цена (с учётом НДС)

Сжатый воздух

0,54 руб./м³

Холодная вода

6,51 руб./м³

Электроэнергия

3,06 руб./кВт

Теплота (водяной пар)

631,5 руб./Гкал

Алюминивые чушки

45 руб./кг

Масло гидравлическое

24 руб./кг


Проектная себестоимость продукции определяется по калькуляции на основании расчётов в предыдущих разделах данного проекта.

Исходными данными для расчёта являются:

капитальные затраты по проектируемому предприятию;

нормы расхода сырья и материалов, энергии и планово-заготовительные цены;

годовой фонд заработной платы работающих;

сметы расходов предприятия и расходов на содержание и эксплуатацию оборудования.

9.7 Расчёт амортизационных отчислений

Отчисления на амортизацию здания включается в смету расходов предприятия, отчисления на амортизацию оборудования - в смету расходов на содержание и эксплуатацию оборудования. Расчёт амортизационных отчислений на здание и оборудование приведён в таблице 12.

Таблица 12.

Расчёт амортизационных отчислений по основным фондам литьевого предприятия

Основные фонды

Стоимость основных фондов, руб.

Норма амортизации, %

Сумма амортизации, руб.

Оборудование

4142668

10

414266,8

Всего

4142668

10

414266,8


Примечание: 1. стоимость оборудования берём с учётом стоимости монтажа; 2. Нормы амортизации взяты по данным действующих предприятий.

9.8 Смета расходов предприятия и на содержание и эксплуатацию оборудования

Смета расходов предприятия приведена в таблице 13.

Таблица 13.

Смета расходов предприятия

Статьи расходов

Сумма, руб.

1

Заработная плата ИТР и МОП (с учётом премий)

957600

2

Отчисления на соцстрахование (8 % от статьи 1)

9576

3

Расход на охрану труда (5% от заработной платы)

47880


Итого по статьям 1-3

1015056

4

Прочие расходы предприятия  (5% от расходов статей 1-6)

50753


Итого, расходы предприятия

1065809


Смета расходов на содержание эксплуатацию оборудования приведена в таблице 14.

Таблица 14.

Смета расходов на содержание и эксплуатацию оборудования

Статьи расходов

Сумма, руб.

1 а б

Расходы на содержание и эксплуатацию оборудования: зарплата рабочих по уходу и надзору за оборудованием смазочные и обтирочные материалы

 948816 185185


Итого по статье 1

1134001

2 а б

Текущий ремонт оборудования зарплата рабочих по текущему ремонту оборудования текущий ремонт оборудования (5% от его стоимости)

 340560 207130


Итого по статье 2

547690

3

Амортизация оборудования

414266,8


Итого по статьям 1-3

2095957,8


9.9 Проектная калькуляция себестоимости продукции

Калькуляцию себестоимости продукции ведём из расчёта на 1 тонну готовой продукции.

Калькуляция себестоимости приведена в таблице 15.

Таблица 15.

Калькуляция себестоимости 1 т. отливок изделий из алюминия

Статьи затрат

Цена за единицу, руб.

Расход по статье на 1 т. литьевых изделий

Сумма, руб.

1. 2.

Сырьё (АК12) Гидравлическое масло

45000 24000

1,04 m 0,016 m

46800 384


Итого по материалам



47184

3.

Энергозатраты теплота (пар) вода электроэнергия сжатый воздух (0,6 МПа)

 631,5 6,51 3,06 0,54

 0,85 Гкал 202,6 м³ 4814 кВт·ч 1296 м³

 536,78 1318,93 14730,4 699,84


Итого по статье 3



17286

4. 5. 6.  7.

Затраты на оснастку пресс-форм Зарплата основных рабочих Расходы на содержание и эксплуатацию оборудования Расходы предприятия



2112 19008 20960  10658,9


Итого себестоимость предприятия



52738

8.  9.

Себестоимость предприятия за вычетом затрат на материалы Общие расходы с ПМ (10% от статьи 8)



5554 554,4

10.

Итого, себестоимость ПМ



6108,4

11.  12.

Внепроизводственные расходы (2% от статьи 10) Налоги (35,6% от ФЗП)



 122,17 14766

13.

Полная себестоимость



138204,57


Анализ структуры себестоимости продукции показывает, что основные затраты приходятся на сырьё и материалы, то есть производство является материалоёмким.

Оценка экономической эффективности проектируемого предприятия ведётся по - следующим основным показателям:

уровень рентабельности производства;

срок окупаемости капитальных вложений;

коэффициент эффективности капитальных вложений;

фондоотдача;

удельные капитальные вложения.

Цена за 1 тонну изделий из алюминия, ЦАБС = 138204,57 р./т.;

Условно годовая прибыль предприятия определяется по формуле:

П = (Ц - С) * В, (47)

где П - прибыль, руб.;

Ц - цена продукции, руб./т.;

С - себестоимость продукции, р./т.;

В - количество выпускаемой продукции в год, т.

ПАБС=(186500-138204,57)*100=4830000 руб

Общую прибыль предприятия составляет ПАБС=4830000 руб

Налог от прибыли составляет 18%. Чистая прибыль предприятия:

Пч = 4830000 *0,82 = 3960600 руб.

Уровень рентабельности проектируемого производства определяется по формуле:

=100%*Пч/(Сопф + Соб), (48)

где Сопф - стоимость основных производственных фондов, руб.;

Соб - стоимость оборотных фондов, руб.

Соб = 7235246 руб.= 3960600 *100/(4830000 + 3960600) = 45,05%

Срок окупаемости капитальных вложений определяется по формуле:

Т = Сопф/Пч , (49)

Т = 4488268/3960600= 1,13 лет

Коэффициент общей эффективности капитальных вложений являются обратной срока окупаемости и определяется по формуле:

Экп = Пч/Сопф, (50)

Экп = 3960600/4488268 = 0,88

Фондоотдача предприятия определяется по формуле:

Ф = Спрод/Сопф, (51)

где Спрод - стоимость годовой программы выпускаемой продукции, руб.

Ф = 3960600/4830000= 0,82 руб./руб.

9.10 Расчет удельных капитальных вложений и производительности труда

Удельные капитальные вложения (УКВ) определяются по формуле:

УКВ = Кп/Мп, (52)

где Кп - капитальные затраты на промышленное строительство, руб;

Мп - проектная мощность, т.

УКВ = 4488268/100 = 44882,68 руб./т.

Расчет производительности труда приведен в таблице 16.

Таблица 16.

Расчет производительности труда

Производственная программа

Численность

Производительность труда

В натуральном выражении, т.

В стоимостном выражении, руб.

Работающих

Рабочих

В натуральном выражении, т.

В стоимостном выражении, руб.





На одного работающего

На одного рабочего

На одного работающего

На одного рабочего

100

18650000

23

17

4,35

5,88

810869

1097059


9.11 Основные технико-экономические показатели предприятия

На основании расчётов, приведённых в технологической и экономической частях проекта, составляется сводная таблица основных технико-экономических показателей проектируемого предприятия.

Таблица 17.

Основные технико-экономические показатели предприятия.

Наименование показателя

Значение показателя


Проектируемый

Существующий

Годовой выпуск продукции в натуральном выражении, т. в стоимостном выражении, руб.

 160 18650000

100

Списочная численность работающих Всего, чел. Рабочих, чел.

 23 17

 23 17

Ориентировочные капитальные вложения, руб.

4488268

-

Себестоимость 1 т. изделий, руб., из Алюминия

13820457

14320468

Съём продукции с 1 м² производственной площади, руб.

64756,94

54254

Выпуск продукции на одного работающего в натуральном выражении, т. в в стоимостном выражении, руб.

 4,35 810869

 3,61 643364

Удельные капитальные вложения на 1 т., руб.

44882,68


Годовая прибыль цеха, руб.

3960600


Уровень рентабельности, %

45,05


Срок окупаемости капитальных вложений, лет

1,13


Коэффициент общей эффективности капитальных вложений

0,88


.1 Анализ опасных и вредных производственных факторов

Оборудование на реконструируемом литейном участке расположено в пролете размерами 24x18 м и высотой 7,2 м. Площадь участка литейного цеха 288 м2. Для обеспечения пожаробезопасности в отделениях цеха имеется песок, огнетушители.

Источниками выделения газов являются: печи и литейные машины.

Источниками шума являются: литейные машины, и машина виброгалтовочная.

Уровень шума на участках составляет L = 77дБА (по заводским данным), что не превышает допустимый норматив (80 дБА) по ГОСТ 12.1.003-90 [7].

Освещение на участке совмещенное: естественное и искусственное.

Работа в литейном цехе согласно ГОСТ 12.1.005-88, относится к категории 2 б - средней тяжести [7].

Климатические условия соответствуют нормативным значениям (в холодный период: нижняя граница + 15 °С, верхняя + 21 °С; в теплый период: нижняя +16 °С, верхняя + 24 °С - по заводским данным) по ГОСТ 12.1.005-88.

Относительная влажность воздуха на участках составляет в холодный период 46-52 % (по заводским данным) в теплый период 42-62 % (по заводским данным), т.е. не превышает 75% по ГОСТ 12.1.005-88 [7].

Скорость воздуха на рабочих местах 0,1 - 0,2 м/с, что соответствует норме (0,3 м/с) [7].

Заводские данные сводим в таблицу 10.1.1

Таблица 10.1.1.

Заводские данные о состоянии климата в цехе

Температура воздуха в пролетах цеха, °С

Относительная влажность, %

Уровень шума,  дБА

Скорость воздуха в пролетах цеха, м/с

Холодный период

Теплый период

Период



Верхняя гран.

Нижняя гран.

Верхняя гран.

Нижняя гран

Холо-дный

Теплый



+ 15

+21

+16

+24

46 - 52

42 - 62

70

0,2 - 0,1


10.2 Расчет искусственного освещения

В проектируемом предприятии предусматривается естественное и электрическое освещение.

Расчёт естественного освещения ведётся методом световой площади и глубины освещённости.

= Sо/Sп, (24)

где Sо - площадь окон, м²;

Sп - площадь пола, м²;

F - световая площадь, м² ( Sо : Sп = 1/9, значит Sо = Sп/9.);

Общая площадь производственных помещений составляет 432 м².о = 432/9 = 48 м²

Размеры выбранного окна составляют 150х170 см, значит площадь окна Fок = 2,55 м².

Тогда количество окон составит:

= Sо/Fок = 48/2,55 = 18,82

Проектируем 19 окон.

Расчёт искусственного освещения ведём методом светового потока.

F = (Е*k*S*Z)/η, (25)

где F - световой поток каждой лампы, лм;

Е - количество номинальной освещённости (Е = 25 лк);- коэффициент запаса (k = 1,3);- площадь помещений, м²;

Z - отношение средней освещённости к минимальной (Z = 1,2).

Коэффициент η даётся для различных светильников в функции отражения стен и потолка Sс и Sп и индекса помещений i. Sс и Sп = 50%

Индекс помещений вычисляется по формуле:

η =i = S/(n*(А + В)), (26)

η = i = 432/(3,5*(15 + 11,5)) = 4,7 (27)

Отсюда F = (25*1,3*432*1,2)/4,7 =3585 лм.

По ГОСТ 2239-75 выбираем лампу ЛДЦ-80 со световым потоком Fп=266 лм.

Количество светильников составит:

= F/Fп = 3585/266 = 13,48

Годовой расход энергии на освещение 1 м² равен 15 кВт.

Отсюда Руст = Sп *15 = 432*15 = 6480 кВт (28)

С учётом коэффициента запаса k = 1,5 установленная мощность составит:

Руст = 6480*1,5 = 9720 кВт

Количество светильников тогда будет:

N = n*1,5 = 13,48*1,5 = 20,22 ≈ 20 шт (29)

С учётом коэффициента спроса по мощности, k = 0,7 потребляемая мощность составит:

Рпотр = Руст*k = 9720*0,7 = 6804 кВт. (30)

Учитывая косинус угла φ и электрических потерь (соs φ = 0,95):

Рпотр = Рпотр/0,95 = 4536/0,95 = 7162,1 кВт. (31)

Согласно СН и П II-А.8-72. На предприятии предусматривается аварийное освещение, обеспечивающее безопасность эвакуации людей из помещений в случае аварии. Питание аварийного освещения осуществляется от независимого источника питания.

Годовой расход электроэнергии на аварийное освещение напряжением 36 В исходит из 15 Вт на 1 м² площади, включая служебные и бытовые помещения.

10.3 Расчет общеобменной вентиляции

Отопление и вентиляция проектируемого предприятия рассчитывается по чертежам, теплотехническим данным источника теплоснабжения, количеству газо- пыле- и тепловыделения, ПДК вредных веществ (СН245-71), метеоусловиям места расположения производства (СН и П II-А.6-72).

Для города Сосенский : tпо - расчётная температура для проектирования отопления, tпо = минус 25°С;поср - средняя температура за отопительный период, tпоср = минус 5°С;пв - расчётная температура для проектирования вентиляции, tпв = минус 25°С;- продолжительность отопительного периода, n = 198 сут.;ср - средняя температура наружнего воздуха жаркого месяца, tср =25°С.

10.3.1 Расчёт кратности воздухообмена

Процесс производства литьевых изделий сопровождается загрязнением воздушной среды производственных помещений предприятия вредными выделениями.

Негативно на самочувствии человека в жаркие месяцы сказывается повышенное теплообразование.

В процессе переработки цветных металлов выделяются окись углерода и непредельные углеводороды. Кроме того образуется пыль в результате дробления бракованных изделий.

Так как в год выделение летучих составляет 0,02 % от всего объёма перерабатываемого сырья (0,02 т.), то в рабочее время за один час будет выделяться 0,0000023 кг летучих.

Кратность воздухообмена определяется по формуле:

К = W/Vп, (34)

где W - объёмный расход воздуха, отсасываемого из помещений, м³/ч.;п - объём помещения, м³.

= g / (Cg - Co), (35)

где g - количество вредных веществ, выделяющихся в рабочее время за 1 час;- содержание вредных веществ в засасываемом воздухе;- предельнодопустимая концентрация вредных веществ в воздухе, Co = 0,006 кг/ м³.

Cg = g/Vп , (36)

 < Co , Cg = 0,0000023/(288*7,2) = 1,1*10─9

Следовательно, для удаления вредных веществ вентиляцию проектировать нецелесообразно. Однако, учитывая, что средняя температура наружного воздуха жаркого месяца tср = 25°С, объём помещения 3110,4 м³ и энергия тепла, отдаваемая оборудованием, составляет 8,1*104 кДж, берём кратность воздухообмена К = 1.

Данный воздухообмен обеспечит благоприятную для работы температуру в помещениях, максимально удалит вредные вещества из помещений. Согласно СН и П-33-76 к каждому материальному цилиндру литьевых машин должен быть проведён местный отсос.

На предприятии для подачи приточного воздуха применяется коллекторная система, позволяющая осуществить равномерную раздачу воздуха по всей площади помещения.

10.3.2 Расчёт расхода теплоты на отопление, вентиляцию, тепла выделяемого оборудованием

Расчётный поток теплоты на отопление определяется по формуле:

Фот = εо*Vн* (tвн - tпо), (37)

где εо - удельная относительная характеристика здания, εо = 0,6-1,1 Вт/м³;

Vн - наружный строительный объём здания, м³;

tвн - проектируемая температура воздуха в помещениях, tвн = 20°С;по - расчётная температура для проектирования отопления, tпо = минус 25°С.

Толщина наружных стен здания 0,5 м; высота фермы 1,8 м, тогда наружный объём здания:н = 25*19*9 = 4275 м³;

Фот = 1*4275*(20 - (-25)) = 192375 Вт.

Средний поток теплоты определяется по формуле:

Фотср = Фот*(tвн - tпоср )/(tвн - tпо), (38)

где tпоср - средняя температура отопительного сезона, tпоср = минус 5°С.

Фотср = 192375*(20 - (-5))/(20 -(-25)) = 106875 Вт

Годовой расход теплоты на отопление определяется по формуле:

Qотг = 3,6*Фотср*m*((n - a)/(2 *106)), (39)

где n - продолжительность отопительного сезона в сутках;

а - сумма выходных и праздничных дней, приходящихся на отопительный сезон, а = 40 дней;- продолжительность работы предприятия в сутки, m = 24 час.отг = (3,6*106875*24*198)/(2*106) = 625,5 ГДж/г = 142,4 Гкал/г

Расчётный поток теплоты на вентиляцию определяется по формуле:

Фв = q*Vвн*(tвн - tпв), (40)

где q - удельная относительная характеристика здания, q = 0,3-3 Вт/ м³;

Vвн - внутренний объём здания, м³;

tпв - расчётная температура для проектирования вентиляции, tпв = минус 25°С.

Фв = 2,5*2073,6*(2 - (-25)) = 139968 Вт

Средний поток теплоты определяется по формуле:

Фвср = Фв*(tвн - tпоср )/(tвн - tпв), (41)

Фвср = 139968*(20 - (-5))/(20 - (-25)) = 1574640 Вт

Годовой расчёт теплоты на вентиляцию определяется по формуле:

Qвг = 3,6*Фвср*m*(n - a)/(2 *106), (42)

вг = (3,6*1574640*24*198)/(2*106) = 13468,9 ГДж/г = 360,6 Гкал/г

Мощность обогревателей основного оборудования Роб = 22500 Вт.

Годовой расход теплоты основным оборудованием определим по формуле:

обг = 3,6*Р*m*(n - a)/(2*106), (43)

где Р - мощность обогревателя, Вт.обг = (3,6*22500*24*198)/(2 *106) = 192,3 ГДж/г

Количество тепла, необходимое для поддержания оптимальной температуры на предприятии составит

необхг = Qотг + Qвг - Qобг, (44)

необхг = 625,5 + 13468,9 - 192,3 = 13902 ГДж/г = 204,8 Гкал/гнеобх = 13902/3234 = 4,2 ГДж/г = 0,63 Гкал/г

В качестве теплоносителя для отопления принимаем водяной пар: прямая линия - +15°С, обратная - +70°С.

Для обеспечения обогрева приточного воздуха применим кондиционер КТЦ-3А-31,5, вырабатывающий 0,7 Гкал теплоты в час и создающий расход воздуха 4000 м³/ч.

.4 Требования безопасности в литейном цехе

Основные опасности при работе на литьевом предприятии: электроопасность, термоопасность, опасность механического травмирования.

На предприятии должен быть организован трёхступенчатый контроль техники безопасности.

На предприятии должны быть инструкции по охране труда для работников предприятия.

Для профилактики травм и защиты труда литейщиков на производстве должны быть приняты следующие меры: регулярно проводится технические осмотры машин, работающий на предприятии персонал должен иметь спецодежду, спецобувь.

Литьевые машины оборудованы специальными устройствами, обеспечивающими безопасность работы при соблюдении правил их эксплуатации (дверцы, защитные клапаны, заземление и др.).

10.5 Противопожарные мероприятия

На производстве имеются: душевое отделение, туалет, кухня, бытовая комната. Есть отопление. Все помещения убираются уборщиком.

Вблизи от огнеопасных объектов должны быть оборудованы пожарные щиты, укомплектованные огнетушителями, ящиками с песком, лопатами, вёдрами и другими необходимыми инструментами. Кроме пожарных щитов на предприятии должны быть пожарные гидранты [6].

Сопротивление заземляющих устройств должно быть не более 4 Ом.

В качестве заземляющих проводников и заземления используются строительные элементы здания.

Контуры заземления выполняются из полосовой стали.

Отвод зарядов статического электричества осуществляется путём заземления оборудования.

Согласно СН 305-69 проектируемое участок (здание предприятия) относится по молниезащите ко II категории, для которой расчитывается зона защиты молниеотвода R и потребное количество молниеотводов n [7].= 1,5*hm , (32)= L/(2*R), (33)

где hm - высота молниеотвода, hm = 1,2*h, м;- высота строения, м;- длина строения, м.= 1,5*1,2*9 = 16,2 м² ;

n = 24/(2*16,2) = 0,7 ≈ 1.

Проектируем один молниеотвод с зоной защиты 16,2 м².

11. Склады

В состав складского хозяйства цеха входят следующие склады:

. Склад шихтовых материалов.

. Склад форм

. Склад готовых отливок

С учетом годовой программы выпуска литья площадь складов шихтовых материалов принимаем 30 м2.

12. Транспорт

К внутрицеховому транспорту относится все виды транспортных средств обеспечивающие технологический процесс изготовления отливок.

Внутрицеховой транспорт делится на транспорт периодического и непрерывного действия.

К транспорту периодического действия относятся мостовые и консольные краны, краны - балки, механизированные тележки.

К транспорту непрерывного действия относятся конвейеры и элеваторы.

Для транспортировки пресс-форм и грузов массой более 25 кг на предприятии предусмотрена потолочная подвесная кран-балка грузоподъёмностью Q = 1 т. (Мощность 2,3 кВт)

Заключение

Разработана технологическая часть эскизного проекта предприятия по производству алюминиевых деталей для систем типа «компрессор» методом литья под давлением, мощностью 160 тонн в год.

Произведены обоснование и выбор способа изготовления изделий (литьё под давлением).

Разработана технологическая схема производства литьевых изделий. Основное оборудование работает в полуавтоматическом режиме.

Произведён выбор технологического оборудования и расчёт потребности в нём. На предприятии установлены литьевые машины марки CLV160.01, M-400, CLV250.01, A711A08 и CLPO-100/16-2A, а также вспомогательное оборудование:

станок заточной модель 3B633,

барабан галтовочный собственного изготовления,

кран-балка мощностью 1т.

электропечь САТ-0,25

Списочная численность рабочих и персонала предприятия составляет: основных рабочих - 14 человек, вспомогательных - 7 человек, ИТР - 4 человека, МОП - 2 человека.

Произведена планировка помещений и компоновка технологического оборудования. Здание занимает площадь 288 м² и объём 2073,6 м³.

Годовой расход электроэнергии на предприятии составляет 675879,2 кВт·ч; воды - 272466 м³; сжатого воздуха (0,6 МПа) - 144000 м³; тепла на отопление и вентиляцию - 204,8 Гкал.

Ориентировочные капитальные вложения составляют 4488268 руб. Годовая прибыль предприятия равна 3960600 руб. Уровень рентабельности предприятия 45,05%, срок окупаемости капитальных вложений составляет 1,13 лет. Коэффициент эффективности капитальных вложений 0,88.

Библиографический список

1. Справочник «Алюминиевые сплавы» Альтман М.Б., Андреев А.Д., Балахонцев Г.А. - Москва «Металлургия» - 1983г., 352 с.

. Аксенов П.Н. Оборудование литейных цехов. - М.: Машиностроение, 1977. - 510 с.

. Белоусов В.А. Методические указания по выполнению дипломного проекта по курсу «Машины и технология литейного роизводства» ТулГУ, 1993.

. ГОСТ 977-88. Стали литейные

. Журнал «Литейное производство» за последние 5 лет.

. Основы проектирования литейных цехов: Учебник. Под ред. Б.В. Кнорре, - Машиностроение, 1979. - 367с.

. Сафронов В.Я. Справочник по литейному оборудованию. - М.: Машиностроение, 1985. - 320с.

. Каталог справочник по технологической оснастке- М.: НИИТЭ, 1968 - 245 с.

. Шестакова Н. К. Методические указания по выполнению лабораторной работы «Оценка шума в производственных помещениях» ТулГУ,2002г.

Похожие работы на - Проект реконструкции участка литейного цеха литья под давлением ФГУП 'НПЦ АП' – филиал 'Сосенский приборостроительный завод' с годовой программой 160 тонн отливок в год

 

Не нашли материал для своей работы?
Поможем написать уникальную работу
Без плагиата!
Без нейросетей!