Усилительный каскад с общим коллектором
Усилительный
каскад с общим коллектором
Введение
схема
электрический усилительный каскад
В
современной электронике все большая роль отводится использованию достижений цифровой и (в несколько меньшей
мере) аналоговой микросхемотехники. Устройства на микросхемах (более того, иногда только на микросхемах) стали проникать даже в те области, где ранее никому
не приходило в голову их использовать
из-за явно большей себестоимости по
сравнению с простейшими транзисторными
цепочками (различные датчики, игрушки, бытовые и промышленные индикаторы и сигнализаторы и т.п.).
Несмотря на это все еще остаются
сферы, где применение дискретных элементов
по-прежнему популярно, а иногда и неизбежно. Кроме того, знание способов включения и режимов работы транзисторов, а также методик построения и
анализа транзисторных схем является
обязательным для любого инженера - электронщика, даже если ему и не приходится
в реальной жизни проектировать схемы на дискретных элементах (ведь современные
микросхемы - суть транзисторные схемы, помещенные в один общий корпус с
внешними выводами).
Целью данной работы является расчет параметров
усилительного каскада с общим коллектором (ОК).
В результате выполнения данной работы, будут
получит базовые навыки проведения инженерных расчётов аналоговых электронных
устройств.
В первом разделе, теоретическая часть, будут
рассмотрены общие сведения об усилителях и транзисторах.
Во втором разделе, практическая часть, будет
рассмотрена схема электрическая принципиальная усилительного каскада с ОК.
В третьем разделе, практическая часть, будет
проведен расчет основных параметров схемы и выбор элементной базы.
В заключении будут подведены итоги работы.
1.Теоретическая часть
схема электрический
усилительный каскад
1.1 Общие сведения о биполярных
транзисторах
Биполярный транзистор - трехэлектродный
полупроводниковый прибор, один из типов транзистора. Электроды подключены к
трём последовательно расположенным слоям полупроводника с чередующимся типом
примесной проводимости. По этому способу чередования различают npn и pnp
транзисторы (n (negative) - электронный тип примесной проводимости, p
(positive) - дырочный). В биполярном транзисторе, в отличие от полевого
транзистора, используются заряды одновременно двух типов, носителями которых
являются электроны и дырки (от слова «би» - «два»). Схематическое устройство
транзистора показано на рис 1.

Рис 1. Биполярный транзистор.
Электрод, подключённый к центральному слою,
называют базой, электроды, подключённые к внешним слоям, называют коллектором и
эмиттером. На простейшей схеме различия между коллектором и эмиттером не видны.
В действительности же главное отличие коллектора - большая площадь
p-n-перехода. Кроме того, для работы транзистора абсолютно необходима малая
толщина базы.
Биполярный точечный транзистор был изобретен в
1947 году, в течение последующих лет он зарекомендовал себя как основной
элемент для изготовления интегральных микросхем, использующих
транзисторно-транзисторную, резисторно-транзисторную и диодно-транзисторную
логику.
Режимы работы биполярного транзистора:
) Нормальный активный режим.
Переход эмиттер-база включен в прямом направлении (открыт), а переход
коллектор-база - в обратном (закрыт) UЭБ>0; UКБ<0 (
для транзистора p-n-p типа, для транзистора n-p-n типа условие будет иметь вид
UЭБ<0; UКБ>0);
) Инверсный активный режим.
Эмиттерный переход имеет обратное включение, а коллекторный переход - прямое.
) Режим насыщения. Оба p-n
перехода смещены в прямом направлении (оба открыты). Если эмиттерный и
коллекторный р-n-переходы подключить к внешним источникам в прямом направлении,
транзистор будет находиться в режиме насыщения. Диффузионное электрическое поле
эмиттерного и коллекторного переходов будет частично ослабляться электрическим
полем, создаваемым внешними источниками Uэб и Uкб. В результате уменьшится
потенциальный барьер, ограничивавший диффузию основных носителей заряда, и
начнется проникновение (инжекция) дырок из эмиттера и коллектора в базу, то
есть через эмиттер и коллектор транзистора потекут токи, называемые токами
насыщения эмиттера (IЭ.нас) и коллектора (IК.нас).
) Режим отсечки. В данном режиме
оба p-n перехода прибора смещены в обратном направлении (оба закрыты). Режим
отсечки транзистора получается тогда, когда эмиттерный и коллекторный
р-n-переходы подключены к внешним источникам в обратном направлении. В этом
случае через оба р-n-перехода протекают очень малые обратные токи эмиттера (IЭБО)
и коллектора (IКБО). Ток базы равен сумме этих токов и в зависимости
от типа транзистора находится в пределах от единиц микроампер - мкА (у
кремниевых транзисторов) до единиц миллиампер - мА (у германиевых
транзисторов).
) Барьерный режим. В данном режиме
база транзистора по постоянному току соединена накоротко или через небольшой
резистор с его коллектором, а в коллекторную или в эмиттерную цепь транзистора
включается резистор, задающий ток через транзистор. В таком включении
транзистор представляет из себя своеобразный диод, включенный последовательно с
токозадающим резистором. Подобные схемы каскадов отличаются малым количеством
комплектующих, хорошей развязкой по высокой частоте, большим рабочим диапазоном
температур, нечувствительностью к параметрам транзисторов.
Схема включения транзистора с общей базой (ОБ)
изображена на рис 2.
схема электрический усилительный
каскад
Рис 2. Схема включения с ОБ.
Среди всех трех конфигураций обладает наименьшим
входным и наибольшим выходным сопротивлением. Имеет коэффициент усиления по
току, близкий к единице, и большой коэффициент усиления по напряжению. Фаза
сигнала не инвертируется.
Коэффициент усиления по току:
вых/Iвх=Iк/Iэ=α
[α<1]
Входное сопротивление
Rвх=Uвх/Iвх=Uбэ/Iэ.
Входное сопротивление для схемы с общей базой
мало и не превышает 100 Ом для маломощных транзисторов, так как входная цепь
транзистора при этом представляет собой открытый эмиттерный переход
транзистора.
Достоинства:
· Хорошие температурные и частотные
свойства.
· Высокое допустимое напряжение
Недостатки схемы с ОБ:
· Малое усиление по току, так как α
< 1
· Малое входное сопротивление
· Два разных источника напряжения для
питания.
Схема включения с общим эмиттером (ОЭ) показана
на рис 3:
Рис 3. Схема с ОЭ.
вых=Iк
Iвх=Iб
Uвх=Uбэ
Uвых=Uкэ
· Коэффициент усиления по току:
Iвых/Iвх=Iк/Iб=Iк/(Iэ-Iк)
= α/(1-α) = β [β>>1]
· Входное сопротивление:
вх=Uвх/Iвх=Uбэ/Iб
Достоинства:
· Большой коэффициент усиления по току
· Большой коэффициент усиления по
напряжению
· Наибольшее усиление мощности
· Можно обойтись одним источником
питания
· Выходное переменное напряжение
инвертируется относительно входного.
Недостатки:
· Худшие температурные и частотные
свойства по сравнению со схемой с общей базой
Схема включения биполярного транзистора с ОК изображена
на рис 4. Схему с таким включением называют «эмиттерным повторителем».
Рис 4. Схема с ОК.
вых=Iэ
Iвх=Iб
Uвх=Uбк
Uвых=Uкэ
· Коэффициент усиления по току:
вых/Iвх=Iэ/Iб=Iэ/(Iэ-Iк)
= 1/(1-α) = β [β>>1]
· Входное сопротивление:
Достоинства:
· Большое входное сопротивление
· Малое выходное сопротивление
Недостатки:
· Коэффициент усиления по напряжению
меньше 1.
.2 Общие сведения об
электронных усилителях
Электронный усилитель
- усилитель электрических сигналов, в усилительных элементах которого
используется явление электрической проводимости в газах, вакууме и
полупроводниках. Электронный усилитель может представлять собой как
самостоятельное устройство, так и блок (функциональный узел) в составе
какой-либо аппаратуры - радиоприёмника, магнитофона, измерительного прибора и
т. д.
Каскад усиления
- ступень усилителя, содержащая один или несколько усилительных элементов, цепи
нагрузки и связи с предыдущими или последующими ступенями.
В качестве усилительных элементов обычно
используются электронные лампы или транзисторы (биполярные, полевые), иногда, в
некоторых специальных случаях, могут применяться и двухполюсники, например,
туннельные диоды (используется свойство отрицательного сопротивления) и др.
Полупроводниковые усилительные элементы (а иногда и вакуумные) могут быть не
только дискретными (отдельными) но и интегральными (в составе микросхем), часто
в одной микросхеме реализуется полностью законченный усилитель.
В зависимости от способа включения усилительного
элемента различаются каскады с общей базой, общим эмиттером, общим коллектором
(эмиттерный повторитель) (у биполярного транзистора), с общим затвором, общим
истоком, общим стоком (истоковый повторитель) (у полевого транзистора) и с
общей сеткой, общим катодом, общим анодом (у ламп)
Каскад с общим эмиттером (истоком,
катодом) - наиболее распространённый способ включения,
позволяет усиливать сигнал по току и напряжению одновременно, сдвигает фазу на
180°, то есть является инвертирующим.
Каскад с общей базой (затвором,
сеткой) - усиливает только по напряжению, применяется
редко, является наиболее высокочастотным, фазу не сдвигает.
Каскад с общим коллектором (стоком,
анодом) - называется также повторителем (эмиттерным,
истоковым, катодным), усиливает ток, оставляя напряжение сигнала равным
исходному. Применяется в качестве буферного усилителя. Важными свойствами
повторителя являются его высокое входное и низкое выходное сопротивления, фазу
не сдвигает.
.3 Усилительный каскад на биполярном транзисторе
с общим коллектором (эмиттерный повторитель)
Данную схему (рис. 7) называют также эмиттерным
повторителем, вследствие того, что ее выходное напряжение, снимаемое с эмиттера
транзистора, близко по величине к входному напряжению(Uн=Uвх-
UбэUвх) и совпадает с ним по фазе.
Резистор Rэ в схеме выполняет те же
функции, что и Rк в схеме с ОЭ - создание Uвых за счет
протекания Iэ, управляемого по цепи базы. R1, R2
задают режим покоя каскада, часто R2 не вводят для того, чтобы
увеличить входное сопротивление.
Высокое Rвх - основное достоинство
схемы с ОК, поэтому схему с ОК применяют для согласования с источником сигнала,
обладающим высоким внутренним сопротивлением.
Для оценки КU примем Rвх>>Rг,
а Rвх(1+)(Rэ||Rн) при этом КU1,
точно КU<1 и в пределе стремится к 1.
Это свойство каскада ОК используют, когда
необходимо повысить мощность сигнала при сохранении величины его амплитуды
напряжения, т.к. КU1, то и КPКI.
Выходное сопротивление мало (1050) Ом.
Это свойство используют, когда необходимо решить
задачу согласования выходной цепи усилителя с низкоомным сопротивлением
нагрузки. При этом каскад ОК применяют в качестве выходного каскада усилителя.
Влияние разделительных конденсаторов на
частотную характеристику полностью аналогично влиянию соответствующих
конденсаторов в каскаде с ОЭ. Они полностью определяют вид низкочастотной части
АЧХ каскада.
Важной особенностью эмиттерного повторителя
является то, что его входное сопротивление резко уменьшается при повышенной
частоте. Это обусловлено инерционностью процессов в базе транзистора, а также
наличием коллекторной и нагрузочной емкостей.
Функциональная схема приведена на рис 7.
Рис 5. Функциональная схема каскада с ОК.
2. Практическая часть
Для расчета выбрали схему, которая изображена на
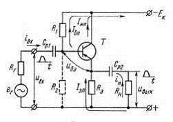
рис. 6.
Рис 6. Электрическая принципиальная схема
усилительного каскада с ОК.
VT1, Rэ
- эмиттерный повторитель.
RБ1, RБ2
- резистивный делитель напряжения для смещения рабочей точки транзистора.
С1, С2 - разделительные (фильтрующие)
конденсаторы, которые свободно пропускают переменное напряжение в заданном
диапазоне частот и отделяют каскад по входу и выходу по постоянному току.
Rн - сопротивление
нагрузки, с которого снимают выходной сигнал.
Характерные особенности схемы:
) Высокое входное сопротивление, значение
которого достаточно стабильно.
) Большой коэффициент усиления по току.
) Стабильный коэффициент усиления по напряжению,
близкий к единице.
) Малое выходное сопротивление.
) Отсутствие в рабочем диапазоне частот фазового
сдвига между входным и выходным напряжениями.
Недостатки: Ограничение по сопротивлению
нагрузки, так как при низкоомной нагрузке емкость конденсатора С2 должна быть
очень большой.
где Iэ
пок - ток эмиттера при нулевом входном сигнале Uвх;
Uп
- напряжение питания.
где Uэ
пок - выходное напряжение эмиттерного повторителя
при нулевом напряжении Uвх.
где Uб
пок - входное напряжение транзистора.
где kд
- коэффициент делителя напряжения.
где R
вх
тр
- входное сопротивления транзистора; β - коэффициент
передачи по току.
Входное сопротивление каскада равно
эквивалентному сопротивлению параллельно соединенных RБ1,
RБ2, R
вх
тр
: Rвх=RБ1//RБ2//Rвх
тр.
Выходное сопротивление каскада численно равно
эквивалентному сопротивлению параллельно соединенным RЭ
и Rн.
Емкость конденсаторов вычисляют по следующим
формулам:
где ωн-
нижняя граница частот.
3. Расчетная часть
Исходные данные к работе: Uп=5В,
Rвх=
6кОм, Rвых=
2кОм, f=100Гц-10кГц.
.1 Расчет сопротивления в цепи эмиттера
По известному эмпирическому соотношению Rэ=(0.4..0.8)Rн.
Пусть
для нашей схемы Rэ=0.5Rн.
Тогда из формулы для расчета Rвых
имеем:
При Rвых=
2кОм из формулы (3.1) определим Rэ
и Rн:
Выбираем
по
ближайшему номинальному значению из ряда Е24.
Нашему выбору удовлетворяет резистор типа
МЛТ-0,125 с параметрами для

RБVT=
(1+β)*Rэ (3.2)
Для современных транзисторов коэффициент β=20÷1000.
Пусть
β=50,
то
входное сопротивление составит :
RБVT=
(1+50)*3= 153 кОм
.3 Расчет сопротивлений делителя:
По формуле (2.2) определим напряжение на
эмиттере в режиме покоя:
По формуле (2.3) определим напряжение на базе
транзистора в режиме покоя:
Запишем уравнение
для
сопротивлений делителей:
Входное сопротивление каскада равно
эквивалентному сопротивлению параллельно соединенных RБ1,
RБ2, RБVT
:
Rвх=RБ1//RБ2//
RБVT.
Откуда получаем еще одно соотношение для RБ1и
RБ2:
Решаем систему уравнений (3.3) и (3.4),
получаем:
Из ряда Е24 номинальных значений сопротивлений
выбираем для RБ1и RБ2:
Нашему выбору удовлетворяют резисторы типа
МЛТ-0,125 (постоянные металлопленочные лакированные теплостойкие, 0.125 -
номинальная рассеиваемая мощность) с допуском на номинальное сопротивление 10%:
.4 Расчет емкостей для ФВЧ для входа и выхода.
Емкость конденсаторов определяется по формулам
(2.6) и (2.7), которая составила:
Выбираем емкости из ряда Е12 с запасом емкости:
Для данной схемы выбираем керамические
конденсаторы емкостью 0,47мкФ: К15-5 Н70 ( К - конденсатор постоянной емкости,
15 - керамические высоковольтный на номинальное напряжение до 1,6 кВ , Н70 -
Группа ТКЕ) ±5%.
3.5 Выбор транзистора
Выбранный транзистор должен удовлетворять
следующим условиям:
Данным условиям удовлетворяет транзистор
МП11А(Транзистор германиевый сплавной n-p-n усилительный низкочастотный с
ненормированным коэффициентом шума на частоте 1 кГц. Предназначены для усиления
сигналов низкой частоты. Выпускаются в металлостеклянном корпусе с гибкими
выводами. Обозначение типа приводится на боковой поверхности корпуса. Масса
транзистора не более 2 г. ).
Заключение
Выполнив цель нашей курсовой работы, мы освоили
навыки расчета электронных схем усилителей на транзисторах, поняли основные
принципы работы этих схем.
Основные выводы по
проделанной работе:
Не обладая усилением по
напряжению, каскад с ОК обеспечивает
значительное усиление по току, следствием этого является значительное усиление по мощности.
Каскад с
ОК имеет достаточно высокое входное сопротивление,
аналогичное входному сопротивлению каскада о ОЭ. При этом его выходное сопротивление очень мало, т.е., он особенно удобен для согласования высокоомных
источников сигнала с низкоомной нагрузкой. На практике мы можем значительно повысить входное сопротивление (обычно гораздо больше, чем в каскаде с ОЭ), используя принцип
следящей связи, описанный при рассмотрении усилителей с ОЭ. Малое выходное сопротивление делает каскад с ОК идеальным при согласовании с емкостной нагрузкой.
В первой части был рассмотрен теоретический
материал, разобрана функциональная схема усилительного каскада с ОК. Во второй
части была рассмотрена электрическая принципиальная схема эмиттерного
повторителя. В третьей части были произведены расчет и выборка элементов схемы.
Список литературы
1) С.Г. Прохоров, В.Г. Трусенев
«Расчет усилительного каскада на биполярном транзисторе: учебно-методическое
пособие - Казань: КГТУ, 2011г.
)Пауль Хоровиц, Уинфилд Хилл
«Искуство схемотехники» 5-е издание - М: «Мир»,2008 г
) А.С. Касаткин, М.В. Немцов
«Электротехника» учебник - М: «Академия», 2009г
) Титце У., Шенк К.
Полупроводниковая схемотехника. Справочное руководство. Пер. с нем. - М.: Мир,
2012 г.
) В.В. Афанасьев, М.П. Данилаев,
И.И. Нуреев, А.И. Усанов «Схемотехника аналоговых электронных устройств» метод.
пособие - Казань: КГТУ, 2009г.
Приложение
электрическая принципиальная схема