Расчет металлических конструкций

  • Вид работы:
    Курсовая работа (т)
  • Предмет:
    Строительство
  • Язык:
    Русский
    ,
    Формат файла:
    MS Word
    218,87 Кб
  • Опубликовано:
    2014-09-17
Вы можете узнать стоимость помощи в написании студенческой работы.
Помощь в написании работы, которую точно примут!

Расчет металлических конструкций

Исходные данные

 

1.      Продольный шаг колонны - 17м;

2.      Строительная высота перекрытия не более - 1,6м;

.        Отметка настила на уровне пола - 10,4м;

.        Поперечный шаг колонн - 3.5м;

.        Нормативная нагрузка на площадку - 30кПа;

.        Сталь - С235;

.        Толщина настила из стали С235 - 14мм;

.        Коэффициент надежности по нагрузке - 1,2;

.        Предельный прогиб настила - 1/200.

Модуль упругости стали

Коэффициент Пуассона

Характеристики стали С 235 (табл. 51 СНиП [1]):

; ; ; .

 

1. Разработка схемы балочной клетки нормального типа

 

.1 Расчет плоского и ребристого стального настила


По данным предельный прогиб составляет , значит, вычисление пролёта настила определяется по формуле:


Принимаем

Вычисляем цилиндрическую жёсткость  по формулам:

;


Балочный прогиб и момент при

Балочный прогиб настила от нормативной нагрузки:

.

Балочный изгибающий момент от расчётной нагрузки:


Из уравнения

 

находим

Изгибающий момент и прогиб с учетом распора:

;

.

Относительный прогиб

.

Распор на единицу ширины настила:

.

Напряжения в настиле:

Из расчета видно, что предельным состоянием плоского настила является жесткость, а не прочность.

Толщина одностороннего сварного шва, прикрепляющего настил к балкам, рассчитывается на распор .

Для полуавтоматической сварки принимаем по СНиП [1] :

Электрод Э42 (т.55), , ; (т.56), (т.51).


Так как , то расчет ведем по сечению металла шва.

Катет шва:


Принимаем  по СНиП [1] (т. 38)

1.2 Определение оптимального шага балок настила. Подбор сечения балок настила, определение массы стали площадки в кг/м2, количества сварных швов, м/м2 и узлов сопряжения на одну секцию


Сталь С 235 (таб. 51 СНиП [1]):

; ; ; .

 по (таб. 6 СНиП [1]).

Для нормальной балочной клетки:

- шаг второстепенных балок с плоским настилом:

 bвб =lн+а=1+0,05=1,05м (а=2-5см)

 n=L/bвб=17/1,0=17, n=17

 16×1,05=16,8 м


 - шаг второстепенных балок с ребристым настилом:


Увеличиваем шаг второстепенных балок на 35% и устанавливаем ребра настила

bвб=1500 мм.

 n=L/bвб=17/1,5=11,33, n=12

 11×1,5=16,5м


Подбор сечения ребра:

 кН¤м

 кН×м

см3

см

см

Принимаем размеры ребра 14´90 мм


Для нормальной балочной клетки с плоским настилом

Подбор сечений прокатных балок в упругой стадии работы с учетом развития пластических деформаций производим используя условие прочности. Предварительно находим расчетную погонную нагрузку:

 кН¤м

Прочность балки в упругой стадии обеспечивается если

 кН×м, gс=1,1

см3

Принимаем: I №22, Wx=232 см3, масса 1м длины 24 кг

Расчет в пластической стадии работы изгибаемых балок ведем по формуле:

,

где с принимаем по таблице 66 [1] с=1,07:

см3

Принимаем: I №22, Wx=332 см3, масса 1м длины 24 кг

Соотношение площадей пояса и стенки для двутавра:


По интерполяции находим с (табл.66):

Принимаем с=1,09

Проверяем напряжения

, прочность обеспечена.

Количество сопряжений в одном уровне равно 28.

Для нормальной балочной клетки с ребристым настилом

Предварительно находим расчетную погонную нагрузку:

 кН¤м

Прочность балки в упругой стадии обеспечивается если

 кН×м, gс=1,1

см3

Принимаем: I №27, Wx=371 см3, масса 1м длины 31,5 кг

Расчет в пластической стадии работы изгибаемых балок ведем по формуле:

,

где с принимаем по таблице 66 [1] с=1,07:

см3

Принимаем: I №27, Wx=371 см3, масса 1м длины 31,5 кг

Проверяем прочность балки в упругой стадии для I №27:

,

МПа, прочность обеспечена, т.к. перенапряжение не более 5%.

Для дальнейшего расчета принимаем I №27.

Соотношение площадей пояса и стенки для двутавра:


По интерполяции находим с (табл.66):

Проверяем напряжения

, прочность обеспечена.

1.3 Сравнение вариантов


Тип сопряжения при заданной высоте площадки можно установить имея высоты балок.

Высоту главной балки найдем по формуле см

, ,  кН¤м

 кН×м

см3

см, сопряжение балок в одном уровне.

Подсчитываем расход стали, кг/м2, на прокатные балки и ребра:

Для нормальной балочной клетки с плоским настилом:

mб=24/1,0=24 кг/м2,

mн=7850×(1×1×0,014)=109,9 кг/м2,

m=133,9 кг/м2

Количество сварных швов, м/м2, для крепления настила к балкам двумя швами: mб=2/b=2/1,0=2,0 м/м2

Для нормальной балочной клетки с ребристым настилом:

mб=31,5/1,5=21 кг/м2,

mн=7850×(1×1×0,014)=109,9 кг/м2,

 кг/м2

m=140,79 кг/м2

Количество сварных швов, м/м2, для крепления настила к балкам двумя швами: mб=2/b=2/1,5=1,67 м/м2

Количество сварных швов, м/м2 для крепления ребер к настилу одним швом: mr=1/br=1/1,0=1 м/м2

Таблица1. Сравнение вариантов

Вариант

Тип балочной клетки и настила

Масса площадки, кг¤м2

Число узлов сопр-й на секцию

Длина сварных швов на 1м2площадки, м




В одном уровне

По балкам настила

По ребрам настила

Всего сварных швов

1

Нормальный тип с плоским настилом

133,9

34

2,0

-

2,0

2

Нормальный тип с ребристым настилом

140,79

22

1,67

1,0

2,67


Из рассматриваемых вариантов к дальнейшим расчетам принимаем нормальный тип балочной клетки с плоским настилом т.к. он обладает меньшей массой.

1.4 Проверочные расчеты элементов балочной клетки


Выполняются с целью проверки прочности и жесткости балок. Нагрузка на каждый элемент подсчитывается в табличной форме.

Таблица 2. Нагрузки на второстепенную балку, кПа

Нагрузки

Нормативная нагрузка

Коэффициент перегрузки

Расчетная нагрузка

Постоянная: cобственный вес настила ( t=14мм ) cобственный вес балок ( двутавр №22 ) Временная: Полезная

 1,1 0,24  30

 1,05 1,05  1,3

 1,16 0,252  39

Итого

31,34


40,412


Находим суммарную погонную нагрузку:

 кН¤м

 кН×м

Проверка прочности балки в упругой стадии:

,

МПа, прочность обеспечена, gс=1,1

Проверка прочности в пластической стадии работы изгибаемых балок:

, где с=1,09 (по таблице 66)

МПа, прочность обеспечена.

Относительный прогиб должен удовлетворять условию:

, Ix=2550 см4

Сечение второстепенной балки удовлетворяет условию прочности и жесткости.

 

2. Проектирование главной балки


2.1 Определение нагрузок и расчетных усилий


Давление второстепенных балок:

,

где qвб - расчетная погонная нагрузка на второстепенную балку;

lвб - пролет второстепенной балки.

кН

Так как число регулярно расположенных грузов более пяти, узловую нагрузку заменяем равномерно распределенной:

кН/м;

 кН×м;

 кН


2.2 Компоновка сечения главной балки


Вычисляем минимальную высоту главной балки из условия требуемой жесткости, см:

,

где Ry - расчетное сопротивление стали, Мпа;

l - пролет балки, см;

 - величина обратная предельному прогибу, для главных балок рабочих площадок равная 400.

м = 130см.

Определяем толщину стенок из условия ее прочности на срез на опоре балки:

,

где Rs - расчетное сопротивление стали срезу, Rs=133,4Мпа.

Hw - высота стенки, hw =h-(4-5)=143.2-4=139,2см, принимаем h=140

см3

см,

м.

Принимаем tw=10мм.

Из условия постановки только поперечных ребер:

,

см.

Принимаем tw=10мм.

Оптимальную высоту балки находим из условия минимума массы

,

где k =1,15 - для балок постоянного сечения по длине;

 Wтр - требуемый момент сопротивления для изгибающего момента в середине балки

 см3

см

Принимаем hопт=1600мм.

Площадь сечения одного пояса находим из выражения для момента инерции площади поясов балки:

,

где

;

tf=2-3; 

h=hw+2tf=140+2×2=144см.

 см4

 см2.

Ширину пояса назначаем в пределах


см,          см (широкополосная универсальная сталь ГОСТ82-70)

тогда толщина пояса

см,

tf=4,0 cм.

Af=4,0×25=100 см2.

Проверка местной устойчивости

,

m=29,9 ( таблица 9 [1] )

 местная устойчивость обеспечена.

Площадь поперечного сечения балки пролетом свыше 12м к опорам уменьшают для снижения массы.

,

м,

 кН×м


 см3.

Площадь одного пояса        

 см2.

Ширина балки должна быть не менее

см,

Т.к. cм, то принимаем

см.

Принимаем b/ f=25cм.

Af=4,0×25=100 см2.

Для измененного сечения

 см3,

где

 см4;

см

 см3,

 кН×м

Определим абсциссу x из условия прочности:

,

;

;

D=1475886,43;

м.

Принимаем x=4,0 м

 

2.3 Проверочные расчеты балки


Рис. Поперечное сечение главной балки в пролете и на опоре

Определим геометрические характеристики:

,

где Iосл - момент инерции ослабления верхнего пояса отверстиями.

момент инерции и момент сопротивления нетто в середине балки:

 см4;

 см3

момент инерции и момент сопротивления нетто на опоре:

 см4;

 см3

Вычисляем для опорного сечения статические моменты площади пояса Sf / и площади полусечения S:

 см3;

 см3

Проверочные расчеты сечения балки по нормативным напряжениям в середине, по касательным на опоре показывают, что прочность по ним обеспечена, так как:

;


Проверку местных напряжений в стенке не проводим, т.к. сопряжение балок пониженное.

Проверяем прочность балки на совместное действие напряжений:

За расчетное сечение принимаем место изменения сечения поясов, т.к. здесь возникают наибольшие нормальные и касательные напряжения:

 МПа;

,   где  кН;

 Мпа;

 прочность балки обеспечена.

Проверяем условие жесткости:


Для равномерно распределенной нагрузки прогиб вычисляют по формуле:

,

Сечение главной балки удовлетворяет условию жесткости.

Проверку общей устойчивости не производим, т.к. передача нагрузки происходит через сплошной жесткий настил, опирающийся на сжатый пояс балки, и падежно связан с ними.

Проверка местной устойчивости балки

Местная устойчивость сжатого пояса обеспечена, если

,       m=29,9 ( таблица 9 [1] )

 значит, местная устойчивость обеспечена.

Местная устойчивость стенки зависит от нормальных и касательных напряжений и от условия гибкости стенки:

,

где t - толщина сжатого пояса;

 m=29,9 (по таблице 9 [1]).

Для обеспечения устойчивости стенки балки ее раскрепляют основными поперечными ребрами, а при условной гибкости стенки  - основными поперечными ребрами и парным продольным ребром. Поперечные ребра ставят при и отсутствии подвижной нагрузки.

Для обеспечения устойчивости стенки балки её раскрепляют основными поперечными ребрами, а при условии гибкости стенки , основными поперечными ребрами и парным продольным ребром, расположенным в средней части балки на расстоянии  от сжатого пояса. Если устойчивость сжатой стенки при этом не обеспечивается, то, помимо основных поперечных и продольных ребер, сжатая часть стенки укрепляется короткими поперечными ребрами.

Расстояние между поперечными ребрами:

см, принимаем a, равное шагу второстепенных балок (105 см).

При двустороннем симметричном размещении ширина ребра должна быть не менее мм, принимаем bh=95 мм.

Толщина ребра мм, принимаем ts=7мм.

Устойчивость проверяем в каждом отсеке по формуле:

,

где     

 ; 

,

где m - отношение большей стороны пластины к меньшей ;

d - меньшая сторона пластины;

Коэффициент сcr для сварных балок принимают по таблице 3 [ 3 ] в зависимости от коэффициента:

,

где b=0,8

bf , tf - ширина и толщина сжатого пояса;

hef , t - размеры стенки.

, следовательно ccr = 30,0.

Для первого отсека (1-2 ): х1=1,4

 кН×м;

 кН.

 см4;

МПа;

МПа;

 МПа;

МПа


, устойчивость обеспечена.

Для второго отсека ( 2-3 ): х2=4,2

 кН×м;

 кН

 см4;

МПа ;

МПа;

 МПа;

МПа

, устойчивость обеспечена.

Для седьмого отсека ( 7-8 ): х7=12,6

 кН×м;

 кН.

 МПа ;

МПа;

 МПа;

МПа

, устойчивость обеспечена.

2.4 Расчет деталей сварной балки


2.4.1 Расчет поясных швов

Расчет шва можно вести по одному, менее прочному сечению.

Для полуавтоматической сварки коэффициенты формы bf=0,7 , bz= 1,0; расчетные сопротивления Rwf=180 МПа, Rwz =0,45×360=162 МПа.

Так как Rwzbz =162×1=162 > Rwfbf =180×0,7=126 (162>126), то расчет ведем по сечению металла шва.

Катет шва

,

где gwf , gwz - коэффициенты условий работы, равные 1, согласно п.11.2 [ 1 ];

kf,min - минимальный катет шва, принимаемый по таблице 38 [ 1 ];

;

,

где Q , F - поперечная сила на опоре и местное давление;

Sf ,Ix - статический момент пояса и момент инерции опорного сечения относительно нейтральной оси.

 кН/см,

кН/см,

 мм.

Принято kf =3мм ( по таблице 38* [2] ).

2.4.2 Проектирование опорного ребра балки

Давление балки на оголовок колонны передается через опорное ребро.

Для расчета опорного ребра его сечение принимаем равным сечению поясного листа у опоры балки, т.е. 250´28мм. Торец ребра фрезерован, поэтому расчетное сопротивление смятию торцевой поверхности ребра

МПа

Ap=25×2,8=70 см2 ;

А=40+0,65twm=40+0,65×1,4×29,9=67,21см2 .

м4 ;

см ;

 по приложению j =0,962.

Прочность по смятию ребра и его устойчивость обеспечены, т.к.

МПа;

МПа

Рис. Опорные ребра сварных балок с торцовым расположением ребер

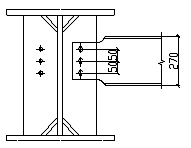
2.4.3 Узлы сопряжения второстепенных балок с главными

Сопряжение осуществляется в пониженном уровне. Второстепенные балки прикрепляются к поперечным ребрам главных балок болтами нормальной точности , число которых определяется по формуле:

,

где Nb - минимальная несущая способность по срезу или смятию (Rbs =190МПа (класс точности 5,6) Rbр =258МПа; d=20мм; gb=0,85; =1; St=20мм)

кН

кН

 принимаем 3 болта Æ20

Расстояние между центрами болтов       2,5d=2,5×20=50мм.

Рис. Сопряжение второстепенных балок с главными на болтах

 

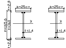
3. Проектирование колонн


Полная длина колонны с оголовком и базой при наличии заглубления

м.

Рис. Схемы к расчёту центрально сжатых колонн:

а) - конструктивная; б) - расчётная; в) - типы сечений колонн

Расчетная длина колонны в обеих плоскостях принимается

металлоконструкция балка колонна

м.

Колонну рассчитываем на силу

кН.

3.1 Подбор сечения центрально-сжатой сплошной колонны из трех двутавров, трубы, двух уголков, трех листов


Колонна из трех широкополочных двутавров

Требуемая площадь сечения

см2.

j=(0,6-0,85) первоначально принимаем j =0,7.

По сортаменту подбираем

2 I №33                                  1 I №27=53,8 см2                                                               A=40,2 см2x=9840 cм4                                                        Ix=5010 cм4y=4190 cм4                                                 Iy=260 cм4x=13,5cм                                     ix=11,2cмx=339,0cм3                                                       Sx=210,0cм3

Площадь сечения А=53,8×2+40,2=147,8см2.

Момент инерции сечения

см4.

Радиус инерции

см.

Продольная гибкость

.

Проверяем устойчивость колонны

,

МПа, устойчивость колонны обеспечена.

Колонны из двух равнополочных уголков

Атр=138,49см2.

По сортаменту подбираем

L №20

A=76,5 см2x=2871 cм40=5,7 cм=200 мм

Площадь сечения А=76,5×2 =153 см2.

Момент инерции сечения

см4.

Радиус инерции

.

Продольная гибкость

.

Проверяем устойчивость колонны

,

МПа, устойчивость колонны обеспечена.

Колонна из труб

Атр=138,49см2.

По сортаменту подбираем

труба Æ530

A=147,0 см2

ix=18,4cм

Продольная гибкость

.

Проверяем устойчивость колонны

,

МПа, устойчивость колонны обеспечена.

Колонна из трех листов

При подборе сечения задаемся  и вычисляем радиус инерции

см.

По радиусу инерции определяем ширину колонны

см.

Так как , то .

.

Найденную площадь распределяют между стенкой и поясам в соотношениях:

;

.

При известной ширине пояса его толщина

,

а толщина стенки

, где .

Для обеспечения местной устойчивости пояса необходимо соблюдения условия:

.

Местная устойчивость пояса обеспечена.

Полученные размеры сечения колонны увязываем со стандартными размерами широкополосной универсальной стали

; ;  (ГОСТ 82 - 70).

Проверяем устойчивость колонны

,

, устойчивость колонны обеспечена.

3.2 Подбор сечения сквозной колонны. Сравнение вариантов


Сквозные колонны состоят из ветвей, соединённых планками или решёткой из уголков. Основным условием проектирования сквозных колонн является обеспечение их равноустойчивости в обеих плоскостях, так как в этом случае достигается наилучшее использование материала. В сквозных колоннах это реализуется соответствующим выбором расстояния между ветвями.

В сечениях сквозных колонн различают материальную x-x ось и свободную - y-y. Относительно материальной оси колонна работает как сплошная, а относительно свободной - как составная.

Расчёт колонны относительно материальной оси производят аналогично расчёта колонны из прокатных профилей (задаются φ и по расчетной силе находят требуемую площадь, затем подбирают подходящий профиль швеллера или двутавра, удвоенная площадь которого равна требуемой, и подобранное сечение проверяют на устойчивость).

Дальнейший расчёт сводится к определению расстояния между ветвями, которое должно быть таким, чтобы обеспечить равноустойчивость колонны.

Расчёт относительно материальной оси:

Зададимся φ=0,7 и определим требуемую площадь сечения колонны.

Рис. Сквозная колонна на планках

см2

Швеллер не удовлетворяет условию устойчивости, поэтому по сортаменту принимаем два двутавра №40:

A=72,6 см2x=19062 cм4y=667 cм4x=16,2 cмy=3,03 cм=40 cм

Площадь сечения А=72,6×2=145,2 см2.

Момент инерции сечения

см4.

Радиус инерции

.

Продольная гибкость


Проверяем устойчивость колонны


МПа

Устойчивость колонны обеспечена.

Расчёт относительно свободной оси:

Задаемся параметрами


Высота планки см , принимаем h=20см.

Толщина планки ts=1,0см.

/1,0=20<50

Ширина колонны в осях , принимаем b =370мм.

Момент инерции планки

см4.

Расстояние между планками

, принимаем lef =60см,

см.

Соотношение жесткостей

, поэтому гибкость находим по формуле:


Радиус инерции

см.

Расстояние между ветвями при котором колонна равноустойчива

см , принимаем b=350мм.

Проверяем устойчивость колонны относительно свободной оси

/80=13 - число промежутков.

Вычисляем см

Соотношение жесткостей

 =32,75; j=0,943

 МПа прочность обеспечена.

Расчёт планок:

Расчётная схема составного стержня с планками представляет собой многократно статически неопределимую систему типа безраскосной фермы, расчёт которой довольно сложен. Как показывают эксперименты, при продольном изгибе колонны точки перегиба находятся посередине ветвей планок, что позволяет включить шарниры в эти точки. Шарнирная схема заметно упрощает расчёт.

Планки рассчитывают на условную (фиктивную) Qfic поперечную силу, которая вызывает срез и изгиб планки. Условная поперечная сила определяется в зависимости от величины β, принимаемой меньшей из двух:

, откуда

кН

Определим усилие на планку

 кН

 кН; кН·см

Для полуавтоматической сварки коэффициенты формы , (табл. 34 [1]); расчётное сопротивление МПа, МПа (табл.55, 56 [1]).

Так как  (162>126), то расчёт ведём по сечению металла шва. Катет шва принимаем равным kf=12 мм и вычисляем:

см2 ; см3

Проверяем прочность сварного шва (по металлу шва):

МПа

Сравнение вариантов

Для сравнения вариантов необходимо подсчитать расход стали на прокатные, профили, составляющие стержни колонн, и количество сварных швов для крепления прокатных профилей между собой. Показатели по каждому варианту сведём в таблицу 3.

Таблица 3. Сравнение вариантов колонн

Вариант

Тип сечения колонны

Масса колонны, кг/м

Длина сварных швов на 1 м длины колонны, м




по прокатным профилям

по планкам колоны

всего сварных швов

1

Три двутавра (2№33 и №27)

115,9

4

0

4

2

Круглая туба (530х9)

115,62

0

0

0

3

Два уголка (200х20)

120,2

2

0

2

4

Сквозная колонна (два двутавра №40)

114

0

0,4

0,4


Наиболее экономичным для колонны является трубчатое сечение. Для дальнейшей разработки принимаем сквозную колонну (согласно заданию).

3.3 Расчет и конструирование оголовка и базы с траверсой


Размеры плиты оголовка назначаем конструктивно, со свесами для наложения швов по 20мм. Толщина плиты 30мм.

Рис. База с траверсой

а - к расчёту базы;

б - пластинки с различным опиранием по контуру.

Размеры плиты оголовка назначаем конструктивно, со свесами для наложения швов по 20 мм. Толщина плиты 30 мм.

Ширина плиты:

см;

Длина плиты:

см;

Где  МПа;

Принимаем размеры плиты 530*600

Определив размеры плиты, вычисляем её толщину по наибольшему изгибающему моменту на единицу длины поперечного сечения. Величина этого момента в участках плиты зависит от условия опирания.

При опирании пластинки по четырем сторонам момент вычисляется по формуле:

.

Где  - коэффициент, зависящий от отношения большей стороны пластинки к меньшей.

; получим

Давление на плиту:

 кН/м2

Определим момент

кН*м

При опирании пластин по трем сторонам:


Где  - коэффициент, зависящий от отношения меньшей стороны пластинки к большей.

с - длина свободного края пластинки.

; получим

Определим момент:

 кН*м

Изгибающий момент консольной части плиты:

 кН*м

Принимаем кН*м

Толщину плиты вычисляем из условия её прочности на изгиб по наибольшему из найденных моментов


Принято t=39мм.

Усилия от колонны на траверсу передается через вертикальные швы. Суммарная длина этих швов определяется по формуле:

м

принимаем  мм.

Необходимая высота траверсы


Принимаем .

Проверка траверсы на прочность

кН/м

кН/м;

кНм;


Определяем горизонтальный катет шва:


Из таблице 38 [1]

мм

Окончательно принимаем  мм.

Литература


1.      Чепурной И.Н. Проектирование рабочей площадки. Гомель 1983, 60с.

2.      СНиП II-23-81* Строительные нормы и правила. Стальные конструкции.

.        Чепурной И.Н., Залеева В.Д. Справочные материалы для курсового и дипломного проектирования по строительным конструкциям. Гомель 1988, 82с.

.        Беленя Е.И. и др. Металлические конструкции. М.: Госстройиздат, 1976. 687с.

Похожие работы на - Расчет металлических конструкций

 

Не нашли материал для своей работы?
Поможем написать уникальную работу
Без плагиата!
Без нейросетей!