Основы гидравлики

  • Вид работы:
    Курсовая работа (т)
  • Предмет:
    Физика
  • Язык:
    Русский
    ,
    Формат файла:
    MS Word
    794,9 Кб
  • Опубликовано:
    2015-01-09
Вы можете узнать стоимость помощи в написании студенческой работы.
Помощь в написании работы, которую точно примут!

Основы гидравлики

Содержание

Введение

. Жидкость и ее основные физические свойства

.1 Определение жидкости

.2 Основные свойства жидкости

. Гидростатика

.1 Гидростатическое давление

.2 Основное уравнение гидростатики

.3 Понятие о пьезометрической высоте и вакууме

.4 Приборы для измерения давления

.5 Давление жидкости на плоскую наклонную стенку

.6 Давление жидкости на цилиндрическую поверхность

. Основы гидродинамики

.1 Основные понятия о движении жидкости. Уравнение расхода (неразрывности)

.2 Уравнение Бернулли для идеальной жидкости

.3 Уравнение Бернулли для реальной жидкости

.4 Режимы движения жидкости

. Гидравлические сопротивления

.1 Общие сведения о гидравлических потерях

.2 Местные сопротивления

Заключение

Список использованных источников

Введение

Гидравлика - прикладная техническая наука, изучающая законы равновесия и движения капельных жидкостей. Знание гидравлики необходимо для инженерных расчетов при проектировании гидротехнических сетей и сооружений, таких как плотины, мосты, каналы, отстойники, системы водоснабжения и канализации, осушения и орошения, при конструировании фильтров, трубопроводов, турбин, насосов и других гидравлических машин.

Гидравлика широко использует теоретические достижения гидродинамики, которая разрабатывает физико-математическую теорию движения и равновесия любых жидкостей и газов. Однако, решение ряда задач гидравлики, выдвинутых практикой, получено экспериментальным путем в форме эмпирических зависимостей. Такие зависимости, пройдя проверку временем и получив теоретическое обоснование, широко используются в современной гидравлике.

Гидравлика является научной основой при изучении гидросистем, гидроприводов горных машин и комплексов, насосных, вентиляторных и компрессорных установок, рудничной аэрологии, вентиляции и дегазации шахт, обогащения полезных ископаемых, гидрмеханизации горных работ, гидрогеологии, гидротехники, мостостроения, водного транспорта и т.д.

1. Жидкость и ее основные физические свойства

1.1 Определение жидкости

Жидкостью называется физическое тело, не обладающее способностью сохранять свою форму (из-за слабой связи между отдельными ее частицами). Вследствие этого жидкости принимают форму тех сосудов, в которых они находятся. К гидромеханике в широком смысле относят как жидкие тела, так и газообразные, поскольку они имеют ряд общих свойств (например, неспособность сохранять форму). Однако между ними имеются и различия: жидкие тела - малосжимаемы, а газообразные тела - легко сжимаются. С учетом этого все жидкости делятся на две группы: капельные и газообразные.

К капельным жидкостям относятся такие жидкости, как вода, бензин, керосин, нефть, спирт, ртуть и др. К газообразным жидкостям относятся все газы. В гидравлике рассматриваются только капельные жидкости, газообразные жидкости рассматриваются в специальных общенаучных дисциплинах (например в термодинамике), а также в прикладных технических науках, посвященных пневмоприводам и пневморессорам

.2 Основные свойства жидкости

Плотность жидкости  , так же как любых других тел, представляет собой массу единицы объёма, и для бесконечно малого объёма жидкости dV массой dM может быть определена по формуле:

. (1)

Для однородных жидкостей можно считать, что

, (2)

где M - масса жидкости, V - объём жидкости.

Единицы измерения: [кг/м3], [кг/дм3], [кг/л], [г/см3].

Плотность жидкости зависит от температуры и давления. Все жидкости, кроме воды, характеризуются уменьшением плотности с ростом температуры. Плотность воды имеет максимум при t = 4 оC и уменьшается при любых других температурах. В этом проявляется одно из аномальных свойств воды. Температура, при которой плотность воды максимальная, с увеличением давления уменьшается. Так, при давлении 14 МПа вода имеет максимальную плотность при 0,6 оC.

Плотность пресной воды равна 1000 кг/м3, солёной морской воды - 1020 ч 1030, нефти и нефтепродуктов - 650 ч 900 кг/м3, ртути - 13596 кг/м3.

При изменении давления плотность жидкостей изменяется незначительно. В большинстве случаев плотность жидкости в расчётах можно принимать постоянной. Однако встречаются случаи, когда изменением плотности пренебрегать нельзя, т.к. это может привести к значительным ошибкам.

2. Гидростатика

.1 Гидростатическое давление

Гидростатическое давление (лат. tensio) - Благодаря полной малоподвижности своих частиц капельные и газообразные жидкости, находясь в покое, передают давление одинаково во все стороны; давление это действует на всякую часть плоскости, ограничивающей жидкость, с силой Р, пропорциональной величине w этой поверхности, и направленной по нормали к ней. Отношение Pw, то есть давление р на поверхность равную единице, называется гидростатическим давлением. Это основное свойство жидкостей было открыто и проверено на опыте Паскалем, в 1653 г., хотя несколько ранее оно было уже известно Стивену. Простое уравнение P = pw может действительно служить для точного вычисления давления на данную поверхность сосуда, газов и капельных жидкостей, находящихся при таких условиях, что часть давления, зависящая от собственного веса жидкостей, ничтожно мала по сравнению с давлением, передаваемым им извне. Сюда относятся почти все случаи давлений газов и расчеты давлений воды в гидравлических прессах и аккумуляторах. Условно-принятые меры Г. давления всегда выражают отношения силы к поверхности, поэтому в системе абсолютных единиц (см. Единицы мер) они выражают число "дин" на кв. см, именованное число измерения:

 

т 1l−1 - t−2. (3)

В практике Гидростатическое измеряют давление в кг на 1 кв. см. Большие давления выражают часто в атмосферах, принимая за 1 атмосферу давление в 76 см столба ртути, при температуре 0° под широтой, где ускорение силы тяжести = 0,0635 кг на 1 кв. см = 6,21·106 дин на 1 кв. см. 1 атмосфера = 1,0333 кг на 1 кв. см = 1,0136·106 дин на 1 кв. см для широты Парижа или 1,0132·106 для широты в 45°. Вычисление немного усложняется, когда надо узнать давление, производимое на не горизонтальную часть стенки сосуда вследствие тяжести, налитой на него жидкости. Здесь причиной давления становится вес столбов жидкости, имеющих основанием каждую бесконечно малую частицу рассматриваемой поверхности, а высотой вертикальное расстояние каждой такой частицы от свободной поверхности жидкости. Расстояния эти будут постоянны только для горизонтальных частей стенок и для бесконечно узких горизонтальных полосок, взятых на боковых стенках; к ним одним можно прилагать непосредственно формулу Г. давления. Для боковых же стенок надо суммировать, по правилам интегрального исчисления, давления на все горизонтальные элементы их поверхности; в результате получается общее правило: давление тяжелой жидкости на всякую плоскую стенку равняется весу столба этой жидкости, имеющему основанием площадь этой стенки, а высотой вертикальное расстояние её центра тяжести от свободной поверхности жидкости. Поэтому давление на дно сосуда будет зависеть только от величины поверхности этого дна, от высоты уровня жидкости в него налитой и от её плотности, от формы же сосуда оно зависеть не будет. Это положение известно под именем "гидростатического парадокса" и было разъяснено ещё Паскалем. Действительно, оно кажется на первый взгляд неверным, потому что в сосудах с равными днами, наполненных до равной высоты одной и той же жидкостью, вес её будет очень различный, если формы различны. Но вычисление и опыт (сделанный в первый раз Паскалем) показывают, что в сосуде, расширяющемся кверху, вес излишка жидкости поддерживается боковыми стенками и передается весам через их посредство, не действуя на дно, а в сосуде, суживающемся кверху, Г. давление на боковые стенки действует снизу-вверх и облегчает весы ровно на столько, сколько весило бы недостающее количество жидкости. На основании сказанного выше можно Г. давление измерять также высотой столба ртути или воды, способного производить то же давление на единицу поверхности: так давление в 1 фн. на кв. дм. равно давлению столба воды в 25 дм высотой, так как фн. есть вес 25 куб. дм. воды.

.2 Основное уравнение гидростатики

Основным законом (уравнением) гидростатики называется уравнение

 (4)

где

p - гидростатическое давление (абсолютное или избыточное) в произвольной точке жидкости,

- плотность жидкости,

g - ускорение свободного падения,

z - высота точки над плоскостью сравнения (геометрический напор),

H - гидростатический напор.

Уравнение показывает, что гидростатический напор во всех точках покоящейся жидкости является постоянной величиной.

Иногда основным законом гидростатики называют принцип Паскаля.

.3 Понятие о пьезометрической высоте и вакууме

Пьезометрическая высота, равная , представляет собой высоту столба жидкости, соответствующую данному давлению p (абсолютному или избыточному).

Рисунок 1.

Пьезометрическую высоту, соответствующую избыточному давлению, можно наблюдать в так называемом пьезометре - простейшем устройстве для измерения давления. Пьезометр представляет собой вертикальную стеклянную трубку, верхний конец которой открыт в атмосферу, а нижний присоединен к тому объему жидкости, где измеряется давление (рисунок 1.).

Применяя формулу к жидкости, заключенной в пьезометре, получим

 (5)

где  - абсолютное давление в жидкости на уровне присоединения пьезометра;

 - атмосферное давление.

Отсюда высота подъема жидкости в пьезометре равна

 (6)

где - избыточное давление на том же уровне.

Очевидно, что если на свободную поверхность покоящейся жидкости действует атмосферное давление, то пьезометрическая высота для любой точки рассматриваемого объема жид­кости равна глубине расположения этой точки.


(7)

 (8)

Рисунок 2

Возьмем, например, трубу с плотно пригнанным к ней поршнем, опустим нижний ее конец в сосуд с жидкостью, и будем постепенно поднимать поршень. Жидкость будет следовать за поршнем и вместе с ним поднимется на некоторую высоту h от свободной поверхности с атмосферным давлением. Так как для точек, расположенных под поршнем, глубина их погружения относительно свободной поверхности отрицательна, то согласно уравнению , абсолютное давление жидкости под поршнем

 

а величина вакуума

 (10)

По мере подъема поршня абсолютное давление жидкости под поршнем уменьшается. Нижним пределом абсолютного давления в жидкости является нуль, а максимальное значение вакуума численно равно атмосферному давлению, поэтому максимальная высота всасывания жидкости определится из уравнения (9), если в нем положить p = 0 (точнее, p = pn). Таким образом, без учета упругости паров

 (11)

При нормальном атмосферном давлении (1,033 кГ/см2) высота hmax равна: для воды 10,33 м, для ртути 760 мм.

Рисунок 3.

Простейшим устройством для измерения вакуума может служить стеклянная трубка, показанная на рисунок 3. в двух вариантах.

Вакуум в жидкости может измеряться либо с помощью U - образной трубки, либо путем использования перевернутой U - образной трубки, один конец которой опущен в сосуд с жидкостью.

Для измерения давления жидкостей и газов помимо пьезометров пользуются манометрами, которые делятся на жидкостные, механические и электрические. Подробные сведения о данных приборах можно найти в специальной литературе.

.4 Приборы для измерения давления

Давление в жидкости измеряется приборами:

пьезометрами,

манометрами,

вакуумметрами.

Пьезометры и манометры измеряют избыточное или манометрическое давление, то есть они работают, если полное давление в жидкости превышает величину, равную одной атмосфере = 1 кгс/см2= = 0,1 МПа. Эти приборы показывают долю давления сверх атмосферного. Для измерения в жидкости полного давления P необходимо к манометрическому давлению прибавить атмосферное давление, снятое с барометра. Часто в гидравлике атмосферное давление считается величиной постоянной pатм = 101325 " 100000 Па. Пьезометр обычно представляет собой вертикальную стеклянную трубку, нижняя часть которой сообщается с исследуемой точкой в жидкости, где нужно измерить давление, а верхняя её часть открыта в атмосферу. Высота столба жидкости в пьезометре  является показанием этого прибора и позволяет измерять избыточное (манометрическое) давление в точке по соотношению

 , (12)

где hP - пьезометрический напор (высота), м.

Упомянутые пьезометры применяются главным образом для лабораторных исследований. Их верхний предел измерения ограничен высотой до 5 м, однако их преимущество перед манометрами состоит в непосредственном измерении давления с помощью пьезометрической высоты столба жидкости без промежуточных передаточных механизмов.

В качестве пьезометра может быть использован любой колодец, котлован, скважина с водой или даже любой замер глубины воды в открытом резервуаре, так как он даёт нам величину hP .

Приборы для измерения давления Манометры (рис. 4) чаще всего применяются механические, реже - жидкостные. Все манометры измеряют не полное давление, а избыточное

, (13)

Преимуществами манометров перед пьезометрами являются более широкие пределы измерения, однако есть и недостаток: они требуют контроля их показаний. Манометры, выпускаемые в последнее время, градуируются в единицах СИ: МПа или кПа. Однако всё ещё продолжают применяться и старые манометры со шкалой в кгс/см2, они удобны тем, что эта единица равна одной атмосфере. Нулевое показание любого манометра соответствует полному давлению p, равному одной атмосфере.


Вакуумметр по своему внешнему виду напоминает манометр. Показывает он ту долю давления, которая дополняет полное давление в жидкости до величины одной атмосферы. Вакуум в жидкости - это не пустота, а такое состояние жидкости, когда полное давление в ней меньше атмосферного на величину, которая измеряется вакуумметром. Вакуумметрическое давление , показываемое прибором, связано с полным и атмосферным так:

= , - P , (14)

то есть, вакуум - это разность между атмосферным и полным давлением.

Величина вакуума  не может быть больше одной атмосферы, то есть предельное значение  " 100000 Па, так как полное давление не может быть меньше абсолютного нуля.

Для закрепления понятий пьезометрической высоты hP, манометрического  или избыточного  давления и вакуума  приведём примеры снятия показаний с приборов:

пьезометр, показывающий hP = 160 см вод. ст., соответствует в единицах СИ избыточному (манометрическому) давлению  = == 16000 Па и полному давлению P = 100000 + 16000 = 116000 Па;

манометр с показаниями  = 2,5 кгс/см2 соответствует водяному столбу hP = 25 м и полному давлению в СИ P = 0,35 МПа;

вакуумметр, показывающий  = 0,04 МПа, соответствует полному давлению P = 100000 - 40000 = 60000 Па, что составляет 60 % от атмосферного ,.

 

2.5 Давление жидкости на плоскую наклонную стенку

Пусть мы имеем резервуар с наклонной правой стенкой, заполненный жидкостью с удельным весом γ. Ширина стенки в направлении, перпендикулярном плоскости чертежа (от читателя), равна b (рисунок 5). Стенка условно показана развернутой относительно оси АВ и заштрихована на рисунке. Построим график изменения избыточного гидростатического давления на стенку АВ.

Так как избыточное гидростатическое давление изменяется по линейному закон P=γgh, то для построения графика, называемого эпюрой давления, достаточно найти давление в двух точках, например А и B.

Рисунок 5. Схема к определению равнодействующей гидростатического давления на плоскую поверхность

Избыточное гидростатическое давление в точке А будет равно

 (15)

Соответственно давление в точке В:

(16)

гдеH - глубина жидкости в резервуаре.

Согласно первому свойству гидростатического давления, оно всегда направлено по нормали к ограждающей поверхности. Следовательно, гидростатическое давление в точке В, величина которого равна γH, надо направлять перпендикулярно к стенке АВ. Соединив точку А с концом отрезка γH, получим треугольную эпюру распределения давления АВС с прямым углом в точке В. Среднее значение давления будет равно

(17)

Если площадь наклонной стенки S=bL, то равнодействующая гидростатического давления равна

(18)

где = Н/2 - глубина погружения центра тяжести плоской поверхности под уровень жидкости.

Однако точка приложения равнодействующей гидростатического давления ц.д. не всегда будет совпадать с центром тяжести плоской поверхности. Эта точка находится на расстоянии l от центра тяжести и равна отношению момента инерции площадки относительно центральной оси к статическому моменту этой же площадки.

 (19)

где - момент инерции площади S относительно центральной оси, параллельной Аx.

В частном случае, когда стенка имеет форму прямоугольника размерами bL и одна из его сторон лежит на свободной поверхности с атмосферным давлением, центр давления ц.д. находится на расстоянии b/3 от нижней стороны.

.6 Давление жидкости на цилиндрическую поверхность

Пусть жидкость заполняет резервуар, правая стенка которого представляет собой цилиндрическую криволинейную поверхность АВС (рисунок 6), простирающуюся в направлении читателя на ширину b. Восстановимо из точки А перпендикуляр АО к свободной поверхности жидкости. Объем жидкости в отсеке АОСВ находится в равновесии. Это значит, что силы, действующие на поверхности выделенного объема V, и силы веса взаимно уравновешиваются.

Рисунок 6. Схема к определению равнодействующей гидростатического давления на цилиндрическую поверхность

Представим, что выделенный объем V представляет собой твердое тело того же удельного веса, что и жидкость (этот объем на рис.8 заштрихован). Левая поверхность этого объема (на чертеже вертикальная стенка АО) имеет площадь Sx = bH, являющуюся проекцией криволинейной поверхности АВС на плоскость yOz.ила гидростатического давления на площадь Sx равна Fx = γ Sxhc.

С правой стороны на отсек будет действовать реакция R цилиндрической поверхности. Пусть точка приложения и направление этой реакции будут таковы, как показано на рис.8. Реакцию R разложим на две составляющие Rx и Rz.

Из действующих поверхностных сил осталось учесть только давление на свободной поверхности . Если резервуар открыт, то естественно, что давление  одинаково со всех сторон и поэтому взаимно уравновешивается.

На отсек АВСО будет действовать сила собственного веса G = γV, направленная вниз.

Спроецируем все силы на ось Оx:

 = 0 откуда  =  = γSxhc (20)

Теперь спроецируем все силы на ось Оz:

 = 0 откуда  = G = γV (21)

Таким образом, реакция цилиндрической поверхности в общем случае равна

 (22)

а поскольку реакция цилиндрической поверхности равна равнодействующей гидростатического давления R=F, то делаем вывод, что

 (23)

3. Основы гидродинамики

.1 Основные понятия о движении жидкости. Уравнение расхода (неразрывности)

Живым сечением ω (м²) называют площадь поперечного сечения потока, перпендикулярную к направлению течения. Например, живое сечение трубы - круг (рисунок 7, а); живое сечение клапана - кольцо с изменяющимся внутренним диаметром (рисунок 7, б).

Рисунок 7. Живые сечения: а - трубы, б - клапана

Смоченный периметр χ ("хи") - часть периметра живого сечения, ограниченное твердыми стенками (рисунок 8, выделен утолщенной линией).

Рисунок 8. Смоченный периметр

Для круглой трубы

 (24)

гидростатика давление жидкость пьезометрический

если угол в радианах, или

 (25)

Расход потока Q - объем жидкости V, протекающей за единицу времени t через живое сечение ω.

 (литр/мин) (26)

Средняя скорость потока υ - скорость движения жидкости, определяющая-ся отношением расхода жидкости Q к площади живого сечения ω

 (27)

Поскольку скорость движения различных частиц жидкости отличается друг от друга, поэтому скорость движения и усредняется. В круглой трубе, например, скорость на оси трубы максимальна, тогда как у стенок трубы она равна нулю.

Гидравлический радиус потока R - отношение живого сечения к смоченному периметру

 (28)

Течение жидкости может быть установившимся и неустановившимся. Установившимся движением называется такое движение жидкости, при кото-ром в данной точке русла давление и скорость не изменяются во времени

 

 

υ = f(x, y, z) (29)

P = φ f(x, y, z) (30)

Движение, при котором скорость и давление изменяются не только от координат пространства, но и от времени, называется неустановившимся или нестационарным

υ = f1(x, y, z, t) (31)

P = φ f1(x, y, z, t) (32)

Линия тока (применяется при неустановившемся движении) это кривая, в каждой точке которой вектор скорости в данный момент времени направлены по касательной. Трубка тока - трубчатая поверхность, образуемая линиями тока с бесконечно малым поперечным сечением. Часть потока, заключенная внутри трубки тока называется элементарной струйкой.

Рисунок 9. Линия тока и струйка

Течение жидкости может быть напорным и безнапорным. Напорное течение наблюдается в закрытых руслах без свободной поверхности. Напорное течение наблюдается в трубопроводах с повышенным (пониженным давлением). Безнапорное - течение со свободной поверхностью, которое наблюдается в открытых руслах (реки, открытые каналы, лотки и т.п.). В данном курсе будет рассматриваться только напорное течение.

Рисунок 10. Труба с переменным диаметром при постоянном расходе

Из закона сохранения вещества и постоянства расхода вытекает уравнение неразрывности течений. Представим трубу с переменным живым сечением (рисунок 10). Расход жидкости через трубу в любом ее сечении постоянен, т.е. == const, откуда

 = (33)

Таким образом, если течение в трубе является сплошным и неразрывным, то уравнение неразрывности примет вид:

 const (34)

.2 Уравнение Бернулли для идеальной жидкости

Уравнение Даниила Бернулли, полученное в 1738 г., является фундаментальным уравнением гидродинамики. Оно дает связь между давлением P, средней скоростью υ и пьезометрической высотой z в различных сечениях потока и выражает закон сохранения энергии движущейся жидкости. С помощью этого уравнения решается большой круг задач.

Рассмотрим трубопровод переменного диаметра, расположенный в пространстве под углом β (рисунок 11).

Рисунок 11. Схема к выводу уравнения Бернулли для идеальной жидкости

Выберем произвольно на рассматриваемом участке трубопровода два сечения: сечение 1-1 и сечение 2-2. Вверх по трубопроводу от первого сечения ко второму движется жидкость, расход которой равен Q.

Для измерения давления жидкости применяют пьезометры - тонкостенные стеклянные трубки, в которых жидкость поднимается на высоту . В каждом сечении установлены пьезометры, в которых уровень жидкости поднимается на разные высоты.

Кроме пьезометров в каждом сечении 1-1 и 2-2 установлена трубка, загнутый конец которой направлен навстречу потоку жидкости, которая называется трубка Пито. Жидкость в трубках Пито также поднимается на разные уровни, если отсчитывать их от пьезометрической линии.

Пьезометрическую линию можно построить следующим образом. Если между сечением 1-1 и 2-2 поставить несколько таких же пьезометров и через показания уровней жидкости в них провести кривую, то мы получим ломаную линию (рисунок 11).

Однако высота уровней в трубках Пито относительно произвольной горизонтальной прямой 0-0, называемой плоскостью сравнения, будет одинакова.

Если через показания уровней жидкости в трубках Пито провести линию, то она будет горизонтальна, и будет отражать уровень полной энергии трубопровода.

Для двух произвольных сечений 1-1 и 2-2 потока идеальной жидкости уравнение Бернулли имеет следующий вид:

(35)

Так как сечения 1-1 и 2-2 взяты произвольно, то полученное уравнение можно переписать иначе:

(36)

и прочитать так: сумма трех членов уравнения Бернулли для любого сечения потока идеальной жидкости есть величина постоянная.

С энергетической точки зрения каждый член уравнения представляет собой определенные виды энергии:

 и  - удельные энергии положения, характеризующие потенциальную энергию в сечениях 1-1 и 2-2;

- удельные энергии давления, характеризующие потенциальную энергию давления в тех же сечениях;

- удельные кинетические энергии в тех же сечениях.

Следовательно, согласно уравнению Бернулли, полная удельная энергия идеальной жидкости в любом сечении постоянна.

Уравнение Бернулли можно истолковать и чисто геометрически. Дело в том, что каждый член уравнения имеет линейную размерность. Глядя на рисунок 16, можно заметить, что  и  - геометрические высоты сечений 1-1 и 2-2 над плоскостью сравнения; - пьезометрические высоты;  - скоростные высоты в указанных сечениях.

В этом случае уравнение Бернулли можно прочитать так: сумма геомерической, пьезометрической и скоростной высоты для идеальной жидкости есть величина постоянная.

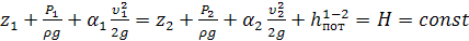
.3 Уравнение Бернулли для реальной жидкости

Уравнение Бернулли для потока реальной жидкости несколько отличается от уравнения .

Дело в том, что при движении реальной вязкой жидкости возникают силы трения, на преодоление которых жидкость затрачивает энергию. В результате полная удельная энергия жидкости в сечении 1-1 будет больше полной удель-ной энергии в сечении 2-2 на величину потерянной энергии.

Рисунок 12. Схема к выводу уравнения Бернулли для реальной жидкости

Уравнение Бернулли для реальной жидкости будет иметь вид:

 (37)

Из рисунок 12 видно, что по мере движения жидкости от сечения 1-1 до сечения 2-2 потерянный напор все время увеличивается (потерянный напор выделен вертикальной штриховкой). Таким образом, уровень первоначальной энергии, которой обладает жидкость в первом сечении, для второго сечения будет складываться из четырех составляющих: геометрической высоты, пьезометрической высоты, скоростной высоты и потерянного напора между сечениями 1-1 и 2-2.

Кроме этого в уравнении появились еще два коэффициента α1 и α2, которые называются коэффициентами Кориолиса и зависят от режима течения жидкости (α = 2 для ламинарного режима, α = 1 для турбулентного режима). Потерянная высота  складывается из линейных потерь, вызванных силой трения между слоями жидкости, и потерь, вызванных местными сопротивлениями (изменениями конфигурации потока)

=  + . (38)

С помощью уравнения Бернулли решается большинство задач практической гидравлики. Для этого выбирают два сечения по длине потока, таким образом, чтобы для одного из них были известны величины Р, ρ, g, а для другого сечения одна или величины подлежали определению. При двух неизвестных для второго сечения используют уравнение постоянства расхода жидкости  = .

3.4 Режимы движения жидкости

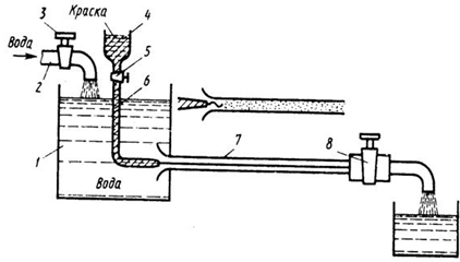
Многочисленные экспериментальные исследования движущихся жидкостей позволили установить, что существуют два режима движения жидкостей. Наиболее полные лабораторные исследования режимов движения жидкостей провел английский физик О. Рейнольдс на установке (рисунок 13), состоящей из резервуара с водой 1,

Рисунок 13. Схема установки для демонстрации режимов движения жидкости стеклянной трубки 7 с краном 8 и сосуда 4 с водным раствором краски, которая может подаваться тонкой струйкой внутрь стеклянной трубки 6 при открытии крана 5. Заполнение сосуда 1 осуществляется из крана 2 с вентилем 3.

При малых скоростях течения воды краска практически не перемешивается с ней и видны слоистый характер течения жидкости и отсутствие перемешивания.

Манометр, подсоединенный к трубе 7 (на схеме он не приведен), показывает неизменность давления p и скорости v, отсутствие колебаний (пульсаций). Это так называемое ламинарное течение (от латинского слова lamina -лента, полоска), т.е. ленточное, слоистое.

При постепенном увеличении скорости течения воды в трубе путем открытия крана 8 картина течения вначале не меняется, а затем при определенной скорости наступает быстрое ее изменение. Струйка краски начинает перемешиваться с потоком воды, становятся заметными вихреобразования и вращательное движение жидкости, причем происходят непрерывные пульсации давления и скоростей в потоке воды. Течение становится, как его принято называть, турбулентным (от латинского слова turbulentus - беспорядочный).

Если уменьшить скорость потока, то восстановится ламинарное течение.

Итак, ламинарным называется слоистое течение без перемешивания частиц жидкости и без пульсации скорости и давления. При таком течении все линии тока жидкости вполне определяются формой русла. При ламинарном течении в трубе все линии тока направлены параллельно оси трубы. Ламинарное течение является упорядоченным при постоянном напоре строго установившегося течения. Ламинарный режим наблюдается преимущественно при движении вязких жидкостей (нефти, смазочных масел и т.п.), и менее вязких жидкостей при их течении с небольшими скоростями.

Турбулентным называется течение, сопровождающееся интенсивным перемешиванием жидкости и пульсацией скоростей и давления. Движение отдельных частиц оказывается хаотичным, беспорядочным. Наряду с осевым перемещением наблюдается вращательное и поперечное перемещение отдельных объемов жидкости. Этим и объясняются пульсации скоростей и давления. Рейнольдс установил, что основными факторами, определяющими характер движения жидкости, являются средняя скорость движения жидкости v, диаметр трубопровода D и кинематическая вязкость жидкости n. Учитывая влияние перечисленных факторов, Рейнольдс предложил цифровой безразмерный критерий определения режима движения жидкости

 

 

Re= vD/n,(39)

где Re - безразмерное число Рейнольдса или критерий Рейнольдса.

Зная параметры, входящие в правую часть этой формулы, можно расчетным путем найти значение Re.

Скорость, при которой для данной жидкости и определенного диаметра трубопровода происходит смена режимов движения, называется критической.

Как показывает опыт, для труб круглого сечения критическое значение числа Рейнольдса, при котором начинается турбулентный режим движения жидкости, равно 2320. Таким образом, критерий Рейнольдса позволяет судить о режиме движения жидкости в трубе. При Re <2320 -движение ламинарное, а при Re> 2320 -движение турбулентное.

4. Гидравлические сопротивления

.1 Общие сведения о гидравлических потерях

Гидравлические потери или гидравлическое сопротивление - безвозвратные потери удельной энергии (переход её в теплоту) на участках гидравлических систем (систем гидропривода, трубопроводах, другом гидрооборудовании), обусловленные наличием вязкого трения. Хотя потеря полной энергии - существенно положительная величина, разность полных энергий на концах участка течения может быть и отрицательной (например, при эжекционном эффекте).

Гидравлические потери принято разделять на два вида:

·    потери на трение по длине - возникают при равномерном течении, в чистом виде - в прямых трубах постоянного сечения, они пропорциональны длине трубы;

·    местные гидравлические потери - обусловлены т. н. местными гидравлическими сопротивлениями - изменениями формы и размера канала, деформирующими поток. Примером местных потерь могут служить: внезапное расширение трубы, внезапное сужение трубы, поворот, клапан.

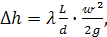
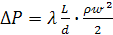
Гидравлические потери выражают либо в потерях напора  в линейных единицах столба среды, либо в единицах давления, где - плотность среды, g - ускорение свободного падения.

Во многих случаях приближённо можно считать, что потери энергии при протекании жидкости через элемент гидравлической системы пропорциональны квадрату скорости жидкости. По этой причине удобно бывает характеризовать сопротивление безразмерной величиной ζ, которая называется коэффициент потерь или коэффициент местного сопротивления и такова, что

, . (40)

То есть в предположении, что скорость w по всему сечению потока одинакова, ζ=Δp/, где = ρw²/2 - энергия торможения единицы объёма потока относительно канала. Реально в потоке скорость жидкости не равномерна, в справочной литературе в данных формулах принимается среднерасходная скорость w=Q/F, где Q - объёмный расход, F - площадь сечения, для которого рассчитывается скорость. Таким образом, средняя энергия торможения потока обычно несколько больше ρw²/2, см. Среднее квадратическое.

Для линейных потерь обычно пользуются коэффициентом потерь на трение по длине (также коэффициент Дарси) λ, фигурирующего в формуле Дарси - Вейсбаха

 (41)

где L - длина элемента, d - характерный размер сечения (для круглых труб это диаметр). Иначе в единицах давления

; (42)

таким образом, для линейного элемента относительной длины L/d коэффициент сопротивления трения ζтр=λL/d.

.2 Местные сопротивления

Местными сопротивлениями называются, в отличие от сопротивлений по длине, сосредоточенные на коротких участках трубопровода потери напора, вызванные местным отрывом вихрей, а также нарушением структуры потока. Эти процессы в значительной степени зависят от формы местных сопротивлений. Условно местные сопротивления можно разделить на несколько видов, представленных на рисунке 14.

Рисунок 14.

К местным сопротивлениям, в частности, относятся участки трубопроводов, имеющих переходы с одного диаметра на другой, колена, раструбы, тройники, крестовины, всякого рода запорные устройства и приспособления (краны, задвижки, вентили, клапаны), а также фильтры, сетки, специальные устройства входа и выхода к насосам (диффузоры, конфузоры). Учет местных сопротивлений играет решающую роль при расчете гидравлически коротких трубопроводах, где величина потерь энергии на местных сопротивлениях сравнима с потерями по длине. Практически любое местное сопротивление приводит к резкому изменению характера течения, сопровождаемого изменением местных скоростей как по величине, так и по направлению. Нa практике для определения потерь энергии на местных сопротивлениях применяется формула Вейсбаха, выражающая потери в долях скоростного напора

; (43)

где неизвестный коэффициент пропорциональности ζ называется коэффициентом местного сопротивления.

В качестве скорости  принимается скорость на участке трубопровода, либо до него. От этого будет зависеть численное значение коэффициента ζ, поэтому необходимо специально оговаривать, по отношению к какой скорости вычислен коэффициент местного сопротивления. В общем случае коэффициент ζ зависит от геометрической формы местного сопротивления и числа Re.

Коэффициент ζ принимается постоянным для данного вида местного сопротивления. Однако экспериментальные исследования показали, что это условие соблюдается только при больших числах Рейнольдса (Re> 104), При небольших величинах Re значения коэффициента ζ существенно зависит от числа Рейнольдса, Справочные значения ζ относятся к случаю, когда местное сопротивление работает в условиях автомодельности по числу Re, т.е. не зависит от его числового значения. Значения ζ, приводимые в справочниках, следует считать ориентировочными. Для уточнения данных о конкретном местном сопротивлении необходимо провести экспериментальное исследование в требуемом диапазоне чисел Re. Однако, есть случаи, когда величина потерь энергии на местном сопротивлении может быть определена теоретически, например, при внезапном расширении потока.

Иногда местные сопротивления выражают через эквивалентную длину прямого участка трубопровода . Эквивалентной длиной называют такую длину прямого участка трубопровода данного диаметра, потери напора в котором при пропуске данного расхода равны рассматриваемым местным потерям.

, получаем, или  . (44)

Эта формула позволяет весьма просто оценивать роль потерь удельной энергии в местном сопротивлении по сравнению с потерями по длине в общем балансе потерь.

Заключение

Гидравлика - очень древняя наука. Так, закон о давлении жидкости на погруженное в нее тело был установлен Архимедом примерно 250 лет до н.э. Особое развитие гидравлика получила в средние века благодаря трудам Леонардо да Винчи (1452-1519 гг.), Г.Галилея (1564-1642 гг.), Э.Торричелли (1608-1647 гг.), Б.Паскаля (1623-1662 гг.), И.Ньютона (1642-1726 гг.). Позднее их труды развились в стройную теорию основных законов движения жидкости в трудах российских ученых Даниила Бернулли (1700-1782 гг.) и Леонарда Эйлера (1707-1783 гг.). После них наиболее интересные исследования проводили А.Шези, Д.Вентури, Дарси, Вейсбах, П.Базен и О.Рейнольдс. С конца XIX по настоящее время научно-техническая революция привела к широкому развитию гидравлики. Широко известны работы русских ученых, таких как И.С.Громека, Н.П.Петров, Н.Е.Жуковский, Н.Н.Павловский, А.Н.Колмогоров, М.А.Великанов и многие другие.

Список использованных источников

1. ru.wikipedia.org

.   studopedia.ru

.   fluid-mechanics.ru

.   gidravl.narod.ru

.   3ys.ru

.   hydraulic-drive.ru

Похожие работы на - Основы гидравлики

 

Не нашли материал для своей работы?
Поможем написать уникальную работу
Без плагиата!
Без нейросетей!