|
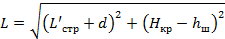
Стыки
|
Электросварка
монтажных стыков
|
Объемы
бетонной смеси
|
|
|
на
1 стык
|
на
1 п.м
|
на
весь объем
|
|
|
На
1 элемент, п.м
|
На
весь объем
|
|
|
|
|
|
Колоны
с фундаментами при сечении колонн: 400х400 400х600
|
|
|
0,085
0,200
|
|
2,89
7,2
|
|
Подкрановые
балки
|
1,15
|
184,0
|
0,150
|
|
24
|
|
Подстропильные
и стропильные конструкции
|
1,00
|
85,0
|
0,150
|
|
12,75
|
|
Плиты
покрытий и перекрытий
|
0,50
|
160
|
-
|
0,01
|
38,4
|
|
Наружные
стеновые панели: вертикальные стыки горизонтальные стыки
|
0,60
0,60
|
336
336
|
0,30
0,010
|
|
168
5,6
|
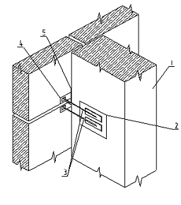
3. Подбор крана для монтажа строительных
конструкций
1. Подбор автокрана на монтаж колонн
Рисунок 1 - Схема для определения требуемых
технических параметров крана на монтаж колонны
Грузоподъемность стрелы определяется по формуле:
Q=mэ+mс
Где mэ-максимальная масса монтируемого элемента, т;с -
масса захватного приспособления, т;
Q=11,7+0,333=12,033 т.
Высота подъема стрелы определяется
по формуле:
Hстр=hз+hэ+hс+hп
Где hз -
запас по высоте (неменее 0,5 м);э -
высота элемента в монтируемом положении, м;с -
высота строповки, м;п - высота полис паста в стянутом состоянии, (минимум 1м).
Hстр=0,5+12,6+2+1=16,1м
Наименьший вылет стрелы определяется
по формуле:
Гдеe
- половина толщины стрелы на уровне верха монтируемого элемента (приблизительно
- 0,3м);
с - минимальный зазор между стрелой и
монтируемым элементом (принимается равным 0,5...1,0м в зависимости от длины
стрелы);
d - расстояние от
центра до края элемента, приближенного к стреле, м;
hш -
расстояние от уровня стоянки крана до оси шарнира стрелы (2,0 м);
d1 -
расстояние от оси шарнира стрелы до оси вращения крана (1,0 м).
Требуемая наименьшая длина стрелы
определяется по формуле, м:

м.
- грузоподъемность стрелы 5,48т.
высота подъема стрелы 11,9м;
вылет крюка 4,44м;
длина стрелы 11,3м;
. Подбор автокрана крана на монтаж
стропильных конструкций
Рисунок 2 - Схема для определения
требуемых технических параметров крана на монтаж стропильной конструкции
Высота подъема крюка определяется по
формуле:
Нкр=hп+hпр+hз+hск+hстр+hпол
где hп - высота
планировочного уровня, м;
hпр - высота
пролета (отметка верха колонны), м;
hз - высота
зазора между колонной и монтируемым элементом для обеспечения безопасности
производства работ и принимается минимум 0,5м;
hск - высота
монтируемой стропильной конструкции, м;
hстр - высота
строповки, м;
hпол - высота
полиспаста, приближенно принимается 2-5 м.
Нкр=0,15+12,6+0,5+1,64+3+2=19,89м
Длина стрелы определяется по
формуле:
где hш - высота
шарнира стрелы, принимается 2,0м;
Гдеe -
расстояние от центра до края элемента, приближенного к стреле, м;
с - минимальный зазор между стрелой
и монтируемым элементом (принимается равным минимум 0,5...1,0м
в зависимости от длины стрелы);
d - половина
толщины стрелы на уровне верха монтируемого элемента (приблизительно - 0,3м)
Вылет крюка определяется по формуле:
где а - угол наклона оси стрелы крана к
горизонту, град;
d - расстояние от
оси вращения крана до шарнира стрелы, м.
Требуемая наименьшая длина стрелы
определяется по формуле:
Грузоподъемность определяется по формуле, т:
где Qск
- вес стропильной конструкции, т;
Qстр
- вес строповки для монтажа стропильной конструкции, т.
Q=10,4+0,53=10,93т.
Требуемые параметры автокрана на монтаж
стропильной конструкции:
высота подъема крюка 19,89 м;
длина стрелы 29,93м;
вылет крюка 7,1м;
грузоподъемность стрелы 10,93т.
. Подбор автокрана крана на монтаж подкрановых
балок
Высота подъема крюка определяется по формуле, м:
Нкр=hп+hпр+hз+hск+hстр+hпол
где hп
- высота планировочного уровня, м;
hпр
- высота пролета (отметка верха колонны), м;
hз
- высота зазора между колонной и монтируемым элементом для обеспечения
безопасности производства работ и принимается минимум
0,5 м;
hск
- высота монтируемой стропильной конструкции, м;
hстр
- высота строповки, м;
hпол
- высота полиспаста, приближенно принимается 2-5 м.
Нкр=0,15+12,6+0,5+1,2+2,8+2=19,25м
Длина стрелы определяется по формуле, м:
где hш - высота
шарнира стрелы, принимается 2,0м;
Гдеe -
расстояние от центра до края элемента, приближенного к стреле, м;
с - минимальный зазор между стрелой
и монтируемым элементом (принимается равным минимум 0,5...1,0м
в зависимости от длины стрелы);
d - половина
толщины стрелы на уровне верха монтируемого элемента (приблизительно - 0,3м)


Вылет крюка определяется по формуле:
где а - угол наклона оси стрелы крана к
горизонту, град;
d - расстояние от
оси вращения крана до шарнира стрелы, м.
Требуемая наименьшая длина стрелы
определяется по формуле, м:
Грузоподъемность определяется по формуле:
где Qск
- вес подкрановой балки, т;
Qстр
- вес строповки для монтажа стропильной конструкции, т.
Q=2,9+0,39=3,29 т.
Требуемые параметры автокрана на монтаж
подкрановой балки:
высота подъема крюка 19,25 м;
длина стрелы 25,69 м;
вылет крюка 6,38 м;
грузоподъемность стрелы 3,29 т.
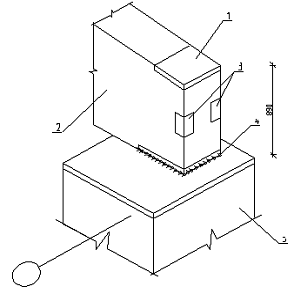
. Подбор автокрана на монтаж плит покрытия
Рисунок 3 - Схемы для определения требуемых
технических параметров крана на монтаж плиты покрытия
Высота подъема гуська определяется по формуле:
Нкр=hп+hпр+hск+hз+
hпл+hстр+hпол
где hпл
- высота плиты, м;
Нкр
=0,15+12,6+1,64+0,5+0,3+5,0+2,0=22,19м
Определяют оптимальный угол наклона стрелы к
горизонту по формуле
a=60оС
Длина стрелы определяется по
формуле:
Вылет крюка для монтажа среднерасположенной
плиты по формуле:
Требуемый вылет крюка для монтажа дальне
расположенной плиты, м:
где D -
расстояние от центра пролета до центра дальне расположенной плиты, м;

м.
Требуемая наименьшая
длина стрелы определяется по формуле, м:
.

м.
Грузоподъемность определяется по
формуле:
Q=Qпл+Qстр
где Qпл - вес плиты
покрытия, т.
Q=3,3+0,05=3,35т.
Требуемые параметры автокрана на
монтаж плиты покрытия:
высота подъема крюка 17,33м;
длина стрелы 21,6м;
вылет крюка 9,8м;
грузоподъемность стрелы 3,35т.
Список кранов для монтажа
железобетонный элементов и их характеристики приведены в таблице 4.
Таблица 3 - Технические
характеристики принятых монтажных кранов
|
Марка
крана
|
Назначение
крана
|
Технические
характеристики
|
|
|
Вылет
стрелы, м
|
Грузоподъемность
стрелы, т
|
Длина
стрелы, м
|
Длина
гуська, м
|
Высота
подъема крюка, м
|
|
|
Максимальный
|
Минимальный
|
Максимальная
|
Минимальная
|
|
|
Основной
стрелы
|
Гуська
|
|
КС4571-1
|
Монтаж
плит покрытия
|
14
|
3,8
|
16
|
1,5
|
21,75
|
-
|
27
|
-
|
|
КС3577-А
|
Монтаж
подкрановых балок
|
20
|
3
|
16
|
0,4
|
21
|
-
|
21
|
-
|
|
КС4571-1
|
Монтаж
стропильных покрытий
|
14
|
3,8
|
16
|
1,5
|
21,75
|
-
|
27
|
-
|
|
КС3575-Б
|
Монтаж
крайних, средних и фахверковых колонн
|
14,6
|
2,85
|
10
|
-
|
15
|
-
|
16,5
|
5
|
4. Область применения
Операционно-технологическая карта разработана на
монтаж типовых сборных железобетонных несущих конструкций многопролетного
одноэтажного промышленного здания пролетом 12 метров с подстропильными и
стропильными решетчатыми балками с малоуклонной кровлей и высотой от пола до
низа стропильных конструкций - 8,4 м.
В состав работ входят монтаж:
железобетонных колонн прямоугольного сечения с
консолями для подкрановых балок. Шаг колонн принят: для крайних колонн - 6
метров, для средних - 12 м;
стальных подкрановых балок пролетом 6 и 12
метров для мостовых кранов грузоподъемностью до 32 тонн;
железобетонных подстропильных ферм пролетом 12
метров;
железобетонных стропильных балок пролетом 12
метров;
железобетонных плит покрытия размером в плане
3Ч6 метра.
Монтаж сборных железобетонных конструкций
предусмотрено осуществлять с помощью автомобильных кранов КС4571-1, КС3577-А,
КС3575-Б.
5. Характеристики применяемых материалов и
изделий
Все ввозимые на стройплощадку материалы и
изделия, подлежащие обязательной сертификации, должны иметь сертификат
соответствия. Импортируемые строительные материалы и изделия, на которые
отсутствуют действующие в Республике Беларусь ТНПА, должны иметь технические
свидетельства Минстройархитектуры. Материалы и изделия, подлежащие
гигиенической регламентации, должны иметь удостоверение о гигиенической
регистрации.
В таблице 4 приведены основные характеристики
применяемых в курсовом проекте материалов.
Таблица 4 - Характеристики применяемых
материалов и изделий
|
Поз.
|
Обозначение
|
Наименование
|
|
Колонны
|
|
Колонны
крайние
|
Серия
1.424.1-5 выпуск 1/87
|
3К84-5
|
|
Колонны
средние
|
Серия
1.424.1-5 выпуск 1/87
|
5К84-1
|
|
Колонны
фахверковые
|
Серия
1.427.1-3 выпуск 1/87
|
1КФ81-1
|
|
Подкрановые
балки
|
|
1
|
Серия1.426.1-4
вып. 1
|
БК6-3AIIIв-К
|
|
2
|
|
БК12-3AIIIв-К
|
|
Подстропильные
фермы
|
|
ПСФ1
|
Серия
1.463.Л-4/В7 вып.1
|
1ФПМ12-1AIIIв
|
|
ПСФ2
|
|
2ФПМ12-2AIIIв
|
|
Стропильные
балки
|
|
СБ1
|
Серия
1.462.1-3/89 вып.1
|
2БДР12-8К7Т
|
|
Плиты
покрытия
|
|
П1
|
ГОСТ
22.701.1-77
|
ПГ-6AIIIвТ-1
|
|
П2
|
|
ПГ-6AIIIвТ-2
|
6. Организация и технология производства работ
.1 Монтаж стропильных балок
Стропильные балки монтируют после окончательного
закрепления всех нижележащих конструкций каркаса здания. Перед монтажом
стропильных балок должна быть выполнена исполнительная схема положения верха
колонны и опорных площадок подстропильных ферм в плане и по высоте. Должны быть
выполнены также следующие работы: разложены в соответствии с указаниями ППР
стропильные фермы в зоне действия монтажного крана, подготовлены и размечены
опорные поверхности верха колонн и подстропильных ферм; навешены универсальные
расчалки (инвентарные распорки) и оттяжки; приготовлен инструмент; приварены к
закладным деталям торцов фермы крепежные металлические листы; приварена к
верхней закладной детали торца фермы металлическая стойка для опирания плиты
покрытия (у стропильных ферм, опирающихся на стык подстропильных ферм, эти
стойки привариваются к обоим торцам); подготовлены анкерные устройства.
Стропильную балку поднимают на
высоту до 0,3 м и после проверки надежности <#"805839.files/image035.gif">
Рисунок 4 - Проверка правильности
установки стропильных балок
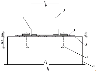
6.2 Монтаж плит покрытия
Монтаж плит покрытия осуществляется после
проверки полного закрепления установленных стропильных балок.
До монтажа плит покрытия должны быть выполнены
следующие работы: разложены в соответствии с указаниями ППР плиты покрытия в
зоне действия монтажного крана; закреплены к строповочным петлям плиты
страховочный канат и оттяжки; к крайним плитам покрытия крепят временное
ограждение; подготовлен инструмент.
Плиты покрытия монтируют от одной опоры
стропильной фермы к другой, начиная со стороны ранее смонтированного пролета.
После укладки каждой плиты ее закладные детали
должны быть приварены к закладным деталям верхнего пояса стропильной фермы не
менее, чем в трех местах, и только после этого плиту освобождают от стропов.
Рисунок 5 - Схема монтажа плит покрытия
7. Техника безопасности, охрана
труда и охрана окружающей среды
При производстве работ по монтажу сборных
железобетонных конструкций одноэтажных промзданий должны соблюдаться следующие
требования:
. Рабочие всех специальностей, занятые на
работах по монтажу сборных железобетонных конструкций, должны быть аттестованы
по правилам безопасности (иметь удостоверения), а также пройти инструктаж в
соответствии с требованиями ГОСТ 12.0.004-90 ССБТ "Организация обучения,
работающих безопасности труда. Общие положения".
. Приказом по строительно-монтажному управлению
должны быть назначены лица, ответственные за безопасное производство работ, и
лица, ответственные за безопасное производство работ с применением крана РДК, и
стропальщики (для работы посменно).
. К обслуживанию крана допускаются обученные и
аттестованные в соответствии с Правилами Госгортехнадзора стропальщики. Фамилии
стропальщиков должны быть записаны в крановый журнал.
. Стропы, траверса и тара в процессе
эксплуатации должны подвергаться техническому осмотру лицом, ответственным за
их исправное состояние, в сроки, установленные требованиями Правил устройства и
безопасной эксплуатации грузоподъемных кранов, утвержденных Госгортехнадзором
России, а прочая технологическая оснастка - не реже, чем через каждые 6
месяцев, если техническими условиями, или инструкциями завода-изготовителя не
предусмотрены другие сроки.
При эксплуатации тары для бетона необходимо
соблюдать требования ГОСТ 12.3.010-82. Результаты осмотра необходимо регистрировать
в журналах периодического осмотра.
. Для выполнения монтажных работ необходимо
установить порядок обмена сигналами между стропальщиком и машинистом крана.
Сигнал "Стоп" может быть подан любым
работником, заметившим явную опасность.
. Расстроповку конструкций необходимо
производить только после их крепления, предусмотренного настоящей
технологической картой.
. Монтажник, производящий монтаж балок, должен
подниматься на площадку лестницы только после подъема балки и установки ее в
положение, близкое к проектному, на расстоянии 20-30 см от верха колонны.
Лестница должна быть надежно закреплена за
колонну.
. При производстве монтажных и сварочных работ
на плитах покрытия, рабочие должны быть закреплены карабином предохранительного
пояса в местах, определенных в проекте производства работ и указанных
руководителем работ.
. В процессе монтажа монтажники должны
находиться на ранее установленных и надежно закрепленных плитах покрытия или
средствах подмащивания.
. При выполнении монтажных работ на территории
действующего предприятия должны быть выполнены требования п.1.5 СНиП III-4-80*.
. При производстве монтажных работ в условиях
действующего предприятия эксплуатируемые электросети и другие действующие
инженерные системы в зоне работ должны быть, как правило, отключены,
закорочены, а оборудование и трубопроводы освобождены от взрывоопасных, горючих
и вредных веществ.
. На участке (захватке), где ведутся монтажные
работы, не допускается выполнение других работ и нахождение посторонних лиц.
. Элементы монтируемых конструкций во время
перемещения должны удерживаться от раскачивания и вращения пеньковым канатом.
. Канаты, используемые в процессе монтажа должны
соответствовать ГОСТ 30055-93 "Канаты пеньковые. Технические условия"
. Инструмент, применяемый для монтажа сборных
железобетонных конструкций должен находиться в исправном состоянии, его
эксплуатация должна производиться в соответствии с требованиями инструкции
завода-изготовителя.
. Присоединение и отключение от сети сварочного
оборудования, его ремонт должен производить электротехнический персонал
организации.
. В темное время суток строительная площадка и
рабочие места монтажников должны быть освещены в соответствии с существующими
нормами. Наименьшая освещенность монтажной зоны составляет 30 лк.
. При очистке конструкций от грязи, снега,
наледи, а металлических деталей - от ржавчины необходимо пользоваться защитными
очками ЗП 2-84.
. Зона, опасная для нахождения людей во время
монтажных работ, ограждается сигнальными ограждениями, удовлетворяющими
требованиям ГОСТ 23407-78. Граница опасной зоны устанавливается в соответствии
с требованиями п.2.7 СНиП III-4-80.
. Запрещается:
.1. Производить монтажные работы без наличия
проекта производства работ.
.2. Выполнять монтажные работы на высоте в
открытых местах при скорости ветра 15 м/с и более, при гололедице, грозе и
тумане исключающем видимость в пределах фронта работ.
.3. Выполнять монтажные работы без спецодежды,
спецобуви и средств индивидуальной защиты.
.4. Применять грузозахватные приспособления, не
предусмотренные проектом производства работ.
.5. Пребывание людей на элементах конструкций во
время их подъема или перемещения.
.6. Во время перерывов в работе оставлять
поднятые элементы конструкций на весу.
.7. Нахождение людей под монтируемыми элементами
конструкций до установки их в проектное положение и закрепления.
.8. Передвижение монтажников по конструкциям, не
имеющим ограждений или троса для закрепления карабина пояса.
.9. Подъем сборных железобетонных конструкций,
не имеющих монтажных петель, меток, обеспечивающих их правильную строповку и
монтаж.
.10.Нахождение лиц, не участвующих в процессе
монтажа в монтажной зоне.
.11.Движение транспорта в местах установки
расчалок (места установки расчалок должны быть ограждены).
. Курить на строительной площадке необходимо в
специально отведенных местах, соответственно оборудованных.
. Территория строительства должна быть
обеспечена первичными средствами пожаротушения.
. На строительной площадке должен быть
установлен стенд со схемами строповки, спецификацией основных монтируемых
элементов, предупреждающие и запрещающие знаки, плакаты по технике
безопасности.
Указания по охране труда:
Монтаж каркаса осуществляется, принимая во
внимание проблему сохранения природных ресурсов, назначая экологические
мероприятия для сохранения и улучшения природы. Строительные отходы должны
иметь место на определенном месте свалки и организованно вывозиться со
строительной площадки. После монтажа природа строительной площадки должна быть
возвращена в свой естественный вид, поэтому нужно искать такое место, для строительной
площадки, чтобы на нем было как можно меньше деревьев, кустарников и других
природных ценностей. А после завершения строительства желательно улучшить
природное состояние, окружающее здание посадкой зеленого ограждения. Здание
требуется располагать в таком месте, где отсутствуют вредные грунтовые воды,
интенсивные магнитные и электромагнитные поля. Целесообразно снижение до
минимума количество электроприборов загрязняющих пространство электромагнитными
полями.
Таблица 5. Калькуляция затрат труда
|
Обоснование
|
Наименование
видов работ
|
Единица
измерения
|
Объем
работ
|
Трудоемкость
|
Состав
звена
|
|
|
|
|
На
единицу измерения
|
На
весь объем
|
|
|
Монтаж
крайних и средних колонн
|
|
Е25-14
т.2 п.6 в,г
|
Выгрузка
колонн массой до 6т.
|
шт.
|
34
|
|
|
Такелажник
3р. - 1чел. Такелажник 2р. - 1чел. Машинист 6р. -1чел.
|
|
Е25-14
т.2 п.8 в,г
|
Выгрузка
колонн массой до 8т.
|
шт.
|
36
|
|
|
Такелажник
3р. - 1чел. Такелажник 2р. - 1чел. Машинист 6р. -1чел.
|
|
Е4-1-4
т.2 п.5 а,б
|
Установка
колонн массой до 6т. в стаканы фундамента
|
шт.
|
34
|
|
|
Монтажник
5р. - 1чел. Монтажник 4р. - 1чел. Монтажник 3р. - 2чел. Монтажник 2р. - 1чел.
Машинист 6р. -1чел.
|
|
Е4-1-4
т.2 п.5 а,б
|
Установка
колонн массой до 8т. в стаканы фундамента
|
шт.
|
36
|
|
|
Монтажник
5р. - 1чел. Монтажник 4р. - 1чел. Монтажник 3р. - 2чел. Монтажник 2р. - 1чел.
Машинист 6р. -1чел.
|
|
Е4-1-54
т.2 п.19
|
Прием
бетонной смеси из кузова автомобиля-самосвала с очисткой кузова
|
100мі
|
0,1
|
|
|
Бетонщик
2р. - 1чел.
|
|
Е4-1-25
т.2 п.19
|
Заделка
стыков фундаментов с колоннами
|
шт.
|
70
|
|
|
Монтажник
4р. - 1чел. Монтажник 3р. - 1чел.
|
|
Итого
на один элемент:
|
|
|
|
Итого:
|
|
|
|
Монтаж
подкрановых балок
|
|
Е25-14
т.2 п.3 в,г
|
Выгрузка
подкрановых балок массой до 3т.
|
шт.
|
160
|
|
|
Такелажник
3р. - 1чел. Такелажник 2р. - 1чел. Машинист 6р. -1чел.
|
|
Е4-1-6
т.2 п.3 в,г
|
Установка
подкрановых балок массой до 3т.
|
шт.
|
160
|
|
|
Монтажник
5р. - 1чел. Монтажник 4р. - 1чел. Монтажник 3р. - 2чел. Монтажник 2р. - 1чел.
Машинист 6р. -1чел.
|
|
Е22-1-1
п.6 б
|
Односторонняя
сварка стыковых соединений без скоса кромок
|
10м.
|
18,4
|
|
|
Электросварщик
ручной сварки 4р. - 1чел.
|
|
Е4-1-22
№1
|
Антикоррозийное
покрытие сварных соединений
|
10
ст.
|
320
|
|
|
Монтажник
4р. - 1чел.
|
|
Е4-1-54
т.2 п.19
|
Прием
бетонной смеси из кузова автомобиля-самосвала с очисткой кузова
|
100мі
|
0,24
|
|
|
Бетонщик
2р. - 1чел.
|
|
Е4-1-25,
т.2 №1,3,5
|
Заделка
стыков подкрановых балок
|
1
ст.
|
320
|
|
|
Монтажник
4р. - 1чел. Монтажник 3р. - 1чел. Плотник 4р. - 1чел. Плотник 3р. - 1чел.
|
|
Итого
на один элемент:
|
|
|
|
Итого:
|
|
|
|
Монтаж
балок перекрытия
|
|
Е25-14
т.2 п.5 в,г
|
Выгрузка
балок перекрытия массой до 5т.
|
шт.
|
85
|
|
|
Такелажник
3р. - 1чел. Такелажник 2р. - 1чел. Машинист 6р. -1чел.
|
|
Е4-1-54
т.2 п.19
|
Прием
бетонной смеси из кузова автомобиля-самосвала с очисткой кузова
|
100мі
|
0,13
|
|
|
Бетонщик
2р. - 1чел.
|
|
Е5-1-2
п.8 а,б
|
Установка
средств подмащивания
|
шт.
|
4
|
|
|
Монтажник
4р. - 1чел. Монтажник 3р. - 2чел. Машинист 6р. -1чел.
|
|
Е4-1-6
т.2 п.4 в,г
|
Установка
балок перекрытия
|
шт.
|
85
|
|
|
Монтажник
6р. - 1чел. Монтажник 5р. - 1чел. Монтажник 4р. - 1чел. Монтажник 3р. - 2чел.
Монтажник 2р. - 1чел. Машинист 6р. -1чел.
|
|
Е5-1-2
|
Перестановка
средств подмащивания
|
шт.
|
4
|
|
|
Монтажник
4р. - 1чел. Монтажник 3р. - 2чел. Машинист 6р. -1чел.
|
|
Е22-1-1
п.6 б
|
Односторонняя
сварка стыковых соединений без скоса кромок
|
10м.
|
8,5
|
|
|
Электросварщик
ручной сварки 4р. - 1чел.
|
|
Е4-1-25,
т.2 №1,3,5
|
Заделка
стыков подкрановых балок
|
1
ст.
|
170
|
|
|
Монтажник
4р. - 1чел. Монтажник 3р. - 1чел. Плотник 4р. - 1чел. Плотник 3р. - 1чел.
|
|
Итого
на один элемент:
|
|
|
|
Итого:
|
|
|
|
Монтаж
плит покрытия
|
|
Е25-14
т.2 п.4 в,г
|
Выгрузка
плит покрытия массой до 4т.
|
шт.
|
320
|
|
|
Такелажник
3р. - 1чел. Такелажник 2р. - 1чел. Машинист 6р. -1чел.
|
|
Е4-1-7
п.4 а,б
|
Укладка
панелей покрытия площадью элементов до 10 м2
|
шт.
|
320
|
|
|
Монтажник
4р. - 1чел. Монтажник 3р. - 1чел. Монтажник 2р. - 1чел. Машинист 6р. -1чел.
|
|
Е4-1-54
т.2 п.19
|
Прием
бетонной смеси из кузова автомобиля-самосвала с очисткой кузова
|
100мі
|
0,39
|
|
|
Бетонщик
2р. - 1чел.
|
|
Е4-1-26
(прим.)
|
3аливка
швов вручную
|
100
м
|
38,4
|
|
|
Монтажник
4р. - 1чел. Монтажник 3р. - 1чел.
|
|
Итого
на один элемент:
|
|
|
|
Итого:
|
|
|
|
Монтаж
стеновых панелей
|
|
Е25-14
т.2 п.2 в,г
|
Выгрузка
плит стеновых панелей массой до 2т.
|
шт.
|
280
|
|
|
Такелажник
3р. - 1чел. Такелажник 2р. - 1чел. Машинист 6р. -1чел.
|
|
Е4-1-54
т.2 п.19
|
Прием
бетонной смеси из кузова автомобиля-самосвала с очисткой кузова
|
100мі
|
1,74
|
|
|
Бетонщик
2р. - 1чел.
|
|
Е4-1-8
т.2 п.19
|
Установка
стеновых панелей площадью до 10мІ
|
шт.
|
280
|
|
|
Монтажник
5р. - 1чел. Монтажник 4р. - 1чел. Монтажник 3р. - 1чел. Монтажник 2р. - 1чел.
Машинист 6р. -1чел.
|
|
Е-22-1-6
п.1 ж
|
Сварка
стыков панелей
|
10м
|
1
|
|
|
Электросварщик
ручной сварки 4р. - 1чел.
|
|
Е4-1-49
|
Заливка
швов стеновых панелей
|
1мі
|
174
|
|
|
Бетонщик
4р. - 1чел. Бетонщик 2р. - 1чел.
|
|
Итого
на один элемент:
|
|
|
|
Итого:
|
|
|
|
Монтаж
фахверковых колонн
|
|
Е25-14
т.2 п.6 в,г
|
Выгрузка
фахверковых колонн массой до 6т.
|
шт.
|
22
|
|
|
Такелажник
3р. - 1чел. Такелажник 2р. - 1чел. Машинист 6р. -1чел.
|
|
Е4-1-4
т.2 п.5 а,б
|
Установка
фахверковых колонн массой до 6т. в стаканы фундамента
|
шт.
|
22
|
|
|
Монтажник
5р. - 1чел. Монтажник 4р. - 1чел. Монтажник 3р. - 2чел. Монтажник 2р. - 1чел.
Машинист 6р. -1чел.
|
|
Е4-1-25
т.2 п.19
|
Заделка
стыков фундаментов с колоннами
|
шт.
|
22
|
|
|
Монтажник
4р. - 1чел. Монтажник 3р. - 1чел.
|
|
Итого
на один элемент:
|
|
|
|
Итого:
|
|
|
Список используемой литературы
1. ТКП 45-1.01-159-2009.
Строительство. Технологическая документация при производстве
строительно-монтажных работ. Состав, порядок разработки, согласования и
утверждения технологических карт. - Минск: М-во архитектуры и стр-ва РБ, 2009.
- 14 с.
2. ТКП45-1/03-161-2009.
Организация строительного производства. - Минск: Мин-во архит. и стр-ва Респ.
Беларусь, 2010. - 47 с.
. ТКП 45-1.03-40-2006.
Безопасность труда в строительстве. Общие требования. - Минск: М-во архитектуры
и стр-ва РБ, 2007. - 45 с.
. ТКП 45-1.03-44-2006.
Безопасность труда в строительстве. Строительное производство. - Минск: М-во
архитектуры и стр-ва РБ, 2007. - 33 с.
. Технология строительного
производства. Методические указания к практическим занятиям. - Могилев: БРУ,
2011. - 32 с.
. ЕНиР. Сборник Е1.
Внутрипостроечные транспортные работы. - М.: Прейскурантиздат. 1987. - 40с.
. ЕНиР. Сборник Е4. Монтаж
сборных и устройство монолитных железобетонных конструкций. - М.: Стройиздат,
1988. - 62 с.
8. ЕНиР. Сборник Е22.
Сварочные работы. Выпуск 1Конструкции зданий и промышленных сооружений. - М.:
Стройиздат, 1988.
9. Технология строительного
производства. Курсовое и дипломное проектирование. Хамзин С.К., Карасек А.К.
Москва, 2006. - 216 с.