Проектирование производства работ по возведению монолитного железобетонного фундамента здания
Содержание
. Исходные данные
. Схема расположения фундаментов
. Определение объемов земляных работ
.1 Определение объема грунта
котлована с учетом недобора грунта
.2 Определение объема грунта,
вывозимого за пределы строительной площадки
.3 Определение объема грунта для
обратной засыпки фундаментов
.4 Определение объема грунта
подлежащего уплотнению
. Выбор способов производства
земляных работ и средств механизации
. Технология производства земляных
работ
. Калькуляция трудовых затрат
. Определение объемов работ по
устройству монолитных фундаментов
.1 Определение объемов опалубочных
работ
.2 Определение объема арматурных
работ
.3 Определение объема бетонных работ
. Выбор машин и механизмов для
производства работ по возведению монолитных фундаментов
. Калькуляция трудовых затрат на
возведение монолитных фундаментов
. Технология возведения монолитных
фундаментов
.1 Разработка схем движения крана
при бетонировании фундаментов
.2 Технология опалубочных работ
.3 Технология арматурных работ
.4 Технология бетонных работ
. Разработка графика производства
земляных работ и устройства монолитных фундаментов
. Определение основных
технико-экономических показателей
. Расчет параметров режима
выдерживания бетона монолитных фундаментов при отрицательных температурах
методом термоса
. Мероприятия по охране труда и
окружающей среды
. Литература
1. Исходные данные
|
Параметр
|
Обозна-чение
|
Величина
|
|
Длина
здания в осях
|
L
|
72м
|
|
Пролет
|
bn
|
12м
|
|
Количество
пролетов
|
n
|
3
|
|
Шаг
колон
|
l
|
6м
|
|
Глубина
заложения фундаментов здания
|
Hф
|
2,2м
|
|
Размер
фундаментов в плане
|
bфxCф
|
3,2м х 3,2м
|
|
Грунт
на строительной площадке
|
2-Супесь
|
|
|
Дальность
перевозки грунта
|
Lтр
|
28км
|
|
Расчётная
температура наружного воздуха
|
tн.в.
|
-14
0С
|
|
Расход
цемента и бетона
|
Ц
|
370 кг/ м3
|
|
Дальность
транспортирования бетонной смеси
|
S
|
28 км
|
|
Плотность
бетона
|
2400
|
|
Шаг колонн 6 м.
Фундаменты двухступенчатые с подколонниками,
ширина и высота каждой ступени 60 см.
Опалубка щитовая, из досок толщиной 25 мм.
Армирование каждого фундамента выполняется
арматурными сетками:
одной горизонтальной 90 кг и четырьмя
вертикальными 70 кг каждая.
Расчетная скорость ветра 10 м/с.
Расчетная температура бетонной смеси
на выходе из бетоносмесителя +20
.
Расчетная температура бетона к
моменту окончания выдерживания составляет +5
Плотность бетонной смеси 2400 кг/
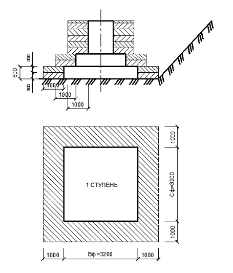
2. Схема расположения фундаментов
монолитный
железобетонный фундамент
С учётом глубины заложения фундаментов
коэффициент естественного откоса грунта , габариты строительного крана, на
производстве бетонных работ , определяем безопасное расстояние от бровки откоса
,выемки до этого габарита.
m=0.67- уклон,
выбираем из табл. в зависимости от типа грунта;
Если Z
≥
1м - отдельные траншеи;
Если Z
< 1 м - котлован;
В результате расчёта запроектирован котлован.
Определяем размеры котлована
3. Определение объёмов земляных работ
При подсчёте объёма земляных работ необходимо
определить:
V0 - общий объём
грунта котлована в плотном состоянии , с учётом недобора;
Vвыв.- объём грунта
вывозимого за пределы строительной площадки с погрузкой в автосамосвалы;
Vобр. з.- объём
грунта для обратной засыпки;
Vр. д.- объём грунта
ручной доработки;
.1 Определение объёма грунта с учётом недобора
Недобор грунта при разработке котлована
экскаватором обусловлен требованием : сохранением его структуры , в местах
устройства фундаментов, где грунт дорабатывается вручную.
Величина допустимого недобора с
учётом рабочего оборудования, экскаватора и его ёмкости ковша, принимаем 
при ёмкости ковша 0.5-0.65

3.2
Определение объема грунта вывозимого за пределы площадки
3.3 Определение объема грунта для обратной засыпки.
Объем грунта для обратной засыпки определяется
как разница между общим объемом грунта (V0
) в плотном состоянии и объемом фундаментов с учетом остаточного разрыхления.
Определяем объём грунта ручной доработки
3.4 Определение объема грунта, подлежащего
уплотнению
Для обеспечения сохранности фундаментов
засыпаемый грунт следует уплотнять вокруг каждой ступени ручной
электротрамбовкой, ширину уплотняемой зоны принимаем равной 1м. За пределами
этой зоны уплотнение производим самоходным виброкатком. В первом и во втором
случаях уплотнение выполняется слоями толщиной 0,3м.


4.
Выбор способов производства земляных работ и средств механизации
Выбор способов разработки грунта, машин и
механизмов для производства земляных работ зависит от объема земляных работ,
размеров котлована, вида грунта, условий выполнения процессов (разработка в
отвал или на транспорт), характера разработки (разработка котлована, обратная
засыпка, уплотнение грунта и т.д.).
Ведущей машиной при разработке котлованов
является экскаватор. Выбор типа экскаватора, его рабочего оборудования и
емкости ковша зависит от категории грунта, объема котлована, требуемой глубины
разработки грунта.
Для разработки грунта в отвал и транспортные
средства при устройстве котлованов глубиной до 5,0 м наиболее целесообразно
применять экскаваторы с гидравлическим приводом, оборудованные обратной
лопатой.
Марка и технические характеристики экскаватора приняты
следующие:
|
Показатель
|
ЭО-3322Б
|
|
Вместимость
ковша,  0.5
|
|
|
Наибольшая
глубина копания, м
|
4.2
|
|
Наибольший
радиус копания, м
|
7.5
|
|
Наибольшая
высота выгрузки, м
|
4.8
|
|
Наименьший
радиус копания, м
|
2.4
|
Экскаваторы с обратной лопатой разрабатывают
котлованы торцевыми и боковыми проходками. Ширина лобовой проходки зависит от
места укладки грунта (в отвал или в автосамосвал). При выгрузке грунта в
автосамосвал ширина торцевой проходки поверху определяется по формуле:

,
где

радиус выгрузки грунта, м;

;

наибольший радиус копания, м;

ширина колеи транспортного средства,
м;

длина рабочей передвижки
экскаватора (для экскаваторов с емкостью ковша 0,4-0,65 
может быть принята 1,5м);

наибольшая высота выгрузки, м;
Марка и технические характеристики
автосамосвала приняты следующие:
|
Наименование
показателей
|
КАМАЗ
55102
|
|
Грузоподъемность,
т
|
10,0
|
|
Емкость
кузова,  7,9
|
|
|
Ширина
колеи, мм
|
2600
|
|
Погрузочная
высота, мм
|
2900
|
Боковыми проходками разрабатывают широкие
выемки, при этом первая проходка является торцевой, а каждая последующая -
боковой. Ширина боковой проходки определяется по формуле

,
где

радиус копания на уровне дна
котлована, величину которого можно принять равной

;
m -
коэффициент откоса;
H - глубина
котлована с учетом недобора.
Котлован будет разработан за 1
торцевую и 3 боковых проходки.

Таблица 4.1. Средства механизации
|
№
п/п
|
Наименование
механизмов
|
Техническая
характеристика
|
|
1
|
Бульдозер
для разрыхления мерзлого грунта Марка - ДЗ-121
|
Глубина
рыхления - 0.7м. Ширина рыхления - 1.5м.
|
2 Экскаватор,
оборудованный обратной лопатой Марка - ЭО-3322Б Вместимость ковша -
0.5 
Наибольшая глубина копания - 4.2 м.
Наибольший радиус копания - 7.5 м.
Наименьший радиус копания - 2.4 м.
|
Наибольшая
высота выгрузки - 4.8 м.
|
3 Автосамосвалы,
марка - КАМАЗ 55102 Грузоподъемность - 10,0 т. Емкость кузова - 7,9 
Ширина колеи - 2600 мм.
|
Высота
погрузки - 2900 мм.
|
|
|
4
|
Бульдозер
для обратной засыпки котлована Марка - Д-318
|
Тип
отвала - поворотный. Длина отвала - 3.97 м. Высота отвала - 1м.
|
5 Ручная
электротрамбовка для уплотнения грунта Марка - ИЭ-4502 Глубина
уплотнения за 2 проходки - 30 см. Размер башмака - 350
мм.
|
Масса
- 81,5 кг.
|
|
|
6
|
Самоходный
виброкаток Марка - Д-480
|
Ширина
уплотняемой полосы - 1,4 м. Толщина уплотняемого слоя (max) -
0,5-0,6 м. Масса катка - 3т.
|
Для транспортирования грунта за пределы
строительной площадки применяют автомобили-самосвалы. С целью эффективного
использования экскаватора и автосамосвалов целесообразно принимать емкость
кузова автосамосвала равной 4…10 объемам ковша экскаватора.
Необходимое количество автосамосвалов при
условии обеспечения непрерывной работы экскаватора определяется по формуле
где

- время погрузки, мин;

- время маневра машины при погрузке
и разгрузке, мин (можно принять для расчета равным 1 мин);

- время разгрузки, мин (принимается
равным 2 мин);

- средняя скорость движения машины,
км/час (можно принять для расчета равной 45 км/час)

- расстояние транспортировки
грунта, км.
Время погрузки 
одного самосвала определяется по
формуле

- емкость ковша экскаватора.
5.
Технология производства земляных работ
До начала разработки котлована должны быть
выполнены следующие работы:
разбивка котлована;
срезка растительного слоя грунта;
планировка территории для отвода поверхностных
вод;
устройство временных подъездных путей к
котловану.
Перебор грунта при механизированной разработке
котлована или ручной доработке не допускается.
Ручная доработка грунта выполняется
непосредственно перед устройством фундаментов.
Обратная засыпка грунта выполняется, как
правило, механизированным способом. Грунт обратной засыпки не должен содержать
твердых включений размером более 30 см. Для обратной засыпки принят бульдозер
марки Д-318.
Для определения трудоемкости земляных работ
составляется калькуляция трудовых затрат.
Основанием для составления калькуляции является
объем земляных работ, которые записываются в последовательности их выполнения.
. 6. Калькуляция трудовых затрат.
Таблица 6.1. Калькуляция трудовых затрат
|
№
п/п
|
Обоснования
|
Наименование
работ
|
Едини-ца
измере-ния
|
Объем
работ
|
Норма
времени на единицу измерения
|
Состав
звена
|
|
|
|
|
|
|
|
Профессия
|
Раз-ряд
|
Кол-во
|
Затраты
труда на весь объем работ (чел-ч)(маш-ч)
|
|
1
|
2
|
3
|
4
|
5
|
6
|
7
|
8
|
9
|
10
|
|
1
|
Е2-1-2
|
Рыхление
мерзлого грунта бульдозерами-рыхлителями
|
100
 2476.8620.88машинист6121.796
|
|
|
|
|
|
|
|
2
|
Е2-1-11
|
Разработка
грунта в котловане одноковшовым экскаватором, оборудованным обратной лопатой
с емкостью ковша 0.5  с погрузкой в автосамосвалы100   3.4машинист61269.049
|
|
|
|
|
|
|
|
|
3
|
Е2-1-47
|
Ручная
доработка грунта под отдельно стоящие фундаменты
|
1
  1.13землекоп2195.98
|
|
|
|
|
|
|
|
4
|
Е2-1-34
|
Обратная
засыпка грунта бульдозером
|
100
  0.38машинист6123.1
|
|
|
|
|
|
|
|
5
|
Е2-1-59
|
Уплотнение
грунта ручной электротрамбовкой с башмаком
|
100
 4031.041.9землекоп2176.589
|
|
|
|
|
|
|
|
6
|
Е2-1-32
|
Уплотнение
грунта самоходным виброкатком
|
100
  1.12тракторист5154.4
|
|
|
|
|
|
|
. Определение объемов работ по устройству
монолитных фундаментов
Технологический процесс возведения монолитных
фундаментов включает: устройство опалубки, установку арматуры, подачу, укладку
и уплотнение бетонной смеси, выдерживание бетона до получения распалубочной
прочности, распалубку фундаментов.
7.1 Определение объема опалубочных работ
Конструкция опалубки должна обеспечить
геометрические размеры бетонируемой конструкции, ее монолитность и качество.
В курсовом проекте предусмотрено, что опалубка
фундаментов собирается из отдельных щитов, изготовленных из досок толщиной 25
мм и шириной 150 мм, скрепленных между собой сшивными планками толщиной 25 мм.
Опалубка состоит из наружных и внутренних щитов высотой 600 мм. Наружный щит
первой ступени длиннее размера ступени этого фундамента на 30 см. Длина
внутренних щитов соответствует ширине ступени фундамента. Наружные щиты второй
ступени опираются на наружный или внутренний щит первой ступени, а щиты
подколонника на наружные или внутренние шиты второй ступени. В наружных щитах
предусмотрены вертикальные упорные планки, к которым крепятся внутренние щиты.
Эти планки имеют толщину 25 мм. Короб второй ступени и подколонника
устанавливают на нижние короба после того, как они забетонированы. Боковой
распор щитов первой и второй ступени от бетонной смеси воспринимается стяжками
и скрутками из проволоки укрепленными на сшивных планках щитов. Количество
сшивных планок - не менее трех на каждом щите. Щиты подколонника воспринимают
боковой распор от бетонной смеси специальными стальными хомутами, которые
располагают снаружи по высоте короба подколонника в трех уровнях.
Таблица 7.1. Спецификация опалубочных щитов
|
Наименование
щитов
|
Марка
щита
|
Количество
щитов
|
Размеры
щита, мм
|
Площадь
щита, соприкасающаяся с бетоном, 
|
|
|
Один
фундамент
|
Все
фундаменты
|
|
|
|
1-я
ступень
|
НЩ-1
|
2
|
104
|
3500 6001.92
|
|
|
ВЩ-1
|
2
|
104
|
3200 6001.92
|
|
|
2-я
ступень
|
НЩ-2
|
2
|
104
|
2300 6001.2
|
|
|
ВЩ-2
|
2
|
104
|
2000 6001.2
|
|
|
3-я
ступень
|
НЩ-3
|
2
|
104
|
1100 10500.8
|
|
|
ВЩ-3
|
2
|
104
|
800 10500.8
|
|
7.2 Определение
объема арматурных работ
Армирование каждого фундамента выполняется
арматурными сетками: одной горизонтальной С1 и четырьмя вертикальными С2.
Таблица 7.2. Спецификация арматурных сеток
|
Марка
сеток
|
Ед.
измерения
|
Количество
сеток на 1 фундамент
|
Количество
фундаментов
|
Количество
сеток на все фундаменты
|
|
С-1
(горизонтальная)
|
шт.
|
1
|
52
|
52
|
|
С-2
(вертикальная)
|
шт.
|
4
|
52
|
208
|
7.3 Определение объема бетонных работ.
Таблица 7.3. Объем бетонных работ
|
Наименование
бетонных элементов
|
Ед.
измерения
|
Объем
бетонной смеси на один фундамент
|
Количество
фундаментов
|
Объем
бетонной смеси на все фундаменты
|
|
1-я
ступень
|

|
52
|
319.488
|
|
2-я
ступень
|
|
2.4
|
52
|
124.8
|
|
Подколонник
|
|
0.64
|
52
|
33.28
|
.
Выбор машин и механизмов для производства работ по возведению монолитных
фундаментов
Для возведения монолитных фундаментов необходимы
следующие машины и механизмы:
. Автобетоносмеситель для
транспортирования бетонной смеси от места ее приготовления до места выгрузки в
бадьи.
. Бадьи.
. Глубинный вибратор для уплотнения
бетонной смеси.
. Самоходный стреловой кран.
Марка и технические характеристики
автобетоносмесителя приняты следующие:
|
Показатель
|
Марка
автобетоносмесителя
|
|
СБ-92-1А
|
|
Вместимость
смесительного барабана по готовому замесу,  4
|
|
|
Геометрический
объем смесительного барабана,  6.1
|
|
Технические характеристики принятых поворотных
бадей конструкции ЦНИИОМТП
|
Наименование
показателей
|
Единица
измерения
|
Номинальная
емкость бадьи, 
|
|
|
1
|
|
Габаритные
размеры
|
|
длина
|
мм
|
3512
|
|
ширина
|
мм
|
1232
|
|
высота
|
мм
|
1040
|
|
Масса
|
кг
|
490
|
Допустимая перегрузка - 25%
Количество бадей : 
Выбор стрелового крана.
Самоходный стреловой кран для подачи
бетонной смеси в опалубку выбирают по его грузовысотным характеристикам:
грузоподъемности 
, высоте подъема крюка 
, вылету крюка 
.
Необходимо дополнительно учитывать,
чтобы груз свободно перемещался над выступающими частями опалубки фундаментов,
лесов и ограждений с зазором не менее 0,5 м.Необходимая грузоподъемность крана 
определяется по формуле:

где

масса бетонной смеси в бадье, т;

масса бадьи;

масса строповочного приспособления
(в расчетах примем 
);

коэффициент перегрузки, равный 1,2.

,

- запас по высоте

- длина бадьи

- длина строп
Требуемый вылет крюка 
определяется по формуле:
Вылет стрелы 
определяется по формуле:
На основе требуемых характеристик
подобран самоходный кран на колёсном ходу МАШЕКА КС-3579:
9.
Калькуляция затрат труда на возведение монолитных фундаментов
Основанием на составление калькуляции являются
объемы опалубочных, арматурных и бетонных работ, которые приведены
соответственно в таблицах 7.1, 7.2, 7.3.
Опалубочные работы
Состав работ:
При устройстве опалубки:
. Проверка разметки по осям и отметкам.
. Установка щитов.
. Крепление опалубки распорками, стяжками,
стойками, подкосами, схватками, клиновыми зажимами или натяжными крюками.
. Выверка опалубки.
. Установка готового блока гнездообразователя
(для опалубки подколонника).
При разборке опалубки:
. Снятие креплений с перерезыванием проволочных
стяжек и скруток.
. Снятие щитов, досок, хомутов и рамок.
. Спуск элементов опалубки.
. Сортировка, очистка элементов от налипшего
бетона и выдергивание гвоздей.
. Относка элементов с укладкой в штабель.
Арматурные работы
Состав работ:
. Подноска и укладка бетонных прокладок.
. Подноска сеток (каркасов).
. Установка сеток (каркасов).
. Выверка установленной арматуры.
Бетонные работы
Состав работ:
. Прием бетонной смеси.
. Укладка бетонной смеси непосредственно на
место или по лоткам (хоботам). 3. Разравнивание бетонной смеси с частичной ее
перекидкой.
. Уплотнение вибраторами.
. Заглаживание открытой поверхности бетона.
. Перестановка вибраторов, лотков (хоботов) с
очисткой их.
9.1 Калькуляция затрат труда
Таблица 9.1. Калькуляция затрат труда
|
№
п/п
|
Обоснования
|
Наименование
работ
|
Ед.
изм.
|
Объем
работ
|
Норма
времени на ед. изм.
|
Состав
звена
|
Затраты
труда на весь объем работ чел-ч (маш-ч)
|
|
|
|
|
|
|
Профессия
|
Разряд
|
Кол-во
|
|
|
1
|
2
|
3
|
4
|
5
|
6
|
7
|
8
|
9
|
10
|
1 4-330 Установка
щитов опалубки соприкасающихся с бетоном 1-ой ступени фундаментов площадью
свыше 2 
100
399.3639.8плотник4
2 4-330 Установка
щитов опалубки соприкасающихся с бетоном 2-ой ступени фундаментов площадью
свыше 2 
100
249.639.8плотник4
3 4-330 Установка
щитов опалубки соприкасающихся с бетоном подколонника площадью свыше 2 
100 
166.439.8плотник4
|
166.23
|
|
|
|
|
|
|
|
|
|
4
|
4-514
|
Установка
арматурных сеток вручную массой до 100 кг
|
100
шт.
|
260
|
35.9
|
Арматур-щик
|
3
2
|
1
2
|
93.34
|
5 4-654 4-652 4-652 Укладка
бетонной смеси в бадьях в фундаменты: 1-ой ступени 2-ой ступени подколонника 10

319.488
.8
.28
.3
.1
.1бетонщик4
105.43
.168
6 4-334 Распалубливание
опалубки площадью щитов: подколонников 2-ой ступени 1-ой ступени 100
166.4
.6
.36
.9плотник3
16.47
.71
10. Технология
возведения монолитных фундаментов
.1 Разработка схем движения крана при
бетонировании фундаментов
.2 Технология опалубочных работ
Исходными документами для разбивки под установку
опалубки является схематичный план осей фундаментов. Опалубку фундаментов
устанавливают в соответствии с технологической картой, обеспечивая
устойчивость, жесткость и вертикальность. Место установки опалубки нижней
ступени фундамента должно быть очищено от строительного мусора, снега, наледи.
Не разрешается подсыпка грунта. Опалубка второй ступени и подколонника
устанавливается длинными концами щитов на нижние после того, как они
забетонированы. Внутренняя поверхность опалубки до начала укладки бетонной
смеси должна быть обработана составами, обеспечивающими уменьшение сцепления с
бетоном. Смазку опалубки восстанавливают через 1-4 оборота ее использования.
Щиты опалубки после распалубливания очищают от цементного раствора
металлическими скребками и щетками.
.3 Технология арматурных работ
Армирование фундаментов выполняют отдельными
сетками заводского изготовления. Арматурный каркас подколонника может быть
установлен до начала установки опалубки подколонника или после, обеспечивая
необходимую величину защитного слоя между арматурой и щитами опалубки. На
выполненные работы составляется акт приемки работ.
.4 Технология бетонных работ
Бетонные работы предусматривают заготовительные
и основные работы. К заготовительным относят приготовление и транспортирование
бетонной смеси. К основным относят укладку, уплотнение, выдерживание в
определенных температурно-влажностных условиях, распалубливание и уход за
бетоном. Бетонная смесь, доставленная на объект в автобетоносмесителях
выгружается в бадьи, затем с помощью самоходного стрелового крана укладывают ее
в опалубку каждой ступени. Опалубку второй ступени и подколонника устанавливают
соответственно после того, как они забетонированы.
11. Разработка графика производства земляных
работ и устройства монолитных фундаментов
Земляные работы и работы по устройству
монолитных фундаментов должны быть увязаны в единый технологический процесс
графиком производства работ.
В соответствии с требованиями нормативных
документов (ТКП) перерыв между окончанием разработки грунта и устройством
фундамента (более 24 ч.), как правило, не допускается. При вынужденных
перерывах должны быть приняты меры к сохранению природных свойств грунта,
которые включают:
защиту котлована от попадания поверхностных вод;
исключение притока воды в котлован через дно;
защиту грунта основания от промерзания в зимнее
время.
До начала работ по устройству фундаментов
подготовленное основание должно быть принято по акту комиссией с участием
заказчика и генподрядчика.
При разработке графика производства земляных
работ и работ по устройству монолитных фундаментов необходимо обеспечить
максимальное сокращение сроков производства работ путем разбивки общего объема
работ на отдельные захватки (участки) и совмещения выполнения отдельных работ
во времени на различных захватках, исключения простоев машин и механизмов.
Количество рабочих в звене определяется из
условия, что процесс производства работ по устройству монолитных фундаментов
выполняется комплексной бригадой. При определении состава комплексной бригады
должны соблюдаться следующие требования: соответствие квалификации каждого
исполнителя выполняемой работе, возможность совмещения профессий; полное использование
рабочего времени каждого члена бригады.
В качестве ведущего звена в комплексной бригаде
при возведении фундаментов принимается звено бетонщиков, непосредственно
выполняющих укладку бетонной смеси в опалубку.
Рекомендации по количественному и квалификационному
составу звеньев рабочих при устройстве монолитных фундаментов приведены в
нормах затрат труда на строительные, монтажные и ремонтно-строительные работы
(НЗТ) сборник №4 выпуск 1.
График производства работ представлен на листе
графического материала.
12. Определение основных технико-экономических
показателей
. Затраты труда - 1209.742
чел.-ч.
. Продолжительность работ - по графику.
13. Расчет параметров режима выдерживания бетона
монолитных фундаментов при отрицательных температурах методом термоса
Сущность метода термоса заключается в том, что
бетон в опалубке набирает заданную прочность за счет тепла, внесенного при
приготовлении бетонной смеси и тепла, выделяемого в процессе гидратации
цемента. Для этого необходим расчет времени остывания бетона до заданной
температуры, когда влияние отрицательной температуры не сказывается на качестве
забетонированной конструкции.
Если время остывания бетона 
, то утепление опалубки не
требуется. В противном случае необходимо ее утепление.
Определим расчетное время остывания
бетона с учетом экзотермии цемента по формуле:

удельная теплоемкость бетона,
принимается равной 
;

средняя плотность бетона (2400
;
Э - тепловыделение 1 кг цемента при
твердении бетона кДж/кг;

коэффициент теплопередачи опалубки,

;

температура наружного воздуха, 
.
Последовательность расчета
1. Определяем модуль поверхности
бетонируемой конструкции (фундамента)

сумма площадей охлаждаемых
конструкций, 
;

объем бетона в конструкции, 
.
2. Определяем начальную среднюю температуру
бетона после укладки бетонной смеси в опалубку, ее уплотнения, заглаживания и
теплоизоляции охлаждаемых поверхностей по формуле:
где 
расчетная температура бетонной
смеси после окончания загрузки в автобетоносмеситель;

расчетная температура наружного
воздуха, 
(со знаком минус);

относительные величины снижения
температуры на отдельной операции технологического цикла: а) при
транспортировании бетонной смеси;
б) при выгрузке бетонной смеси;
в) при укладке и уплотнении бетонной
смеси;
г) при разглаживании открытых
поверхностей и их
теплоизоляции.
а) Относительное снижение
температуры бетонной смеси при транспортировании:
где 
относительное снижение температуры
бетонной смеси в процессе выполнения отдельной операции за 1 минуту при разнице
температур смеси и наружного воздуха в 
(

продолжительность операции, мин;
Время транспортирования бетонной
смеси:
где 
расстояние транспортирования, км;

средняя скорость транспортирования,
принимаемая равной 30 и 15 км/ч для дорог с жестким и мягким покрытием соответственно.
Относительное снижение температуры
бетонной смеси в процессе транспортирования
б) Относительное снижение
температуры в процессе выгрузки:
где время выгрузки бетонной смеси в
приемное устройство (бадью):
где 
объем бетона в автобетоносмесителе,


скорость выгрузки, 
(для автобетоносмесителей
принимается равной 1,0-2,0 
).
Относительное снижение температуры в
процессе выгрузки
в) Относительное снижение
температуры в процессе укладки и уплотнения.
При укладке и уплотнении бетонной
смеси с использование глубинных вибраторов производительность определяется по
формуле:
где 
коэффициент использования
вибратора, принимаемый равным 0,85;
в 
ширина слоя уплотняемой смеси в
опалубке, м (при в > R, принимают равным R);
R 
радиус действия вибратора, м (в расчетах
принимается 0,25
0,3 м);
h 
высота слоя уплотняемого бетона, м
(в расчетах принимается 0,25
0,3 м);

минимально необходимое время
вибрирования (можно принять равным 25 с);

время перестановки вибратора (5…10
с).
Время укладки и уплотнения бетона
определяют по формуле:
где 
объем укладываемого бетона, 
;
П 
производительность укладки бетонной
смеси, 
.
Относительное снижение температуры в
процессе укладки и уплотнения:
г) Относительное снижение
температуры бетонной смеси при заглаживании и теплоизоляции открытой
поверхности.
где 
площадь отделываемой
(теплоизолируемой) поверхности, 

=0,056+0,0044+0,0111+0,02592=0,19732
Определяем начальную среднюю
температуру бетона после укладки бетонной смеси в опалубку, ее уплотнения,
заглаживания и теплоизоляции охлаждаемых поверхностей:
. Определяем среднюю
температуру бетона 
за период твердения по формуле:
где 
расчетная температура бетона к
моменту окончания выдерживания (для способа термоса 
).
4. Определяем время, необходимое для набора
бетоном необходимой прочности к моменту замерзания
Определяем удельную теплоемкость бетона.(см.
приложение 28)
Э =177,5кДж/кг.
Коэффициент теплопередачи опалубок:

.
Тогда
Так как 
, требуется утепление опалубки.
Определим требуемый коэффициент
теплопередачи опалубки:
14. Мероприятия по охране труда и
окружающей среды
Земляные работы:
При наличии опасных и вредных производственных
факторов безопасность земляных работ должна быть обеспечена выполнением
содержащихся в организационно-технологической документации (ПОС, ППР и др.)
следующих решений по охране труда:
определение безопасной крутизны незакрепленных
откосов котлованов и траншей (далее - выемки) с учетом нагрузок от машин и
грунта;
определение конструкции крепления стенок выемок;
выбор типов машин, применяемых для разработки
грунта, и мест их установки;
дополнительные мероприятия по контролю и
обеспечению устойчивости откосов в связи с сезонными изменениями;
определение мест установки и типов ограждений
выемок, а также лестниц для спуска работников к месту производства работ.
С целью исключения размыва грунта, образования
оползней, обрушения стенок выемок в местах производства земляных работ до их
начала необходимо обеспечить отвод поверхностных и подземных вод.
Место производства работ должно быть очищено от
валунов, деревьев, строительного мусора.
Производство земляных работ в охранной зоне
расположения подземных коммуникаций (электрокабели, газопроводы и др.)
допускается только после получения письменного разрешения организации,
ответственной за эксплуатацию этих коммуникаций и согласования с ней
мероприятий по обеспечению сохранности коммуникаций и безопасности работ. До
начала производства земляных работ необходимо уточнить расположение
коммуникаций на местности и обозначить соответствующими знаками или надписями.
При производстве земляных работ на территории действующей организации
необходимо получить разрешение руководства этой организации.
Производство земляных работ в зонах действующих
кабельных линий или газопровода следует осуществлять под непосредственным
руководством лица, ответственного за безопасное производство работ, при наличии
наряда-допуска, определяющего безопасные условия работ, и под наблюдением
работников организаций, эксплуатирующих эти коммуникации.
В случае обнаружения при производстве работ
коммуникаций, подземных сооружений, не указанных в проекте, или взрывоопасных
материалов земляные работы должны быть приостановлены до получения разрешения
от соответствующих органов.
Разработка грунта в непосредственной близости от
действующих подземных коммуникаций допускается только при помощи лопат, без
применения ударных инструментов. Применение землеройных машин в местах пересечения
выемок с действующими коммуникациями, не защищенными от механических
повреждений, разрешается по согласованию с организациями - владельцами
коммуникаций.
Выемки, разрабатываемые на улицах, проездах, во
дворах населенных пунктов, а также в местах, где происходит движение людей или
транспорта, должны быть ограждены защитным ограждением с учетом требований ГОСТ
23407. На ограждении необходимо установить предупредительные надписи и знаки, а
в ночное время - сигнальное освещение.
Места прохода через выемки должны быть
оборудованы переходными мостиками в соответствии с ППР.
Для прохода на рабочие места в выемки следует
устанавливать трапы или маршевые лестницы шириной не менее 0,6 м с ограждениями
или приставные лестницы. Приставные лестницы должны быть прочно закреплены и на
1 м возвышаться над выемкой. Трапы (маршевые лестницы) должны иметь поручни
высотой 1,1 м.
Не допускается производство работ одним
человеком в выемках глубиной 1,5 м и более.
Не разрешается разрабатывать грунт в выемках
«подкопом».
Производство работ, связанных с нахождением
работников в выемках с вертикальными стенками без креплений в нескальных и не
замерзших грунтах выше уровня грунтовых вод и при отсутствии вблизи подземных
сооружений, допускается при их глубине, м, не более:
1 - в насыпных неслежавшихся и песчаных грунтах;
1,25 - в супесях;
1,5 - в суглинках и глинах.
Выемки, разработанные в зимнее время, при
наступлении оттепели должны быть осмотрены и приняты меры по обеспечению
устойчивости откосов или креплений. Валуны и камни, а также отслоения грунта,
обнаруженные на откосах, должны быть удалены.
Безопасность бетонных и железобетонных работ
должна быть обеспечена выполнением содержащихся в
организационно-технологической документации (ПОС, ППР и др.) следующих решений
по охране труда:
определение средств механизации для
приготовления, транспортирования, подачи и укладки бетона;
определение несущей способности и разработка
проекта опалубки, а также последовательность ее установки и порядка разборки;
разработка мероприятий и перечень средств по
обеспечению безопасности рабочих мест на высоте;
разработка мероприятий и перечень средств по
уходу за бетоном в холодное и теплое время года.