Разработка технологической карты на производство работ по возведению монолитного железобетонного фундамента

  • Вид работы:
    Курсовая работа (т)
  • Предмет:
    Строительство
  • Язык:
    Русский
    ,
    Формат файла:
    MS Word
    207,82 Кб
  • Опубликовано:
    2015-05-19
Вы можете узнать стоимость помощи в написании студенческой работы.
Помощь в написании работы, которую точно примут!

Разработка технологической карты на производство работ по возведению монолитного железобетонного фундамента

Задание на проектирование

Целью курсовой работы является разработка технологической карты на производство работ по возведению монолитного железобетонного фундамента. Задание на выполнение курсовой работы содержит:

Толщина растительного слоя - 22 см.

Группа грунта - III

Глубина котлована - 2,3 м

Влажность грунта - 40%

Глубина траншей 0,35 м

Дальность возки излишнего грунта в отвал - 7,3 км

Тип грунта - глина мягкая с примесью строительного мусора не более 10 %

Крутизна откоса 1:0,25

Ширина фундамента - 0,7 м

Расход арматуры на  железобетона - 65 кг

Дальность транспортирования бетонной смеси от завода до строительной площадки - 40 км.

На рисунке 1.1 представлен заданный фундамент в плане и разрезе.

Рис. 1.. Ленточный монолитный фундамент: а - план; б - разрез

Введение

При строительстве любого здания или сооружения, а также планировке и благоустройстве территорий ведут переработку грунта. Переработка включает следующие основные процессы: разработку грунта, его перемещение, укладку и уплотнение.

Непосредственно выполнению этих процессов в ряде случаев предшествуют или сопутствуют подготовительные процессы, которые осуществляют до начала разработки грунта, и вспомогательные процессы-до или в процессе возведения земляных сооружений. Весь этот комплект процессов называется земляными работами. Земляные работы включают подготовительные, вспомогательные и основные работы.

К подготовительным работам относятся: подготовка территории (валка деревьев, срезка кустарников и др.), обеспечение водоотвода и осушение территорий, геодезическая разбивка, прокладка дорог.

К вспомогательным работам относятся: устройство временных креплений котлованов и траншей, водоотлив, понижение уровня грунтовых вод, искусственное закрепление слабых грунтов.

Основными процессами в комплексе земляных работ являются отрывка котлована и траншей, планировка площадок, отсыпка насыпей с уплотнением грунтов, транспортирование грунта в отвал, подчистка и планировка дна котлована, отделка откосов.

В настоящее время грунт перерабатывают механизированным способом с помощью различных землеройных, землеройно-транспортных машин, средств гидромеханизации, бурением, а также взрывным способом. Однако на многих объектах при мелких рассредоточенных объемах работ применяется также ручной труд.

.         Определение состава процессов и объемов работ по отрывке котлована

Размеры котлована по нижнему основанию определяются заданными габаритами возводимого фундамента с добавлением по периметру сооружения зазора s, равного 0,3 м:

а = А + bф + 2 s; b = В + bф + 2 s

где а, а1 и b, b1 - соответственно длина и ширина котлована по дну, м; А и В - длина и ширина фундамента в осях, м; bф - ширина ленточного фундамента, м.

а = 48 + 0,7 + 2*0,3 = 49,3 м; b = 36 + 0,7 + 2*0,3 = 37,3 м

а1 = 12 + 0,7 + 2*0,3 = 13,3 м; b1 = 24 + 0,7 + 2*0,3 = 25,3 м

Так как грунт находится в состоянии естественной влажности, то глубина выемки не должна превышать 1-1,5м. Если глубина выемки превышает указанные величины, то её устойчивость обеспечивается временным креплением стенок (в стеснённых условиях) или устройством пологих откосов. Верхние габариты котлована с пологими откосами, имеющими крутизну 1:m, равны:

с = а + 2 m H; d = b + 2 m H,

где с и d- соответственно длина и ширина котлована по верхнему основанию, м; Н - глубина котлована от поверхности земли после срезки растительного слоя (Н = 2,7 м); - показатель крутизны откоса для супеси (m = 0,67).

с = 49,3 + 2*0,25*2,3 = 50,45 м; d = 37,3 + 2*0,25*2,3 = 38,45 м

с1 = 13,3 + 2*0,25*2,3 = 14,45 м; d1 = 25,3 + 2*0,25*2,3 = 26,45 м

Для нахождения объема котлована необходимо расчленить его на простые геометрические фигуры, найти их объем и результаты суммировать. Объемы отдельных фигур нахожу по формулам:

V1 = Н×[a×b1 + √(a×b1)×(с×d1) + с×d1] / 3, м3

V2 = (e + c1) × H × (d-d1) / 2, м3к = V1 + V2, м3

Подставив расчетные и найденные данные в формулы получу:

V1 =


Где e и f - соответственно ширина второй части котлована по нижнему и верхнему основанию,

м; l - длинна второй части котлована ,м.

1.       Объем грунта, разрабатываемого механизированным способом при отрывке траншей, найду по формуле:

VT = bT × (hT - hH) × L, м3,

где bT = bф + 2×s - ширина траншей, м; T - глубина траншей (hT = 0,15 м);

hH - величина недобора грунта, принимаемая по данным табл. 2.2 (hH = 0,15 м); - суммарная длина траншей (L = 384 м).

VT = (0,7 + 2×0,3)×(0,35 - 0,15)×384 = 99,8≈100 м3

Следовательно, при отрывке траншей экскаватор не принимает участие.

. Рассчитываю объём грунта, срезаемого вручную при зачистке дна траншей:

Vзач = (bФ + 2 s) × hH × L = (0,7 +2 × 0,3) × 0,15 × 384 = 74,9≈75 м3

3.       Определяю суммарный объём земляных работ, выполняемых механизированным способом:

VМ = VК + VT = 3734 + 100 = 3834 м3

4.       Нахожу объёмы грунта, вытесняемые фундаментом из котлована VФ.К и из траншей VФ.Т:

VФ.К = VФ.К1 + VФ.К2 = (A + bФ) × (В + bФ) × Н + (A1 + bФ) × (В1 + bФ) × Н

VФ.К = [(24 + 0,7) × (48 + 0,7) + ((12 + 0,7) × (12 + 0,7))× 2] × 2.3= 3509м3

VФ.Т = bФ × (hT - hH) × L = 0,7 × (0,35 - 0,15) * 384 = 53.8 ≈ 54 м3

5.       Вычисляется объём грунта в плотном теле для обратной засыпки пазух, подаваемого на бровку котлована:

V0 = (VM - VФ.К - VФ.Т) / kОР,

где VM - объём грунта, разрабатываемого механизированным способом, м3;

VФ.К и VФ.Т - объёмы грунта, вытесняемого фундаментом соответственно из котлована и из траншей, м3;

kОР - коэффициент остаточного разрыхления грунта, рассчитанный по формуле

kОР= 1+ r / 100,

где r - средний процент остаточного разрыхления грунта (для супеси r = 4).

kОР= 1+ r / 100 = 1 +4/100 = 1,04

V0 = (3834 - 3509 ) / 1,04 = 313 м3

Потребность в грунте для обратной засыпки пазух подсчитана из условия, что после укладки грунт будет находиться в состоянии остаточного разрыхления, так как существующие способы и средства уплотнения не позволяют доводить грунты до состояния плотного тела.

6.       Рассчитываю объём грунта, подлежащий вывозу в отвал,

VOT = VM - V0

VOT = 3834 - 313 = 3521 м3

Расчёты заканчиваю нахождением площади срезаемого растительного слоя в м2, которая определяется размерами котлована поверху с добавлением с каждой стороны выемки полосы шириной 10 м,

F = (с + 20) × (d1 + 20) + (c1 + 20) × (d - d1)

F = 3619.2 м2

. Определение состава процессов и исходных данных для проектирования

Земляные работы по устройству подземной части здания можно расчленить на следующие простые строительные процессы:

·    срезку растительного слоя;

·        разработку грунта в выемке;

·        его погрузку в транспортные средства и на бровку котлована;

·        транспортирование грунта;

·        выгрузку грунта в отвал;

·        зачистку дна траншей;

·        обратную засыпку;

·        разравнивание засыпанного грунта;

·        уплотнение грунта.

Неблагоприятные гидрогеологические, климатические и особые условия могут потребовать выполнения дополнительных процессов (водоотлив или искусственное понижение уровня грунтовых вод, рыхление плотных грунтов, крепление стенок выемки и др.).

Основным процессом, по которому производится выбор ведущей машины и увязка остальных средств механизации, является разработка грунта в выемке.

Исходными данными для проектирования земляных работ являются:

) объём грунта, разрабатываемого механизированным способом, VМ = 3834 м3;

) вид и влажность грунта - супесь влажностью 40 %;

) глубина котлована, Н = 2,3 м;

) расстояние вывоза излишнего грунта, Lт = 7.3 км.

При разработке супеси влажностью 20% (переувлажненный грунт, нормальная влажность 12-15 %) бульдозерами к нормам времени и расценкам вводится поправочный коэффициент к = 1,15 (§ Е2-1-5).

1. Формирование комплекта средств механизации

.1 Выбор ведущей машины

Следовательно, для разработки котлована применяю экскаватор с обратной лопатой.

По вместимости ковша экскаватора q = 0,65 м3 выбираю марку ведущей машины для устройства котлована (прил. 3 табл. 4 МП) - ЭО - 3221. Технические характеристики машины приведены в таблице 4.1.

Таблица 1.1 - Технические характеристики экскаватора ЭО - 3221

Вместимость ковша

Наибольший радиус резания

Наибольшая глубина копания

Радиус выгрузки

Наибольшая высота выгрузки

Мощность двигателя

Масса

м3

м

м

м

м

кВт

т

0,65

7,9

4,5

6,9

5,02

55

13,8


Так как в задании на проектирование не указан директивный срок выполнения земляных работ и их объём сравнительно невелик, то в ведущем звене комплекта принимается один экскаватор.

.2 Подбор вспомогательных машин комплекта и увязка их по основным параметрам

) Выбор машины для срезки растительного слоя

При использовании в качестве ведущей машины одноковшового экскаватора, который осуществляет разработку и погрузку грунта в транспорт и на бровку котлована, немеханизированными остаются срезка растительного слоя, транспортирование грунта, зачистка дна траншей, обратная засыпка пазух котлована и уплотнение засыпанного грунта.

Срезку растительного слоя целесообразно выполнять землеройно-транспортными машинами, в частности бульдозером или грейдером. Использование бульдозера предпочтительнее, так как он в последующем может осуществлять послойную засыпку пазух котлована. При выборе марки землеройно-транспортной машины следует пользоваться рекомендациями ЕНиР.

Так как дальность транспортировки растительного слоя не превышает 50 м, то для его снятия назначаю маломощный бульдозер ДЗ-18 на базовом тракторе Т-100. Технические характеристики бульдозера приведены в таблице 1.2.

Таблица 1.2. - Технические характеристики бульдозера ДЗ-25

Длина отвала

Высота отвала

Мощность двигателя

Масса оборудования

Масса с трактором

м

м

кВт

т

т

4,43

1,2

132

2,86

-


) Выбор машины для транспортирования грунта

Перевозка грунта может осуществляться автомобильным, тракторным или рельсовым транспортом. Решающее влияние на выбор способа транспортирования оказывает дальность возки грунта. По заданию курсовой работы дальность возки составляет 7,3 км. Рекомендуемый вид транспорта для транспортировки грунта на такое расстояние - автосамосвал.

В табл. 1.3 указана целесообразная грузоподъёмность транспорта, соответствующая вместимости ковша ведущей машины.

Таблица 1.3. - Грузоподъёмность транспортных средств в зависимости от вместимости ковша экскаватора

Вместимость ковша экскаватора, м3

0,15-0,35

0,4-0,8

1-2

Грузоподъёмность самосвала, т

3,5-5

5-10

10-25

Вместимость ковша экскаватора в курсовой работе составляет q = 0,65 м3, следовательно, грузоподъемность самосвала должна быть 5-10 т.

Марку самосвала определяю на основании его грузоподъёмности по прил. 3, табл. 5. МП. Принимаю самосвал ЗИЛ-ММЗ-45023. Технические характеристики приведены в 1.4.

Таблица 1.4. - Технические характеристики самосвала ЗИЛ-ММЗ-45023

Грузоподъемность

Объём кузова

Масса автомобиля

Габаритные размеры:

Направление разгрузки

Максимальная скорость

Мощность двигателя

Расход топлива при скорости 60 км/ч




длина

ширина

высота





т

м3

т

м

м

м

-

км/ч

кВт

л/100 км

5,75

8,8

10,98

5,28

2,36

2,4

Назад

90

110

26


Количество транспортных средств, потребных для отвозки разрабатываемого грунта, рассчитывается из условия бесперебойной работы землеройной машины и транспорта:

N = tтр / tn,

где tтp - продолжительность цикла работы транспортной единицы, мин;

tn - продолжительность погрузки транспорта экскаватором, мин.

Продолжительность погрузки транспортного средства определяется количеством загружаемых ковшей и продолжительностью экскаваторного цикла:

tn = nк / n кn,

где n - число экскаваторных циклов за одну минуту (n = 2,52);

кn = 0,92-0,97 - коэффициент, учитывающий потери времени на передвижку экскаватора по забою;

nк - количество ковшей грунта, загружаемых экскаватором в транспортную единицу (целое число).

Величина nк может быть определена по формуле

nк = Q / g Vэк,

где Q - грузоподъёмность самосвала (Q = 8 т);

g - плотность разрабатываемого грунта в естественном состоянии g = 1,9 т / м3;

Vэк - объем грунта в ковше экскаватора Vэк = 0,55 м3 (табл. 2.6 МП).

nк = Q / (g × Vэк) = 5,75/ (1,9 × 0,55) = 6 ковшей

tn = nк / (n×кn) = 6 / (2,16 × 0,97) = 2,86 мин

Продолжительность рабочего цикла транспорта

tтp = tn + tp + 2 Lт / vp,

где tp - продолжительность разгрузки транспортной единицы (tp = 1,5 мин);

Lт - расстояние транспортирования грунта (L = 5000 м);

vp - расчетная скорость движения транспорта 416,7 м / мин.

tтp = tn + tp + 2 Lт / vp = 2,86 + 1,5 + 2 × 7,3 /20 = 5,09 мин

N = tтр / tn = 5,09 /2,86 = 2 самосвалов

Правильная загрузка транспортных средств проверяется расчётом процента использования их по грузоподъемности, %:

Кг = 100×Ртр / Q

где Ртр - масса загружаемого грунта в кузов транспорта, т (Ртр = Vэк×nк×g) ; Q - грузоподъемность, т

Кг = 100× Vэк×nк×g / Q = 100× 0,55×6×1,9/ 8 = 57,6 %

Загрузка транспортных средств в пределах нормы.

Транспортные средства подобраны верно, так как вмещают 6 ковшей грунта.

Для засыпки оставленного на бровке грунта в пазухи котлована целесообразно применить то же средство механизации, что и для срезки растительного слоя. При этом толщина отсыпаемого слоя должна быть увязана с возможностями выбранного далее средства уплотнения.

Послойное уплотнение грунта в пазухах выполняется электрическими трамбовками ИЭ-4502. Технические характеристики электрических трамбовок приведены в табл. 1.5.

Таблица 1.5. - Технические характеристики электрической трамбовки

Наименование показателя

Единица измерения

Марка электротрамбовки



ИЭ-4502

Глубина уплотнения (за 2 прохода)

см

40

Диаметр трамбующего башмака

мм

-

Размеры трамбующего башмака

мм

350х450

Характеристика электродвигателя: мощность напряжение частота тока

 кВт/(л.с.) В Гц

 0,4/(0,5) 220 50

Масса

кг

81,5

После подбора вспомогательных машин выписываются их технические характеристики. Результаты выбора методов производства работ и средств механизации сводятся в табл. 1.6

Таблица 1.6 - Состав комплекта машин для производства земляных работ

Наименование процесса

Объём работ

Тип машины

Марка  машины

Кол-во машин, шт.


единица измер.

Кол-во




Срезка растительного слоя

м2

4339,8

Бульдозер

ДЗ-25

1

Разработка и выгрузка грунта: а) на бровку; б) в транспорт

м3 м3

 454 4215

Экскаватор с обратной лопатой

ЭО-3221

1

Транспортирование грунта в отвал

м3

4215

Автосамосвал

МАЗ-5551

6

Зачистка дна траншей

м2

73,7

Вручную

-

-

Обратная засыпка пазух: а) механизированным способом б) вручную

 м3 м3

 454

Бульдозер Вручную

 ДЗ-25

 1

Послойное трамбование грунта в пазухах

м3

454

Электрическая трамбовка

ИЭ-4502

2


2. Проектирование экскаваторных работ

Разработка выемок одноковшовым экскаватором производится проходками, состоящими из последовательных забоев.

Экскаваторным забоем называется пространство, ограниченное радиусом действия рабочего оборудования машины. Забой включает место расположения землеройной машины, часть разрабатываемого с данной стоянки массива грунта и площадку для размещения транспортного средства или отвала (при разработке грунта навымет).

Экскаваторная проходка - это траншея, образуемая при последовательной срезке грунта и периодическом перемещении машины вдоль выемки. Расстояние, на которое передвигается экскаватор при переезде с одной стоянки на смежную называется длиной передвижки.

Длина передвижки для экскаватора с обратной лопатой определяется согласно таблице 2.1. МП. Для удобства таблица представлена ниже:

Таблица 2.1. - Длина передвижки экскаватора в зависимости от вместимости ковша

Вместимость ковша, м3

0,15-0,35

0,35-0,5

0,5-1,0

Длина передвижки, м

1,0-1,5

1,5-2,0

2,0-2,5


У экскаватора ЭО-3221 применяемого для разработки котлована вместимость ковша составляет 0,65 м3, следовательно длина передвижки Lпер = 2,15 м.

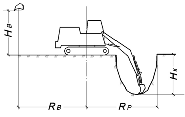
Предельные размеры выемок, которые разрабатываются с одной стоянки, зависят от рабочих параметров экскаватора, которые приведены на рисунке 2.1:

Рисунок 2.1. Рабочие параметры экскаватора ЭО-3221

Rp - радиус резания; Rв - радиус выгрузки; Н - высота резания;

Нк - глубина резания; Нв - высота выгрузки

Так как котлован имеет сложную форму целесообразно разделить его на три выемки:

Размеры 1 выемки: ширина по дну =25.3 м; ширина по верху=26.45 м

Размеры 2 выемки: ширина по дну  м; ширина по верху12 м

Размеры 3 выемки: ширина по дну м; ширина по верху м

Глубина выемок - 2.3 м.

Определяются основные размерные параметры экскаватора ЭО-3221:

наибольший радиус резанья Rр=7,9м;

наибольшая глубина копанья ;

радиус выгрузки= 6.9 м.

Рассчитываем оптимальный радиус резанья R, который составляет 90% от Rр.

R = Rp ˣ 0,9 = 0,9 ˣ 7,9 = 7,11 м

Первая выемка

Для размещения части разрабатываемого грунта на бровке устраиваются боковых проходки шириной B = 0,8 R каждая, располагаемые по краям разрабатываемого котлована. Их суммарная ширина составит:

В = 2 х 0,7 х 7,11 = 9,95 м

Ширина средней части котлована за вычетом двух крайних боковых проходок равна:

d1 - 2В = 26,45 - 9,95 = 16,5 м

Находится отношение

(d1 - 2 В): R = 16.5: 7,11= 2.32

Так как ширина средней части котлована составляет 2.32R, то её разработка осуществляется уширенной лобовой проходкой с перемещением по зигзагу. Таким образом, первая часть котлована отрывается тремя проходками. Первая и третья проходки - боковые, а вторая - уширенная лобовая.

Вторая выемка

Разработка второй части котлована осуществляется тремя проходками. Двумя боковыми и одной лобовой.

Третья выемка

Разработка третей части котлована осуществляется тремя проходками. Двумя боковыми и одной лобовой.

3. Определение состава процессов и объемов работ по бетонированию фундамента

Количество арматурных каркасов может быть определено на основании данных о расходе арматуры на 1 м3 железобетона и массе одного изделия:

Nк = Vбет х gа: Рк,

где Vбет - объём укладываемой бетонной смеси, м3;

gа - расход арматуры на 1 м3 железобетона, кг;

Рк - масса одного каркаса, кг.

Vбет = 228*2,95*0,7=471

Nк = 471*65/50=612 шт.

Так как в задании на проектирование отсутствует необходимые данные по арматурным изделиям массу арматурного каркаса можно принять 50 кг.

Таблица 3.1 Ведомость подсчета объемов работ

Наименование процесса

Эскиз или формула подсчета

Ед. изм.

Объем

Примечание

1. Устройство опалубки из щитов

F = 2*(48*5+32*6+12*6)*2,95

м²

2266

Расход арматуры 65 кг на 1 м³ железобетона. Масса каркаса 50 кг

2. Установка арматурных каркасов

Nк = 780,6*65: 50

шт


3. Подача, укладка и уплотнение бетона

Vбет = 378*2,95*0,7

м³

471


4. Разработка мелкощитовой опалубки

F = 2х(48*5+36*2+12*6)*2,95

м²

2496



Таблица 3.2 Варианты производства железобетонных работ

Наименование строительного процесса

Варианты


I

II

1. Устройство опалубки

С помощью крана

Вручную

2. Установка арматуры

Вручную

Вручную

3. Доставка бетона

Бадьями в кузове автосамосвала

Автосомасвалами

4. Подача бетонной смеси

Краном в двух сторон котлована в бадьях

Бетоноукладчиком с двух сторон

5. Уплотнение бетона

Вибратором с гибким валом

Вибробулавой

6. Распалубка фундамента

С помощью крана

Вручную


Принята крупнощитовая разборно-переставная опалубка с массой отдельных элементов свыше 100 кг. Монтаж и демонтаж такой опалубки производится с помощью крана, который затем используется для подачи бетона.

В связи с небольшой массой арматурных каркасов (50кг). Установка их производится вручную. Соединение каркасов между собой производится с помощью электродуговой сварки.

Бетонная смесь доставляется на строительную площадку бадьями в кузове автосамосвала. Подача бетона производится краном с двух сторон котлована в бадьях.

Уплотнение бетонной смеси производится вибратором с гибким валом.

Принята мелкощитовая разборно-переставная опалубка. Масса щитов и крепежных элементов не превышает 50кг, что обеспечивает ее поэлементную установку и снятие в ручную. По сравнению с вариантом 1 это является выгодней так как при этом не потребуется принимать кран, а так же упрощается работа опалубщиков.

Установка арматуры производится вручную.

Доставка бетонной смеси возможна при помощи автосамосвалов, использование автобетоновозов и автобетоносмесителей обойдется дороже.

Подача бетонной смеси производится бетоноукладчиком. Большая маневренность, широкой фронт работ, высокая производительность бетоноукладчика является несомненными преимуществами при их использовании.

4. Подсчет трудоемкости работ

При проектировании технологических карт трудоемкость работ определяется на основании нормативов, приведенных в сборниках ЕНиР, и объемов работ.

Таблица 4.1 Ведомость трудозатрат по возведению фундамента

Шифр § ЕНиР

Наименование процесса

Ед. изм.

Объём работ

Состав звена по ЕНиР

Н вр, чел-ч

Трудоёмкость, чел-ч

§Е 4-1-34 табл. 2; 1, а

Установка деревянной щитовой опалубки при площади щитов до 1 м2

 м2

 2266

Плотник 4 разр. - 1 2 разр. - 1

 0,62

 1404,92

§E 4-1-44 табл. 2; б

Установка арматурных каркасов массой 50 кг вручную Нвр = 0,11чел-ч (ПР-1)

шт

612

Арматурщик 3 разр. - 1 2 разр. - 2

 0,24

 146,88

§Е 4-1-49 табл. 2; 2

Укладка бетона с помощью бадей, подаваемых краном, в ленточные фундаменты шириной свыше 600 мм

м3

471

Бетонщик 4 разр. - 1 2 разр. - 1

 0,23

 108,33

§Е 4-1-34 табл. 2; 1, б

Разборка опалубки фундаментов из щитов площадью до 1 м2

м2

 2266

Плотник 3 разр. - 1 2 разр. - 1

 0,15

 339,9

§Е 4-1-7 3, а К = 1,1 (ТЧ-1)

Укладка стреловым краном на пневмоколесном ходу плит перекрытий площадью 7,2 м2

шт.

203

Монтажник 4 разр. - 1 3 разр. - 2 2 разр. - 1

  0,72

  146,16

Шифр §§ ЕНиР

Наименование процесса

Ед. изм.

Объём работ

Состав звена по ЕНиР

Н вр, чел-ч

Трудоёмкость, чел-ч

§Е 11-37 4; в К = 1,85 (ПР-1)

Окрасочная гидроизоляция фундаментов вручную битумной мастикой на 2 раза

10 0м

5,66

Изолировщик 4 разр. - 1 2 разр. - 1

10,0

56,6

§Е 11-40 табл. 1; 2, а К = 1,9 (ПР-1)

Оклеечная гидроизоляция двумя слоями рубероида на битумной мастике вручную

 100м

1,6

Изолировщик 4 разр. - 1 3 разр. - 1 2 разр. - 1

10,5

16,8

Итого: 2889,1


Из условия полной загрузки звена бетонщиков необходимо, чтобы темп укладки бетонной смеси был не менее нормативной интенсивности бетонирования, м³/ч:

Jб = Vбет Nзв / Tбет

где Vбет - объем укладываемой бетонной смеси, м³;

Nзв - численный состав звена бетонщиков, чел.;

Tбет - трудоемкость работ по укладке бетона, чел-ч

Jб = 471*2/108,3 = 8,7 м3

5. Определение состава процессов и объемов работ по бетонированию

Ведущей является машина, занятая на выполнении основного процесса - укладке бетонной смеси.

В качестве ведущей машины принимается бетоноукладчик. При выборе марки бетоноукладчика руководствуемся вылетом стрелы, который должен обеспечивать подачу бетонной смеси во все точки фундамента.

Требуемый вылет стрелы крана рассчитывается из условия безопасного приближения крана к котловану:

Lтр = bк / 2+ lд + q + bз,

где bк - ширина базы крана, равная 3-4 м;

lд - допустимое расстояние по горизонтали от основания откоса до ближайших опор крана, определяемое по табл. 3.4;

q - расстояние от нижней точки откоса до ближайшей оси фундамента, м;

bз - ширина обслуживаемой зоны, равная половине ширины фундамента при перемещении крана с двух сторон котлована, и полной его ширине - при перемещении с одной стороны выемки, м.

Lтр =3/2+1,75+0,65+18=21,9м

Таблица 5.1. Технические характеристики бетоноукладчика

Наименование показателя

ЛБУ-20

Производительность,

20

Вылет стрелы, м

20

Угол поворота, град

360

Вместимость приемного бункера,

3,2

Базовая машина

Спец. шасси


Подбор вспомогательных средств механизации и инвентаря

Для доставки бетонной смеси от завода принимаем автобетоновоз СБ-124 объёмом 4 .

Количество транспортных средств для бесперебойной доставки бе-
тона на объект:

Nтр = [Пэ.к tтр kp / (60 Vтр kв)] + 1

где Пэ.к - часовая эксплуатационная производительность ведущей машины, м3/ч;

tтр - продолжительность транспортного цикла, мин; p = 0,85-0,9 - коэффициент, учитывающий необходимый резерв производительности ведущей машины; в = 0,85-0,95 - коэффициент использования транспортной единицы по времени.

Продолжительность транспортного цикла, мин,

tтр = t3 + 120 Lт / vт + tв,

где t3 = 4-6 мин - время загрузки автомобиля; т - расстояние перевозки бетонной смеси, км;

vт - средняя скорость движения транспортного средства, км/ч; в = 2-5 мин - время выгрузки бетона.

Величина vт при доставке бетонной смеси по дорогам с жёстким покрытием принимается равной 30 км/ч.

В зависимости от бетонируемой конструкции и густоты её армирования для уплотнения бетона подбирается электромеханические глубинные вибраторы со встроенным электродвигателем.

Таблица 5.2. Технические характеристики вибратора

Наименование показателя

ИВ-65

Наружный диаметр корпуса, см

5,1

Длина рабочей части, см

51

Радиус действия, см

40

Мощность, кВТ

0,27

Напряжение, В

36

Масса, кг

10


Количество вибраторов рассчитывается из условия:

Nв = J / Пэ.в

где J - фактическая интенсивность укладки бетонной смеси, определяемая эксплуатационной производительностью ведущей машины, м3/ч;

Пэ.в -эксплуатационная производительность вибратора, м3/ч,

Пэ.в = 7200 R2 hсл kв / (tуп+ tпep),

где R - радиус действия вибратора, м;

hсл - толщина уплотняемого слоя бетонной смеси, м; уп = 20-40 с - продолжительность работы вибратора на одной позиции; пep= 5с - продолжительность перестановки вибратора с одной позиции на другую;

kв = 0,7-0,8 - коэффициент использования вибратора по времени.

Предельная толщина уплотняемого слоя, м, составляет:

hсл= lв - lп,

где lв - длина рабочей части вибратора, м;

lп = 0,05 - 0,1 м - глубина погружения наконечника вибратора в ранее уложенный слой смеси.

Для исключения перерывов в уплотнении бетона фактическое количество вибраторов увеличивается с учетом одного резервного механизма.

6. Определение параметров строительного потока

Для организации поточного производства бетонных работ необходимо весь комплекс строительных процессов по возведению фундамента раcчленить на отдельные частные потоки, а сооружаемую конструкцию в плане - на захватки и по высоте - на ярусы. Учитывая удобство выполнения операций по установке и соединению арматурных каркасов вне опалубки, а также большую трудоёмкость опалубочных работ рекомендуется разделить их на два потока: первый - установка щитов по одной стороне фундамента и второй - сборка опалубки по второй стороне после завершения арматурных работ. Таким образом, бетонирование фундамента может быть расчленено на 5 частных потоков:

·    первый - монтаж опалубки по одной стороне конструкции;

·        второй - установка арматуры;

·        третий - сборка опалубки по другой стороне фундамента;

·        четвертый - укладка и уплотнение бетонной смеси;

·        пятый - распалубка конструкции.

Минимальное число захваток mmin, обеспечивающее необходимый фронт работ для всех звеньев рабочих, составит:

mmin = n + α tб / k, (3.13)

где n - количество частных потоков;

α - число рабочих смен в сутки; tб - время нахождения бетона в опалубке, сут; = 1 смене - ритм потока (продолжительность работ на одной ярусозахватке).

При назначении размера захватки необходимо учитывать технологические особенности производства бетонных работ, которые сводятся к следующим требованиям:

·    бетонирование в течение смены должно вестись непрерывно;

·        бетон следует разравнивать и уплотнять горизонтальными слоями толщиной 0,2-0,4 м по всей площади захватки, причем каждый последующий слой должен укладываться на предыдущий слой до начала схватывания цемента в нём;

·        назначенное число захваток должно быть не менее, чем рассчитано по формуле

С учетом вышеизложенного средний размер захватки, м, может быть найден:

Lз = J tукл / bф hсл,

где J - фактическая интенсивность бетонирования, определяемая часовой производительностью ведущей машины, м3/ч;

tукл - время укладки бетона до начала его схватывания, ч;

bф - ширина ленточного фундамента, м;

hсл - принятая толщина укладываемого слоя бетонной смеси.

Время укладки бетона, ч,

tукл = tсхв - tд,

где tсхв - время схватывания цемента с момента приготовления бетонной смеси, ч;

tд - продолжительность доставки смеси на объект, ч.

Время схватывания цемента устанавливается строительной лабораторией в зависимости от вида цемента, температуры воздуха, добавок в бетон и т.п.

 1,23 ч

После определения величины Lз производится разбивка плана фундамента на захватки таким образом, чтобы они были равновелики по трудоёмкости или различались не более чем на 25%. Очерёдность бетонирования захваток должна быть увязана с направлением перемещения ведущей машины относительно возводимой подземной части дома.

Получилось 8 захваток.

В целях удешевления опалубочных работ за счет неоднократного использования элементов опалубки фундамент разбиваем на два яруса, высота яруса =1,5м.

7. Проектирование организации и методов труда рабочих

.1 Определение параметров строительного потока

В основу организации труда в комплексной бригаде, занятой выполнением работ нулевого цикла, закладывается поточно-расчленённый метод. Его сущность заключается в том, что для выполнения каждого частного потока назначается отдельное специализированное звено рабочих. Продолжительность его пребывания на объекте при ритмичном потоке принимается равной продолжительности работы ведущего звена. Она в свою очередь определяется ритмом потока и общим числом ярусозахваток, на которые разбит фундамент. При односменной работе

tвед = k m Nя,

где tвед - продолжительность работы ведущего звена, дни; - ритм потока, смен; m - общее количество захваток;

Nя - число ярусов.

tвед =1*8*2=16 сут.

Численный состав звена, занятого в составе частного потока,

Nзв= T / t α kпер,

где T - трудоёмкость работ по частному потоку, чел-смен;

t - продолжительность работы звена, равная величине tвед;

α - число смен работы звена в сутки;

kпер = 1,1-1,2 - коэффициент перевыполнения норм выработки.

Nзв1 = 85,9/19*1*1,1 = 4 чел

Nзв2 = 30,4/19*1*1,1 = 2 чел

Nзв3 = 85,9/19*1*1,1 = 4 чел

Nзв4 = 22,4/19*1*1,1 = 1 чел

Nзв1 = 41,5/19*1*1,1 = 2 чел

В соответствии с требованиями техники безопасности минимальное количество человек в звене - два, поэтому принимаем звено бетонщиков - 2 человека.

Монтаж плит перекрытия и гидроизоляционные работы производятся вне общего ритма, принимаем состав звена по ЕНиР, соответственно 4 и 2 человека.

Таблица 7.1 Состав комплексной бригады по возведению подземной части здания

Наименование частных потоков

Состав звена

Число смен работы в сутки

Число рабочих в бригаде


проф.

разряд

кол-во



1. Установка наружных щитов опалубки

плотник

4 2

2 2

1

4

2. Укладка арматуры

арматур.

3 2

1 1

1

2

3. Установка внутренних щитов опалубки

плотник

4 2

2 2

1

4

4. Бетонирование фундамента

бетонщик

4 2

1 1

1

2

5. Распалубка конструкции

плотник

3 2

1 2

1

3

6. Монтаж плит перекрытия

монтажник

4 3 2

1 2 1

1

4

7. Гидроизоляция фундамента

гидроиз.

4 3 2

1 1 1

1

3

Итого: 19 чел


Опалубочные работы.

В последующих пунктах пояснительной записки применительно к выполняемым строительным процессам излагаются принятые студентом решения по:

·    организации труда в звеньях;

·        организации фронта работ и рабочих мест;

·        методам и приёмам труда рабочих.

При принятии решений рекомендуется использовать литературу [6,19].

Важнейшими факторами прогрессивной организации труда на установке и снятии опалубки являются: применение унифицированной оборачиваемой опалубки с инвентарными крепёжными и поддерживающими элементами, использование средств малой механизации (электросверлилок, талей, домкратов) и обеспечение рабочих необходимым ручным и измерительным инструментом. Применение опалубки из отдельных досок допускается лишь в местах доборов и в качестве разделительной на границах захваток.

До установки опалубки необходимо осуществить геодезическую разбивку осей и закрепление отметок бетонируемого фундамента. В процессе монтажа систематически проверяются все основные размеры опалубки в сборе, так как точное соблюдение параметров и положения щитов является основным требованием к производству работ.

При организации рабочих мест плотников необходимо учитывать, что они должны располагаться, как правило, внутри контура фундамента и обеспечивать безопасное выполнение работ на захватке без лишних движений и потерь времени. Для установки и снятия щитов опалубки второго яруса рабочие места организуются на инвентарных подмостях или рабочих площадках, которые должны легко и быстро выставляться и убираться.

Поэлементный монтаж унифицированной мелкощитовой опалубки начинается с укладки по контуру фундамента направляющих досок, которые крепятся к забитым в землю кольям. Затем на направляющих досках в углах и через каждые 3-4 м с помощью временных распорок и подкосов выставляются маячные щиты. Расстояние между ними должно быть кратно длине щита. Затем устанавливаются схватки, которые соединяются со щитами натяжными крюками, и к схваткам клиновыми зажимами и стяжками присоединяются все промежуточные щиты. С наружной стороны опалубки ставятся подкосы, которые упираются в боковые стенки котлована. Внутри ленты фундамента противоположные щиты раскрепляются временными распорками, удаляемыми во время бетонирования.

Разборка опалубки производится поэлементно в порядке, обратном монтажу. Вначале выбиваются распорки и подкосы, снимаются схватки и другие крепёжные элементы. Затем ломиками отделяются от бетонной поверхности и снимаются щиты опалубки.

.2 Арматурные работы

Передовая организация труда в звене арматурщиков базируется на комплексном обеспечении объекта арматурой в порядке и последовательности её установки. Поставляемые арматурные изделия должны быть снабжены бирками с обозначением марки элемента.

Для создания защитного слоя у боковых граней фундамента устанавливаются пластмассовые фиксаторы или к каркасу привариваются коротыши арматуры. Расстояние между фиксаторами принимается равным 1,5-2 м. Соединение арматурных изделий между собой может производиться дуговой сваркой или внахлёстку с использованием вязальной проволоки Ø 0,8-1 мм.

.3 Бетонные работы

В состав выполняемых звеном бетонщиков рабочих операций входят:

·    очистка опалубки, заделка щелей шириной более 10 мм паклей,
глиняным тестом или деревянными рейками, увлажнение водой деревянной и смазка поверхности металлической опалубки;

·        удаление ржавчины и грязи с арматуры;

·        приём, подача, укладка и уплотнение бетонной смеси;

·        обработка рабочих швов;

·        очистка инвентаря и приспособлений от налипшего бетона;

·        укрытие бетона влагоёмкими материалами и его поливка в начальный период.

Рациональное распределение указанных операций обеспечивается при звене из трёх бетонщиков. Бетонщик 2-го разряда на приёмной площадке следит за выгрузкой смеси в бадьи, очищает транспортное средство от налипшего бетона, производит строповку бадьи и с помощью каната-оттяжки регулирует её подачу. Другой бетонщик 2-го разряда принимает бадью с бетоном, открывает затвор, включает прикреплённый к бадье вибратор, регулирует подачу бетона в опалубку, сигнализирует крановщику о перемещении бадьи в пространстве. Бетонщик 4-го разряда разравнивает и уплотняет бетонную смесь вибратором, устанавливает выгородки из досок для устройства рабочих швов, производит обработку поверхности последних.

При численном составе звена из двух человек разделение труда следующее. Бетонщик 2-го разряда осуществляет строповку бадьи и её подачу к месту бетонирования, а бетонщик 4-го разряда выгружает, разравнивает и уплотняет бетонную смесь.

При порционной подаче бетона образуются конусы, которые разравниваются вибратором до получения слоя требуемой толщины в пределах захватки. Распределение жёстких смесей осуществляется вручную с помощью лопат. Уплотнение глубинными вибраторами производится их погружением в слой бетона в вертикальном или слегка наклонном положении без соприкосновения с арматурой. При этом наконечник вибратора должен заглубляться в ранее уложенный и еще не схватившийся слой на глубину 5-10 см.

Основными признаками завершения уплотнения бетона на данной позиции является прекращение оседания смеси и появление цементного молока на её поверхности.

При односменном режиме укладки бетонной смеси в конструкцию возникают технологические перерывы, требующие устройства рабочих швов по границам захватки. Согласно требований СНиП [2] поверхность рабочего шва должна быть перпендикулярна к продольной оси бетонируемой конструкции. Для образования вертикального ограничения на всю ширину фундамента закладываются деревянные доски с прорезями для арматуры. Перед началом бетонирования очередной захватки разделительные доски убираются, а поверхность рабочего шва очищается от цементной плёнки и промывается водой или продувается сжатым воздухом для прочного сцепления укладываемого бетона со старым.

Из прил. 5 видно, что за сутки (время укладки бетона на одной ярусо-захватке с технологическим перерывом) нижние слои бетона в тёплое время года набирают от 9 до 35 % марочной прочности в зависимости от температуры наружного воздуха. Поэтому при прочности уложенного бетона не более 2-3 МПа обработка поверхности стыка производится механической металлической щеткой, а после набора бетоном прочности выше 7-10 МПа - пневматической шарошкой.

С целью создания благоприятных условий для твердения бетона в летнее время необходимо:

·    на горизонтальные поверхности укладывать влагоёмкие материалы (мешковину, опилки, брезент и др.) на срок не менее 2 суток для предохранения бетона от вредного воздействия прямых солнечных лучей и ветра;

·        в жаркую погоду поливать открытые поверхности и деревянную опалубку;

·        поливку начинать не позднее чем через 10-12 ч, а в жаркую и ветреную погоду - через 2-3 ч после окончания бетонирования;

·        при температуре воздуха 15°С и выше поливать конструкцию рассеянной струёй воды не реже трёх раз в сутки до достижения бетоном 75% проектной прочности.

В последующих двух пунктах записки разрабатываются организация и методы труда рабочих по монтажу плит перекрытия и гидроизоляции фундамента.

8. Составление калькуляции трудовых затрат на возведение фундамента

Целью составления производственной калькуляции является определение трудоёмкости и машиноёмкости, а также размера заработной платы рабочих как по отдельным процессам, так и по возведению фундамента в целом. Основанием для разработки калькуляции служат объемы работ по каждому процессу, методы их выполнения и нормы ЕНиР

Таблица 8.1

Шифр § ЕНиР

Наименование работ

Единица измерения

Объём работ

Состав звена по ЕНиР

Н вр, чел-ч

Трудоёмкость, чел-ч

1. Земляные работы

§Е2-1-5 2, а К =1,15

Срезка растительного слоя бульдозером ДЗ-18, грунт I группы с влажностью 30 %

1 000 м2

3,67

Машинист 6 разр. - 1

1,1

3,98

§Е2-1-11 табл. 3; 5, з

Разработка грунта II группы экскаватором ЭО-3322Б с выгрузкой в отвал

100 м3

2,42

Машинист 6 разр. - 1

2,1

5,08

§Е2-1-11 табл. 3; 5, б

Разработка грунта II группы экскаватором ЭО-3322Б с погрузкой в транспортные средства

100 м3

33,77

Машинист 6 разр. - 1

2,6


Транспортирование грунта в отвал на расстояние 5,2 км

100 м3

33,77

Водитель III класса - 8

23,2

783,5

§Е2-1-60 2,б

Зачистка дна траншей на глаз в грунтах II группы

100 м2

2,96

Землекоп 2 разр. - 1

12,5

37

§Е2-1-34 3; б, д

Обратная засыпка пазух грунтом II группы с его перемещением бульдозером ДЗ-18 на расстояние до 10 м

100 м3

2,42

Машинист 6 разр. - 1

0,55

1,33

§Е2-1-57 табл.1; 2, а

Приём и разравнивание грунта I группы в пазухах котлована вручную

1 м3 в рыхлом состоянии

11,8

Землекоп 1 разр. - 1

0,07

0,8

§Е2-1-59 табл.3; 2, а

Трамбование грунта II группы электротрамбовкой ИЭ-4502 при толщине слоя 30 см

30 м3

8

Землекоп 3 разр. - 1

1,9

15,2

§Е2-1-58 табл. 2; 3, б

Обратная засыпка пазух грунтом II группы с его уплотнением слоями толщиной до 30 см

1 м3

242

Землекоп 2 разр. - 1 1 разр. - 1

0,81

196

 Итого: 1130

2. Возведение ленточного фундамента

Итого: 2219

Всего: 3348


.1 Определение потребности в материально-технологических ресурсах

Количество материалов и изделий определяется по рабочим чертежам фундамента и объемам работ по каждому строительному процессу.

Требуется подобрать комплект мелкощитовой разборно-переставной опалубки для бетонирования ленточного фундамента

Площадь опалубливаемой поверхности

Высота фундамента - 2.95 м

Число ярусов

Высота яруса

Следовательно высота опалубки на ярусе должна быть

Принято три ряда щитов размером 150*50. Площадь щита

Общее количество щитов

Далее подсчитываем оборачиваемость элементов опалубки

экскаваторный бетонирование фундамент


С учетом полученной оборачиваемости потребность в щитах опалубки составит:

Таким образом, для выполнения опалубочных работ потребуется следующий комплект:

Щиты размером 150*50см - 1333*1,133=1511 шт.

Подкосы для крепления щитов - 2000*1,133= 2266 шт.

Натяжные крюки - 9000*1,133= 10197 шт.

Замки для стяжек - 6000*1,133= 6798 шт.

Замки соединения щитов - 5000*1,133= 5665 шт.

Раздвижные ригели длиной 400 см - 20*1,133= 23 шт.

Раздвижные ригели длиной 600 см - 30*1,133= 34 шт.

Детали соединения схваток - 2000*1,133= 2266 шт.

Навесные подмости - 150*1,133= 170 шт.

Стремянки - 150*1,133= 170 шт.

Список используемой литературы:

1.  Методическое указание по разработке типовых технологических карт в строительстве: Стройиздат, 1970

2.       Методическое указание «Проектирование производства работ по возведению монолитного железобетонного фундамента здания» - Ф. И. Янковский, Хабаровск, 1998

.         СНиП 3.03.01 - 87 «Несущие и ограждающие конструкции» - МЦИТП Госстроя СССР, 1997

.         СНиП III-4-80 «Техника безопасности в строительстве» - М: Стройиздат, 1980.

Похожие работы на - Разработка технологической карты на производство работ по возведению монолитного железобетонного фундамента

 

Не нашли материал для своей работы?
Поможем написать уникальную работу
Без плагиата!
Без нейросетей!