|
Характеристики
|
Типи машин
|
|
ПД-3
|
ПД-8В
|
МПК 3Д
|
ППН-1
|
1ППН5
|
ППМ- 4м
|
Komatsu WА700
|
TORO 501 E
|
|
Продуктивність Q,
м3/хв.
|
0,4
|
0,83
|
2,4
|
1,2
|
1,25
|
1,25
|
5
|
-
|
|
Вантажопідйомність,
кН
|
30
|
85
|
-
|
-
|
-
|
-
|
-
|
140
|
|
Місткість ковша , q
м3
|
1,5
|
4,1
|
1,0
|
0,25
|
-
|
0,23
|
8,5
|
7,5
|
|
Максимальне зусилля
заглиблення Рв, кН
|
-
|
215
|
-
|
20-70
|
-
|
-
|
527
|
292
|
|
Ширина різальної
кромки ковша b, м
|
-
|
2,5
|
-
|
-
|
-
|
0,85
|
4
|
-
|
|
Відношення Рв/b,
кН/м
|
-
|
86
|
-
|
-
|
-
|
-
|
131,75
|
-
|
|
Сила розвантаження
матеріалу, кН
|
-
|
-
|
-
|
44-100
|
-
|
|
-
|
-
|
|
Потужність
головного приводу, кВт
|
95
|
140
|
140
|
21
|
14
|
14
|
-
|
160
|
|
Швидкість
пересування машини, м/хв
|
33,3
|
70
|
38.3
|
48
|
48
|
45,78
|
-
|
-
|
|
Маса машини, т
|
10
|
2,5
|
25
|
3,8
|
9
|
8,5
|
-
|
-
|
Грунтуючись на цій концепції можна виділити сукупність
функціональних елементів навантажувальних машин, на які має бути звернена увага
в першу чергу :
· елемент зачерпування матеріалу різної
вологості;
· елемент її повного розвантаження;
· елемент подання системи на штабель
матеріалу з необхідним зусиллям.
Усі перераховані функціональні елементи різною мірою
впливають на вирішувану проблему в цій роботі.
Про технічний рівень машини судять за системою питомих
показників: витраті енергії, кВт-год/м3; енергозапасі, кВт-год/м3;
масі, т-хв/м3. До показників якості відносять також розрахункову
продуктивність. Проведені розрахунки [11] показують, що машини, параметри яких
далекі від оптимальних, характеризуються високими показниками витрати енергії.
Системний підхід до створення нової техніки обумовлює також
комплексне рішення проблеми надійності вузлів, деталей і машини в цілому.
Підвищення робочих якостей машини повинне проводитися на основі співставлення
її кількісних показників в конкретних умовах і в різні періоди експлуатації і
аналізу динаміки цих показників [12].
До даних навантажувальних машин в рівній мірі відносяться усі
перераховані оцінки, норми якості, вимоги надійності. В той же час, є
характеристики якості, що зважають на специфіку динамічного розвантаження
робочих органів і особливості довкілля. До таких характеристик відносяться
стабільність розвантаження матеріалу з урахуванням сил липкості, коефіцієнт
передачі при ударі Кп, що визначає урівноваженість конструкції
машини, і коефіцієнт посилення Ку , рівний відношенню динамічної
складової сили до гравітаційної і необхідний для оцінки якості розвантаження
матеріалу.
Стабільність. В процесі створення навантажувальних машин були вирішені
багато завдань робочого устаткування [8, 13] і встановлені параметри
розвантаження. Останні через низку обставин можуть змінюватися ( зі зміною
фізико-механічних властивостей породи, характеристик енергії, що підводиться,
зносу, прироблення деталей та ін.).
Позначино r1 , r2 … ri
основні параметри, визначені полем переміщення робочого органу .
Кожен параметр ri може служити показником якості
машини. Технічно функціональним критерієм якості навантажувальної машини є
величина операційнної потужності
[16], яка в загальному випадку
визначається як
(1.1)
де q - продуктивність машини;
W(r) - питома функціональна енергія,
необхідна для отримання одиниці продукції (прийнятій для підрахунку
продуктивності) у відповідності з основним призначенням машини в цих умовах
експлуатації.
Аналіз (1.1) показує, що при налипанні вологої породи на ківш
параметри (r1 , r2 … ri), визначають роботу
навантажувальної машини в нормальних умовах, тому за даних обставин її не можна
вважати задовільною. Стабільність роботи машини знижується, а отже, знижується
її надійність. І тут до числа визначальних можуть увійти параметри ударного
імпульсу, які формують інерційні сили розвантаження матеріалу. Вони мають бути
змінені так, щоб, з одного боку, здолати сили липкості, а з іншої - не
збільшити навантаження на металоконструкцію машини. Відповідно, в якості
додаткових характеристик навантажувальної машини потрібно розглянути значення
коефіцієнта посилення збурювальної сили, і коефіцієнта передачі.
Величина сили, що виникає при ударі стріли ковша об буфер,
характеризуєтся двома значеннями:
. величиною сили інерції, що розраховується по закону
Ньютона Fд= mк ( d2y/dt2 ), ( де mк
- маса навантаженого ковша) і визначаючу додаткову до гравітаційної силу
розвантаження матеріалу і величину сили, що прикладену на основу буфера Fб.
. Коефіцієнт посилення Ку, який
визначається відношенням першої складової до сили тяжіння вантажу Ку=Fд/Gг
, характеризує співвідношення інерційних і гравітаційних сил при
розвантаженні.
Друга складова, віднесена до Fд , оцінюється як
коефіцієнт передачі
Кп= Fд/Fд
для нерезонансних систем і показує, яка частина ударного
навантаження передається металоконструкції машини, характеризуючи тим самим її
урівноваженість. Щоб Кп був менше одиниці, використовують різного
роду буфери, що мають у своєму складі пружно-демферні елементи.
Таким чином, узагальнений показник якості навантажувальної
машини додатково до реалізованих параметрів ri = ri(U(х,
у, z, t),) повинен включати залежність поля переміщень робочого
органу від характеристик липкості породи, коефіцієнтів посилення і передачі.
Останні в значній мірі визначатимуться пружно-демферними параметрами буфера,
удару і налиплого матеріалу.
1.2 Напрями розвитку навантажувальних машин безперервної
дії
Стрічкові конвеєри призначені для безперервного
транспортування матеріалу від однієї переробної машини до іншої. Останнім часом
для скорочення виробничих площ окрім звичайних похилих конвеєрів, освоюють
виробництво крутонахилених конвеєрів.
Основними параметрами стрічкових конвеєрів є: ширина стрічки,
довжина, швидкість руху, кут нахилу конвеєра. Ширину стрічки конвеєрів. Довжина
конвеєра визначається видом натяжного пристрою. При використанні гвинтового
натяжного пристрою довжина конвеєра має бути не більше 30 м, при вантажному
натягненні стрічки - від 30 до 200 м, при лебідковому - більше 200 м. Швидкість
руху стрічки залежить від її ширини і виду матеріалу, що транспортується, але
при транспортуванні матеріалу вниз вона має бути не більше 1,5 м/с. Максимальні
кути нахилу конвеєра для нерудних матеріалів знаходяться в межах 14... 18°.
Граничні кути нахилу конвеєрів, працюючих під кутом, мають бути на 6...80
менше
Сучасне розвиток всіх галузей промисловості зумовлюють такі
основних напрямів розвитку конвеєрних машин.
. Створення машин для безперевантажувального транспорту
вантажів від початкового до кінцевого пунктів по прямолінійною та дуже складною
просторової трасі великої протяжності. Цьому напрямку підпорядковане створенням
багатоприводних конвеєрів різних типів (підвісних, пластинчастих, скребкових,
стрічкових), потужних стрічкових конвеєрів з надміцними стрічками,
стрічково-канатних і стрічково - ланцюгових конвеєрів з міцним тяговим елементом
як канатів чи ланцюга, знигаючихся скребкових і пластинчастих конвеєрів,
складних розгалужених систем підвісних штовхаючих конвеєрів, трубчастих ,
скребкових конвеєрів з просторової трасою та інших.
. Підвищення продуктивності конвеєрних установок реалізується
шляхом вибору найбільш раціональної форми вантажонесучого елемента конвеєра
збільшення кількості вантажу на одиниці його довжини, і навіть шляхом значного
підвищення швидкості вантажонесучих елементів.
. Підвищення надійності машин спрощення їх обслуговування у
важких умовах експлуатації основні передумовами до переходу повної
автоматизації управління автомобілями і комплексами машин.
. Автоматизація управління автомобілями і комплексними
конвеєрними системами з допомогою ЕОМ.
. Зменшення габаритних розмірів конвеєрів з допомогою
принципово нових, полегшених конструкцій машин та його вузлів, за рахунок
використання пластмас і легких сплавів, гнутих профілів металу замість
прокатних тощо. п.
. Поліпшення умов праці обслуговуючого персоналу та
виробничих працівників, ізоляція від довкілля пилевидних, гарячих, газуючих і
хімічно агресивних вантажів.
. Уніфікація і нормалізація устаткування з одночасним
збільшенням кількості його типорозмірів.
. Підвищення якості та культури виробництва машин з допомогою
широко використовуваних методів передових технологій і технічної естетики.
Очищення стрічки від налиплого, або примерзшого вантажу, має
важливе значення для забезпечення нормальної експлуатації конвеєра і підвищення
терміну служби стрічки. До засобів очищення стрічки пред'являються вимоги не
лише повноти очищення, але і збереження стрічки, забезпеченням тривалих
термінів роботи самих пристроїв без великого спрацювання і забруднення,
простоти і надійності конструкції. Очищення від сипких і нелипких матеріалів (вугілля,
пісок) здійснюється відносно легко. Істотні утруднення являє собою очищення від
вологих сильноналипаючих вантажів (суглинок, глина) і намерзаючих вантажів в
зимовий період.
1.3 Особливості взаємодії робочих органів машин з вологим
матеріалом і чинники, що обумовлюють прилипання
Проблема розробки, навантаження, розвантаження і зберігання
матеріалів з збільшеним змістом вологи має місце при проведенні різного роду
земляних [17, 18], будівельно-дорожніх [21], сільсько-господарських [22] робіт
і сортувальних процесів [23, 24, 25].
Вплив вологості на фізико-механічних властивості матеріалів
і, відповідно, на показники функціонування машин і устаткування відмічається
багатьма авторами [20, 21, 27, 28, 29, 33, 34] і проявляється зміною щільності,
збільшенням пластичності і налипання на металеві поверхні робочих органів.
Останнє викликає збільшення енергоємності технологічного процесу внаслідок
збільшення опору, зменшення корисної місткості ковшів, бункерів, кузовів машин,
а також перерізів і потоків переміщуваного матеріалу, що негативно впливає на
продуктивність устаткування і вартість технологічного процесу.
Липкість відноситься до фізико-хімічних властивостей ґрунтів
і порід і вимірюється питомою (на одиницю площі) нормальною силою, необхідною
для відриву прилиплого матеріалу, липкість визначається силами зчеплення, які
залежать від сил тертя, але різноманітніші по своїх властивостях [35].
Питаннями липкості займалися різні автори. Вивчення налипання
ґрунтів на робочі органи ґрунтообробних машин проводилося Н.А. Ночинским, А.Ф.
Вадюниной, П.У. Бахтиним, Г.И. Синеоковим, И.М. Пановим, П.И. Шавригиним та ін.
Дослідженням липкості грунтів займалися Е.М. Сергеєв, В.В. Охотин, П.Ф.
Мельников, С.С. Морозов, В.Я. Калачев, В.В. Гдзелишвили, А.С. Кондра та ін
Нині можна виділити чотири основні теорії про природу сил
липкості [36]: адсорбційну, електричну, дифузійну і хімічну.
Адсорбційна теорія розглядає утворення зв'язку як результат
дії міжмолекулярних сил. У рамках цієї теорії Е.М Сергєєв [37] пояснив суть
налипання тим, що при певній вологості плівки так званої «рихлозвязаної» води,
з одного боку, взаємодіють з частинками речовини (ґрунту, породи), а з іншої -
притягуються до катіонів металу робочих поверхонь машин.
У основі електричної теорії адгезії [35] лежить уявлення про
подвійний електронний шар, що утворюється при тісному контакті двох поверхонь.
Узагальнений закон тертя Б. В. Дерягина встановлює зв’язок між нормальною і
дотичною складовими сил взаємодії при відриві
Fт =
(FN+poS) (1.2)
де Fт - сила тертя, що відповідає початку руху;
FN - нормальна складова навантаження;- площа реального
контакту, на відміну від Sk - площі уявного або геометричного
контакту, Sk < S;
- реальний коефіцієнт тертя на відміну від розрахункового,
рівний:
k < S;
o - липкість ( тиск прилипання).
Експериментальні дослідження А.С. Ахматова [38] підтвердили
обумовленість другого члена рівняння (1.2) силами зчеплення.
Дифузійна і хімічна теорії пояснюють сили взаємодії двох
поверхонь відповідно дифузією їх молекул і виникненням між ними хімічних
зв'язків [36].
Крім того, деякі автори [18] виділяють електро-молекулярну
теорію липкості, що об'єднує елементи адсорбційної і електричної теорій.
Усі дослідники називають вологість основним чинником,
визначаючу липкість. Закономірність впливу наступної (Рис. 1.2) [39]: із
збільшеним вологості липкість інтенсивно збільшується до досягнення
максимального значення, а потім різко знижується. Найбільша липкість відповідає
вологості поблизу молекулярної вологоємкості [21]. У число характерних
показників липкості включають вологість початкового прилипання, вологість
максимального прилипання і максимальне значення липкості [37, 40]. Значення
липкості деяких порід і ґрунтів приведені в таблицю. 1.2.
Головною причиною того, що до теперішнього часу, незважаючи
на велику кількість проведених досліджень, немає загальноприйнятих даних про
липкість різних матеріалів, слід врахувати ту обставину, що вона визначає не
лише такими властивостями ґрунту або породи, як їх мінералогічний гранулометричний
склад, величиною і часом попереднього навантаження, швидкістю відриву, а також
матеріалом і характером поверхні контактуючого тіла.
Рис. 1.2 Графік залежності липкості від вологості ґрунту
Таблиця 1.2 Липкість різних порід і вологість, що відповідає
їй.
|
Липкий матеріал
|
Максимальна
липкість, кПа
|
Вологість, %
|
Джерело
|
|
Глина
|
7,0 - 7,5
|
24-25
|
[19, 20]
|
|
Суглинки
|
7,8 - 8,2
|
17-22
|
[23, 24, 25]
|
|
Лес
|
5,0 - 5,5
|
16-17
|
[32]
|
|
Алевроліт
|
8,5 - 9,0
|
28 -31
|
[32]
|
|
Сірі каолини
|
11,5-11,8
|
23 -26
|
[32]
|
|
Вугільний пил АШ
|
0,5
|
0,5 - 2,5
|
[32]
|
|
Буре вугілля
|
6,2
|
58-59
|
[32]
|
|
Тісто
|
(10-14)-103
|
-
|
[42]
|
За даними П.Ф. Мельникова [37] липкість часток діаметром менш
мкм, виділених з глини, перевищувала 40 кПа, тоді як липкість більших фракцій
(до 10 мкм включно) змінювалася в порівняно вузьких межах 4,2 - 8,1 кПа. Ці
висновки підтверджують і дані С.С. Морозова про дослідження важкого лесовидного
суглинку. Матеріали цих і багатьох інших досліджень свідчать, що липкість
ґрунтів визначається в основному вмістом в них глинистих ґрунтів. Липкість
пісків і супісків значно менша в порівнянні з липкістю глинистих ґрунтів, у
яких вона складає від 2-3 до 50-55 кПа залежно від змісту в них глинистих
часток.
Великий вплив липкість ґрунтів спричиняє сила стиску. Згідно
[37] зі збільшенням навантаження попереднього стиску абсолютна величина
липкості зростає. Загальний вигляд характеру впливу цього чинника на величину
липкості показаний на Рис. 1.3.
Рис. 1.3 Залежність липкості каолинитовой глини від величини
навантаження, діючої на штамп
Аналогічний вид має залежність липкості від часу дії
навантаження попереднього притиснення. Для ґрунтів різного мінералогічного
складу вид залежності зберігається, але ділянки характерного перегину кривої
коливаються в інтервалі від 3-5 хвилин для каолінитових глин. Частково такий
вид залежності може бути пояснений ущільненням ґрунту за час дії навантаження і
віджиманням вільної і частини рихлозвязаної води.
Це підтверджується тим фактом, що на величині липкості
попередньо ущільненого ґрунту час дії притискуючого навантаження практично не
позначається.
Звичайне дослідження липкості проводиться на приладі Охотина
[43] чи Качинського [44], у яких відрив налиплого матеріалу робиться статично,
тобто під дією постійної сили, спрямованої нормально до поверхні. Таким чином,
час, за який стався відрив, не фіксується.
Вид матеріалу і якість обробки контактуючої поверхні також
істотно впливають на величину липкості [22, 37, 47] (таблиця. 1.3).
Таблиця 1.3 Липкість до конструкційних матеріалів (22,
47)
|
Матеріал
|
Глинистий грунт
(тиск початкового притиснення 150 кПа)
|
Грунт (тиск
початкового притиснення 10 кПа)
|
|
Вологість
максимального прилипання, %
|
Мах липкість, кПа
|
Вологість
максимального прилипання, %
|
Мах липкість кПа
|
|
Сталь необроблена
|
25,1
|
10,3
|
32,5
|
6,0
|
|
Сталь оброблена
|
26,8
|
24,5
|
-
|
-
|
|
- шліфована
|
-
|
-
|
32,5
|
5,4
|
|
- полірована
|
-
|
-
|
33,0
|
4,9
|
|
- шліфована
|
-
|
-
|
34,0
|
3,3
|
|
Чавун оброблений
|
27,7
|
29,4
|
-
|
-
|
|
Алюміній
|
24,6
|
27,1
|
-
|
-
|
|
Транспортна лента
|
24,9
|
11,6
|
-
|
-
|
|
Мікропориста резина
|
24,5
|
7,0
|
-
|
-
|
|
Капрон
|
28,8
|
28,2
|
33,0
|
4,2
|
|
Фторопласт
|
26,6
|
3,81
|
35,0
|
2,4
|
|
Скло
|
25,4
|
31,8
|
-
|
-
|
|
Цементний камінь
|
26,8
|
2,91
|
-
|
-
|
|
Поліамід - 68
|
-
|
-
|
33,0
|
3,8
|
|
Поліетилен низького
тиску
|
-
|
-
|
34,5
|
2,9
|
Липкість має менші значення на оброблених і гладких поверхонь
[22]. Експериментальним шляхом встановлено, що глинисті ґрунти сильніше
прилипають до дерева в порівнянні з металом, а піщані і торф'яні - навпаки
[37].
В цілому слід зазначити уривчастість і суперечність даних,
приведених різними дослідниками, а також відсутність єдиної методики визначення
липкості, що і приводить до непорівнянності результатів. Крім того, кількісні
характеристики липкості гірських порід в технічній літературі представлені
недостатньо.
1.4 Основні способи боротьби з налипанням матеріалу до
робочих поверхонь навантажувально-транспортного устаткування
При розвантаженні сухої породи величина необхідного
зрушуючого зусиля визначається першим доданкам рівняння (1.2), тобто тільки
тертям, оскільки сили зчеплення породи з металом відсутні. Для вологої породи
ці сили значно перевищують сили тертя і представляють основний опір ковзанню
породи при розвантаженні.
Отже, умова, при якій розвантаження породи можливе,
виражається таким чином [32]:
Fскp0S (1.3)
де Fск - сила ковзання шару породи по днищу ковша
при розвантаженні.
Силами тертя в цьому випадку можна нехтувати
Для подолання сил зчеплення використовують різні способи, які
за характером і дії діляться на дві основні групи [32]: 1) порушуючі контакт
прилиплого матеріалу з металевою поверхнею робочого органу, тобто спрямовані на
збільшення Fск; 2) запобігаючі або знижуючі процес прилипання, тобто
що зменшують величину р0.
До першої групи відносяться:
. механічні засоби очищення (шкрябання [25, 32],
щіткові пристрої [25, 32], ковші з примусовим розвантаженням
[18,48,49,50,51,52,53]);
. вібраційні і ударні (накладні вібратори,
буро-фрезерні і буро-рихлюючі машини, спеціальні вібраційні і ударні установки
і так далі) [25, 32, 34, 54, 55];
. повітряно-водяні (повітряно -, газо - і
гідроочищення робочих органів) [32, 53];
. очищення електроосмосом (при пропусканні
електричного струму через тонкопористе гідрофільне середовище відбувається
переміщення плівок води, які чинять розклинюючу дію і відривають частки
налиплого матеріалу від поверхні) [32, 53].
Ефективність застосування способів цієї групи різна.
Наприклад, устаткування навантажувача ТЕ-11 ковшем з примусовим розвантаженням
дає виграш в середньому 11% від продуктивності цієї машини з перекидним ковшем
[48]. При використанні в навантажувачах ковшів із задньою стінкою, що
обертається, час розвантаження скорочується в 1,5 разу [53].
Застосування віброінтенсифікатора при завантаженні дозволяє
підвищити коефіцієнт використання підйому на 15,8%, а продуктивність - на 28%
[34].
Використання електроосмотичного ефекту внаслідок
конструктивної складності його реалізації обмежилося проведеними дослідженнями
на автосамоскиді МАЗ-205 і практичного поширення не отримало [32].
Поданням вихлопних газів двигуна до стінок ковша вдалося
зменшити налипання ґрунту на відвал на 30-32% і понизити коефіцієнт тертя на
70-80%
В той же час використання примусових засобів розвантаження
ковша підвищує енергоємність цього процесу в 3-10 разів в порівнянні з
гравітаційним розвантаженням [9]. Об'єм неочищеної породи, що залишилася,
складає від 3 до 12% корисної місткості робочого органу, а його ушкодження в
процесі очищення шкрябаннями підвищують трудомісткість і вартість на 12-15%
[32].
Таким чином, розглядаючи можливість впровадження
перерахованих способів на навантажувальних машинах, можна відмітити, що їх
загальним недоліком слід рахувати необхідність залучення додаткових джерел
енергії [32, 59] і збільшення витрат на зміст і обслуговування додаткового
устаткування. Крім того, їх застосування знижує надійність машини в цілому,
ускладнюючи її конструкцію, а в деяких випадках і погіршує умови роботи, як,
наприклад, використання гідроочищення веде до забруднення робочих шляхів і
збільшення ходових опорів, і тому подібне .
Друга, так звана профілактична, група способів боротьби з
прилипанням передбачає зменшення чинника р0 за рахунок нанесення на
робочі поверхні технологічного устаткування рідких, жирових і твердих
покриттів, що запобігають налипанню [28, 32, 53].
При водяному мастилі ковша екскаватора за рахунок зменшення
сили прилипання ґрунту до металу досягнуте зниження тягового зусилля на 11%, а
при емульсивній - на 21% [53].
Найбільш поширеними є пластмасові облицювання на основі
епоксидних смол. Застосування епоксидної композиції на ковші екскаватора при
25% - вій вологості дає підвищення продуктивності на 10... 15% [53]. Добрі
результати досягнуті при дослідженні різних покриттів робочих поверхонь
бункерів перевантажувальних пунктів [28].
Проте висока вартість і дефіцитність, а також відсутність в
даний час методів вибору і створення покриттів з потрібними властивостями [32]
обмежують їх використання в промисловості.
Аналіз переваг і недоліків сучасних способів боротьби з
налипання дозволяє зробити висновок про те, що найраціональніше з точки зору
збереження питомої енергоємності навантаження використовують внутрішні резерви
машини, повідомляючи додаткові функції вже існуючим елементів, Для
навантажувальних машин ківшевого типу доцільно створити такий буфер, щоб він
паралельно своїй основній функції - гасіння енергії удару сприяв би і
розвантаженню налиплої на ківш породи.
1.5 Параметри, що визначають динаміку розвантаження матеріалу
при ударному розвантаженні
У операції розвантаження матеріалу з ковша навантажувальної
машини періодичної дії беруть участь: двигун; головний редуктор; механізм
підйому, який здійснює підйом, опускання і розворот стріли і ковша з насипним
вантажем вправо і вліво при бічних завантаженнях; забираючи орган, що включає
ківш, стрілу і ковшові ланцюги; передня стійка і закріплені на ній буфери;
механізм управління. Перераховане обладнання можуть мати різне конструктивне
виконання [6, 1], але в сукупності представляють нерозривний силовий і
кінематичний ланцюг, який формує сили інерційного розвантаження
дорожньо-будівельного матеріалу.
Управління при зачерпуванні розпочинається з розгону вперед і
повороту ковша із стрілою в горизонтальній площині для обслуговування фронту
розвантаження. Впровадження ковша в штабель породи здійснюється за рахунок
напірного зусилля ходової частини, а потім робиться його поворот, підйом і
розвантаження в мить, коли стріла упирається в два буфери, розташованих на
передній стійці. У цей момент ківш зупиняється, а дотичні сили інерції, долаючи
сили тертя і зчеплення, викидають матеріал.
Підйом ковша з насипним вантажем здійснюється ланцюговою
лебідкою, яка отримує крутний момент, від електродвигуна через основний
редуктор і планетарно-фрикційні механізми, водила яких жорстко сполучені з
ланцюговими барабанами, а корпуси є гальмівними шківами. Таким чином, при
вирішенні завдань динаміки підйому ковша необхідно враховувати: механічну
характеристику електродвигуна, момент інерції ротора двигуна, приведені
значення моментів інерції, жорсткості і демпфування трансмісії і моменти опору.
Сукупність вказаних параметрів визначить значення перед ударної швидкості
підходу стріли до буферів [6].
У момент контакту починається розвантаження пружної ланки
буфера до величини навантаження Fт і далі до можливої деформації
пружної ланки хд. Розрахунок Fn і хд вимагає
обліку контактних, пружних і пластичних деформацій, хвилевих процесів [3] і
тому пов'язаний зі значними труднощами. Зазвичай його проводять по статичних
навантаженнях. На практиці ж виявляється, що жорсткість пружин недостатня [2,
4].
Процес розвантаження матеріалу, як встановлено в [64, 65],
починається у момент "незначної деформації пружин"; там же дається
рекомендація їх попереднього затягування з метою збільшення значення Fт.
У [6] рекомендується у момент удару збільшити значення відцентрових сил :
"підкидаючи" матеріал і зменшуючи тим самим її зчеплення і тертя з
ковшем, вони полегшують дотичним силам інерції викинути її.
Завдання, пов'язані з розвантаженням ковша, грунтуються на
розрахунковій схемі, приведеній на Рис. 1.4 [6, 5], яка була побудована на
наступних допущеннях. Деформації пружних елементів у буферах вважаються малими,
що дозволяє розглядати рух вантажу в обертальному, а не плоскому русі; момент
інерції ковша відносно осі обертання залишається постійним в процесі
розвантаження; аналогічно доводиться, що величина плеча сили натягу ланцюга теж
є постійною; маса насипного вантажу не враховується; двигун до моменту
зіткнення відключений; моментом опору редуктора нехтують.
ъ
Подібна модель дозволяє визначити: кутову координату стріли,
при якій буде вибраний вільний хід пружини; параметри пружини з умови
П > Т
(П - потенційна енергія деформації пружини, Т - кінетична
енергія системи «стріла-ківш» знайти значення відцентровою і дотичною сил
інерції, реакції в ланцюзі і на стійці при ударному розвантаженні і, в
кінцевому підсумку, вирішити завдання стійкості навантажувальної машини [4].
Сам процес розвантаження матеріалу з ковша не обговорюється,
хоча необхідне рішення подібних завдань формулюється в роботах [4, 5, 7],
оскільки при динамічних розрахунках самого механізму і його приводу не можна не
зважати на великі зміни маси, які різко змінюються за один цикл роботи машини.
Рис. 1.4 Розрахункова схема
В цьому випадку ківш з породою, що знаходиться в нім, при її
розвантаженні потрібно, очевидно, розглядати як ланку зі змінною масою. На
сьогодні питання про облік змінних мас в механізмах розвивається дуже активно
[7, 8, 9], оскільки при сучасній інтенсифікації технологічних процесів, що
виконуються машинами, тільки правильне розуміння динамічних процесів, що
протікають в них, дозволяє застосувати системний підхід до створенню
високонадійного устаткування .
При рішенні практичних завдань динаміки механізмів зі змінною
масою основною трудністю є визначення параметрів ланок з переміною масою, які
залежать від геометрії мас ланки: закону зміни моментів інерції, координат
центру тяжіння (центру мас) відносно прийнятої системи координат, а також маси
ланки.
Існує невеликий клас механізмів, у яких можна аналітично
визначити такі характеристики [67]: ланки типу барабана, що обертається, на
який намотується лист або смуга шириною, рівній довжині барабана; ланки, що
обертаються, у взаємодії з вузьким гнучким елементом [7].
У інших випадках отримання законів зміни маси являється
достатньо складним завданням, рішення якого може бути знайдене розрахунковим
шляхом тільки приблизно, або ж експериментально. Так, наприклад, в [7]
приводяться формули для розрахунку ваги матеріалу, що залишилася в ковші
навантажувальної машини при перекочуванні його по нерухомій, що направляє, у
функції положення ковша. Обчислюючи за допомогою формул для декількох положень
ковша при його розвантаженні масу ланки, можна отримати залежність зміни маси у
функції кута повороту. Недоліком цього способу, являється необхідність точного
визначення динамічного кута укосу розвантаженого матеріалу, а також
геометричних побудов для кожного положення ковша. Схожий графоаналітичний спосіб
розрахунку застосовують для визначення закону зміни маси матеріалу, наприклад,
в ковші з рідким металом при його перекиданні в ливарному виробництві [7].
В деяких випадках зручно замінити змінну масу еквівалентною
системою мас, розташованих в декількох певним образом підібраних точках [7].
Такий підхід застосовується для систем з розподільною масою, наприклад,
роторів.
Таким чином, для динамічного синтезу пристрою, забезпечуючого
повне розвантаження ковша, в числі інших умов необхідно враховувати змінність
його маси, визначивши спочатку закон її зміни в процесі розвантаження.
Перераховані завдання підлягають подальшому рішенню з метою
задовольнити сформульованим в п. 1.1 показникам якості навантажувальних машин.
1.6 Конструкції і можливості протиударних буферів
У конструкції ковшової навантажувальної машини типу ППН
використовуються три протиударні буфери: в системі довертання ковша - з метою
зменшення скидання "шапки" зануреної в ківш породи; у системі
транспортування породи в ковші до місця розвантаження - з метою застопорити рух
стріли з ковшем і сформувати сили викиду породи з ковша і в системі "амортизаційний
ланцюг - стріла ковша " - з метою зменшення динамічних навантажень у
момент повернення робочого органу машини в початкове положення для зачерпування
матеріалу. У першому випадку маса ковша з породою перевищує масу буфера і
стріли, тому таке збудження вважається кінематичним; у другому - маса корпусу
машини більше маси джерела збудження, і тому така взаємодія вважається силовою.
У третьому випадку маса об’єкту захисту - ланцюги, мала в порівнянні з масою
джерела - робочого органу, отже, маємо випадок кінематичного збудження. У [11]
показано, що шляхом нескладних перетворень можна звести завдання силового
збудження до кінематичного і навпаки, тому в якості принципової схеми
ударозахисту може служити система, показана на Рис. 1.6.
Рис. 1.6 Схема ударозахисту: Р (t ) збурююча дія;
R,R/ - внутрішні сили; И - джерело збудження; О - об'єкт захисту; ВУ
- виброударозахисний пристрій; х - напрям додатка сил.
Призначення буфера полягає в тому, щоб погасити кінетичну
енергію тіла, що рухається, розтягнути дію удару в часі і зменшити максимальну
величину передаваної на основу сили. Основні показники, що характеризують роботу
протиударних ізоляторів, оцінюються [47]: силовою характеристикою,
ефективністю, здатністю безповоротно поглинати енергію удару, стабільністю
роботи, можливістю швидко відновлюватися після удару, міцністю і довговічністю,
вагою і габаритами, технологічністю конструкції. З урахуванням завдань,
сформульованих в роботі, до цих показників слід додати наступні: можливість
керувати параметрами силового імпульсу і, як відзначається в [43], враховувати
специфіку дорожнього будівництва (таблиця. 1.5).
Рис. 1.7 Секціоні фрикційні буфери: а - з фрикційними
секціями, розділеними пружиною; б - з одночасно працюючими фрикціоними
секціями; в - з одночасно працюючими фрикційними секціями, але з вдосконаленою
системою пружин і клинів
Резино-металічні ударні ізолятори конструктивно виконуються
так [34, 35, 46], що можуть мати різні характеристики жорсткості від лінійної
до S - подібної (Рис. 1.8). Їх експлуатаційні властивості залежать від марки
гуми, конструктивного виконання, енергії удару, температури, - тривалості зберігання.
Гумові елементи працюють на стискування, зрушення, а також при складніших видах
розвантаження.
Рис. 1.8 Резино-металеві ударні ізолятори і їх пружні
характеристики
Таблиця 1.5 Основні показники протиударних ізоляторів
|
Тип протиударного
ізолятора(марка)
|
Показники
|
|
Вид силовий
характеристики
|
Коефіцієнт передачі
сили, kF
|
Коефіцієнт повноти
навантажувальної ха-рактеристики, kE
|
Стабильность роботи
%
|
Вільний хід Хд, мм
|
Довговічність ЦИКЛ
|
Маса кг
|
Габа-риты, ахЬхс
(dx1), мм
|
Керування
параметрами імпульсу
|
Відповідність
умовам будівничтва
|
|
Пружинні
|
л
|
14
|
0,46
|
99
|
80
|
107
|
19
|
2,2х 1,3х 0,7
|
|
+
|
|
Пружинно-фрикційні
(Ш-1-Т)
|
ж
|
9
|
0,29
|
70
|
70
|
|
|
570х 320х 230
|
|
+
|
|
Гумові
|
л, ж
|
|
0,5-0,6
|
|
35-45
|
(2,5- 10)х105
|
|
98х 128
|
|
+
|
|
Резино-металеві
|
ж
|
6,5
|
-
|
-
|
70%
|
(1-3) х106
|
-
|
140х 85
|
-
|
+
|
|
Канатні СКВ-1П
|
п
|
14,5
|
0,65
|
99
|
80
|
5,8 х 107
|
2,4
|
180х 240
|
+
|
+
|
|
Сітчасті
|
ж
|
7,5
|
0,51
|
82
|
30
|
106
|
1,8
|
|
|
+
|
|
Дерев'яний брус
|
ж, л
|
|
0,6
|
|
0,2-0,3
|
|
|
148х 250х 185
|
|
+
|
Л- лінійна, М-мяка, Ж-жорстка, П- маюча точку перегину
Гідравлічні і гідро-пневматичні ізолятори ударів застосовують
в складних системах [43, 47] (Рис. 1.9). Їх основною перевагою є високий
коефіцієнт повноти (kE = 0,55...0,70), а недоліком - складність
конструкції і висока вартість ремонтного обслуговування.
Добре протистоять ударним навантаженням канатні
віброізолятори [33, 36, 38, 48, 49, 50]. Їх висока енергоємність, можливість
розташування фрикційних пар в площині, перпендикулярній напряму удару,
наявність інерційних елементів, що беруть участь в перетворенні руху при ударі,
дозволяють отримати найрізноманітніші пружно-демпфуючі характеристики і
сприймати удари великої тривалості [46]. Канатні віброізолятори добре
зарекомендували себе в умовах будівництва [33].
Відоме застосування в якості поглинаючого матеріалу в ударних
буферах металевого пилу [17, 11], сітчастих структур [8], дерева [18], войлоку
[44, 49] і інших матеріалів [39].
Синтез позитивних властивостей цих матеріалів дозволить як
найкраще вирішити поставлене завдання ударозахисту, а при необхідності -
поєднати функції ударної ізоляції з програматором.
Рис. 1.9 Гідро-пневматичний (а) і гідравлічний (б) ударні
ізолятори і їх пружні характеристики
1.7 Липкість, як структурний фактор при роботі
навантажувальних машин безперервного типу
Вплив вологості на фізико-механічних властивості матеріалів
і, відповідно, на показники функціонування машин безперервного типу і
устаткування відмічається зміною щільності, збільшенням пластичності і
налипання на металеві поверхні робочих органів. Останнє викликає збільшення
енергоємності технологічного процесу внаслідок збільшення опору, зменшення
корисної площі стрічки, що негативно впливає на продуктивність устаткування і
вартість технологічного процесу.
Липкість відноситься до фізико-хімічних властивостей ґрунтів
і порід і вимірюється питомою (на одиницю площі) нормальною силою, необхідною
для відриву прилиплого матеріалу, липкість визначається силами зачерпування,
які споріднені силам тертя, але різноманітніші по своїх виявленях .
Головною причиною того, що до теперішнього часу, незважаючи
на велику кількість проведених досліджень, немає загальноприйнятих даних про
липкість різних матеріалів, слід врахувати ту обставину, що вона визначає не
лише такими властивостями ґрунту або породи, як їх мінералогічний
гранулометричний склад, величиною і часом попереднього навантаження, швидкістю
відриву, а також матеріалом і характером поверхності контактуючого тіла.
Великий вплив липкість ґрунтів спричиняє сила стиску. Згідно
зі збільшенням навантаження попереднього стиску абсолютна величина липкості
зростає.
Аналогічний вид має залежність липкості від часу дії
навантаження попереднього притиснення.
Липкість має менші значення на оброблених і гладких поверхонь
. В цілому слід зазначити уривчастість і суперечність даних, приведених різними
дослідниками, а також відсутність єдиної методики визначення липкості, що і
приводить до непорівнянності результатів. Крім того, кількісні характеристики
липкості гірських порід в технічній літературі представлені недостатньо.
Очищення стрічки від налиплого, або примерзлого вантажу, має
важливе значення для забезпечення нормальної експлуатації конвеєра і підвищення
терміну служби стрічки. До засобів очищення стрічки пред'являються вимоги не
лише повноти очищення, але і збереження стрічки, забезпеченням тривалих
термінів роботи самих пристроїв без великого зносу і забруднення, простоти і
надійності конструкції. Очищення від сипких і налипких матеріалів (вугілля,
пісок) здійснюється відносно легко. Істотні утруднення являє собою очищення від
вологих сильноналипаючих вантажів (суглинок, глина) і намерзаючих вантажів в
зимовий період.
.8 Висновки і завдання дослідження
1. Навантажувальні машини періодичної дії удосконалюються
у напрямі збільшення енергоозброєності, продуктивності, надійності і
довговічності на основі принципу системного підходу до їх створення, головним
інструментом якого є оптимізація робочих процесів і параметрів машини. Проте
вимоги ефективності не враховують вплив такого фактору, як вологість навантажувального
матеріалу, яка сприяє налипанню породи на робочі органи, що призводить до
зниження продуктивності машини на 15...20%. Відсутні і кількісні характеристики
липкості матеріалу.
2. Існуючі засоби і способи боротьби з налипанням
вимагають створення додаткових пристроїв і підведення енергії, що призводить до
підвищення питомої енергоємності процесу завантаження. Внутрішні резерви
елементів машини, що перетворюють енергію приводу для розвантаження ковша,
використовуються недостатньо і без належного аналізу і обліку сукупності вимог,
що пред'являються до навантажувальних машин.
3. Розробка технічних рішень по ефективному подоланню сил
тертя і липкості в конструкціях навантажувальних машин стримується відсутністю
науково обгрунтованих методик розрахунку липкості залежно від конструктивних,
кінематичних і силових параметрів робочих органів; не дослідженням
закономірностей зміни маси сипкого тіла в ковші за час розвантаження;
відсутністю обгрунтованих структур буферних пристроїв, дозволяючих перетворити
енергію приводу для ефективного розвантаження матеріалу з ковша із заданими
показниками надійності і довговічності.
Виконаний аналіз стану питання з урахуванням поставленої мети
показав актуальність подальших основних завдань дослідження:
1. Розробити методику визначення липкості
дорожньо-будівельного матеріалу заданої вологості з урахуванням шорсткості
поверхні робочого органу і параметрів завантаження ковша в період формування
сил липкості.
2. У рамках розробленої методики визначити кількісні
залежності липкості від параметрів системи "ківш - волога порода " і
встановити їх граничні значення для поставленого завдання.
3. Розробити математичну модель розвантаження вологого
матеріалу з урахуванням її фізико-механічних характеристик, мас, моментів
інерції, жорсткості елементів приводу і робочого органу, а також параметрів УДХ
нелінійного буфера.
4. Обгрунтувати і розробити методику проектного
розрахунку параметрів буфера за умовами одноразового розвантаження вологої
породи і ударозахисту навантажувальної машини, виражених через критерійні
обмеження.
5. Розробити спосіб технічної реалізації структури
робочого елемента буфера, що задовольняє вимогам розвантаження матеріалу.
6. Провести випробування.
Розділ 2. Методи і стенди, використовувані в дослідженнях
Для вивчення закономірностей прилипання порід і розвантаження
вологого матеріалу з ковша навантажувальної машини, а також для дослідження
ударних буферів використовувалися випускаємі промисловістю експериментальні
стенди. Розглянемо більш детально ці пристрої.
2.1 Стенди, використовувані для дослідження липкості
У більшості випадків визначення сил липкості робиться
статичними методами [25, 33, 44] через роботу з'єднання і відриву, вироблюваних
за рахунок механічних зусиль з певною швидкістю.
В процесі завантаження ковша на його внутрішніх поверхнях
формуються зони підвищеного тиску (Рис. 1.1), де за сприятливих умов
відбувається прилипання вологої породи з питомою силою р0, а при
розвантаженні - її відрив з силою FN = р0S, де
S - площа відриву. Кривизна внутрішніх поверхонь ковша спотворює значення р0
і FN із-за неодночасності дії сил на різних ділянках. Тому при
моделюванні важливе центрування зусиль, яке можна забезпечити таку, що
направляє із спеціально створеним плоским штампом, занурюваним в жорстко закріплену
форму з липкою масою. Дотримання вказаної умови дозволить без ускладнень
виміряти роботу відриву.
При фізичному моделюванні в якості робочого тіла може
використовувалися такі матеріали, як сланець піщано-глинистий на глинистому
цементний, вапняк піщано-глинистий і глина, крупність від 0,14 мм до 2,5 мм і
вологістю, відповідній максимальній липкості, як це показано в таблиці. 1.2.
Встановлено, що липкість глини відповідає липкості герметика АП-1 після його
розігріву до температури 200°С і поступового охолодження до температури
довкілля, причому така клейкість не змінювалася впродовж декількох діб.
Аналіз принципу дії приладів Охотина [23] і Качинського [24]
показав, що для визначення параметрів липкості можна використати сучасний стенд
розтягування-стискування, яке забезпечить необхідне центрування докладання
зусиль.
Рис.2.1 Стенд розтягу-стиску постійного струму через
спеціальний комутатор, що дозволяє подавати на входи X і У самописця сигнали
від різних датчиків.
Стенд розтягування-стискування (Рис. 2.1) є звареним зі
швелерів 1 з горизонтально розташованою плитою 2, які використовуються для
установки випробовуваних зразків віброізоляторів, направляючих, датчика кута
повороту 3, датчика моменту 4 і так далі. На основу кріпиться рама, яка
складається з перекладини 5 і сполучених з нею за допомогою болтових з'єднань
двох стійок 6, які кріпляться до короба 1 основи. Гідроциліндр 7 встановлений
між перекладиною 5 і плитою 8, що входить до складу направляючого пристрою. У
нього входять також штоки 9 і перемичка 10. У нижній частині перекладини 5
знаходиться панель управління 11. На плиті 8 встановлений датчик сил.
Блок-схема вимірювального тракту представлена на Рис. 2.2.
Розширювальна здатність датчика переміщень 0,0023 мм, межі виміру 0 - 200 мм;
датчика навантаження - 1,103 Н и 0 - 1500 Н відповідно. Діапазон швидкостей
деформації 0,1-20 мм/с.

Рис. 2.2 Блок-схема вимірювального тракту
Датчик навантаження виконаний у вигляді тензометрического
кільця [102]. Тензорезистори ПКФ, мають опір 213,07 Ом і сполучені за мостовою
схемою. Для посилення сигналів тензодатчиков і живлення реостатного датчика
переміщення використовувався підсилювач постійного струму типу
"Топаз-3-01". Реєструвальним приладом був двокоординатний самописець
"Эндим 622.01", який з'єднувався з реостатним датчиком і підсилювачем
Стенд працює в ручному і автоматичному режимах управління.
При автоматичному режимі межі швидкостей вантаження і розвантаження складають
відповідно до 0,34 і 0,18 мм/с. При ручному режимі величину навантаження можна
зафіксувати на невизначено великий час.
Штамп є диском діаметром 40 мм і заввишки 10 мм.
Використовувалось шість штампів з різною шорсткістю 3 < 8 <36 мкм.
Середня висота нерівностей 8 на штампах і ковшах
навантажувальних машин визначалася методом виміру глибини профілю, а середнє
число нерівностей N на площі Sk - методом відбитків [13]. Вважаючи
усі нерівності однаковими і такими, що мають форму чотиригранних пірамід
заввишки
,
находимо повну фактичну площу контакту Sф липкої
маси з поверхнею штампу або ковша
Враховуючи, що номінальна площа контакту дорівнює сумі площ
оснований пірамід Sk = SкіN, отримаємо
Де
- щільність нерівностей.
Повна фактична площа контакту штампів різної шорсткості
приведена в таблицю. 2.1.
Таблиця 2.1 Параметри штампів, використовуваних при
визначенні липкості
|
Середня висота
нерівностей профіля в, мкм
|
Площа
геометрического контакту Sk, мм2
|
Щільність
нерівностей , мм-2
|
Повна фактична
площа контакту Sф, мм2
|
|
0,82
|
1256
|
1,1
|
1256,002
|
|
3,19
|
1256
|
3,6
|
1256,09
|
|
7,17
|
1256
|
3,4
|
1256,44
|
|
10,13
|
1256
|
2,9
|
1256,75
|
|
23,90
|
1256
|
3,1
|
1260,82
|
|
35,88
|
1256
|
3,3
|
1266,63
|
Навантаження на штамп може передаватися як через циліндричну
пружину, так і безпосередньо від штока гідроциліндра. Типові діаграми
навантаження в тому і другом випадках представлені на мал. 2.3, а і 2.3,6
відповідно.
Рис. 2.3 Діаграм вантаження на стенді
розтягування-стискування
При необхідності отримати залежність сили відриву від часу в
вимірювальну систему включався самописець рівня 02060, що має часову розгортку,
яка подавалася на вхід X самописця. Датчик переміщень в цьому випадку
виключався з ланцюга. Характерна діаграма вантаження такої схемипредставлена на
Рис. 2.4.
Рис. 2.4.
Вібраційні випробування аналізувалися на основі стенду
ВЭДС-100Б, який показаний на Рис. 2.5. Реєстрація параметрів вібрації
здійснювалася вимірювальним трактом, який включав п'єзодатчики
К8-51, віброметр 11003, самописець рівня 02060, дозволяючі
отримати амплітудно-частотні характеристики липкої породи (Рис. 2.6). На цій же
установці фіксувався час відриву прилиплого штампу зусиллям F1
залежно від частоти при однаковому рівні збудження.
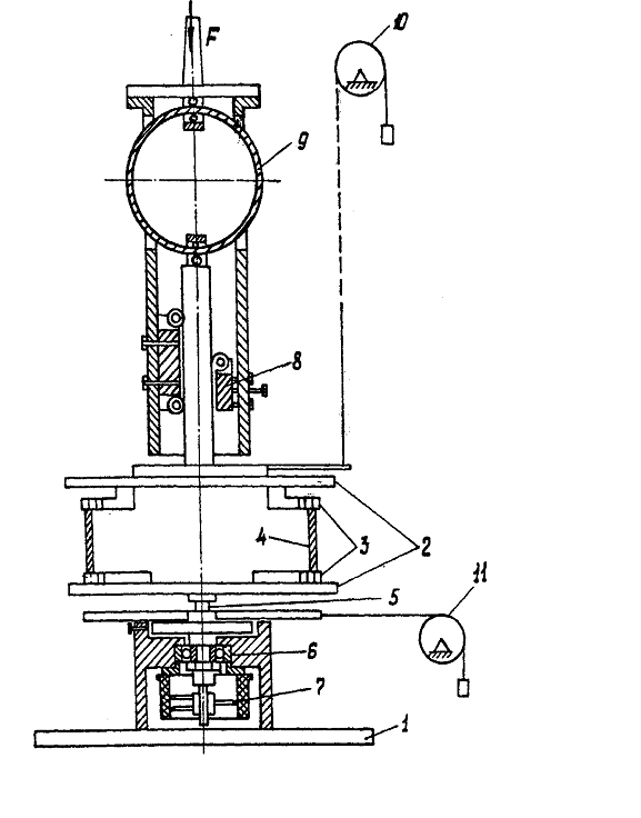
Рис. 2.5 Схема вібровипробувань породи на клейкість: 1 -
основа вібростенда ВЭДС-100; 2 - глина вологістю 35%; 3 - притискуючий штамп; 4
- акселерометры КS-51; 5 - блоки; 6 - нерозтяжна нитка; 7 - вантаж масою m(P1=mg)
2.2 Стенди, використовувані при дослідженнях ударних буферів
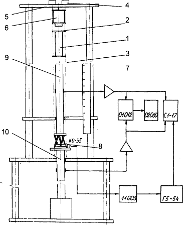
Ударна дія на пружні елементи буферів здійснювалася
вільнопадаючим бойком 1 на стенді, схема якого приведена на Рис. 2.7.
Рис. 2.6 Амплітудно-частотних характеристик породи : 1 -
система без породи; 2 - глина вологістю 30%; 3 - глина вологістю 10%
Рис. 2.7 Схема ударного стенду
Бойок має напрямляючі 2, ковзають по струнах 3, натягнутим
вертикально за допомогою натягачів 4, розташованих на верхньому кронштейні 5.
Підйом бойка здійснюється канатом, перекинутим через блок. Захоплення бойка при
підйомі робилося електромагнітом 6. На фіксованій висоті h був встановлений
кінцевий вимикач (на схемі не показаний), який розмикав електричний ланцюг
електромагніту, забезпечуючи таким чином постійність умов експерименту.
Потрібно реєструвати вхідні і вихідні сигнали тензодатчиками
7 [12] і паралельно - магнітопружними перетворювачами 8 [14], розташованими на
верхньому 9 і нижньому 10 хвилеводах. Центруючі втулки забезпечують вертикальне
положення хвилеводів.
Для виключення впливу напруги вигину на реєстрований сигнал
тензодатчики потрібно наклеювати на діаметрально протилежні сторони хвилевода,
а для температурної компенсації потрібно наклеювати ще 2 датчики, вісь грат
яких повернена на 90° до осі вимірювальних [32]. Схема наклейки датчиків і їх
включення у вимірювальний ланцюг показана на рис. 2.8.
Рис 2.8 Схема вімкнення датчика в систему
По каналу: підсилювач постійного струму ланки , віброметр
8М231, осцилограф С1-17 на фотоплівку записувалися ударні імпульси (Рис. 2.9),
по яких визначалася тривалість формованого імпульсу , реакції - і максимальні
значення амплітуд авх і авих

Рис.2.9 Ударні імпульси на верхній (а ) і нижній (б)
площадках
2.3 Стенди, використовувані при дослідженнях закономірностей
розвантаження
Для визначення коефіцієнтів пропорціональності C1,2
в (4.13 ) може бути використана установка (Рис. 2.10, а), що включає
маятниковий підвіс майданчики 1 для приміщення сипучої і липкої матеріалу 2 з
бойком 3, на задньому торці якого кріпився акселерометр 4 типи КБ-35. При
відхиленні майданчика на кут
, бойок 3 ударяв по програматору 5, який забезпечував в усіх
дослідах постійність форми імпульсу прискорення, яке контролювалось датчиком 4.
Час розвантаження породи з ковша визначався за допомогою фотодатчика 6. При
висипанні порода перекривала світло лампи 7, поступаючий на фототранзистор 6,
що фіксувалося на осцилографі. Характерний вид осцилограм приведений на Рис.
2.10, в.
Рис. 2.10 Експериментальна установка для дослідження
закономірностей розвантаження : а - зовнішній вигляд стенду; б - осцилограма
ударного імпульсу; в - осцилограма тривалості розвантаження
2.4 Короткі висновки по розділу 2
1. Представлені схеми стендів для дослідження липкості,
визначення показників розвантаження матеріалу з ковша і ударних буферів, а
також опису проведення експериментів. При фізичному моделюванні сил липкості
були створені умови відтворюваності результатів дослідів, для чого
модернізовані стенди розтягування-стискування, вібраційний, ударний і створені
установки, що імітують роботу ковша у момент розвантаження. В якості липкого матеріалу
може бути вибраний герметик АП-1, клейкість якого після термічної обробки
близька до липкості глини з вологістю 30%, що не втрачає своїх властивостей в
плині часу проведення дослідів.
3. Приведена методика обробки результатів
експериментальних дослідження. Приведена методика перевірки гіпотези про
нормальність закону розподілу вимірюваних величин по їх розмаху варіювання.
Згідно даній методиці нормальний закон розподілу мав місце в усіх
експериментах.
4. Приведена методика визначення необхідної і достатньої
для цієї точності кількості вимірів із заданою надійністю довірчих оцінок.
Розділ 3. Системний аналіз ударного процесу розвантаження
вологого матеріалу
3.1 Розробка математичної моделі процесу розвантаження
вологої породи
Одна і та ж динамічна система залежно від мети дослідження
може бути представлена різними моделями. Це відноситься і до вибраним для
вивчення технологічним ударним парам 1ТП1 і 1ТП3.
Питання динаміки робочого органу навантажувальних машин
ковшового типу досить широко представлені в літературі [12, 14, 25, 32, 33, 36,
44]. Проте отримані математичні моделі описують розвантаження сухого матеріалу,
причому, як затверджується в [44, 45], за короткий проміжок часу, що відповідає
незначній деформації пружин буфера, робиться розвантаження усього об'єму породи
як компактного тіла. Робота з вологим матеріалом має особливості, основною з
яких являється залежність процесу підлипання від часу. Отже, при ударному
розвантаженні на перший план виходить завдання формування імпульсу із заданими
параметрами.
Інша особливість даної проблеми витікає з першої. Оскільки
необхідно розтягнути імпульс в часі, то ставиться під сумнів припущення про те,
що викид усієї породи відбувається на початковій стадії деформації пружин.
Очевидно, що спочатку з ковша розвантажиться "шапка", а потім основна
і налипла на дні частини породи. Таким чином, шукана модель повинна додатково
показувати закон зміни маси породи в ковші за час розвантаження. Виходячи з
цієї вимоги, доцільно розділити массо-інерційні характеристики стріли з ковшем
і породи, вважаючи перші постійними на усьому тимчасовому інтервалі, а другі -
що змінюються за час розвантаження.
В процесі зближення і зіткнення стріли ковша з буфером можна
виділити чотири етапи:
1. передача зусилля на стрілу шляхом вибору проміжків
тягового ланцюга;
2. підйом робочого органу машини до положення
розвантаження, тобто до торкання з буфером;
3. навантаження пружного елементу буфера до величини F3(Рис.
1.5) або до подолання динамічної жорсткості пружини [34];
4. подальше навантаження пружної ланки до величини
деформації хд.
На кожному етапі в системі виникають або зникають певні
зусилля, тому розрахункові схеми їх і рівняння руху розрізняються. Але вихідні
параметри кожного служать початковими умовами для подальшого етапу. Тому
дослідження процесу розвантаження матеріалу з ковша, яка починаєтся на третьому
етапі, неможливе без урахування перших двох.
На першому етапі виникає робоча ударна пара із-за наявності в
ланцюзі зазорів. Її розрахунок не входить в завдання справжнього дослідження,
тому цей етап потрібний для визначення початкових умов для наступного. Їх можна
визначити з наступних міркувань. До кінця вибору проміжків стріла ще нерухома,
а тяговий барабан вже набрав швидкість, визначувану механічною характеристикою
двигуна і передатним відношенням і ККД приводу.
При розрахунку розвантаження одним з основних параметрів є
швидкість підходу стріли до буфера. Отримати її можна різними способами,
наприклад, графо-аналітичним [25]. Але оскільки для розрахунку ударного
імпульсу потрібно знання закону руху стріли, то доцільно у рамках єдиного
підходу отримати його і на цьому етапі.
Підйомний механізм можна представити системою з двома
ступенями свободи і одностороннім пружним зв'язком (тяговий ланцюг) між ними.
Розрахункова схема приведена на рис. 4.3.
Для складання рівняння руху стріли і приведеної до валу
барабана маси трансмісії підйомного механізму скористаємося загальним рівнянням
динаміки [136]
(4.15)
де
- сума можливих робіт активних сил;
- те ж сил інерції;
-те ж реакцій зв'язків.
Оскільки знаходження аналітичного рішення системи (4.19) не
представляється можливим, її рівняння перетворені до виду, зручного для
численної інтеграції методом Рунге-Кутта. Початкові умови наступні:
для t = 0
=
= 0,
= 0,
= 0.
Рівняння(4.19) описують рух системи до моменту часу, коли
= 90о тобто до того
моменту, коли стріла торкнеться буфера, і почнеться третій етап - гальмування з
одночасним розвантаженням утримуваного ковша.
На цьому і наступному етапах в моделі повинно знайти
відображення зміни маси породи в ковші за час його розвантаження з урахуванням
можливого налипання на його дно і стінки.
Виходячи з вищесказаного, змінимо запропоновану в [22]
розрахункову схему (Рис. 3.4).
Рис. 3.4. Розрахункова схема розвантаження
Допустимо, що стріла з ковшем мають постійні момент інерції
Jс, вагу hc і точку його прикладення, визначувану відстанню hс.
А зміну кількості породи в ковші в процесі розвантаження врахуємо, ввівши
змінну величину Gг(t) при наступних допущеннях:
у момент відриву від ковша вантаж рухається поступально, так
що
аг =
с-hг;
1) швидкість часток, що відділяються від ковша, у момент
відриву рівна швидкості часток, що залишилися, тому реактивною силою можна
знехтувати;
) центр тяжіння вантажу, що залишився в ковші, не
змінює свого положення за час розвантаження, тобто hг = conct.
В порівнянні з попереднім завданням тут в число активних сил
додається пружна реакція буфера Fа. Для уникнення великих динамічних
навантажень на привід, перед початком розвантаження слід відключити двигун
[62], тому вважаємо Мдв = 0. Тоді
3.2 Короткі висновки по розділу 3
. На базі поняття "Ударної пари" показано, що удари
в машинах можуть відбуватися внаслідок технологічної необхідності, робочих
процесів і в аварійних ситуаціях. Кожна ударна пара характеризується своїми
показниками, що визначають ієрархію причинно-наслідкових зв'язків, що дозволяє
чітко збудувати критерії, що характеризують якість машини.
Розділ 4. Особливості роботи машин безперервної дії при
розвантаженні вологого матеріалу (схильного до налипання)
.1 Опис навантажувальних машин безперервної дії. Конструкція.
Класифікація
Стрічкові конвеєри призначені для безперервного
транспортування матеріалу від однієї машини до іншої. Останнім часом для
скорочення виробничих площ окрім звичайних похилих конвеєрів, освоюють
виробництво крутонахилених конвеєрів.
Основними параметрами стрічкових конвеєрів є: ширина стрічки,
довжина, швидкість руху, кут нахилу конвеєра. Ширину стрічки конвеєрів
вибирають в межах 400 - 1200мм. Довжина конвеєра визначається видом натяжного
пристрою. При використанні гвинтового натяжного пристрою довжина конвеєра має
бути не більше 30 м, при вантажному натягненні стрічки - від 30 до 200 м, при
лебідковому - більше 200 м. Швидкість руху стрічки залежить від її ширини і
виду матеріалу, що транспортується, але при транспортуванні матеріалу вниз вона
має бути не більше 1,5 м/с. Максимальні кути нахилу конвеєра для нерудних
матеріалів знаходяться в межах 14... 18°. Граничні кути нахилу конвеєрів,
працюючих під уклон, мають бути на 6...80 менше
Відповідальна операція при монтажі конвеєра - стикування
кінців стрічки. З'єднання (стики) бувають нероз'ємними і роз'ємними. Нероз'ємні
з'єднання виконують встик або внахлест гарячою вулканізацією, клеєнням,
зшиванням сирівцевими ременями. Роз'ємні з'єднання виконують за допомогою
гачків, петель, дужок і планок. У крючкових з'єднаннях гострі кінці гачків
заправляють в кінці стрічок, завдяки чому утворюється ряд петель, які
сполучають за допомогою сталевого стержня або каната. При петлевих з'єднаннях
петлі, закріплені на кінцях стрічки заклепками, сполучають за допомогою
стержнів. Для плоских стрічок довжина петлі має бути менше ширини стрічки.
Конвеєри обладнуються реле контролю швидкості, пробуксовки і обриву
стрічки, облаштовуються контролем сходу стрічки, тросовими вимикачами,
пристроями для очищення стрічки, фотореле.
Контроль розриву, пробуксували стрічки забезпечується
застосуванням реле швидкості з тахогенераторним датчиком. Для контролю сходу
стрічки з балансирів передбачені спеціальні пристрої, що поставляються
комплектно з конвеєром. Контакти вимикачів цих пристроїв включені в схему
управління електроприводом конвеєрів.
Для зупинки в аварійних ситуаціях уздовж конвеєрів є тросові
вимикачі, в хвостовій частині кожного конвеєра - додаткова кнопка
"Стоп". Блокувальні пристрої виключають запуск конвеєрів при знятих
обгороджуваннях приводного і натяжного барабанів, а також не допускають
зворотного ходу стрічки при зупинці конвеєра з вантажем на стрічці.
4.2 Існуючі пристрої для очищення стрічки конвеєра
Очисні пристрої. Очищення стрічки від налиплого, або
примерзшого вантажу, має важливе значення для забезпечення нормальної
експлуатації конвеєра і підвищення терміну служби стрічки. До засобів очищення
стрічки пред'являються вимоги не лише повноти очищення, але і збереження
стрічки, забезпеченням тривалих термінів роботи самих пристроїв без великого
зносу і забруднення, простоти і надійності конструкції. Очищення від сипких і
нелипких матеріалів (вугілля, пісок) здійснюється відносно легко. Істотні
утруднення являє собою очищення від вологих сильноналипаючих вантажів
(суглинок, глина) і намерзаючих вантажів в зимовий період.
Для очищення вантажонесучих поверхонь стрічки при сухих і
вологих, але не липких вантажах застосовують одинарні або подвійні шкребки
(рис.1, а); при вологих і липких - щітки (рис 4.1, б), що обертаються, або
барабани з лопатями, що обертаються.
а б
Рис 4.1. Очисні пристрої: а - очисний шкребок; б -обертаюча
щітка
Робочі елементи шкребків і щіток виконують зі зносостійкої
гуми, пластмаси, капронових ниток. Очисні пристрої встановлюють у кінцевих
барабанів, вантаж, що зчищається, падає у воронку. Застосовують гідроочищення
стрічки при забезпеченні її просушування. Для очищення внутрішньої поверхні
стрічки на кінцевому барабані встановлюють плужковий очисник.
Поверхня нефутерованих барабанів і окремих роликів зворотної
гілки очищається сталевими шкребками. Розташування очисного пристрою має бути
таким, щоб вантаж, що прилипнув до стрічки, скидався в розвантажувальну коробку
або окремий приймач. Робочі елементи шкребкових очисних пристроїв
виготовляються металевими, зі зносостійкої гуми або пластмаси, закріплюють в
шарнірній рамі, притискання до стрічки здійснюється вантажем або пружиною за
допомогою важеля. Для підвищення терміну служби шкребків їх виконують
подвійними. Перший по ходу стрічки шкребок встановлюють з великим проміжком від
поверхні стрічки. Спочатку відбувається видалення основного шару матеріалу
першим, а потім тонше очищення іншим.
Щітки, що обертаються, приводяться в рух від індивідуального
приводу або від приводного барабана конвеєра через прискорюючу передачу. Щітки
виготовляють з еластичними ребрами (лопатями), розташованими паралельно осі або
по гвинтовій лінії. Ребра армуються гумовими смугами з пружних синтетичних
матеріалів або набираються з пучків капронових ниток.
Для слабоналипающих вантажів використовують вібраційні очисні
пристрої. Гідравлічні очисні пристрої працюють за принципом механічного
відділення прилиплих часток вантажу напірним струменем води. Вони мають просту
конструкцію, але вимагають обладнанням додаткового устаткування для подання
води і відведення пульпи, гідроочищення (гідрозмив) застосовують при забезпеченні
просушування стрічки.
.2.1 Опис існуючого пристрою для очищення стрічки конвеєра
Конструкція відноситься до стрічкових конвеєрів для
транспортуванні сильно налипаючих насипних вантажів. Стрічковий конвеєр містить
вантажонесущу і натяжну гілки стрічки, головний барабан, роликоопори для
вантажонесущої і натяжної гілок стрічки, замкнутих у вертикальній площині на
двох зірочках, контур з двох пластинчатих ланцюгів з укріпленими на них
шкребками, з можливістю взаємодії шкребків з робочою поверхнею вільної гілки
стрічки, що збігає з головного барабана, а також жолоб. Шкребки верхньої гілки
контура спираються на жолоб з можливістю руху верхньої гілки контура убік,
протилежний до напряму руху вільної гілки стрічки конвеєра. Борти жолоба
відбортовані у бік стрічки і встановлені з проміжками по відношенню до неї.
Головний барабан конвеєра виконаний приводним з двома барабанами, що
відхиляють. Зірочка, розміщена під приводним барабаном конвеєра, кінематично
пов'язана з циліндричною щіткою з можливістю обертання щітки і її взаємодії з
шкребками. Перевагою конструкції є підвищення ефективності очищення стрічки при
транспортуванні стрічковим конвеєром сильно налипаючих сипких вантажів при
розташуванні приводного барабана з барабаном, що відхиляє, в головній частині конвеєра,
а також використання в конструкції оригінальних опорних роликів, та інших
пристоїв і обладнання.
Рис 4.2 Стрічковий конвеєр з пристроєм для очищення стрічки
Проте недоліками відомого технічного рішення є незадовільне
очищення стрічки при транспортуванні конвеєром сильно налипаючих насипних
вантажів із-за обмеженого числа взаємодій забрудненої робочої поверхні стрічки
з скребками, незначна величина нормального тиску стрічки на шкрябання із-за
малого вільного прольоту стрічки, обмежена відстанню між головним барабаном і
першою роликоопорой на вільній гілці стрічки, забруднення самих скребків що
зчищається з робочої поверхні стрічки липкий матеріалом, який знижує
ефективність очищення стрічка, а також неможливість застосування пристрій для
очищення стрічка у тому випадку, коли головний барабан є приводний у поєднанні
з відхиляє барабан.
Стрічковий конвеєр з пристроєм для очищення стрічки ( рис 4.2
) містить грузонесущую 1 і вільну 2 гілки стрічки, головний барабан 3,
роликоопори 4 і 5 для вантажонесучої 1 і вільної 2 гілок стрічки. Під вільною
гілкою 2 стрічки розміщений замкнутий у вертикальній площині на двох зірочках 6
і 7 контур з двох пластинчатих це з можливістю взаємодії скребків 10 з робочою
поверхнею що збігає з головного барабана 3 вільної гілки 2 стрічки. Верхня і
нижня гілці контура спираються на жолоби 11 і 12. При цьому кромка нижнього
жолоба 12 розміщена над розвантажувальною воронкою 13. Одна із зірочок,
наприклад 6, забезпечена приводом (не показаний) з можливістю руху верхньої
гілки контура у напрямі 14, убік, протилежну до напряму 15 рухів вільної гілки
2 стрічки конвеєра. Борти 16 і 17 жолобів 11 для верхньої гілки контура
відбортовані у бік стрічки 2 і встановлені з проміжками по відношенню до неї з
можливістю взаємодії стрічки 2 з відбортованними кромками 18 і 19 бортів 16 і
17. Головний барабан 3 конвеєра виконаний приводним з барабаном, що відхиляє,
20 і додатковим барабаном, що відхиляє, 21, розміщеним між вантажонесучою 1 і
вільною 2 гілками стрічки і з можливістю взаємодії з ними. Жолоби 11 і 12 для
верхньої і нижньої гілок контура виконані з перегином і розташуванням похилої
ділянки з мінімальними проміжками під головним приводним 3 і що відхиляє 20
барабанами, а зірочка 7, розміщена під приводним барабаном 3 конвеєри,
кінематично (22) пов'язана з циліндричною щіткою 23 при передатному відношенні
менше одиниці з можливістю обертання щітки 23 і її взаємодії з шкрябаннями 10.
Стрічковий конвеєр з пристроєм для очищення стрічки (Рис 4.3)
діє таким чином.
Рис 4.3 Пристрій для очищення стрічки
При включенні приводного барабана 3 тягове зусилля
передається стрічці, вантажонесуча гілка 1 якою забезпечує переміщення
насипного вантажу і його розвантаження через приводний барабан 3. Що збігає з
барабана, що відхиляє, 20 і додаткового барабана, , 21 вільна гілка 2 стрічки,
забруднена частками вантажу, що транспортується, далі ковзає по скребках 10
верхній гілці контура, утвореними пластинчатими ланцюгами 8 і 9, які від
приводної зірочки 6 рухаються з малою швидкістю в зустрічному напрямі 14 по
відношенню до напряму 15 рухів вільної гілки 2 стрічки. При взаємодії робочих
поверхонь відбувається очищення стрічки 2. Продукти очищення стрічки скребками
10 по жолобу 11 верхній гілці контура переміщаються у бік зірочки 7 і через неї
розвантажуються в розвантажувальну воронку 13 конвеєра. При цьому кожен скребок
10, що огинає зірочку 7, безперервно очищається щіткою 23, одержуючою обертання
за допомогою ланцюгової передачі 22 від зірочки 7. Ефективне очищення стрічки 2
забезпечується за рахунок значної довжини ланцюгового контура і великої
кількості елементарних взаємодій забрудненої поверхні стрічки 2 з шкрябаннями
10, а також їх безперервного очищення за допомогою щітки 23. На жолоб 11
верхній гілці контура поступає також просип, що утворюється при обгинанні
вільною гілкою 2 стрічки барабана 20 і додаткового барабана, що відхиляє, 21.
4.3 Комплекс модернізованих землерийних машин для
капітального ремонту магістральних трубопроводів
Призначення комплексу
Комплекс призначено для виконання земляних робіт під час
капітального ремонту нафто - і газопроводів, а також для виконання
ремонтно-відновлювальних робіт після аварій на трубопровідному транспорті.
Використання комплексу машин дозволяє виконувати ремонтні роботи без підйому
труби з ґрунтового ложа та запобігти просіданню трубопроводу щодо лінії
вихідного залягання після ремонту, а наявність в комплекті поставки засобів
перевезення машин дозволяє оперативно перебазовувати комплекс (або окремі
машини) на значні відстані. Темп виконання робіт під час ремонту трубопроводів
- до 100 пог.м/год.
Кожну з машин комплексу можна використовувати в складі колони
з капітального ремонту трубопроводів індивідуально, реалізуючи її функціональне
дризначення, якщо інший обсяг земляних робіт виконують з допомогою інших машин.
Організація роботи машин комплексу
Приблизну схему виконання робіт за технологією без підйому
трубопроводу подано на рисунку 4.4.
Рис 4.4 Технологічна схема роботи колони машин під час
ремонту трубопроводу
Перед розкриттям трубопроводу машина пошарової розробки
ґрунту (МПРГ- 2), рухаючись уздовж осі трубопроводу, знімає родючий шар ґрунту
і складає його в окремий бруствер, збоку від утвореної виїмки, не перемішуючи
його з мінеральним ґрунтом. При цьому над трубою залишається до 40 см не
розробленого ґрунту.
У процесі роботи знімають і поперечні нахили рельєфу
місцевості над трубою, що створює оптимальні умови для виконання наступних
робіт. При цьому, на відміну від традиційного методу - зняття родючого шару
ґрунту бульдозером - виключається переміщення машини поперек трубопроводу, а
продуктивність виконання робіт збільшується в 5-7 разів (переміщення машин
поперектрубопроводу заборонено нормативними документами).
Після машини пошарової розробки ґрунту використовують машину
для розкриття трубопроводів (МВТ-2М). Використовуючи електронний контроль
максимального відхилення робочого органа, що не перевищує ±50 мм від осі труби,
машина забезпечує остаточне розкриття трубопроводу зверху і з обох боків,
створюючи при цьому оптимальні умови для роботи підкопувальної машини. З пульта
керування, розташованого в кабіні механіка-водія, із необхідною точністю
задають основні параметри робочого процесу, що унеможливлює пошкодження труби
під час розкриття, тоді як під час традиційного розкопування трубопроводів
одноківшовим екскаватором пошкодження труби цілком імовірне.
Під час роботи машини МВТ-2М обсяг ґрунту, що розробляється в
забої, зменшується на 35-45%, продуктивність збільшується в 5-6 разів у
порівнянні з розкриттям трубопроводу одноківшовими екскаваторами.
Слідом за машиною для розкриття трубопроводів використовують
роторну підкопувальну машину (МПР-1М). Її конструкція забезпечує автономне
заглиблення і розробку ґрунту під трубопроводом. У процесі роботи вона повністю
розкриває трубопровід по периметру, забезпечує наступне вільне проходження
очисної та ізоляційної машин. Наявність спеціальної перемички, яка захищає
трубу, усуває можливість пошкодження тіла труби зубами фрез. Після закінчення
ремонтних робіт спеціальна машина МП-М засипає ґрунт під корпус труби і
здійснює його ущільнення, запобігаючи у такий спосіб просіданню
відремонтованого трубопроводу. При цьому автоматично забезпечується
позиціювання і контроль робочого положення механізмів засипання й ущільнення
ґрунту щодо осі трубопроводу, а також задається величина та рівномірність
ущільнення.
Експлуатаційна продуктивність колони, оснащеної такою
технікою, під час ремонту трубопроводів діаметром 720 мм складає до 100
пог.м/год, що в 5-7 разів перевищує продуктивність роботи традиційним способом.
На рівнинній місцевості швидкість виконання капітального
ремонту трубопроводів може бути істотно вище. До того ж, необхідно враховувати,
що всі роботи тривають без звільнення трубопроводу від нафти або
нафтопродуктів, а за потреби і без зупинки перекачування нафти споживачам.
Головна перевага запропонованої технології і техніки полягає
в тому, що під час переміщення всіх машин ремонтної колони, розташованих на
визначеній відстані одна від одної (враховуючи очисну й ізоляційну) вздовж
трубопроводу, забезпечується виконання ремонтних робіт із мінімальною (в межах
допуску) зміною напруженого стану труби. При цьому не потрібно піднімати
ремонтовану трубу, оснащувати ремонтні колони вартісними трубоукладальниками
або іншою технікою, що значно підвищує безпеку виконання ремонтних робіт. До
тогож, один чи два трубоукладачі можна використовувати як стахувальні, що
дозволить збільшити довжину відкритої ділянки трубопроводу.
Перевезення машин здійснюється великовантажними
автомобільними їрейлерами, які можуть входити до комплекту поставки.
Склад машин комплексу
Машина пошарової розробки (рекультивації) ґрунту (МПРГ-2)
Машину МПРГ-2 призначено для пошарової розробки
(рекультивації) ґрунтів 1-4 категорій, а також мерзлих ґрунтів. Вона може виконувати
роботи за температури від мінус 20 до плюс 40°С. Машина забезпечує:
· розробку виїмок на подовжніх ухилах
до 15° і поперечних - до 12°;
· евакуацію ґрунту в бруствер у правий
або лівий бік від подовжньої осі виїмки;
· розробку траншеї над трубопроводом
діаметром 530... 1420 мм симетрично щодо його подовжньої осі з похибкою ± 50
мм;
· розробку траншеї над трубопроводом із
радіусом його кривизни в плані не менше 60 діаметрів труби;
· контроль положення шасі машини і
робочого органа у вертикальній і горизонтальній площинах незалежно від
поперечного ухилу місцевості.
Машину можна використовувати для зняття як родючого, так
потім і мінерального шару ґрунту над трубопроводом під час виконання робіт із
його капітального ремонту.
Машину обладнано системою орієнтації, контролю та
автоматичного керування з можливістю повного автоматичного керування машиною з
пріоритетом механіка-водія.
Керування машиною здійснюється машиністом із кабіни шасі й
оператором із виносного пульта, між якими є радіозв'язок. Машина не має
світових аналогів.
Машина може поставлятися з великовантажним автомобільним
трейлером, який забезпечує оперативне перебазування машини.
Таблиця 4.1
|
Найбільша глибина
копанния, м, за один прохід:
|
|
у не мерзлих ґрунтах
у мерзлих ґрунтах
|
0,8 0,4
|
|
Ширина
розроблювальної виїмки, м
|
3,2...5 ,2
|
|
Технічна
продуктивність, пог. м/год:
|
|
у не мерзлих
ґрунтах у залежності від ґрунтових умов і категорії міцності ґрунту за
глибини копання до 0,8 м у мерзлих ґрунтах за глибини копання до 0,4 м
|
80... 200 до 50
|
|
Похибка
автоматичної підтримки заданої глибини копання, мм, не більше
|
100
|
|
Похибка
автоматичної підтримки заданого поперечного ухилу дна траншеї від
горизонтальної площини, градус, не більше
|
1,5
|
|
Потужність двигуна
шасі, кВт
|
364
|
|
Середній тиск на
ґрунт у робочому положенні, МПа, не більше
|
0,07
|
|
Транспортна
швидкість, км/год, не менше
|
4,2
|
|
Габарити, мм, не
більше:
|
|
у транспортному
положенні довжина 13000 висота 3100 ширина 3350 робочому положенні довжина
13000 висота 3100 ширина 8300
|
|
Маса машини та ЗІП,
т, не більше
|
44
|
Машина розкриття трубопроводів (МВТ-2М)
Машину МВТ-2М призначено для розкриття трубопроводів
діаметром від 720 до 1420 мм у ґрунтах І-ІУ категорій. Вона може виконувати
роботи за температури від мінус 20 до плюс 40°С. Машина забезпечує:
зняття шару ґрунту в межах до 0,4 м зверху трубопроводу і
риття траншей з обох боків від нього на відстані не менше 150 мм з утворенням
приямків щодо нижньої твірної труби;
евакуацію ґрунту в бруствер у лівий від трубопроводу бік по
ходу руху машини;
контроль положення шасі машини і її робочого органа в
горизонтальній і вертикальній площині щодо трубопроводу ;
автоматичне керування положенням робочого органа у
вертикальній і горизонтальній площинах.
Машина може працювати на подовжніх ухилах трубопроводів до 15
градусів і забезпечує розкриття трубопроводів із радіусом кривизни в плані не
менше 60 діаметрів труби.
Машину обладнано системою орієнтації, контролю та
автоматичного керування з можливістю повного автоматичного керування машиною з
пріоритетом механіка-водія.
Керування машиною здійснює машиніст із кабіни шасі й оператор
з виносного пульта, між якими є радіозв'язок.
Машина не має світових аналогів.
Машина може поставлятися з великовантажним автомобільним
трейлером, який забезпечує оперативне перебазування машини.
Таблиця 4.2
|
Технічна
продуктивність, пог. м/год:
|
|
- під час розкриття
трубопроводів у залежності від ґрунтових умов, категорії міцності ґрунту і
діаметра трубопроводу
|
40-120
|
|
Профіль траншей:
|
|
ширина по верху, м
ширина по дну, м глибина, м
|
3,35...4,45
1,43...3,02 до 3,69
|
|
Похибка
автоматичного контролю положення шасі щодо осі трубопроводу в горизонтальній
і вертикальній площині, мм, не більше
|
50
|
|
Потужність двигуна
шасі, кВт
|
364
|
|
Тиск на ґрунт у
робочому положенні, МПа, не більше
|
0,07
|
|
Трансцрртна
швидкість, км/год, не менше
|
4,2
|
|
Габарити, мм, не
більше:
|
|
у транспортному
положенні у робочому положенні
|
довжина 15950
|
висота 3100 ширина
3350
|
|
довжина mах 15950
|
ширина з конвеєром
mах 8090
|
|
Маса машини та ЗІП,
т, не більше
|
56
|
|
|
|
|
Машина підкопувальна роторна (МПР-М, МПР-1М)
Машину підкопувальну роторну МПР-М призначено для
механізованого видалення ґрунту з-під трубопроводів у немерзлих ґрунтах 1-4
категорій під час ремонту магістральних трубопроводів діаметром від 530 до 1220
мм за технологією без підйому труби. Вона може виконувати роботи за температури
від мінус 20 до плюс 40°С.
Конструкція машини забезпечує її встановлення на трубопровід
і зняття з нього без демонтажу, а також механізований процес заглиблення
робочого органа під трубопровід. Машина має дві модифікації за типорозмірами
трубопроводів:
тип - для трубопроводів діаметром 530, 630, 720 і 820 мм
(МПР-М),
тип - для трубопроводів діаметром 1020 і 1220 мм (МПР-1М).
Машина може працювати на подовжніх ухилах трубопроводів до 15
градусів і
підкопувати трубопроводи, що мають радіус кривизни в плані не
менше 60 діаметрів труби.
Розробку ґрунту під трубопроводом і транспортування його в
приямки забезпечують два роторні робочі органи шнеко-фрезерного типу.
Живлення машини здійснюється від зовнішнього джерела
електроенергії (пересувна електростанція) напругою 380 В, частотою 50 Гц,
потужністю не менше 75 кВт. Електростанція може поставлятися в комплекті з
машинами.
Керування машиною здійснюється одним оператором із виносного
пульта.
Таблиця 4.3
|
Глибина
підкопування, м, не менше
|
0,6...0,8
|
|
Ширина підкопу, м
|
до 1,7
|
|
Технічна
продуктивність, пог. м/год:
|
|
у залежності від
ґрунтових умов, категорії міцності ґрунту і діаметра трубопроводу
|
|
Споживана
потужність, кВт, не більше
|
75
|
|
Габарити, мм, не
більше:
|
|
під час
транспортування (на підставці) довжина 3250 ширина 3100 висота 3340 у
робочому положенні довжина 3200 ширина 3300 висота 3200
|
|
Маса, т, не більше
|
МПР-М
|
4,1
|
|
МПР-1М
|
5
|
Машина не має світових аналогів.
Машина поставляється на транспортній підставці для
перевезення машини вантажівкою.
Машина для засипання та підбивання ґрунту під трубопроводом
(МП-М)
Машину призначено для забору, подрібнення мінерального ґрунту
з відсипаного під час розкриття трубопроводу відвала та подальшого дозованого
засипання його під трубопроводи 0530... 1420мм і рівномірного підбивання ґрунту
під трубопровід із метою запобігання просідання трубопроводу під час його експлуатації.
Ця операція виконується за один прохід машини вздовж
трубопроводу.
Ступінь ущільнення ґрунту ПІД Трубопроводом ДО 0,96 СТв.
При другому проході машини по відвалу мінерального ґрунту
забезпечується повна засипка відремонтованого трубопровода подрібненим ґрунтом.
Попадання великих брил ґрунту, каменів, інших інородних предметів на турбу не
можливе.
Технічна продуктивність машини під час виконання робіт із
капітального або вибіркового ремонту магістральних трубопроводів - 100...
150пог.м/год у залежності від діаметра трубопроводу.
Машину можна використовуватися за її функціональним
призначенням за глибини залягання верхньої твірної трубопроводу щодо денної
поверхні ґрунту до 2,2м і горизонтальній кривизні трубопроводу до 60 діаметрів
труби. Машина МП-М забезпечує рівномірну дозовану підсипку подрібненого ґрунту
під трубопровід з обох його боків з наступним ущільненням, запобігаючи при
цьому пошкодженню ізоляційного покриття труби. Вона може працювати в складі
комплексу машин, а також індивідуально, у разі розкриття трубопроводу
одноківшовим екскаватором.
Під час виконання ремонтних робіт машину можна розташовувати
з одного або іншого боку розкритого трубопроводу.
Автоматично забезпечується контроль положення шасі машини,
обладнання для підсипання та ущільнення ґрунту щодо подовжньої осі
трубопроводу, а також автоматичне керування положенням робочого устаткування
машини щодо трубопроводу під час ущільнення ґрунту.
Може працювати на подовжніх ухилах трубопроводу до 15°С.
Керування машиною здійснює машиніст із кабіни шасі й оператор
з виносного пульта, між якими є радіозв'язок.
Машину обладнано системою орієнтації, контролю та
автоматичного керування з можливістю повного автоматичного керування машиною з
пріоритетом механіка-водія.
Світових аналогів не має.
Машина може поставлятися з великовантажним автомобільним
трейлером, який забезпечує оперативне перебазування машини.
Таблиця 4.4
|
Технічна продуктивність,
пог. м/год
|
|
- у залежності від
діаметра трубопроводу
|
90. .150
|
|
Тиск на ґрунт,
реалізований механізмом підбивання, МПа, не менше
|
0,18
|
|
Вертикальна
складова сили на обладнання для ущільнення ґрунту, кН, не більше
|
90
|
|
Частота
отбискування ґрунту лопатями, хв_1
|
4...6
|
|
Система орієнтації,
контролю й керування:
|
|
похибка контролю
положення шасі щодо осі трубопроводу в горизонтальній площині, мм, не більше
похибка автоматичного підтримування робочого органа підбивання щодо осі
трубопроводу в горизонтальній і вертикальній площині, мм, не більше похибка
автоматичного підтримування робочого органа підбивання щодо горизонтальної
площини, градус, не більше похибка автоматичного підтримування заданого кроку
підбивання, мм, не більше похибка контролю подоланої машиною відстані, %, не
більше
|
100 50 2 20 2
|
|
Потужність двигуна
шасі, кВт
|
364
|
|
Тиск опорної
поверхні на ґрунт, МПа: внутрішньої гусениці зовнішньої гусениці
|
0,02...0...0Д0
0,04...0,09
|
|
Транспортна
швидкість, км/час, максимальна
|
4,2
|
|
Габарити, мм, не більше:
|
|
у транспортному у
робочому положенні
|
довжина 16070
довжина 11650
|
Висота 4500 висота
5150
|
ширина 4300 ширина
10150
|
|
Маса машини та ЗІП,
т, не більше
|
49
|
|
|
|
|
|
4.4 Технологічна пропозиція по підвищенню ефективності
роботи конвеєрів
В якості евакуаторів розробленого ґрунту машинами МВТ-2М та
машиною МПМ використовується стрічковий конвеєр (дод. 1) при цьому конвеєр
машини МВТ-2М є криволінійним , а конвеєр машини МПМ - двосекційний з
можливістю зміни кута нахилу до горизонту консольної секції конвеєра. Конвеєри
мають ще одну спільну особливість, суть якої заключається в наступному:
приводним барабаном не являється барабан встановлений на завантажувальній
консолі конвеєра. Узвязку з цим барабан завантажувальної консолі конвеєра
оснащенно додатковими притискними роликами, наявність яких забезпечує щільність
прилягання стрічки конвеєра до поверхні приводного барабану, чим забезпечує
реалізацію необхідного тягового зусилля стрічки , але це можливо лише в умовах,
якісної очистки від налиплого матеріалу поверхні стрічки, що прилягає до
поверхні барабану.
Установка на конвеєр традиційних «загумованих» упорних
роликів та очисного ножа не мають необхідного ефекту при роботі в
перезволожених глинистих ґрунтах. Причина наявності очисти поверхні стрічки,
поступове збільшення кількості налиплого матеріалу, що призводить в кінцевому
результаті до сповзання стрічки конвеєра з поверхні барабану та навіть до
розриву конвеєрної стрічки.
В магістерській роботі пропонується заміна обгумованих
упорних роликів на ресорні упорні ролики, несуча поверхня яких утворенна з
дроту діаметром 8-10 мм. навитого по гвинтовій лінії. На роликах, що утворюють
опорну пару для стрічки конвеєра напрям навивки дроту протилежний. Маточина
кожного ролика являє собою циліндричну вісь, діаметр якої на порядок менше
діаметра ролика. На кінціх вісі встановлені жорстко, до поверхні яких
приварюються кінці навитого по гвинтовій лінії дроту. Ці ж маточини мають
підшипники, опори для встановлення роликів в спеціальних тримачах. Така
конструкція роликів при переміщенні по них стрічки з вантажем забезпечує
постійне коливання стрічки в вертикальній площинні по випадковому законі. Це
перешкоджає налипанню ґрунту на поверхні стрічки, а обертання ролика з
гвинтовими поверхнями відносно поверхні конвеєрної стрічки забезпечує очистку
стрічки від залишків налиплого матеріалу, іншими словами, ролики працюють, як
очищувальні елементи конвеєрної стрічки.
Розділ 5. Охрона праці та безпека в надзвичайних
ситуаціях
5.1 Порядок розробки правил з охорони праці та пожежної безпеки
під час виконання випробувань і проведення досліджень
Призначення правил та вимоги до них
Необхідною умовою запобігання травмам повинна стати розробка
спеціальних заходів на основі глибокого аналізу стану охорони праці, що
характеризується наявністю на випробувальних стендах небезпечних факторів,
умов, при яких вони можуть діяти на людей, а також можливими небезпечними діями
них самих в конкретних умовах. Це дозволить об'єктивно оцінити можливі
негативні наслідки, вжити невідкладних заходів щодо їх запобігання.
Призначення інструкцій з охорони праці полягає в тому, щоб
вказати досліднику в якому порядку необхідно виконувати технологічні операції
та інші дії, встановлені нормативних документах з охорони праці, спеціальних
правилах, нормах і інструкціях, затверджених державними органами. Розроблені
інструкції допоможуть при проведенні інструктажів звернути увагу на небезпечні
фактори, правильні прийоми випробувань при застосуванні різних технологічних
засобів, машин, механізмів, інструменту, правильне користування захисними
засобами та інші питання, від яких залежить безпека праці на даному
випробувальному стенді.
Інструкція з охорони праці є нормативним документом, який
встановлює вимоги безпеки при виконанні робіт у лабораторіях, на території
підприємства, на будівельних майданчиках.
Інструкції повинні включати тільки ті вимоги, які стосуються
безпеки праці.
Рекомендації щодо розробки правил з охорони праці
Інструкції розробляються на основі типових інструкцій, правил
безпеки, викладених в експлуатаційній і рекомендованій документації
заводів-виготовлювачів стендів, яке використовується, а також на основі
технологічної документації з врахуванням конкретних умов дослідження.
Підготовча робота щодо розробки правил техніки безпеки
передбачає:
1. вивчення випробувального процесу, виявлення можливих
небезпечних та шкідливих виробничих факторів, які виникають при нормальному
його перебігу і при відхиленнях від оптимального режиму, визначення заходів і
засобів захисту від них;
2. визначення відповідності обладнання, пристосувань і
інструментів до вимог безпеки;
3. вивчення матеріалів, які можуть бути використані при
розробці інструкцій (нормативні документи, технічна література, навчальні
посібники та ін.);
4. вивчення конструктивних особливостей і ефективності засобів
захисту, які можуть бути використані при виконанні відповідних робіт;
5. визначення безпечних методів і прийомів дослідження,
їх послідовність;
6. врахування технічних і організаційних вимог.
Для введення в дію нових випробувань допускається розробка
типових інструкцій. Типові інструкції повинні забезпечувати безпечне ведення
робіт і безпечну експлуатацію стендів.
Схема та зміст інструкції
Кожній інструкції повинен бути присвоєний номер.
Інструкція повинна вміщувати такі розділи:
1. Загальні вимоги безпеки.
2. Вимоги безпеки перед початком досліджень.
3. Вимоги безпеки під час досліджень.
4. Вимоги безпеки в небезпечних ситуаціях.
5. Вимоги безпеки після закінчення досліджень.
При необхідності в інструкцію можна включати додаткові
розділи.
Текст інструкції повинен бути коротким, чітким і не допускати
різного тлумачення.
Інструкція не повинна мати посилань на будь-які нормативні
документи, крім посилань на інші інструкції. Вимоги згаданих нормативних
документів повинні бути враховані тими, хто розробляє інструкцію.
Терміни, застосовані в інструкціях, повинні відповідати
термінології, викладеній у законодавчих актах і стандартах.
При застосуванні термінів, які не установлені в згаданих
документах, у тексті інструкції, необхідне їх визначення або пояснення до них.
Вимоги техніки безпеки при роботі (проведені випробувань)
. Перш ніж приступати до роботи, треба надіти спецодяг,
перевірити технічний стан машини, справність систем сигналізації та
електроосвітлення, наявність і справність потрібних інструментів. На тракторних
навантажувачах з канатно-блоковим управлінням слід перевіряти стан канатів і
безвідмовність автоматичної дії гальма, безреверсив-ного приводу, а на
навантажувачах з гідравлічним управлінням перевіряють стан гідросистеми,
надійність з'єднання трубопроводів і кріплення циліндрів. У разі виявлення
несправностей робота на машині недопустима.
. Перед пуском двигуна слід перевірити рівень мастила в
картерах основного і пускового двигунів, заправлення паливом і водою.
Тракторний навантажувач повинен бути загальмований, важіль муфти зчеплення -
вимикнений, а важіль перемикання передач - в нейтральному положенні.
. Для полегшення запуску двигуна в зимовий період в системі
охолодження слід використовувати рідини з низькою температурою замерзання
(антифриз).
. Заправлення системи охолодження двигуна навантажувача слід
проводити тільки за допомогою спеціально призначеного для цієї цілі посуду
(відра з носиком, бачка, лійки). Заправний посуд повинен бути очищений від
твердих осадів, налетів та іржі, промитий луженим розчином і пропарений.
Заправний посуд повинен мати надпис «Тільки для антифризу».
При заправленні антифризом необхідно вжити заходів, які
виключають попадання в нього нафтопродуктів (бензину, дизельного палива, масла
тощо), оскільки вони під час роботи двигуна призводять до спінення антифризу.
. Заливати антифриз в систему охолодження без розширювального
бачка слід не до горловини радіатора, а на 10% менше об'єму системи
охолодження, тому що під час роботи двигуна (при нагріванні) антифриз розширюється
більше води, що може призвести до його витікання.
Переливання антифризу за допомогою шлангу шляхом
засмоктування його ротом забороняється.
Після роботи з антифризом слід старанно вимити руки водою з
милом.
. Щоб не допустити опіків парою або гарячою водою
(антифризом), що викидається з радіатора при перегріві двигуна, кришку
радіатора необхідно знімати в рукавицях, стоячи з навітряного боку.
. Забороняється користуватись відкритим вогнем для полегшення
пуску двигуна в холодну пору року. В радіатор слід заливати гарячу воду, а в
картер - підігріте масло.
. Забороняються роботи на навантажувачі, у якому є пристрій
ручного запуску двигуна, за допомогою пускового шнура. Це відноситься до старих
моделей тракторних навантажувачів, які повинні бути обладнані електростартерним
запуском двигуна.
. При пуску двигуна пусковим держаком його необхідно брати
правою рукою так, щоб пальці руки були по один бік ручки. Обертати держак
вкругову забороняється.
. Площадка, на якій працює навантажувач, має бути обгороджена
і обладнана знаками безпеки за ГОСТ 12.4.026-76. При виконанні робіт на дорогах
з відкритим рухом місце проведення робіт повинне бути обгороджене і встановлені
відповідні дорожні знаки.
. Машиніст повинен ознайомитися із фронтом робіт і
технологією робочого процесу, перевірити справність обгороджень і наявність
попереджувальних знаків, а також ознайомитися з рельєфом та особливостями
площадки для вантажних робіт, яка має бути спланована без ям, горбів і мати
схил не більше як 8°.
. Робоча площадка і місце роботи лопати в нічний час повинні
бути достатньо освітлені (крім світла фар). Забороняється робота на лопаті без
передніх і задніх фар.
. Забороняються робота з несправним або погано чутним
звуковим сигналом, експлуатація механізму в нічний час з несправною світловою
сигналізацією.
. При виході машиніста навантажувача з кабіни для огляду,
мащення, очищення, регулювання вузлів і механізмів, двигуна, лебідки і
гідроциліндрів ківш обов'язково має бути опущений на землю, а приводний вал -
вимкнений.
Категорично забороняється машиністу навантажувача входити в
кабіну, а також виходити з неї при піднятому ковші.
. Для забезпечення видимості в зимовий час шибки кабін слід
протирати сумішшю солі з гліцерином.
. На машині повинні бути такі написи:
.1. На напрямних брусах: «Не стій під ковшем».
.2. На стінках кабіни, всередині: «Під час роботи відкривати
дверці і висуватись забороняється», «Перед виходом з кабіни опусти ківш на
землю і вимкни привідний вал».
Вимоги техніки безпеки під час роботи (проведені випробувань)
. Під час роботи машиніст навантажувача повинен бути в кабіні
й уважно стежити за робочими органами та робочою площадкою. При русі ківш не
повинен обмежувати огляд площадки. Не допускається перебування в кабіні
сторонньої особи.
. При експлуатації навантажувача забороняється:
.1. Працювати на навантажувачі з відкритими або знятими
дверцями кабіни.
.2. Виїжджати до місця роботи на несправному навантажувачі
або з несправним навантажувальним обладнанням.
.3. Залишати без нагляду машину з працюючим двигуном.
.4. Піднімати вантаж, маса якого перевищує зазначену в
технічній характеристиці навантажувача.
.5. Наповнювати ківш з розгону.
. Машиніст навантажувача повинен уважно стежити за рухом
ковша, а також за показаннями контрольно-вимірювальних приладів, нормальним
режимом роботи двигуна та справною роботою механізмів управління, робочим
обладнанням.
. Забороняється з вантажем у ковші розвертатись або
переїжджати через будь-які перешкоди, бо може перекинутись машина. Висота
підняття ковша з вантажем при пересуванні на площадці повинна забезпечувати
стійке положення машини.
. Якщо необхідно оглянути ківш навантажувача знизу, його слід
спочатку опустити на спеціальні підставки. Забороняється перебувати під
піднятим робочим органом навантажувача, який тримає канат або гідравлічний
механізм.
. При навантаженні треба стежити за тим, щоб не захопити
ковшем великі, негабаритні камені або мерзлі грудки матеріалу, які, випадаючи з
ковша в кузов автомобіля, можуть пошкодити його й ускладнити умови
розвантаження самоскида. Якщо такий вантаж опинився в ковші, його слід
вивантажити осторонь для подальшої переробки.
. При канатно-блоковому управлінні необхідно не рідше ніж
один раз на п'ять днів оглядати троси. Якщо на довжині одного кроку звивки буде
виявлено 10% обривів дротин від загального їх числа, трос бракується. Працювати
з тросом треба в рукавицях.
. Не допускаються перегрівання барабана лебідки, стрічок
гальма і фрикціонів, а також робота лебідки без захисного кожуха.
. Забороняється розпасовувати трос, що заклинився між блоками,
при піднятому ковші.
. При потребі виконати натягання тросів і спрямувати їх по
канавках барабана лебідки навантажувача роботу слід виконувати при опущеному
ковші, вимкненому валі відбору потужності шляхом прокручування вала редуктора
лебідки вручну заводним держаком трактора.
При прокручуванні барабанів лебідки вручну необхідно надійно
тримати держак, не випускаючи його з рук. Цю роботу слід виконувати машиністу
навантажувача і його помічнику. Один з них має бути в кабіні, а другий - біля
держака. Забороняється залучати до цієї роботи сторонніх осіб.
. На машинах з гідроуправлінням:
.1. Запобіжний клапан гідросистеми повинен бути опломбований
механіком після його перевірки манометром на максимально допустимий тиск.
.2. Необхідно стежити за справністю шлангів та їх з'єднань, а
також за тиском і температурою масла в гідросистемі. Забороняється працювати на
навантажувачі, якщо температура масла або його тиск перевищують граничне
допустиме значення для цієї машини.
. Не допускається регулювати запобіжні клапани гідросистем, а
також інші опломбовані клапани, прилади та вузли до закінчення їх гарантійного
строку.
. При випробуванні гідросистем збороняється перебувати
поблизу шлангів високого тиску.
. Всі операції з технічного обслуговування, ремонту, усунення
несправностей, очищенню двигуна і ковша тракторного навантажувача від бруду, а
також з підготовки його до роботи слід виконувати тільки при заглушеному
двигуні, опущеному на підкладки ковші, застопорених рухомих і ходових частинах.
. Технічне обслуговування і ремонт навантажувача слід
виконувати на рівних, очищених від сторонніх предметів площадках, де
забезпечуються стійкість навантажувача, достатнє освітлення всіх вузлів і
детелей машини.
. Роботи, пов'язані з іскроутворенням і високою температурою
(зварювальні, паяльні тощо), слід проводити, як правило, не на навантажувачі,
крім випадків, коли неможливо зняти деталь, яка потребує ремонту. Зварювальні і
паяльні роботи необхідно виконувати на відстані не менш як 10 м від машини.
Вимоги техніки безпеки після закінченя роботи (проведення
випробувань)
. Закінчивши роботу, слід поставити навантажувач на
спеціально відведене місце, загальмувати машину, спустити робочий орган на
грунт або спеціальні підставки, відключити вал відбору потужності, перевести
важіль перемикання передач у нейтральне положення, вимкнути двигун, перекрити
подачу палива і вжити заходів, що виключають можливість пуску двигуна
тракторної лопати сторонніми особами.
Забороняється залишати навантажувач з працюючим двигуном.
. Навантажувач необхідно очистити від бруду і оглянути,
усунувши при цьому дрібні дефекти, в холодну пору року злити воду з радіатора
тракторного навантажувача і дати двигуну попрацювати без води 2-3 хв.
. Механізми навантажувача треба змастити згідно з
інструкцією, заправити пально-мастильними матеріалами. Після цього мастильні
матеріали слід прибрати на склад, а інструменти і обтиральний матеріал - у
спеціальні ящики.
. По закінченні роботи машиніст навантажувача повинен зняти
спецодяг, очистити його від пилу та іншого бруду і віднести у відведене для
зберігання місце. Потім вимити обличчя і руки теплою водою з милом або прийняти
душ.
5.2 Безпека в надзвичайних ситуаціях. Характеристика
осередків ураження при аваріях на АЕС. Розрахунок можливих доз опромінення
До основних факторів, які впливають на радіаційну обстановку,
формуючи осередок ураження, при аваріях на АЕС відносяться:
характер поступання РР в навколишнє середовище;
загальна кількість РР, які потрапилили в оточуюче середовище;
радіонуклідний склад аварійного викиду;
метеорологічні умови в момент аварійного викиду;
відстань від джерела аварійного викиду до населених пунктів
чи районів дислокації військ;
гідрогеологічні та грунтові характеристики місцевості, де
відбулася аварійна ситуація;
характер сільськогосподарського використання території, яка
зазнала радіоактивного забруднення;
умови водопостачання та харчування населення, характер його
трудової діяльності;
щільність заселення та характер забудови території, яка
зазнала впливу радіоактивних опадів;
час, що пройшов з моменту аварійного викиду РР.
Радіаційні аварії на АЕС можуть супроводжуватись як
одноразовими (короткочасними), так і багаторазовими (тривалими) викидами
радіоактивних речовинв навколишнє середовище.
Приодноразовому викиді радіонуклідів в атмосферу, як правило,
необхідний радіоактивиний захист населення та особового складу військ по ходу
радіоактивної хмари. При багаторазовихі тривалих викидах РР зараженню може
піддатись значно більша за площею територія. Це вимагає проведення
крупномасштабних заходів по радіоактивнному захисту населення.
Крім того картина зараження місцевості може змінюватись
підвпливом атмосферних явищ. Так внаслідок аварії на ЧАЕС сформувались різні за
конфігурацією, напрямками, рівнями радіації зони радіоактивного забруднення території.
Під впливом вітру можливе вторинне підняття в повітря випалих на грунт
радіонуклідів і перенесення їх на інші ділянки місцевості. Атмосферні опади,
осаджуючи РР з повітря, приводять до підвищення щільності забруднення
території. Крім цього, рясні дощові опади можуть підсилювати проникнення
радіонуклідів в глибокі шари грунту і сприяти їх змиву у відкриті водойми.
Непостійність, а також аномальність метеоумов приводять до нерівномірного
(плямистого) радіоактивного забруднення місцевості, при якому у відносно чистих
районах можуть зустрічатись ділянки території з високою щільністю зараження. В
забруднених же районах можуть знаходитись відносно чисті ділянки місцевості.
Час появи забруднених повітряних мас над даною територією
визначається її віддаленістю від джерела викиду. Тому час початку радіоактивних
опадів для різних територій і населених пунктів неоднаковий. З віддаленням
джерела аварійного викиду щільність радіоактивного забруднення, як правило,
зменшується. Iз збільшенням відстані за рахунок сепарації РР, які поступили в
атмосферу, може мінятись як нуклідний склад, так і фізико-хімічна форма
радіоактивного забруднення місцевості.
Гідрогеологічні і ґрунтові характеристики території можуть
істотно впливати на формування радіаційної обстановки. Високий рівень грунтових
вод зумовлює більш високий рівень радіоактивного забруднення відкритих водойм і
шахтних колодязів.
Використання під сільськогосподарські потреби територій, які
зазнали радіоактивного забруднення, може істотно вплинути на накопичення радіонуклідів
у рослинах і сільськогосподарських тваринах, від чого, в свою чергу, залежить
рівень проступання радіонуклідів в організм людини.
Рівень радіаційного впливу на населення, а також доза
внутрішнього опромінення в значній мірі залежать від особливостей його
водопостачання та харчування. Артезіанські води не є радіаційно-небезпечними
для населення та особового складу військ. Шахтні колодязі, обладнані у
відповідності із санітарно-технічними вимогами, також, як правило, не мають
істотних забруднень радіонуклідами. Поверхневі водойми (ріки, озера,
водосховища) можуть мати різні рівні забруднення в залежності від їх площі,
глибини, ємкості та гідрогеологічних умов.
Внаслідок можливого поверхневого, а потім структурного
забруднення, харчові продукти слід розглядати як потенційно небезпечні у
відношенні внутрішнього опромінення населення та особового складу військ.
В разі виникнення радіаційної (ядерної) аварії Міністерством
охорони здоров'я України встановлені тимчасові дозові межі та допустимі рівні
радіоактивного забруднення питної води, харчових продуктів, тощо. Вони наведені
в табл. 4.
Для особового складу військ, які дислоковані на забруднених
радіонуклідами територіях, застосовуються такі ж допустимі рівні опромінення та
радіоактивного забруднення, як і для цивільного населення.
Від чисельності населення, що проживає на забрудненій
території, залежить величина колективної ефективної дози, а також кількість
віддалених радіаційних наслідків.
В 1993-1994 роках спеціалістами Міністерства надзвичайних ситуацій
була змодельована максимальна проектна аварія на найбільшій в Україні
Запорізькій АЕС. Моделювання передбачало, що трубопровід теплоносія великого
діаметру внаслідок певної причини може розірватись, і теплоносій першого
контуру під тиском 160 атм. при температурі 3000° С вийде в захисну оболонку
реактора. Остання побудована так, що зможе витримати можливі в таких випадках
максимальний тиск і температуру.
Розрахунок дозових навантажень на населення внаслідок
проектної аварії проводився з урахуванням найгірших погодних умов: категорія
вертикальної стійкості повітря - інверсія, швидкість вітру-1 м/с. Напрямок
вітру був спрямований на міста Нікополь (відстань 17 км) і Марганець (відстань
15 км)
Результати моделювання показали наступне.
Прогнозовані оцінки щільності забруднення території
тридцяти-кілометрової зони при розвитку максимальної проектної аварії:
тривалість забруднення - близько 4 місяців;
80 % радіаційної активності буде викинуто протягом першої
доби, решту - протягом 100 діб;
висота викиду РР - 30 м.
Колективні дози опромінення при максимальній проектній аварії
можуть становити для Нікополя 366,0 бер.
Основний внесок у дозове навантаження при випромінюванні від
грунту дасть цезій -137 (понад 95%), в деяких випадках значний внесок зробить
йод-131 - за рахунок інгаляції радіонуклідів.
Зони радіоактивного забруднення місцевості, які можуть
утворитися внаслідок аварії 7-го рівня (за шкалою МАГАТЕ) на Запорізькій АЕС,
сформуються та будуть спрямовані під впливом середнього вітру і матимуть форму
еліпсів.
З урахуванням таких вихідних даних, як: вертикальна стійкість
повітря - інверсія, швидкість вітру - 2 м/с, кількість викиду радіоактивних
речовин - 10%, - розміри прогнозованої зони радіаційної небезпеки (М) на сліду
хмари можуть становити: довжина - 186 км, ширина - 40,2 км, площа - 5850км2.
Довжина зони помірного забруднення (А) за цих же умов буде складати 39 км,
ширина - 6 - 8 км, площа - 211 км2.
Люди, які проживатимуть на цій місцевості, в зоні М за перший
рік після аварії можуть отримати дозу опромінення від 5 до 50 рад, а в зоні А -
від 50 до 500 рад.
Найбільші розміри можливих зон забруднення можуть утворитися
при 50% викиді РР з реактора. За тих самих погодніх умов, зона радіаційної
небезпеки (М) може утворитись довжиною 458 км, шириною - 111 км і площею -
38400 км2 .
Захист населення від дії іонізуючого випромінювання
відбувається в залежності від величини можливих доз опромінення робітників,
службовців ОЕ, мешканців АТО під час аварії на атомній електростанції (АЕС) у
зоні можливого ураження.
Розрахунок можливих доз опромінення
Дози опромінення людей на відкритій
місцевості знаходимо за формулою:
відкр. =
,
де Рt - рівень радіації на будь-який термін після
аварії на АЕС;
- час початку опромінення, год;
- час кінця опромінення, год, -0,4 -
показник ступеня для ВВЕР.Визначаємо Pt за формулою:
Рt =Р1kпер, рад/год,
де Р1 - рівень радіації через одну годину після
аварії, рад/год
- коефіцієнт перерахунку рівнів радіації
Визначення дози опромінення людей у житлових та виробничих
приміщеннях проводимо за такою формулою:
, рад,
де Косл - коефіцієнт ослаблення рівня радіації.
Визначення прогнозованої дози зовнішнього опромінення Дпр
, бер
Визначимо прогнозовану дозу зовнішнього опромінення (Dпрог)
у контрольних точках при знаходженні населення (виробничого персоналу) на
відкритій місцевості та у житлових (виробничих) будівлях за перші 2 доби та 10
діб після аварії під час перебування населення на відкритій місцевості та у
житлових будинках:
,бер,
де Аt - коефіцієнт накопичення дози радіації з
часом
На підґрунті наведених розрахунків та “Критеріїв для
прийняття рішень про заходи захисту населення у разі аварії ядерного реактору”
потрібно зробити висновки стосовно проведення першочергових захисних заходів.
навантажувальний налипання буфер ковш
Висновок
У магістерській роботі отримано рішення актуальною науково-
технічного завдання, що полягає в удосконаленні навантажувальних машин для
навантаження вологого дорожньо-будівельного матеріалу, схильної до налипання,
на основі розкриття закономірностей, що мають місце при розвантаженні вологому,
схильної до налипання матеріалу з ковша навантажувальної машини при ударі
стріли об буфери, і обгрунтуванні параметри пружно-демпфуючего буфера, що
забезпечують повний викид матеріалу з ковша при одноразовому ударі. А також
приставлено технологічна пропозиція по підвищенню ефективності роботи
конвеєрів.
Реалізація рекомендацій роботи дозволяє підвищити
продуктивність роботи навантажувальних машин в даних умовах в 1,35 разу.
Головні висновки, наукові і практичні результати, отримані в
роботі :
1. Критерієм якості ківшової навантажувальної машини, що
якнайповніше відбиває усі стадії зачерпування і викиду матеріалу, є величина
технічної операційної потужності що враховує усі взаємодії в технологічних,
робочих і аварійних ударних парах. На відміну від вживаних критеріїв розширює
область параметрів, що підлягають обліку, і на обставини, що зазвичай не
враховуються при нормальному режимі роботи.
2. Основні чинники і кількісні значення їх параметрів, що
впливають на величину сил липкості :
- питомі зусилля, що діють на робочі поверхні ковша (0,5-
0,1МПа);
- сумарний час знаходження породи в ковші (0,8 - 1,5 с);
- шорсткість робочих поверхонь ковшів (75 - 30 мкм);
- амплітуда і тривалість сформованого імпульсу викиду(4-6 кНс;
0,2 -0,35 с).
3. В якості узагальненого критерію липкості породи уперше
прийнято значення імпульсу сили, який необхідно сформувати, щоб відірвати
налиплий на ківш матеріал. Розроблена математична модель опису процесу
налипання на базі основних положень теорій адгезії і хімічної кінетики, у
рамках якої отримані вираження для визначення узагальненого критерію липкості
породи, що стало відправною точкою для формування структури і параметрів
буфера. Знайдені чисельні значення узагальненого критерію липкості для ряду
матеріалу. Проведена експериментальна перевірка отриманих виразів і доведена їх
хороша збіжність (погрішність 8 - 10%) з розрахунком. Досліджений характер
процесів налипання і розриву зв'язків залежно від величини діючої сили,
швидкості навантаження і часу дії сили.
4. У рамках уявлення про ударні пари в машині виявлені
визначальні і лімітуючі параметри, для знаходження яких розроблена математична
модель розвантаження вологого матеріалу на базі загального рівняння динаміки в
нелінійній постановці, що відрізняється від існуючих тим, що визначальним в ній
є закон зміни маси матеріалу при його висипанні з ковша з урахуванням налипання
і пружної характеристики буфера. Залежність зміни маси в часі визначена за
допомогою теорії подібності і розмірності. В результаті отримані критерії і
коефіцієнти подібності, необхідні для переходу від моделі до реального.
Розроблений програмний продукт, що дозволяє проводити инженерні розрахунки і
обчислювальні експерименти.
5. Теоретичними дослідженнями обгрунтовано, що формований
пружинним буфером ударний імпульс забезпечує розвантаження вологої породи на 60
- 70%, і цей процес триває 500 - 600 мс, що порівнянно з часом загасання
вільних коливань стріли з ковшом, і вимагає додаткових зіткнень. Пружна
характеристика м'якого типу, характерна для канатних віброізоляторів, дозволяє
збільшити тривалість імпульсу приблизно в 6 разів і забезпечити повне
розвантаження вологої породи за 300 мс.
6. Проведений пошук оптимальних структур канатних
буферів. За основу прийняті умови, що вирішують протиріччя між прагненням
забезпечити викид одноразовим ударом і понизити передачу ударного імпульсу на
елементи конструкції машини. Дослідження показали, що за критерієм мінімуму
реакції переважна структура СКВ-2П, а за критерієм викиду - структура
СКВ-2ПС.Це дозволило створити нову структуру, позначену в роботі як СКВ-ЗПС.
7. Досвідчена перевірка макету буфера, виконаного на
основі СКВ-ЗПС, підтвердила правильність моделей липкості і ударного
розвантаження вологого матеріалу. Різниця розрахункових і експериментальних
даних 7 -15%.
8. На основі результатів теоретичних і експериментальних
досліджень розроблена методика вибору раціональних конструктивних параметрів
буфера відповідно до вимог до їх характеристик
. Описано конструкції і принципи роботи пристроїв для
очищення стрічки конвеєра .
. Запропоновано технічну пропозицію по підвищенню
ефективності роботи навантажувальних машин безперервної дії
Список використаної літератури
1. 4000 bar sous les dents / Моntagnen
Маге // Сhant. Fг. - 1991. - № 242. - С. 38-39.-Фр. 49.Абдразаков Ф.К.
Экскаваторы-драглайны могут работать более производительно//Механизация
строительства. - 1992. - № 12. - С. 26.
2. А.с. 1677185 МКИ Е02РЗ/40. Днище
ковша/ В.А. Новиков, Л.Е. Пепе- вин. - № 4638665/03; Заявлено 18.01.89. Опубл.
в СБИ 1990, № 30.
3. Абдразаков Ф.К. Резерви підвищення
ефективності роботи экскаваторів// Будівельні і дорожні машини. - 1995. - № 11.
- С. 5.
4. Ахматов А.С. Молекулярная физика
граничного слоя. - М.: Физмат- гиз, 1963. - 345 с.
5. Бауман В.А., Быховский И.И. Вибрационные
машины и процессы в строительстве. - М.: Высш. школа, 1977. - 255 с.
6. Берлин А.А., Басин В.Е. Основы
адгезии полимеров. - М.: - Химия, 1969.-316с.
7. Варсанофьев В.Д. Вибрационные
бункерные устройства на горных
8. Вибрационно-пневматическое транспортирование
сыпучих материалов/ В.Н. Потураев, А.И. Волошин, Б.В. Пономарев; Отв. ред. В.И.
Дырда. АН УССР. Ин-т геотехнической механики. - К.: Наук, думка, 1989.-248 с.
9. Вибрационные машины для строительных
технологий/ А.Я. Тишков, В.М. Сбоев, Л.И. Гендлина и др.// Изв. вузов.
Строительство. - 1997.- № 5. - С. 106-110.
10. Винтоповоротные проходческие
агрегаты/ А.Ф. Эллер, В.Ф. Горбунов, В.В. Аксенов. - Новосибирск: ВО
"Наука". Сибирская издательская фирма, 1992.- 192 с.
11. Влияние фторпластовых покрытий на
адгезионные свойства теста/ Е.И. Пономарева, Т.В. Санина, В.И. Карпенко и др.
// Изв. вузов. Пищевая технология. - 1995. - № 3-4. - С. 16-18.
12. Гоберман Л.А. Основы теории, расчета
и проектирования строительных и дорожных машин. - М.: Машиностроение, 1988. -
464 с.
13. Гончаревич И.Ф., Фролов В.К. Теория
вибрационной техники и технологии. - М.: - Наука, 1981. - 320 с.
14. Грунтоведение/ Е.М. Сергеев, Г.А.
Голодковская, Р.С., Зиангиров и др. Под общ. ред. Е.М. Сергеева. - М.: Изд-во
Моск. ун-та, 1971. - 568 с.
15. Гуль В.Е. Структура и прочность
полимеров.- М.: Химия, 1978.-328 с.
16. Гуляев В.Г. Научные основы
оптимизации динамических свойств комбайнов демпфирующими устройствами: Дисс...
докт. техн. наук: 05.05.06. - Донецк, 1992. - 177 с.
17. Дерягин Б.В., Кротова Н.А. Адгезия.
Исследования в области прилипания и клеящего действия. - М.- Л.: Изд-во АН
СССР, 1949. - 242 с.
18. Добронравов С.С., Сергеев В.П.
Строительные машины.- М.: Высш. школа, 1981.-320 с.
19. Дунаевская М.П., Куприянова И.В. Опыт
использования полимерных покрытий для предотвращения прилипания бурых углей к
рабочим поверхностям бункеров// Технология и механизация добычи угля открытым
способом: Сборник. - М.: Недра, 1985. - С. 86-87.
20. Калинин В.С., Забегалов Г.В.,
Васенков Н.В. Ковши с принудительной разгрузкой на одноковшовых фронтальных
погрузчиках// Строительные и дорожные машины. - 1976. - № 10. - С. 16-17.
21. Кардашов Д.А. Синтетические клеи. -
М.: Химия, 1968. - 592 с.
22. Комплексная механизация земляных
работ/ А.П. Дегтярев, А.К. Рейш, С.И. Руденский. - М.: Стройиздат, 1987. - 335
с.
23. Кондра А.С. Дослідження липкості
грунтів і засобу її усунення// Питання теорії проектування і експлуатації
будівельних машин : Збірка. - Львів: Вид-во Львівськ., 1964. - С. 33 - 38.
24. Кондрахин В.П. Математичне
моделювання робочих процесів і оптимізація структури і параметрів
породоразрушающих машин : Дисс... докт. техн. наук: 05.05.06. - Донецьк, 1999.
- 418 с.
25. Крупко В.Г., Лиманский А.В.
Оптимізація силових і кинематических характеристик гідравлічного одноковшового
екскаватора. //36. наук, ін. ДонНТУ: Випуск 42, - Донецьк: ДонНТУ, 2002.-С.
136-140.
26. Литвинский Г.Г. Проблемные вопросы
горно-подготовительных работ на шахтах // Технология и механизация
горнопроходческих работ: Сборник. - Новочеркасск, 1997. - С. 7 - 12.
27. Ляшенко Ю.М. Выбор
погрузочно-транспортных модулей как этап проектирования систем
горнопроходческих машин. - Там же. - С. 57 - 63.
28. Майский А.А., Валеев З.Х., Лазин А.И.
Ковш для разработки налипающих грунтов // Строительные и дорожные машины. -
1986. - № 5. - С. 7.
29. Маслов Н.Н. Основы инженерной
геологии и механики грунтов. - М.: Высш. школа, 1982. - 511 с.
30. Машины для земляных работ/ Зеленин
А.Н. и др. - М.: Машиностроение, 1975.-424 с.
31. Машины для земляных работ/ Под общ.
ред. Ю.А. Ветрова. - К.: Вища школа. Головное изд-во, 1981. - 384 с.
32. Методическое пособие по
инженерно-геологическому изучению горных пород/ Под ред. Е.М. Сергеева, С.Н.
Максимова, Г.М. Березкиной. В 2-х т. - Т. 2.- М.: Изд-во Моск. ун-та, 1968.-
370 с.
33. Механизация транспортных и погрузочных работ при
добыче и складировании горнохимического сырья/ А.В. Евневич, В.П. Сергеев, О.М.
Колыш- кин и др. - М.: Недра, 1972. - 224 с.
34. Парунакян В.Э., Синянская Р.И. Борьба
с прилипанием и примерзанием горной массы к рабочим поверхностям транспортного
оборудования на карьерах. - М.: Недра, 1975. - 144 с.
35. Пашин В.П. Факторы, влияющие на
длительность копания при экскавации пород драглайном. // Горные, строительные и
дорожные машины: Сборник.-1С: Техшка. - 1976. - Вып. 22. - С. 20-25.
36. Погрузочно-разгрузочные работы с
насыпными грузами: Справочник/ Под ред. Д.С. Плюхина. - М.: Транспорт, 1989. -
303 с.
37. Полуянский С.А., Дихтяр А.А.,
Савицкий Ю.П. Состояние механизации погрузки при проведении горных выработок на
шахтах Криворожского бассейна// Вопросы рудничного транспорта: Сборник. - М.:
Недра, 1970. - Вып. 11.-С. 281-287.
предприятиях. - М.: Недра, 1984. - 183 с.
38. Проектирование и конструирование
горных машин и комплексов / Малеев Г.В., Гуляев В.Г., Бойко Н.Г. и др. - М.:
Недра, 1988. - 368 с.
39. Проектирование и конструирование
транспортных машин и комплексов/ Под ред. И.Г. Штокмана. - М.: Недра, 1986. -
322 с.
40. Ржевский В.В., Новик Г.Я. Основы
физики горных пород. - М.: Недра, 1984. - 359 с.
41. Самсонов Л.Н. Фрезерование торфяной
залежи.- М.: Недра, 1985. -
42. Семенченко А. К. Наукові основи
багатокритерійного синтезу машин як просторових багатомасових динамічних систем
перемінної структури : Дисс... докт. техн. наук: 05.05.06. - Донецьк, 1997. -
323 с.
43. Семенченко А. К., Кравченко В. М.,
Шабаев О. Е. Теоретичні основи аналізу і синтезу машин і процесу їх
відновлення, як динамічних систем.- Донецьк : РИО ДонНТУ, 2002. - 302 с.
44. Сергеев Е.М. Инженерная геология. -
М.: Изд-во Моск. ун-та, 1978.
45. Синеоков Г.Н., Панов И.М. Теория и
расчет почвообрабатывающих машин. - М.: Машиностроение, 1981.-241 с.
46. Создание образцов проходческих
погрузочно-транспортных модулей для итерации многомашинных технологий / Г.Ш.
Хазанович, Ю.М. Ляшенко, Е.В. Никитин и др. - Там же. - С. 63 - 70.
47. Солод Г.И. Научные основы
производства горных машин и комплексов. Конспект лекций для слушателей ФПК. -
М.: Изд-во МГИ, 1983. - 32 с.
48. Справочник конструктора
сельскохозяйственных машин/ Под ред. М.И. Клецкина. - М.: Машиностроение, 1967.
- 328 с.
49. Тhree new LHD 1оаdег from Таmrоск //
Тunnels аnd Тunnell. - 1991. - 23, № 10.-С. 13.-Англ.
50. Хазанович Г.Ш. К вопросу об
оптимизации рабочих процессов и параметров шахтных погрузочных машин. //
Технология и механизация горнопроходческих работ: Сборник. - Новочеркасск,
1997. - С. 68 - 75.
51. Хархута Н.Я. Машины для уплотнения
грунтов. - Л.: Машиностроение 1973. - 176 с.
52. Чальцев М.Н. Исследование
Сводообразования в пылеугольных бункерах в условиях противодавления.
Автореферат дисс. на соиск. учен. ст. канд. техн. наук. - Ленинград, 1977.
53. Чаповский Е.Г. Лабораторные работы по
грунтоведению и механике грунтов. - М.: Недра, 1975. - 304 с.
54. Юдин А.В., Пекарский В.С. Определение
параметров приемного бункера переносного погрузочного пункта
автомобильно-карьерного транспорта// Изв. вузов. Горный журнал. - 1983. - № 12.
- С. 46-49.