Аналіз ефективності розвитку екологічних поселень в Україні
Вступ
Стан сучасної організації мегаполісів та інших
розвинених населених пунктів часто характеризується екологічною кризою.
Зростаючі техногенні навантаження на навколишнє середовище, що утворюються на
територіях великих міст значно знижують рівень якості життя людей, характерною
рисою чого, є поява аномальних захворювань та їх форм, скорочення середньої
тривалості життя, аномалії внутрішньоутробного розвитку людських ембріонів і т.
ін.
Ці та інші факти сприяли початку і стимуляції
активного пошуку та розробки альтернативних збалансованих форм урбаністичного
заселення придатних для життя груп людей територій.
Починаючи з 60-х років минулого століття з
розвитком субкультури і руху хіпі, зародилося формування нової течії особливої структурної організації населених пунктів з
урахуванням дотримання екологічних норм і впровадженням новітніх ефективних
екологічно чистих технологій забезпечення основних технологічних процесів
стабільного життєзабезпечення груп людей (колоній). Подібні форми організації
освоєння земель отримали узагальнену назву «Екологічне поселення».
Даний термін отримав наступне, загальноприйняте
визначення: екологічне поселення (екопоселення) - поселення, яке створене для
організації екологічно чистого простору для життя групи людей, як правило,
виходять з концепції сталого розвитку і організують харчування за рахунок
органічного сільського господарства [1].
Задачі роботи - розглянути основні принципи та
критерії створення і функціонування екологічних поселень і запропонувати
технічні рішення, спрямовані на розвиток і поліпшення існуючої концепції
екологічно збалансованих форм організації поселень.
1. Основні принципи, етапи розвитку, діяльність і
ідеологія організації екологічних поселень
.1 Основні принципи організації екологічних
поселень
екологічний
поселення технічний
У різних екологічних поселеннях зустрічаються
різні екологічні (природоохоронні) обмеження і самообмеження виробництва і
обігу товарів, застосування тих чи інших матеріалів або технологій, способу
життя.
Як найбільш поширених прикладів можна навести
наступні [1]:
а) стійке землеробство - використання
невиснажливим технологій обробки землі (наприклад, принципи пермакультури -
підхід до проектування навколишнього людини простору, а також система ведення
сільського господарства, засновані на взаємозв'язках, які спостерігаються в
природних екосистемах). Як правило, також буває заборонено використання
отрутохімікатів і пестицидів на території екопоселення;
б) стійке лісокористування та полікультурне
лісовідновлення - дбайливе використання лісів і роботи по висадці різних порід
дерев для формування в лісах стійких екосистем, на відміну від монокультурних
посадок (схильних хвороб і шкідників), активно практикуються лісопромисловими
організаціями;
в) мінімізація енергоспоживання - досить поширена
практика, що виявляється в будівництві енергоефективного житла
(енергоефективний будинок), використанні відновлювальних джерел енергії,
мінімізації побутового енергоспоживання.
Серед жителів екопоселень звичайною практикою є
ті чи інші системи природного харчування, наприклад, вегетаріанство,
сироїдіння, веганство і т. ін. В окремих випадках на території екопоселень
заборонено вживати м'ясо або вирощувати худобу на м'ясо.
Більшість жителів екопоселень зазвичай
дотримуються систем здорового способу життя, який включає в себе
загартовування, відвідування лазні, активне фізичне навантаження, позитивний
життєвий настрій.
Часто зустрічається прагнення до автономності та
незалежності від поставок ззовні, до певного самозабезпечення. У більшості
сільських і приміських екопоселень їх жителі прагнуть самі вирощувати для себе
екологічно чисті продукти харчування, з застосуванням технологій органічного
сільського господарства. У деяких (як правило, більш великих) екопоселеннях
вдається створювати власне виробництво одягу, взуття, посуду та інших речей,
необхідних для мешканців екопоселення і (або) товарообміну із зовнішнім світом.
Як правило, продукція виробляється з місцевих поновлюваних природних матеріалів
або відходів сировини за екологічно чистими технологіями, а також екологічно
безпечно використовується і утилізується. Слід зазначити, що на практиці не
завжди вдається досягти всіх поставлених цілей [2].
Ряд екопоселень використовують автономну малу
альтернативну енергетику.
Число людей в екопоселення може варіюватися в
межах 50-150 жителів, оскільки в цьому випадку, згідно з відомостями соціології
та антропології, забезпечуватиметься вся необхідна для такого поселення
інфраструктура. Тим не менш, можуть існувати і великі екопоселення (до 2000
жителів).
1.2 Етапи розвитку екологічних поселень
У Західній Європі та США екопоселення стали
розвиватися у вигляді спільнот з різним ступенем комунітарності [3]. Поступово
цей рух охопив країни східної Європи, Азію, Африку, Австралію. В даний час
екопоселення є в багатьох країнах світу, в тому числі і в Росії. Перші
російські екопоселення почали виникати в кінці 1980-х - початку 1990-х років в
період соціальних та економічних реформ, трансформації СРСР у суверенні
національні держави. Пануюча комуністична ідеологія змінилася плюралізмом думок
та ідей. В цей час в містах стали виникати ініціативи створення екопоселень,
учасники яких намагалися знайти нову ідентичність. У цьому проявилася світова
тенденція створення екопоселень, викликана екологічними проблемами, поширенням
інноваційних технологій, розумінням важливості сталого способу життя. У нового
життя екопоселенці керувалися ідеями інвайронментализма (глибинної екології) та
екологічної етики.
Мігранти-екопоселенці відразу ж зіткнулися з
трьома ключовими проблемами:
неможливістю самозабезпечення і підтримки
комфортного рівня життя;
неможливістю отримання освіти та інших послуг;
неможливістю встановлення добросусідських
відносин з корінними сільськими жителями.
Деяким екопоселенці все ж таки вдалося адаптуватися,
утворивши протоекопоселення і сформувавши кілька регіональних мереж. Інші стали
формувати колективи однодумців і продовжили розвиток ініціатив створення
екопоселень. Деякі з них виявилися життєздатними і розвиваються в даний час,
наприклад, екопоселення Нево-Ековіль в Карелії.
Хвилі становлення руху екопоселень в Росії
Перша хвиля руху екопоселень виникла наприкінці
80-х - початку 90-х років минулого століття. Екопоселенці орієнтувалися на
модель комуни. Вони будували комунітарне співтовариство, засноване на спільному
веденні господарства та принципах гармонійних взаємин з природою. Робився
акцент на вибудовуванні взаєморозуміння між учасниками та мінімізації
споживання. На відміну від західних екопоселень, де будувалися
високотехнологічні енергозберігаючі будинки і використовувалися альтернативні
джерела енергії, у російських екопоселення вкласти великі гроші в будівництво
будинку, купити енергозберігаюче обладнання, вітряки чи сонячні батареї було
неможливо. Це були роки економічної кризи, коли більшість росіян перебувало в
умовах виживання (безробіття або багатомісячної невиплати зарплат, дефіциту
продуктів, взуття та одягу).
Російські екопоселення першої хвилі пройшли етап
будівництва комуни-громади, де всі жителі вели спільне господарство, розподіляли
обов´язки і фінанси, разом
харчувалися. При цьому був отриманий негативний досвід, багато спільнот
розпалися. Виключеннями є екопоселення змішаного типу, влаштовані за принципом
громади-комуни, які включають індивідуальне та сімейне проживання, наприклад,
широко відомі Кітеж і Служба екологічної реставрації в Калузькій області,
Тиберкуль в Красноярському краї. Їх збереження та розвиток сприяли подоланню
ресурсного бар'єру, виробленню спільного бачення майбутнього і належну увагу
екологічно дружнього способу життя.
Західні спільноти екопоселенців, створені по
комунітарному типу, також не всі були успішними. Успішні змогли подолати
ресурсний бар'єр, знайти постійне джерело ресурсів і виробити чіткі внутрішні
правила взаємодії. Наприклад, в США вже близько 50 років існує екопоселення
змішаного типу Роздвоєний Дуб (Twin Oaks), відоме по всій країні виробництвом
гамаків і продуктів з сої. Їх організація має пільговий податковий статус, так
як ділить прибуток порівну між усіма жителями. Крім того, усуспільнюються
відсотки з капіталів жителів, що дає навіть більше фінансових коштів, ніж
заробляється. Цей приклад не поодинокий, більшість нині діючих західних
екопоселень розвиваються по комунітарному типу [4].
Чому ж у Росії не стала масовою комунітарна
модель? На мою думку, в першу чергу позначився брак ресурсів. Комунітарне
співтовариство може жити в умовах достатнього або надмірного ресурсу. Ми маємо
на увазі «надлишковий» щодо фізіологічно необхідного рівня споживання. Друга
причина - ці спільноти жили в умовах, коли не були вироблені і не стали
традицією чіткі правила відчуження та перерозподілу результатів праці, не були
розроблені і не застосовувалися механізми морального і фізичного виключення зі
співтовариства за проступки. Третя причина - невміння жити повноцінним общинним
та сільським життям приводило до неминучих несвідомим помилок при плануванні та
витраті ресурсів або свідомої умисної «надмірної» витраті індивідуального, в
свою користь. Четверта причина невдачі комунітарних моделей російських
екопоселень криється в нечисленності колективу учасників. Це психологічна
причина. У невеликому, досить ізольованому колективі, де спілкування
відбувається щільно протягом всього дня і по всьому спектру життя неминуче
починаються конфлікти, і спільнота просто розпадається, якщо не докладає
спеціальних зусиль (психотренінг, що переходить у конструктивне рішення
колективних та індивідуальних проблем). У великих колективах, які нараховують
десятки людей, ця проблема не постає так гостро, так як коло спілкування більш
різноманітне. Разом з тим в численних колективах, де кожна людина вже не знає
всіх поіменно чи вважає себе відокремленим від проблем іншого, в повний зріст
постають проблеми, що випливають з відчуження від прийняття спільних рішень та
ієрархізації.
Учасники екопоселень, що пройшли через етап
будівництва комунітарної громади, як правило, приходили до висновку, що життя
треба будувати по-іншому. Якщо розглянути приклад екопоселень Гришине і
Нево-Ековіль, багато учасників яких пройшли через комунітарний етап, можна
побачити, що нинішні екопоселенці живуть окремими родинами, які економічно
незалежні одна від одної, об'єднані територією проживання, сусідської
взаємодопомогою, неписаними екологічними правилами, загальним ім'ям
екопоселення. Однак, у екопоселень такого типу немає загального образу
розвитку. При цьому, звичайно, є лідер, який представляє це екопоселення у поза
інфраструктури, розвивається для проведення добровольчих і туристичних програм,
еколагерей, конференцій, семінарів, тренінгів, фестивалів, свят. При цьому
жителі екопоселення мало задіяні як організатори, але охоче беруть участь,
розширюють коло знайомств, отримують добровольчу допомогу і передають свій
досвід. Іноді є розподілене лідерство, і різні програми проводять різні люди,
як жителі екопоселення, так і ті, які не мають статусу жителя даного
екопоселення.
Для взаємодії з іншими громадськими, владними та
комерційними організаціями ініціативна група мешканців екопоселення зазвичай
реєструють юридичну особу. Однак, не всі екопоселення мають юридичну особу або,
маючи її, не всі мешканці є членами організації. В таких екопоселеннях зазвичай
немає прописаних правил, спеціально виробленого механізму прийняття рішень.
Рішення приймаються по-різному, залежно від ситуації або питання. У більшості
випадків рішення приймаються частиною жителів без залучення інших [5].
Якщо підвести підсумки, то можна стверджувати, що
жителі екопоселень першої хвилі пройшли через складності, накопичили важливий
досвід, в тому числі практичної екології, сільського господарства, організації
соціального життя. Вони сформували екопоселення, які стали альтернативними
центрами культури, куди з усього світу щорічно приїжджають тисячі людей для
навчання, спілкування, добровольчої праці та відпочинку.
Друга хвиля руху екопоселень виникла на початку
2000-х років. Це було пов'язано з виходом серії книг Володимира Мегре
"Дзвенячі кедри Росії», де висувалася ідея гармонійного життя людини та
природи, привабливо описувався образ майбутньої Росії, основу якої складуть
родові помістя. У відповідності з описом, розмір кожного маєтку складає 1
гектар, на ньому розташовується будинок для однієї сім'ї, яка створює живу
стійку екосистему з садових і дружніх дикорослих рослин, домашніх і дружніх
диких тварин. Все це називається «простір любові», де ростуть і виховуються
діти, всі люди живуть в гармонії з природою. Маєтки утворюють локальні невеликі
поселення. Технології переходять на якісно новий рівень. Таким чином, дається
ідеал альтернативного, екологічно дружнього співтовариства, яке зможе вирішити
проблеми сучасного суспільства.
Ініціативи створення екопоселень другої хвилі, на
відміну від першої, були масовими. Брали по декілька десятків і сотень га
землі, плануючи поселення чисельністю 1-3 сотні жителів. Практично у всіх
регіонах Росії стали з'являтися перші родові поселення, багато з яких прямо
позиціонували себе як екопоселення. Їх жителі приступили до втілення
екологічної ідеї. В даний час в Росії налічується близько сотні екопоселень,
які знаходяться на різних стадіях розвитку. Є успішні і менш успішні приклади,
проте рух родових помість активно розвивається, і можна вже підсумувати певний
досвід.
Одним з каменів спотикання для екопоселенців
другої хвилі стало питання про власність на землю. Якщо спочатку він
висловлювався в складності взяти 1 га у власність або довгострокову оренду,
тому що не було відповідного законодавства і досвіду, то з часом це питання
було вирішене. Однак, проблема перейшла в іншу площину. Виявилося, що там, де
люди отримали 1 га у власність, складно будувати загальний образ майбутнього.
Деякі екопоселенці не будували будинок і не жили цілий рік, іноді навіть не
ставали регулярно чи сезонно його жителями. Інші вирішили продати ділянки, не
радячись з сусідами-екопоселенцями. В результаті колективного простору не виходило,
проектна чисельність не досягалася. Учасники одного з поселень змушені були
навіть покинути його через появу нових небажаних сусідів, які купили землю у
нереалізованого екопоселенця. У подібних випадках не рятують усні домовленості,
написання правил і підписання юридично неоформлених домовленостей. Як тільки
людина отримувала землю в юридичну власність, колектив вже слабо міг впливати
на його поведінку, як на землі, так і в самому колективі екопоселенців.
Успішні екопоселення вибрали інший шлях. Наприклад,
ініціативна група написала проект екопоселення Ковчег, зареєструвала
некомерційне партнерство, на баланс якого була взята земля в Калузькій області.
У ході колективного життя були складені чіткі внутрішні правила, на підставі
яких загальні збори могли виключити члена і, відповідно, взяти назад ділянку,
відшкодувавши витрати на її облаштування. В таких екопоселеннях відбулося
максимальне наповнення жителями, був вироблений чіткий механізм прийняття
рішень, стало розвиватися розподілене лідерство, що реалізовується під час
колективних дій. Почали вирішуватися основні питання, в першу чергу, навчання
дітей на місці. Стало відроджуватися коло народних свят.
Таким чином, рух екопоселень в Росії посилюється.
В екопоселеннях проживають тисячі учасників, їх відвідують десятки тисяч
зацікавлених, третє коло складають сотні тисяч інформаційно залучених. Рух
екопоселень є частиною загального екологічного руху, який, в свою чергу,
відноситься до нових суспільних рухів, позитивні приклади і досвід яких можна
тиражувати [6].
Поширення екологічних поселень в Україні
В силу економічних і ментальних особливостей
Української держави, на території країни рух альтернативної організації
населених пунктів відчуває значні труднощі.
За даними фахівців, усього в Україні 37 груп, що
створюють екологічні поселення, лише 4 з яких мають стабільний фінансовий стан.
Далі в таблиці 1.1 наведені данні про відомі
альтернативні населення, розташовані на території Україні [7].
Таблиця 1.1 Данні про відомі альтернативні
населені пункти на території Україні
|
Назва
|
Загальна
інформація
|
|
"Лубське"
|
Київська
область, с. Лубському (50 км від м. Києва)
|
|
"Рідне"
|
Макарівський
район (с. Юрівка, близько 70 км від Києва). Кількість родових помість - 13.
|
|
"Роси"
|
Кагарлицький
район, с. Балико-Щучинка на відстані 100 км від Києва. Всього під поселенням
більше 30 ділянок.
|
|
"Долина
Джерел"
|
Макарівський
район, Мотижин ~ 40 км, Житомирська траса, Колектив - 56 сімей, що взяли у
приватну власність від 1га до 2 га. Йде будівництво. У поселенні живуть вже
10 родин
|
|
Хутір
"Ружічево"
|
Кіровоградська
область. На хуторі куплені будинки.
|
|
групи
«Екодумка»
|
Макарівський
район - 60 км від Києва, недалеко від с. Бишів.
|
В Україні існують і інші малі екологічні
поселення. Однак, зазначені дані свідчать, що рух подібних поселень екологічно
ефективної організації, в нашій країні перебуває тільки на стадії становлення
[8].
Екологічне поселення, як і інші приклади, так
званих «ідеальних громад», має в своїй основі певну ідеологію. Ідеологічну
мотивацію зміни підходів у проектуванні та практичному здійсненні організації
території, призначеної для створення такого роду поселення, можна скоротити до
бажання існувати в гармонії з природним середовищем.
Часто на території екопоселень не вітається
куріння, вживання спиртних напоїв і нецензурна лексика аж до повної їх заборони
[1].
Нерідко освіта в екопоселеннях ґрунтується на
релігійних переконаннях учасників та засновників тематичних проектів. Серед
таких релігійних напрямків мабуть найпоширенішим на сьогоднішній день, є
хрестиянство та буддизм. Подібність фундаментальних релігійних підвалин з
основоположними принципами екології, як науки, формує вдале підставу для
стійкого науково-технічного та ментально-соціального розвитку.
1.3 Основні принципи концепції створення
екологічних будинків
Як і будь-який населений пункт, що проектується з
урахуванням новітніх тенденцій сучасного науково-технічного рівня, екологічні
поселення складаються з декількох ключових елементів, серед яких найважливішим,
є будівництво житлових споруд - будинків. З розвитком руху популяризації ідеї
екологічних поселень, сформувався ряд будівельно-технічних принципів, що
утворили основу концепції будівництва так званого «Екодома».
У 1973-1979 роках був побудований комплекс
«ECONO-HOUSE» в місті Отаніємі, Фінляндія. У будівлі, крім складного
об'ємно-планувального рішення, що враховує особливості розташування та клімату,
була застосована особлива система вентиляції, при якій повітря нагрівалося за
рахунок сонячної радіації, тепло якої акумулювалося спеціальними склопакетами і
жалюзі. Також, в загальну схему теплообміну будівлі, що забезпечує
енергозбереження, були включені сонячні колектори та геотермальна установка.
Форма скатів покрівлі будівлі враховувала широту місця будівництва і кути
падіння сонячних променів у різну пору року [3].
Якщо вдатися до узагальнення принципів створення
«Екодома», то, можна відзначити, що в більшості проектів будівництва екологічно
ефективного житла, це абсолютно автономна будова зі своїм водо-і
енергопостачанням, що дозволяє не тільки організувати повну переробку та
утилізацію побутових відходів, але й не завдає збитку навколишньому середовищу.
Слідуючи існуючим концепціям, екобудинок повинен будуватися з поновлюваних
екологічно чистих матеріалів, що забезпечують ефективну теплоізоляцію і в той
же час природний повітрообмін і вентиляцію. Ці поняття завжди були і до цього
дня знаходяться в суперечності. Питання забезпечення природної регенерації
кисню при збереженні тепла залишається одним з найбільш складних. Новітні
розробки в цій галузі вкрай дорогі, а запропоновані ринком освіжувачи,
озонатори повітря та подібні їм пристрої за великим рахунком проблеми не
вирішують.
Водопостачання «екодома» - серйозна, але більш
проста задача. В даному випадку можуть бути використані, атмосферні опади,
постійно супутній і не завжди помітний конденсат, очищені побутові стоки і
певною мірою артезіанські джерела. Доступні технічні можливості для реалізації
проектів стабільного водопостачання сьогодні вже є.
Завдання переробки продуктів життєдіяльності не є
простим, але виникаючи проблеми можна вирішувати. Звичайно, забезпечити кожен
екобудинок індивідуальним безвідходним сміттєпереробним комплексом видається,
щонайменше, заходом нерентабельним. Проте в рамках створення екопоселень і це
питання не повинно викликати труднощів.
Головною ж проблемою залишається автономне
енергопостачання та енергозбереження. Методи вирішення їх, з одного боку,
лежать на поверхні. Це успішне застосування сонячних батарей і
вітрогенераторів. Однак, потужність таких пристроїв залишається недостатньою.
Статистичні дані і накопичений досвід по
енергоспоживанню показують, що сім'я з трьох осіб витрачає за рік близько 3-3,5
тис. кВт·год Таку кількість електроенергії індивідуальні сонячні батареї і
вітрогенератори екобудинків площею в 150 м2 забезпечити не зможуть,
навіть при використанні новітніх сонячних наноантен, що працюють практично
цілодобово і в інфрачервоному діапазоні від накопиченого за світловий день
тепла. До цього слід додати, що вартість сонячних батарей і вітрогенераторів поки
ще відносно висока.
Труднощі стабільного енергозабезпечення екодома
пов'язані також і з рівномірним розподілом одержуваної від сонця і вітру
енергії, як протягом доби, так і протягом усього року. Питання ефективної
акумуляції енергії, одержуваної від природних джерел, залишаються, а пропозиції
щодо зберігання енергії під екодомом в землі або у вигляді нагрітої води
залишаються лише пропозиціями. Тому, сьогодні на пострадянському просторі
будівництво екодома, якщо не вважати білоруський варіант будівництва його з
соломи та глини, знаходиться в концептуальному стані, а сама ідея зводиться до
створення енергоефективного будинку. Рекомендацій же по створенню екодома
предостатньо. Зокрема, цікавим є пропозиція будівництва його з бетону методом
безперервного лиття із застосуванням полімерної опалубки, яка служить одночасно
і гідроізоляцією, і утеплювачем. Але, знову виникає питання: використання
бетону без армування не завжди виправдано, а поняття «Екодім» в свою чергу
виключає застосування металу при його будівництві. Інша пропозиція - це
будівництво екодома з піно-або газобетону. По теплопровідності ці матеріали
еквівалентні дереву,але виникають сумніви з точки зору абсолютної екологічності
та сировинної поновлювальності.
До сучасних експериментів підвищення енергозбереження
будівель можна віднести споруду, побудовану в 1972 році в місті Манчестер в
штаті Нью-Гемпшир (США). Вона мала кубічну форму, що забезпечувало мінімальну
поверхню зовнішніх стін, площа скління не перевищувала 10%, що дозволяло
зменшити втрати тепла за рахунок об'ємно-планувального рішення. По північному
фасаду було відсутнє скління. Покриття плоскої покрівлі було виконано в світлих
тонах, що зменшувало її нагрівання і, відповідно, знижувало вимоги до
вентиляції в теплу пору року. На покрівлі будинку були встановлені сонячні
колектори.
Інтенсивність розвитку та глобального поширення
концепції екологічних поселень, призвела до появи нових світових офіційних
стандартів будівництва житлових споруд. З причини того, що одним з
найважливіших ознак екологічно ефективних будівель, є енергозбереження. Саме
цей критерій став основою європейської класифікації будівель в залежності від
їх рівня енергоспоживання. Далі приведена коротка характеристика пунктів цієї
класифікації:
старі будівлі (будівлі, побудовані до 1970-х
років) - вони вимагають для свого опалення близько 300 кВт·год/(м²·рік);
нові будівлі (будувалися з 1970 до 2000 року) -
не більше 150 кВт·год/(м²·рік);
будинки низького споживання енергії (з 2002 року
в Європі не дозволено будівництво будинків нижчого стандарту) - не більше 60
кВт·год/(м²·рік);
пасивні будинки - не більше 15 кВт·год/(м²·рік);
будинки нульової енергії (будівлі, архітектурно
мают той же стандарт, що і пасивні будинки, але інженерно оснащені таким чином,
щоб споживати виключно тільки ту енергію, яку саме і виробляє) - 0 кВт·год/(м²·рік) [9];
будинки плюс енергія або активні будинки
(будівлі, які за допомогою встановленого на них інженерного обладнання:
сонячних батарей, колекторів, теплових насосів, рекуператорів, ґрунтових теплообмінників
і т. ін. виробляли б більше енергії, ніж самі споживали).
Однак, незважаючи на всю привабливість проектів,
чинником, який стримує їх розвиток, є ціна екологічно ефективних споруд. В
даний час вартість споруди енергозберігаючого будинку приблизно на 8-10% більше
середніх показників для звичайної будівлі. Додаткові витрати на будівництво
окупаються протягом 7-10 років. Але варто зазначити, що при цьому немає
необхідності прокладати всередині будівлі труби водяного опалення, будувати
котельні, ємності для зберігання палива і т. ін. Зазначимо, що недоліки цього
виду будівництва в сучасному світі дуже відчутні.
Для країн, що розвиваються (наприклад, для
України) з нестабільною економікою, держбюджетне фінансування екологічного
будівництва неможливо. Приватне ж спонсорування окремих дрібних проектів
екопоселень має низьку ефективність для здійснення скорочення антропогенного і
техногенного впливу на природне навколишнє середовище.
1.4 Форми альтернативного землеробства, придатні
для використання в умовах екологічних поселень
Ще однією найважливішим завданням формування
нового типу заселення територій, є забезпечення людини трудовою зайнятістю і
необхідної для життя продукцією, виключивши при цьому негативний вплив на
навколишнє середовище.
Великі екологічні поселення можуть мати у своїй
інфраструктурі виробничі об'єкти, покликані задовольнити потреби людей
(наприклад, виготовлення взуття чи одягу).
Однак, для малих маєтків (1-3 сім'ї) будівництво
та експлуатація виробничих підприємств малорентабельне і нераціональне. Тому,
для багатьох екологічних поселень основним видом діяльності, є землеробство і в
цілому сільське господарство. Зазначимо, що специфіка екологічного заселення
територій, має на увазі зміна класичних методик ведення сільського господарства.
Таким чином, в даний час сформовано ряд
спеціальних форм альтернативного землеробства в екологічному поселенні [10-11].
Далі розглянемо три нині існуючих вида екологічно
орієнтованих методів обробки землі.till-технології till - скорочена назва
нульової технології, при якій проводиться посів насіння в грунт, який не
піддавався ніякій обробці. No-till-технологія поширена в сьому світі і, як
правило, застосовується у великих фермерських господарствах [12]. Для даної
технології провідними виробниками сільгосптехніки були створені спеціальні
сучасні посівні комплекси, що дозволяють одночасно здійснювати три операції за
один етап: вносити добрива під смугу посіву, висівати насіння і здійснювати
прикочування. Процес проходить на швидкості 15 га/год. Універсальність
посівного комплексу «Horsch - АГРО-СОЮЗ» допомагає скоротити витрату не тільки
палива, але й часу. На посівной процес з такою продуктивністю йде не місяць, а
всього 10 днів. Скорочення витрат паливно-мастильних матеріалів за такої
технології зменшується в 11 разів.
Принципами No-till-технології є:
для вирощування культур обробка ґрунту не
обов'язкова;
пожнивні залишки культур є цінним продуктом і
залишаються на поверхні ґрунту у вигляді мульчі;
- забивання мульчі забороняється;
- грунт повинен мати постійне покриття;
акцент робиться на біологічних процесах в ґрунті;
в якості основного можливого варіанту боротьби з
шкідниками використовуються біологічні методи;
ерозія ґрунту під дією води і вітру є просто
симптомом того, що для даної місцевості і екосистеми використовуються
неправильні методи землеробства (ерозія викликана неправильною обробкою
ґрунту).
На сьогоднішній день No-till-технологію не можна
віднести до органічного землеробства, так як в перехідний період застосовуються
мінеральні добрива, гербіциди і пестициди. За словами фахівців нульової
технології, у міру наростання мульчуючого шару на поверхні ґрунту, відпадає
необхідність внесення добрив та засобів хімзахисту, так як мульча,
перегниваючи, створює родючий шар, сприяє природній аерації ґрунту і пригнічує
ріст бур'янів.
Комплексна система в боротьбі з бур'янами при
технології No-till грунтується на трьох принципах: сівозміні, створенні
мульчуючого шару, застосуванні гербіцидів.
Для успішної боротьби з бур'янами велике значення
має чергування культур різного виду. Якщо не дотримуватися сівозміни, то не
буде ефективним і внесення гербіцидів. Сідеріти і без закладення в грунт можуть
бути корисні не тільки в якості добрива, а й ефективним засобом боротьби з
бур'янами і з ущільненням ґрунту. Рівномірний розкидання рослинних залишків
створює на поверхні ґрунту шар мульчі. Для цього комбайн повинен бути оснащений
соломорозкидувачем. Мульча не тільки зберігає вологу, але і перешкоджає
попаданню насіння бур'янів у грунт, вони залишаються на поверхні.
Крім того, відомо, що будь-яка обробка ґрунту
створює більш сприятливі умови для проростання насіння бур'янів і падалиці
попередньої культури. Тому що при No-till грунт не обробляється і він закритий
пожнивними залишками, то і немає умов для проростання свіжих насіння бур'янів,
а старі насіння ніколи не будуть вивернуті на поверхню.
В Україну найвідомішою компанією, що застосовує
No-till-технологію, є «Агро-Союз», сільгоспугіддя якої розташовані в
Дніпропетровській області. Заснована в 90-х роках фірма, що спеціалізувалася на
постачанні запчастин для сільгосптехніки, сьогодні переросла в виробника
сучасних сільськогосподарських машин. Величезною популярністю в усьому світі
користуються посівні комплекси «HORSCH Агро-Союз». Зараз це велика корпорація,
яка займається не тільки рослинництвом, а й розведенням тварин (свинарство,
страусівництво, молочне скотарство), замикаючи, таким чином, цикл сільського
господарства.
Ландшафтно-адаптивне землеробство
Адаптивно-ландшафтна система землеробства (АЛСЗ)
- це система використання землі певної агроекологічної групи, орієнтована на
виробництво продукції економічно та екологічно обумовленої кількості та якості
відповідно до суспільних (ринковими) потребами, природними і виробничими
ресурсами, що забезпечує стійкість агроландшафту і відтворення грунтової
родючості.
Термін «ландшафтна» означає, що вона
розробляється стосовно конкретної категорії агроландшафту, або, іншими словами,
до агроекологічної групі земель (плакорних, солонцевих, засолених і т. ін.).
При цьому ланки систем землеробства формуються в межах агроекологічних типів
земель (тобто ділянок, однорідних за умовами обробітку культури або групи
культур з близькими агроекологічними вимогами); елементи (прийоми обробки,
посіву і т. ін.) диференційовані відповідно до елементарними ареалами
агроландшафту (тобто елементами мезорельефа, обмеженими елементарними
ґрунтовими структурами), а організація території здійснюється з урахуванням
структури ландшафту та умов його функціонування.
АЛСЗ має конкретний агроекологічний адрес (група
земель в межах агроекологічної провінції) і адаптована до певних
соціально-економічних умов та визначається шістьма групами факторів [11]:
громадські (ринкові) потреби (ринок продуктів,
потреби тваринництва, вимоги переробки продукції);
агроекологічні вимоги культур та їх
середоутворюючий вплив;
агроекологічні параметри земель
(природно-ресурсний потенціал);
виробничо-ресурсний потенціал, рівні
інтенсифікації;
господарські уклади, соціальна інфраструктура;
якість продукції та довкілля, екологічні обмеження.
Термін «адаптивна» означає адаптованість системи
землеробства до всього комплексу позначених умов.
АЛСЗ являє собою розвиток раніше сформованих
уявлень і вбирає в себе колишні і нові поняття. Це визначається класифікацією
АЛСЗ, в якій вони поділяються за агроекологічної приналежності (зона, підзона,
провінція, група земель), у напрямку рослинництва, рівнем інтенсифікації, формі
використання землі, обмеженням хімізації.
Щоб спроектувати АЛСЗ, необхідно за допомогою
грунтово-ландшафтного картографування ідентифікувати агроекологічну групу і
види земель, тобто ЕАА, і сформувати їх типи. Остання процедура виконується
шляхом зіставлення агроекологічних параметрів культур з такими ж параметрами
земель. Близькі за екологічними умовами ЕАА об'єднуються в типи земель.
Екологічне землеробство
У більшості розвинених країн активно
розробляються та освоюються біологічні методи ведення сільського господарства,
засновані на скорочення або повної відмови від синтетичних мінеральних добрив і
хімічних засобів захисту рослин при максимальному використанні біологічних
факторів підвищення родючості грунтів, придушення хвороб, шкідників та
бур'янів, а також здійснення комплексу інших заходів, що не скоюють негативного
впливу на стан природного середовища, але поліпшують умови формування врожаю.
Така система виробництва отримала назву екологічного сільського господарства.
Аналізуючи, представлену інформацію про три
підходи до обробки земельних ресурсів, можна сказати, що їх застосуванні в
умовах екологічного поселення можуть дати можливість екопоселенцам забезпечити
себе і свої сім'ї необхідною кількістю продуктів харчування рослинного
походження, виключивши при цьому більшу частину негативного впливу на природне
середовище, що особливо значимо при урахуванні популярного серед екопоселенців
вегетаріанства [12].
Підводячи підсумки даного розділу, можливо,
зробити наступний короткий висновок: екологічні поселення, як концепція
організації альтернативної екологічно ефективної форми заселення територій,
мають не тільки стійку морально-ідеологічну основу, а й енерго- та
ресурсносбережувальні складові, виражені як в будові інфраструктури поселення в
цілому, так і в проектуванні окремих житлових приміщень - «Екодома». Також,
екопоселення здатні використовувати сучасні досягнення світового
науково-технічного прогресу в своєму функціонуванні, наприклад в сфері
землеробства.
Таким чином, екологічні поселення, є
перспективним об'єктом для подальшого розвитку екологічного руху.
2. Нормування антропогенного навантаження в
екологічних поселеннях
Більшість розвинених екологічно ефективних
поселень мають широку сільськогосподарську інфраструктуру, яка надає певний
антропогенний вплив на навколишнє середовище. Розглянемо вплив діяльності
екопоселень на стан атмосферного повітря за рахунок спалювання вугілля в
котельнях та викидів від тваринницького комплексу. Екопослення, яке
проектується в роботі, буде розташоване в Костянтиівському районі Донецької
області.
2.1 Кліматичні і метеорологічні умови в районі
розташування екологічного поселення
Метеорологічні фактори вносять значний вклад в
розсіювання викидів забруднюючих речовин в атмосферному повітрі [13].
До основних факторів, що визначають розсіювання
домішок, відноситься також стратифікація атмосфери: інверсія температури і
висота шару перемішування, швидкість вітру, тумани.
Повторюваність слабких вітрів на території міста
складає 20-40% з максимумом у серпні-вересні. Повторюваність штилів - 18%, у
літні місяці більш 20% від усіх вимірів. Максимальна швидкість вітру,
перевищення якої складає не менш 5%, дорівнює 12 м/с. Число днів з туманом - 36
за рік, тобто близько 800 годин. Найбільше число туманів приходиться на період
з листопада по березень.Випадає близько 530 мм опадів у рік. Число годин
сонячного сяйва досягає 2000 у рік. Оскільки в Донецьку відсутня аерологічна
станція, що проводить висотні спостереження, дані про температурні інверсії,
слабкі вітри і застої повітря прийняті по станції Кривого Рогу, як найбільше
близько розташованої. Повторюваність приземних інверсій у літні ночі складає
75-85% від усіх випусків. У денний час приземні інверсії зустрічаються в 3-7%
випадках влітку і до 20% узимку. Потужність приземних інверсій коливається від
0,48 км - узимку, до 16 км - улітку. Інтенсивність інверсій змінюється
відповідно від 3,8 °С до 1,2 °С. Підняті інверсії в річному ході і вдень і
вночі найчастіше спостерігаються в осінньо-зимовий період. У холодний час року
переважають інверсії з нижньою границею на висоті до 0,5 км. В осінньо-літній
період навпаки частіше нижня границя розташовується в інтервалі вище 0,5 км до
2 км. Середня річна потужність піднятих інверсій 0,27 км. Застої повітря
(повторюваність, відсоток приземних інверсій при швидкості вітру 0-1 м/с у
землі) частіше случаються вночі і ввечері в літні місяці (до 21%).
Костянтинівський район відноситься до III зони,
що характеризується показником ПЗА, рівним 2,8. Метеорологічні характеристики
наведено в таблиці 2.1.
Таблиця 2.1 - Метеорологічні характеристики та
коефіцієнти, які визначають умови розсіювання забруднюючих речовин в
атмосферному повітрі
|
Назва
характеристики
|
Величина
|
|
1
|
2
|
|
Коефіцієнт,
що залежить від стратифікації атмосфери, А
|
200
|
|
Коефіцієнт
рельєфу
|
1
|
|
Середня
максимальна температура повітря найбільш жаркого місяцю року, Т, °С
|
28,5
|
|
Середня
температура повітря найбільш холодного місяцю року, Т, °С
|
- 6,5
|
|
Середньорічна
роза вітрів,%:
|
|
|
північний
напрямок
|
12
|
|
північно-східний
напрямок
|
11
|
|
східний
напрямок
|
16
|
|
південно-східний
напрямок
|
14
|
|
південний
напрямок
|
10
|
|
південно-західний
напрямок
|
12
|
|
Західний
напрямок
|
14
|
|
Північно-західний
напрямок
|
11
|
|
Швидкість
вітру (U*) по усередненим багаторічним даним, повторюваність перевищення
котрої є 5%, м/с
|
12
|
Аналіз даних таблиці 2.1 доводить, що в районі
розташування екопослення спостерігаються несприятливі умови для розсіювання викидів
забруднюючих речовин.
2.2 Розрахунок потужності викидів забруднюючих
речовин від діяльності екопоселення
У екопоселенні основними джерелами забруднення
атмосферного повітря будуть:
котельні, що працюють на твердому паливі. На
території екопоселення постійно буде функціонувати 8 міні-котелень (джерела
викидів № 0001 - 0008);
тваринницький комплекс. До складу проектованого
тваринницького комплексу входять: блок для утримання корів (корівник),
приміщення, спеціально пристосоване для утримання кіз (козлятник), споруда для
вирощування і відгодівлі свиней (свинарник), а також курник. Це -
неорганізовані джерела викидів забруднюючих речовин (джерела № 6009 - 6012).
Гній, що утворюється в результаті життєдіяльності тварин, буде зберігатися в
гноєсховищі (джерело № 6013).
Розрахунок викидів забруднюючих речовин від
міні-котелень
У зв'язку з природними геологічними особливостями
обраного регеона розташування проектованого екологічного поселення, в якості
палива для котелень обране кам'яне вугілля. Час роботи котелень складає 120 діб
на рік.
Валовий викид
-ї забруднюючої речовини
(т), який поступає в атмосферу з димовими газами енергетичної
установки за проміжок часу
, визначається як сума валових викидів цієї речовини в процесі
спалювання різних видів палива, в том числі під час їх одночасного загального
спалювання:
(2.1)
де
- валовий викид
-ї забруднюючої речовини під час
спалювання
-го палива за проміжок часу
, т;
- показник емісії
-ї забруднюючої речовини для
-го палива, г/ГДж;
- витрата
-го палива за проміжок часу
, т;
- нижча робоча теплота згоряння
-го палива, МДж/кг.
Вихідні дані для розрахунку викидів забруднюючих речовин
від міні-котелень наведено у таблиці 2.2.
Таблиця 2.2 - Дані для розрахунку викидів забруднюючих
речовин від міні-котелень
|
Назва,
розмірність
|
Показник
|
|
Номер джерела викидів
забруднюючих речовин
|
0001-0008
|
|
Назва
виробництва
|
Котельня
|
|
Назва котла
|
Котел
|
|
Час
роботи котельної, год/рік
|
2880
|
|
Марка топлива
|
Вугілля ГР
|
|
Bi,
середньогодова витрата палива, т/рік
|
50
|
|
(Qri)i,
нижча робоча
теплота сгоряння палива, МДж/кг
|
20,47
|
|
св.м,
массовий зміст важкого
металу в паливі, мг/кг
|
20
|
|
aвин,
частина золи, яка видаляється у вигляді летучої золи
|
0,15
|
|
fзб,
коэффіціент збагачення важкого
металу
|
1
|
|
hзу, эфективність золозатримуючої установки
|
0
|
|
fг,
частина важкого металу, яка виходить у газоподібній формі
|
0,005
|
|
hгзу, эфективність затримання газоподібної фракції важкого металу в золозатримуючій
установці
|
0
|
|
K(As), показник емісіі миш´яку,
г/ГДж
|
0,151
|
|
K(Cd), показник емісіі кадмію, г/ГДж
|
0,000
|
|
K(Cr), показник емісіі хрому, г/ГДж
|
0,344
|
|
K(Cu), показник емісіі міді оксиду, г/ГДж
|
0,213
|
|
K(Hg), показник емісіі ртуті, г/ГДж
|
0,006
|
|
K(Pb), показник емісіі свинцю, г/ГДж
|
0,103
|
|
K(Se), показник емісіі селену, г/ГДж
|
0,000
|
|
K(Zn), показник емісіі цинку окиду, г/ГДж
|
0,293
|
|
K(N2O),
показник емісії діазоту оксиду, г/ГДж
|
1,4
|
|
K(CH), показник емісії, метану, г/ГДж
|
1
|
|
K(ТВ), показник емісії твердих часток, г/ГДж
|
3376,593
|
|
K(CO2),
показник емісії вуглецю діоксиду, г/ГДж
|
93740,080
|
|
K(CO), показник емісії вуглецю оксиду, г/ГДж
|
11,4
|
|
K(SO2),
показник емісії сірки діоксиду, г/ГДж
|
2784,563
|
|
K(NOx),
показник емісії азоту оксидів, г/ГДж
|
70,880
|
Дані, які були отримані в результаті видповідних
розрахунків викидів забруднюючих речовин від міні-котелень зведено в таблицю
2.3.
Таблиця 2.3 - Результаты сумарного розрахунку
викидів забруднюючих речовин від міні-котелень
|
Забруднююча
речовина
|
Викид
|
|
Код речовини
|
Назва
|
г/с
|
т/рік
|
|
133
|
Кадмія оксид (у перерахунку на
кадмій)
|
0
|
0
|
|
146
|
Міді оксид (у перерахунку на мідь)
|
2,1·10-5
|
2,2·10-4
|
|
163
|
Нікель металевий
|
1,9·10-5
|
2,0·10-4
|
|
183
|
Ртуть металева
|
5,9·10-7
|
6,1·10-4
|
|
184
|
Свинець та його
неорганічні сполуки
(у перерахунку на свинець)
|
1,1·10-5
|
1,1·10-4
|
|
203
|
Хром шестивалентний (у перерахунку на триоксид хрому)
|
3,4·10-5
|
3,5·10-4
|
|
207
|
Цинку оксид (у перерахункуна
цинк)
|
2,9·10-5
|
3,0·10-4
|
|
301
|
Азота діоксин
|
0,007
|
0,073
|
|
325
|
Миш´як, неорганічні сполуки (у перерахун-ку на миш´як)
|
1,4·10-5
|
1,5·10-4
|
|
330
|
Сірки
діоксин
|
0,275
|
2,850
|
|
337
|
Вуглецю
оксид
|
0,001
|
0,012
|
|
410
|
Метан
|
9,6·10-5
|
0,001
|
|
2908
|
Пил неорганічний, що містить діоксид
кремнію в%: 70-20 (ш.ц.)
|
0,333
|
3,456
|
|
329
|
Селена діоксид (у перерахунку на селен)
|
0
|
0
|
|
-
|
Діазоту оксид
|
9,6·10-5
|
0,001
|
|
-
|
Вуглецю діоксид
|
9,254
|
95,943
|
Розрахунок викидів забруднюючих речовин в атмосферне повітря від
тваринницького фермерського комплексу
Для проведення розрахунку викидів забруднюючих
речовин у атмосферне повітря від тваринницьких комплексів була використана
методика [14]. Вона дозволяє проводити розрахунок
потужності виділення (г/с і т/рік) тваринницького комплексу або звіроферми на
основі величин питомих виділень.
У розрахунках враховуються десять основних
забруднюючих атмосферу речовин: мікроорганізми, меркаптани (за
метилмеркаптаном), аміни (за диметиламіном), аміак, сірководень, карбонові
кислоти (за капроновою кислотою), карбонільні сполуки (за альдегідом
пропіонової кислоти), пил хутряний (вовняний, пуховий) сульфіди (за
діметилсульфідом), феноли (за фенолом).
Необхідним є розрахунок потужностей виділення
забруднюючих речовин із навозу, який складується у навозонакопичувачах. В
основу розрахунку потужності виділення забруднюючих речовин в атмосферу від
великих тваринницьких комплексів та звіроферм за цією методикою покладено
експериментально підтверджене на прикладі свинарських комплексів правило десяти
відсотків або принцип (закон) Ліндемана, близько 10% енергії надходить від
кожного попереднього трофічного рівня до наступного. Згідно з цим правилом,
тваринами засвоюєтьсявід 7 до 13% енергії (або речовини в енергетичному
вираженні). Решта 87 - 93% органічної речовини (продуктів життєдіяльності
тварин) будуть перероблені мікроорганізмами або утилізовані. З засвоєних тваринами 10% кормів у
результаті їх ферментативного
розкладання безпосередньо в атмосферу виділиться десята частина забруднюючих речовин.
Необхідні вихідні дані для розрахунку
представлені у таблицях 2.4 - 2.6.
Таблиця 2.4 - Вихідні дані для розрахунків
|
Назва
|
Одиниця
виміру
|
Показник
|
|
Кількість
свиней
|
Голів
|
60
|
|
Середня
вага 1 свині
|
|
1,4
|
|
Кількість
корів
|
Голів
|
40
|
|
Середня
вага 1 особини (корів)
|
Ц
|
6
|
|
Дійне
стадо корів
|
Ц
|
180
|
|
Кількість
коз
|
Голів
|
60
|
|
Середня
вага 1 особини (коз)
|
Ц
|
0,9
|
|
Дійне
стадо коз
|
Ц
|
45
|
Таблиця 2.5 - Вихідні дані для розрахунків
викидів забруднюючих речовин від курятнику
|
Назва
|
Одиниця
виміру
|
Показник
|
|
Кількість
кур
|
Голів
|
500
|
|
Середня
вага 1 особини
|
Ц
|
0,002
|
|
Яйценосні
кури
|
Голів
|
250
|
В таблиці 2.6 наведено усереднені за рік величини
питомих викидів забруднюючих речовин від життєдіяльності тварин, які
утримуються на скотобазах.
Таблиця 2.6 - Величини питомих викидів
забруднюючих речовин (10-6 г/с ´1 центнер живої маси)
|
Назва забруднюючої речовини
|
|
Велика
рогата худоба (ВРХ)
|
Мала
рогата худоба (кози)
(МРХ)
|
Свині
|
Кури
|
|
Мікроорганізми
|
135
|
140
|
160
|
175
|
|
Аміак
|
27
|
22
|
13,5
|
16
|
|
Сірководень
|
2,2
|
1,8
|
2,7
|
4,4
|
|
Фенол
|
0,2
|
0,2
|
0,3
|
0,4
|
|
Альдегід
пропіоновий
|
1,5
|
1,3
|
1,8
|
2,2
|
|
Капронова кислота
|
1,8
|
3,1
|
1,0
|
2,5
|
|
Мегілмеркаптан
|
0,2
|
0,15
|
0,1
|
0,4
|
|
Диметилсульфід
|
0,6
|
1,4
|
2,0
|
3,8
|
|
Диметиламін
|
13,2
|
8,6
|
8,0
|
8,8
|
|
Пил хутряна
|
50
|
150
|
60
|
180
|
Потужність викиду і-ої забруднюючої речовини
визначається за формулою:

, (2.2)

, (2.3)
де 
- потужність викиду і-ої речовини, г/с;
і -
умовне позначення забруднюючої речовини (з 1 по 10);
n - умовне позначення групи тварин одного виду,
об'єднаних загальним технологічним процесом;
К - коефіцієнт переходу від розмірності г/с до т/рік, К = 31,5;

- величини питомої виділення
і-ої забруднюючої речовини, встановлена для тварин певного виду, що
беруть участь у загальному технологічному процесі;
N - кількість тварин, що беруть участь у загальному технологічному процесі;
q - середня маса в центнерах однієї тварини з групи тварин, що беруть
участь у загальному технологічному процесі. Добуток
може бути замінено на массу всіх тварин, що беруть
участь в одному технологічному
процесі.
Для того, щоб розрахувати потужність викиду забруднюючої
речовини за певний період (теплий, перехідний, холодний), потрібно провести
розрахунок за наступною формулою:

= 
/ 365 ∙ 183, (2.4)
де 365 - кількість діб у році;
- кількість діб за період, у даному випадку за теплий
період.
Спочатку потрібно розрахувати загальну вагу групи тварин у
центнерах за формулою:
Mi = ni ∙ m, (2.5)
де Мi
- загальна маса I -ої групи тварин, ц;
ni -умовне позначення кількості тварин і-ої групи,
голів;
m - умовне
позначення ваги 1 особи, ц.
Згідно кліматичних умов району, що розглядається, теплий
період року триває 183 доби. Дані розрахунку потужністі викиду забруднюючих
речовин в різні періоди року за формулами (2.2) - (2.5) наведені в таблиці 2.6.
Таблиця 2.6 - Потужність викидів забруднюючих
речовин (від ВРХ та свиней)
|
Речовина
|
Потужність
викиду, г/с
|
Потужність
викиду, т/рік
|
Потужність
викиду, т/період
|
|
Від
свиней
|
Від ВРХ
|
Від
свиней
|
Від ВРХ
|
Від
свиней
|
Від ВРХ
|
|
Мікроорганізми
|
0,0134
|
0,0324
|
0,4220
|
1,021
|
0,2120
|
0,5120
|
|
Аміак
|
0,0011
|
0,0065
|
0,0350
|
0,204
|
0,018
|
0,1020
|
|
Сірководень
|
0,0002
|
0,0005
|
0,006
|
0,016
|
0,003
|
0,008
|
|
Фенол
|
0,0009
|
0,0001
|
0,0009
|
0,0016
|
0,0004
|
0,0008
|
|
Альдегід
пропіоновий
|
0,0002
|
0,0004
|
0,0047
|
0,0130
|
0,0023
|
0,0065
|
|
Капронова
кислота
|
0,0001
|
0,0004
|
0,0030
|
0,0130
|
0,0012
|
0,0065
|
|
Метілмеркаптан
|
0,00001
|
0,00005
|
0,0003
|
0,0016
|
0,0002
|
0,0008
|
|
Диметилсульфід
|
0,0017
|
0,0001
|
0,0536
|
0,0044
|
0,0269
|
0,0022
|
|
Диметиламін
|
0,0007
|
0,0032
|
0,0220
|
0,1010
|
0,0110
|
0,0510
|
|
Пил хутряний
|
0,0050
|
0,0120
|
0,1600
|
0,3800
|
0,0800
|
0,1900
|
Таблиця 2.7 - Потужність викидів забруднюючих
речовин
|
Речовина
|
Потужність
викиду, г/с
|
Потужність
викиду, т/рік
|
Потужність
викиду, т/період
|
|
Від кур
|
Від МРХ
|
Від кур
|
Від МРХ
|
Від кур
|
Від МРХ
|
|
Мікроорганізми
|
0,0022
|
0,0076
|
0,0693
|
0,238
|
0,0347
|
0,119
|
|
Аміак
|
0,0002
|
0,0012
|
0,0063
|
0,038
|
0,0031
|
0,019
|
|
Сірководень
|
0,0001
|
0,0001
|
0,003
|
0,003
|
0,0015
|
0,0015
|
|
Фенол
|
0,000005
|
0,00001
|
0,0002
|
0,0003
|
0,00007
|
0,00015
|
|
Альдегід
пропіоновий
|
0,00003
|
0,00007
|
0,0009
|
0,0022
|
0,00050
|
0,00110
|
|
Капронова
кислота
|
0,00003
|
0,0002
|
0,0009
|
0,0054
|
0,00050
|
0,00270
|
|
Метілмеркаптан
|
0,00001
|
0,00001
|
0,0002
|
0,0002
|
0,00010
|
0,00010
|
|
Диметилсульфід
|
0,00010
|
0,00008
|
0,0016
|
0,0025
|
0,00080
|
0,00120
|
|
Диметиламін
|
0,00011
|
0,00050
|
0,0035
|
0,016
|
0,00170
|
0,00800
|
|
Пил хутряний
|
0,00230
|
0,00810
|
0,0720
|
0,2560
|
0,0360
|
0,12800
|
Доля викиду метана від тваринницьких комплексів
становить 20%, він відноситься до парникових газів, викиди яких регламентуються
міжнародними угодами. У методиці до категорій джерел зі значними викидами
парникових газів відносять «Інтестинальну ферментацію» та «Прибирання,
зберігання, використовування навозу». Коефіцієнти викиду метана тваринницькими
комплексами потрібно розраховувати з урахуванням даних, представлених у таблиці
2.7.
Таблиця 2.8 - Коефіцієнти викидів для спрощеного
методу оцінки середньорічних викидів метана від тваринницьких комплексів, у кг
метана на одиницю поголів’я
|
Найменування
|
Коефіцієнти
|
Чисельність
тварин, гол
|
Сумарні
викиди метану, т/рік
|
|
Кишкова
ферментація
|
Прибирання,зберігання,
навозу
|
|
|
|
А
|
В
|
С
|
|
|
Молочні
корови
|
81
|
19
|
30
|
3
|
|
Кози
|
56
|
13
|
60
|
4,1
|
|
Свині
|
1,5
|
7
|
60
|
0,5
|
|
Кури
|
0,01
|
0,5
|
500
|
0,3
|
|
Усього:
|
7,9
|
З даних розрахунків видно, що, сумарні викиду
метану з агрофірми складають 7,9 т/рік.
2.4 Перевірка доцільності розрахунку розсіювання
викидів забруднюючих речовин
Перевірка
проводиться відповідно до [14 ]:
Проміжні дані для розрахункудоцільності наведено в таблиці
2.8.
Таблиця 2.9 - Проміжні дані для розрахунку доцільності розрахунку
|
Назва забруднюючої речовини
|
Середнєзва-жена
висота, м
|
Потужність викиду, г/с
|
ГДК, мг/м3
|
М/ГДК
|
|
Азоту діоксид
|
10
|
0,0070
|
0,2
|
0,0350
|
|
Сірки діоксид
|
10
|
0,2750
|
0,5
|
0,5500
|
|
Вуглецю
оксид
|
10
|
0,0010
|
5
|
0,0002
|
|
Пил
неорганічний, що містить SiO2: 20-70%
|
10
|
0,3330
|
0,5
|
0,6660
|
|
Аміак
|
2
|
0,0090
|
0,2
|
0,04500
|
|
Сірководень
|
2
|
0,0009
|
0,008
|
0,1130
|
|
Фенол
|
2
|
0,0001
|
0,01
|
0,01000
|
|
Альдегід пропіоновий
|
2
|
0,0007
|
5
|
0,00010
|
|
Капронова
кислота
|
2
|
0,0001
|
5
|
0,00002
|
|
Метилмеркаптан
|
2
|
0,0001
|
0,8
|
0,00013
|
|
Диметилсульфід
|
2
|
0,0020
|
50
|
0,00004
|
|
Диметиламін
|
2
|
0,0050
|
5
|
0,00100
|
|
Пил хутряний
|
2
|
0,0270
|
0,5
|
0,05400
|
Дані по доцільності проведення розрахунків розсіювання
викидів забруднюючих речовин в програмі ЕОЛ+ наведено в таблиці 2.10.
Таблиця 2.10 - Доцільність проведення розрахунку в програмі
ЕОЛ+
|
Назва
забруднюючої речовини
|
Доцільність
проведення розрахунків: так (ні)
|
|
1
|
2
|
Так
|
|
Сірки діоксид
|
Так
|
|
Вуглецю оксид
|
Так
|
|
Пил
неорганічний, що містить діоксид кремнію: 70-20%
|
Так
|
|
Аміак
|
Ні
|
|
Сірководень
|
Ні
|
|
Фенол
|
Ні
|
|
Альдегід
пропіоновий
|
Ні
|
|
Капронова
кислота
|
Ні
|
|
Метілмеркаптан
|
Ні
|
|
Диметилсульфід
|
Ні
|
|
Диметиламін
|
Ні
|
|
Пил хутряний
|
Ні
|
Таким чином, доцільно проводити розрахунок
розсіювання викидів по азоту діоксиду, сірки діоксиду, вуглецю оксиду, пилу
неорганічному.
Для розрахунку розсіювання забруднюючих речовин в
програмі ЕОЛ+ необхідно встановити розмір розрахункової площадки. Згідно вимог
ОНД-86 сторони розрахункового прямокутника дорівнюють 50 висотам найбільш
високого джерела викид. Тому що 10 висот дорівнює 500 м, то розмір
розрахункової площадки приймаємо рівним 2000 м на 2000 м. Крок сітки вибираємо
рівним 50 м. Розрахунок проводимо з перебором напрямів вітру з кроком 10 0
при швидкостях вітру 0,5; 1,0; 1,5; 5,0; 12,0 м/с та 0,5; 1,5 долі від середнє
зваженої швидкості вітру
Карти-схеми розсіювання забруднюючих речовин в приземному
шарі атмосфери надані в рисунках 2.1-2-5.
1 - 0,0066; 2 - 0,0059; 3 - 0,0053; 4 - 0,0046; 5 -
0,0039; 6 - 0,0032; 7 - 0,0025; 8 - 0,0018; 9 - 0,0011
Рисунок 2.1 - Ізолінії розсіювання азоту діоксида (в частках ГДК)
- 0,00015; 2 - 0,00014; 3 - 0,00012; 4- 0,00010;
5- 0,000086; 6 - 0,000069; 7 - 0,000053; 8 - 0,000036; 9 - 0,000019
Рисунок 2.2 - Ізолінії розсіювання оксиду вуглеци
(в частках ГДК)
- 0,11; 2 - 0,10; 3 - 0,089; 4 - 0,078; 5 - 0,066; 6 - 0,054; 7 - 0,043; 8 - 0,031; 9 - 0,019
Рисунок 2.3 - Карта-схема розсіювання сірки діоксиду в приземному шарі
атмосфери
- 0,23; 2 - 0,21; 3 - 0,18; 4 - 0,16; 5 - 0,14; 6
- 0,11; 7 - 0,088; 8 - 0,064; 9 - 0,039
Рисунок 2.4 - Ізолінії розсіювання неорганічного
пилу (в частках ГДК)
- 0,12; 2 - 0,11; 3 - 0,096; 4 - 0,083; 5 -
0,070; 6 - 0,057; 7 - 0,044; 8 - 0,031; 9 - 0,018
Рисунок 2.5 - Ізолінії розсіювання групи сумації
(в частках ГДК)
Аналізуючи отримані дані, можна зробити наступний
висновок про те, що по жоднії забруднюючої речовини немає порушення нормативів
якості атмосферного повітря на території всього екопоселення, концентрації
забруднюючих речовин знаходяться на рівні менше 0,1 ГДК.
3. Розробка систем технічного забезбеспечення
екологічних поселень
Сучасна концепція проектування і формування
альтернативного пристрою населених пунктів, зводиться до популяризації основних
принципів екологічних поселень носить вельми специфічний технологічний
характер. Прагнення до розвитку даного перебігу процесу урбанізації стимулює
модернізацію базових технічних систем функціонування екологічно ефективних
поселень. Пошук нових технологій для забезпечення нормальної роботи
інфраструктури населеного пункту на всіх її рівнях, є основоположним чинником
масового впровадження екопоселень.
Однак, аналізуючи згадану концепцію, не можна не
відзначити яскраво виражену камерність і просторову обмеженість реалізації
проектів альтернативного освоєння земель. Як відомо, більшість екологічних
поселень представляють собою модифікацію малого сільського населеного пункту.
Обмежена площа подібного типу колоній, перешкоджає розвитку ефективно
функціонуючих технологічних систем, що зв'язують альтернативні поселення між
собою. Утворюючи ряд роз'єднаних, часто ізольованих і незалежних поселень,
концепція розповсюдження екологічно ефективних поселень, не здатна створити
глобальну конкурентоспроможну мережа всебічно сполучених населених пунктів.
На сьогоднішній день, з урахуванням екологічної
ситуації в світі, бачиться дуже конструктивним перехід від тенденції
популяризації локальних, общинних проектів збалансованих екопоселень
колоніального типу улаштування, до концепції розширеного проектування
альтернативних форм населених пунктів міського типу. Даний перехід в процесі
прогресування практичного впровадження дозволить підвищити конкурентоспроможність
развиваемого виду урбанізації по відношенню до класичного місту. Також,
розширення розроблюваних площ при плануванні екологічних поселень, що
супроводжується технічною модернізацією їх територій, дасть можливість
поступового витіснення традиційного устрою мегаполісів, що вкрай важко при
збереженні пасивного впровадження малих поселень сільського типу.
Розглядаючи екологічно ефективні форми
урбанізації в якості моделі так званого «міста майбутнього», необхідним є
визначення основних напрямів технічної еволюції в рамках створення
технологічної універсалії базового оснащення екологічного міста.
На відміну від сільського пристрої екопоселень,
даний тип населених пунктів повинен мати розвинену техносферу.
У таблиці 3.1 представлений матричний набір
найважливіших напрямів технічного розвитку та модернізації, необхідних для
повноцінного проектування екомісто.
Таблиця 3.1 - Основні перспективні напрямки
технічного розвитку екологічних поселень розширеного типу
|
Галузь
технічного розвитку
|
Обгрунтування
впровадження та деякі технічні вимоги до розробок
|
|
Енергетичні
інфраструктури
|
Необхідність
забезпечення енергопостачання різних технологічних процесів. Прийнятні
локальні та общеінфраструктурние технології одержання екологічно чистої
енергії
|
|
Поводження
з відходами та організація вантажних перевезень
|
Неминуче
наявність відпрацьованих матеріалів (відходів) і необхідність транспортування
будматеріалів, продуктів харчування тощо. Прийнятні механічна автоматизація
та безпаливність
|
|
Альтернативне
автомобілебудування і модернізація будівництва автодоріг
|
Необхідність
застосування автотранспорту в побутових і виробничих сферах діяльності
людини. Задовільно енергозбереження
|
|
Екологічна
та сейсмологічна безпека
|
Необхідність
захисту території екологічно ефективного населеного пункту від негативного
впливу природних і техногенних катастроф. Прийнятні автоматизація та
енергозбереження
|
Розвиток перерахованих напрямків
матеріально-технічної бази альтенрнатівних населених пунктів з урахуванням
розумних критерій екопоселення дозволить недопустити регрес і затухання темпів
розвитку сучасної цивілізації, що цілком ймовірно при подальшому впровадженні
сільській идеалогии збалансованого поселення [15].
Далі в роботі розглянуто ряд авторських технічних
рішень, спрямованих на формування різнобічної науково-практичної основи
проектування екологічного поселення міського типу.
3.1 Розробка пропозицій по створенню
альтернативних енергетичних систем
Екологічне поселення, будучи функціонуючою
інфраструктурою, потребує модернізації спеціалізованого технологічного
обладнання для підвищення екологічної ефективності від впровадження даної
концепції організації населених пунктів.
Як було вказано раніше, при проектуванні
екопоселень велика увага приділяється альтернативному енергопостачанню.
Найбільш популяризованими методами одержання екологічно чистої енергії, є
наступні [15]:
) використання фотоелектричних перетворювачів
(фотоелементів), більш відомих під побутовою назвою "Сонячна
батарея", напівпровідникових пристроїв, прямо перетворюють сонячну енергію
в постійний електричний струм;
) використання вітрогенераторів (вітроелектричних
установкок або скорочено ВЕУ) - пристроїв для перетворення кінетичної енергії
вітру в електроенергію;
) використання біогазових установок. Біогаз -
газ, одержуваний водневим або метановим бродінням біомаси. Метанове розкладання
біомаси відбувається під впливом трьох видів бактерій.
Однак, аналізуючи доступну інформацію про ці три
види альтернативної енергетики в контексті їх використання в умовах екологічних
поселень, варто зазначити, що не один з них не може вважатися основним, вони
можуть використовуватися тільки спільно і комплексно. Але необхідно виділити
найбільш прогресивне і зручне в експлуатації джерело енергії для екологічних
поселень - біогаз.
Технічні рішення стосовно отримання біогазу
Аналіз даних літератури доводить, що в Україні
щорічно утворюється понад 120 млн. тонн органічних відходів по сухій масі,
кожна тонна яких може дати від 300 до 800 м3 біогазу.
В роботі для підвищення ефективності енергосистем
екологічних поселень пропонується поліпшена модель біогазових установок.
корисна модель «Біоферментаційний фотосінтезний пристрій для отримання газу»)
[16].
Корисна модель відноситься до пристроїв для
отримання газової суміші з відходів життєдіяльності людини або тварин.
Одержуваний продукт може бути використаний як паливної суміші. Пристрій містить
біоферментаційний блок, біозмішувач, біофотосинтезний генератор кисню і
біорозкладаючий бак, які з'єднані трубопровідними системами. Біоферментаціонний
блок включає резервуар з водою, в якому розташований ферментаційний реактор з
отворами для патрубків трубопровідних систем для подачі вихідної суміші, для
відведення газової суміші, що утворюється. Ферментаційний реактор з'єднаний з
резервуаром-накопичувачем газу, з якого цільової продукт через ємність з
турбіною надходить споживачеві. Біоферментаціонний блок з'єднаний з
біофотосінтезним генератором кисню за допомогою біозмішувача з перемішуючим
механізмом і системами труб. Біофотосинтезний генератор кисню пов'язаний з
біорозкладаючим баком і має вигляд резервуара з світопроникаючого матеріалу з
системою подачі в нього вихідних компонентів та відбору отриманого продукту.
Біорозкладаючий бак представляє собою ємність, всередині якої розташований
поршень зі штоком, забезпеченим пружиною. Пристрій дозволяє отримувати
самооновлюватися джерело палива практично без підведення зовнішньої енергії.
Корисна модель відноситься до пристроїв для отримання газової суміші з відходів
життєдіяльності людини або тварин. Одержуваний продукт може бути використаний в
якості альтернативної паливної суміші.
Технічним результатом корисної моделі є зниження
вартості отримання газового продукту для використання його в якості палива,
зниження негативного впливу діяльності людини на навколишнє середовище [16].
Технічний результат досягають застосуванням
пристрою, що містить біоферментаціонний блок, біозмішувач, біофотосинтезний
генератор кисню і біорозкладаючий бак, з'єднаних між собою трубопровідними
системами. Біоферментаційний блок складається з резервуара з водою, в якій
розташований ферментаційний реактор. Ферментаційний реактор має отвори для
патрубків. Один з патрубків служить для подачі вихідної суміші для ферментації,
інший для відводу утворюється газової суміші, третій розташований в нижній
частині реактора. Через нього відбувається злив відпрацьованої біомаси. В
резервуарі передбачено отвір для подачі води. Резервуар з водою поміщений в
камеру, що забезпечує вакуумну прошарок навколо зазначеного резервуара. Камера
має отвір для відкачування з неї повітря. Ферментаційний реактор з'єднаний
трубою для відведення утворюється газової суміші з резервуаром-накопичувачем
газу, який з'єднаний повітроводами з ємністю, в якій навколо центральної осі
розташовані лопаті турбіни. Ємність з турбіною з'єднана трубою зі споживачем
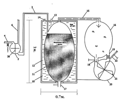
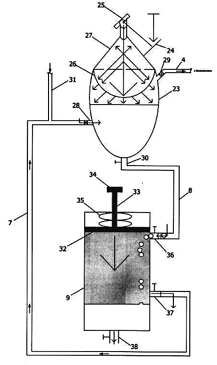
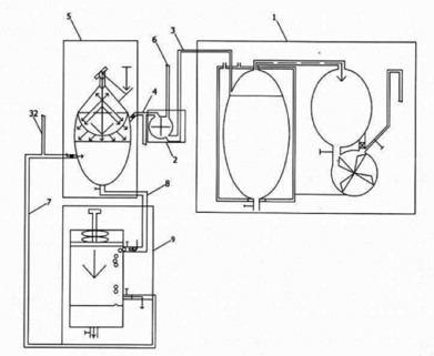
одержуваної газової суміші (рисунок 3.1).
1 - біоферментаційний блок, 2 - біозмішувач; 3 -
труба для подачі вихідної суміші в ферментаційний реактор, 4, 6 - труба
біозмішувача; 5 - біофотосінтезний генератор кисню; 7, 8 - труби, що з'єднують
біофотосінтезний генератор кисню з біорозкладаючим баком; 9 -біорозкладаючий
бак; 32 - труба відбору газу
Рисунок 3.1- Принципова схема біоферментаційного
фотосінтезного пристрію для отримання газу
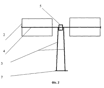
На рисунку 3.2 наведено схему з'єднання
біофотосінтезного генератора кисню і біоразлагательного бака.
Робота пристрою відбувається наступним чином. У
резервуар 23 біофотосінтезного генератора кисню 5 потрубопроводу 33 надходить
необхідна кількість бактеріофіллов і води. Через патрубок 28 туди ж подають
вуглекислий газ. Сонячне світло, що проникає в резервуар 23 безпосередньо
та/або через оптичну систему дзеркал, за допомогою лінзи 26 запускає процес
фотосинтезу.
-резервуар біофотосінтезного генератора кисню; 24 - відкидне
дзеркало; 25 - верхній відбивач; 26 - лінза; 27 - дзеркало; 28-30 - патрубки;
31 - трубопровід; 32 - поршень; 33 - шток; 34 - кнопка; 35 - пружина; 36 -
паттрубок труби 8; 37 - паттрубок труби 7; 38 - труба зливу
Рисунок 3.2 - Схема з'єднання біофотосінтезного генератора
кисню і біорозкдаючого бака
В результаті процесу в резервуарі 23 утворюються глюкоза і
кисень. Продукти реакції поділяються природним чином. Кисень при досягненні ним
певного обсягу через клапан в зворотному патрубку 29 по трубі 34 надходить в
біозмішувач 2. Глюкоза є джерелом енергії для бактериохлорофиллов. Для
посилення реакції утворення кисню резервуар може бути забезпечений зазначеної
вище оптичної системою дзеркал, що складається з відкидного дзеркала 24,
верхнього відбивача 25, лінзи 26 і дзеркала 27 внутрішнього відображення і
фокусування. В біозмішувач 2 по трубі 6 надходить вихідна фекально-дріжджова
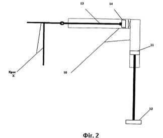
суміш (рисунок 3.3).
10 - резервуар для води; 11 - ферментаційний
реактор; 12 - вакуумний прошарок; 13 - отвір для відкачування повітря; 14 -
отвір для подачі і випуску води; 15 - труба для відводу газової суміші, що
утворюється; 16 - резервуар-накопичувач газу; 17 - патрубок для зливу
відпрацьованої біомаси; 18,19 - газопровіди; 20 - корпус турбіни; 21 - лопата;
22 - труба відводу газу; 39 - лопата змішувача
Рисунок 3.3 - Схема з'єднання біозмішувача і
біоферментаціонного блоку
Ця суміш, перемішуючись з надходять з
біофотосинтезуючий генератора 5 киснем за допомогою перемішуючого механізму 39
та надходить у робочий простір ферментаційного реактора 11. Одночасно із
завантаженням ферментаційного реактора 11 робочою сумішшю в резервуар 10 через
отвір 14 подають підігріту воду, температура якої після заповнення резервуара
зберігається в межах 30-40 ° С. Через отвір 13 виробляють відкачування повітря
з камери навколо резервуара 10. Після розрахункового завантаження і необхідної
підготовки відбувається процес ферментації, в результаті якого у вільному
просторі ферментаційного реактора 11 скупчується газ, що виділяється і далі по
трубі 15 надходить в резервуар-накопичувач 16. З резервуара-накопичувача 16 газ
по повітроводам 18 або 19 надходить у ємність 20 на лопаті турбіни 21,
обертаючи їх. Далі утворилася в ферментаційному реакторі 11 газова суміш як
паливо подається споживачу через патрубок 22, до якого приєднують відвідний
трубопровід. Відпрацьована в процесі реакції біомаса зливається через патрубок
17. Роботу біоразлагательного бака 9 починають із завантаження в нього отсевной
біомаси з резервуара 23 біофотосінтезного генератора кисню 5. Через
передбачений для цієї мети патрубок 30 по транспортній системі 8 отсевную масу
подають в біоразлагательний бак 9.
Відбір цієї біомаси необхідний для збереження
позитивного балансу живих і мертвих клітин при роботі біо-фотосинтезного генератора
кисню і для усунення браку O2 в генераторі, необхідного для
життєдіяльності бактерій. Після завантаження закривають кран в патрубку 30. Це
припиняє доступ O2 у всередину пристрою, що сприяє загибелі і
розкладання фотобактерій. Коли розкладання здійснено, виділений при цьому
процесі CO2 заповнює вільну порожнину бака 9. Потім, впливаючи
натисканням на диск 34, поршень 32 опускають вниз і відбувається розтягування
пружини 35. При цьому СO2 стискається і відбувається його вихід
через патрубок 37 по системі труб 7 в резервуар 23 біофотосінтезного генератора
кисню 5. Після цього відбувається механічний повернення поршня 32 до
відновлення початкового положення пружини 35. Біомасу мертвих клітин можна
використовувати до тих пір, поки буде відбуватися виділення вуглекислого газу
СО2. Відпрацьовану біомасу видаляють через отвір з патрубком 38. Зовнішню
поверхню біоразлагательного бака 9 можна покрити чорною фарбою, це сприятиме
підігріву біомаси для прискорення розкладання клітин під дією теплової сонячної
енергії. Біоферментаційний фотосинтезний пристрій дозволяє отримати недорогий
паливний ресурс. Використовуючи взаємодію живих клітин дріжджів фекальних мас з
додаванням невеликої кількості живих мікроорганізмів, в заздалегідь завантажену
в ферментаційний реактор 11 біологічну масу, можна суттєво збільшити їх
чисельність шляхом природного розмноження, а як наслідок отримати газову суміш,
яка містить діоксид вуглецю, метан, сірководень, відносно дешевим способом.
Проходячи повний цикл у пристрої, газ попутно може
виробляти також і механічну енергію, наприклад, обертаючи лопати спеціального
турбінного колеса 21. Для підтримки технологічного процесу необхідна тепла
вода, яка залита в спеціальний навколишній ферментаційний реактор 11 резервуару
10, що забезпечує необхідний температурний режим процесу (30-40 °С), а також
періодична заміна сировинної маси - фекалій і дріжджових клітин.
Відпрацьована сировинна маса може бути
використана в якості добрива для поліпшення родючості ґрунту [16-17].
Концепція теорії оптимізації росту та четвертного
поділу біологічної платформи розвивається технологічної схеми
біофотосинтезуючого ферментаційного генератора
Для підвищення економічного ефекту технології
створена ступінчаста модель оптимізації росту та четвертного розподілу біомаси.
Враховуючи властивості біоречовин, а саме здатність розмноження живих клітин в
умовах, придатних для цього, формується матриця безперервного множення
платформи (рисунок 3.4).
Керуючись принципом четвертного, процентного
розподілу газовідпрацьованої біосуміши - біоплатформи, можливо вибудувати
систему біоекономічного зростання. Як це показано на схемі, кожен ступінь
оптимізаційної системи є регенераційної, газообразовивающей екосистемою
мікроорганізмів, самооновлюватися циклічного життєдіяльність типу.
Ступінь 1 починає свою структуру з базовою
заправних біоплатформи, одноразово надходить ззовні (в апаратах - це
фекально-дріжджова суміш і бактеріохлорофіли). Далі виконується робота
біоплатформи, тобто виділяється газова суміш - СН4, H2S,
СО2, О2. Після порушення позитивного балансу
співвідношення живих і мертвих клітин відбувається четвертний розподіл маси -
25 ‰ живих +25 ‰ мертвих організмів. 50 ‰ Біомаси знаходиться в відсіві, а 50 ‰
переходять в реактор. Відсів виступає в ролі самостійної біоплатформи, здатної
створити щабель 2. Ця частина може породжувати собі подібних. Так, є можливість
необмеженого розширення технологічної лінії без витрат на сировинну частину,
збільшуючи при цьому дохідну частину [16].
Рисунок 3.4 Схема оптимізації росту та
четвертного поділу біологічної платформи
Вкладаючи мінімальну частину прибутку у
виготовлення апаратури, можливо помножити кількість газового палива. Таким
чином, пропонований пристрій дозволяє отримувати практично самовідновлювальне
джерело енергії в замкнутій системі без підведення зовнішньої енергії.
Створюючи процес розкладання органічних структур - бактерій, можливо,
використовувати пропонований пристрій для виробництва паливної суміші як
джерело отримання теплової енергії.
Впровадження описаного пристрою і технічних
прийомів в умовах екологічно ефективних поселень здатне істотно поліпшити
енергосистему створеної інфраструктури.
Експлуатація генератора в якості автономного
джерела енергії для окремо взятого екодома, зі зрозумілих причин можливе тільки
при наявності розвинутого тваринництва, але із застосуванням концепції
четвертного розподілу, це питання спірне. Установка легко адаптується для
використання в проектуванні розширених екологічно ефективних поселень міського
типу. При цьому пристрій може бути виконано в значно більших габорітах і
виступати в ролі центрального або районного джерела енергії. Однак, потрібно
зазначити, що при центролізаціі, Біоферментаційній фотосінтезній прістрій для
Отримання газу, естевственно зажадає додаткового проектування системи доставки
газотопливною суміші споживачеві енергії. Для деяких проектів екопоселень,
подібні додатки можуть бути не прийнятні з економічної точки зору. Крім того,
враховуючи сучасні вимоги європейців, жителі альтернативного поселення можуть
віддати переваги більш компактним пристроям генераторів, що володіють більшим
ступенем автоматизації.
3.2 Розробка модернізованої гідроенергетичної
установки для локального використання
З метою удавлетворенія зазначених вище критерій,
розроблено спеціальний пристрій «М-Р-А-ЕНЕРГОКОЛОНА». Пристрій відноситься до
гідрогенераторів, що витісняють поточне циркулююче середовище і може бути
використана для отримання екологічно чистої механічної сили [18-19].
Далі наведений короткий огляд сучасного рівня
техникі даного напряму. Відомий гідрогенератор, що містить вал, забезпечений
ланками сателітів, що містять лопаті, осі яких сполучені з шестернями [20].
Відома глибинна підвісна багатороторна
гідроелектростанції - (ГЕС) з використанням вище згаданих генераторів,
встановлених на платформі під поплавцями [21].
Також відомий гідрогенератор (варіанти) [22],
який містить корпус, вал з центральною шестернею, виконаною конічною, ланки
сателітів, кожний з яких містить лопать, а також валик з конічними шестернями
на його кінцях, при цьому один кінець валика пов'язаний з центральною
шестернею.
Дані аналоги забезпечені шестерними механічними
системами, що ускладнює технологію, збільшуючи ризик поломки.
Найбільш близьким до корисної моделі, що заявляється,
за технічною суттю, призначенням і результатом, що досягається, є міні
гідроелектро-станція, що працює без річкового потоку [23]. що складається з
корпусу, виконаного у вигляді циліндра, заповненого водою. Корпус виконаний у
вигляді металевого або залізобетонного циліндра, заповненого водою, на дні
якого розміщений пристрій з направляючим соплом, причому сама вибухова камера
виведена за межі циліндра. Пра-цює пристрій таким чином. Із заданою
періодичністю в камері вибухає розрахункова кількість вибухової речовини.
Вибухова хвиля рідини (вода) по стовбуру виходить через сопло в запов-нений
водою циліндр і обертає лопаті турбіни, а та, у свою чергу, через редуктор
обертає гідроге-нератор. Якщо це одиночний енергоблок, то у верхній частині
циліндра влаштовується розширювач для гасіння вибухової хвилі. Також важливо
розрахувати і періодичність вибухів, вони повинні йти в такому ритмі, щоб
хвиля, що діє на лопать, не ма-ла великих перерв і обертала лопаті з постійною
швидкістю. Управляти роботою подібних ГЕС може комп'ютер.
Недоліком цього пристрою є невисока надійність і
складність конструкції із-за наявності великої кількості конструктивних
елементів, а саме пристрою з направляючим соплом, турбіни, розширювача для
гасіння вибухової хвилі. Ще одним недоліком прототипу є неможливість
автоматизації процесу застосування вибухових речовин для утворення вибухової
хвилі, що робить його незручним і небезпечним для приват-ного використання,
можливе використання морської води при роботі зимою.
У основу корисної моделі поставлена задача
спрощення і підвищення надійності конструкції, а також задача механічної
автоматизації процесу генерації екологічно чистої енергії в безпечному режимі.
М-Р-А-енергоколона складається з корпусу,
виконаного у вигляді циліндра, заповненого водою. Відповідно до корисної
моделі, циліндр являє собою обладнаний трубчастою системою герметичний
резервуар, усередині якого з можливістю обертання закріплені колеса з лопатями
і вантаж-поршень, сполучений з циліндровою пружиною, а також автоматична
система клапанів.
У одному з варіантів корисної моделі
вантаж-поршень закріплений на циліндровій пружині з можливістю підняття в
початкове, верхнє, поло-ження від її стиснення при опусканні вантажу-поршня, а
автоматична система клапанів виконана з можливістю додаткового подолання
гравітації при послідовному їх спрацьовуванні.
Згідно із ще одним варіантом пристрою, циліндр
розміщений в герметичному кожусі-рукаві, причому в просторі між його стінками і
зовнішньою поверхнею циліндра створений вакуум. У корисній моделі досягається
задача спрощення і підвищення надійності конструкції і, як наслідок, спрощення
введення пристрою в експлуатацію за рахунок того, що циліндр виконаний у
вигляді герметичного резервуару, обладнаного трубчастою системою, а також завдяки
наявності колес із лопатями і розташованого усередині циліндру вантажу-поршня,
сполученого з циліндровою пружиною, автоматичної системи клапанів.
М-Р-А-енергоколона відрізняється наявністю вакуумного антиморозного
кожуха-рукава. З його допомогою забезпечується рідка фаза робочої води в
низько-температурному середовищі.
У корисній моделі також досягається задача
механічної автоматизації процесу генерації екологічно чистої енергії в
безпечному режимі завдяки тому, що вантаж-поршень закріплений на цилінд-ровій
пружині з можливістю підняття в початкове, верхнє, положення від її стиснення
при опусканні вантажу-поршня. Автоматична система клапанів виконана з
можливістю додаткового подолання гравітації при послідовному їх спрацьовуванні.
Трубчаста система має патрубки з вигинами для природного стоку води. Це сприяє
і стимулює під-няття вантажу-поршня. Трубчаста система також має загальний
вентиль, що контролює стік води. Тобто пристрій виконаний із можливістю
самокон-тролю, відсутня необхідність внутрішніх вибухів.
Позитивною особливістю корисної моделі є те, що
пристрій, що заявляється, придатний для приватного і промислового використання
незалежного від природних ресурсів (відсутність необхідності притоку вод)
Пристрій складається з герметичного циліндра 1,
усередині якого з можливістю вертикального переміщення розташований
вантаж-поршень 2. Циліндр 1 виконаний металевим або пластиковим і обладнаний
трубчастою системою 3 з лопатевою передачею енергії, а також автоматичною
системою клапанів, вакуумним кожухом-рукавом. Вантаж-поршень 2 закріплений на
циліндровій пружині 5.
Пристрій працює таким чином. Експлуатація приладу
починається із запов-нення циліндра 1 водою через заправний патрубок, що
знаходиться на дні установки (заводнювання циліндра проводиться при закритих
клапанах і кранах). Після заводнювання система автоматично вводиться в
експлуатацію шляхом дії вантажу-поршня 2 на гідравлічну систему клапанів або
ручного відкриття верхнього крана, розташованого на правій гідромагістральній
трубі 4. Права гідромагістраль 4 також має нижній кран ручного або аварійного
контролю роботи колони. Далі відбувається природне витіснення води з циліндра 1
під ваговою дією вантажу-поршня 2. Витікаючи з циліндра 1, рідина через праву
магістраль 4, потрапляє у верхню частину циліндра 1, доповнюючи вагове зусилля
поршня 2 і впливає на пружину 5, стискаючи її у міру циркуляції води (рисунок
3.5).
- герметичний циліндр; 2 - вантаж-поршень; 3 -
трубчаста система; 4 - права гідромагістраль; 5 - пружина; 6 - заслінка; 7 -
єдиний вентиль; 8 - турбоколесо; 9 - лопасті
Рисунок 3.5 - Схема М-Р-А - енергоколони в
подовжньому розрізі
При перетіканні рідина обертає турбоколесо 8
шляхом тиску на лопасті 9, приводячи в рух вісь, сполучену з електрогенеруючим
агрегатом. Ріди-на, що поступає у верхню частину циліндра 1, пос-тупово
збільшує простір над поршнем 2. Тиск води внизу, під вантажем-поршнем 2,
збільшується за рахунок зменшення простору під ним. Пропорційно також росте
частота обертання турбоколеса пра-вої магістралі 4. Після повного стиснення
пружини 5, вантаж опускається на дно циліндра 1, чинячи тиск на поршень 12
поршневої шатунової клапан-ної системи. Далі рухаючись по Г-подібному корпусу
клапанної системи, поршень 11 стискає масло в циліндрі 10 (рисунок 3.6) [15].
- циліндр; 11 - поршень; 12 - поршень тиску; 13 -
шток; 14 - циліндровий поршень
Рисунок 3.6 - Автоматична система клапанів в
подовжньому розрізі з шарнірним кріпленням до крана
Потім відкривається клапан тиску, і рідина діє на
поршень 14, що має шарнірне з'єднання з штоком 13 і, як результат, з краном 7,
що знаходиться в нижній частині лівої магістралі. Завдяки шарніру на вузлі
кріплення з краном, останній відкривається шляхом повороту його хрестоподібної
головки. Далі відбувається відкриття - поворот заслінок 6, що знаходяться в
трубах. Наслідком цієї дії відбувається злив води в ліву магістраль, що
спричиняє обертання лівого
Т-колеса. При цьому відбувається пофазове
віднов-лення пружини 5, чим викликано підняття вантажу-поршня 2.Вода поступає
знов під вантаж-поршень 2. Коли він досяг верхньої фази, майже весь ци-ліндр
заводнений. Вантаж-поршень 2 тисне на дві клапанні системи вверху циліндра 1.
Системи працюють на закриття верхнього лівого крана і відкриття правого крана.
Таким чином, переміщення вантажу-поршня 2 досягається шля-хом перемикання
клапанів в заданій послідовності. Потім цикл руху повторюється.
Пристрій може містити вакуумний рукав. Рукав
являє собою герметичний металевий кожух і має таку ж форму, що і енергоколона.
Він також оснащується соском 17 і під'єднуються до вакуумного насоса. Вакуумний
рукав необхідно використовувати при роботі М-Р-А енергоколони при температурі
нижче +1°С. Для комфортності експлуатації пристрою рекомендується
використовувати рукав постійно.
При відкритій кришці 15 рукаву енергоколона
повинна бути встановлена в рукаві і відцентрова-на в ньому. Потім повинне бути
відкачане повітря з міжстінного простору.
Таким чином, в корисній моделі досягається задача
спрощення і підвищення надійності конструкції, а також задача механічної
автоматизації процесу генерації екологічно чистої енергії в безпечному режимі.
Резюмуючи висновки про корисні еффекти від
впровадження двох вищезгаданих і опис технологій альтернативного отримання
екологічно чистої енергії та енергоресурсів, можна зробити наступне закономірне
висновок: комбінована і/або вибіркова експлуатація таких технічних рішень як -
біоферментаційній фотосінтезній прістрій для отримання газу та пристрій М-
Р-А-ЕНЕРГОКОЛОНА, прогнозовано є ефективним методом забезпечення стабільного
енергопостачання інфраструктур в умовах екологоческого поселення міського типу.
Створення подібної енергомережі з використанням продлогаемих рішень дозволить
мінімізувати техногенне навантаження на території поселення з точки зору
енергетики [15].
3.3 Розробка та опис альтернативної
енергоефективної системи транспортування відпрацьованих матеріалів та інших
вантажів
Повертаючись до концепції розширеного
екологічного поселення міського типу, неможливо не розглянути таких важливих
аспектів проектування альтернативного населеного пункту як, створення системи
ефективного поводження з відходами та центролізаціі транспортування грузів
різного характеру і походження.
Не дивлячись на принципову прагнення засновників
сучасних екопоселень до виключення синтетичних матеріалів з побуту поселенців і
до повного переходу на використання біоупаковкі - біорозкладаних пакетів, зовні
нічим не відрізняються від звичайних аналогів, але здатних швидко розкладатися
в умовах навколишнього середовища, на сьогоднішній не представляється можливим
повністю вирішити проблему освіти, накопичення, збору та транспортування
відходів різних сфер діяльності людини [24].
Побутова життя людини ще довгий час буде
супроводжуватися утворенням і накопиченням твордих побутових відходів (таблиця
3.2).
Таблиця 3.2 - Орієнтовні норми накопичення ТПВ
|
Класифікація
житлового фонду
|
Норми
накопичення ТПВ на 1 людину
|
Середня
щільність, кг/м3
|
|
кг/рік
|
м3/рік
|
|
|
Упорядковані
житлові будинки (будинки з газом, центральним опаленням, водопроводом,
каналізацією)
|
200-280
|
1,1-1,5
|
200-220
|
|
Рідкі
відходи з непроникних вигребів неканалізаційних будинків
|
-
|
2,0-3,25
|
1000
|
|
Загальна
норма накопичення ТПВ по упорядкованим житлових і громадських споруд для міст
з населенням більше 100 000 чоловік
|
260-300
|
1,3-1,5
|
190-210
|
У розвитку альтернативних форм поселення міського
типу, дана проблема є досить важливою, так як, основний принцип цього варіанту
екопоселень полягає в збереженні большенства елементів міськї інфраструктури з
максимальним ступенем мінімізації техногенної завантаження.
Для проектування і подальшої ефективної
експлуатації екологічного поселеіія пропонованого в роботі виду (далі,
альтернативного міста), необхідна безпаливної центролізованная система збору та
транспортування відпрацьованих матеріалів до пункту їх переробки та вторинного
використання.
Як було сказано поранений, найважливішим
елементом будь-якої розвиненої інфраструктури, також, є і система
транспортування грузів різного характеру і походження. Необхідність даної
складової яскраво виражається в процесі активного будівництва екопостроек.
Доставка будівельних матеріалів від місця їх виробництва безпосередньо до місця
знаходження будмайданчиків - невід'ємною етап розширення і розвитку
альтернативного міста. Враховуючи, що екологічно чисті будматеріали володіють
значними габорітамі і вагою (таблиця 3.3), транспортний засіб повинен мати
високу ступінь місткості і вантажопідйомності.
Таблиця 3.3 - Середня кількість основних
будматеріалів для 2-х поверхового каркасного екодома площею 200 м2
|
Основний
будматеріал
|
Одиниц.
вим.
|
Кількість
|
|
Солома
(солом'яні блоки)
|
т
|
5
|
|
Деревина
|
м3
|
20
|
Для вирішення зазначених проблем розроблено ряд
технологій, об'єднаних в комунально-транспортний комплекс, умовно названий
GRIN-X-3. Основою комплексу, є енергоавтономна система транспортування відходів
II-V класу небезпеку. Винахід відноситься до транспортних засобів з
електропневматичним приводом для збору і транспортування відходів та інших
відходів. Винахід може бути використано для централізованого та автоматичного
збору, без паливного транспортування некондиційних виробів і відпрацьованих
речовин в умовах розвиненої інфраструктури мегаполісів.
Використання винаходу дозволить впровадити
енергозберігаючі елементи в технологію збору і транспортування відходів різного
походження та агрегатного стану. Також завданням винаходу є зниження утворення
стихійних звалищ ТПВ та поліпшення ландшафту великих міст. В технічне завдання
пропонованого рішення входить усунення недоліків раніше згаданих винаходів і
вибраного найближчого прототипу [25].
Винаходом досягається часткове або повне
вирішення проблеми недосконалої системи збору та транспортування різних
відходів шляхом виключення необхідності використання комунальної спецтехніки.
Актуальність сучасної проблеми у сфері поводження з відходами загострюється
недостатність одиниць спеціального комунального транспорту, призначеного для
завантаження і транспортування. Технічне обслуговування даного виду транспорту,
його постачання паливо-мастильними матеріалами та запасними частинами, також є
чинниками, що вказують на економічну непривабливість традиційного підходу до
транспортування відходів. Окрім низької ефективності та малої економічної
рентабельності, використання спецтехніки має негативні екологічні наслідки так,
як, "сміттєві машини" як транспортні засоби (на базі вантажних
автомобілів ГАЗ, ЛАЗ, КАМАЗ) є пересувними джерелами забруднення атмосферного
повітря вихлопними газами бензинового або дизельного двигуна.
Актуальність впровадження пропонованого винаходу
для України яскраво виражена в запланованому будівництві сміттєпереробних
заводів на території регіонів.
Всі відомі з сучасного рівня техніки прилади і
пристосування мають ряд істотних недоліків, серед яких:
1) складність технологічних систем виражена
в наявності великої кількості системних вузлів;
2) необхідність використання паливних
елементів для роботи і функціонування заявлених систем;
) неможливість використання ваги
транспортування відходів для генерування енергії;
) велика ступінь впливу людського фактора
на процес транспортування;
) можливість засмічення бункерів з
відходами, що тягне за собою виникнення хвороботворних мікроорганізмів при
експлуатації систем з рідкісним техобслуговуванням;
) великі габарити підземних сховищ для
збору відходів;
) обмеження по видам і фракціям відходів,
з якими може працювати та чи інша транспортна система.
Представлена нижче система зареєстрована в Українському
інституті промислової власності "Укрпатент" як заявка на винахід
Україні № U201109890 від 09.08.2011 року і має кілька варіантів виконання
Розглянемо базову варіацію. На рисунку 3.7
наведена принципова схема системи транспортування [26].
- прохідний тунель, 2 - транспортувальний танкер,
3 - енергоблок, 4 - кришка танкера, 5 - замок кришки танкера, 6 -
завантажувальний люк, 7 - провідний транспортний ролик, 8 - ведений
транспортний ролик; 9 - люк прохідного тунелю; 10 - підвісний шток; 11 -
підтримуюча платформа, 12 - електрокабель, 13 - центральний акумулятор, 14 -
кабель електроживлення двигуна; 15 - електродвигун, 16 - кабель центрального
акумулятор, 17 - пневматичний циліндр; 18 - робочий поршень; 18а - робоча
пружина; 19,19 а - пневматична магістраль
Рисунок 3.7 - Принципова схема системи
транспортування
Запропонована енергоавтономна система
транспортування відходів працює таким чином: після максимального заповнення
транспортувального танкера 2 твердими побутовими відходами (близько 800 кг ТПВ
при обсязі танкера циліндричної форми в 3,9-4 м3, питомої щільності
відходів 0,20-025 т/м3 і з урахуванням внутрішнього простору,
займаного електрообладнанням) за допомогою завантажувальних люків 6, вага
відходів починає чинити дію на підтримуючу платформу 11, впливаючи при цьому на
підвісній шток 10 і робочий поршень 18, встановлений в пневматичному циліндрі
17, стискаючи пружину 18а. Внаслідок цього відбувається зниження танкера 2 і
поршня 11, при цьому стиснений газ - повітря, що знаходиться в циліндрі 17,
витісняється з порожнини, відкриваючи випусковий односторонній клапан, що
знаходиться у нижній основі циліндру, надходить на лопаті турбіни 20, приводячи
її в рух і активуючи вироблення електроенергії вбудованим електрогенератором.
Зазначений клапан може бути компонований з соплом
Лаваля, що дозволить збільшити тиск газового середовища, кількість обертів
турбіни 20 і вироблюваної генератором електроенергії. Виходячи з турбіни,
стиснений газ надходить в магістраль 19а, де відкриваючи односторонній клапан,
надходить у верхню частину циліндра 20, ізольовану від нижньої його частини,
робочим поршнем 18. Отримана в результаті роботи турбіни 20, електроенергія за
допомогою кабелю 16, надходить на зарядний порт платформи 11, з'єднаної з
центральним акумулятором 13, годує електродвигун 15 через кабель 14. У міру
спуску танкера 2, в тунельний люк 9 прохідного тунелю 1, акумулятор 13 досягає
повної зарядки. Після повного зниження танкер 2 і занурення його в люк 9,
відбувається стиковка поздовжніх направляючих виступів 22 і напрямних
обмежувачів 23, що дозволить забезпечити безпечний рух танкера 2 усередині
тунелю 1 (рис. 3.8).
- прохідний тунель, 2 - транспортувальний танкер,
4 - кришка танкера, 8 ведений транспортний ролик, 22 - поздовжній напрямний
виступ; 23, 25 - направляючий обмежувач
Рисунок 3.8 - Схема транспортної системи (в
поперечному розрізі)
Потім, шляхом стиснення кріплення ведучого
ролика, активується робота електродвигуна 15, що веде до початку руху танкера в
тунелі. При цьому фіксується платформа 11 за допомогою фіксатора 21.При
блокуванні платформи 11 газоподібне середовище (повітря), що знаходиться в
пневматичному циліндрі 17, повністю переміщається у верхню частину циліндра
через магістраль 19а. Далі, після початку руху транспортувального танкера 2,
відбувається роз'єднання зарядного порту платформи 11 і центрального
акумулятора 13. Рух танкера відбувається в автономному режимі і не потребує
контролю.
Після досягнення транспортувального танкера 2 до
місця призначення - (на сміттєпереробний завод або на високотехнологічний
полігон) передня основа циліндричного корпусу танкера, виконана відповідно до
одного з варіантів системи транспортування відходів у вигляді
розвантажувального клапана 28 вдаряється о контактну трубу
приймально-розвантажувального пристрою і кнопку активації 31, що призводить до
запуску розвантажувального компресору 30 (рис. 3.9).
- розвантажувальний клапан танкера; 29 -
контактна труба приймально-розвантажувального пристрою; 30 - розвантажувальний
компресор; 31 - кнопка активації; 32 - кабель електроживлення кнопки активації;
33 - кабель електроживлення компресора; 34 - патрубок звалення, 35 - решітка
Рисунок 3.9 - Схема приймально-розвантажувального
пристрою і спеціального розвантажувального клапана
Тягова сила компресору відкриває клапан 28 і може
дозволити зробити виїмку відходів з танкера в автоматичному режимі. При
видаленні відходи затримує захисна решітка 35 і далі потрапляють через патрубок
звалення 34 у переробний пристрій (наприклад, в піролізний реактор). Енергія,
необхідна для живлення розвантажувального компресора 30, може бути забезпечена
в результаті роботи переробного пристрою, що дозволяє підвищити
енергозбереження системи.
В таблицях 3.4-3.7 наведено технічні
характеристики основних компонентів тунельної системи [26-28].
Таблиця 3.4 - Параметри танкера (при його
циліндричній формі)
|
Назва
параметру
|
Одиниц.
Вим.
|
Значення
параметру
|
|
Довжина
корпусу, м
|
м
|
5
|
|
Радіус
корпусу, см
|
см
|
50
|
|
Площа
поверхні корпусу (без виступаючих люків)
|
м2
|
17,2
|
|
Об'єм
|
м3
|
3,92
|
|
Середня
вага навантаженого танкера (з урахуванням питомої щільності ТПВ = 0,25 т/м3)
|
-
|
800 кг
- ТПВ + 200 кг - вага корпусу, батарей, роликів та двигуна
|
Таблиця 3.5 - Параметри пневматичного циліндра
силової установки
|
Назва
параметру
|
Одиниц.
Вим.
|
Значення
параметру
|
|
Висота
циліндра
|
м
|
1,5
|
|
Діаметр
циліндра
|
м
|
51
|
|
Обсяг
циліндра
|
м3
|
0,29
|
|
Діаметр
поршня
|
См
|
50
|
|
Площа
робочої поверхні поршня
|
см3
|
1962,5
|
|
Площа
вихідного отвору
|
см3
|
19,5
|
|
Товщина
поршня
|
см
|
5
|
|
Тиск
струменя повітря на виході з циліндра (без установки сопла Ловалю та без
урахування можливого попереднього стиснення повітря до 5-6 кг/см2
на виході з циліндра)
|
кг/см2
|
0,5
|
Таблиця 3.6 - Параметри прохідного тунелю
|
Назва
параметра
|
Одиниц.
Вим.
|
Значення
параметра
|
|
Діаметр
труби, м
|
М
|
1,1
|
|
Ширина
танкерного люка, м
|
М
|
1,03
|
|
Довжина
танкерного люка, м
|
М
|
5,03
|
Таблиця 3.7 - Параметри захисного короба силової
установки (форма прямокутної призми) з урахуванням двох циліндрів
|
Назва
параметра
|
Одиниц.
вим.
|
Значення
параметра
|
|
Висота
|
м
|
до 1,8
|
|
Ширина
|
м
|
1,1
|
|
Довжина
|
м
|
1,1
|
Технічний результат запропонованого винаходу
полягає в досягненні заявленого раніше завдання. Також винаходом досягнута
повна автоматизація процесу збору і транспортування відходів. Це дозволяє
зробити висновок, що запропонована система є екологічною.
Даний ефект за умови належного приватного та
бюджетного фінансування може частково поліпшити регіональні, а як наслідок і
загальнодержавні проблеми у сфері управління ТПВ. Але варто зазначити, що
справжня технологія транспортування відпрацьованих матеріалів і речовин не
включає в себе технічних елементів, які гарантують вирішення проблеми
своєчасного збору дрібних фракцій цього виду відходів. Враховуючи гостру
необхідність створення комплексної системи централізації енергоефективного
збору і переміщення відходів, розроблена комунальна бордюрна панель для
видалення та подальшої передачі до місця переробки дрібної фракції ТПВ з
поверхні дорожнього і тротуарного покриття.
Комунальна бордюрна панель виконана у вигляді
тротуарного бордюру. Пристрій має корпус із спеціальною порожниною для збору та
тимчасового зберігання відходів 6, закріплену на шарнірі заслінку 4, сопло для
видалення відходів з тротуару 7, вбудовані усмоктувальні пристрої (вентилятори)
5,8, п'єзоелектричну тротуарну площадку 3 та зливний патрубок для видалення
дощових і талих вод в каналізаційну мережу 9 (рис. 3.10).
Експлуатація цього пристрою виглядає наступним
чином: після монтажу панелі у вигляді бордюрного блоку і накладного тротуарного
покриття, панель може бути введена в режим експлуатації шляхом початку процесу
акумуляції п'єзоелектричних імпульсів з метою забезпечення подальшого живлення
вентиляторів 5.
Генерація електроенергії здійснюється у слідстві
впливу (тиску) на накладне тротуарне покриття 3, що містить п'єзокристали чи
інший матеріал, що володіє подібними фізичними властивостями. Таким впливом
може бути низка кроків людей, що проходять по тротуару.
А: 1 - платформа панелі, 2 - дорожнє покриття, 3
- п'єзоелектрична тротуарна платформа, 4 - заслінка, 5 - всмоктувальний
пристрій (вентилятор), 6 - збірка сміття;
Б: 7 - тротуарне сопло; 8 - додатковий
вентилятор; 9 - зливний патрубок
Рисунок 3.10 - Схеми базових варіантів
комунальної бордюрної панелі
Акумульована електроенергія у вбудованому в
основі одного з вентиляторів 5, приводить його в дію, тим самим створюючи
всмоктувальне зусилля в пристрої, що тягне за собою підняття заслінки 4 і
всмоктування дрібних фракцій ТПВ з дорожнього покриття 2, з подальшим
приміщенням "сміття" в простір збірника 6. П'єзоелементом також може
бути оснащена і платформа 1. Для видалення дрібних фракцій відходів з
тротуарного покриття, пропонована панель може мати видозмінений варіант
конструкції, що містить допоміжне тротуарне сопло 7 і додатковий вентилятор 8.
Цей варіант також має зливний патрубок 9, можливо з'єднаний з каналізаційною
системою для зливу рідких атмосферних опадів. Періодичний паркан зібраних
відходів може здійснюватися шляхом централізованого висмоктування (відразу з
декількох панельних гілок) за допомогою підключення до системного компресору
вище описаної технологічної схеми транспортування відходів [28].
З метою підвищення ступеня економічності цього
елемента пропонованого комплексу, цілком прийнятним є скорочення витрати
пьезоматеріалів, необхідних при виготовленні панелі. Це завдання досяжне
застосуванням особливого послідовного з'єднання турбоблоків в поздовжніх
панелях. Даний спосіб здійснюється наступним чином: блок вентиляторів
складається з одного або більше активних пристроїв 5, з'єднаних із скороченою
п'єзоелектричною платформою 3, і декількох пасивних вентиляторів 5а, з'єднаних
між собою за допомогою приводного ременя (рис. 3.11). Такий варіант підключення
здатний підвищити економічність виготовлення панелі шляхом зниження витрати дорогого
матеріалу.
- активний вентилятор; 5а - пасивний вентилятор
Рисунок 3.11 - Схема послідовного з'єднання
вентиляторних блоків комунальної бордюрної панелі
Експлуатація панелі в базовому або
модернізованому варіанті, при її встановленні в громадських місцях міст, здатна
поліпшити систему накопичення ТПВ повсякденно, особливо ефективною панель може
бути в періоди проходження масових заходів. Енергоефективність також
досягається тим, що активація пропонованої панелі відбувається тільки при
проходженні людей по тротуару, виключаючи не продуктивну витрату енергії (в
періоди відсутності накопичення відходів на дорожні та тротуарні покритті).
Проте, дана підсистема комплексу GRIN-X-3 явно
потребує додаткового джерела енергії, що характеризується явними ознаками
факторної автоматизації і високим ступенем енергетичної внутрішньосистемної
рекуперації.
З метою створення такого роду енергогенеруючої
системи, була розроблена конструкція фонового генератора "МРА-BENCH".
Пристрій виконаний у вигляді платформи (лави) сидіння людини з можливістю
мобільності і установки генератора в громадських місцях міст (у парках і
скверах) [28].
Генераційна експлуатація пропонованого пристрою
полягає у здійсненні двоскладового циклу, що протікає в замкнутій
напівавтоматичній механічній системі циркуляції газоподібного середовища -
(стисненого повітря). Система заснована на принциповій технічній формулі М-Р-А.
Розглянемо два прості напівцикли функціонування заявленої системи (рис. 3.13).
«Цикл 1/а». На рисунку 4.12 наведена принципова
схема системи "МРА-BENCH".
- експлуатаційна платформа, 11 - опора платформи
10; 12 - центральна пружина, 13 - захисний короб, 14 - турбіна, 15 -
акумулятор; 16 - пневмомагістраль входу в турбіну, 17 - пневмомагістраль виходу
з турбіни; 18 - робоча пластина-поршень; 19 - пружинний блок; пневматичний
короб
Рисунок 3.12 - Принципова схема системи
"МРА-BENCH"
Для активації енергогенеруючої функції МРА-ЕГС-Ц2
необхідний активний вагомий вплив на платформу 10 (наприклад, посадка людини на
паркову лавку чи на лаву в приміщенні). Після початку впливу на платформу
відбувається порушення механічного «спокійного» балансу функціональної системи
шляхом стиснення пружини 12, закріпленої на захисному корпусі 13 і на нижній
поверхні платформи 10, що тягне за собою повільне зниження горизонтального
рівня платформи 10, що кріпиться на опорах 11 робочої пластини 18, стиснення
балансних пружинних блоків 19, що знаходяться в герметичному пневматичному корпусі
11.
При прогресі зниження пластини 18 відбувається
поступове витіснення стислого газоподібного середовища (повітря) їх короба 20 в
корпус електротурбін генерації 5, шляхом відкриття одностороннього клапана
тиску в трубі 16.
Після приведення в рух турбіни, стиснене повітря
за допомогою верхньої паралельної труби повернення надходить в верхній простір
короба 20 над робочою пластиною 18, що розширюється заповнюючи його. При
тривалому використанні запропонованого пристрою в якості лави, досягається
максимальне стиснення блоків 19 і майже повне витіснення стислого середовища з
нижньої частини пневматичного корпусу 20 у верхній його простір. При цьому
пристрій не втрачає функціональної здатності лави [28].
«Цикл 1/б». Після припинення вагового впливу на
платформу 10 відбувається відновлення її горизонтального рівня (висоти сидіння)
шляхом довільного відновлення пружин 19 і 12. Внаслідок цих механічних
процесів, відбувається вторинне витіснення стисненого газу з верхньої частини
короба 20 в нижню його частину за допомогою відкриття клапана, що знаходиться у
верхній лівій трубі, що дозволяє повітрю привести в рух лівосторонню
електротурбіну генерації, і через трубу повернення 8, вступити в нижню частину
короба 20, шляхом відкриття одностороннього клапана, що знаходиться в нижній
трубі повернення.
Дані частини циклу функціонального використання
пристрою можуть повторяться при експлуатації лави.
Електротурбіни, що входять у конструкцію можуть
включати в себе акумулятори 15 для накопичення генеруємої електроенергії з метою
її подальшого використання. Також, турбіни можуть мати прямий зв'язок з
енергоспоживачами і живити його без посередників і втрат енергії при зберіганні
в умовах акумулятора. Таким енергоспоживачем може бути комунальна бордюрна
панель (а саме, центральний компресор для забору відходів зі збірки), що значно
підвищить енергоефективність спеціалізованої транспортної системи.
Таким чином, використання запропонованого у
роботі комплекса GRIN-X-3 створить можливість впровадження, налагодження та
регулювання єдиної технологічної системи для збалансування, збору та
транспортування не тільки ТПВ, а й промислових відходів 2-4 класу небезпеки в
умовах альтенативного міста. При цьому буде здійснюватися:
) транспортування ТПВ та ліквідація
несанкціонованих звалищ відходів;
) фоновий збір дрібних фракцій відходів з
дорожнього та тротуарного покриття;
) забезпечення енергетичною рекуперацією
енергоспоживаючих процесів збору та транспортування відходів.
Также эксплуатация отдельных компанентов
описаного комплекса может бать эффективно использована в качестве системы
транспортировки других грузов, что даст возможность создать стабильное
автоматическое грузосообщение между альтернативними городами, а также, между
экологическими поселениями сельского типа и другими населёнными пунктами. Такая
связь будет кметь высокую степень экологичности и конкурентноспособности по
сравнению с классическим автотранспорта.
Однак, потрібно відзначити і необхідність
збереження колісного транспорту для здійснення пасажирських перевезень та інших
значимих процедур в умовах альтернативного міста.
3.4 Екологізація модернізованих форм транспорту і
транспортних магістралей, адаптованих для використання в умовах екологічного
поселення міського типу
Враховуючи чільний принцип організації екологічно
ефективних форм урбанізації желих територій - максимально обмежити антропогенне
і техногенне навантаження на ОС, при проектуванні нових і модернізації існуючих
проектів екологічних поселень, не можна обійти увагою гостру проблему
сучасності, пов'язану з негативним впливом відпрацьованих вихлопних газів
автотранспорту. Деякі з хімічніх компонентів автомобільніх віхлопів (Наприклад,
оксиди азоту та альдегіді) здатні віклікаті у людини важкі захворювання,
Наприклад, діхальну недостатність, гайморит, ларінготрахеїт, бронхіт,
бронхопневмонія, рак легенів и т. ін.
Доволі частими є випадки отруєння вихлопними
газами в тому числі з летальними наслідками автомобілістів в гаражах, закритих
стоянках і всередині автомобілів (витоку в салон) при відсутності або поганої
вентиляції. Для боротьби з такими випадками вводяться будівельні норми на
вентиляцію споруд, пов'язаних з експлуатацією та обслуговуванням автомобілів, а
також рекомендації автомобілістам.
Вихлопи від автомобілів здатні значно ухучшать
екологічну ситуацію планети, підтримуючи так званий «парниковий ефект» -
підвищення температури нижніх шарів атмосфери планети в порівнянні з ефективною
температурою, тобто температурою теплового випромінювання планети, що
спостерігається з космосу.
Не дивлячись на спроби вирішення даної проблеми
шляхом впровадження принципово нового транспорту (наприклад, транспортних
засобів на магнітній подушки - утримувані над полотном дороги, рухомий і
керований силою електромагнітного поля), для всебічного розвитку та ефективного
функціонування інфраструктури альтернативного міста неприпустимий повна відмова
від колісного автомобіля, обладнаного класичної паливної або гібридною силовою
установкою - двигуном.
Можливим рішенням цієї проблеми вважається
розвиток електромобілів і гібридних транспортних засобів. Однією з проблем
зазначеної області техніки є, недостатньо ефективна оптимізація комбінованих
силових установок.
Основними недоліками більшості модифікацій такого
роду автомобілів є:
необхідність використання одного або декількох
великогабаритних дорогих електроакумуляторів, що збільшує енерговитрати, знижує
швидкість автомашини і створює проблему проведення дорогої утилізації
використаних батарей;
недостатня адаптація існуючих міських
інфраструктур - брак електрозаправних станцій для забезпечення регулярної
підзарядки електромобілів;
тривалий час зарядки батарей;
погіршення характеристик (ємності, при заряді і
при витраті енергії) батарей на холоді;
небезпека перевантажень електричних мереж при
масовому впровадженні електромобілів і т. ін.
Далі в роботі представлені технічні рішення,
спрямовані на формування технічної бази транспорту і транспортних магістралей,
адаптованих для експлуатації на територіях екологічних поселень міського типу.
Розробка альтернативних енергозберігаючих елементів
конструкції автомобіля
З метою часткового вирішення розглянутої проблеми
зменшення вихлопних автомобільних газів, автором роботи було розроблено
принципово новий пристрій - система фонового генераційного режиму (далі -
система ФГР).
Технічною задачею даної системи є скорочення
необхідної витрати електроенергії або інших енергоносіїв (бензину, дизпалива,
газу або біопалива) при роботі силової установки автомобіля шляхом отримання
додаткового альтернативного живлення двигуна, використовуючи перетворення потенційної
пневматичної енергії робочого тиску повітря в пневматичних автошинах в процесі
руху транспортного засобу.
На сьогоднішній день, відома технологія
мікроелектромеханічних систем (МЕМС, MEMS) для перетворення механічної енергії
вібрації в електричну, яка розроблена Дослідницьким центром Imec у співпраці з
Holst Centre. Дана інноваційна система складається з консолі (cantilever,
кантільовер) з п'єзоелектричним покриттям, вміщеній між двома металевими
електродами, що утворюють конденсатор. На кінці кантільоверу закріплена маса,
яка транслює макроскопічні вібрації у вертикальні переміщення, які, впливаючи
на п'єзоелектричний шар, генерують напругу на конденсаторі. В якості
п'єзоелектричного матеріалу обрано нітрид алюмінію (AlN). На думку авторів системи
даний пристрій може застосовуватися в середовищах з високою вібрацією для
перетворення та накопичення енергії, наприклад, в автомобільних шинах для
живлення вбудованих сенсорів. Однак, МЕМС може ефективно використовуватися лише
при швидкості руху автомашини 70 км/год, що безсумнівно є ознакою малої
ефективності експлуатації МЕМС для живлення силової установки електромобіля.
Недоліком мікроелектромеханічних систем, також можна вважати нездатність
перетворювати в електроенергію інші, більш енергоємні явища, що виникають при
русі автотранспорту.
В основу запропонованого в роботі винаходу
покладена відома в літературі концепція зовнішньофакторної генерації енергії. У
якості експлуатованого фактора система ФГР використовує аерогравітаційне
перевантаження автоколес, що має місце при русі автотранспорту при будь-якій
швидкості. В момент руху автомашини по автодорожньому полотну всередині
повітряноємної частини автомобільного колеса під впливом аеропотоків, що
набігають, утворюється підвищений тиск, придатний для фонового використання в
енергогенеруючому перетворювачі.
Система ФГР являє собою модифікацію класичного
автоколеса і містить змінну зовнешньозахисну покришку 1, закріплену на
зовнішній поверхні циркуляційної пневматичної камери 2, що з’єднується шляхом
точкових еластичних опор 6 з несучим порожнистим корпусом 3, що містить
роторний електрогенератор 4, оснащений похилими лопастями 7 (рисунок 3.13).
Корпус 3 має два (або більше) різноспрямованих
похилих стартових патрубків 5 і один (або більше) випускаючий клапанний
патрубок 8. Патрубки 5 можуть бути оснащені модифікацією конструкції сопла
Ловаля. Колесо системи ФГР також містить монтажну підставу 9 і жорстко
приєднану до нього монтажну пластину 10, для болтового з'єднання з валом
автомобіля 12. Для передачі електричного імпульсу, що генерується, від
генератора 4 до центральної силової установки автомобіля, пристрій має кабель
11, розташування та проходження якого може змінюватись в залежності від марки і
конструкції конкретного автомобіля.
Пристрій системи ФГР відрізняється простотою
функціонування та незалежністю внутрішньосистемних процесів від інших бортових
систем автомобіля.
Процес генерації електричного імпульсу (струму)
системою ФГР виглядає наступним чином: після початку руху автомашини в
циркуляційній пневмокамереі 2 підвищується пневматичний тиск стисненого
повітря, що сприяє струменевому проникненню робочого середовища в несучий
корпус 3 через похилий стартовий патрубок 5.
Посилений соплом Ловаля тиск струменя повітря
приводить в рух електрогенератор 4, впливаючи на похилі лопасті 7. Завдяки
різноскерованості зазначених патрубків, швидкість обертання генератора
збільшується. При обертанні колеса струминне надходження повітря в несучий
корпус 3, носить постійний характер, що обумовлює періодичне витіснення повітря
з порожнини корпусу і його вихід через випускний патрубок 8 в камеру 2.
Постійно прагнучи до стану механічного спокою, система ФГР, забезпечує не
перериване обертання генератора не залежно від швидкості і стилю 0їзди
автомобіля. Дестабілізуючим фактором системи, є періодичний осьовий стиск
камери 2 при аерогравітаційних перевантаженнях автомобільного колеса.

А Б
А: 1 - зовнішньозахисна покришка, 2 -
циркуляційна пневмокамера; 3 - несучий корпус, 4 - електрогенератор, 5 -
похило-пусковий патрубок; 6 - еластична точкова опора; 7 - похила лопасть; 8 -
випускний патрубок,
Б: 9 - монтажна основа; 10 - монтажна перфорована
пластина; 11 - кабель електропередачі; 12 - передній або задній міст автомобіля
(фрагмент).
Рисунок 3.13 - Принципова схема автомобільного
колеса системи ФГР
Система ФГР може бути достатньо ефективною у
розвитку вантажного ефектромобільного транспорту, тому що, основною проблемою
даного напрямку є великі енерговитрати силових установок, необхідні для
транспортування важких вантажів. При русі вантажного транспорту, його колісна
база відчуває значні аерогравітаційні перевантаження, що може бути ефективно
використано системою ФГР для генерації електроенергії. Все це здатне скоротити
необхідну кількість акумуляторних батарей, що встановлюються на автомобілі, а
також має позитивний економічний та екологічний ефект.
Таким чином, при заміні автомобільних коліс
класичної конструкції пристроями системи ФГР, стає можливим досягнення
поставленої мети, тобто скорочення енерговитрат в процесі експлуатації
колісного автомобільного транспорту за допомогою альтернативної системи
фонового генераційного режиму, незалежно від швидкісних тенденцій руху
автомобіля, що у випадку широкого впровадження може справити позитивний вплив
на концепцію популяризації легкового та вантажного електроприводного транспорту
за рахунок зниження кількості токсичних вихлопних газів.
Внедрения этого устройства в процессе развития
концепции популяризации экологически эффективных альтернативних городов, в
сочитании с другими тематическими разработками, способно полностью адаптировать
электромобиль к работе в условиях экопоселений.
Енергоекологічні модернізація транспортних
автомагістралей для розвинених екопоселень
З метою зміцнення фонової енергетичної
інфраструктури забезпечення електроприводної транспорту екологічно чистої
резервної енергією, розроблена автодорожня генераційна система «АЕРОЕНЕРГОСТАН»
[15-29].
Корисна модель відноситься до машинобудування, а
саме до апаратів генерації енергії, які здійснюють обертальний рух, наприклад
роторно-поршневі електродвигуни, і може бути використана для розробки
пристроїв, які використовують аеродинамічний опір повітря на автотрасі підчас
руху автомобілів. Корисна модель заснована на використанні кінетичної енергії
повітря, що захоплюється транспортним засобами, які рухаються по дорозі.
Енергія опору повітряного середовища при русі
будь-якого транспортного засобу вельми велика і може при високих швидкостях
поглинати 50-60% потужності двигуна. Пропонується встановлювати на ділянках
дороги з інтенсивним рухом пристрої, які дозволяють використовувати енергію
набігаючих потоків повітря по аналогії з вітровими двигунами.
Так, наприклад, відомий кінцевий генератор вихрів
для аеродинамічної несучої поверхні [30], що містить гондолу з високим
співвідношенням площ прохідного перетину і міделя. Гондола забезпечена вихідним
пристроєм з дифузором, соплом і пристроєм, що закручує. Поверхня дифузора
виконана з направляючими елементами. Направляючі елементи встановлені по колу
вихідної частини дифузора і відхиляють повітряний потік в тангенціальному
напрямі. Такий кінцевий генератор вихору не потребує для роботи додаткового
джерела стислого повітря, оскільки працює від набігаючого потоку і має при
цьому мінімальний власний аеродинамічний опір.
Найбільш близьким до корисної моделі, що
заявляється, за призначенням і результатом, що досягається, є пристрій для
вироблення електроенергії, розроблений групою інженерів компанії Innowattech,
Ізраїль [31], що містить поверхню, контактуючу з потоком повітря, поглинаючу цю
енергію з можливістю передавання її електрогенератору. На поверхні вбудовані
п'єзоелектричні кристали, які перетворять кінетичну енергію від проїжджаючих
автомобілів в електричний струм. При широкому розповсюдженні ця технологія
зможе годувати енергією мінімум прилеглі заправки, перетворюючи переобтяжені
дороги на джерело енергії. Енергія генерується в цьому відомому пристрої за
рахунок вбудованих п'єзоелектричних кристалів. При проходженні транспортного
засобу генерується невелика кількість електроенергії, яка йде у вели-кий
трансформатор, який потім її розподіляє.
Проте це відомий пристрій має ряд недоліків.
По-перше - нездатність до перетворення аеродинамічного опору повітря в
електроенергію з причини того, що кристали встановлені на поверхні нерухомо, що
перешкоджає використанню кінетичної енергії набігаючого повітря. Ще один
недолік прототипу - складність конструкції з причини того, що цей відомий
пристрій містить велику кількість багатовузлових систем, пов'язаних із
забезпеченням роботи п'єзоелектричних кристалів і передачі електроенергії до
генератора, таких як додаткове, зовнішнє устаткування - трансформатор і так
далі.
Крім того, до недоліків також відноситься
зниження терміну служби пристрою з причини низького ресурсу п'єзоелектричних
кристалів.
У основу корисної моделі поставлена задача
забезпечення можливості перетворення аеродинамічного опору повітря в
електроенергію, а також задача спрощення конструкції пристрою і задача
збільшення терміну його служби.
Поставлена задача вирішується тим, що автодорожня
генераційна система «АЕРОЕНЕРГОСТАН» містить поверхню, контактуючу з потоком
повітря, поглинаючу цю енергію з можливістю передавання її електрогенератору. Відповідно
до корисної моделі, ця поверхня виконана у вигляді полотна, утвореного
транспортерною стрічкою, закріпленою на барабанах поблизу транспортного засобу,
паралельно його руху, на якій розташовані кармани з можливістю захоплення
потоків повітря і переміщення стрічки.
У ще одному варіанті пристрою кармани розташовані
по всій довжині транспортерної стрічки в один ряд під кутом до її поверхні. У
іншому з можливих варіантів реалізації пристрою він нерухомо встановлений на
опорних баштах, а осі барабанів сполучені з валом генератора, зв'язаним з
енергонакопичувальним блоком, який додатково введений до складу пристрою.
Задача забезпечення можливості перетворення
аеродинамічного опору повітря в електроенергію досягається в корисній моделі
завдяки тому, що поверхня, яка контактує з потоком повітря, виконана у вигляді
полотна, утвореного транспортерною стрічкою, закріпленою на барабанах поблизу
транспортного засобу, паралельно його руху. Причому. на ній розташовані кармани
з можливістю захоплення потоків повітря і переміщення стрічки. Таким чином,
досягається можливість використання аеродинамічних потоків високого тиску, які
утворюються на передній частині автомобіля, для дії на кармани полотна [15].
Задача спрощення конструкції пристрою досягається
в корисній моделі завдяки тому, що він складається з невеликої кількості
деталей, не вимагає наявності додаткового устаткування для перетворення і
зняття енергії набігаючого потоку.
Задача збільшення терміну служби пристрою
досягається в корисній моделі завдяки тому, що кармани розміщені послідовним
чином. При частому русі автомобілів на трасі (або хоча б одного автомобіля на
ділянці дорогі, обладнаному пропо-нованою системою) обертання полотна матиме
тривалий характер і, як наслідок, генератори ма-тимуть можливість проводити
змінний струм про-тягом необмеженого проміжку часу без необхідності заміни
елементів. Тобто, використання пристрою дає можливість генерації електроенергії
перетворенням аеродинамічного опору повітря при експлуатації дороги без її
реконструкції.
Для глибшого розуміння технічного результату
розглянемо деякі факти.
Аеродинамічний опір автомобіля обумовлений рухом
останнього з деякою відносною швидкістю в навколишньому повітряному середовищі.
Вже при швидкості руху 50-60 км/год, вона перевищує будь-яку іншу силу опору
руху автомобіля, а в районі 100-120 км/год, перевершує всіх їх разом узятих.
Середня пропускна спроможність однієї смуги дорогі в місті - 1000авто/год.
Згідно дослідженням компанії IDTechEx, індустрія електротранспорту досягне в
2005 році рівня продажів в $31,1 млрд. по всьому світу (включаючи гібридний
транспорт).
Пропонований пристрій системи генерації і
подальшого накопичення електроенергії, може бути встановлено на опорних баштах
3, таким чином, щоб полотно 1, було розміщено над дорогою на висоті 2-3 м,
паралельно йому (рис. 3.14 - 3.15).
Суть корисної моделі у використанні
аеродинамічних потоків високого тиску, автомобіля 6, що утворюється на передній
частині, для впливу на полотно 1, що спричиняє за собою його обертання і
передання механічної енергії роторним генераторам з подальшим її перетворенням
в електроенергію і накопиченням в енергонакопичувальному блоці 5.
- рухоме полотно; 2- роторний електрогенератор;
3- опірна башта; 4- аерокарман; 5- енергонакопичувальний блок; 6- автомобіль
Рисунок 3.14 - Принципова схема пристрою
«Аероенергостан»
- роторний електрогенератор; 3 - опірна башта; 4
- аерокарман; 5- енергонакопичувальний блок; 7 - основа
Рисунок 3.15 - Схема положення опорних башт
Пристрій працює таким чином. Рушійне зусилля
обґрунтоване попаданням повітряного потоку усередину карману 4 (рисунок 3.16),
що веде до обе-ртання полотна 1 в протилежному руху автомобіля в напрямі.
- рухоме полотно; 4- аерокарман
Рисунок 3.16 - Аерокарман - вигляд зверху
Оскільки кармани 4 розміщені послідовним чином,
то при частому русі автомобілів на трасі (або хоч би одного автомобіля на
ділянці дорогі, обладнаному пропонованою системою) обертання полотна матиме
тривалий характер і, як наслідок, електрогенератори 2 матимуть можливість
проводити змінний струм відповідно до зміни швидкості кармани 4.
Енергонакопичувальний блок 5 може мати споживче відведення у вигляді кабелю з
пристроєм під'єднування до приладів споживачів і може використовуватися для
екстреного заряджання електромобільного транспорту: муніципального або
приватного.
Враховуючи особливості аеродинамічних
властивостей кузовів різних моделей автомобілів, варто відмітити, що найбільш
продуктивним для вироблення електроенергії буде проїзд автотранспорту типу
мікроавтобус або фургон.
Областю застосування даного пристрою є
модернізація існуючих автомагістралей і поліпшення технологій дорожнього
будівництва.
Також можливий варіант будівництва резервних
енергодоріг, де у поєднанні з аналогічними до прототипу п'єзо-технологіями буде
використана запропонована корисна модель.
Ще одним аспектом застосування цього пристрою є,
освітлення автодоріг в нічний час. Для цієї модифікації в енергонакопичувальний
блок необхідно додати освітлювальні прилади, що живляться електроенергією, яка
генерується роторними генераторами.
Описане рішення може бути частиною технологічної
основи створення альтернативної транспортної системи для використання в
екопоселення.
3.5 Загальна оцінка корисного ефекту від
можливого впровадження запропонованих технічних рішень в умовах екологічного
поселення міського типу
Запропоновані в роботі технічні рішення,
спрямовані на формування високотехнологічної основи комплексу
науково-практичних систем універсал проектованої інфрастури екологічно
ефективних альтернативних форм урбанізації желіх територій, мають яскраво
виражной екологізації.
Серед екологічно значемих ознак корисних ефектів,
досягнутих в процесі переслідування задекларованих і методично розташованих
технічних завдань кожної з описаних технологій та пристроїв, можна виділити
наступні найважливіші явища:
) енергосбреження;
) альтернативне енергопостачання;
) компактність большенства технологій и т. ін.
Комплексне використання заявлених технічних
рішень вже на стадії проектування дозволить досягти всебічний розвиток альтернативної
інфраструктури екологічно збалансованого міста.
Завдяки розмаїтості тематичних напрямів
представлених технологій, стає досяжною задекларована концепція
«Альтернативного міста», Передбачається відхід від улаштування екологічних
поселень з сільського типу, з метою виключення ознак деградації сучасної
цивілізації.
Висновки
екологічний
поселення технічний
У результаті виконаної роботи було встановлено:
екологічні поселення є перспективним
направленням та формою урбанізації з урахуванням сучасної екологічної ситуації;
ряд екопоселень використовують автономну
малу альтернативну енергетику;
розвиток екопоселення має поетапний
характер, серед яких можна відмітити розповсюдження в Європі та США, три хвилі
становлення руху екопоселень у Росії, поширення екологічних поселень в Україні;
екопоселення характеризуються зміненими
формами діяльності людини, серед яких: екологічне землеробство;
ландшафтно-адаптоване землеробство і т. ін.;
альтернативні населені пункти за
проведеними розрахунками мають малий антропогенний вплив на навколишнє
середовище.
В роботі розроблено комплект науково-технічних
рішень, які дозволяють створити технічну базу екологічного поселення міського
типу. До нього входять такі пристрої, як:
біо-ферментаційний фотосінтезниий прилад
для отримання газу;
гідрогенератор МРА-енергоколона;
система безпаливного транспортування.
В роботі розглянуто основні законодавчі принципи
охорони праці в умовах екопоселень та розроблено ряд технічних засобів для
захисту територій та майна екологічних поселень від природних та антропогенних
негативних факторів.
В роботі за допомою спеціалізованої моделі
виконано розрахунок економічної ефективності впровадження проектів екологічних
поселень, в результаті чого виявлено виражений економічний ефект данного роду
діяльності людини.
Перелік посилань
1. Экологическое поселение [Электронный ресурс] - Режим доступа:
http://ru.wikipedia.org/wiki/ Экологическое_поселение - Загл. с экрана
2. Communities Directory. - Missouri:
Rutledge. - 2005. - 928 p.
3. Каталог альтернативных поселений и экодомов
в России и СНГ. - 2007. - 82 с.
4. Кулясов, И. П. Экопоселения на
Северо-западном Кавказе и Горном Алтае: инициативы создания / И.П.Кулясов.
Экопоселения в России и США. Ред. Соколов М. - СПб: ЦНСИ, 2004. - Вып. 10. -
3-34 с.
5. Кулясова, А. А. Три камня преткновения
для российских экопоселений / А.А.Кулясова - Пчела - СПб. - № 1 (41). - 2003. -
17-18 с.
6. Кулясова, А. А. Анализ практик питания,
принятых в экопоселениях / А.А.Кулясова, Зеленый мир. - Декабрь 2005. - № 23-24.
- 5-6 с.
. Родові екопоселення в Україні [Электронный ресурс] -
Режим доступа: http://www.zagorodna.com/uk/ekologiya/ekologichni-poselennya-ukrajni/rodovi-ekoposelennya-v-ukrajni.html
- Загл. с
экрана
8. В Одессе прошел фестиваль экологических
поселений [Электронный ресурс] - Режим доступа: http://www.ecology.md/section.php/section.php?section=news&id=1480 - Загл. с экрана
. Пассивный дом [Электронный ресурс] -
Режим доступа: http://ru.wikipedia.org/wiki/ Пассивный_дом - Загл. с экрана
10. Агроэкологическая оценка земель,
проектирование адаптивно-ландшафтных систем земледелия и агротехнологий / Под
редакцией академика РАСХН В.И.Кирюшина, академика РАСХН А.Л.Иванова.
Методическое руководство.-М.:ФГНУ "Росинформагротех", 2005.-784 с.
ISBN 5-7367-0525-7.
11. Кирюшин, В. И. Агрономическое
почвоведение / В.И.Кирюшин. - М.:Колос, 2010. - 687с.: ил. - (Учебники и учеб.
пособия для студентов высш.учеб.заведений). ISBN 978-5-9532-0763-8
12. Обзор альтернативных методов земледелия
[Электронный ресурс] - Режим доступа: http://www.lubskoe.kiev.ua/stati/ozemle/obzor-alternativnyh-metodov-zemledelia - Загл. с экрана
. ОНД-86. Госкомгидромет. Методика
расчета концентраций в атмосферном воздухе вредных веществ, содержащихся в
выбросах предприятий, 1987. - 82 с.
14. Методика «Викиди забруднюючих
речовин в атмосферу від енергетичних установок». ГКД 34.02.305-2002.
15. Бондаренко, И. В. Экологизация в
аспекте инновации технологических процессов / И. В. Бондаренко. - К.: Освіта
України, 2011. - 100 с.
16. Пат. № 86185 Рос.Федерация: МПК7 С 12М1/04, А 01С3/00,
С12Р1/00. Биоферментационное фотосинтезное устройство для получения газа / И. В.
Бондаренко;
заявитель и патентообладатель И. В. Бондаренко. - №2009114116/22; Заявл. 14.
04. 2009; Опубл. 27.08.09, Бюл. №24. - 2 с.
17. Федеральный институт промышленной
собственности Федеральной службы по интеллектуальной собственности, патентам и
товарным знакам (ФГУ ФИПС) / Информационные ресурсы» [Электронный ресурс] -
Режим доступа: http://www1.fips.ru/wps/wcm/connect/content_ru/ru/inform_resources/ - Загл. с экрана
. Пат. №48686 Украины: МПК9 F 03C 99/00, F 03G 3/00. МРА-энергоколонна/
И.
В. Бондаренко;
заявитель и патентообладатель И.В.Бондаренко. - №u200911063; Заявл.
02.11.2009; Опубл. 25.03.2010. Бюл.№6. - 4 с.
. Український інститут промислової
власності / Бази даних [Электронный ресурс] - Режим доступа:
http://www.ukrpatent.org/ua/bases2.html - Загл. с экрана
20. Пат. №2050466 Рос.Федерация: МПК6
F
03D7/06. Ветродвигатель и
гідрогенератор / В.Г. Федчишин, А.В. Федчишин; заявители и патентообладатели
В.Г. Федчишин, А.В. Федчишин. - 5039938/06; Заявл. 27.04.1995; Опубл.
20.12.1995
21. Пат. 2080476 Рос.Федерация: МПК 6
F03B7/00, F03B13/10. Глубинная подвесная многороторная ГЭС / В.Г. Федчишин;
заявитель и патентообладатель В.Г. Федчишин. - 94015082/06; Заявл. 25.04.1994;
опубл.27.05.1997
22. Пат. 2287081 Рос.Федерация: МПК 7
F03B17/06. F03B7/00, F03B13/00. Гидрогенератор (варианты) / В.В Кузнецов и др.;
заявители и патентообладатели Кузнецов Данил Вениаминович, Кузнецов Вениамин
Васильеви. - 2005102292/06; Заявл. 31.01.2005; опубл.10.11.2006. Бюл. №31
23. Сайт фірми «СМАРТ системи»
[Електронній ресурс]. - Режим доступу:
http://asupro.com/alternative/mini-hydroelectric-power-station.html
24. Концепція загальнодержавної
програми поводження з відходами. К., 2011/ Режим доступу
http://www.menr.gov.ua/content/article/9493 - Загл. с экрана
25. Бондаренко І.В. Інноватика у
поводженні з відходами: сучасна проблематика, аналіз середовища функціонування
і нові пропозиції/ Екологічні проблеми індустріальних мегаполісів/ Збірник
праць міжнародної науково-практичної конференції-виставки. Донецьк 30 травня -
2 червня 2011. - Донецьк, ДонНТУ (у друку).
26. Заявка а201109890 Украина, МПК8
b65f3\00, b65f3\06. Енергоавтономна
система транспортування відходів II-V класу небезпеки / Бондаренко Іван
Валерійович. - № а201109890 Дата подачі заявки: 08.09.2011 р.
27. Бондаренко, І. В., Бєляєва І. В.
Модернізація системи транспортування твердих побутових відходів // Проблеми
екології. - № 1-2 (27). - 2011. - С. 80-89.
28. Бондаренко, И.В. Задачи и решения
адаптационной экоинноватики/К.: «Кафедра, 2012. - 100 стр.
29. Пат. № 54401 Украина, МПК8 H02N
2/10, F01C 17/00. Автодорожня генераційна система «Аероенергостан» / Бондаренко
Іван Валерійович; заявитель и патентообладатель И.В.Бондаренко - u201004635;
Заявл. 19.04.2010; Опубл. 10.11.2010, Бюл. № 21
30. Пат. 2148529 Рос.Федерация: МПК7
B64C23/06. Концевой генератор вихря для аэродинамической несущей поверхности /
В.Т. Шведов
и др;
заявители и патентообладатели Шведов Владимир Тарасович, Московский областной
Совет Всероссийского общества изобретателей и рационализаторов - 97120107/28;
Заявл. 11.12.1997, Опубл. 2000.05.1
31. Сайт компанії AutouaNet,
Електронний режим доступу: http://news.autoua.net/ru/news/c54/2008/12/12/12065.html
- Загл. с
экрана
32. Закон України "Про охорону
праці" від 14.10.1992 № 2694-XII
33. Закон "Про охорону праці"
про внесення змін до Закону України "Про охорону праці" N 229-IV,
21.11.2002, Закон, Верховна Рада України
34. Заявка а201201731 Украина, МПК8
H02N 2/10 Снаряд екологічної
дії «СЕД +» / Бондаренко Іван Валерійович. - № а201201731 Дата подачі заявки:
16.02.2012 р.
35. «Гнатюк В. И. Техника, техносфера,
энергосбережение,2000» [Электронный ресурс] - Режим доступа:
http://gnatukvi.ru/ - Загл. с экрана
36. Новый экономический словарь: - Москва,
Институт новой экономики, 2009 г.- 1088 с.
37. Галкин Глеб., Методы определения
экономического эффекта от ИТ-проекта. Журнал "intelligent enterprise", № 22,24 - 2005 г.
38. Насыров И.Н., Математическая модель
расчёта комерческой эффективности проектов экологических
поселений//СЭТС/Социально-экономические и технические системы: исследование,
проектирование, организация © Камская государственная инженерно-экономическая
академия (КамПИ) 2003-2006 / 9 номер 2006 г.
39. Экономика строительства. В 2 ч. Ч.1:
учебник для вузов /Н.И. Барановская и др.; под ред. профессоров Ю.Н.
Казанского, Ю.П. Панибратова; Гос. образоват. учреждение высш. проф.
образования "Санкт-Петербургский гос. архитектурно-строительный ун-т".
- М.: АСВ; СПб.: Санкт-Петербургский гос. архитектурно-строительный ун-т, 2003.
- 368 с.
40. Методические рекомендации Минэкономики РФ,
Минфина РФ, Госстроя РФ по оценке эффективности инвестиционных проектов № ВК
477 от 21.06.1999 года