Электроснабжение частного предприятия
Введение
электроснабжение трансформатор
высоковольтный
На сегодняшнем этапе развития современного общества,
электроэнергия и централизованное теплоснабжение стали неотъемлемой частью
нашей повседневной жизни. Без них трудно представить жизнь, современных городов
и поселков, являющихся крупными потребителями электрической энергии в
республике. От того, насколько рационально спроектирована система
электроснабжения города, зависит эффективность функционирования большого числа
городских и промышленных объектов, расположенных на его территории.
Потребители электрической энергии, расположенные на
территории города, условно разделяются на две основные группы: жилые дома и
общественно-коммунальные учреждения.
Потребление электроэнергии в жилых домах определяется укладом
жизни населения города. В современных жилых домах используется большое
количество различных электроприёмников, которые подразделяются на
электроприемники квартир и на электроприемники общедомового назначения.
Огромная роль энергетики в развитии народного хозяйства
определяется тем, что любой производственный процесс во всех отраслях
промышленности, в сельском хозяйстве, на транспорте, все виды обслуживания
населения страны связаны со всевозрастающим масштабами использования энергии. В
настоящее время уровень мирового потребления энергии перевалил за 2 млрд. тонн
условного топлива, по прогнозам экспертов к 2020 году эта цифра возрастет до 30
млрд. тонн в год.
В процессе развития производительных сил непрерывно
изменились и совершенствовались источники и виды энергии, используемые в
производстве. Возможность передачи электроэнергии на большие расстояния
позволила территориально отделить место производства энергии от ее
потребителей. Источниками электроснабжения стали электростанции. В результате
само производство электрической энергии, ее передача и распределение
обособились в самостоятельную отрасль электроэнергетику. Это открыло простор
концентрации производства в различных отраслях, и создала возможности для
бурного технического прогресса и размещения промышленности по всей стране.
Генеральными направлениями в энергетике стали концентрация и централизация
производства электроэнергии, создание электрических систем и их объединений.
Производство электрической энергии легко сосредоточить на электростанциях большой
мощности и затем централизованно снабжать ею предприятия и других потребителей.
1. Общая часть
1.1 Технологический процесс цеха
В штамповочном цехе происходит изготовление следующих типов
деталей: кронштейн, шайба, экран, чашка, маслоотражатель, кольцо, крышка
турбины, планка прижимная, прокладка цилиндра, клапан всасывающий, клапан
нагнетательный, ограничитель, диск.
Представителями данных деталей являются:
Кронштейн №720-1118028, имеющий цилиндрическую форму;
изготавливается из стали 20;
Чашка верхняя №720-1118066, имеющий цилиндрическую форму.
Тип производства на предприятии - массовый. Это
характеризуется выпуском более 2 млн. штук деталей в год. На участке цеха
производится штамповка мелких и средних деталей размером до 350 мм.
Обработка деталей производится при помощи галтовочных
барабанов. Галтовку применяют для удаления заусенцев, оставшихся после
разделения операции холодна штамповка, округления открытых кромок, очистка
небольших деталей от следов ржавчины и окалины. Сущность процессов заключается
во взаимном перемещении заготовки относительно друг друга и очищающей среды во
вращающимся барабане. Для лучшей очистки деталей галтовочный барабан наполняют
смесями: опилками, абразивными парашками, молотым стеклом и т.д. Для уменьшения
шума галтовочные барабаны изготавливают с двойными стенками, между которыми
заливают масло.
Различают голтовку сухую и подводную. Последняя применяется
реже, для обработки деталей сложной формы, изготовленных из цветных металлов и
производится в перфорировочных барабанах, нагруженных в жидкую среду.
Основным исходным материалом для получения заготовок являются
стальные листы. Производство заготовок осуществляется на штамповочном участке
при помощи гильотинных ножниц модели НД 3316. Исходный материал для получения
заготовок хранится на складе материально-технического снабжения. Для подачи
исходного материала к заготовительному оборудованию используют автопогрузчик, а
для подачи полученных заготовок к технологическому оборудованию используют
мостовой кран.
В механическом цехе основным видом работы является обработка
деталей на станках. И поэтому металлорежущие станки являются основным видом
оборудования.
Сварочный участок, слесаро - сборочный участок,
заготовительный участок, склады, специалисты и хорошая организация обеспечивает
своевременное выполнение планов, заказов на ремонт и изготовление необходимых
деталей. Поступление заготовок в цех при изготовления деталей происходит за
счет Литейного цеха, где выливают металл определенных размеров для последующей
обработки в Механическом цехе.
С Литейного цеха заготовки перевозят на склад Механического
цеха с помощь трансферкарных тележек на рельсовом ходу. Перемещение заготовок
на складе, который представляет собой эстакаду, производится за счет
электромостовых кранов. Со склада трансферкарной тележкой заготовки везутся в
цех. После термической обработки детали направляются в основной цех по
обработке их на станках. Перемещение осуществляется также с помощь
трансферкарных тележек и мостовых кранов. Немало станков находится в цехе. Есть
такие как: токарно-винторезные, токарно-карусельные, сверлильные,
радиально-сверлильные, горизонтально-расточные, расточные, гайконарезные,
плоскошлифовальные, продольно- и поперечно - строгальные, долбежные, фрезерные,
станки с ЧПУ и др.
Все это оборудование дает возможность выточить практически
любую деталь! После обработки деталей на станках, для некоторых по технологии
изготовления необходима термическая обработка. В следствии чего, они проходят
термическую обработку.
1.2 Категория электроснабжения
Надежность электроснабжения городских потребителей должна
соответствовать ПУЭ, согласно которым электроприемники (ЭП) делятся на три
категории по надежности электроснабжения. При рассмотрении надежности
электроснабжения коммунально-бытовых потребителей к соответствующей категории
относят как отдельные ЭП, так и группу ЭП. Под группой ЭП понимается их
совокупность, характеризующаяся одинаковыми требованиями к надежности
электроснабжения (например, электроприемники операционных, родильных отделений и
др.). В отдельных случаях в качестве группы ЭП рассматриваются потребители в
целом (детское учреждение и др.).
Требования к надежности электроснабжения отдельных ЭП высшей
категории недопустимо распространять на все остальные ЭП потребителей.
Требования к надежности электроснабжения определяются применительно к вводному
устройству ЭП или вводному устройству группы ЭП (потребителю).
К электроприемникам первой категории (I) относятся ЭП,
перерыв электроснабжения которых может повлечь за собой опасность для жизни
людей и нарушение функционирования особо важных элементов городского хозяйства.
К электроприемникам второй категории (II) относятся ЭП,
перерыв в электроснабжении которых приводит к нарушению нормальной деятельности
значительного количества городских жителей.
К электроприемникам третьей категории (III) относятся все
остальные ЭП, не подходящие под определение первой и второй категории.
Электроприемники I категории обеспечиваются электроэнергией
от двух независимых источников питания, и перерыв их электроснабжения может
быть допущен только на время автоматического ввода резервного питания.
Независимыми источниками питания являются две секции или системы шин одной или
двух электростанций и подстанций при соблюдении требований ПУЭ пункта. В
качестве второго независимого источника питания могут также использовать
автономные источники питания (аккумуляторные батареи, дизельные электростанции
и др.) и резервные связи по сети напряжением 0,4кВ от ближайших ТП, питающихся
по сети 10 кВ от другого независимого источника. Устройство автоматического
включения резерва (АВР) предусматривают, как правило, непосредственно на вводе
к ЭП I категории.
Электроприемники II категории рекомендуют обеспечивать
электроэнергией от двух независимых источников питания. Для этих ЭП допускают
перерывы в электроснабжении на время, необходимое для включения резервного
питания действиями дежурного персонала или выездной оперативной бригады. При
определении резервных элементов в системе электроснабжения ЭП II категории
учитывают допустимость их питания по ВЛ напряжением 0,4-20кВ, если обеспечена
возможность проведения аварийного ремонта линии за время не более одних суток.
Допускают питание ЭП II категории по одной кабельной линии, состоящей не менее
чем из двух кабелей, присоединенных к общему аппарату. Питание ЭП II категории,
как правило, предусматривают от однотрансформаторных ТП при условии организации
централизованного резерва трансформаторов и при обеспечении возможности замены
поврежденного трансформатора за время не более одних суток. Для ЭП II категории
допускается резервирование в послеаварийном режиме путем устройства временных
связей напряжением 0,4кВ шланговым проводом.
Электроприемники III категории могут питаться от одного
источника питания. Допустимы перерывы в электроснабжении на время, необходимое
для подачи временного питания, ремонта или замены поврежденного элемента
системы электроснабжения, но не более чем на одни сутки. Временное отсутствие
резервирования в элементе системы электроснабжения не освобождает от выполнения
требований к резервированию в остальных элементах системы с учетом требований к
надежности в зависимости от категорий ЭП.
1.3 Напряжение питающей и распределительной сети
Основной системой напряжения для
электроснабжения городских потребителей является 10/0,4 кВ. Напряжение 6 кВ для
электроснабжения новых районов не рекомендуется; действующие сети этого
напряжения переводятся на 10 кВ. По мере роста плотности нагрузок система
напряжений 10/0,4 кВ должна получить преимущественное развитие, что позволит отказаться
от одной ступени трансформации и, следовательно, существенно снизить расход
электроэнергии на ее транспорт. Система централизованного электроснабжения
городских потребителей состоит из двух типов сетей: питающих (ВЛ 110 и 35 кВ)
распределительных (ВЛ 10 кВ, потребительские ПС 10/0,4 и линии 380/220 В).
Основным направлением развития электрических
сетей городского назначения является преимущественное развитие сетей 10 кВ.
В системе электроснабжения электрические
сети напряжением 35-110 кВ имеют важное значение, с точки зрения надежности
электроснабжения схема этих сетей является определяющей.
Для схемы электроснабжения принят переменный ток.
Наивыгоднейшее напряжение зависит от многих факторов: это потребляемая
мощность, удалённость от источника питания и напряжения, на котором может
производиться питание. Для питания может применяться напряжение 10 -110 кВ.
На ПС принято напряжение питающей сети 110-35кВ, На второй
ступени электроснабжения применяется напряжение 10кВ.
В электроустановках до 1000В, применяется напряжение
380/220В, с питанием силовых и осветительных электроприемников, от общих
трансформаторов, но от отдельных сетей.
Система напряжений выбирается с учетом перспективы развития
города в пределах расчетного срока, его генерального плана и системы напряжений
в данной энергосистеме.
При этом должен выполняться основной принцип развития сети:
повышение напряжения распределительной сети до оптимального значения (0.38, 10,
110 кВ) и сокращение числа промежуточных трансформаций.
В распределительных сетях энергосистем наибольшее
распространение имеет напряжение 110 кВ и в меньшей степени напряжение 220 кВ.
Последнее развивается в отдельных крупных городах. Для большинства городов,
оптимальной является система напряжений 110/10/0.38 кВ.
Задача выбора оптимального напряжения каждой ступени
трансформации, а также их числа должна рассматриваться с учетом дальности
передачи мощности и величины передаваемой мощности. Дополнительно должны
учитываться характеристики и размещение источников питания, а также плотность
нагрузки.
В условиях роста электрических нагрузок элементов городской
распределительной сети основным и наиболее эффективным мероприятием,
обеспечивающим повышение пропускной способности линий и снижение потерь
электроэнергии, является перевод сети на повышенное напряжение. Перевод сетей 6
кВ на напряжение 10 кВ позволит повысить пропускную способность линий в полтора
раза и одновременно снизить потери электроэнергии в 2 раза.
Городские электрические сети напряжением 10 кВ должны
выполняться трехфазными с изолированной или заземленной через дугогасящие
реакторы нейтралью, сети напряжением 380 В-трехфазными, четырехпроводными, с
глухим заземлением нейтрали.
1.4 Выбор схемы электроснабжения
Наиболее экономичной и надёжной системой электроснабжения, является
такая, при которой источники высшего напряжения максимально приближены к
потребителям электроэнергии, а приём электроэнергии рассредотачивается по
нескольким пунктам. Система электроснабжения таким образом, чтобы все её
элементы находились под нагрузкой. Система имеет «скрытый» резерв, который
предусматривается в самой схеме электроснабжения, которая после аварии должна
принять на себя нагрузки временно выбывшего элемента, путём перераспределения
её между оставшимися в работе частями сети, с использованием перегрузочной
способности электрооборудования. Восстановление питания потребителей
производится автоматически, с использованием схемы автоматики на оперативном
токе. Применяется также автоматическое отключение неответственных потребителей
на время послеаварийного режима, если питающие линии или трансформаторы, даже с
учётом перегрузки не могут обеспечить полное резервирование. Применяется
раздельная работа элементов схемы: линий, трансформаторов. При этом существенно
снижаются токи короткого замыкания и упрощается коммутация и релейная защита
трансформаторов и вводов. Благодаря применению автоматики, надёжность питания
является высокой. Применяется секционирование всех звеньев, начиная от
источника питания до сборных шин низкого напряжения ТП. На секционных аппаратах
предусматриваются простейшие схемы автоматического включения резерва (АВР), это
повышает надёжность питания. На подстанции применяются схемы с выключателями,
которые позволяют:
) обеспечить самозапуск электродвигателей, т.к. время действия
АВР, меньше при схемах с отделителями; 2) упростить схему защиты и автоматики.
Рис. 1.1 Магистральная схема
2. Специальная часть
2.1 Расчет электрических нагрузок
Первым этапом проектирования системы электроснабжения
является определение электрических нагрузок. По значению электрических нагрузок
выбирают и проверяют электрооборудование системы электроснабжения, определяют
потери мощности и электроэнергии.
При проектировании системы электроснабжения потребители электроэнергии
(отдельный приемник электроэнергии, группа приемников, цех или завод в целом)
рассматривают в качестве нагрузок. Различают следующие виды нагрузок: активную
мощность Р, реактивную мощность Q, полную мощность S и ток I.
Расчет электрических нагрузок необходим для построения
картограммы нагрузок, выбора мощности трансформаторов главной понижающей
подстанции (ГПП) и цеховых подстанций и т.д.
Для определения расчетных нагрузок по номинальным
установленным мощностям электроприемников воспользуемся методом коэффициента
максимума. По этому методу расчетная нагрузка принимается равной вероятному
максимальному значению за время 30 минут при кабелях и проводах, имеющих
постоянную времени нагрева значительно более 10 минут (при сечении более 50 мм2).
Средние активные и реактивные нагрузки (за наиболее
нагруженную смену) Рсм, Qсм определяют по формулам:
Рсм=Ки·Рн∑ (2.1)
(2.2)
где Рсм, Рн∑ - суммы активных
мощностей за смену и номинальных в группе электроприемников, кВт
Qсм - средняя реактивная нагрузка электроприемников за
наиболее нагруженную смену, квар
Рн - номинальная мощность одного электроприемника, Вт;φ
- тангенс угла, определяемый
по формуле:
(2.3)
где cosφ -
коэффициент мощности, определяемый по справочнику [1].
Максимальная активная нагрузка Рм, кВт и максимальная
реактивная Qм, квар, нагрузки определяются по формулам:
Рм=Км·Рсм (2.4)
(2.5)
где Км - коэффициент максимума, определяемый по
справочнику [4];
Максимальная полная нагрузка Sм, кВ·А,
определяется по формуле:
(2.6)
Средняя нагрузка за наиболее
нагруженную смену Sсм, кВ·А, определяется по формуле:
(2.7)
Ток распределительной установки определяется по формуле:
(2.8)
где Uл - напряжение линии, принимается равным 0,38 кВ.
Показатель силовой сборки в группе определяется по формуле:
(2.9)
где Рн.нб - наибольшая мощность электроприемника кВт, Рн.нм
- наименьшая мощность электроприемника, кВт.
Кузнечный цех с термическим отделением №1
Моталка, ковочные машины
Рн=220; n=4; Км=2,64; Ки=0,2; cosφ=0,65;
tgφ=1,16
1. Определяется средняя активная нагрузка по формуле 2.1
Рсм=Ки·Рн∑ =0,2·220·4=176
кВт
. Определяется средняя реактивная нагрузка по формуле
2.2
см=Pсм·tqφ=176·1,16=204,2 квар
. Определяется средняя нагрузка за наиболее загруженную смену по
формуле 2.7
. Определяется максимальная активная нагрузка по формуле 2.4
Рм=Км·Рсм=2,64·176=464,6кВт
5. Определяется максимальная реактивная нагрузка по формуле 2.5
м=Рм·tgφ=464,6·1,16=538,9 квар
. Определяется максимальная полная нагрузка по формуле 2.6
. Определяется ток
распределительной установки по формуле 2.8
Печи сопротивления с непрерывной загрузкой
Рн=5200; n=8; Км=1,2; Ки=0,7;
cosφ=0,95; tgφ=0,32
1. Определяется средняя активная нагрузка по формуле 2.1
Рсм=Ки·Рн∑ =0,7·5200·8=29120
кВт
. Определяется средняя реактивная нагрузка по
формуле 2.2
см=Pсм·tqφ=29120·0,32=9318,4 квар
. Определяется средняя нагрузка за наиболее загруженную смену
по формуле 2.7
4. Определяется максимальная активная нагрузка по формуле 2.4
Рм=Км·Рсм=1,2·29120=34944кВт
. Определяется максимальная реактивная нагрузка по формуле 2.5
м=Рм·tgφ=34944·0,32=11182,1
квар
. Определяется максимальная полная нагрузка по формуле 2.6
. Определяется ток
распределительной установки по формуле 2.8
Индукционные печи низкой частоты
Рн=280; n=19; Км=1,11; Ки=0,7;
cosφ=0,35; tgφ=2,67
1. Определяется средняя активная нагрузка по формуле 2.1
Рсм=Ки·Рн∑ =0,7·280·19=3724
кВт
. Определяется средняя реактивная нагрузка по
формуле 2.2
см=Pсм·tqφ=3724·2,67=9943,1 квар
. Определяется средняя нагрузка за наиболее загруженную смену
по формуле 2.7
. Определяется максимальная активная нагрузка по формуле 2.4
Рм=Км·Рсм=1,11·3724=4133,6
кВт
. Определяется максимальная реактивная нагрузка по формуле 2.5
м=Рм·tgφ=4133,6·2,67=11036,71
квар
. Определяется максимальная полная нагрузка по формуле 2.6
. Определяется ток
распределительной установки по формуле 2.8
Ламповые генераторы индуктивных печей высокой частоты
Рн=550; n=15; Км=1,12; Ки=0,7;
cosφ=0,65; tgφ=1,16
1. Определяется средняя активная нагрузка по формуле 2.1
Рсм=Ки·Рн∑ =0,7·550·15=5775
кВт
. Определяется средняя реактивная нагрузка по
формуле 2.2 Qсм=Pсм·tqφ=5775·1,16=6699 квар
. Определяется средняя нагрузка за наиболее загруженную смену
по формуле 2.7
. Определяется максимальная активная нагрузка по формуле 2.4
Рм=Км·Рсм=1,12·5775=6468
кВт
. Определяется максимальная реактивная нагрузка по формуле 2.5
м=Рм·tgφ=6468·1,16=7502,88
квар
. Определяется максимальная полная нагрузка по формуле 2.6
. Определяется ток
распределительной установки по формуле 2.8
Мелкие нагревательные приборы
Рн=844; n=200; Км=1,05; Ки=0,6;
cosφ=0,9; tgφ=0,48
1. Определяется средняя активная нагрузка по формуле 2.1
Рсм=Ки·Рн∑ =0,6·844·200=101280
кВт
. Определяется средняя реактивная нагрузка по
формуле 2.2
см=Pсм·tqφ=101280·0,48=48614,4 квар
3. Определяется средняя нагрузка за наиболее загруженную
смену по формуле 2.7
. Определяется максимальная активная нагрузка по формуле 2.4
Рм=Км·Рсм=1,05·101280=106344
кВт
. Определяется максимальная реактивная нагрузка по формуле 2.5
м=Рм·tgφ=106344·0,48=51045,12
квар
. Определяется максимальная полная нагрузка по формуле 2.6
. Определяется ток
распределительной установки по формуле 2.8
Двигатель-генераторы индукционных печей высокой частоты
Рн=429; n=20; Км=1,11; Ки=0,7;
cosφ=0,8; tgφ=0,75
1. Определяется средняя активная нагрузка по формуле 2.1
Рсм=Ки·Рн∑ =0,7·429·20=6006
кВт
2. Определяется средняя реактивная нагрузка по
формуле 2.2
см=Pсм·tqφ=6006·0,75=4504,5 квар
. Определяется средняя нагрузка за наиболее загруженную смену
по формуле 2.7
. Определяется максимальная активная нагрузка по формуле 2.4
Рм=Км·Рсм=1,11·6006=6666,66
кВт
. Определяется максимальная реактивная нагрузка по формуле 2.5
м=Рм·tgφ=6666,66·0,75=5000
квар
. Определяется максимальная полная нагрузка по формуле 2.6
. Определяется ток
распределительной установки по формуле 2.8
Мостовые краны ПВ40%
Рн=50; n=3; Км=3,51; Ки=0,1;
cosφ=0,5; tgφ=1,73
1. Определяется средняя активная нагрузка по формуле 2.1
Рсм=Ки·Рн∑ =0,1·50·3=15
кВт
. Определяется средняя реактивная нагрузка по
формуле 2.2
см=Pсм·tqφ=15·1,73=25,95 квар
. Определяется средняя нагрузка за наиболее загруженную смену
по формуле 2.7
. Определяется максимальная активная нагрузка по формуле 2.4
Рм=Км·Рсм=3,51·15=52,65
кВт
. Определяется максимальная реактивная нагрузка по формуле 2.5
м=Рм·tgφ=52,65·1,73=91,08
квар
. Определяется максимальная полная нагрузка по формуле 2.6
. Определяется ток
распределительной установки по формуле 2.8
Компрессоры
Рн=155; n=4; Км=1,29; Ки=0,7; cosφ=0,8;
tgφ=0,75
1. Определяется средняя активная нагрузка по формуле 2.1
Рсм=Ки·Рн∑ =0,7·155·4=434
кВт
. Определяется средняя реактивная нагрузка по формуле
2.2
см=Pсм·tqφ=434·0,75=325,5 квар
. Определяется средняя нагрузка за наиболее загруженную смену по
формуле 2.7
. Определяется максимальная активная нагрузка по формуле 2.4
Рм=Км·Рсм=1,29·434=559,86
кВт
. Определяется максимальная реактивная нагрузка по формуле 2.5
м=Рм·tgφ=559,86·0,75=419,9
квар
. Определяется максимальная полная нагрузка по формуле 2.6
. Определяется ток
распределительной установки по формуле 2.8
Насосы
Рн=254; n=6; Км=1,23; Ки=0,7; cosφ=0,8;
tgφ=0,75
1. Определяется средняя активная нагрузка по формуле 2.1
Рсм=Ки·Рн∑ =0,7·254·6=1066,8
кВт
. Определяется средняя реактивная нагрузка по формуле
2.2
см=Pсм·tqφ=1066,8·0,75=800,1 квар
. Определяется средняя нагрузка за наиболее загруженную смену по
формуле 2.7
. Определяется максимальная активная нагрузка по формуле 2.4
Рм=Км·Рсм=1,23·1066,8=1312,16
кВт
. Определяется максимальная реактивная нагрузка по формуле 2.5
м=Рм·tgφ=1312,16·0,75=984,12
квар
. Определяется максимальная полная нагрузка по формуле 2.6
7. Определяется ток
распределительной установки по формуле 2.8
Вентиляционное оборудование
Рн=250; n=35; Км=1,12; Ки=0,6;
cosφ=0,75; tgφ=0,88
1. Определяется средняя активная нагрузка по формуле 2.1
Рсм=Ки·Рн∑ =0,6·250·35=5250
кВт
. Определяется средняя реактивная нагрузка по формуле
2.2
см=Pсм·tqφ=5250·0,88=4620 квар
. Определяется средняя нагрузка за наиболее загруженную смену по
формуле 2.7
. Определяется максимальная активная нагрузка по формуле 2.4
Рм=Км·Рсм=1,12·5250=5880
кВт
. Определяется максимальная реактивная нагрузка по формуле 2.5
м=Рм·tgφ=5880·0,88=5174,4
квар
6. Определяется максимальная полная нагрузка по формуле 2.6
. Определяется ток
распределительной установки по формуле 2.8
Освещение, лампы люминесцентные
Рн=102; n=22; Км=1,03; Ки=0,9;
cosφ=0,95; tgφ=0,33
1. Определяется средняя активная нагрузка по формуле 2.1
Рсм=Ки·Рн∑ =0,9·102·22=2019,6
кВт
. Определяется средняя реактивная нагрузка по формуле
2.2
см=Pсм·tqφ=2019,6·0,33=666,47 квар
. Определяется средняя нагрузка за наиболее загруженную смену по
формуле 2.7
. Определяется максимальная активная нагрузка по формуле 2.4
Рм=Км·Рсм=1,03·2019,6=2080,19
кВт
5. Определяется максимальная реактивная нагрузка по формуле 2.5
м=Рм·tgφ=2080,19·0,33=686,46
квар
. Определяется максимальная полная нагрузка по формуле 2.6
. Определяется ток
распределительной установки по формуле 2.8
. Определяется показатель силовой сборки в группе по формуле 2.0
2.2 Выбор числа и
мощности трасформатора
Правильный выбор числа и мощности силовых трансформаторов для
главных понизительных и цеховых подстанций промышленных предприятий имеет
существенное значение для построения схемы электроснабжения предприятий.
Основными требованиями при выборе числа трансформаторов ГПП
являются: надежность электроснабжения потребителей (учет категории
электроприемников в отношении требуемой надежности), а также минимум
приведенных затрат на трансформаторы с учетом динамики роста электрических
нагрузок.
Двухтрансформаторные подстанции должны применяться при
преобладании потребителей Ι и ΙΙ категории, а также при неравномерном суточном или годовом
графике нагрузки, обеспечивая практически бесперебойность предприятия.
Мощность трансформатора должна
обеспечивать потребную мощность в режиме работы после отключения поврежденного
трансформатора в зависимости от требований, предъявляемых потребителями данной
категории.
Надежность электроснабжения предприятия достигается за счет
установки на подстанции двух трансформаторов (второй в нормальном режиме работы
может быть как отключен, так и включен).
При выборе трансформаторов рекомендуется:
трансформаторы мощностью более 1000 кВ·А применять при
наличии группы электроприемников большой мощности или значительного числа
однофазных электроприемников, а также при наличии электроприемников с частыми
пиками нагрузки и в цехах с высокой удельной плотностью;
стремиться к возможно большей однотипности трансформаторов
цеховых подстанций;
при двухтрансформаторных подстанциях, а также при
однотрансформаторных подстанциях с магистральной схемой электроснабжения
мощность каждого трансформатора выбирать с таким расчетом, чтобы при выходе
одного трансформатора оставшийся в работе трансформатор мог нести всю нагрузку
потребителей Ι и ΙΙ
категории (с
учетом допустимых нормальных и аварийных нагрузок); при этом потребители ΙΙΙ категории могут временно отключаться.
Для этого номинальная мощность трансформаторов
двухтрансформаторной подстанции принимается равной 70% от общей расчетной
нагрузки цеха.
Тогда при выходе из строя одного из трансформаторов второй на
время ликвидации аварии оказывается загруженным не более чем на 140%, что
допустимо в аварийных условиях.
кВ·А. По технико-экономическим показателям целесообразно
проектировать двухтрансформаторные подстанции с питанием приемников по схеме
«трансформатор-магистраль».
Произведем расчет мощности цеховых трансформаторных
подстанций.
Согласно справочнику [7] определяются потери в трансформаторе
по формулам:
ΔРт=0,02Sм(нн)
кВт;
ΔQт=0,1Sм(нн),
квар
кВ·А (6.1)
Определяется расчетная мощность трансформатора с учетом потерь, но
без компенсации реактивной мощности по формуле:
т≥Sр=0,7
(ΔSт+Sм(нн))
(6.2)
Кузнечный цех с термическим отделением №1.
ΔРт=0,02Sм(нн)=0,02×197854,5=3957,09
кВт,
ΔQт=0,1Sм(нн)=
0,1×197854,5=19785,45 квар,
кВ·А,т≥Sр=0,7
(20177,28+197854,5)=152622,25 кВ·А.
Согласно справочнику [5] выбирается тип трансформатора
ТДЦГ-180000/110*
Номинальная мощность Sн=180000 кВ·А
Потери холостого хода Рх.х.=420 кВт
Потери короткого замыкания Рк.з.=680 кВт
Напряжение короткого замыкания Uк.з.=10,5%
Ток холостого хода Iк.з.=3,2%
Сталелитейный цех №2.
ΔРт=0,02Sм(нн)=0,02×56489,03=1129,78 кВт,
ΔQт=0,1Sм(нн)= 0,1×56489,03=5648,9 квар,
кВ·А,т≥Sр=0,7
(5760,77+56489,03)=43574,86 кВ·А.
Согласно справочнику [5] выбирается тип трансформатора
ТДГ-60000/110*
Номинальная мощность Sн=60000 кВ·А
Потери холостого хода Рх.х.=150 кВт
Потери короткого замыкания Рк.з.=30 кВт
Напряжение короткого замыкания Uк.з.=10,5%
Ток холостого хода Iк.з.=11,5%
Штамповочный цех со сварочным отделением №3.
ΔРт=0,02Sм(нн)=0,02×184993,98=3699,88 кВт,
ΔQт=0,1Sм(нн)= 0,1×184993,98=18499,4 квар,
кВ·А,т≥Sр=0,7
(18865,76+184993,98)=142701,18 кВ·А.
Согласно справочнику [5] выбирается тип трансформатора
ТДЦГ-180000/110
Номинальная мощность Sн=180000 кВ·А
Потери холостого хода Рх.х.=420 кВт
Потери короткого замыкания Рк.з.=680 кВт
Напряжение короткого замыкания Uк.з.=10,5%
Ток холостого хода Iк.з.=3,2%
Цех холодной обработки металла №4.
ΔРт=0,02Sм(нн)=0,02×74080,67=1481,61 кВт,
ΔQт=0,1Sм(нн)= 0,1×74080,67=7408,1 квар,
кВ·А,т≥Sр=0,7
(7554,81+74080,67)=57144,83 кВ·А.
Согласно справочнику [5] выбирается тип трансформатора
ТДГ-60000/110*
Номинальная мощность Sн=60000 кВ·А
Потери холостого хода Рх.х.=150 кВт
Потери короткого замыкания Рк.з.=30 кВт
Напряжение короткого замыкания Uк.з.=11,5%
Ток холостого хода Iк.з.=3,6%
Выбор трансформаторов на ГПП
ΔРт=0,02Sм(нн)=0,02×513418,18=10268,36 кВт,
ΔQт=0,1Sм(нн)= 0,1×513418,18=51341,82 квар,
кВ·А,т≥Sр=0,7
(52358,59+513418,18)=396043,74 кВ·А.
Согласно справочнику [5] выбирается тип трансформатора ТДЦГ-400000/110*
в количестве двух штук.
Номинальная мощность Sн=400000 кВ·А
Потери холостого хода Рх.х.=230 кВт
Потери короткого замыкания Рк.з.=1350 кВт
Напряжение короткого замыкания Uк.з.=10,5%
Ток холостого хода Iк.з.=0,8%
2.3 Расчет токов короткого замыкания
В электрических установках могут возникать различные виды
коротких замыканий, сопровождающихся резким увеличением тока. Поэтому
электрооборудование, устанавливаемое в системах электроснабжения, должно быть
устойчивым к токам короткого замыкания и выбираться с учетом величин этих
токов.
Различают следующие виды коротких замыканий: трехфазное, или
симметричное, - три фазы соединяются между собой; двухфазное две фазы
соединяются между собой без соединения с землей; однофазное - одна фаза
соединяется с нейтралью источника через землю; двойное замыкание на землю - две
фазы соединяются между собой и с землей.
Основными причинами возникновения таких коротких замыканий в
сети могут быть: повреждение изоляции отдельных частей электроустановки;
неправильные действия обслуживающего персонала; перекрытия токоведущих частей
установки.
Короткое замыкание в сети может сопровождаться: прекращением
питания потребителей, присоединенных к точкам, в которых произошло короткое
замыкание; нарушением нормальной работы других потребителей, подключенных к
неповрежденным участкам сети, вследствие понижения напряжения па этих участках;
нарушением нормального режима работы энергетической системы.
. Составляется схема замещения
. Задаются базисным условиям:б1=100 МВ·Аб1=110
кВб2=110 кВб3=110 кВб4=110 кВ
. Определяют сопротивления всех воздушных линий по формуле:
(9.1)
где L - длина воздушной линии, км.
. Рассчитываются сопротивления трансформаторов по формуле:
(9.2)
. Определяем результирующее сопротивление, оно определяется суммой
всех сопротивлений:
) Для точки К1:
ХрезК1=х3+х10=0,0375+0,082=0,11
) Для точки К2:
ХрезК2=х3+х10+х11=0,0375+0,082+0,00075=0,12
6. Определяют базисные токи:
. Определим ток и мощность
. Действующее значение установившегося тока короткого замыкания:
. Ударный ток короткого замыкания:
. Мощность короткого замыкания:
Для точки К2:
. Действующее значение установившегося тока короткого замыкания:
2. Ударный ток:
. Мощность короткого замыкания:
Таблица 2.1 Сводная таблица расчетов токов короткого замыкания
|
Точки к.з.
|
Хрез
|
I∞, кА
|
iуд,
кА
|
Sк,
МВ·А
|
|
К1
|
0,11
|
4,7
|
11,9
|
909,9
|
|
К2
|
0,12
|
4,3
|
10,9
|
833,3
|
2.4 Расчет питающей и распределительной сети
Питающая сеть от ГРУ ТЭЦ-2 до проектируемой подстанции L = 1,5 км;

= 0,26 Ом/км; 
= 0,08 Ом/км.
Определяем ток первичной обмотки трансформатора.

(2.1)

= 57,8 А

по нагреву расчетным током, при отключении одной из линий с
учетом допустимой 30% - ной перегрузки

(2.2)
где 140% допустимая перегрузка трансформатора 
= 0,9 - коэффициент поправки, зависит от числа совместно
прокладываемых кабелей.

= 69,16 А
Принимаем кабель ААШВ (3×35); 
= 90 А
б) термически устойчивое сечение

(2.3)
= 12 - для Al кабелей на 6-10 кВ

(2.4)
где 
=
∙0,005 - учитывается, если 

0,5 + 0,005∙1 = 0,5005 с

= f (
); 
; 
= 1
Расчетное время

(2.5)

= 0,5 + 0,1 +0,02 = 0,62< 1

= 1,2∙9,17∙
ближайшее меньшее 70
в) проверим кабель по потери напряжения

(2.6)
где 
= 0,83, 
что составляет

(2.7)

, условие выполняется.
Распределительную сеть рассчитываем от шин трансформаторной
подстанции до ПСУ-8, где нагрузка 200кВт.
Определим расчетный ток

(2.8)

Выбираем два параллельных кабеля 2АВВБГ (3х95+50).
Iдоп=2х170А=340А
Проверим кабель по потере напряжения

(2.9)

= 6В
что составляет

= 1,5%

> 1,5% условие выполняется
2.5
Расчёт и выбор высоковольтного оборудования
Выбор оборудования подстанций на стороне высшего напряжения.
Электрические аппараты в системе электроснабжения должны
нормально работать, как в нормальном длительном режиме, так и в условиях
аварийного кратковременного режима. К аппаратам предъявляется ряд общих
требований по надежной работе:
) Соответствие номинальному напряжению и роду установки,
отсутствие опасных перегревов при длительной роботе в нормальном режиме.
) Термическая и динамическая устойчивость при коротком
замыкании.
При проектировании ГПП на стороне 110 кВ выбираем следующее
оборудование: трехфазный разъединитель с заземляющими ножами. Основное значение
разъединителя- изолировать участок цепи на ремонта электрооборудования, путем
создания видимого воздушного промежутка.
Выбираем разъединитель типа РДЗ-110, с номинальным
напряжением 110 кВ, с номинальным током 1000 А, термическая стойкость 35,1кА,
амплитуда предельного сквозного тока короткого замыкания 80 кА, привод ПД-1У1.
При питании токов короткого замыкания от системы неограниченной
мощности от апериодической составляющей тока можно отказаться, а приведенное
время принять равным действительному времени протекания токов короткого
замыкания через отделитель т.е.
.
Проверка по длительному току в аварийном режиме:
Проверка на динамическую устойчивость (к ударному току короткого
замыкания
):
Проверка на динамическую устойчивость.
Производится по току термической стойкости и расчетному времени
термической стойкости:
Ток термической стойкости равен:
- условие выполняется РДЗ-110 подходит по условию.
Вывод: так как разъединитель выполняет все условия выбора,
окончательно принимаем к установке разъединитель типа РДЗ-110
Выбор короткозамыкателей.
Выбираем короткозамыкатели разъединитель с автоматическим
приводом. Предназначенный для создания искусственного короткого замыкания.
Выбираем короткозамыкатель типа КЗ-110У с номинальным напряжением 110 кВ,
термическая стойкость 12,5 кА, амплитуда предельного сквозного тока короткого
замыкания 42 кА, полное время включения и выключения 0,12 с. Привод ПРК-1У1.
) Проверка на динамическую устойчивость:
) Проверяем на термическую устойчивость:
Условия выполняется, следовательно, выбираем к установке
короткозамыкатель типа КЗ-1У1.
Выбор отделителей.
Отделитель-разъединитель с автоматическим приводом предназначенный
для автоматического отключения линии.
Выбираем отделитель типа ОД-110/1000 с номинальным напряжением 110
кВ, номинальный ток 1000 А, термическая стойкость 31,5 кА, амплитуда
предельного сквозного тока короткого замыкания 80 кА, привод ПРО-1У1.
) Проверка по длительному току в аварийном режиме:
) Проверка на динамическую устойчивость:
) Проверяем на термическую устойчивость:
Условия выполняются, следовательно, окончательно выбираем к
установке отделитель типа ОД-110/1000.
Независимо от того защищена ВЛ от прямых ударов молнии или нет,
оборудование электроустановок может подвергаться воздействию электромагнитных
волн и атмосферных перенапряжений. Для предотвращения этого необходимо
искусственное снижение амплитуды волны набегающей на установки, что достигается
с помощью разрядников.
Выбор оборудования на стороне низшего напряжения.
На стороне НН выбираем к установке следующее оборудование: вводные
секционные выключатели, трансформаторы тока и напряжения и разрядники.
Выбор вводных секционных выключателей, они предназначены для
включения отключения электрической цепи от нагрузки и при коротком замыкании.
Выбор выключателей.
По расчетному максимальному току выбираем выключатель ВМП-10К с
номинальным напряжением 10 кВ, номинальный ток 1500 А, динамическая стойкость
52 кА, ток термической стойкости 14 кА, время термической устойчивости 10 с,
ток отключения при напряжении 6 кВ - 19,3 кА, тип привода ПЭ 11.
) Проверка по длительному току:
) Проверка на динамическую устойчивость:
3) Проверяем на термическую устойчивость:
Условия выполняются, соответственно, окончательно выбираем к
установке выключатель ВМП-10К.
Выбор трансформаторов напряжения.
Измерительный трансформатор напряжения служит для измерения
напряжения в установках переменного тока.
|
Тип
трансформатора напряжения
|
Номинальный
коэффициент трансформации
|
Номинальная
мощность в классах точности, ВА
|
Максимальная
мощность, ВА
|
|
|
0,5
|
1
|
3
|
|
|
НОМ-10
|
75150300640
|
|
|
|
|
Выбираем трансформатор напряжения типа НОМ-1О
Условия выбора трансформатора напряжения:
где
- номинальное напряжение установки.
- первичное напряжение трансформатора напряжения.
- расчетная нагрузка
- номинальная нагрузка трансформатора в принятом классе точности.
По напряжению установки выбираем трансформатор типа НОМ -10
номинальный коэффициент трансформации 3000/100/100/3.
Выбираем к установке трансформатор напряжения НОМ-10.
Выбор трансформаторов тока
Выбирают трансформаторы тока по напряжению установки и по
длительному току и проверяем на термическую устойчивость, на динамическую
устойчивость и по вторичной нагрузке.
По напряжению и по расчетному току выбираем трансформатор тока
типа ТПШЛ-10, с номинальным напряжением 10 кВ, номинальный ток 2000 А,
динамическая устойчивость 100кА, термическая устойчивость 70 кА.
Данные приборов
|
Наименование
прибора.
|
Тип
|
Класс точности
|
Потребляемая
мощность
|
|
|
|
тока
|
напряжения
|
|
Амперметр
|
Э-351
|
1,5
|
0,5
|
-
|
|
Счетчик
активной энергии для трех проводных цепей
|
СЭТ 3а - 0,1 -
0,1
|
2
|
2,5
|
1,5
|
|
счетчик
реактивной энергии для трех проводных цепей
|
СЭТ 3 р - 0,1 -
0,8
|
2
|
2,5
|
3
|
) Проверяем на термическую устойчивость:
) Проверяем на электродинамическую устойчивость:
3) По вторичной нагрузке:
- расчетная нагрузка трансформатора тока.
-номинальная нагрузка, выбранная в классе точности.
где:
- сопротивление приборов.
- сопротивление проводов.
- сопротивление контакта
Последние принимаем равным в расчетах 0,1 Ом
где:
- вторичный ток трансформатора.
- суммарная мощность приборов подключаемых к трансформатору.
Для подключения приборов к трансформатору используем алюминиевые
провода длиной:
- фактическая длина провода
Удельное сопротивление алюминиевого провода
где
- номинальная вторичная мощность
трансформаторов тока.
2 » R2=Rприб+Rпров+Rк
=0,22+0,1+0,064=0,384 Ом
Номинально допустимая нагрузка трансформаторов тока в
выбранном классе точности составит:
Все условие удовлетворяется, значит, принимаем к установке
трансформаторы тока типа Тпшл-10.
Для защиты оборудования от перенапряжения на стороне НН по
номинальному напряжению и току выбираем разрядники РВО-6У1. С номинальном
напряжением 6 кВ; максимальное напряжение 7,6 кВ; пробивное импульсное
напряжения 32 кВ; наибольшее остаточное напряжения при импульсном токе с
амплитудой 3000 А - 25 кВ.
Выбор шин.
Шинами называется неизолированные проводники или система
проводников, укреплённых с помощью изоляторов и предназначенных для
электрической связи между элементами электроустановки. Неизолированные
проводники дешевле изолированных, обладают большой нагрузочной способностью,
проще в монтаже и эксплуатации. Для РУ 6 кВ выбираем алюминиевые шины.
Расчетный ток при максимальной нагрузке в послеаварийном режиме, определяется
по формуле:
Выбираем алюминиевые шины коробчатого сечения, окрашенные.
) Проверка шин на термическую устойчивость.
Условие проверки:
где
- минимальное сечение по термической
стойкости.

) Проверка шин по динамическую устойчивость. При проектировании РУ
с жесткими шинами. Производится определение частот, собственных колебаний для
алюминиевых шин. Измеряют частоту пролёта, можно добиться чтобы механический
резонанс был исключен, т.е. собственная частота колебаний шин была больше 200
Гц. Расстояние между изоляторами шин называется пролетом.
Длина пролета определяется по формуле:
где
- собственная частота колебаний шин.
- момент инерции.
- поперечное сечение двух шин.
Условия действующее между фазами при трёхфазном коротком
замыкании. Определяется по формуле:
где
- расстояние между осями шин смежных фаз.
Определяем механические напряжение
в шинах:
где w - момент сопротивлений шин определяется по справочнику.-
длина пролета.- усилие между шинами.
Т.е. шины с соответствующим сечением
удовлетворяет условиям электродинамической
устойчивости, т.о. принимаем к установке шины с размером:
Размер шин:
А=100 мм
В=45 мм момент инерции
С= 6 м допустимый ток
= 8 м
Выбор изоляторов.
Изоляторы являются одним из элементов шинной конструкции, служат
для крепления к изоляции шин от заземляющих частей.
Для крепления жестких шин применяют опорные изоляторы, а при
проходе шин через перегородки, междуэтажные перекрытия и стены используют
проходные изоляторы.
Опорные изоляторы выбирают по условиям электрической и
механической прочности, а проходные изоляторы по условию длительного нагрева
максимальным током нагрузки.
Для крепления шин выбираем изоляторы:
для наружной установки ШН-10;
для внутренней установки ОМА-10;
Условия электрической прочности:
где
- номинальное напряжение установки;
- Номинальное напряжение изолятора;
Условие выполняется - по электрической прочности проходят
изоляторы.
Условия механической прочности:
- усилие, действующее между фазами при трехфазном коротком
замыкании;
- допустимое усилие;
- разрушающие усилие на изоляторах, выбираются по справочнику.
Для наружного изолятора ШИ-10
Для внутреннего ОМА-10
Выбранные опорные изоляторы шинных конструкций всем условиям
выбора изолятора удовлетворяют следовательно принимаем к установке изоляторы
типа ШИ-10; ОМА-10.
При простое через стенку применяем проходные изоляторы:
Для наружной установки - ПИБ-10.
Для внутренней установки - ПБ-10.
|
тип
|
   
|
|
|
|
|
|
ПНБ-10
|
7500
|
10
|
649,8
|
10
|
1500
|
|
ПБ-10
|
750
|
10
|
649,8
|
10
|
150
|
По механической прочности
По электрической прочности
Кроме того проходные изоляторы проверяют по условиям протекания
длительного тока.
Условия выполняются следовательно принимаем к установке проходные
изоляторы типа ПНБ-10 и ПБ-10
2.6 Выбор защитной
коммутационной аппаратуры 0,4кВ
Выбор предохранителей производят по
условиям:
Плавкую вставку для безынерционных
предохранителей с учетом следующих условий:
коэффициент перегрузки, учитывающий превышение
тока двигателя сверх номинального значения в режиме пуска.
Рассмотрим в качестве примера выбор
предохранителя трубоотрезного станка № п.п. 55.р=82,9Ап=82,96,82=567,9
Ап/2,5=227,1Ан.в.=250 А
А>89А
Выбираем предохранитель типа ПН2-600 с Iн.п=600
А и Iн.в=250 А.
Далее согласуем его с проводом питающим
приёмник по условию
провод проходит согласование.
Аналогичные действия производим для
остальных приёмников, полученные расчётные данные заносим соответственно в
таблицу в которой также применяются предохранители марок: НПН-15; ПН-2-100;
НПН-60; ПН-2-250;
б) Выбор автоматических
выключателей:
Номинальное напряжение выключателя не
должно быть ниже напряжения сети
Номинальный ток расцепителя должен быть не
меньше наибольшего расчетного тока нагрузки, длительно протекающего по
защищаемому элементу
Автоматический выключатель не должен
отключаться в нормальном режиме работы защищаемого элемента, поэтому ток
уставки замедленного срабатывания регулируемых расцепителей следует выбрать по
условию:
Расцепитель отстраивается от
кратковременных перегрузок по следующему условию:
пусковой ток электродвигателя
кратность пускового тока электродвигателя
Пиковое значение тока:
где: - максимальное значение пускового
тока рассматриваемой группы электро-двегателей.
расчётный ток рассматриваемой группы
электро-двегателей.
коэффициент использования активной
мощности рассматриваемой группы электро-двегателей.
номинальный ток эл. двигателя с наибольшим
значением пускового тока.
В качестве примера выберем выключатель к
группе эл. пиёмников питаемых шинопроводом ШРА 2.
|
№ приёмника
п.п.
|
Рн, кВт
|
Iн, А
|
Кп
|
Iп, А
|
|
|
ШРА1-16
|
11,125
|
32,6
|
6,82
|
222,6
|
|
|
ШРА1-16
|
11,125
|
32,6
|
6,82
|
222,6
|
|
|
ШРА1-16
|
11,125
|
32,6
|
6,82
|
222,6
|
|
|
ШРА1-17
|
3,2
|
9,6
|
6,82
|
26,3
|
|
|
ШРА1-18
|
2,8
|
8,9
|
6,82
|
24,3
|
|
|
|
|
|
|
|
Рассмотрим в качестве примера выбор
рубильника и магнитного пускателя к трубоотрезного станка № п.п. 4.
а) выбор рубильника
выбираем рубильник типа РП
б) выбор магнитного пускателя
выбираем магнитных пускателей типа ПМЛ с
тепловым реле типа РТЛ.
Аналогичные действия производим для
остальных приёмников, полученные расчётные данные заносим соответственно в
таблицу №12.
2.7 Расчёт релейной
защиты трансформатора
Продольно дифференциальная защита.
Схема дифференциальной защиты работает по
принципу сравнения токов по принципу сравнения токов по концам защищаемого
элемента сети.
Для работы этой защиты с обеих сторон
защищаемого объекта установлены трансформаторы тока при нормальном режиме и при
коротком замыкании вне защищаемого контура, ток в реле будет равен токам
погрешности трансформаторов тока от чего и отстраивается ток не баланса.
|
ВН
|
НН
|
|
Среднее
значение первичных и вторичных токов для защищаемого трансформатора
|
|

|
|
|
Схема
соединения
|
|
Треугольник Звезда
|
|
|
Вторичный ток в
плечах защиты
|
|

|
|
|
Дифференциальная
защита отстраивается от тока небаланса, т.е. ток срабатывания защиты должен
быть больше.
|
|

- ток, обусловленный погрешностью трансформатора;
- Ток небаланса, вызванный различием сопротивлений;
- относительная погрешность трансформаторов тока - 0,1.
Ток срабатывания защиты из условия отстройки от расчетного тока
небаланса при внешнем коротком замыкании находится из условия: Ток срабатывания
защиты из условия отстройки от расчётного тока небаланса при внешнем коротком
замыкании:
,
где - коэффициент отстройки реле
Первичный ток срабатывания защиты из условия отстройки от бросков
тока намагничивания:
За предварительное значение Iс.з принимается большее
значение из двух условий:
Расчётный ток срабатывания реле отнесённый к основной стороне:
Расчётное число витков обмотки реле включенного в плечо защиты на
основной стороне:
где 100 (А) - магнито движущая сила срабатывания реле РНТ -565
Принятое число витков обмотки реле, включенное в плечо защиты на
основной стороне:
Расчётное число витков обмотки реле включенного в плечо защиты на
неосновной стороне:
Первичный ток небаланса при внешнем коротком замыкании обусловленный
округлением расчётного числа витков обмотки реле, включенного в плечо
защиты на основной стороне:
Проверка реле на чувствительность:
,
где: - двухфазное короткое замыкание.
Следовательно, защита будет чувствительной.
Максимально-токовая защита с блокированной по напряжению со
стороны питания
Для надежности работы защиты и для повышения чувствительности со
стороны питания применяем максимально токовую защиту с блокировкой по
минимальному напряжению.
Обмотки реле напряжения присоединены к вторичной обмотке
трансформатора напряжения. При нормальном режиме контакты реле разомкнуты, в
случае понижения напряжения до напряжения срабатывания контакты реле
замыкаются.
Благодаря указанной блокировке защита может действовать на
отключение только при срабатывании реле напряжения. Благодаря этому защита не
действует на включение короткозамыкателя, даже если токовые реле замкнут свои
контакты вследствие перегрузки линии. При коротком замыкании напряжение сети
понижается, и реле минимального напряжения срабатывают, разрешая действовать
защите на отключение. Контакты реле тока МТЗ защищаемого элемента в нормальном
режиме работы разомкнуты. При увеличении тока в обмотке реле до определенного
значения оно срабатывает и замыкает своими контактами цепь обмотки реле
времени. Последнее приходит в действие и через установленную на нем выдержку
времени замыкает контактами цепь включающей катушки привода короткозамыкателя.
где К н - коэффициент надёжности.
К сх - коэффициент схемы.
К в-коэффициент возврата реле.
Принимаем ток реле равным 5 (А)
следовательно защита будет чувствительной.
Междуфазное минимальное напряжение:
2.8 Работа схемы релейной защиты
Аппараты релейной защиты - это специальные устройства (реле,
контакторы, автоматы и др.), обеспечивающие автоматическое отключение
поврежденной части электрической установки или сети. Если повреждение не
представляет для установки непосредственной опасности, то релейная защита
приводит в действие сигнальные устройства. Для обеспечения надежной работы
релейная защита должна:
иметь избирательность (селективность), т.е. отключать
высоковольтными выключателями или автоматами только поврежденный участок
установки. Время срабатывания защиты характеризуется выдержкой времени,
обеспечивающей избирательность действия защиты. Выдержка времени определяется
временем действия выключателя поврежденного участка и временем срабатывания
защиты;
обладать достаточно высокой чувствительностью ко всем видам
повреждений на защищаемой линии и на линиях, питаемых от нее, а также к
изменившимся в связи с этим параметрам нормального режима работы (току,
напряжению и др.), что оценивается коэффициентом чувствительности;
быть выполнена по наиболее простой схеме с наименьшим числом
аппаратов.
Реле, применяемое в релейной защите, классифицируют по следующим
признакам:
по принципу действия - электромагнитные, индукционные,
электродинамические, тепловые, электронные, магнитоэлектрические и др.;
по параметру действия - тока. напряжения, мощности, тепловые и
др.;
по способу воздействия на отключение - прямого и косвенного
действия.
Наиболее простой является максимально-токовая зашита и поэтому
широко применяется для защиты трансформаторов, электродвигателей и линий
электропередач с односторонним питанием.
Ток, возникающий в аварийных режимах, в отличие от тока, имеющего
место в нормальном режиме, называется сверхтоком. При возникновении короткого
замыкания действует максимально - токовая защита, которая на отдельных участках
сети срабатывает при определенных токах и определенном времени срабатывания.
При использовании реле тока типа РТ-40 и реле времени типа ЭВ
защита называется максимально-токовой с независимой характеристикой времени
срабатывания. При использовании индукционно-токовых реле типа РТ-80 и реле
времени типа РТВ защита называется максимально-токовой с зависимой
характеристикой времени срабатывания.
Выбор токов и времен и срабатывания максимально
токовой защиты. Ток срабатывания пусковых токовых реле
выбирают таким, чтобы обеспечить выполнение следующих условий:
защита не должна приходить в действие при прохождении по
защищаемому элементу максимального тока нагрузки;
защита должна надежно действовать при коротком замыкании,
происшедшем на защищаемом участке, и иметь коэффициент чувствительности в конце
этого участка не менее 1,5;
защита должна действовать при коротком замыкании, происшедшем на
смежном (резервируемом) участке и иметь коэффициент чувствительности в конце
смежного участка не менее 1,2.
2.9 Автоматизация схем электроснабжения
Схема питающей сети системы автоматизации,
выполненная в однолинейном изображении (на схеме даны только характерные
надписи).
Схему распределительной сети выполняют в
многолинейном изображении для каждого щита и сборки питания отдельно. На ней
показывают аппараты управления (рубильники, выключатели, переключатели),
аппараты защиты (автоматы, предохранители), преобразователи (выпрямители,
трансформаторы, стабилизаторы и т.п.), лампы освещения, штепсельные розетки,
схемы автоматического ввода резерва (АВР) и линии электрической связи между
аппаратами.
Рис. 1.2 Магистральная схема
У изображения аппаратов указывают
буквенно-цифровые обозначения, у трансформаторов - высшее и низшее напряжения,
у выпрямителей и стабилизаторов - род тока, высшее и низшее напряжения.
Технические характеристики рубильников, выключателей, автоматов и
предохранителей на схемах распределительной сети не указывают, так как они даны
в перечнях элементов электроаппаратуры.
2.10 Расчёт заземления
подстанции
Заземлением называется преднамеренное
гальваническое соединение металлических частей электроустановки с заземляющим
устройством.
Заземляющее устройство - это совокупность
заземлителя и заземляющих проводников.
Заземлителем называют металлический
проводник или группу проводников, находящихся в соприкосновении с землей.
Различают естественные и искусственные заземлители.
Естественные заземлители - это различные
устройства и конструкции, которые по своим свойствам могут одновременно
выполнять функции заземлителей: металлические трубопроводы (кроме трубопроводов
горючих или взрывчатых жидкостей и газов, а также трубопроводов, покрытых
изоляцией от коррозии), металлические и железобетонные конструкции зданий и
сооружений, имеющие надежное соединение с землей.
Под искусственными заземлителями понимают
закладываемые в землю металлические электроды, специально предназначенные для
устройства заземлений. В качестве искусственных заземлителей применяют круглую,
полосовую и угловую сталь, размеры которой берутся из справочника [6].
Заземляющие проводники служат для
присоединения частей электроустановки с заземлителем. Помимо проводов
соответствующего сечения, заземляющими проводниками могут служить металлические
конструкции зданий и сооружений: колонны, фермы, каркасы распределительных
устройств.
Заземляться должны все металлические части
электрооборудования, нормально не находящиеся под напряжением, но могущие
оказаться под ним при повреждении изоляции. Заземляют корпуса электрических
машин, трансформаторов, аппаратов, светильников; каркасы щитов, щитков, шкафов,
пультов управления; металлические конструкции линий электропередача -
подстанций и распределительных устройств; броню и металлические оболочки
кабелей; стальные трубы электропроводок и т.п. а также вторичные обмотки
измерительных трансформаторов.
Электроды длиной 2,5-3 м изготовляют из
угловой стали размером 50х50х5, 60х60х6 и 75х75х8 или из круглой стали
диаметром 12-16 мм, длиной 5-б м. Соединительную полосу выполняют из полосовой
стала размером 40 х 4 или из круглой стали диаметром 10-12 мм.
Углублённые горизонтальные заземлители из
полосовой или круглой стали зазакладывают на дно котлованов на глубине 3-4 м
при сооружении фундаментов цехов, подстанций и опор линий электропередачи. В
плохо проводящих грунтах устраивают глубинные заземлители, закладывая электроды
на глубине 15 - 20 м, а в районах вечной мерзлоты - до 50 м.
Для заземляющих защитных проводников
используют металлические строительные конструкции, стальные трубы
электропроводок, свинцовые н алюминиевые оболочки и заземляющие жилы кабелей, а
также отдельно проложенные медные и алюминиевые провода, полосовую и круглую
сталь.
Магистральные защитные проводники из
полосовой стали прокладываются открыто; в установках до 1000 В они должны иметь
сечение не менее 100 мм2, а в установках свыше 1000 В-не менее 120
мм2.
) Сопротивление заземляющего устройства
при использовании естественного и искусственного заземлителя определяется по
формуле:
где Rе и Rи - сопротивления естественного и искусственного
заземлителя, Ом.
) Сопротивление естественного заземлителя:
) Сопротивление заземлителя искусственных электродов, соединенных
полосой:
что меньше допустимого значения 0,66 Ом.
) Суммарное сопротивление всех вертикальных электродов:
5) Сопротивление горизонтальных электродов:
) Сопротивление одиночного вертикального заземлителя:
) Сопротивление горизонтального заземлителя:
Сопротивление заземляющего устройства
равно 0,031 Ом, что меньше располагаемого значения о, 66 Ом, значит применяем к
установке 100 заземлителей длинной по 3 метра, длина заложения в землю 0,7 м,
значит принимаем заземлителя из угловой стали размером 50х50х5 мм, общая длина
горизонтального заземлителя 600 м.
3. Организация
производства
.1 Организация
эксплуатации и ремонт электрооборудования подстанции
Формы обслуживания подстанций (ПС) и
распределительных устройств (РУ) определяются их расположением и значением в
энергосистеме, в промышленном предприятии и степенью автоматизации и
телемеханизации. В промышленных предприятиях и сетевых районах имеются ПС и РУ
с постоянным дежурством персонала и без него. В первом случае дежурный персонал
находится постоянно на обслуживаемом объекте, во втором случае персонал не
прикрепляют к одному объекту; он производит одновременное обслуживание
нескольких ПС и РУ. На автоматизированных и телемеханизированных ПС и РУ
обслуживание централизовано; на них отсутствует постоянный дежурный персонал
промышленного предприятия или сетевого района, за которым закреплено несколько
ПС и РУ.
Осматривать оборудование на ПС и РУ можно
при наличии напряжения и при снятом напряжении одновременно с их ремонтом. При
осмотре без снятия напряжения соблюдают необходимые меры предосторожности,
например запрещается проникать за ограждения или заходить в камеры РУ и ПС. При
осмотрах эксплуатируемых ПС и РУ следят за тем, чтобы температура воздуха
внутри помещений не превышала (-40°С и не отличалась от температурь: наружного
воздуха более чем на 15°С. Необходимость этого контроля обусловливается тем,
что для оборудования и аппаратуры ПС и РУ опасен нагрев выше пределов,
допускаемых ГОСТом. Важнейшее значение имеет тщательный уход за оборудованием и
производственными помещениями; строгое выполнение указаний производственных и
заводских инструкций. Необходимо поддерживать чистоту в помещении, так как
запыление изоляции приводит к ее ускоренному износу; пыль, попадая во
вращающиеся механизмы, ухудшает условия их работы. Очень важно следить за
состоянием систем охлаждения трансформаторов, электродвигателей и выключателей.
Для понижения температуры либо снижают нагрузку на оборудование и аппаратуру ПС
и РУ, либо усиливают вентиляцию, с тем чтобы отвести избыток теплоты наружу.
Вентиляция должна обеспечивать заданный температурный режим в помещении при
различных колебаниях температуры окружающего воздуха.
Превышение допустимых температур нагрева
сильно влияет на изоляцию оборудования и аппаратов, вызывая ее ускоренное
старение, а при значительном перегреве может произойти разрушение и пробой
изоляции. Повышение температуры разъемных контактных соединений ведет к
усиленному окислению контактных поверхностей, увеличению их переходного
сопротивления и к еще большему нагреву. Повышенные нагревы могут возникать не
только в том аппаратов и оборудования.
При осмотрах маслонаполненных аппаратов
следят за тем, чтобы они содержали необходимое количество масла. Это
обстоятельство имеет особенно важное значение в тех случаях, когда масло
является дугогасящей средой; отключение короткого замыкания при недостатке масла
в аппарате приводит к аварии. Ответственное место в масляных выключателях
контактная система, четкость работы которой может нарушиться при отключениях
коротких замыканий. Поэтому после разрыва выключателем тока к. з. большой
мощности производят осмотр выключателя и проверяют качество контактной системы
как в отношении четкости работы, так и одновременности включения контактов.
Качество состояния контактов признается удовлетворительным, если их переходное
сопротивление соответствует данным завода-изготовителя.
Перед измерением несколько раз включают и
отключают аппарат для того, чтобы вызвать самоочистку контактов. У правильно
отрегулированных контактов разновременность их включения составляет не более
0,5-3% хода их траверсы. Для нормальной работы воздушных выключателей
необходимо, чтобы подаваемый к ним сжатый воздух был свободен от механических
примесей и не имел повышенной относительной влажности (более 50%). Воздух сушат
редуцированием. Примеси в воздухе понижают четкость работы выключателя, а
наличие повышенной влажности вызывает конденсацию влаги и перекрытие изоляции
внутри выключателя. Обслуживающий персонал систематически следит за
исправностью фильтров, очищающих воздух, и состоянием водопоглотителей
(адсорбентов), своевременно заменяя их заполнителем. Магистральные
воздухопроводы РУ и ПС продувают не реже одного раза в год.
График плановых осмотров РУ и ПС
устанавливает главный энергетик предприятия. Кроме плановых осмотров все РУ и
ПС подлежат внеочередным осмотрам после ликвидации короткого замыкания.
Внеочередные осмотры открытых РУ и ПС проводят также при неблагоприятной
погоде. Во время осмотров в журналах записывают показания приборов
(вольтметров, амперметров и др.) и фиксируют выявленные при осмотрах
неисправности, с тем, чтобы они могли быть устранены в кратчайший срок. Для
контроля обнаруженных неисправностей в журнале имеется специальная графа, в
которой отмечается время ликвидации неисправности. При эксплуатации РУ и ПС
необходимо осматривать состояние резервного электрооборудования. Оно должно
быть готово к включению в любой момент без предварительной подготовки. Такую
проверку осуществляют периодически, включая резервное оборудование под
напряжение. Сроки проверки резервного электрооборудования устанавливают
местными инструкциями.
Периодические осмотры шкафов КРУ и
вмонтированных в них аппаратов проводят также в зависимости от местных условий.
При осмотрах КРУ проверяют состояние электрической изоляции устройства,
выключателей, проводов, механизмов доводки и блокировки разъединяющихся контактов
первичной и вторичной цепей и наличие смазки на трущихся частях механизмов.
Периодически контролируют состояние резервных элементов КРУ (трансформаторов,
кабельных муфт, шин), с тем чтобы они всегда находились в состоянии,
допускающем их немедленное включение в эксплуатацию.
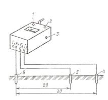
заземлитель и зонд соответственно на
расстояниях 30 и 20 м от измеряемого заземления. При измерениях зажимы 1\
и Е1, замкнутые перемычкой, присоединяют к испытываемому заземлителю. К зажиму
/2 присоединяют вспомогательный заземлитель, а к зажиму Е2
- зонд. Перед измерением производят компенсацию сопротивления зонда, для чего
переключатель 3 ставят в положение Регулировка и, вращая рукоятку генератора с
частотой вращения 135 об/мин, поворотом головки переключателя пределов
измерения 2, устанавливают стрелку прибора на красную отметку шкалы. Если это
не получается, необходимо уменьшить сопротивление зонда. Затем измеряют
сопротивление заземляющего устройства, отсчитывая его по шкале (в омах), с
учетом выбранного коэффициента измерения.
Рисунок 3.1 Проверка заземления
3.2 Неисправности
высоковольтных выключателей и способы их устранения
Трансформаторы просты по конструкции,
надёжны и удобны в эксплуатации. Случаи повреждения трансформаторов связаны с
нарушением правил эксплуатации, аварийными и ненормальными режимами работы,
старением изоляции обмоток, некачественной сборкой их на заводе или при монтаже
и ремонте.
Наиболее серьёзная неисправность
трансформаторов возникает при повреждении магнитопровода, вследствие нарушения
изоляции между отдельными листами и стягивающими их болтами. В стыковых
магнитопроводах причиной аварий бывает нарушение изоляции в стыках между ярмом
и стержнями. Местные нагревы стали магнитопровода возникают в результате разрушения
или износа изоляции стяжных болтов, повреждений между листовой изоляцией и
плохого контакта электрических соединений.
Междувитковые замыкания в обмотках и
секционные пробои и замыкания возникают при толчкообразных нагрузках или
коротких замыканиях в результате деформации секций от изоляции, от механических
усилий при токах короткого замыкания и при повреждении изоляции трансформатора
от атмосферных перенапряжений. Обрывы заземления магнитопровода также приводят
к повреждению трансформатора, поэтому все металлические части магнитопровода,
кроме стяжных шпилек, соединяют с баком трансформатора, который надёжно
заземлён. Способ заземления зависит от его конструкции. Обмотки наиболее
уязвимая часть трансформатора, часто выходят из строя.
Наиболее распространённые повреждения
обмоток - замыкания между витками и на корпус, межсекционные пробои,
электродинамические разру-шения, обрыв цепи. Перечисленные повреждения
происходят в результате естественного износа изоляции, нарушения его
механической прочности при сроках работы выше 15 лет. Изоляция разрушается
также при длительных пе-регрузках, сопровождаемых перегревом обмоток (около 105
град. С).
Основные неисправности выводов
трансформаторов: трещины, сколы, разрушения изоляторов в результате атмосферных
перенапряжений, наброса металлических предметов, загрязнения изоляторов,
некачественная армировка и т.д.
Сведения о неисправности трансформатора
получают в первую очередь от персонала ведущего эксплуатацию. Если в результате
обследования будет установлено, что внутренних неисправностей в трансформаторе
нет и масло в нём годно для дальнейшей эксплуатации, остальные видимые дефекты
устраняют без выемки из бака сердечника с обмотками.
3.3 Приёмо-сдаточные
испытания
При внешнем осмотре выключателей проверяют
чистоту и целостность изоляции, уровень масла в баках, отсутствие течи масла,
правильность присоединения ошиновки и др.
Первое измерение производят при
выключенном положении масляного выключателя. При этом измеряется суммарное
сопротивление изоляции вводов, подвижных и направляющих частей выключателя.
Второе измерение производится при отключенном выключателе и замкнутых накоротко
вводах каждого полюса. При этом измеряется сопротивление подвижных и
направляющих частей, величина которого для напряжений до 10 кВ не должна быть
ниже 1000 МОм.
Испытание изоляции повышенным напряжением
производится путем подключения напряжения: к токоведущим и заземленным
элементам выключателя, а также токоведущим частям соседних полюсов; к
разомкнутым контактам одного и того же полюса при отключенном положении
выключателя. Испытательные напряжения для масляных выключателей приведены в
таблице 3.1.
Таблица №3.1 Испытательные напряжения для
масляных выключателей
|
Класс
напряжения
|
Наибольшее
рабочее напряжение, кВ
|
Испытательное
напряжение, кВ
|
Класс
напряжения
|
Наибольшее
рабочее напряжение, кВ
|
Испытательное
напряжение, кВ
|
|
3
|
3,6
|
24
|
110
|
126
|
250
|
|
6
|
7,2
|
32
|
150
|
172
|
320
|
|
10
|
12
|
42
|
220
|
252
|
470
|
|
15
|
17,5
|
55
|
330
|
363
|
600
|
|
20
|
24
|
65
|
500
|
525
|
800
|
|
35
|
40,5
|
95
|
|
|
|
3.4 Монтаж и наладка
высоковольтного оборудования
Высоковольтное оборудование представлено
комплексом сложных устройств, работающих при напряжении более 1 кВ и
отличающихся высокой функциональностью. Это электрощиты распределительные,
опоры для линий электропередач, высоковольтные трансформаторы и подстанции,
специализированные переключатели и пульты управления выключателями.
Необходимо обеспечить постоянную передачу
высоковольтного тока. Ведь электричество стало неотъемлемой частью жизни.
Серьезные экономические убытки приносит любое прекращение, либо приостановка
электроснабжения. Только качественное высоковольтное оборудование позволит без
потерь и ущерба передать электроэнергию. И только его надежность не допустит
различных аварий. Именно эти устройства определяют безопасность,
бесперебойность подачи и эффективность энергоснабжения разных объектов.
В действующих электроустановках в
установленном порядке производятся периодические ремонты всех элементов
оборудования. Проведение капитальных и текущих ремонтов оборудования позволяет
вовремя обнаружить и предотвратить возникновение неисправностей или каких-либо
отклонений от нормального режима работы оборудования электроустановки.
Сложность в выполнении операций в данном
случае обусловлена наличием дифференциальной защиты шин. Рассмотрим порядок
вывода в ремонт системы шин 110 кВ.
Вывод в ремонт системы шин означает, что
один из трансформаторов напряжения 110 кВ отключается, поэтому в первую очередь
следует все цепи вторичной коммутации, которые питаются от данного
трансформатора напряжения, перевести на другой, остающийся в работе,
трансформатор напряжения или, при необходимости вывести из работы.
Все присоединения, которые зафиксированы
за данной системой шин необходимо перефиксировать на другую систему шин 110 кВ,
которая остается в работе. В данном случае операции по переводу присоединений
на другую систему шин включают в себя операции по переводу цепей напряжения,
которые, как упоминалось выше, необходимо также перевести на другой
трансформатор напряжения.
При перефиксации присоединений с одной
системы шин на другую, необходимо также перефиксировать токовые цепи
дифференциальной защиты шин данных присоединений. Если этого не сделать,
произойдет ошибочное срабатывание ДЗШ в результате возникновения
дифференциального тока (выхода защиты из баланса) и обесточению систем шин 110
кВ.
Поэтому, чтобы избежать ошибочной работы
дифференциальной защиты шин, следует установить данную защиту в нефиксированный
режим. Вывод защиты из данного режима производится только после перефиксации
всех присоединений и проверке правильности выполненных операций. Отсутствие
дифференциального тока ДЗШ является критерием правильности выполненных операций
по перефиксации присоединений.
Список литературы
1. Липкин Б.Ю. Электроснабжение промышленных предприятий и
установок. - М.: Высшая школа, 1990. - 363 с.
2.
Постановление Правительства Республики Казахстан от 24 октября 2012 года
№1353. Об утверждении Правил техники безопасности при эксплуатации
электроустановок потребителей.
3.
В.И. Крюков Обслуживание и ремонт электрооборудования подстанций и
распределительных устройств. Москва «Высшая школа» 1983 г.
.
Зюзин А.Ф., Поконов Н.З., Антонов М.В «Монтаж и ремонт
электрооборудования
промышленных предприятий и установок»
г.
411 стр.
.
Правила Устройства Электроустановок «ПУЭ» РК 2004 г. 560 стр.
Похожие работы на - Электроснабжение частного предприятия
|