Фитнес-центр

  • Вид работы:
    Контрольная работа
  • Предмет:
    Строительство
  • Язык:
    Русский
    ,
    Формат файла:
    MS Word
    611,95 Кб
  • Опубликовано:
    2014-12-13
Вы можете узнать стоимость помощи в написании студенческой работы.
Помощь в написании работы, которую точно примут!

Фитнес-центр

Реферат

Фитнес-центр

Введение

Все большее количество людей во всем мире уделяет большое внимание здоровому образу жизни - и жители нашей страны не являются исключением. Это связано и с повышением уровня жизни россиян, их заботой о собственном здоровье и будущем своих детей, а отчасти и с целевой политикой правительства, направленной на оздоровление нации, воспитание подрастающего поколения в здоровой и благоприятной атмосфере. В связи с этим можно с уверенностью сказать, что возведение спортивных сооружений, проектирование фитнес центров, бассейнов и стадионов, в нашей стране становится одним из наиболее перспективных направлений строительства.

Современное спортивное сооружение, это сложный «организм» в котором переплетены и одновременно идут сложнейшие процессы, непрерывная работа над спортивными достижениями и оздоровлением нации. Но параллельно с этим, сложные инженерные и инженерно-технические системы, помогают «людям спорта» добиваться побед как в районных первенствах и олимпиадах, так и просто чувствовать себя лучше, занимаясь любимым видом спорта.

Полноценное спортивное сооружение - это больше, чем просто здание или площадка. Это место встречи людей - объединения единомышленников, воодушевления сообществ спортсменов и болельщиков, создания атмосферы общения. Это объединение продуманной концепции, планирования, технологий и дизайна. Понимание этого является залогом создания успешного проекта.

В нашей стране к спорту всегда относились с уважением, но в последнее время он из интересного и увлекательного занятия превратился в модное со всеми вытекающими отсюда последствиями. Спортивная индустрия неустанно развивается, производя на свет большое количество новых материалов, технологических решений. Стоит отметить возрастающие требования не только к высоким функциональным и прочностным характеристикам сооружений, но и к оформлению (дизайну). Можно выделить следующие группы спортивных сооружений:

Универсальные площадки

Волейбольные и баскетбольные площадки

Теннисные корты

Поля для гольфа и мини-гольфа

Тиры и другие сооружения для стрельбы

Спортзалы

Спортивные площадки

Каждая из групп имеет свои особенности при проектировании и строительстве, но здесь не имеет смысл их описывать, т.к. они зависят как от конкретного типа местности, так и от проекта. Важно определиться с типом сооружения и из множества предоставляемых проектов и материалов выбрать именно те, которые идеально подходят конкретному проекту. Например, использование легких металлических конструкций позволяет придать любую геометрическую форму и этажность сооружениям. С другой стороны, если основная идея - это близость природы, то почти те же конструкции можно возвести, используя деревоклеенные арки, которые достаточно прочные и дают дополнительные возможности дизайнерской мысли.

Сегодня спорт - это неотъемлемая часть нашей жизни. Как спортивные мероприятия мирового и государственного масштаба, так и соревнования и тренинги, в которых мы с Вами можем принять непосредственное участие, приобретают с каждым днем все большую популярность. Именно поэтому массовое строительство спортивных сооружений на сегодняшний день является одной из наиболее значимых сфер деятельности различных строительных организаций.

Однако потребность в строительстве спортивных сооружений все еще довольно высока. Ведь главные критерии таких помещений - это не столько скорость строительства, сколько качество, надежность, долговечность и функциональность. Спортивные сооружения должны представлять собой довольно сложный объект, где наряду с привычными и прочными строительными материалами должны использоваться сложные инженерные системы. Также не стоит забывать и о такой составляющей строительства, как стоимость проекта. И естественно, что чем она ниже, тем это лучше.

Безусловно, понятие спорта чаще всего ассоциируется с проведением крупных национальных или международных соревнований. Эти состязания привлекают на линию старта профессиональных спортсменов, для подготовки которых создаются специальные условия. Проектирование и строительство спортивных сооружений, тренировочных комплексов и баз, бассейнов и тренажерных залов для профессионалов требует не только соответствия современным нормам, но и наличия возможностей для развития и роста уровня спортсменов.

Однако занятия спортом в современном понимании связаны не только со спортом высоких достижений, интересующем подавляющее большинство граждан с точки зрения зрелищности, азарта или патриотизма. Сегодня это еще и массовый поворот сознания в сторону оздоровления, хорошего самочувствия и бодрости духа. Никому не хочется выглядеть бледным, усталым и больным, напротив - в моде подтянутость, целеустремленность и хорошее настроение. Такой заряд бодрости можно получить от регулярных занятий в фитнес-клубах и спортивных центрах, совмещающих в себе различные спортивные направления по интересам: от ритмической гимнастики и аэробики до бодибилдинга и рукопашного боя.

При проектировании фитнес-центра, удовлетворяющего современным городским условиям, необходимо учесть все многообразие вкусов и предпочтений, постараться выделить целевую аудиторию пользователей, чтобы обеспечить максимальную эффективность спортивного сооружения как для клиентов, так и для заказчика. Фитнес-центры сегодня становятся не только местом активного отдыха и поддержания себя в хорошей физической форме, но и местом новых знакомств, встреч людей с похожей жизненной позицией, одинаковыми приоритетами и интересами. И именно поэтому, учитывая прогрессивные взгляды посетителей и постоянных клиентов, проектирование фитнес центра должно отражать эти настроения и предусматривать возможности для дальнейшего развития.

Одной из неотъемлемых частей современного спортивного комплекса можно назвать плавательный бассейн. Плавание и отдых на воде позволяют не только получить хорошую физическую нагрузку, но прекрасно отдохнуть, получив массу приятных ощущений. Сегодня построить собственный небольшой бассейн может позволить себе практически каждый. Бассейны строятся на дачах, в загородных домах и даже в городских квартирах. Однако проектирование бассейна и его последующее строительство лучше поручить профессиональным исполнителям. Только они могут дать гарантии от неправильного расчета нагрузок, некачественного исполнения и, как следствие, возможных аварий. К тому же, бассейн - это не просто котлован, наполненный водой, бассейн - это сложная система фильтрации и очистки, а также оригинальные элементы отделки и аксессуары. Заказ профессионального проектирования бассейна позволит Вам создать искусственный водоем, выполненный и оборудованный на самом высоком уровне и по последнему слову техники - образец стиля и индивидуальности.

Фитнес (англ. fitness, от глагола «to fit» - соответствовать, быть в хорошей форме) - в более широком смысле - это общая физическая подготовленность организма человека.

Физическая подготовленность состоит из следующих элементов:

подготовленность сердечно-сосудистой системы;

гибкость;

мышечная выносливость;

сила;

мощность;

развитость чувства равновесия;

хорошая координация движений;

реакция;

быстрота;

соотношение мышечной и жировой тканей в организме.

В биологии термин «фитнес» означает индивидуальное совершенство особи, выражающееся в успехе передачи генетической информации потомкам. Биологический фитнес определяется как врождёнными характеристиками особи, так и её физическим состоянием и особенностями поведения в конкретных условиях окружающей среды.

В узком смысле фитнес - это оздоровительная методика позволяющая изменить формы тела и его вес и надолго закрепить достигнутый результат.

Фитнес - это целая наука о здоровом образе жизни, помогающая выработать готовность организовать свою деятельность в непостоянном, изменчивом мире. Это образ жизни, направленный на улучшение самочувствия и физического состояния человека. Система «фитнес» зародилась в Америке. Это слово с английского можно перевести как «быть в форме», «соответствовать форме». Понятие «форма» в настоящее время принято рассматривать не только как физическое состояние тела, но и как состояние здоровья в целом, уровень физической активности, систему питания, полезные привычки. Возник и развился фитнес в противовес огромному количеству сидячей работы и гиподинамии. В современном понимании фитнес оформился не так давно и в обязательном порядке включает занятия физической культурой и любительским спортом, подразумевает особое внимание к режиму питания и качеству пищи, отказ от вредных привычек. Занятия фитнесом, как правило, кардинально меняют представление человека о своем предназначении в жизни, дают возможность сделать свою жизнь здоровой, полноценной и интересной. Многие часто начинают заниматься фитнесом с одной целью - похудеть. А познакомившись поближе с этой системой, понимают, что фитнес - это настоящая философия жизни. Это не только снятие усталости, стресса, напряжения, это - поддержание формы и верный путь к отличному настроению.

Проектирование фитнес-центра

Любой фитнес-центр начинается с идеи, которая по мере своего «созревания» приобретает очертания проекта.

Главное в фитнес-центре - функциональность и безопасность, эргономичность и комфорт, а вовсе не «вензеля и навороты».

Проектирование фитнес-центров подчинено строгим законам. Здесь нет мелочей. Каждая зона прорабатывается отдельно в соответствии с выбранной концепцией. При разработке планировки помещений в первую очередь уделяется внимание такому фактору, как удобство для посетителей. Известны случаи, когда в силу неграмотного проектирования людям, попарившимся в сауне, приходилось добираться до бассейна через весь комплекс.

Многие ошибочно считают, что проработка дизайна фитнес-клуба не очень важна, что решающее значение здесь имеет лишь правильное расположение залов, комнат, бассейнов, вспомогательных помещений и т.д. Роль дизайна и интерьера огромна, именно на это обращают внимание посетители в первую очередь при входе. Именно это зачастую придает заведению особый комфорт, изюминку, шик (особенно это касается клубов премиум-класса).

Профессионалы в своих областях знают, что фитнес не ограничивается раздевалкой, тренажерным залом и душевыми. Сегодня люди, ведущие здоровый образ жизни и желающие пребывать в хорошей физической форме, ожидают от фитнес-клубов целого комплекса услуг - бани, бассейна, солярия, фито-бара, организации занятий аэробикой и боевыми искусствами, наличия косметологического кабинета и парикмахерской и так далее вплоть до магазина спортивной одежды, ресторана с меню полезных продуктов, детского фитнеса и даже няни для малышей.

Фитнес-клуб - организм, устроенный по своим законам. Непосвященным кажется - достаточно не хитрым. Тренажерка, пара залов для групповиков, раздевалки, рецепция, бар - вроде бы все достаточно просто. «Нарисуем - построим - пусть приносит прибыль»… Как показывает опыт, не все возможные проблемы клуба могут лежать на поверхности при его проектировании.

В общих чертах проектирование фитнес-клуба включает в себя:

определение состава помещения;

определение необходимых площадей;

разработку общей архитектурной концепции;

подготовку дизайн-проекта;

подборку необходимых материалов и оборудования;

разработку систем электро- и водоснабжения;

подбор необходимого спортивного оборудования;

подбор соответствующей мебели и различных интерьерных аксессуаров.

Невозможно проектировать клубы по какому-то одному лекалу. В каждом конкретном случае возникают свои сложности.

Спортивные и физкультурно-оздоровительные сооружения классифицируются по их функциональному назначению в зависимости от видов спорта и досуговой деятельности, а также по характеру использования на:

учебно-тренировочные;

спортивно-демонстрационные;

спортивно-зрелищные;

физкультурно-оздоровительные.

Учебно-тренировочные и физкультурно-оздоровительные сооружения могут коопериро-ваться с культурно-зрелищными и учебными учреждениями.

Спортивные и физкультурно-оздоровительные здания и сооружения по функциональному назначению делятся на комплексы и группы:

основные, предназначенные непосредственно для спортивных и физкультурно-оздоровительных занятий;

вспомогательные, предназначенные для занимающихся, тренеров и судей, а также ме-дицинские, служебно-административные, складские и т.д.;

помещения комплекса для зрителей.

1. Требования к генеральному плану

Участки специализированных любительских спортклубов следует проектировать с учетом общих требований СНиП 2.07.01-89* «Градостроительство. Планировка и застройка городских и сельских поселений» и рекомендуется размещать на свободных территориях в границах сформировавшихся городских и районных центров. При этом должны быть продуманы транспортно-пешеходные и функциональные связи, которые обеспечивают гармоничное слияние нового здания со сложившейся архитектурной средой.

Необходимо, чтобы организация прилегающих площадей и улиц предусматривала наилучшие условия функционирования объекта и обеспечивала удобный доступ к нему, как пешеходов, так и граждан на личном транспорте.

При этом необходимо ориентироваться на следующие требования к генеральному плану:

•        Четкое зонирование территории в соответствии с функциональными блоками ФЦ;

•        Удобные подходы к главным входам в ФЦ и подъезды к его хозяйственной зоне;

•        Комплексное благоустройство территории включая: МАФ, зоны отдыха и общения, озеленение.

•        Автомобильные стоянки и участки для временной парковки автомобилей индивидуального пользования из расчета 11 стоянок на 100 чел.

При проектировании специализированных спортклубов на обособленных участках рекомендуется в зависимости от состава сооружений выделять следующие основные зоны:

•        зону крытых сооружений;

•        зону открытых плоскостных сооружений;

•        хозяйственную зону;

•        зону отдыха.

На участке фитнес-центра при наличии достаточной территории рекомендуется дополнительно к основному составу сооружений предусмотреть 1-2 игровых площадки габаритами от 12х24 м.

Спортивные и физкультурно-оздоровительные здания и сооружения следует разме-щать на селитебной территории, в местах отдыха населения и на других специально выделен-ных земельных участках, обеспеченных удобными подъездами и подходами от остановок общественного транспорта согласно ДБН 360 с обязательным соблюдением шумового режима на прилегающей территории жилой застройки и обеспечением санитарных разрывов до жилых и общественных зданий согласно требованиям ДержСанПіН 173, п. 4.10, ДержСанПіН 203, СанПиН 42-128-4690, СанПиН 42-120-4948. Следует предусматривать места для транспортных средств инвалидов и удобные подходы к ним, обеспечивающие перемещение на креслах-колясках.

Площадь земельных участков спортивных и физкультурно-оздоровительных сооружений следует принимать исходя из суммы площадей застройки основных и вспомогательных сооружений, а также площадей, занимаемых проездами, автостоянками, пешеходными дорожками и озеленением.

Благоустройство территории спортивных и физкультурно-оздоровительных зданий и сооружений, подъезды и пешеходные дорожки должны проектироваться с учетом требований ДБН 360, ДБН Б.2-4 и ВСН 62.

Проезды и пешеходные дорожки следует предусматривать ко всем сооружениям, распо-лагаемым на земельном участке крытых сооружений и спортивных комплексов. Проезды должны иметь усовершенствованное облегченное или капитальное покрытие. Пешеходные дорожки, тротуары и пандусы, которые используют инвалиды на креслах-колясках, должны иметь твердое, шероховатое покрытие, которое в случае намокания не становится скользким. Ширина пешеходных дорожек должна приниматься не менее 1,8 м. Продольный их уклон не должен превышать 5%, а поперечный - 1%. В местах перепада уровней между горизонтальными участками пешеходных путей следует предусматривать устройство пандусов и лестниц. Уклон каждого марша пандуса не должен превышать 8%, а его длина должна быть не более 10 м. Ширина пандуса должна быть: при одностороннем движении - не менее 1,0 м; при двустороннем движении - не менее 1,8 м. Если продольный уклон превышает обозначенные границы для инвалидов, пользующихся креслами-колясками, следует предусматривать специальные дорожки и пандусы.

Ширина путей движения зрителей по территории спортивного сооружения должна приниматься из расчета 1 м на 500 зрителей.

У входов для зрителей в здания крытых спортивных сооружений следует предусмат-ривать свободные площадки из расчета 0,3 м2 на одного зрителя, приходящегося на данный вход.

Расстояние от спортивных и физкультурно-оздоровительных зданий и сооружений и их комплексов до других зданий и сооружений следует принимать в соответствиями с требованиями ДБН 360 и расчетом шумового режима по СНиП ІІ-12.

Земельный участок спортивного и физкультурно-оздоровительного сооружения дол-жен иметь не менее двух въездов (включая хозяйственный) и двух входов.

Стоянки автомобилей проектируются согласно требованиям ВСН 01. При использовании спортивного сооружения инвалидами они должны находиться не далее 40 м от входа в это сооружение и иметь с ним удобную связь. Ширина стоянки для автомобиля инвалида должна быть не менее 3,5 м.

Здания спортивных залов и крытых бассейнов следует размещать с отступом от красной линии застройки не менее 6 м при условии размещения окон спортивных залов со стороны дворового фасада или обособления спортивного сооружения от улицы полосой зеленых насаждений шириной не меньше 4 м.

При расположении спортивных залов и крытых бассейнов в комплексе с открытыми спортивными сооружениями следует предусматривать при них соответствующие вспомогательные помещения, обеспечивающие обслуживание занимающихся на площадках.

Не допускается размещение участков физкультурно-оздоровительных учреждений массовых типов на территории промышленных зон, санитарно-защитных зон промышленных предприятий, железных дорог и автомагистралей

Сооружения физкультурно-оздоровительных клубов микрорайонов следует размещать в пределах жилых территорий микрорайонов и кварталов с включением крытых сооруже-ний в структуру жилых зданий в качестве встроенно-пристроенных и пристроенных помещений с учетом требований 1.7 этих Норм или кооперированных зданий общественных центров местного значения.

В районах центра, на при магистральных территориях срединной зоны и периферии, в районах сложившейся застройки и районах реконструкции жилого фонда допускается размещение крытых сооружений физкультурно-оздоровительных клубов микрорайонов в блоках-пристройках к существующим общеобразовательным школам, обслуживающим как школьников, так и население. В случаях строительства в микрорайонах школ нового типа, включающих в свою структуру физкультурно-оздоровительные сооружения для занятий школьников и населения, сооружения физкультурно-оздоровительных клубов микрорайонов допускается не предусматривать.

2. Требования к объемно-планировочному решению

Общие требования

Объемно-планировочное решение здания ФЦ должно определяться особенностями участка и существующей среды, удовлетворять сложившейся градостроительной ситуации и отвечать функциональным и технологическим требованиям. При работе над проектом следует обратить особое внимание на создание четкой функциональной структуры здания, обеспечивающей высокие эксплуатационные качества объекта при создании его выразительного архитектурно-художественного образа.

Композиционно-планировочное решение комплекса может быть как компактным, т.е. иметь централизованную функциональную схему так и представлять собой систему функциональных блоков, соединенных переходами, обеспечивающими удобное функционирование объекта.

Спортивные залы и катки в зависимости от назначения могут быть: специализированными или универсальными; с местами для зрителей или без них; спортивно-демонстрационными и спортивно-зрелищными. Назначение зала (катка) определяется в задании на проектирование

Спортивно-демонстрационные и спортивно-зрелищные залы и катки проектируются, как правило, универсальными: с ареной, трансформируемой для попеременного проведения соревнований по нескольким видам спорта или нескольким видам культурно-зрелищных или общественных мероприятий.

Спортивно-демонстрационные и спортивно-зрелищные сооружения рекомендуется проектировать универсальными - с ареной, трансформируемой для попеременного проведения соревнований по нескольким видам спорта или нескольким видам культурно-зрелищных или общественных мероприятий. Остальные спортивные сооружения, предназначенные в основном для учебно-тренировочных занятий, следует предусматривать для одного вида спорта или группы видов спорта, не требующих трудоемкой трансформации спортивного оборудования.

В спортивно-зрелищных зданиях следует предусматривать эстраду, а также помещения и устройства, обеспечивающие проведение культурно-зрелищных и общественных меро-приятий. Размер эстрады рекомендуется принимать 18 х 12 м в залах с ареной менее 65 х 36 м и не менее 24 х 18 м - в залах с ареной 65 х 36 м и более. Помещения демонстрационного комплекса следует проектировать по нормам культурно-зрелищных учреждений.

В крытых спортивных сооружениях пути передвижения занимающихся (в спортивной одежде) из раздевальных к местам занятий не должны пересекаться с путями передвижения зрителей.

Спортивные залы

Строительные размеры и пропускную способность спортивных залов, специализированных для отдельных видов спорта (кроме залов для легкой атлетики), а также размеры и пропускную способность спортивных арен для проведения соревнований по этим видам в универсальных демонстрационных залах следует принимать согласно таблице 2.

Строительные размеры универсальных спортивных залов (предназначаемых для попе-ременных занятий и соревнований по различным видам спорта) следует принимать по наибольшему из показателей для этих видов, приведенных в таблице 2, а пропускную способность - по наименьшей удельной площади, приходящейся на одного занимающегося.

В малых населенных пунктах и в сельской местности для проведения спортивных занятий населения попеременно с уроками физкультуры школьников допускается предусматривать универсальные залы размером 24 х 12 м, высотой 6 м и 30 х 15 м, высотой 8 м и пропускной способностью в смену 25 и 40 чел. соответственно.

Размеры и пропускная способность, рекомендованные варианты использования крытых спортивных сооружений, предназначенных для инвалидов и других маломобильных категорий населения, приведены в приложении К.

Таблица 2

Вид спорта, расчетная единица

Строительные размеры зала 1), м

Пропускная способность 2), чел. /смену

Размеры арены3) для соревнований в спортивно-демонстрационном или спортивно-зрелищном зале, м


длина

ширина

высота до низа высту-пающих конст-рукций

при учебно-трениро-вочных занятиях в зале

при соревнованиях на аренах спортивно-демонстра-ционных или спортивно-зрелищных залов, чел.

длина

ширина

мини-мальная высота (в границах площади арены)

СПОРТИВНЫЕ ЗАЛЫ

Акробатика. На один комплект табельного оборудования

36

18

6

32

75

44

21

7

Бадминтон. На одну площадку и один комплект табельного оборудования

16

94)

8

8

8 (4 пары)

18

9

10

Баскетбол. На одну площадку и один комплект табельного оборудования

38

26

9

24

48 (4 команды по 12 чел.)

42

24

10

Волейбол. На одну площадку и один комплект табельного оборудования

36

18

9

24

48 (4 команды по 12 чел.)

42

24

12,5

Гандбол. На одну площадку и один комплект табельного оборудования

42

24

6

24

48 (4 команды по 12 чел.)

47

26

6

Бокс. На один ринг и один комплект табельного оборудования

18

12

4

17

20

14

14

5

Борьба: греко-римская, вольная, самбо на один ковер диаметром 9 м или два ковра диаметром 7 м5) и один комплект табельного оборудования дзюдо на один ковер «татами» и один комплект табельного оборудования

30     24

15     15

4     4

30     30

20 (на каждый ковер)    20 (на каждый ковер «татами»)

186)

18

5     5







(на один ковер диаметром 9 м)   207) 20




Размеры залов для легкой атлетики следует определять в зависимости от принятых параметров дорожек для бега по кругу и по прямой и числа мест занимающихся отдельными видами легкой атлетики.

Высоту (до низа выступающих конструкций) следует принимать в залах со стационарны-ми трибунами для зрителей не менее 9 м, а для учебно-тренировочных занятий - 9 м. В зави-симости от конструктивного решения покрытия зала высота над беговыми дорожками может быть уменьшена до 4 м, а над местами для прыжков в высоту, в длину и для тройного прыжка - до 5 м.

Размеры площадок для отдельных видов легкой атлетики следует принимать согласно 6 таблицы 1, а их пропускную способность, приведенную в таблице 1, увеличивать на 25%. Расчетную длину дорожки для бега по кругу следует принимать не менее 160 м, не более 200 м (оптимально). Протяженность каждого прямого отрезка и каждого поворота должна быть не менее 35 м. Дорожка для бега по прямой должна предусматриваться длиной не менее 75 м (для бега на дистанцию 60 м); по заданию на проектирование допускается предусматривать длину дорожки 125-130 м (для бега на дистанции до 110 м включительно).

Число отдельных беговых дорожек шириной 1,25 м каждая должно приниматься в беге по прямой - шесть, а в беге по кругу - четыре. Дорожка для бега по прямой может совмещаться с прямыми отрезками дорожки для бега по кругу. При реконструкции существующих помещений и предназначении их для соревнований ниже общегосударственного масштаба допускается:

а)      уменьшение числа отдельных дорожек для бега по прямой до четырех;

б)      уменьшение ширины отдельных дорожек для бега по кругу до 0,8 м;

в)      протяженность бега по каждому повороту, исходя из ширины реконструируемого помещения, принимать менее 35 м. При предназначении зала только для учебно-тренировочных занятий число отдельных дорожек как для бега по прямой, так и для бега по кругу может быть уменьшено до двух.

По всей длине поворотов круговой беговой дорожки должны устраиваться виражи, имею-щие в самой крутой части уклон не менее 10° и не более 18°.

Общую пропускную способность в смену залов для легкой атлетики надо принимать, как сумму пропускной способности беговых дорожек и мест для отдельных видов легкой атлетики, не совмещающихся друг с другом и используемых одновременно.

При размещении дорожки для учебно-тренировочных занятий в беге по прямой в отдель-ном помещении (в том числе смежном с основным объемом зала и отделенном от него только опорами) высоту этого помещения следует принимать 4 м.

В составе зданий спортивно-демонстрационных залов для легкой атлетики для разминки перед соревнованиями допускается предусматривать помещение шириной не менее 6 м (в строительных осях), высотой не менее 4 м и длиной, равной длине основного зала, но не ме-нее 75 м.

Спортивные залы для тяжелой и легкой атлетики, для спортивной гимнастики и футбола следует размещать на первом этаже, а в залы для легкой атлетики и для футбола, кроме того, должен быть обеспечен въезд грузовых автомашин.

Конструкция пола залов должна выполняться согласно требованиям СниП 2.03.13.

В полу залов для легкой атлетики следует предусматривать яму (ямы) с песком для при-земления при прыжках в длину и тройном прыжке, а в полу залов для спортивной гимнастики у гимнастических снарядов - ямы для приземления с мягким заполнителем. В универсальных залах для спортивной гимнастики и спортивных игр, а также при вынужденном размещении за-ла для спортивной гимнастики не на первом этаже ямы у гимнастических снарядов допускается не предусматривать.

В спортивном корпусе с залом для тенниса при числе площадок в нем две и более следует предусматривать помещение размером 18 х 12 м, высотой 6 м с тренировочной стенкой высотой не менее 3 м. Пропускная способность помещения - 4 чел. в смену.

Помещение для индивидуальной силовой подготовки размером 12x6 м, высотой 3 м следует предусматривать в спортивных корпусах с залом для легкой атлетики или футбола и спортивных корпусах с тремя и более залами для других видов спорта; при числе залов в них не менее трех допускается уменьшить размер помещения до 9x4,5 м, высотой 3 м.

Сооружения для физкультурно-оздоровительных занятий

Для физкультурно-оздоровительных занятий следует предусматривать открытые плоскостные сооружения, помещения и ванны для плавания.

В состав открытых плоскостных сооружений должны входить: комплексная площадка, полоса для преодоления препятствий, «тропа здоровья».

Минимальные размеры комплексной площадки и отдельных ее элементов следует при-нимать согласно таблице 8.

Таблица 8

Возрастная группа занимающихся

Элементы комплексной площадки*'


Площадка для подвижных игр и общеразвивающих упражнений, м

Замкнутый контур беговой дорожки



длина, м

ширина, м



общая

в том числе прямого участка


Для детей от 7 до 10 лет

50

60

Не менее 15

1,2

Для детей старше 10 до 14 лет

100

150

Не менее 30

1,5

Для детей старше 14 лет и взрослых

250

200

Не менее 60

2,0

*) В соответствии с местными условиями (конфигурация участка и др.) элементы комплексной площадки могут размещаться на одном общем участке или располагаться раздельно в пределах территории, занимаемой группой жилых домов.


Ориентация открытых плоскостных сооружений для физкультурно-оздоровительных за-нятий по сторонам горизонта не регламентируется.

Помещения для физкультурно-оздоровительных занятий со вспомогательными помещениями для их обслуживания могут проектироваться в отдельно стоящих зданиях, входить в состав спортивных корпусов, а также быть пристроенными или встроенными в здания другого назначения. Размеры и единовременную пропускную способность помещений в зависимости от назначения по виду проводимых в них занятий следует принимать по таблице 9.

Таблица 9

Вид занятий

Размеры, м

Наименьшая высота до низа выступающих конструкций потолка, м

Пропускная способность, чел.


длина

ширина



1. Групповые занятия по общей физической подготовке

24

12

6

35


18

12

4,8*)

26



9


20

2. Ритмическая гимнастика, хореография

12

12

3,9

25


9

9


15

3. Настольный теннис

6

4

2,7

4

4. Элементы борьбы

12

9

3,9

10

5. Занятия с использованием тренажеров и снарядов для развития силы и выносливости

Из расчета 4 м2 на каждый вид оборудования или снаряд, но не менее 20 м2 **)

3,9 ***)

один на каждую единицу оборудования или снаряд

*) Во встроенных помещениях и при реконструкции существующих помещений допускается: а) изменение размеров площади, приведенной в таблице, но не менее чем до 140 м2; при этом пропускную способность принимают из расчета 8 м2 на одного занимающегося; б) уменьшение высоты до 4,2 м. **) Ширина помещения должна быть не менее 3 м. ***) Во встроенных помещениях и при реконструкции допускается уменьшение высоты до высоты этажа здания. Примечание. В случаях, когда проведение физкультурно-оздоровительных занятий, указанных в таблице, предусмотрено проектом в спортивных залах, пропускную способность для физкультурно-оздоровительных занятий принимают, как для спортивных залов.


Открытые и крытые ванны для оздоровительного плавания, купания, общеразвивающих упражнений и игр в воде, а также для обучения плаванию со вспомогательными помещениями для их обслуживания могут проектироваться в отдельно стоящих зданиях, входить в состав зданий спортивных бассейнов, а также быть пристроенными или встроенными в здания другого назначения. В бассейнах с открытыми спортивными ваннами ванны для обучения плаванию детей в возрасте от 7 до 14 лет следует размещать в отапливаемых помещениях.

Размеры и единовременную пропускную способность открытых и крытых ванн в зависимости от назначения по виду проводимых в них занятий следует принимать по таблице 10.

По периметру ванн следует предусматривать обходную дорожку шириной не менее 1,25 м у крытых и не менее 2 м у открытых ванн. В крытых ваннах для обучения плаванию от-метку поверхности обходной дорожки вдоль трех сторон ванны следует предусматривать ниже отметки верха стенки ванны на 0,9-1 м и уменьшать ширину дорожки до 0,75 м. Допускается обходную дорожку в этих ваннах предусматривать только с трех сторон, в этом случае пониженная и уменьшенная по ширине обходная дорожка предусматривается с двух продольных сторон ванны.

Ванны для детей в возрасте от 7 до 14 лет, обучающихся плавать, могут устраиваться напольными.

В ваннах длиной 25 м для выхода из воды следует предусматривать четыре лестницы (по две с каждой стороны ванны); в остальных ваннах (в том числе напольных) допускается предусматривать одну лестницу.

Во всех ваннах устройство стартовых тумбочек не допускается.

При плавании по дорожкам ширину каждой из них следует принимать в пределах от 1,6 до 2 м.

Высоту залов ванн (от поверхности обходной дорожки до низа выступающих конструкций) следует принимать:

а)      4,8 м - с ваннами для оздоровительного плавания, занятий групп общей физиче-ской подготовки, игр в воде и купания;

б)      3,6 м - с ваннами для обучения плаванию.

При реконструкции существующих помещений допускается уменьшение высоты, но не менее чем до 3 м.

Спортивные бассейны

Размеры и пропускную способность ванн для спортивного плавания следует принимать согласно таблице 3.

Размеры ванн для прыжков в воду и расстановку устройств для прыжков следует прини-мать в соответствии с заданным составом устройств, руководствуясь требованиями, приведенными на рисунке Л.2 приложения Л. Пропускную способность каждого устройства для прыжков следует принимать равной 6 чел. в смену, при этом вышка независимо от числа платформ на ней должна приниматься за одно устройство.

При проектировании универсальных ванн (для попеременного использования по двум или трем видам спорта) размер и пропускную способность следует принимать по наибольшему из показателей для этих видов.

Таблица 3

Назначение ванны

Размеры ванны, м

Глубина воды, м

Пропускная способность, чел./смену


длина*)

ширина

в мелкой части

в глубокой части


Спортивное плавание

50

25

2,1

Исходя из уклона дна не менее 0,01, но не более 5 м

96


25

16



48



11



32



8,5



24


33,33**)

21



80

*) Отклонение в длине ванн (в том числе универсальных) допускается только в сторону увеличения в пределах до: а) 0,03 м в ваннах длиной 50 м; б) 0,02 м в ваннах длиной 33,33 м и 25 м. **) Приведенный размер следует принимать для ванн, предназначенных для водного поло. Примечание. Ширину дорожки для плавания принимают 2,5 м. За крайними дорожками до стенок ванны должны предусматриваться свободные полосы воды шириной до 0,5 м.


В ваннах для спортивного плавания по одной или обеим торцовым стенкам (при глубине воды у стенки не менее 1,8 м) следует предусматривать стартовые тумбочки высотой 0,5-0,75 м над уровнем воды, а по обеим продольным стенкам - уступ для отдыха и переливной желоб для сброса воды.

Во всех ваннах следует предусматривать лестницы для выхода из воды. В ваннах для спортивного плавания длиной 50 м следует предусматривать по три, а длиной 25 и 33,33 м - по две лестницы с каждой продольной стороны, располагая их в нишах не выступающими из плоскости стенок ванн. В ваннах для прыжков в воду допускается устройство одной лестницы.

В продольных стенках открытых ванн круглогодичного действия следует устраивать выплывы (каналы с водой) из душевых. Ширина выплыва должна предусматриваться 1,8 м, а глубина (за пределами здания) - не менее 0,9 м. Над выплывами в стене здания следует предусматривать гидравлические затворы, а на обходной дорожке - переходные мостики. Выплывы следует устраивать раздельными для мужчин и женщин.

В ваннах для прыжков в воду и в глубокой части универсальных ванн, предназначенных для прыжков, уклон дна следует принимать согласно рисунку Л.2 приложения Л. В остальных ваннах уклон дна к местам выпуска воды следует принимать не менее 0,01, но не более 0,045.

.25    По периметру ванн следует предусматривать обходную дорожку шириной не менее 1,5 м в крытых и не менее 2 м в открытых ваннах (считая от внешней грани стенки ванны), а по внешней границе обходной дорожки крытых спортивных ванн предусматривать устройство стационарных скамей шириной не менее 0,3 м и длиной из расчета 0,5 м на одного занимающегося в смену.

Ширину обходной дорожки, предусматриваемой вдоль стенок ванн со стартовыми тум-бочками, следует принимать не менее 3 м; ширина обходной дорожки вдоль стенок с устройствами для прыжков должна приниматься с учетом габаритов этих устройств и обеспечения подходов к ним, но не менее 4 м в ваннах с невыступающими над водой стенками и 3,5 м - с выступающими стенками. При расположении ванны для спортивного плавания и ванны для прыжков в воду торцами друг к другу обходную дорожку между ними следует принимать шириной 5 м. Ширину обходных дорожек 25-метровых ванн, размещаемых в залах длиной 30 м (в строительных осях), допускается уменьшать до:

а)      1 м - вдоль торцовых стенок без стартовых тумбочек;

б)      2,2 м - вдоль торцовых стенок со стартовыми тумбочками (при стенке, выступа-ющей над уровнем воды).

Поверхность обходной дорожки должна быть нескользкой и иметь уклон 0,01-0,02 в сто-рону трапов.

В залах крытых ванн поверхность обходной дорожки и скамей должна обогреваться. При покрытии поверхности обходных дорожек синтетическими материалами с низкой теплопроводностью, а также в пониженной части обходной дорожки у ванн для обучения плаванию обогрев, как правило, не предусматривается.

По внешнему периметру обходных дорожек открытых ванн следует предусматривать стационарное ограждение, исключающее доступ к ваннам посторонних лиц.

Смотровые окна для наблюдения за движениями занимающихся под водой допускаются только в крытых ваннах длиной 50 м и в крытых ваннах, специализированных для прыжков в воду, что определяется заданием на проектирование.

Для доступа к смотровым окнам следует предусматривать подходы шириной не менее 1,2 м и высотой не менее 2,1 м.

В бассейнах с крытыми ваннами длиной 50 м следует предусматривать возможность осмотра и ремонта стенок и дна ванн с наружной стороны.

Высоту залов ванн (от поверхности обходной дорожки до низа выступающих конструкций) без устройств для прыжков и мест для зрителей следует принимать:

а)      6 м - при длине ванны для спортивного плавания 50 м;

б)      5,4 м - при длине ванны для спортивного плавания 25 м.

Высоту залов ванн для прыжков в воду, а также залов универсальных ванн (в пределах прыжковой части) следует принимать согласно рисунку Л.2 приложения Л.

В спортивно-демонстрационных залах ванн в соответствии с расчетной высотой трибуны высота зала (по крайней мере над трибуной) должна быть увеличена.

В бассейнах с крытыми ваннами для спортивного плавания и прыжков в воду следует предусматривать залы для подготовительных занятий, а при бассейнах с открытыми ваннами для спортивного плавания - открытые площадки. В бассейнах с крытыми ваннами для спортивного плавания размером 25 х 8,5 м залы для подготовительных занятий допускается не предусматривать.

Размеры залов для подготовительных занятий следует принимать:

а)      18 х 9 м, высотой 5,4 м - при ваннах длиной 25 м;

б)      24 х 12 м, высотой 6 м при ваннах длиной 50 м;

в)      24 х 12 м, высотой 7,2 м - при ваннах для прыжков в воду и универсальных ван-нах длиной 50 м, предназначаемых и для прыжков в воду.

Размеры открытых площадок для подготовительных занятий следует принимать из рас-чета 4,5 м2 на одного занимающегося исходя из суммарной пропускной способности открытых спортивных ванн бассейна.

Полы залов для подготовительных занятий должны удовлетворять требованиям СНиП 2.03.13 и 3.10 настоящих Норм, а покрытия площадок - требованиям 3.4 настоящих Норм.

В каждом бассейне следует предусматривать ванны для обучения плаванию детей в возрасте от 7 до 14 лет (см. 3.64) и размещать эти ванны в отдельном помещении. В бассейнах с крытыми и открытыми ваннами допускается дополнительно предусматривать устройство открытых ванн сезонного действия для обучения плаванию.

. Состав фитнес-центра

1.      Тренажерные залы

.        Зал единоборств

.        Зал аэробики

.        Зал для занятия йогой и пилатес

.        Кардио-зал

.        Бассейны (взрослый и детский)

.        Медицинский кабинет

.        Сауны (финская, турецкая), русская баня

.        Кафе

.        Детская комната

.        Массажный салон

.        Парикмахерская

.        Холл-ресепшн

Тренажерный зал

Профессионально составленный дизайн-план Фитнес-центра учитывает все особенности, необходимые для слаженной работы тренажерного зала.

В нем органично сочетается первоклассное оборудование, предусмотрена правильная вентиляция помещения, хорошее освещение и общий комфорт, выдержанный в едином стиле. Для пропаганды здорового образа жизни и, соответственно, хорошей посещаемости тренажерного зала, требуются специализированные просторные помещения, учитывающие всю специфику тренировок. Безусловно, все тренажёры должны быть произведены под известными мировыми брендами, давно завоевавшими себе признание надёжностью и безопасностью.

Зал единоборств

На первом этапе дизайн-проект Фитнес-центра подбирает наиболее удачное место для расположения зала единоборств. Далее размещаются зоны татами, рингов, ковров для борьбы, в зависимости от того, какими видами спорта будут заниматься будущие посетители. Главные требование к залу единоборств - практичность и функциональность, удобство для размещения экипировки. Каждая из зон должна быть выдержана в определённой стилистике, учитывать национальные особенности декора, характерные для страны, являющейся родиной того или иного вида единоборств и полностью соответствовать их духу.

Зал аэробики

При выборе стиля дизайна для зала аэробики, необходимо ко всему прочему ещё и учитывать разнообразные направления самой аэробики:

•        классическая аэробика

•        силовая аэробика

•        танцевальная аэробика

В зале требуется установка исключительно профессиональной звуковоспроизводящей аппаратуры и соответствующей ей акустики. Места расположения акустических систем и их мощность рассчитываются в строгом соответствии с конфигурацией помещения, высотой потолка и характером звукопоглощающего покрытия стен и потолка, а также соответственно, характером звукоотражения пола. Громкость звучания фонограмм должна быть не больше и не меньше необходимой. Излишество, как и недостаточность этого показателя, одинаково раздражают и быстро утомляют. Плохая звукоизоляция приводит к возникновению разнообразных паразитных резонансов, что также не лучшим образом скажется на самочувствии занимающихся. Иными словами тем, кто будет разрабатывать дизайн-проект зала аэробики, придётся учитывать не только все вышеперечисленные нюансы, но и увязать их в единое целое с общей концепцией дизайн-проекта фитнес-центра.

Зал для занятия йогой и пилатес

Для почитателей духовных практик, занимающихся по программе «разумное тело», зал проектируется как «островок духовности» в современном мире. Без необходимых знаний и опыта работы, дизайнерское проектирование зала для йоги и пилатес попросту невозможно. Сложно самостоятельно учесть все мельчайшие нюансы и специфику работы, применимые для данной целевой аудитории. Цветовая гармония и дизайн подходящий для духовной практики, должны быть продуманы во всём.

Кардио-зал

Отдельным вниманием нельзя также обойти и разработку дизайн-проект Фитнес-центра для кардио-зала. Здесь обязательно должно предусматриваться размещение специального оборудования, предназначенное для тренировки сердечно-сосудистой системы. Различные беговые дорожки, кросс-тренажеры, лыжные тренажёры, а также вело и гребные тренажеры - абсолютно все они должны быть оборудованы сенсорными датчиками, контролирующими уровень положенной нагрузки. Зал должен иметь отличную систему вентиляции и уютную атмосферу, выдержанную в едином стиле Фитнес-центра

Занятия на кардиотренажерах очень популярны, но несколько однообразны. Для того чтобы внести необходимое разнообразие и как-то занять внимание, тренажеры в кардиозонах размещают, ориентируя их в одну сторону, создавая ряды с учетом расположения занимающихся таким образом, чтобы всем было достаточно хорошо видно ряд или группу телемониторов, установленных либо под потолком, либо на стене. Такое расположение, видимо и вызвало ассоциацию с театром и породило само название - кардиотеатр.

Расположение мониторов - самый важный аспект при проектировании кардиозоны. При этом важно учитывать не только высоту подвеса мониторов, но и то, сколько мониторов с определенным комфортом может просматривать каждый занимающийся. При построении системы с коллективными мониторами крайне желательно обеспечить просмотр с одного места как минимум двух-трх мониторов, только в этом случае система кардиотеатра полностью раскрывает свой потенциал. В связи с этим очевидно, что наилучшими являются решения, где мониторы составляют стену или полосу с минимальными промежутками между ними.

Также к каждому тренажеру необходимо протянуть кабели от стойки с оборудованием.

Бассейн (взрослый и детский)

Комплекс Фитнес-центра обязан иметь бассейны, а соответственно в задачу дизайнера входит создание достойного интерьера, безопасность эксплуатируемого оборудования и помещения, с грамотно составленным планом будущего резервуара. Для функциональности и хорошей проходимости, требуется подбор качественного строительного материала. Следует помнить о том, что бассейн должен обладать достаточной глубиной, рассчитанной как на взрослых посетителей, так и отдельно на детей. Облик будущего сооружения легко можно увидеть, взглянув на общий дизайн-проект Фитнес-центра.

Медицинский кабинет

У такого многофункционального комплекса как Фитнес-клуб, должен быть хорошо оборудованный медицинский кабинет. Возможно и не один. Оказание при необходимости первой помощи должно быть организовано на самом высокопрофессиональном уровне, для чего следует грамотно продумать оснащение медицинского кабинета всей необходимой и современной медицинской техникой. Столь комплексная задача под силу исключительно дизайнеру, работающему над решением подобных задач и имеющему навыки сочетания в дизайн-проекте функциональности со всеми нормативными законами и единой концепцией стиля Фитнес-центра.

Наличие помещений медико-восстановительного центра позволяет использовать их населением на основе платных услуг, в связи с чем при объемно-планировочном решении сооружения целесообразно учитывать возможность автономного использования помещений центра населением при удобной связи с остальными основными и вспомогательными помещениями

Сауны (финская, турецкая), русская баня

Наличие на территории Фитнес-центра сауны (финской, турецкой) либо русской бани, позволит Вашим посетителям с комфортом провести время после тренировки или просто провести свой выходной день с целью оздоровления организма и повышения жизненного тонуса. Дизайн-проект Фитнес-центра (сауны, бани) разрабатывается с учетом рентабельного и эргономичного использования материалов в отделке помещения, как во внутренней, так и во внешней отделке. В любом случае Вы сможете воспользоваться либо типовым проектом, либо заказать разработку индивидуального.

Кафе

На территории Фитнес-клуба обязательно размещается кафе. Для приятного времяпровождения и возможности отдохнуть после спортивных нагрузок. Вряд ли кто откажется посидеть в уютной атмосфере, расположившись на комфортных диванах, выпить чашечку ароматного кофе или бокал прохладительных напитков, что бы завершить программу посещения Фитнес-клуба.

Детская комната

Особая статья в дизайне Фитнес-клуба - это детская комната, где Ваши посетители смогут оставить своего малыша в сказочной атмосфере, с массой развлекательных мероприятий, игрушек и игр. Ваша задача - это привлечь желание ребенка посетить это дивное место еще и еще раз, а значит, задача дизайнера превратить выделенный квадратные метры в праздник для каждого ребенка.салон

Только опытный дизайнер способен разработать дизайн-проект Фитнес-клуба так, что бы SPA салон стал жемчужиной комплекса. Местом, где различные зоны будут воплощать в себе единую задачу - комфорта и релаксации! Заблуждением было бы считать SPA просто местом для косметических проведения процедур. Это, в некотором роде, комплексное воздействие атмосферы салона, музыкального сопровождения, запаха, цветов использованных в интерьере и экологически чистой косметической продукции с использованием самого передового оборудования мирового уровня. Это место единения душевной гармонии и телесного отдыха.

Массажный салон

В сферу услуг Фитнес-клуба входит массажный салон. Профессиональный проектировщик правильно организует пространство, разместит необходимое оборудование для освещения, подберет общую приемлемую цветовую гамму и необходимое массажное оборудование. Вам на выбор предложат несколько вариантов планировочной концепции, после чего Вы сможете сделать свой выбор, с тем, чтобы массажный салон стал уютным, приятным местом отдыха, с оригинальным дизайном, выдержанным в общем дизайнерском стиле Фитнес-клуба.

Парикмахерская

Качественный дизайн парикмахерской высокого класса способен разработать только профессиональный дизайнер, включив его стиль в общий концептуальный дизайн-проект Фитнес-клуба. И это незамедлительно скажется на общем коммерческом успехе Вашего заведения. Специфика работы и целевая аудитория будут уже выработаны и подразумевают разработку уникального, стильного и презентабельного интерьера для Вашего заведения. Атмосфера салона должна быть одинаково удобна как для Ваших посетителей, так и для самих работников парикмахерской. Опытный дизайнер досконально продумает каждую деталь композиционных решений интерьера, пространственный декор, те же освещение и цветовую палитру.

Холл-ресепшн

Переступая порог Фитнес-клуба, посетитель попадает в холл-ресепшн и первое впечатление у клиента о Вашем заведении складывается именно там. Поэтому дизайн-проект Фитнес-центра, начинается именно с придания стиля именно этому помещению. Центральная часть любого холл-ресепшн - это стойка, она должна олицетворять специфику работы Фитнес-клуба и гармонировать с общим пространством помещения во всех отношениях. Действительно, здесь, где «задаётся» базовое мнение о всём заведении, необходимо уделить максимальное внимание и общей концепции, и цветовым композициям, и мебели, и оборудованию. Ибо от того, насколько всё вместе будет хорошо выглядеть и работать во многом, если не в основном и будет зависеть базисное мнение каждого из Ваших новых клиентов. Особые акценты следует расставить на удобной мебели и стильных аксессуарах. Посетитель, попавший в зону холл-ресепшн, должен погрузиться в атмосферу уюта и стиля, а дальше работа консультантов, которые должны подобрать наиболее удачное решение для каждого конкретного посетителя.

4. Требования к инженерному оборудованию

Здание центра должно быть оборудовано центральным отоплением, приточно-вытяжной вентиляцией, хозяйственно-питьевым и пожарным водоснабжением, электрооборудованием, сигнализацией. Присоединение внутренних инженерных коммуникаций должно предусматриваться к внешним инженерным сетям города. Для размещения вводов инженерных коммуникаций следует предусмотреть установленные настоящей программой специальные помещения в подвале или на первом этаже здания.

Во всех помещениях необходимо запроектировать искусственное освещение. Помещения с постоянным пребыванием людей должны иметь, как правило, естественное освещение.

При проектировании следует принимать современные конструкции, которые позволяют наиболее широко и полно использовать существующий ассортимент строительных изделий индустриального изготовления. Конструкция и материал ограждений выбираются по усмотрению автора.

На рис. 1-6 приведены примеры схем планов помещений для различных видов физкультурно-оздоровительных занятий с расстановкой необходимого оборудования.

В помещениях размерами 24´12 м и 18´12 м (см. рис. 1) проведение общеразвивающих упражнений предусматривается осуществлять на свободном от гимнастического оборудования пространстве с использованием тренажеров и гимнастических стенок.

В помещениях для групповых занятий элементами борьбы (см. рис. 2) стены, примыкающие к уложенным на полу матам, должны иметь мягкую обивку.

Для занятий ритмической гимнастикой, хореографией и женской оздоровительной гимнастикой наилучшим является помещение размером 12´12 м, приведенное на рис. 3 прил. 3 настоящего Пособия. На рис. 3 настоящего приложения приведен план помещения для этих занятий минимального размера. Помост для тренера может предусматриваться переносным или пристенным (откидным), а зеркала и хореографические станки устанавливаются стационарно.

На рис. 1-3 приведены схемы планов расстановки оборудования в помещениях с тренажерами для развития различных физических качеств. При этом на рис. 1 и 2 в одинаковых по размеру помещениях установлены различные по составу тренажеры.

 

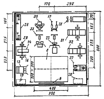
Рис. 1 - Схемы планов помещений размерами 24´12 м и 18´12 м для групповых занятий по общей физической подготовке на пристенном трансформируемом гимнастическом оборудовании и тренажерах (размеры в сантиметрах)

 

Рис. 2 - Схемы планов помещений размерами 15´9 м и 12´9 м для групповых занятий элементами борьбы (размеры в сантиметрах)

Рис. 3 - Схема плана помещения размером 9´9 м для групповых занятий по ритмической гимнастике, хореографии и женской оздоровительной гимнастике (размеры в сантиметрах)

Рис. 4 - Планы помещений размерами 12´12 м и 12´9 м с расстановкой в них тренажеров (размеры в сантиметрах)

Рис. 5 - План помещения размером 9´9 м с расстановкой в нем тренажеров (размеры в сантиметрах)

Рис. 6 - План помещения размером 9´9 м с расстановкой в нем тренажеров из набора КАП-2 (размеры в сантиметрах)

5. Противопожарные требования

При проектировании и реконструкции спортивных и физкультурно-оздоровительных сооружений следует выполнять требования ДБН В. 1.1-7 и настоящих Норм.

Суммарную вместимость стационарных и временных мест для зрителей, предусмотренных проектом трансформации зала, следует принимать с учетом степени огнестойкости зданий:

а)      IlIа и V      не более 300;

б)      IV               не более 400;

в)      III и IIIб      не более 600;     

г)       I и II                    свыше 600.

В зданиях IVa степени огнестойкости размещение трибун для зрителей не допускается.

В зданиях IlIб степени огнестойкости с элементами покрытия из деревянных конструкций в случае, когда стены, колонны, лестницы и междуэтажные перекрытия имеют предел огне-стойкости и распространения огня, требуемый для зданий III степени огнестойкости, допускается увеличение вместимости одноэтажного зального помещения до 4 тыс. зрителей.

Здания крытых спортивных сооружений IlIб степени огнестойкости при размещении на верхнем этаже только вспомогательных помещений могут быть двухэтажными, а в случае, когда стены, колонны, лестницы и междуэтажные перекрытия имеют пределы огнестойкости и распространение огня, требуемые для задания IlI степени огнестойкости, - высотой до пяти этажей. Во всех случаях вспомогательные помещения должны быть отделены от зального помещения противопожарными стенами 1-го типа.

Предельный этаж размещения зальных помещений с местами для зрителей в зданиях крытых спортивных сооружений и в других общественных зданиях следует принимать согласно требованиям, предъявляемым к размещению актовых и конференц-залов в разделе «Противопожарная безопасность» ДБН В.2.2-9.

Трансформируемые наружные ограждающие конструкции зальных помещений в зданиях I и II степеней огнестойкости должны выполняться из негорючих материалов с пределом огнестойкости не менее 0,5 ч, в зданиях III степени огнестойкости - из негорючих материалов с пределом огнестойкости не менее 0,25 ч или из материалов групп горючести Г1, Г2 с пределом огнестойкости не менее 0,5 ч, в зданиях IV степени огнестойкости - из материалов групп горючести Г1, Г2 с пределом огнестойкости не менее 0,25 ч.

В спортивных залах, залах крытых катков и залах ванн бассейнов (с местами для зрителей или без них), а также в залах для подготовительных занятий в бассейнах и в огневых зонах крытых тиров (в том числе размещаемых под трибунами или встроенных в другие обще-ственные здания), имеющих площадь, превышающую допустимую площадь пожарного отсека, предусматриваемую требованиями ДБН В.2.2-9, противопожарные стены 2-го типа следует предусматривать между зальными помещениями (в тирах - огненной зоной со стрелковой галереей) и другими помещениями. Помещения вестибюлей и фойе следует не реже чем через 60 м разделять вместо противопожарных стен светопрозрачными дымонепроницаемыми пере-городками с самозакрывающимися дверными полотнами с плотным притвором.

Устройство автоматических установок пожаротушения следует предусматривать в помещениях:

а)      эллингов;

б)      складов и других помещениях площадью 100 м2 и более, предназначаемых для хра-нения горючих или негорючих материалов в горючей упаковке, при их расположении:

)        под трибунами вместимостью 3000 и более зрителей при открытых спортивных сооружениях;

)        под трибунами крытых спортивных сооружений любой вместимости;

)        в зданиях крытых спортивных сооружений вместимостью 800 и более зрителей.

В зальных помещениях крытых спортивных сооружений, стрелковых галереях крытых и полуоткрытых тиров и огневых зонах крытых тиров не разрешается применять строительные материалы для каркасов, отделки (в том числе акустической) стен и потолков с более высокой пожарной опасностью чем приведенная в таблице 17.

Горючесть и группы горючести определяются в соответствии с ДСТУ Б В.2.7-19.

Таблица 17

Число мест для зрителей

Материалы для обшивки


потолков

стен


облицовка

обрешетка

облицовка

обрешетка

Свыше 600

Г1

НГ

Г1

НГ

От 300 до 600 включительно

Г2

НГ

Г2

Г1

Менее 300 или без зрителей

ГЗ

НГ

Г2

Г1


Уклон путей эвакуации по лестницам трибун открытых и крытых спортивных сооружений не должен превышать 1:1,6. Допускается увеличение уклона, но не более чем 1:1,4 при условии установки вдоль путей эвакуации по лестницам трибун поручней (или иных устройств, заменяющих их) на высоте не менее 0,9 м. При разнице отметок пола смежных рядов свыше 0,55 м вдоль прохода каждого зрительского ряда должно устанавливаться ограждение высотой не менее 0,8 м, не мешающее видимости.

Ширина путей эвакуации должна быть не менее:

а)      1 м - горизонтальных проходов, пандусов и лестниц на трибунах крытых и открытых спортивных сооружений;

б)      1,35 м - эвакуационных люков с трибун крытых спортивных сооружений;

в)      1,5 м - эвакуационных люков с трибун открытых спортивных сооружений.

Поверхность покрытия на путях эвакуации зрителей не должна быть скользкой (в том числе в открытых сооружениях под влиянием дождя и снега).

При расчетной ширине проходов (лестниц) блоков зрительских мест или люков на трибу-нах открытых и крытых спортивных сооружений свыше 2,5 м следует предусматривать разделительные поручни на высоте не менее 0,9 м. При расчетной ширине люка или лестницы до 2,5 м допускается устройство люков или лестниц шириной свыше 2,5 м; при этом разделительные поручни не предусматриваются.

В открытых и крытых сооружениях путь эвакуации через люки должен быть горизонтальным или по пандусу (устройство лестниц не допускается).

Дверные проемы (в том числе и в люках) на пути эвакуации зрителей должны быть с самозакрывающимися дверными полотнами, оборудованными устройствами для самозакрывания и уплотнением в притворах.

Во всех крытых спортивно-демонстрационных и спортивно-зрелищных сооружениях следует предусматривать системы оповещения о пожаре и управления эвакуацией людей в соответствии с требованиями ДБН В. 1.1-7.

. Водопровод и канализация

Спортивные и физкультурно-оздоровительные сооружения должны оборудоваться системами хозяйственно-питьевого и противопожарного водопровода и канализации, присоединенными к наружным сетям населенного пункта или собственному водозаборному узлу согласно требованиям СНиП 2.04.01, СНиП 2.04.02, СНиП 2.04.05, СНиП 3.05.01, СНиП 3.05.04, ДержСанПіН 383, СанПин 42-121-4130 и локальным очистным сооружениям.

При отсутствии в населенном пункте централизованного водоснабжения следует использовать местные источники, вода в которых удовлетворяет требования ГОСТ 2874.

На стартах горнолыжных трасс и у стартовых площадок трамплинов водоснабжение до-пускается предусматривать только для питьевых целей с доставкой воды в герметически за-крытых сосудах.

Наружные санитарные узлы с выгребами допускаются:

при стрелковых галереях тиров, входящих в состав стрельбищ;

при отдельно стоящих открытых тирах;

при открытых плоскостных сооружениях, имеющих до 300 мест для зрителей;

у стартов спортивных горнолыжных трасс и у стартовых площадок трамплинов.

В спортивных и физкультурно-оздоровительных сооружениях необходимо предусматривать меры, обеспечивающие воде, подаваемой в ванны бассейнов, следующие дополнительные качества:

а)      цветность не более 5;

б)      содержание взвешенных веществ:

)        в открытых ваннах - не более 2 мг/л;

)        в крытых ваннах - не более 1 мг/л;

в)      прозрачность (по кресту) - на всю глубину ванны.

Для полива открытых плоскостных сооружений и территории, а также для создания льда сезонных катков допускается использование источников воды непитьевого качества, отвечающих требованиям ГОСТ 2761.

Горячее водоснабжение следует предусматривать для обеспечения хозяйственно-бытовых и технологических нужд спортивных сооружений.

Централизованное горячее водоснабжение гребных баз сезонного действия, как правило, не предусматривается; в этом случае для приготовления горячей воды на нужды буфета должны предусматриваться электрические водонагреватели.

Горячая вода для хозяйственно-бытовых нужд должна соответствовать требованиям ГОСТ 2874. Подводку горячей воды следует предусматривать к душевым, кабинету врача, комнатам медицинской сестры и для оказания первой медицинской помощи, а также к массажным, бытовым помещениям для рабочих, раздевальням для занимающихся, комнатам инструкторского и тренерского состава, лаборатории анализа воды в ваннах бассейнов, помещениям для уборочного инвентаря, а также к другим помещениям в соответствии с технологическим заданием. На технологические нужды горячая вода должна подаваться для заполнения и пополнения ванн бассейнов, подготовки поверхности льда катков, для буфетов, для ускорения таяния льда в каналах у охлаждающей плиты спортивно-демонстрационных и спортивно-зрелищных крытых катков (в ночное время) и в приямках для ледяной стружки в помещениях для стоянки машин по уходу за льдом, а при устройстве контрастной ванны в бане сухого жара - для ее заполнения.

Устройство внутреннего хозяйственно-питьевого и противопожарного водопровода и нормы расхода воды в сутки и часы максимального водопотребления, а также устройство канализации должно отвечать требованиям СНиП 2.04.01 с дополнительным учетом норм водопотребления согласно таблице 20. При подсчете суточного и максимального часового расхода следует учитывать количество и продолжительность смен.

Для помещений, оборудованных автоматическими установками пожаротушения, в соот-ветствии с требованиями 3.138 интенсивность орошения следует принимать по ДБН В.2.5-13.

Расчетный расход воды на наружное и внутреннее пожаротушение для зданий крытых спортивных сооружений следует принимать в соответствии с требованиями СниП 2.04.01 и СНиП 2.04.02, 1 для открытых спортивных сооружений:

а)      15 л/с - при вместимости трибун от 5 до 10 тыс. зрителей;

б)      20 л/с - при вместимости трибун свыше 10 до 20 тыс. зрителей;

в)      25 л/с - при вместимости трибун свыше 20 тыс. зрителей.

В санитарных узлах и душевых с количеством приборов свыше двух (унитазов и пис-суаров или душевых поддонов соответственно) и на обходных дорожках ванн крытых и открытых бассейнов следует предусматривать устройство трапов и установку поливочных кранов диаметром 20 мм с подводкой холодной и горячей воды. Поливочные краны для открытых ванн следует устанавливать в отапливаемых помещениях.

Поливочные краны диаметром 50 мм с подводкой холодной и горячей воды должны устанавливаться в отапливаемом помещении и располагаться:

у ближайших выходов на лед сезонных катков для заправки горячей водой автоцистерн или иных машин по уходу за льдом;

в помещении для машин по уходу за льдом;

вокруг ледяного поля для создания льда в крытых катках исходя из радиуса обслуживания не свыше 30 м.

Наружную сеть поливочного водопровода для открытых плоскостных сооружений, используемых в летнее время, а также для полива территории спортивных сооружений и питомника для выращивания дерна следует укладывать на глубину до 0,5 м с уклоном в сторону выпуска воды (для отключения сети на зимний период).

К открытым плоскостным сооружениям, используемым в зимнее время под заливку се-зонных катков, а также к открытым каткам с искусственным льдом должна предусматриваться подводка незамерзающей водопроводной сети с установкой на ней пожарных гидрантов.

Поливочные краны диаметром 25 мм должны размещаться исходя из радиуса обслуживания не более 30 м, гидранты - 50 м.

Подача воды в ванны бассейнов может осуществляться через отверстия в стенках и дне ванн, расположение которых должно обеспечивать равномерное распределение ее по всему объему для поддержания постоянства ее температуры и бактерицидных качеств.

Скорость выхода воды из подающих отверстий следует принимать 2-3 м/с.

Расчетную температуру воды в ваннах бассейнов следует принимать согласно таблице 22. Температура воды, подаваемой в ванны, не должна превышать 35°С.

Продолжительность наполнения ванн бассейнов не должна превышать 24 ч.

.16    Водообмен в ваннах бассейнов следует предусматривать с циркуляцией воды (многократное использование с очисткой, дезинфекцией и одновременным добавлением свежей водопроводной воды в пределах до 10% объема воды в ванне) или с непрерывным притоком свежей воды (разовое использование с дезинфекцией). При этом продолжительность полной смены воды (водообмена) в ваннах для обучения плаванию детей 7-14 лет должна принимать-ся не свыше 8 ч, а в остальных ваннах - не свыше 12 ч.

Выбор метода водообмена определяется технико-экономическим расчетом.

Проходные ножные души следует предусматривать с непрерывным протоком свежей воды

Очистку технологической воды ванн бассейнов следует предусматривать фильтрами с предварительной коагуляцией в соответствии с требованиями СНиП 2.04.01.

Перед очистными сооружениями следует устанавливать сетчатые фильтры (волосоуловители). Водоочистные сооружения в бассейнах следует предусматривать раздельно для каждой ванны или для группы ванн одинакового назначения и возраста занимающихся в них.

.19    На технологических трубопроводах в бассейнах следует предусматривать установку:

расходомеров, показывающих количество воды, подаваемой в ванну;

расходомеров, показывающих количество свежей водопроводной воды, поступающей в рециркуляционную систему;

датчиков для дистанционных замеров температуры холодной и горячей воды, а также циркуляционной воды, поступающей в ванну;

контрольных кранов (для отбора проб) на вводе в ванну, а также до и после фильтров.

Отвод воды из ванн бассейнов на рециркуляцию должен предусматриваться через отверстия в дне, располагаемые в глубокой и мелкой частях ванн. Расчетную скорость входа воды в отводящие отверстия, перекрытые решетками, следует принимать 0,4-0,5 м/с.

Сброс воды из переливных желобов ванн, от проходных ножных душей, с обходных дорожек и от промывки при чистке стенок и дна ванн бассейнов следует предусматривать в бытовую канализацию.

Вода из питьевых фонтанчиков или питьевых автоматов, от опорожнения ванн, от промывки фильтров, а также от таяния льда и ледяной стружки в крытых катках должна удаляться в дождевую канализацию.

В отдельных случаях по согласованию с местными органами водопроводно-канализационного хозяйства допускается сброс воды при опорожнении ванн и от промывки фильтров в бытовую канализацию.

Воду из переливных желобов ванн бассейнов при технико-экономическом обосновании допускается включать в общую рециркуляционную систему с соответствующим уменьшением объема свежей воды, подаваемой в ванну для ее пополнения.

Вода от питьевых фонтанчиков или питьевых автоматов и от таяния льда и ледяной стружки при отсутствии наружной дождевой канализации

Продолжительность стока воды при опорожнении ванн бассейнов объемом 600 м3 и менее следует принимать не свыше 12 ч, а при объеме воды более 600 м3 - не свыше 24 ч.

Присоединение канализационных трубопроводов к ваннам бассейнов должно исключать возможность обратного попадания стока и запаха из канализации в ванны.

Расстановка канализационных колодцев и кранов поливочного водопровода на территории комплексов открытых плоскостных сооружений должна предусматривать возможность присоединения к ним дополнительных перевозных санитарных узлов для участников и зрителей массовых мероприятий.

В санитарных узлах для занимающихся и зрителей следует устанавливать напольные керамические унитазы или напольные чаши со смывным краном.

. Отопление и вентиляция

В спортивных и физкультурно-оздоровительных зданиях и сооружениях системы отопления, вентиляции и кондиционирования воздуха следует проектировать согласно СНиП II-3, СНиП 2.01.01, СНиП 2.04.05, СНиП 2.04.07, СНиП 3.05.01, ДБН В.2.5-20, ДСН 3.3.6.042

Подвижность воздуха в зонах нахождения занимающихся не должна превышать:

а)      0,2 м/с - в залах ванн бассейнов (в том числе для оздоровительного плавания и обучения плаванию);

б)      0,3 м/с - в спортивных залах для борьбы, настольного тенниса, в крытых катках и в залах гребных бассейнов;

в)      0,5 м/с - в остальных спортивных залах, залах для подготовительных занятий в бассейнах и помещениях для физкультурно-оздоровительных занятий.

Относительную влажность воздуха следует принимать:

а)      30-60% - в спортивных залах без мест для зрителей, помещениях для физкультурно-оздоровительных занятий и залах для подготовительных занятий в бассейнах;

б)      50-65% - в залах ванн бассейнов (в том числе гребных).

При теплотехническом расчете ограждающих конструкций залов ванн бассейнов относительную влажность воздуха следует принимать 67%, а температуру - плюс 27-30°С.

При применении клеедеревянных конструкций в зоне их расположения должна круглосуточно и круглогодично обеспечиваться относительная влажность не менее 45%, температура воздуха не должна превышать плюс 35°С.

Расчет воздухообмена в универсальных залах крытых катков с искусственным льдом и местами для зрителей должен производиться для следующих эксплуатационных режимов:

при функционировании льда и мест для зрителей;

при функционировании мест для зрителей без искусственного льда;

при функционировании льда без использовании мест для зрителей.

В спортивных залах без искусственного льда и в залах ванн бассейнов с местами для зрителей расчет воздухообмена следует производить для двух режимов - со зрителями и без них.

Нагревательные приборы и трубопроводы в спортивных залах, помещениях для физкультурно-оздоровительных занятий, залах для подготовительных занятий и залах бассейнов (в том числе для оздоровительного плавания и обучения плаванию) не должны выступать из плоскости стен на высоту до 2 м от пола. Кроме того, во всех помещениях для пребывания людей с обнаженным телом размещение нагревательных приборов и трубопроводов отопления должно исключать возможность получения ожогов. В помещениях с влажным и мокрым режимами устройство ниш в наружных стенах для размещения нагревательных приборов не допускается.

Самостоятельные системы приточной и вытяжной вентиляции с механическим побуждением следует предусматривать для:

спортивных залов, залов для подготовительных занятий в бассейнах и помещений физкультурно-оздоровительных занятий;

залов ванн бассейнов (в том числе для оздоровительного плавания и обучения плаванию) и залов гребных бассейнов;

душевых, раздевальных для занимающихся, массажных и помещений для отдыха занимающихся в бассейнах;

служебных помещений для административного и инженерно-технического персонала, инструкторско-тренерского состава, бытовых помещений для рабочих;

стрелковых галерей с огневыми зонами крытых тиров и стрелковых галерей полуоткрытых тиров, имеющих стенку с бойницами;

хлораторных и складов хлора;

технических помещений (насосно-фильтровальных, бойлерных и др.).

В помещениях для физкультурно-оздоровительных занятий, встроенных в жилые дома, допускается естественная вентиляция с неорганизованным притоком.

Систему вытяжной вентиляции из санитарных узлов и курительных допускается объединять с системой вытяжной вентиляции из душевых.

Удаление воздуха из зальных помещений, за исключением залов ванн бассейнов, следует предусматривать вытяжными системами с естественным побуждением.

В малых населенных пунктах, жилых районах и в сельской местности спортивные залы без мест для зрителей или при их числе не более 100 допускается проектировать с естественной приточно-вытяжной вентиляцией с обеспечением однократного воздухообмена в час.

В спортивных залах вместимостью более 800 зрителей и крытых катках с местами для зрителей следует предусматривать самостоятельные системы воздухораспределения для зоны размещения мест для зрителей и для зоны пребывания занимающихся (соревнующихся).

8. Электроснабжение и электротехнические системы

Здания и сооружения спортивных и физкультурно-оздоровительных учреждений должны быть оборудованы системами электроснабжения и электротехническими системами согласно требованиям СНиП 3.05.06, СНиП 3.05.07, СНиП II-4, ВСН 59, ВСН 97, ВСН 205/ММСС, ПУЭ, ДНАОП 0.00-1.32, ГОСТ 21.613, РД 34.21.122, ДержСанПiН 239, СанПиН 1757, Сан-ПиН 2152. Искусственное освещение следует предусматривать на открытых катках с искус-ственным льдом, сезонных катках для скоростного бега и фигурного катания на коньках, хоккея, хоккея с мячом и массового катания на коньках, в бассейнах с открытыми ваннами круглогодичного действия, а также во всех помещениях и на участках территории спортивных и физкультурно-оздоровительных сооружений, предназначаемых для прохода людей и движения транспорта. На других открытых сооружениях искусственное освещение предусматривается, как правило, при наличии трибун.

Уровень освещенности спортивных сооружений для отдельных видов спорта, а также специализированных помещений и устройств в них следует принимать согласно ВСН 59, а территории участков спортивных сооружений и комплексов - согласно СНиП II-4.

Проектирование этих установок должно осуществляться по заданию на проектирование, подготовленному местными органами исполнительной власти Украины по вопросам телевидения и радиовещания и согласованному с центральным органом исполнительной власти Украины по вопросам телевидения и радиовещания. Осветительные установки, необходимые для обеспечения освещенности, требуемой при передачах цветного телевидения, должны проектироваться стационарными. По согласованию с местными органами исполнительной власти Украины по вопросам телевидения и радиовещания допускаются полустационарные осветительные установки; в этих случаях должны быть предусмотрены электрическое подключение их, а также специальные элементы крепления установок на время ведения телевизионных передач.

Уровень средней горизонтальной освещенности на поверхности льда сезонных катков для массового катания (в том числе для обучающихся катанию) следует принимать не менее 10 лк.

Коэффициент неравномерности электрического освещения трасс для катания на лыжах по равнинной местности следует принимать не менее 0,04; трасс лыжных гонок - не менее 0,1; трасс для горных видов лыжного спорта - не менее 0,2; открытых плоскостных спортивных сооружений для спортивных игр и мест для легкоатлетических прыжков, а также трамплинов для прыжков на лыжах - не менее 0,33; стрелковых мишеней - не менее 0,5.

Уровень минимальной горизонтальной освещенности залов и открытых площадок для подготовительных занятий в бассейнах следует принимать на поверхности пола зала и поверхности площадки 150 и 50 лк соответственно.

Уровень минимальной горизонтальной освещенности помещений и открытых плоскостных сооружений для физкультурно-оздоровительных занятий следует принимать на поверхности пола помещений и поверхности открытых плоскостных сооружений 150 и 50 лк соответственно.

Электроприемники спортивных и физкультурно-озоровительных сооружений по надежности электроснабжения относятся к следующим категориям:

а)      в спортивных залах, катках и крытых бассейнах без мест для зрителей или при их вместимости менее 300 - III категории;

б)      в спортивных залах, катках и крытых бассейнах, предназначаемых только для занятий с детьми, светильники аварийного и эвакуационного освещения, электродвигатели пожарных насосов, автоматическая пожарная сигнализация и система дымоудаления - I категории;

в)      в открытых бассейнах:

)        при числе рядов трибун более 20, а также при вместимости стационарных трибун 3000 и более зрителей:

электроосвещение - II категории;

остальные электроприемники - III категории;

)        остальные открытые бассейны: все электроприемники - III категории.

Надежность электроснабжения электроприемников крытых спортивных сооружений с числом мест для зрителей 300 и более определяется согласно ДНАОП 0.00-1.32 и ПУЭ.

Все электропотребители систем противопожарной защиты (приемно-контрольные приборы автоматической пожарной сигнализации, автоматического пожаротушения, дымоудаления, противопожарного водопровода, оповещения людей о пожаре и управления эвакуацией, эвакуационного освещения, электродвигатели пожарных насосов) должны быть выполнены по I категории надежности.

Для освещения спортивных и физкультурно-оздоровительных сооружений рекомендуется применять, как правило, газоразрядные лампы; при этом коэффициент пульсации следует принимать согласно таблице 25.

При необходимости плавного регулирования светового потока, а также в случаях невозможности или технико-экономической нецелесообразности применения газоразрядных источников света допускается, а при уровнях освещенности менее 30 лк следует, как правило, использовать лампы накаливания.

Таблица 25

Вид спорта, для которого предназначается сооружение

Максимально допустимый коэффициент пульсации освещенности, %

Открытые плоскостные спортивные сооружения

1. Бадминтон, баскетбол, волейбол, гандбол

15

2. Теннис

10

3. Городки

20

4. Регби, футбол, хоккей на траве, хоккей с мячом

15

5. Легкая атлетика

20

6. Скоростной бег на коньках

20


В зданиях спортивных сооружений следует предусматривать эвакуационное освещение в соответствии с требованиями СНиП II-4. При этом на поверхности воды ванн крытых, а также открытых бассейнов, оборудованных осветительными установками, должна быть обеспечена освещенность не менее 5 лк.

На освещаемых открытых плоскостных сооружениях, предназначаемых для спортивных игр (кроме городков), следует предусматривать верхнебоковое освещение. Осветительные приборы верхнебокового освещения должны устанавливаться на высоте не менее 10 м, обеспечивая выполнение условия, при котором перпендикуляр, опущенный из оптического центра прибора на продольную ось площадки (поля), составит с ее поверхностью угол не менее 27°.

Допускается устройство верхнего освещения при высоте подсветки светильников не менее:

а)      12 м - для волейбола и тенниса;

б)      8 м - для бадминтона, баскетбола, гандбола;

в)      6 м - для хоккея.

На площадках для городков следует предусматривать верхнее освещение «городов» при высоте подвеса светильников не менее 3 м.

Верхнее освещение следует выполнять светильниками с защитным углом не менее 30°.

При верхнебоковом освещении зальных помещений светильниками прямого света концентрированного светораспределения оптическая ось светильника не должна иметь наклон более 40° к вертикали.

Для ограничения слепящего действия светильников при освещении зальных помещений показатель ослепленности не должен превышать 60.

При применении газоразрядных источников света допускается управление освещением осуществлять тремя-четырьмя ступенями.

. Системы связи и сигнализации

Спортивные и физкультурно-оздоровительные здания и сооружения должны быть оборудованы сетями единой национальной системы связи, телевизионного и проводового вещания, системами оповещения людей о пожаре и управления эвакуацией в соответствии с требованиями ДБН В.1.1-7, ДНАОП 0.01-1.32, ПУЭ, ГОСТ 21.603, ВСН 60.

Здания и сооружения комплексов или отдельные здания спортивных сооружений при необходимости могут быть оборудованы сетями и устройствами:

ведомственной связи;

ведомственного проводового вещания;

ведомственного телевидения;

сигнализации и регламентации времени;

компьютерных сетей;

охранной сигнализации;

других специальных средств связи, телевидения и сигнализации.

Здания и сооружения комплексов или отдельные спортивные сооружения, предназначенные для соревнований общегосударственного масштаба и выше, следует дополнительно оборудовать сетями и устройствами:

ведомственной связи для судейской коллегии, судейских бригад, дежурного персонала;

информационной и регистрирующей аппаратуры;

системами звуковой передачи информации и звуковоспроизведения музыки на арену спортивного сооружения (в случае назначения арены для проведения массовых выступлений);

радиовещательных и телевизионных передач из спортивного сооружения.

В спортивных сооружениях, имеющих стационарные трибуны, следует предусматривать системы озвучивания или проводового вещания для зрителей на трибунах, в отдельных помещениях и сооружениях, а также для отдельных зон территории комплексов открытых плоскостных сооружений, лыжных и гребных баз и стрельбищ (в том числе и перед главным входом на территорию сооружения, комплекса).

При этом отдельные помещения, сооружения и зоны территории, которые подлежат раздельному озвучиванию, определяются заданием на проектирование.

Взаимодействие средств ведомственной связи с сетями связи общего пользования определяется проектом в порядке, установленном действующими нормативными актами.

Крытые спортивные сооружения должны оборудоваться устройствами автоматической пожарной сигнализации, их монтаж следует предусматривать в помещениях, перечень которых приведен в 3.140 настоящих Норм и таблице С. 1 ДБН В.2.2-9.

Список использованной литературы

1.   ДБН В.2.2-13-2003 «Спортивные и физкультурно-оздоровительные сооружения»

2.      ДБН В.2.2-9-99 «Общественные здания и сооружения»

.        ДБН В.1.1.7-2002 «Пожарная безопасность объектов строительства»

.        СНиП 2.08.02-89 (общественные здания).

.        Приложение к СНиП 2.08.02-89 Спортивные сооружения.

.        Эрнст Нойферт. «Строительное проектирование» / Ernst Neufert «BAUENTWURFSLEHRE»

.        Неелов В.А. Гражданские здания. ВШ, 1987.

.        Архитектура гражданских и промышленных зданий. Гражданские здания. Стройиздат. 1993.

.        Маклакова Т.Г. Архитектура ХХ века: учебное пособие для ВУЗа. 2001.

.        http://architektonika.ru/

.        http://archi.ru/

.        http://www.id4.ru/

.        http://www.archip.ru/ru/

Похожие работы на - Фитнес-центр

 

Не нашли материал для своей работы?
Поможем написать уникальную работу
Без плагиата!
Без нейросетей!