Технология производства и ремонта котлов цистерн

  • Вид работы:
    Курсовая работа (т)
  • Предмет:
    Другое
  • Язык:
    Русский
    ,
    Формат файла:
    MS Word
    889,14 Кб
  • Опубликовано:
    2015-04-15
Вы можете узнать стоимость помощи в написании студенческой работы.
Помощь в написании работы, которую точно примут!

Технология производства и ремонта котлов цистерн

Содержание

Введение

. Вписывание вагона в габарит

. Основные элементы и технические данные цистерны модели 15-1443

3. Автосцепное устройство цистерны

. Поглощающий аппарат

. Автотормозное оборудование

. Тележка

. Колёсные пары

. Буксовый узел

9. Периодичность и сроки ремонта, техническое обслуживание цистерны 15-1443

10. Характерные неисправности, их причины и способы устранения

11.Требования охраны труда при ремонте котлов цистерн

Заключение

Библиографический список

Введение

Масштабы народнохозяйственной проблемы, связанной с доставкой грузов в цистернах, характеризуются привлечением больших производственных мощностей изготовителя этого вида подвижного состава, а также эксплуатационных и ремонтных предприятий. Преимущество применения цистерн для перевозки широкой номенклатуры наливных, пылевидных, затвердевающих грузов и газов очевидно, при этом сокращается время на техническую и коммерческую обработку состава, совершенствуется механизм погрузочно-разгрузочных работ, обеспечивается большая по сравнению с другими видами подвижного состава безопасность транспортировки огнеопасных, токсичных, ядовитых грузов, улучшаются экологические характеристики транспортно-технологического процесса.

Парк цистерн, эксплуатируемых как у нас в стране, так и за рубежом, постоянно растет. Большими сериями выпущены 55 типов цистерн, затраты на их изготовление исчисляются миллионами рублей. На подготовку спеццистерн к транспортно-техническим процессам затрачивается от 20 до 30% времени оборота, а на готовность к эксплуатации денежные затраты в 4-6 раз (в среднем) превышают первоначальную стоимость цистерн. Новый хозяйственный механизм. Закон о социалистическом предприятии подсказывают пути отыскания новых технических, технологических и экономических решений для снижения затрат на изготовление и содержание специализированного подвижного состава.

1. Вписывание вагона в габарит

вагон цистерна ремонт автотормозной

Для безопасного движения поездов требуется, чтобы локомотивы и вагоны, а также грузы на открытом подвижном составе могли свободно проходить мимо устройств и сооружений у пути, не задевая их, а также мимо следующего по соседним путям подвижного состава.

Габарит приближения строений - это предельное поперечное (перпендикулярное оси пути) очертание, внутрь которого не должны заходить никакие части сооружений и устройств, а также лежащие около пути материалы, запасные части и оборудование. Исключение могут составить лишь устройства, предназначенные для непосредственного взаимодействия их с подвижным составом, например, вагонные замедлители в рабочем состоянии, контактные провода с деталями крепления и др.

На железнодорожном транспорте действуют габариты приближения строений и подвижного состава, установленные ГОСТ 9238-83. Этот стандарт распространяется на железные дороги общей сети колеи 1524 мм (1520 мм). Для линий и участков, железных дорог, где обращаются поезда со скоростью, превышающей 160 км/ч, габаритные нормы устанавливаются специальными указаниями МПС. Все пути, сооружения и устройства, железных дорог общей сети, а также подъездные пути (от станции примыкания до территории промышленных предприятий) должны удовлетворять требованиям габарита приближения строений С.

Размеры габаритов по горизонтали считают от оси колеи, а по вертикали - от уровня верха головки рельса. Левую часть габарита приближения строений применяют на станциях, правую - на перегонах. Для путей, сооружений и устройств, расположенных на территориях депо, мастерских, грузовых районов, складов, речных и морских портов, заводов, в том числе предприятий МПС, введен несколько облегченный габарит Сп, и отличающийся от габарита С некоторыми размерами.

Для подвижного состава установлены габариты Т; 1-Т; 1-ВМ; 0-ВМ; 02-ВМ; 03-Вм.

Все смещения вагона могут быть сведены к следующим четырем группам:

·        вызываемые возможными отклонениями в состоянии пути - уширением колеи, упругим обжатием рельсов, перекосами и износом шпал и подкладок, упругой осадкой шпал и балласта и т.п.;

·        возникающие при движении вагона динамические колебания;

·        обусловленные зазорами и износами ходовых частей и прогибом рессорного подвешивания от статической нагрузки;

·        выносы частей вагона при движении в кривых.

Рисунок 1 - Схема проверки вписывания вагона в габарит

Рисунок 2 - Габарит подвижного состава 1-ВМ (верхнее очертание)

2. Основные элементы и технические данные цистерны модели 15-1443

Цистерна модели 15-1443 предназначена для перевозки светлых нефтепродуктов.

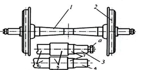
Четырехосная цистерна на рисунке 1 модели 15-1443 для светлых нефтепродуктов состоит из котла 1, опирающегося через средние 3 и концевые опоры на раму 5, ходовых частей 6, автосцепного устройства 2 и тормозного оборудования 4.

Рисунок 3 - Четырехосная цистерна модели 15-1443

Котел рисунок 2 включает цилиндрическую обечайку, сваренную из пяти продольных листов (нижнего 7 - толщиной 11 мм, двух боковых 3 и двух верхних 2-9 мм), и два днища 1 толщиной 10 мм. Для налива нефтепродуктов, осмотра внутренних частей котла и его очистки используется люк 5 диаметром 570 мм, герметически закрываемый крышкой. Крышка крепится к люку восемью откидными болтами. На опорное кольцо горловины люка ставят уплотнительное кольцо из бензоморозостойкой резины. В люке 5 размещен привод основного затвора сливного прибора и две сегментные планки 8 и 9, укрепленные на разных уровнях и предназначенные для контроля за предельными уровнями налива груза. Рядом с люком размещен патрубок 6 для установки предохранительно-впускного клапана. При наливе груза объем котла заполняется только на 98%. Оставшиеся два процента свободного пространства предусматриваются на увеличение объема груза при его нагревании.

Рисунок 4 - Котел

Все продольные листы и днища котла соединены стыковыми сварными швами. Внутренний диаметр котла 3000 мм, а наружная длина - 10,77м. Котел имеет нижний слив и оборудован универсальным сливным прибором. Для обеспечения полного слива продукта нижний броневой лист котла имеет уклон к сливному прибору, образованный выштамповкой нижнего листа на глубину 20-30 мм. Для подъема на цистерну с обеих сторон вблизи от люка закреплены металлические лестницы 4, а наверху сделана площадка для безопасного обслуживания при осмотре и промывке котла. Внутри котла также имеется лестница, опирающаяся на нижний лист. Котел изготовлен из стали 09Г2С.

Рама (рисунок 3) цистерн постройки до 1995 г. выполнена без боковых продольных балок между шкворневыми, длиной 10,8 м. Применяется рама для всех четырехосных цистерн с базой 7800 мм независимо от перевозимых грузов. Рама состоит из хребтовой 5, двух шкворневых 6 и двух концевых 9 балок, соединенных со шкворневыми балками 6 боковыми обвязками 8 и 10. Хребтовая балка выполнена из двух швеллеров 14 № 30В, перекрытых сверху и снизу накладками 13 и 15 толщиной 7 мм. На хребтовой балке крепятся передние 1 и задние 3 упоры автосцепки, предохранительные накладки 2, кронштейны для тормозного оборудования и лапы для крепления котла. Предохранительные накладки 2 защищают вертикальные стенки хребтовой балки от истирания поглощающим аппаратом автосцепки.

Рисунок 5- Рама цистерн постройки до 1995 г.

Шкворневые балки 6 коробчатого сечения, сварены из верхнего 11 (10мм), нижнего 12 (12 мм) и двух вертикальных 7 листов (8 мм). Сверху на шкворневых балках укрепляются металлические опоры котла. Зона соединения шкворневой и хребтовой балок усилена надпятниковой коробкой 4. Концевые балки 9 и боковые обвязки 10 изготовлены из штамповок Г-образной формы толщиной 6 мм.

Котел на раме (рисунок 6) крепят в средних и концевых ее частях. Для предотвращения продольных смещений только лишь средняя часть котла жестко связана с рамой фасонными лапами 2, приваренными к нижнему листу 1 и соединенными призонными болтами 3 с лапами 4 хребтовой балки 5 рамы. Концевые части котла свободно лежат на деревянных брусках 8 и 10, укрепленных болтами 9 в металлических желобах 11 опор 12, установленных на шкворневых балках 13 рамы. Для предотвращения вертикальных и поперечных перемещений предусмотрены стяжные хомуты 6, которыми концевые части котла при помощи винтовых муфт 7 крепятся к крайним опорам.

Рисунок 6 - Котел на раме

Универсальный сливной прибор цистерн общего назначения служит для слива груза из котла, а при необходимости - налива снизу при помощи насоса. Сливной прибор крепится к нижнему листу средней части котла. Слив производится через патрубок, приваренный к седлу клапана.

Таблица 1 - Технические характеристики цистерны 15-1443

Показатели


Грузоподъемность, т Тара, т Полный объем котла, м3 База вагона Длина, м: по осям сцеплений автосцепок по концевым балкам рамы Ширина кузова максимальная, м Наружная длина котла, м Внутренний диаметр котла, м Высота цистерны, м Коэффициент тары Удельный объем котла м3/т Нагрузка колесной пары на рельсы, кН Нагрузка на 1 м пути, т Конструкционная скорость, км/ч Габарит по ГОСТ 9238

60,0 23,2 73,1 7,8  12,02 10,8 3,08 10,77 3,0 4,615 0,386 1,195 218 6,92 120 02-ВМ


3. Автосцепное устройство цистерны

Четырехосные цистерны оборудуются серийной автосцепкой СА-3 с поглощающим аппаратом Ш-1-ТМ с ходом 70 мм или аппаратом Ш-2-В с ходом 90 мм. Рассмотрим автосцепку СА-3.

Автосцепка СА-3 является тягово-ударной нежесткого типа.

Она состоит из корпуса 4 и деталей механизма сцепления: замка 5, замкодержателя 2, предохранителя 3, подъемника 6, валика подъемника 7.

Головная часть автосцепки (голова) переходит в удлиненный пустотелый хвостовик, в котором имеется отверстие 1 для соединения с тяговым хомутом.

Голова автосцепки имеет большой 10 и малый 9 зубья. В пространство между малым и большим зубьями, в так называемый зев автосцепки, выступают замок 5 и замкодержатель 2, взаимодействующие в сцепленном состоянии со смежной автосцепкой.

Большой зуб имеет три усиливающих ребра: верхнее, среднее и нижнее, плавно переходящие в хвостовик и соединенные между собой перемычкой.

Рисунок 7 - Автосцепка СА-3

Голова автосцепки заканчивается сзади упором 8, предназначенным для передачи в некоторых случаях жесткого удара на хребтовую балку через концевую балку рамы вагона и ударную розетку.

Очертание в плане малого 1 и большого 2 зубьев, а также выступающей в зев части замка 3 называется контуром зацепления автосцепки.

Расцепление автосцепок осуществляется поднятием рукоятки вверх для выведения рычага 3 из паза кронштейна, поворотом рычага против часовой стрелки и последующим восстановлением его исходного положения. В результате этого натягивается цепь 14, поворачивается валик подъемника, и расцепление автосцепок происходит, как описано выше.

Для установки механизма автосцепки в выключенное положение рукоятку рычага после поворота не возвращают в первоначальное положение, а располагают его плоской частью на полке 2 кронштейна.

Ударно-центрирующий прибор воспринимает непосредственно от корпуса автосцепки большие сжимающие усилия (вызывающие полное сжатие поглощающего аппарата и деформации упряжного устройства), а также возвращает в центральное положение отклоненный корпус. Прибор состоит из ударной розетки 9, прикрепленной к концевой балке рамы вагона, двух маятниковых подвесок 11, опирающихся на розетку, и центрирующей балки 12, опирающейся на подвески и поддерживающей корпус автосцепки, при высоком отклонении корпус 13 вместе с центрирующей балкой несколько поднимается вверх, а после прекращения действия боковой силы под воздействием собственного веса возвращается в исходное нижнее (центральное) положение.

Рисунок 8 - Автосцепное устройство грузового вагона.

4. Поглощающий аппарат

 

Поглощающий аппарат АПЭ-120-И.500 - эластомерный поглощающий аппарат нового поколения с повышенной энергоемкостью. В качестве рабочего тела в аппарате используется вязкоупругая силиконовая композиция. По своим эксплуатационно-техническим характеристикам аппарат, по принятой классификации, относится к классу Т-3 и предназначен для эффективной защиты конструкции вагонов и перевозимых ими грузов от действия продольных нагрузок, возникающих от соударения вагонов при маневровых работах, на сортировочных горках и переходных режимах ведения поезда. Аппаратом АПЭ-120-И.500. оснащаются автосцепные устройства газовых цистерн и вагонов перевозящих грузы высокой степени опасности.

Рисунок 9 - Поглощающий аппарат АПЭ-120-И.500

5. Автотормозное оборудование


Автотормозное оборудование цистерны также является типовым и представлено воздухораспределителями № 270-005-1 или № 483-000, регуляторами рычажной передачи типа 574Б или 536М и авторежимами типов 265-002 или 265 А.

Автотормоз (рисунок 10) цистерны крепится на раме. Автотормозное оборудование состоит из соединительного рукава 1, концевого крана 2, стоп-крана 3, кронштейна - пылеловки 4, воздухораспределителя 5, разобщительного крана 6, запасного резервуара 7, тормозного цилиндра 8, грузового авторежима 9.

Усилие, развиваемое тормозным цилиндром, с помощью рычагов и тяг передается на тормозную рычажную передачу тележки. Сила прижатия тормозных колодок к поверхности катания колес зависит от степени загрузки полувагона и автоматически регулируется авторежимом. В случае необходимости, автотормозное оборудование полувагона может быть включено поворотом рукоятки разобщительного крана 6.

Рисунок 10 - Автотормоз.

Тормозная рычажная передача грузовых вагонов выполнена с односторонним нажатием тормозных колодок (кроме шестиосных вагонов, у которых средняя колесная пара в тележке имеет двустороннее нажатие) и одним тормозным цилиндром, укрепленным на хребтовой балке рамы вагона болтами. В настоящее время в опытном порядке некоторые восьмиосные цистерны без хребтовой балки оборудуются двумя тормозными цилиндрами, от каждого из которых усилие передается лишь на одну четырехосную тележку цистерны. Это сделано для упрощения конструкции, облегчения тормозной рычажной передачи, уменьшения силовых потерь в ней и повышения эффективности работы тормозной системы.

В тормозной рычажной передаче четырехосного грузового вагона (рисунок 8 ) горизонтальные рычаги 4 и 10 шарнирно соединены со штоком б и кронштейном 7 на задней крышке тормозного цилиндра, а также с тягой 2 и авторегулятором 3 и с тягой 77. Между собой они соединены затяжкой 5, отверстия 8 которой предназначены для установки валиков при композиционных колодках, а отверстия 9- при чугунных тормозных колодках.

Рисунок 11. - Схема и конструкция тормозной рычажной передачи

6. Тележка

В ходовых частях четырехосной цистерны используются двухосные тележки типа ЦНИИ-ХЗ моделей 18-100 (на подшипниках качения).

Тележка состоит из двух колесных пар, четырех букс, двух литых боковых рам, двух комплектов центрального рессорного подвешивания и, литой надрессорной балки и тормозной рычажной передач. Тормоз тележки - колодочный с односторонним нажатием колодок. Связь рамы с буксами - непосредственная челюстная, опора кузова на тележку через подпятник надрессорной балки, а при наклоне кузова - дополнительно через скользуны. Тележка допускает осевую нагрузку до 230 кН (23,5 тс) при скорости движения 120 км/ч и 235 кН (24 тс) при скорости 100 км/ч.

Рессоры т.е. пружины необходимо подбирать и регулировать. Необходимо это для того, чтобы обеспечить безопасность движения поездов и нормальную работу вагонов. Пружины на отдельно взятом вагоне должны быть с одинаковой стрелой прогиба, но этот критерий больше подходит для пассажирских и специализированных вагонов. На грузовых вагонах используются пружины более упругие, поэтому разница стрелы прогиба будет незначительная, но все же не стоит исключать эту регулировку.

Рисунок 12 - Тележка 18-100

7. Колесные пары

Колесные пары относятся к ходовым частям и являются одним из ответственных элементов вагона. Они предназначены для направления движения вагона по рельсовому пути и восприятия всех нагрузок, передающихся от вагона на рельсы при их вращении.

Конструкция и техническое состояние колесных пар оказывают влияние на плавность хода, величину сил, возникающих при взаимодействии вагона и пути, и сопротивление движению.

Колесная пара (рисунок 13) состоит из оси 1 и двух укрепленных на ней колес 2. Тип колесной пары определяется типом оси и диаметром колес, а также конструкцией подшипника и способом крепления его на оси. Типы вагонных осей различают по размерам и форме шейки. Размеры оси устанавливают в зависимости от величины расчетной нагрузки, воспринимаемой ею при эксплуатации.

Колесные пары РУ1-950, РУ1Ш-950- с роликовыми подшипниками (РУ - роликовая унифицированная, Ш - торцевое крепление внутренних колец подшипников приставной шайбой). Исходя из расчетной нагрузки, определяются диаметры шеек 3, 4 ( рисунок 10 ), подступичной 5 и средней 6 частей оси. Предподступичная часть 7 является ступенью перехода от шейки к подступичной части оси и служит для установки уплотняющих устройств буксы. На подступичных частях 5 прочно закрепляются колеса 2

Для своевременного изъятия из эксплуатации неисправных колесных пар и обеспечения безопасности движения поездов необходимо владеть способами обнаружения неисправностей, а также знать причины их появления (таблица 2).

Рисунок 13 - Устройство колёсной пары

Таблица 2. - Характерные неисправности колесных пар. причины их возникновения и способы обнаружения

Неисправности

Причины возникновения

Способы обнаружения

Расстояние между внутренними гранями колес не соответствует допускаемому

Сход колесной пары с рельсов

Измеряется штихмассом




Трещины в любой части оси, обода, диске, ступице колеса

Усталость металла, неравномерная загручка вагона, перегруз вагона, нарушение технологии изготовления деталей, ударные нагрузки

Наружным осмотром определяется наличие пылевого валика, скопление ржавчины или инея (в зимнее время)

Остроконечный накат гребня

Разность баз боковых рам тележки грузового вагона; разность диаметров колес, насаженных на одну ось

Наружным осмотром

Прокат по кругу катания более допускаемого

Естественный износ в процессе эксплуатации

Измеряется абсолютным шаблоном

Толщина гребня менее допускаемой

Естественный износ при взаимодействии колесных пар и рельсового пути

Измеряется абсолютным шаблоном

Вертикальный подрез гребня

Разность баз боковых рам тележки: разность диаметров колес, насаженных на одну ось

Определяется специальным шаблоном

Кольцевые выработки более допускаемых размеров

Нарушение технологии изготовления ком позиционных колодок

Измеряется с помощью двух линеек

Сдвиг или ослабление ступицы колеса на подступичной части оси

Нарушение технологии формирования колесных пар. Результат схода подвижного состава с рельсового пути

Признаком является выделение из-под ступицы ржавчины, масла с внутренней или наруж-ной стороны колоса

«Навар» высотой более допускаемой нормы

Нарушение режимов торможения вагона

Измеряется абсолютным шаблоном, а также толщиномером

Протертость средней части оси более допускаемой

Неправильная регулировка тормозной рычажной передачи

Измеряется с помощью двух линеек

Толщина обода менее допускаемой

Обточка поверхности катания колеса при ремонте

Измеряется толщиномером

Неисправности поверхности катания выщербина более допускаемых размеров; поверхностный откол  наружной грани обода (включая местный откол круговою наплыва) более допускаемых размеров:

Закливание колесных пар из-за неисправности тормозов. Нарушение технологии изготовления колес. Вследствие образования наплыва. Результат схода подвижного состава с пути или нарушение правил транспортировки колес

Измеряется абсолютным шаблоном, а также толщиномером или с помощью линейки (по таблице зависимости глубины ползуна от его длины)

ползун (выбоина) глубиной более допускаемой; местное уширение обода (раздавливание) более допускаемого




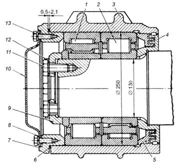
8. Буксовый узел

Буксовый узел (рисунок 11) включает: 1 и 2 - передний и задний цилиндрические роликовые подшипники; 3 - корпус буксы; 4 - лабиринтное кольцо; 5 - лабиринтную впрессованную часть корпуса буксы; 6 - уплотнительное кольцо; 7 - крепительную крышку; 8 - уплотнительное кольцо; 9 - крепительную шайбу; 10 - смотровую крышку; 11 - крепительный болт; 12 - шайбу; 13 - болты крепления смотровой крышки.

 

Рисунок 14 - Буксовый узел с цилиндрическими подшипниками и крепительной шайбой

Надежность работы буксового узла во многом зависит от тщательности монтажа (сборки) его на шейке оси колесной пары. Количество операций по монтажу букс с роликовыми подшипниками и их последовательность зависят от способа посадки (установки) их на шейку оси.

На рисунке 15 приведен алгоритм (последовательность) монтажа буксового узла с роликовыми подшипниками при прессовой посадке.

 

Рисунок 15. - Алгоритм монтажа буксового узла с роликовыми подшипниками

9. Периодичность и сроки ремонта, техническое обслуживание цистерны 15-1443

В процессе эксплуатации цистерны происходят естественный износ и старение элементов, а также повреждения в результате соударения при роспуске с горок, взаимодействия с погрузочно-разгрузочной техникой, перевозимым грузом и рядом других причин.

Для восстановления работоспособности цистерны, обеспечения их безаварийной работы и качественных перевозок грузов производится техническое обслуживание и ремонт.

Под системой технического обслуживания и ремонта понимают проводимые с определенной периодичностью виды работ по поддержанию и восстановлению работоспособности вагона.

Основными видами работ являются: техническое обслуживание, текущий, деповской и капитальный ремонты. Техническое обслуживание включает в себя комплекс работ для поддержания цистерны в исправности или только работоспособности при подготовке и использованию их по назначению.

Текущий ремонт необходим для обеспечения или восстановления отдельных элементов.

Капитальный ремонт - для восстановления работоспособности путем замены или восстановления ресурса до следующего капитального ремонта основных узлов и элементов. Срок - 16 лет.

Деповской ремонт - для поддержания в исправном состоянии между капитальными ремонтами. Срок - 2 года.

ТО-1 - техническое обслуживание вагонов, находящихся в составах или транзитных поездах, а также порожних вагонов при подготовке под погрузку без отцепки их от состава. Срок - каждый рейс.

ТО-2 - техническое обслуживание, осуществляемое предприятиями - отправителями груза по подготовке цистерн к погрузочным операциям, транспортировке и последующей погрузке. Срок - каждый рейс.

ТО-3 - техническое обслуживание перед и после разгрузки цистерн. Выполняется перед транспортировкой цистерны в порожнем состоянии и для последующей погрузки. Срок - каждый рейс.

ТО-4 - освидетельствование котла и обустройств. Периодичность - каждые 6 месяцев.

ТР-1 - текущий ремонт. Производится предприятием-владельцем цистерны для устранения неисправностей и частичного восстановления ресурса.

ТР-2 - текущий ремонт. Служит для полного восстановления ресурса основных узлов цистерны.

ТР-1 и ТР-2 - выполняются по техническому состоянию и необходимости восстановления.

. Характерные неисправности, их причины и способы устранения

В эксплуатации в наиболее нагруженных зонах котла (рисунок 5) образуются трещины. К таким зонам относятся: зоны днищ 1 и сварных швов приварки днищ к цилиндрической обечайке котла 2, зоны опирания котла на шкворневую балку 3, зоны расположения досочных лап 4, фиксирующих котел в продольном направлении относительно рамы, в зоне приварки сливного клапана, в оболочке наливной горловины 8 и ко сварному шву приварки горловины к обечайке котла.

Рисунок 16 - Трещины образующиеся в наиболее нагруженных зонах котла

Трещины, идущие вдоль сварных швов, устраняют путем вырубки дефектной зоны шва с последующей заваркой.

Трещины, пересекающие конструктивный сварной шов, разделываются на всю глубину, концы трещины засверливают во избежание дальнейшего распространения. также подлежит вырубке пересекаемый конструктивный шов на длину не менее 50 мм в обе стороны от трещины, с целью удаления возможного микрорастрескивания конструктивного шва в зоне трещины.

Трещины снаружи заваривают в два прохода, затем с внутренней стороны вырубают корень шва, в котором обычно имеются непровары, после чего изнутри наносится контрольный сварной шов.

Заварка трещин на котле допускается независимо от места их образования, но не более одной на площади в 1 м2.

Заварка трещин 4, уходящих под фасонную лапу, должна производиться при срезанной лапе.

В эксплуатации на котлах встречаются вмятины и пробоины 6, которые образуются на днищах при проведении маневровых работ от соударения с автосцепкой соединяемого вагона.

Кроме того, появляются вмятины и пробоины в других зонах котла из-за небрежного отношения к цистерне на предприятиях клиентуры.

Вмятины на стенках котлов глубиной более 15 мм выправляют с предварительным местным нагревом до температуры 650-7000 С.

Устранение пробоин производится после вырезки дефектного участка оболочки с лучевыми трещинами в острых углах пробоин. Линия среза должна проходить на расстоянии более 20 мм от концов лучевых трещин.

В пробоинах с максимальным линейным размером до 120 мм вырезают в поврежденном месте отверстие диаметром 150 мм, подгоняют вставку и проваривают по периметру с двух сторон. При больших размерах пробоин допускается постановка эллиптических 6 или прямоугольных вставок 7 со скругленными, радиусом не менее 50 мм, углами.

Площадь вставки не должна превышать 1,5 м2, а их количество на обечайке котла не более двух. Допускается площадь вставок на каждом днище до 0,5 м2 и количество вставок на днище тоже не более двух (при капитальном ремонте).

При больших площадях дефектных зон котлов разрешается варка части днища 5 или продольного листа 7 во всю его ширину, толщина вставок должна соответствовать конструктивной толщине листа в дефектной зоне котла.

Кроме сварочных работ, при плановых ремонтах производят ремонт сливных приборов, предохранительных клапанов, а после сборки их испытывают в соответствии с инструкциями.

Завершается ремонт котлов осмотром и испытаниями: на ВРЗ под гидравлическим давлением, а в депо - давлением воздуха.

Гидравлическое испытание производится при давлении 0,1 МПа, при котором котел выдерживают в течение 15 минут. При этом производится обстукивание молотком сварных швов и тщательно их осматривают. Результаты испытаний записывают в специальный журнал.

Ремонт сваркой котлов, изготовленных из нержавеющих сталей марок 12х18 Н1ОТ, 08Х22Н6Т или котлов двухслойных из сталей марок 20К+10У17К13М2Т, ВСт3сп+12х18н10Т и др., производится в соответствии со специальной технической документацией.

При ремонте сваркой котлов из сплавов алюминия, особое внимание уделяют разделке кромок с последующим обезжириванием мест сварки бензином, ацетоном.

Сварочные работы выполняются электродами ОЗА на постоянном токе обратной полярности.

Также применяют агроподуговую сварку неплавящимся вольфрамовым электродом с использованием в качестве присадочного материала алюминиевой проволоки марки Св-А5. Сварку производят на переменном токе.

При плановых ремонтах цистерн большой объем ремонтных работ приходится также на восстановления сливных приборов, предохранительных клапанов, устройств крепления котлов к раме, а также всевозможных лестниц и поручней.

Наиболее часто ремонтируют правкой или заменой отдельных элементов лестниц, площадок, причиной образования которых является небрежное отношение к вагону.

На стяжных хомутах, предназначенных для крепления котлов к раме цистерны в вертикальном направлении, появляются коррозионные износы, трещины, деформации и срезы резьбы болтов. Зоны хомутов с трещинами или коррозионными повреждениями вырезают и вваривают вставки длиной не менее 200 мм при условии, что число вставок в полосе должно быть не более двух.

Дефектные болты хомутов заменяют приваркой новых болтов внахлестку.

Трещины в сварном шве или в околошовной зоне соединения лапы котла с котлом разрешается заваривать, а трещины в фасонной лапе, крепящей котел относительно рамы в продольном направлении, заваривать запрещается независимо от длины и расположения.

. Требования охраны труда при ремонте котлов цистерн

Цистерны перед подачей в депо должны быть очищены, пропарены и дегазированы на ППС.

Перед началом производства работ на котле цистерны следует повторный анализ воздушной среды газоанализатором под руководством заместителя начальника депо или мастера.

Перед началом производства работ на котле цистерны слесарь должен проверить наличие акта формы ВУ-19 о годности цистерны для ремонта с указанием вида обработки, результатов анализа, подписями лиц и печатью организации, производивших эти работы. При отсутствии такого акта производство ремонтных работ на цистерне не допускается.

При производстве работ внутри котла цистерны необходимо открыть крышку колпака и клапан сливного прибора, обеспечить приточную вентиляцию с достаточным обменом воздуха, а в тех случаях, когда при помощи вентиляции не обеспечивается требуемая частота воздуха рабочей зоны, следует применять СИЗ органов дыхания (шланговый дыхательный прибор или шланговый противогаз), обеспечивающий подачу чистого воздуха в зону дыхания. В холодное время года подаваемый воздух должен быть подогрет до 18-200С.

Спуск работников внутрь котла цистерны для ремонта должен производиться по лестницам, находящимся внутри котла. При отсутствии постоянных лестниц должны применяться переносные деревянные нескованные лестницы, длина которых должна быть не менее 3,3 м.

Работы наверху котла цистерны должны производиться с передвижных площадок или на специальном рабочем месте, оборудованном тросом для крепления предохранительного пояса.

Работы, связанные со спуском в котел цистерны должны выполняться двумя слесарями.

Перед спуском в котел цистерны слесарь должен надеть предохранительный пояс с прикрепленным к нему страховочным канатом. Второй конец каната должен находиться в руках наблюдающего слесаря, который обязан при выполнении работ внутри котла безотлучно находиться у колпака цистерны и уметь подавать и принимать при помощи каната сигналы, а также, в случае необходимости, оказать помощь слесарю, находящемуся внутри котла.

Одновременное производство работ снаружи и внутри котла цистерны запрещается.

Для связи слесарей между собой с помощью страховочного каната устанавливается следующая сигнализация:

один рывок снизу (из котла) - «подтянуть шланг и канат», при этом подтягивать их нужно после повторения сигнала наблюдающего работника, находящегося у люка котла и получения такого же ответного сигнала из котла;

два рывка подряд - «отпусти шланг и канат». Такой сигнал дается слесарем, работающим в котле, для возможности перемещения внутри котла;

два рывка с перерывами между ними - «отпусти контейнер» или «подними контейнер» (в зависимости от того, где он находится в данный момент);

многократные рывки, поданные наблюдающим работником, находящимся у люка котла, находящийся в котле слесарь обязан подойти к люку или подняться наверх. Тот же сигнал, поданный слесарем, работающим в котле, означает требование немедленного принятия мер к извлечению его из котла.

В случае если ответа на рывки каната, поданные наблюдающим работником, находящимся у люка котла, не последовало, он должен поднять тревогу и целью вызова бригадира, других работников и медицинского работника для оказания помощи пострадавшему.

Сварочные работы внутри котлов цистерн должны выполняться в соответствии с требованиями.

Освещение при работах внутри котла может быть искусственным источником света, расположенных снаружи. Допускается применение переносных электрических светильников (напряжением не выше 12 В со стеклянным колпаком и металлической сеткой) или аккумуляторных фонарей во взрывозащищенном исполнении.

Слесарь при работе внутри котла цистерны должен пользоваться защитной каской, резиновой обувью, брезентовыми или кожаными рукавицами, наколенниками и подлокотниками, изготовленными из брезента и ваты, а подстилки под ноги резиновым ковриком, войлочной подстилкой с резиновой прослойкой или деревянным сухим щитом.

Заключение


Библиографический список

1. «Технология ремонта вагонов //В.Е. Пигарев, Б.В.Быков, 2008 г.

. «Конструкция вагонов» //И.Ф.Пастухов, В.В. Пигунов, Р.О. Кошкалда. 2009.

. «Технология производства и ремонта вагонов» //К.В. Мотовилов. 2007.

. «Цистерны» //В.К. Губенко, А.П. Ниходимов, Г.К. Жилин. 2010.

Похожие работы на - Технология производства и ремонта котлов цистерн

 

Не нашли материал для своей работы?
Поможем написать уникальную работу
Без плагиата!
Без нейросетей!