Технологическое оборудование для хранения и переработки сельскохозяйственной продукции
Министерство
сельского хозяйства РФ
ФГБОУ
ВПО
«Иркутская
государственная сельскохозяйственная академия»
Кафедра
технического обеспечения АПК
Отчет по
производственной практике
Технологическое
оборудование для хранения и переработки сельскохозяйственной продукции
Выполнила:
студентка 3 курса
Инженерного
факультета,
спец.:
110800.62, ТОХПСХП
Марченко
К. А.
Проверил:
Васильев Ф. А.
Иркутск
- 2014
Основная часть
Прохождение производственной практики является
важным элементом учебного процесса по подготовке специалиста в области
инженерии.
Во время её прохождения будущий инженер
применяет полученные в процессе обучения знания, умения и навыки на практике.
Целью производственной практики является
закрепление и углубление теоретических знаний и практических навыков по
технологии и технологическому оборудованию для хранения и переработки
сельскохозяйственной продукции.
Основными задачами производственной практики
являются:
· получение практического опыта работы в качестве
инженера;
· улучшение качества профессиональной
подготовки;
· закрепление полученных знаний по
общим и специальным дисциплинам;
· проверка умения студентов
пользоваться материалами;
История создания и основные этапы развития
предприятия
ПО «Барлукский промкомбинат» был создан на безе
промкомбината райпотребсоюза как промышленная отрасль потребительской
кооперации. Одним из первооснователей был Людмирский В. В.
Промкомбинат работал, по сведениям очевидцев,
еще в довоенные годы. Во время Великой Отечественной Войны промкомбинат производил
фронту ватные фуфайки, шерстяные носки и варежки, тем самым помогая многим
жителям пережить трудное время.
В послевоенные годы промкомбинат расширил свое
производство. Трудилось около 150 человек. Имелся свинооткорм, поголовье - 250
голов. Расширилось швейное производство, в ассортимент входили куртки, матрацы,
одеяла, сорочки, постельное белье и другое. Так же на заказ изготовляли капоты
для автомобилей.
На базе было 2 цеха мясного производства. В
одном из которых готовилась вареная колбаса, готовили копчености, в том числе
рыба (сельдь, скумбрия, горбуша, теша, балык). Во втором цеху, оснащенном новым
югославским оборудованием, занимались изготовлением полукопченой и вареной
колбасы. Колбасный цех существует и по сей день.
До 2006 года имелась собственная лесоделяна.
Промкомбинат имел пилораму, поставлял доски, брус, строительные конструкции,
сборные строения и столярные изделия из дерева (рамы, двери, плинтуса, панели).
В 1970-1980 годы занимались отгрузкой
пиломатериала и круглого (делового) леса в Японию на экспорт в обмен на
текстильные материалы, обувь, одежду. Внутри страны было много поставок в
Узбекистан в обмен на овощи, консервированные компоты, фрукты, ткани, запчасти
к машинам.
В связи с обеспечением более дешёвыми товарами
Китайского производства отпала надобность и выгодность в экспорте леса, так
закрылся цех лесозаготовок. Свиней на откорме перестали содержать в связи с
распространением болезней и удорожанием ветеринарных услуг.
В 90-х годах поменялось руководство. С 1997 года
начались реорганизации, в итоге которых и образовался ПО «Барлукский
промкомбинат» во главе с председателем Тишкиной Н. К.. На сегодняшний день в
рабочем состоянии два цеха: швейный и колбасный. Основной вид деятельности:
производство пищевых продуктов, производство мяса и мясопродуктов, швейное
производство.
Генеральный план объектов
На рисунке - 1 показан генеральный план
размещения объектов.
Рисунок 1. Где: 1 - Бухгалтерия; 2 - Пропускной
пункт; 3 - Старое здание мясного цеха; 4 - Швейный цех; 5 - Колбасный цех
Обеспеченность сырьем, поставщики сырья
На производстве недостаточная обеспеченность
сырьем, так как мясо закупается у индивидуальных предпринимателей и у
населения.
Вспомогательное сырье, такое как яйцо,
поставляет СПК «Окинский», лук, чеснок, соль, перец и т.п. закупают у
индивидуальных предпринимателей. Для швейного цеха материалы закупают в г.
Иркутск доме текстиля «Ангара».
Структура управления предприятием
Говоря о коллективе, работающем на ПО
«Барлукский промкомбинат», можно сказать, что он состоит всего из 10 человек,
включая руководителя (рисунок - 3).
ПО «Барлукский промкомбинат» возглавляет
председатель Тишкина Н. К., которая организует всю работу предприятия и несет
всю ответственность за его состояние и деятельность. Она представляет
предприятие во всех учреждениях и организациях, распоряжается имуществом
предприятия, заключает договора, издает приказы по предприятию, в соответствии
с трудовым законодательством принимает и увольняет работников, применяет меры
поощрения и налагает взыскания на работников предприятия.
Непосредственным заместителем руководителя, а
так же бухгалтером и кадровиком является Зиновьева Т. В.. На нее возлагаются
обязанности по организации своевременного и достоверного бухгалтерского учета;
формированию полной и достоверной информации о деятельности и имущественном
положении предприятия, за рациональным и экономным использованием материальных,
трудовых и финансовых ресурсов, предотвращению негативных явлений в
деятельности предприятия, за организацией трудового коллектива.
Колбасным цехом руководит главный технолог
Силкина В. Н., которая, руководствуясь действующей нормативной документацией,
контролирует ход технологических процессов, контролирует соблюдение рецептур
при выработке продукции, норм расхода сырья, вспомогательных материалов,
выходов готовой продукции, контролирует соблюдение сроков годности продукции,
принимает участие в разработке новых видов продукции, новых технологий. В ее
подчинении находятся работники колбасного цеха: Дудинова В. А., Константинова
Н. Е.. На них возложены все обязанности, связанные с разделкой, обвалкой и
жиловкой мяса, а так же приготавлением мясных полуфабрикатов и их фасовкой,
уборкой рабочего места.
В швейном цехе за технологические процессы
швейного производства, оптимальные режимы производства, контроль за соблюдением
правил пожарной безопасности работникам цеха отвечает Пушмина Л. К.. Выполнение
на машинах или вручную сложных операций по пошиву изделий из различных
материалов, устранение мелких неполадок в работе обслуживаемых машин, контроль
соответствия цвета деталей, изделий, прикладных материалов, ниток осуществляет
швея Яскевич С. О.
К должностным обязанностям слесаря-электрика
Кузнецова А. М. относится соблюдение техники безопасности по работе с
электрооборудованием, контроль рабочего состояния и своевременные ремонты,
мелкие слесарные работы, и другое.
В должностные обязанности сторожей входит:
проверка целостности охраняемого объекта; осуществление дежурства в проходной
предприятия; открытие и закрытие ворот; содержание помещения проходной в
надлежащем санитарном состоянии.
Рисунок 2 - Организационная структура управления
Технологический процесс работы
Обработка мяса на предприятиях небольшой
мощности осуществляется в одном помещении, при обязательном соблюдении
требований санитарного режима. Мясо нередко поступает замороженным, поэтому
первая операция технологического процесса обработки мяса - дефростация, т. е.
оттаивание. Размораживание производится на производственных столах при плюсовой
температуре. Мойка и обсушивание. Мясо обмывают для удаления поверхностных
загрязнений в ваннах с проточной водой, пользуясь капроновыми или
фонтанирующими резиновыми щётками.
Оптимальная температура воды для обмывания мяса
+25°С или +30°С.
В конце мойки для охлаждения туши обрабатывают
холодной водой с температурой +12°С, +15°С.
После мойки мясо обсушивают при помощи
хлопчатобумажной ткани.
Разруб туши на части - следующая операция - туши
делят на части на разрубочном столе мясницким топором и ножом-рубаком. Большой
нож-рубак используют для рубки костей баранины, птицы, дичи, малым ножом
нарубают мелкие кости и мясо для рагу.
Затем производятся обвалка, зачистка
и нарезка мяса на порции. Эти операции осуществляются на производственных
столах с крышками из нержавеющей стали. Обвалка мяса состоит в отделении
мышечной, соединительной и жировой тканей туши от костей, она производится при
помощи большого и малого обвалочных ножей. Зачистка заключается в удалении из
мяса плёнок, закраин и выравнивании кусков для придания им соответствующей
формы. Зачистка мяса и нарезка его на порции - при помощи большого, среднего и
малого ножей (поварская тройка). При этом большим ножом нарезают крупные куски,
средним - мелкие и снимают филе, малым - зачищают отдельные части туши и выполняют
некоторые другие операции. Все операции выполняются вручную. В результате
выполнения операций обвалки, жиловки, зачистки получают крупнокусковые
полуфабрикаты, из которых затем нарезают порционные и мелкокусковые
полуфабрикаты, котлетное мясо, кости и сухожилия. Определённые куски мясной
мякоти, полученные в процессе обвалки, нарезают на порционные и мелкокусковые
полуфабрикаты, а также пропускают через мясорубку для получения фарша, который
используется для приготовления рубленной и котлетной массы. Формовка изделий из
рубленной и котлетной массы производится вручную. Приготовленные рубленные
мясные полуфабрикаты укладывают в функциональные ёмкости и направляют в
охлаждаемые камеры <#"795362.files/image001.gif">
Рисунок 4 - Устройство мясорубки типа М-600
Загрузочное устройство выполнено в виде чаши,
снабженной деревянным толкателем (рисунок 6).
Мясорубку устанавливают на полу, корпус выполнен
в виде полой трубы, расположенной на чугунной плите. В корпусе расположена
рабочая камера для обработки продуктов. В верхней части корпуса находится
загрузочное устройство.
Разгрузочным устройством служит торец камеры
обработки.
Спереди корпус имеет наружную резьбу, на которую
навинчивают ножевую чашку. Рабочим органом служит шнек, две решетки с
отверстием, два двухсторонних ножа и подрезная решетка.
В рабочей камере вращается шнек, захватывает
мясо и подает его к ножам и решеткам, которые надевают полу шнека.
Принцип действия
Подготовленное мясо закладывают в загрузочное
отверстие и проталкивают его толкателем.
Попав в камеру мясо, захватывается ножами и
решетками.
Затем мясо продавливается через отверстия и
срезается вращающимися ножами, измельчённое мясо поступает в подставленную
тару.
Обкатка и настройка
Перед началом работы проверяется санитарное
состояние и правильность сборки. При пользовании мясорубкой сначала разбирается
та часть мясорубки, в которой непосредственно происходит процесс переработки
мяса. Убедившись, что напряжение оборудования соответствует напряжению сети,
производится пробный запуск блока двигателя мясорубки, особое внимание нужно
обратить на направление вращения оси привода, которая должна вращаться против
часовой стрелки, если стоять лицом к данной оси. Мясорубки с однофазным
источником питания перед выпуском с завода уже настроены на правильное
направление вращения. В случае, если вращение оси привода мясорубки с
трехфазным источником питания не соответствует требованиям, следует поменять
положение входных проводов любых двух фаз трехфазного источника питания, тем
самым вращение будет соответствовать требованиям. Запрещается использование
мясорубки в случае неправильного вращения. Иначе могут возникнуть неустранимые
повреждения.
При пользовании мясорубкой нужно тщательно
промывать все детали чистой водой в следующей последовательности: отвинтить
диск мясорубки, вынуть по порядку расположенные внутри решетку, нож, шнек.
Затем, чуть повернув, ослабить закрепляющий рычаг и вынуть трубу мясорубки.
После того, как все части будут тщательно промыты, в обратном порядке начать
сборку мясорубки.
Сначала устанавливается на место труба
мясорубки, при помощи фиксатора закрепить ее в надежном положении. Затем по
порядку вставляется шнек, нож и решетка, закручивается диск мясорубки. Особое
внимание следует обратить на то, чтобы внутренние части не были закручены на
оси слишком плотно.
Эти детали должны всего лишь соприкасаться между
собой.
Рисунок 5. Последовательность установки набор
режущих инструментов
После пробного запуска блока, нужно
отрегулировать данные детали в соответствующее положение, в противном случае
механическое трение повлияет на качество работы и общий срок службы.
Уход и порядок монтажа
. Шнур источника питания должен плотно
соединяться с прибором и розеткой. Необходимо иметь надежное заземление.
. Перед использованием однофазного прибора
необходимо проверить, чтобы применяемое электрическое напряжение было в рамках
допустимых значений электрического тока 220 В +/- 10 %. Если же электрическое
напряжение источника питания не соответствует требованиям по применению данного
прибора, то для подачи электричества следует использовать стабилизатор, при
котором общая суммарная мощность повысится на 20 %. В противном случае,
нормальный процесс функционирования мясорубки будет нарушен, что может привести
к поломкам двигателя.
. Мясорубка должна работать только в
соответствии с правильным направлением вращения оси, в противном случае могут
возникнуть неполадки и поломка прибора.
. Смазочное масло номер N220, применяемое для
мясорубок данной серийной модели, рассчитано на среднюю нагрузку. Обычно после
1 года применения следует проверить смазку. Если обнаружены изменения качества
смазки деталей или ее недостаточное количество, необходимо сразу же осуществить
замену или добавить смазку. Блок двигателя серийной модели ММ12, ММ22 можно
наклонить набок, открыть отверстие для заливки смазки и тем самым произвести
добавление или замену смазки. На остальных серийных моделях мясорубки
добавление или замена смазки производится путем открытия отверстия для масла на
верхней части блока двигателя.
Описание проведения технического обслуживания
фаршемешалки М-125
Фаршемешалка типа М-125 предназначена для
перемешивания фарша в процессе переработки мяса. По своей конструкции предназначена
для перемешивания главных компонентов, входящих в состав колбасного фарша.
Фаршемешалка может употребляться и для посола мяса, т.е. для однородного
распределения соли в мясе.
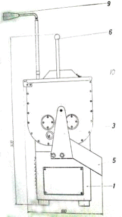
Технические данные:
Производительность, кг/ч 800
Высота, мм 1430
Ширина, мм 690
Длина, мм 1000
Объем дежи, л 125 (100 кг сырья)

Рисунок 6 - Фаршемешалка типа М-125: 1 - корпус;
2 - мешалка, деже оснащенное лопастями; 3 - держатель лопасти; 4 - опора
электромотора; 5 - разгрузочная часть; 6 - ручка; 7 - пульт управления; 8 -
электрораспределительный щиток; 9 - контактная вилка; 10 - решетчатая крышка
Проверка работы фаршемешалки
Перед началом эксплуатации фаршемешалки
необходимо проверить ее работу следующим образом:
Надеть решетчатую крышку (10) на корыто мешалки.
Нажатием на кнопку »Л« проверить левое вращение
лопастей в направлении против часовой стрелки. Выключить фаршемешалку.
Эксплуатация
Поднять решетчатую крышку; массу,
предназначенную для перемешивания поместить в корыто мешалки. Закрыть
решетчатую крышку. Нжать на кнопку »П« и произвести перемешивание. Во время
работы фаршемешалки корыто (1) должно находится в горизонтальном положении.
Ограждение предохраняет от нагиба назад.
Ручка (6) для опрокидывания корыта должна
находится в вертикальном положении в тормозной канавке,
Решетчатая крышка (10) должна быть закрыта. При
поднятии крышки фаршемешалка автоматически выключается. Перемена направления
перемешивания осуществляется нажатием на кнопку »Л«, перед этим необходимо
остановить мешалку нажатием на кнопку »0«, и подождать до полной остановки
лопастей. По окончании перемешивания приступают к выгрузке перемешанной массы
опрокидыванием корыта мешалки. Ручку (6) вывести из тормозного положения
оттягиванием налево к себе, наклоняя при этом корыто. Перемешанная масса
вытекает через разгрузочную часть (5) в приемную посуду. Выгрузка перемешанной
массы может проводиться во время работы лопастей, а также и когда они выключены
Нажатием на кнопку »0« выключить мешалку.
Обслуживание
Для долговечной и правильной работы необходим
правильный уход и проведение профилактического ремонта.
Операции по техобслуживанию и чистке
производятся только на выключенной и обесточенной машине.
Обслуживание следует производить только в
чистом, сухом и хорошо освещённом месте.
Не допускается присутствие посторонних людей к
обслуживанию машины.
Следует избегать попадания конечностей либо иных
частей тела внутрь самого аппарата или же каких-либо незащищённых отверстий, то
есть там, где имеется опасность нанесения травм. Перед началом операций по
обслуживанию надевается защитная одежда (рукавицы, защитные очки и т.д.).
Когда фаршемешалка не работает, необходимо
проверить натянутость клиновых ремней. В случае необходимости подтянуть ремни.
Подшипники осей лопастей оснащены масленками для консистентной смазки. Смазку
необходимо пополнять через каждые 100 часов работы, а так же применять смазку
для шарикоподшипников.
По окончании работы необходимо вымыть лопасти
теплой водой, используя губку и тряпку.
При эксплуатации фаршемешалки может появиться
такая неисправность, как прекращение вращения лопастей. Для устранения этой
проблемы рекомендуется проверить электропитание, предохранители и выключатели,
а так же проверить положение и натянутость клиновых ремней.
Регулярное обслуживание и правильная
эксплуатация аппарата гарантируют высокую производительность и безопасные
условия работы.
Периодически, не реже 1 раза в месяц, проверять
состояние уплотнительных прокладок, манжет и иных резино-технических изделий,
имеющихся в оборудовании.
Ежедневно проверять исправность заземления. Не
реже одного раза в год зачищать до блеска места под болты заземления и
покрывать их смазкой.
В целях поддержания надёжности в
функционировании и неизменности технических и эксплуатационных характеристик
необходимо проводить регулярные испытания и проверки, а именно:
Перед началом каждой рабочей смены:
ежедневно проверять работоспособность защитных и
предохранительных устройств;
проверять состояние силового шнура.
В конце рабочей смены:
тщательно почистить аппарат, убрав все остатки
продуктов;
снять, очистить и вернуть на место
ротор-смеситель и лопасти.
Чистка аппарата
В конце рабочей смены аппарат необходимо
тщательно очистить и продезинфицировать.
Остановить работу аппарата, перевести
переключатель ВКЛ./ВЫКЛ. в положение «0» и вытащить вилку силового шнура из
розетки.
Губкой, смоченной водой и подходящим нейтральным
(нетоксичным) обезжиривателем, удалить и вычистить остатки продуктов.
Анализ технико-экономических показателей
Эффективность производства в значительной
степени зависит от успешной реализации продукции. Хозяйство не имеет широкого
ассортимента продукции. Сбыт продукции осуществляется по каналам, которые
устанавливались постепенно. Основные данные, характеризующие деятельность
предприятия, приведены в следующих таблицах.
Таблица Анализ финансово-хозяйственной
деятельности ПО «Барлукский промкомбинат» за I
квартал 2014 года
|
Наименование
|
2014
год
|
2013
год
|
|
Объем
выпускаемой продукции, т/руб. Численность, чел. Заработная плата, т/руб.
Производительность труда в месяц, т/руб. Средняя мес. заработная плата,
т/руб.
|
316
8 129 13,2 5,4
|
410
10 140 13,6 4,7
|
|
Затраты
на производство, т/руб. Всего В том числе: Сырье, т/руб. Эл. энергия, т/руб.
Налоги, т/руб. Прочие, т/руб. Заработная плата, т/руб. Рентабельность,
прибыль, т/руб.
|
304,0
117 34 26 10 129 12
|
400
193 31,0 29 7 140 10,0
|
Из таблицы 4 видно, что в 2014 году объем
выпускаемой продукции снизился на 94 т/руб, в связи с этим уменьшилась
заработная плата на 11 т/руб. и затраты на производство на 96 т/руб.. Так же
уменьшилась численность работников на 2 человека, у оставшихся восьми поднялась
средняя месячная заработная плата на 700 руб..
Выполнение индивидуального задания
Рецептура приготовления одного килограмма
производимых котлет
· Мясо котлетное свино-говяжье - 54%
от общей доли;
· Жир-сырец - 5%;
· Хлеб пшеничный - 13%;
· Панировочные сухари - 2%;
· Лук - 3%;
· Перец - 0,1%;
· Соль - 1%;
· Вода - 22%
Коптильный аппарат
Копчение - процесс обработки пищевых продуктов
дымовоздушной смесью с целью достижения бактериального и антиокислительного
эффектов.
При этом их поверхности окрашиваются в
золотисто-коричневые цвета, а сами продукты приобретают специфический приятный
вкус и аромат копчения.
\
Рис. 7 - Коптильная установка: 1 -
дымогенератор; 2 -коптильная камера; 3 - щит управления
Устройство дымогенератора
Дымогенератор, тип ДГ-340 предназначен для
производства дыма, употребляющего в технологическом процесс тепловой обработки
полукопченой продукции в камерах типа ТДК-1Е и в других камерах. Удобная
конструкция позволяет производить дым, необходимый для процесса термообработки
и копчения полукопченых колбас, мяса и шпика.
Технические данные:
Высота - 2020 мм
Ширина - 650 мм
Длина - 988 мм
Электрический ввод 3 кВт, 220/380 В, 50 Гц
Расход воды - 5 л/мин
Расход древесных опилок - 12-15 дцм3/час
Дымогенератор, тип ДГ-340 сконструирован для
сгорания древесных опилок с целью производства дыма для копчения мяса и колбас
(рисунок 10). Представляет собой компактный закрытый короб с панелью
выключателей, бункером для подачи стружки - 1 и трубой для отвода дыма. Внутрь
короба встроена лопастная мешалка - 2 с ворошителем - 6, заслонка - 3 для дозирования
опилок, камера сгорания - 5 с колосниковой решеткой - 4. Так же имеется дымовой
фильтр с противопожарной завесой (рисунок 11).
Процесс работы дымогенератора следующий: опилки
из контейнера с помощью лопастой мешалки и ворошителя опилок попадают на
решетку нагревающей плиты.
При включении дымогенератора нагреватель
нагревающей плиты колосниковой решетки нагревает опилки до момента их загорания
(время около 40 мин). Когда опилки загорятся, нагреватель выключается и
включается вентилятор для создания тяги и лопастая мешалка с ворошителем. С
помощью реле времени «ПАУЗА» регулируется интенсивность копчения. Среднее время
паузы 6 минут, с увеличением времени паузы уменьшается интенсивность копчения,
а с уменьшением увеличивается. При каждом насыпании опилок на решетку сгорания
пепел падает в пепельницу. Этот процесс непрерывно повторяется, т. е. генератор
непрерывно производит дым. Произведенный дым из камеры горения через фильтр
отводится в камеру для копчения.
Количество воздуха, необходимое для сгорания
опилок, регулируется воздушной задвижкой.
Специальная форсунка находящаяся в дымовом
фильтре, мелко разбрызгивает воду и создает водяную завесу, имеющую две
функции: противопожарную и фильтрирующую.
Рисунок 8 - Дымогенератор типа ДГ-340
Рисунок 9. Фильтр: 1 - подводящий шланг со
скрепкой присоединения к водопроводу и ловушкой нечистот; 2 - гайка с барашком;
3 отводящий сифон
Эксплуатация
Включение дымогенератора производится следующим
образом:
· Наполнить контейнер опилками. Для этого опилки
просеять через решетку (сито) на контейнере. Все частицы, большие отверстий
решетки, нужно удалить с решетки. Контейнер наполнить так, чтобы из-под уровня
решетки осталось свободное место высотой около 5 см.
· Временное реле нагревателя
установить в положение «0». Открыть дверцу корпуса, нажать на кнопку „ручная
дозировка" и насыпать опилки на плиту нагревателя.
Слой опилок на плите нагревателя должен быть на
уровне или из-под колосниковой решетки. Если он больший, то необходимо опустить
ниже регулирующее кольцо.
· Если опилки сухие, то временное реле нагревателя
установить в положение 30 мин., если средней влажности в положение 40 мин, при большой
влажности в положение 45 мин.
· Временное реле «ПАУЗА» установить в
положение 10 минут.
· Проверить соответствует ли положение
временного реле «ДОЗАТОР».
· Задвижку вентилятора, создающего
тягу, установить на 1/4 открытого положения.
· Нажать на кнопку «СТАРТ».
По истечении времени работы нагреватели
(например 40 мин) загорятся древесные опилки и он выключится. В этот момент
автоматически включится дымогенератор, что сопровождается включением сигнальных
лампочек на программаторе дымогенератора.
По включении дымогенератора необходимо
проконтролировать его работу, открыть кран для подвода воды в фильтр. Сгорание
контролируется открыванием дверки камеры горения дымогенератора, после чего
наблюдением устанавливается, загорелись ли опилки на всей поверхности плиты
нагревателя. Второе наблюдение проводится непосредственно перед окончанием
10-минутной паузы, что можно проследить по движению стрелки временного реле,
движущейся от установленного положения 10 мин к положению «0». Это наблюдение
необходимо провести, когда стрелка будет находиться в положении 1 мин. В этот
момент открыть дверцу камеры и осмотреть зону сгорания опилок. Если за это
время сгорело около 2 см, от колосниковой решетки значит, дымогенератор
правильно отрегулирован и работает с максимальной мощностью. Если сгорело
больше 2-х см от уровня решетки сгорания, то дымогенератор работает правильно,
но с меньшей интенсивностью копчения (с меньшей мощностью).
Если требуется увеличить интенсивность копчения
в процессе работы дымогенератора, то необходимо уменьшить время «ПАУЗЫ»
дозатора, напр. на 8,6 и максимально на 4 мин. Таким же образом можно уменьшить
интенсивность копчения увеличением времени на 12 мин. После этой проверки
необходимо проверить не горят ли опилки пламенем, что регулируется закрытием
или открытием задвижки, регулирующей тягу. Регулировку можно проводить
увлажнением опилок. Рекомендуется употреблять опилки средней влажности.
Посте этого дымогенератор можно считать
отрегулированным и в дальнейшем он работает автоматически. Необходимо
периодически контролировать количество опилок в контейнере, достаточное для 8
часов работы. Также необходимо периодически контролировать интенсивность
копчения, зависящие от технологического процесса термообработки. Если работа
дымогенератора отрегулирована и качество опилок не меняется, то при следующем
включении дымогенератора (например, на следующий день) нет необходимости в
повторении вышеописанных действий регулировки. В этом случае опилки с помощью
ручной дозировки помещаются на нагревательную плиту, и включается
дымогенератор.
Выключение дымогенератора.
Краткосрочная остановка дымогенератора
производится нажатием на кнопку «ВЫКЛ».
По окончании рабочего дня дымогенератор
необходимо привести в состояние покоя и подготовить его для следующего
включения. Для этого необходимо:
· главный выключатель установить в положение «О»;
· закрыть кран с водой на фильтре;
· открыть дверцу камеры горения и с
помощью специального прибора для очистки провалить раскаленные опилки в
пепельницу и подождать, пока они совсем не погаснут;
· очистить камеру горения и очистить
пепельницу от пепла с помощью скобеля;
· закрыть дверку камеры горения.
Уход и смазка.
Для долговечной и правильной работы
дымогенератора необходим правильный уход и проведение профилактического
ремонта.
Прежде всего, необходимо обратить внимание на
то, чтобы дымогенератор и все его элементы содержались в чистоте.
Ежедневный уход заключается в следующем:
· ежедневно хорошо очищать корпус камеры,
нагревательные плиты и пепельницу дымогенератора, протирать все внешние
поверхности дымогенератора,
· ежедневно снимать и промывать сифон
фильтра,
· через каждые 100 часов основательно
очищать дымовой фильтр. Для этого необходимо отвернуть гайку с барашком, вынуть
спираль. Разборка фильтра проводится без употребления инструментов. Через
каждые 100 часов необходимо очищать сетчатый вкладыш фильтра.
· один раз в год производить смазку
шарикоподшипников вентилятора. Употреблять смазку для шарикоподшипников.
Возможные неисправности и способы их устранения:
|
НЕДОСТАТОК
|
ПРИЧИНА
|
УСТРАНЕНИЕ
|
|
Не
загораются
|
Электрический
ток
|
-
проверить электропитание,
|
|
опилки
|
|
-
проверить предохранители и
|
|
Электронагревательный
выключатель
|
заменить
неисправные; - проверить автоматический электровыключатель и включение
биметалла.
|
|
Временное
реле
|
Заменить
неисправные детали; - проверить временное реле, проверить находится ли оно
|
|
Электронагреватель
|
в
положении 40 мин; - проверить электронагревателя, заменить перегоревший
|
|
Нет
дыма
|
Не
загорелись опилки
|
|
Дозатор
не поворачивается
|
-
Включить дозатор
|
|
Засорен
фильтр
|
-
Очистить фильтр
|
|
Дымится
контейнер с опилками
|
Мало
опилок в контейнере
|
-
наполнить контейнер.
|
|
Закрыт
отвод дыма
|
-
открыть задвижку.
|
|
Засорен
фильтр
|
-
очистить фильтр,
|
|
Маленькая
пауза дозатора
|
-
увеличить время паузы.
|
|
Слишком
большая тяга
|
-
прикрыть воздушную
|
|
Плохое
уплотнение
|
задвижку.
|
|
дверки
корпуса
|
-
применить дверное уплотнение
|
Термодымовая камера типа ТДК-1Е
Камера термодымовая типа ТДК-1Е предназначена
для копчения мяса, кур, рыбопродуктов (рисунок 12).
Камера состоит из корпуса, моноблока и пульта
управления. Корпус камеры представляет собой герметичный шкаф. Термодымовой
блок с корпусом камеры соединяется при помощи кронштейнов и болтов. Основание,
стенки корпуса и дверь - полые. Пространство между наружной и внутренней
обшивками, заполнено термоизолирующим материалом, снижающим нагрев наружных
поверхностей при работе камеры. Это позволяет более экономично расходовать
электроэнергию, а также избежать ожогов обслуживающего персонала при эксплуатации
изделия.
Верхней частью камеры является термодымовой
блок, в котором смонтированы: вентилятор, служащий для принудительной
циркуляции технологической среды, электронагреватель для нагрева
технологической среды, до температуры, соответствующей требованиям
технологического процесса обработки продуктов и узел водяной форсунки. В
конструкции камеры предусмотрен откидной трап для удобства вкатывания тележки с
продукцией, подлежащей обработке. Дымогенератор соединен с камерой с помощью
трубопроводов.
Рисунок 10. Схема распределения дымо-воздушной
смеси в термодымовой камере
Продукция навешивается на вешала или
укладывается в сетчатые поддоны равномерно по всему объему, при этом необходимо
следить, чтобы изделия, подвергаемые обработке, не соприкасались друг с другом.
Вешала или поддоны с продукцией устанавливаются в камеру. Дверь плотно
закрывается, запоры затягиваются. В дымогенераторе загружаются древесные
опилки. На пульте управления устанавливается требуемый режим обработки.
Температура отслеживается с помощью датчиков на пульте управления.
Технологическое обслуживание
К работе с камерой допускаются лица, знающие ее
устройство и правила эксплуатации.
Отключение камеры от электросети производится
выключением пускового устройства на пульте управления. Дверь камеры при
работающем вентиляторе открывать запрещается.
Камера должна содержаться в чистоте. Санитарная
обработка внутреннего объема камеры должна производиться ежедневно, перед
загрузкой камеры продуктами и по окончании технологического процесса обработки
в соответствии с санитарными требованиями, а наружных поверхностей 1 раз в
неделю с применением моющих средств.
Во избежании закорачивания ТЭНов, расположенных
в термодымовом блоке, необходимо отмывать и очищать механические изоляторы и
выводные стержни от продуктов сгорания опилок. Для этого необходимо снять
крышки и вынуть кассеты с ТЭНами.
Ежемесячно производить проверку заземления
(сопротивление заземляющего контура не более 0,1Ом.).
Технический осмотр производить 1 раз в месяц
(или после наработки 200 часов). При техническом осмотре производится проверка
электрических соединений, работоспособность ТЭНов и замена их при необходимости
работа вентилятора, смазка дверных петель, чистка форсунки.
Средства и методы контроля качества продукции
На ПО «Барлукский промкомбинат» координацию
работ по обеспечению качества продукции осуществляет главный технолог.
Сертификация, стандартизация и контроль качества
продукции являются важнейшими органически взаимосвязанными между собой
элементами общего механизма управления качеством. На предприятии ПО «Барлукский
промкомбинат» стандартизация и сертификация качества выпускаемой продукции
выражена таким документом, как Сертификат соответствия, который выдается на
каждый вид продукции один раз в 3 года.
В процессе производства ПО «Барлукский
промкомбинат» использует мясное сырье, только от проверенных поставщиков.
Особое внимание предприятие уделяет чистоте рецептуры и никогда не практиковала
применение генно-модифицированных продуктов и организмов (ГМО).
В технологии изготовления колбас и мясных
деликатесов применяется только охлажденное мясо и натуральные пряности и
специи. Процесс копчения происходит использованием древесной щепы, что
обеспечивает естественный аромат копченостям, а не суррогатный с обработкой
«жидким дымом».
Важным средством поддержания требуемого уровня
качества продукции является систематический контроль:
· входной контроль - приемка сырья и
полуфабрикатов по количеству и качеству;
· операционный контроль - контроль технологических
процессов на всех стадиях производства;
· приемочный контроль - контроль качества
выпускаемой продукции.
При осуществлении входного контроля проверяют
наличие сертификата качества и гигиенического сертификата, без них продукция не
принимается. Кроме того, проводят органолептическую оценку в соответствии с
нормативной документацией.
При операционном контроле проверяют
последовательность технологических процессов, температурные режимы,
соответствие сырьевого набора технологическим и технико-технологическим картам,
стандартам предприятий, ТУ и другой нормативной документации.
При приёмочном контроле в течение рабочего дня
контроль качества изделий осуществляет непосредственно технолог путём контроля
соблюдения требований технологических карт, норм отходов, технологических
процессов приготовления продукции.
То есть, можно сказать, что контроль за
качеством продукции и соблюдением технологических режимов осуществляется на
всех стадиях производства.
мясной цех фаршемешалка дымогенератор
Заключение
Прохождение практики является важным элементом
при подготовке будущего специалиста. В период прохождения производственной
практики на ПО «Барлукский промкомбинат» я проделала следующую работу:
· ознакомилась с предприятием, основными узлами
аппаратуры, оборудованием с помощью которой она обслуживаются;
· приобрела навыки сборки, монтажа и
обкатки и регулировки технологического оборудования на заданные режимы работы;
· ознакомилась с системой
профессиональных обязанностей и должностными инструкциями специалистов цеха;
· активно участвовала в деятельности
предприятия, оказывая помощь сотрудникам;
· изучила основную документацию,
технико-экономические показатели.
Успешному прохождению производственной практики
способствовало доброжелательное отношение руководителей предприятия, помощь с
их стороны, привлечение к посильной работе.
Результаты выполненной работы были занесены в
дневник практики.
Список используемой литературы
1.
Техническая документация технологического оборудования;
.
Статистическая и бухгалтерская документация предприятия;
.
Рогов И. А., Забашта А. Г., Казюлин Г. П. Общая технология мяса и
мясопродуктов./ И. А. Рогов, А. Г. Забашта, Г. П. Казюлин. - М: Колос, 2000.
367 с.;
.
Драгилев А. И., Дроздов В. С. Технологическое оборудование предприятий
перерабатывающих отраслей АПК./ А. И. Драгилев, В. С. Дроздов. - М.: Колос,
2001. - 230 с.;
.
Рецептурные журналы.