Сооружение и эксплуатация газонефтепроводов и газонефтехранилищ

  • Вид работы:
    Курсовая работа (т)
  • Предмет:
    Другое
  • Язык:
    Русский
    ,
    Формат файла:
    MS Word
    3,84 Мб
  • Опубликовано:
    2014-07-21
Вы можете узнать стоимость помощи в написании студенческой работы.
Помощь в написании работы, которую точно примут!

Сооружение и эксплуатация газонефтепроводов и газонефтехранилищ

МИНОБР науки РФ ФЕДЕРАЛЬНОЕ АГЕНСТВО ПО ОБРАЗОФАНИЮ

НГОУ ВПО "Камский институт гуманитарных и инженерных технологий"

НЕФТЯНОЙ ФАКУЛЬТЕТ






Контрольная работа

Сооружение и эксплуатация газонефтепроводов и газонефтехранилищ


Выполнил(а):

студент гр.ЗНД-9

A.C.Накаряков

Проверил:

Кудряшова А.Г.




г.Ижевск

г.

Содержание

1.           Проектирование газонефтепроводов, газонефтехранилищ

2.      Содержание одного из СНиПов

.        Классификация магистральных нефтегазопроводов

.        Схема прокладки магистрального нефтепровода (газопровода)

.        Защита нефтепровода (газопровода) от коррозии

.        Сооружение фундамента и разворачивание РВС - 5000

.        Особенности перекачки газа

Список использованной литературы

1. Проектирование газо - нефтепроводов, газо - нефтехранилищ

газонефтепровод коррозия фундамент перекачка

Первым этапом в процессе строительства магистральных нефтегазопроводов и нефтегазохранилищ является этап проектирования.

Проектные работы должны вестись в соответствии с требованиями СНиП 2.05.06-85 "Магистральные трубопроводы", ТСН 12 - 301 - 96. Как правило, такие объекты сооружаются на длительный период эксплуатации и требуют больших капиталовложений.

К предпроектным работам относятся технико-экономические соображения (ТЭС) и технико-экономический доклад (ТЭД). Развитие сети нефтегазопроводов осуществляется на основе технико-экономического обоснования (ТЭО) с выявлением наиболее оптимальных направлений проектируемых нефтяных и газовых магистралей. Задание на проектирование выдает инвестор или его доверенное лицо. Обычно проектирование ведется в две стадии - составление технического проекта и разработка рабочих чертежей. Допускается составление проекта в одну стадию - технический проект, совмещенный с рабочими чертежами.

При составлении ТЭО:

-        выполняется анализ ресурсов нефти, нефтепродуктов, газа, предназначенных для транспортировки по данному трубопроводу;

-        составляется баланс грузопотоков в динамике по годам;

         выбирается генеральное направление трассы трубопровода;

         определяется производительность трубопровода при полном развитии и по очередям строительства;

         находится оптимальный диаметр и необходимое число перекачивающих станций;

         устанавливается очередность строительства и ввода мощностей;

         определяется стоимость строительства на основании укрупненных нормативов капиталовложений.

После выбора генерального направления трассы трубопровода проектировщик проводит инженерные изыскания (изыскательские работы). В задачу инженерных изысканий входит наиболее детальный сбор и уточнение исходных данных, необходимых для проектирования, а также для увязки различных вопросов строительства с центральными и местными органами. В результате окончательных изысканий при камеральной обработке уточняют план, ситуацию и продольный профиль. Последний является основным графическим материалом, при помощи которого определяются расстояния между перекачивающими станциями, строят эпюры расчетных давлений по трубопроводу. При инженерно-геологических изысканиях производят проходку разведочных выработок по окончательно выбранной трассе, контрольные обследования сложных участков и переходов, определяют глубины промерзания грунтов, их коррозионную и агрессивную активность.

Генеральный проектировщик может привлекать для работы специальные проектные организации, имеющие лицензии на необходимые виды проектных работ. Проектная организация производит расчеты магистральных нефтепроводов и нефтепродуктопроводов, которые принято называть технологическими расчетами. В состав технологического расчета входит собственно гидравлический расчет трубопровода, выбор оборудования, механические и теплотехнические расчеты, технико-экономический расчет, выбор оптимального диаметра трубопровода.

Гидравлический расчет трубопровода

В задачу гидравлического расчета магистрального трубопровода входит определение суммарных потерь напора по длине трубопровода, числа перекачивающих станций и расстановка их по трассе трубопровода. Определяются пропускная способность и рабочее давление. По пропускной способности и вязкости перекачиваемого продукта находят диаметр и режим течения жидкости, от которого зависит коэффициент гидравлического сопротивления. Затем определяют потерю напора и гидравлический уклон.

Диаметр трубопровода в (м) определяют при заданной пропускной способности и принятой скорости течения жидкости (1,5-2,5 м/сек) по формуле:

D =

Где:

q - секундная пропускная способность (расход), м³/с;

 - скорость течения жидкости, м/c.

Или задаваясь диаметром трубопровода, определяем среднюю скорость движения жидкости:

w = 4Q / πd²

Потерю напора на трение h (в м) в трубе круглого сечения определяют по формуле Дарси - Вейсбаха:

h =

Где: λ - коэффициент гидравлического сопротивления; l - длина трубопровода, м; w - скорость движения жидкости, м/c; g - ускорение силы тяжести, м/с²

Коэффициент гидравлического сопротивления (трения) λ является безразмерной величиной и зависит от режима движения жидкости, характеризуемого критерием Рейнольдса (Rе), зависящим в свою очередь от средней скорости жидкости W, от диаметра трубы D и от кинематической вязкости жидкости ν.

Re =

При ламинарном течении жидкости (при Re ≤ 2000) в трубе круглого сечения значение коэффициента трения зависит от величины Re и определяется по формуле Стокса.

λ =

При Re ≥ 3000 движение жидкости происходит при турбулентном режиме и коэффициент гидравлического сопротивления рассчитывается для гладких, шероховатых труб по более сложным формулам. Для практических решений существуют специальные таблицы определения коэффициента λ.

Выбор оптимального диаметра нефтепровода и нефтепродуктопровода

Определенное количество нефти или нефтепродуктов может быть теоретически перекачено по трубопроводам различного диаметра. Чем меньше диаметр (при одинаковой пропускной способности трубопровода), тем больше требуемый напор, следовательно, необходимо больше станций и, наоборот, чем больше диаметр, тем требуется меньше станций. Поэтому наиболее выгодным диаметром трубопровода является тот, при котором требуются меньшие капитальные затраты и эксплуатационные расходы при максимальной пропускной способности. Чтобы решить, какой вариант является более выгодным, пользуются показателем сравнительной экономической эффективности капитальных вложений, характеризующим минимум приведенных затрат.

П = Э + Е К = min,

Где: П - приведенные затраты; Э - эксплуатационные расходы; К - капитальные вложения; Е - отраслевой нормативный коэффициент эффективности с учетом срока окупаемости; Т - приведенные затраты, можно выразить следующим выражением:

П = К / Т + Э

Иногда при оценке сравниваемых вариантов пользуются показателем срока окупаемости:

Т = К1 - К2 / Э1 - Э2,

Где: К1 , К2 , и Э1 , Э2 - соответственно капитальные и эксплуатационные затраты рассматриваемых вариантов строительства.

Свойства нефти, влияющие на технологию ее транспорта

На технологию транспорта и хранения нефтей влияют их физические свойства (плотность, вязкость), испаряемость, пожаровзрывоопасность, электризация, токсичность. Плотность нефти при 20ºС колеблется в пределах от 760 до 940 кг / м³. С увеличением температуры она уменьшается по закону прямой.

Вязкость нефти при 20ºС в 1,3 ÷ 310 раз превышает вязкость воды. Величина вязкости предопределяет способ транспортировки нефтей по трубопроводам.

Маловязкие нефти перекачивают при температуре окружающей среды без предварительной обработки. Вязкость нефти зависит от содержания в ней асфальтосмолистых веществ, а также парафина. Высокопарафинистые нефти застывают при положительных температурах (до + 30ºС) и при малых перепадах давления ведут себя как твердое тело (не текут). Для примера приведем основные параметры нефти нескольких регионов.

Таблица 1.

 Регион

Плотность при 20ºС, кг/м³

Кинематическая вязкость при 20ºС,мм/c

Температура застывания ºС

Содержание парафина, %

Пермский

802 ÷ 960

4,2 ÷ 161,8

60 ÷ -13

2,0 ÷ 10,4

Башкортостан

846 ÷ 918

6,7 ÷ 89,8

21 ÷ - 70

2,1 ÷ - 70

Татарстан

846 ÷ 910

8,7 ÷ 98,3

30 ÷ - 52

3,5 ÷ 5,1

Коми

822 ÷ 849

6,2 ÷ 13,8

10 ÷ - 40

2,0 ÷ 10,4

Краснодарскийкрай

771 ÷ 938

1,6 ÷ 310,3

54 ÷ 3

0,5 ÷ 8,3


Основные объекты и сооружения магистральных нефтепроводов

Магистральный нефтепровод (МНП) состоит из следующих сооружений:

·        подводящие трубопроводы, связывающие источники нефти с головными сооружениями МНП;

·        головная перекачивающая станция (ГПС), на которой производится приемка нефти, смешение или разделение их по сортам, учет и перекачка на следующую станцию;

·        промежуточные перекачивающие станции (ППС), с помощью которых

·        нефть, поступающая с предыдущей станции, перекачивается далее;

·        конечный пункт (КП), где нефть принимается из трубопровода, распределяется потребителям или отправляется потребителям другими видами транспорта;

·        линейные сооружения трубопровода, к которым относятся собственно трубопровод или линейная часть, линейные технологические колодцы на трассе, станции катодной и протекторной защиты, дренажные установки, а также переходы через естественные и искусственные препятствия (реки, дороги и т.п.). Кроме того, сюда относят линии связи, дома обходчиков, вертолетные площадки, грунтовые дороги, прокладываемые вдоль трассы трубопровода, устройства приема и пуска скребков, разделителей, диагностических снарядов. Запорная арматура устанавливается на трубопроводе через 15 - 20 км безколодезным способом с учетом рельефа местности таким образом, чтобы разлив нефти в случае возможной аварии был минимальным. Камеры приема и пуска скребка размещаются на расстоянии друг от друга до 300 км и, как правило, совмещаются с нефтеперекачивающими станциями. Нефтеперекачивающие станции подразделяются на головные и промежуточные. Промежуточные НПС размещают по трассе трубопровода согласно гидравлическому расчету, обычно через 100 - 200 км. Конечным пунктом нефтепровода обычно является нефтеперерабатывающий завод или крупная перевалочная нефтебаза. На рис. 1., показаны все сооружения на трассе нефтепровода.

Рис. 1. Состав сооружений магистрального нефтепровода: 1 - подводящий трубопровод; 2 - головная нефтеперекачивающая станция; 3 - промежуточной нефтеперекачивающая станция; 4 - конечный пункт; 5 - линейная часть; б - линейная задвижка; 7 - дюкер; 8 - надземный переход; 9 - переход под автодорогой; 10 - переход под железной дорогой; 11 - станция катодной защиты; 12 - дренажная установка; 13 - дом обходчика; 14 - линия связи; 15 - вертолетная площадка; 16 - вдольтрассовая дорога

Земляные работы

Объем земляных работ на линейной части зависит от схемы прокладки трубопровода и профиля траншеи. Выбор схемы прокладки определяется условиями строительства и на основании технико-экономического сравнения различных вариантов. На рис.2. показаны схема прокладки и профиль трубопровода.


Выбор трассы является очень ответственным элементом в процессе строительства трубопровода. Основным вариантом прокладки трубопроводов является подземный, рис.3.

Рис. 3. Подземные схемы прокладки трубопровода: а - прямоугольная форма траншеи; б - трапецеидальная форма траншеи; в - смешанная форма траншеи; г - укладка с балластировкой седловидными пригрузами; д - укладка с использованием винтовых анкеров для закрепления против всплытия

На не пахотных землях могут быть использованы полуподземный или наземный варианты. В определенных условиях трубы прокладываются на сваях, такой способ прокладки трубопровода называется надземным. Особо осложненные условия прокладки трубопроводов на крайнем Севере (см. табл. 2).

Табл. 2

 Месторождения

Площадь, в % к общей площади месторождения


Суходол

Поймы

Типы болот

 Озера




1

2

3

всего


Федоровское

17,8

-----

29

14,7

14,6

58,3

23,9

Холмогорское

9,8

-----

14,5

33,2

25,4

73,1

17,1

Муравленковское

10

-----

30

20

20

70

20

Суторминское

15,3

0,6

11,9

28,4

36,6

76,9

7,2

Южно-Сургутск.

26,7

69,1

4,3

-----

-----

4,3

-----


Подводные переходы, переходы через автомобильные и железные дорогию. К подводным переходам относятся участки магистральных трубопроводов, пересекающие естественные и искусственные водоемы (реки, озера, водохранилища) по их дну. Схема подводного перехода включает основную и резервную нитку (дюкер). При ширине водной преграды в межень (в среднем) менее 75 м резервную нитку допускается не сооружать. Магистральные трубопроводы прокладывают, как правило, с заглублением в дно водоемов. Земляные работы под водой выполняют специализированные организации с помощью земснарядов, грунтососов или гидромониторов. Например, прокладываемый через Черное море газопровод "Голубой поток" заглублен в дно до глубины воды 500 м, далее проложен по дну моря. Балластировка или утяжеление трубопровода производится с целью предотвращения его всплытия. Наиболее надежными являются чугунные пригрузы. Схема подводного перехода показана на рис. 4.

Рис 4 Схема подводного перехода: 1 - отключающие устройства (задвижки - на нефтепродуктопроводах, краны - на газопроводах); 2 - основная нитка трубопровода; 3 - резервная нитка трубопровода.

Переходы через железные и автомобильные дороги прокладываются с помощью горизонтального бурения или продавливанием специального патрона, рис.5.

Рис. 5 Схема горизонтального бурения: I - буровой инструмент; 2 - рабочий котлован; 3 - опора; 4 - тросы; 5 - трубоукладчик; 6 - силовая установка; 7 - шнековый транспортер; 8 - ролики; 9 - прокладываемый кожух; 10 - разрабатываемый грунт

Перед водными преградами и после них в обязательном порядке на трубопроводе устанавливается запорная арматура, то же самое делается перед и после железной и автомобильной дорог. Через небольшие реки и овраги трубопроводы могут прокладываться наземным способом. На рис.6. показаны наземные схемы переходов через естественные и искусственные препятствия.

Рис. 6. Надземные схемы переходов через естественные и искусственные препятствия:

а - однопролетный балочный переход; б - арочный переход; в - многопролетный балочный переход с компенсатором; г - трапецеидальный переход; д-вантовый переход; е - висячий переход; ж - переход в виде самонесущей провисающей нити; 1 - трубопровод; 2 - опора; 3 - пилон; 4 - якорь; 5 - несущий трос

2. Содержание одного из СНиПов

Трубы и сварочные материалы. Для строительства линейной части магистральных трубопроводов используют цельнотянутые, сварные (прямо и спиральношовные) трубы отечественного (табл. 3) и импортного (табл. 4) производства. Поставка труб регламентируется техническими условиями. Для сварки труб применяют электроды отечественного и зарубежного производства (табл. 5), сварочную проволоку (табл. 6) и флюс.

При разгрузке, складировании, погрузке, транспортировке и хранении труб и трубных секций необходимо принимать меры по их сохранности.

Электроды, сварочную проволоку и флюс применяют в соответствии с техническими условиями.

Изоляционные материалы. Для антикоррозионной защиты наружной поверхности стальных магистральных трубопроводов применяют полимерные покрытия и покрытия, приготовленные на битумной основе, главным образом битумно-резиновые, наносимые на тонкий слой грунтовки (битумной или клеевой).

Нефтяные битумы марок БНИ-IV, БНИ-1У-3 и БНИ-V, а также строительные битумы марок БН-IV и БН-V составляют основу битумно-резиновых изоляционных покрытий, к которой для повышения тугоплавкости и вязкости изоляционной мастики добавляют разные наполнители и пластификаторы. Физико-механические свойства битумов приведены в табл. 7.

В качестве наполнителя применяют преимущественно резиновую крошку, получаемую из утилизированных автомобильных, тракторных и других покрышек. Физико-механические свойства резиновой крошки следующие: содержание текстиля - не более 5%, влаги - не более 1,5%, черных металлов после магнитной сепарации--не более 0,1 %, прочие включения не допускаются; просев через сито с отверстиями 1,5 мм-100%, 1 мм - 96%.

Пластификаторы вводят в состав битумной мастики для придания ей повышенной пластичности при отрицательных температурах. В качестве пластификаторов применяют разные нефтяные масла (зеленое, осевое, трансформаторное, автотракторное), а также полимерные добавки (полиизобутилен П-20, П-118, П-200). Физико-механические свойства зеленого масла следующие: плотность при 20 °С не менее 970 кг/м3; температура начала перегонки - не ниже 165 °С, окончания перегонки - не выше 350 °С, коксуемость - не более 0,75 %; содержание нафталина - не более 8 %, серы - 1 %, воды - 0,2 %. Изоляционные мастики на битумной основе, как правило, армируют. В качестве армирующего материала используют стекловолокнистый холст (в виде рулонного материала).

Техническая характеристика холста

Марка холста ВВ-КВВ-Г

Толщина, мм0,50,5

Ширина, мм 960400

Усилие разрыву, Н 29,415,68

Температура эксплуатации, °СОт - 30 до + 30От -30 до +30

Битумная грунтовка представляет собой раствор битума БН-IV или БНИ-IV в неэтилированном авиационном бензине Б-70 (1:3, по объему, или 1:2, по массе). Битумно-резиновые мастики, техническая характеристика которых приведена в табл. 8, на строительные площадки, как правило, поступают в мешках из крафт-бумаги (масса 25-45 кг) или в упаковках с оберткой из крафт-бумаги (масса 150-200 кг) в готовом виде. На битумоплавильных базах мастику очищают от крафт-бумаги, разделывают на куски массой 2-5 кг, разогревают в специальных котлах до 180 °С, а затем битумовозами доставляют ее на трассу к изоляционным машинам.

Все магистральные трубопроводы диаметром 720 мм и более, а также часть трубопроводов меньшего диаметра (не считая труб, изолированных в заводских условиях) в последние годы изолируют полимерными лентами отечественного производства, изготовленными из полимерных пленок с нанесенным на одну сторону ленты клеевым слоем. Применяются также импортные полимерные материалы, поставляемые в рулонах. Техническая характеристика липких и полимерных лент приведена в табл. 9. Полимерные липкие ленты наносят на загрунтованный трубопровод.

Полимерные изоляционные покрытия трубопроводов в обязательном порядке защищают от механических повреждений разными обертками, например типа ПДБ, ПРДБ, бризол, толь-кожа, а также импортными защитными обертками, изготовленными на полиэтиленовой основе. Защитные обертки поставляют в рулонах. Чаще всего в качестве защитной обертки используют бризол марок ГИ-1 и ГИ-2.

Техническая характеристика бризола

Марка бризолаГИ-1ГИ-2

Масса рулона, кг, не менее1211,5

Водопроницаемость (в сут.) под давлением

столба воды высотой 5 см, не более3020

Водонасыщение (в % , по массе) через 24 ч,

не более1013

Отношение массы пропитки к массе абсолютно сухой бумаги, не менее 0,6 : 10,55 : 1

Примечание. Площадь рулона (19+0,5) м2; предел прочности на растяжение полоски шириной 50 мм - 2.94 МПа; гибкость (число двойных перегибов на 180 ° до появления сквозных трещин) при температуре (180±2) СС - не менее 10, температура размягчения протирочной массы 50 °С.

Марки изоляционных лент зарубежного производства и клеевых грунтовок для них приведены в табл. 10.

При поступлении партии изоляционных материалов проверяют соответствие сертификатов техническим условиям поставки и фактическое количество прибывших материалов количеству, указанному в отгрузочных документах, а также сохранность (состояние) упаковки и материала.

Табл. 3


Табл. 4


Табл. 5

 Марка электрода

 Тип электрода

Предел прочности, МПа

Предел текучести, МПа

Относительное удлинение, %

УО НИ-13/55 "Гарант" ВСЦ-4 ВСЦ-4А "Фокс Цель" ВСФС-50 ВСФ-60 ВСФ-65 Шварц-ЗК ВСФ-75

Э50А Э50А Э42Ц Э50Ц Э42Ц Э50А Э60А Э60А Э60Б Э70Б

509,6-539 490-529,2 431,2-509,6 439,8-588 431,2-509,6 490-539 588-637 637-686 617,4-676,2 735-784

392-411,6 392-401,8 343-411,6 392-470,4 352,8-411,6 362,6-392 470,4-529,2 490-539 519,4-539 588-637

22-26 24-30 20-28 18-28 20-30 25-30 25-28 22-28 22-28 18-22


Табл. 6

Марка сварочной проволоки

Механические свойства металла шва и сварного соединения


Предел прочности, МПа

Предел текучести, МПа

Относительное удлинение, %

СВ-08А, СВ-08АА СВ-08ГА СВ-08ХМ, СВ-08МХ СВ-08ГА СВ-08ХМ, СВ-08МХ

509,6-529,2 578,2-597,8 705,6-764,4  568,4-588 666,4-705,6

382-421,4 421,4-450,8 480-558,6  431,2-450,8 499,8-553,7

23-26 23-25 18-20  23-24 19,5-22,5


Табл. 7


Табл.8 Примечание. Мастики марок МБР-65 и МБР-75 применяют на негорючих участках трубопроводов в северных и центральных районах; МБР-90 и МБР-100- в летнее время на горючих участках трубопровода в южных районах.


Табл. 9


Примечание. Липкость клея не менее 20 с, удельное электрическое сопротивление пластиката при 20 °С - не менее 1 • 1013 Ом • м.

Табл. 10

Изоляционная лента

Клеевая грунтовка

Плотность грунтовки, кг/м3

"Поликен 980-20" "Нитто-53" "Фурукава-Рапко КС" "Секисун-841" "Денсо Р-20" "Плайкофлекс 340-20"

"Поликен-919" "Нитто-В" "Фурукава" "Секисун", "Нитто-В" "Денсолен-М" "Плайкофлекс-105"

780 770 750 780 780 810


. Классификация магистральных нефте - газопроводов

В соответствии с российскими строительными нормами трубопроводы для добычи и транспортировки нефти, газа и нефтепродуктов подразделяются на четыре группы:

1-    - промысловые трубопроводы;

2-      - технологические трубопроводы;

-        - магистральные трубопроводы;

-        - распределительные трубопроводы.

Магистральные трубопроводы классифицируются по давлению, диаметру и в зависимости от ответственности и сложности.

По давлению трубопроводы делятся на 2 класса:

1 класс - от 2,5 до 10 МПа,

класс - от 1,2 до 2,5 МПа

По диаметру трубопроводы делятся на 4 класса:

кл. - от 1000 до 1400 мм

кл. - от 500 до 1000 мм

кл. - от 300 до 500 мм

кл. - менее 300 мм

По сложности и ответственности трубопроводы делятся на 5 категорий: В; 1; 2; 3; 4.

К самой ответственной категории - В - относятся трубопроводы диаметром 1000 мм и более, прокладываемые на наиболее ответственных участках. Например - переходы через судоходные и несудоходные реки шириной зеркала воды в межень 25 м и более, железные и автомобильные дороги, через болота, а также трубопроводы внутри зданий. Для категории В, первой и второй категории трубопроводов все сварочные стыки подлежат радиографическому контролю. Трубопроводы категории В подвергаются физическому испытанию на полуторакратное давление. У трубопроводов четвертой категории контролируются только пять процентов сварочных стыков.

По способу изготовления трубы подразделяются: бесшовные, сварные с продольным швом и сварные со спиральным швом. Бесшовные трубы заводами изготовляются диаметром не более 529 мм., сварные - до1400 мм. По толщине стенки трубы выпускаются от 4 мм до 20 мм., специальные трубы - до 32 мм. Две нитки газопровода "Голубой поток" диаметром 600 мм. с толщиной стенки 32 мм проложены по дну Черного моря в Турцию.

Сортамент электросварных труб приведен в табл. 11.

Табл. 11

Диаметр, мм

Толщина стенки, мм

наружный

условный


219

200

 4 5 6 7

273

250

 4 5 6 7 8

325

300

 4 5 6 7 8

377

350

 4 5 6 7 8 9

426

400

 4 5 6 7 8 9

529

500

 4 5 6 7 8 9 10

630

600

 4 5 6 7 8 9 10 11 12

720

700

 6 7 8 9 10 11 12 14

820

800

 7 8 9 10 11 12 14 16

930

900

 8 9 10 11 12 14 16

1020

1000

 9 10 11 12 14 16 18

1220

1200

 11 12 14 16 18


Магистральные трубопроводы классифицируют по различным признакам.

. В зависимости от положения трубопровода относительно уровня поверхности земли различают подземные, полуподземные, наземные и надземные трубопроводы (рис. 7).

Подземные трубопроводы (см. рис. 7, а) - это трубопроводы у которых верхняя образующая трубы находится на уровня поверхности земли. Такие трубопроводы размещают в траншеях и засыпают грунтом.

Размеры траншеи для подземных трубопроводов зависят от характepa транспортируемой среды, вида грунта, диаметр трубопровода, режима перекачки нефти или нефтепродуктов.

Рис. 7. Классификация магистральных трубопроводов по глубине заложения.

Зависимость глубины траншеи Н и ширины В по дну траншеи от диаметра трубопровода D можно представить в следующем виде:

H = D + h;

В = D + 300 при D < 700 мм;

B=l,5 D при D >= 700 мм,

Где:

h - глубина заложения от уровня поверхности земли до верхней образующей трубы, м.

Зависимость глубины заложения подземного трубопровода от вида грунта характеризуется следующими данными в соответствии со СНиП П-45-75:

Вид грунтаh, м

Болота и торфяные грунты, подлежащие осушению1,1

Песчаные барханы1,0

Скальный0,6

Полуподземные трубопроводы (см. рис. 7, б) - это трубопроводы, заглубленные в грунт только на половину диаметра. От внешних воздействий верхнюю половину обычно защищают земляной насыпью.

Наземные трубопроводы (см. рис, 7, в) - это трубопроводы, расположенные на поверхности земли и также защищенные земляной насыпью.

Надземные трубопроводы (см. рис, 7, г)- это трубопроводы, находящиеся на некотором возвышении над уровнем поверхности земли на специальных железобетонных или стальных опорах.

Подземные трубопроводы для транспорта нефти, газа и нефтепродуктов составляют 98 % от общей протяженности и магистральных трубопроводов. Такое значительное использование подземных трубопроводов объясняется рядом преимуществ: независимость или малая зависимость температуры стенок труб от изменения температуры воздуха, уменьшение опасности повреждения трубопроводов от воздействия внешних сил и нагрузок (нагрузки от наземного транспорта, ветровые нагрузки и др.), сохранение для рационального использования земельных участков сельскохозяйственного назначения при условии проведения рекультивации плодородных почв.

Подземная прокладка трубопроводов может применяться во всех районах нашей страны, за исключением зон вечной мерзлоты, потому что при транспорте по трубопроводу нефти или газа с положительной температурой грунт оттаивает, вызывая значительную деформацию и разрушение трубопровода. Большие трудности встречаются при подводной прокладке переходов через горные реки с блуждающими и сильно размываемыми руслами.

Наземные и надземные трубопроводы прокладывают в районах вечной мерзлоты на Крайнем Севере при сооружении переходов через реки, ущелья, овраги. Однако монтаж линейной части надземных трубопроводов вызывает определенные трудности, так как процессы монтажа трубопроводов на опорах отличаются высокой трудоемкостью и недостаточно механизированы. Надземные трубопроводы в отличие от подземных подвергаются непосредственному воздействию окружающей атмосферы, что осложняет их надежную эксплуатацию в условиях резко отрицательных температур в зимнее время в северных и северо-восточных районах.

Во избежание хрупкого разрушения труб при низких температурах (явление хладноломкости) надземные трубопроводы сооружают из дорогостоящих труб с высокой стойкостью против хрупкого разрушения или используют соответствующую тепловую изоляцию. Кроме того, для компенсации значительных температурных напряжений и деформаций надземные трубопроводы укладывают по специальным схемам или устанавливают на них компенсаторы.

2. Разделение магистральных трубопроводов и их участков на классы и категории.

Магистральные газопроводы в зависимости от рабочего давления подразделяют на два класса: класс I - от 2,5 до 10 МПа и класс II -от 1,2 до 2,5 МПа.

Магистральные нефтепроводы и нефтепродуктопроводы подразделяют на четыре класса в зависимости от их диаметра (условного): класс I - от 1000 до 1400 мм; класс II -от 500 до 1000 мм; класс III -от 300 до 500 мм и класс IV - менее 300 мм.

Кроме того, в зависимости от сложности и ответственности магистральные трубопроводы делятся на две категории (III и IV), а их отдельные участки - на пять категорий (В, I, II, III, IV). Нормативными документами (СНиП П-45-75 и СНиП 111-42-80) для каждой категории установлены различные требования по расчетным коэффициентам для расчетов на прочность (нормы контроля монтажных сварных соединений и условия испытаний магистральных трубопроводов перед сдачей их в эксплуатацию) (табл.12 ).

Табл. 12


Примечания: 1. РИСП - давление жидкости при проведении гидравлического испытания, МПа; Pраб - рабочее давление в магистральном трубопроводе, МПа. 2. Для участков магистральных трубопроводов категории IV данные приведены для подземной прокладки; при наземной и надземной прокладках контролю физическими методами должны подвергаться 100 % монтажных сварных соединений (из них радиографическим методом - не менее 10%).

Подробная характеристика категорий магистральных трубопроводов и их участков дана в СНиП П-45-75. Магистральные трубопроводы категории III - газопроводы диаметром 1200 мм и более, нефте- и нефтепродуктопроводы диаметром 700 мм и более; категории IV - газопроводы диаметром менее 1200 мм, нефте- и нефтепродуктопроводы диаметром менее 700 мм.

Примеры участков магистральных трубопроводов различных категорий:

категория В - переходы нефте- и нефте - продуктопроводов через реки, судоходные в русловой части, и прибрежные участки длиной не менее 25 м каждый при диаметре 1000 мм и более; газопроводы, расположенные внутри зданий и в пределах территории КС, ГРС;

категория I - подводные и надземные переходы газопроводов через судоходные и несудоходные реки шириной 25 м и более;

категория II - переходы через автомобильные дороги категорий III, III - п, IV, IV-п; трубопроводы, примыкающие к границам КС и НПС;

категория III - переходы через автомобильные дороги категории V, овраги, балки, рвы;

категория IV - основная линейная часть магистральных трубопроводов.

4. Схема прокладки магистрального нефтепровода (газопровода)

К линейным объектам нефтяной и газовой промышленности относятся магистральные трубопроводы для транспорта нефти (нефтепроводы), нефтепродуктов (нефтепродуктопроводы) и газа (газопроводы), а также линии технологической связи. Современные магистральные нефтепроводы диаметром до 1220 мм работают при рабочем давлении до 6,4 МПа. Современные магистральные газопроводы имеют диаметр до 1420 мм, а рабочее давление в них достигает до 7,5 МПа. В ближайшей перспективе давление газа во вновь строящихся газопроводах увеличится до 10-12 МПа.

Магистральный нефтепровод (рис. 8) состоит из линейной части (нитки), головной и промежуточной нефтеперекачивающих станций, тепловых станций для подогрева нефти при ее высокой вязкости (например, мангышлакская нефть), конечных пунктов приема нефти. В состав магистрального газопровода (рис. 9) входят собственно линейная часть (нитка), головная и промежуточные компрессорные станции и газораспределительные станции (ГРС).

Рис. 8. Схема магистрального нефтепровода: 1 - нефтяной промысел; 2 - УКПН; 3 - головная НПС; 4 - нефтепровод; 5 - дом линейного ремонтера; 6 - станция катодной защиты; 7 - задвижка; 8 - подводный переход; 9 - надземный переход через овраг; 10 - промежуточная НПС; 11 - нефтеперерабатывающий завод; 12 - нефтеналивная железнодорожная эстакада; 13 - морская эстакада налива нефти.

Рис. 9. Надземные схемы укладки линейной части магистрального трубопровода: а - прямолинейная прокладки с П-образными компенсаторами; б - зигзагообразная прокладка; в - упругоискривленный самокомпенсирующийся трубопровод; г - прямолинейная прокладка со слабоизогнутыми компенсационными участками; 1 - трубопровод; 2 - неподвижная (анкерная) опора; 2 - промежуточная продольно-подвижная опора; 3 - П-образный компенсатор; 4- промежуточная свободноподвижная опора; 6 - шарнирная опора; 7 - слабоизогнутый компенсационный участок.

Рис. 10. Схема магистрального газопровода:

- газовый промысел; 2 - УКПГ; 3 - головная компрессорная станция; 4 - газораспределительная станция; 5 - магистральный газопровод; 6, 7 - подземные переходы под дорогами; 8 - промежуточная компрессорная станция; 9 - подводный переход; 10 - станция подземного хранения газа; 11 - скважины; 12 - компрессорная; 13, 14 - потребители газа

Для сооружения линейной части магистральных трубопроводов применяют стальные сварные трубы диаметром 820-1420 мм с прямыми или спиральными швами из сталей низколегированных повышенной и высокой прочности (предел прочности до 600-650 МПа). Трубы соединяют в единую нитку электродуговой (ручной Я автоматической под флюсом) и электроконтактной сваркой оплавлением.


В условиях магистральных трубопроводов имеют место следующие виды коррозионных процессов:

-        коррозия в электролитах - коррозия металлов в жидких средах, проводящих электрический ток (вода, растворы кислот, щелочей, солей);

-        почвенная коррозия - коррозия подземных металлических сооружений под воздействием почвенного электролита;

         электрокоррозия - коррозия подземных металлических сооружений под воздействием блуждающих токов;

         атмосферная коррозия - коррозия металлов в атмосфере воздуха или другого газа, содержащего пары воды;

         биокоррозия - коррозия, вызванная жизнедеятельностью микроорганизмов, вырабатывающих вещества, ускоряющие коррозионные процессы;

         контактная коррозия - коррозия металлов в присутствии воды, вызванная непосредственным контактом двух металлов.

Процесс коррозии начинается с поверхности металлического сооружения и распространяется вглубь него. Различают сплошную и местную коррозию. Местная коррозия - это окисление металла на отдельных участках металлической поверхности. Она может быть следующих видов:

-        пятнами (глубина повреждения много меньше его диаметра);

-        язвенная (глубина повреждения примерно равна его диаметру);

         точечная (глубина повреждения много больше его диаметра);

         поверхностная (коррозионный процесс идет под слоем неповрежденного металла);

         структурно-избирательная (разрушается какой-то один компонент сплава);

         межкристаллическая (коррозионное разрушение имеет место на границе между кристаллами);

         коррозионное растрескивание (коррозионно-механическое воздействие приводит к образованию трещин в металле).

Предельные и непредельные углеводороды совершенно инертны к металлам, неуглеводородные компоненты вступают с металлом в химическую реакцию. Особенно опасны сернистые соединения (элементарная сера, сероводород, меркаптаны). В процессе подготовки нефти на промыслах осуществляется ее обезвоживание и обессоливание, однако, определенное количество минерализованной воды попадает в магистральные трубопроводы, что приводит к их внутренней коррозии.

Большую опасность в коррозионном отношении представляют органические кислоты и сульфатвосстанавливающие бактерии. Из вышесказанного следует, что уменьшение коррозионных процессов как внутри, так и снаружи трубопроводов является важнейшей задачей строительных и эксплуатационных организаций.

На сегодня в практике строительства трубопроводов применяются изоляционные покрытия на основе битумных мастик, полиэтиленовых и поливинилхлоридных изоляционных липких лент, эпоксидные порошковые краски, напыленный полиэтилен и др.

Практика показывает, что даже тщательно выполненные изоляционные покрытия не гарантируют необходимой защиты трубопроводов. Практически все магистральные трубопроводы оснащаются средствами электрохимической защиты (ЭХЗ). Электрохимическая защита осуществляется катодной поляризацией трубопроводов. Если катодная поляризация производится с помощью внешнего источника постоянного тока, то такая защита называется катодной, если же поляризация осуществляется присоединением защищаемого к металлу, имеющему более отрицательный потенциал, то такая защита называется протекторной. Чаще всего на трубопроводах осуществляется катодная защита.

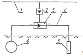
Принципиальная схема катодной и протекторной защиты приведена на рис.11.

Рис. 11, Принципиальная схема катодной защиты: 1 - ЛЭП; 2 - трансформаторный пункт, 3 - станция катодной защиты; 4 - защищаемый трубопровод; 5 - анодное заземление; 6 - кабель.

Рис. 12, Механизм действия катодной защиты

Принцип действия протекторной защиты аналогичен работе гальванического элемента.

Рис. 13, Принципиальная схема протекторной зашиты.

Два электрода: трубопровод 1 и протектор 2, изготовленный из более электроотрицательного металла, чем сталь, опущены в почвенный электролит и соединены проводником 3. Так как материал протектора является более электроотрицательным, то под действием разности потенциалов происходит направленное движение электронов от протектора к трубопроводу по проводнику 3.

Изоляционные покрытия предохраняют наружную поверхность магистральных трубопроводов от почвенной коррозии (пассивная защита). Многолетнее нахождение изолированного трубопровода в грунте (более или менее агрессивной среде) приводит к старению изоляционных покрытий. В них появляются трещины, отслоения от поверхности трубопровода. Во все возрастающей степени проявляют себя дефекты изоляционного покрытия, механические повреждения его. Для эффективной защиты магистральных трубопроводов применяют сочетание пассивной и активной (электрохимической) защиты. Наиболее распространенный тип электрохимической защиты магистральных трубопроводов от коррозии - катодная защита, т. е. наложение электрического поля от внешнего источника тока, создающего катодную поляризацию на трубопроводе. При этом коррозионному разрушению подвергается анодное заземление из металлических или неметаллических электропроводных материалов. Защита осуществляется при создании определенной разности потенциалов между трубопроводом и окружающим его грунтом от источника постоянного и выпрямленного тока. Разность потенциалов создается станцией катодной защиты (СКЗ).

До монтажа СКЗ устраивают анодное заземление из стальных электродов. Для этого роют траншею глубиной 0,9 м и шириной 0,5 м, длина ее соответствует длине анодного заземления: стальные электроды забивают вертикально в дно траншеи на глубину до 3 м (или бурят скважины и устанавливают в них электроды в коксовой мелочи или графитированные электроды); вертикальные электроды приваривают к горизонтальной соединительной части заземления; соединительный провод приваривают к анодному заземлителю.

Порядок монтажа СКЗ следующий:

из металлического шкафа вынимают блок сетевой станции, шкаф прикрепляют к скобе, стягивающей пасынок опоры, или непосредственно к стене здания;

провода питающей сети и катодной защиты через специальные патрубки вводят внутрь шкафа;

провода питающей сети подключают к клеммнику питания, а провода катодной защиты - к клеммнику выхода;

проводку защитного заземления присоединяют к кожуху станций;

выдвижной блок вставляют в шкаф станции;

провода питания подключают к электросети переменного тока;

переключатели грубой и плавной регулировки устанавливают в положение, соответствующее заданному напряжению нагрузки катодной защиты;

включают питание.

При установке СКЗ выполняют следующие операции: подготовку, расположение на месте монтажа, монтаж проводки питания и защитного заземления, подключение дренажной проволоки и пробное включение станции.

Протекторную защиту выполняют при значительной удаленности участков магистральных трубопроводов от источников электроснабжения, если применение катодной защиты экономически не выгодно. Протекторные установки, состоящие из протектора, активатора, проводника и контрольно-измерительного пункта, присоединяют к защищаемому участку магистрального трубопровода, имеющего более низкий электрохимический потенциал. Промышленность выпускает несколько типов протекторов: ПМ-5, ПМ-10, ПМ-20 (металлические аноды), ПМ-5у, ПМ-10у, ПМ-20у (металлические аноды в комплекте с активатором). Их устанавливают по одному (на расстоянии 3-5 м от трубопровода) или группами.

Расположение протекторов на плане трассы магистрального трубопровода, планы площадок, на которых устанавливают протекторы для защиты кожухов на переходах трубопроводов через железные и автомобильные дороги, устройство катодного вывода, места установки КИП (обычно через 1 км) и опознаватель знаков, отдельные конструктивные элементы указывают на рабочих чертежах по протекторной защите трубопровода или его участков.

Электродренажная защита предназначена для защиты магистрального трубопровода от блуждающих токов, которые она отводит с трубопровода в рельсовую часть цепи электротяги или на сборную шину отсасывающих кабелей тяговой подстанции железной дороги. Блуждающие токи достигают значительных величин и могут вызвать сквозную коррозию стенок трубопровода, уложенного в траншею, через 3-5 лет, поэтому ввод электродренажной защиты в действие необходимо приурочивать к укладке и засыпке трубопровода на защищаемом участке.

Различают прямой дренаж - при устойчивой положительной: разности потенциала трубопровод - рельс и поляризованный дренаж-при знакопеременной разности потенциала. Выпускаемые промышленностью станции дренажной защиты (СДЗ) автоматические (с автоматическим регулированием направления тока или автоматическим регулированием разности потенциала трубопровод - рельс).

Систему электрохимической защиты магистрального трубопровода от коррозии сооружают специализированные бригады (10-11 чел.), оснащенные легковым и грузовым автомобилями, автокраном, цепным экскаватором, бурильно-крановой машиной, передвижной электростанцией, сварочным агрегатом, набором инструментов для пайки, битумоплавильным передвижным котлом вместимостью 500 л, вагоном-домиком, трактором-тягачом.

Общие обязательные положения по сооружению систем электрохимической защиты магистральных трубопроводов от коррозии могут быть сформулированы следующим образом:

специализированные бригады должны смонтировать и опробовать КИП до проверки качества изоляционного покрытия методом катодной поляризации;

устройства и элементы системы электрохимической защиты трубопровода к сооружениям или их элементам, находящимся в ведении сторонних организаций и предприятий, можно присоединять только после получения от них разрешения и в присутствии официальных представителей;

провода установок электрохимической защиты и КИП к трубам с нормативным временным сопротивлением разрыву 539 МПа и более следует приваривать только термитной сваркой (с применением медного термита), а к кольцевым и продольным сварным швам этих труб - электродуговой сваркой;

законченную строительством систему электрохимической защиты опробуют в два этапа: сначала осуществляют индивидуальное опробование отдельных защитных установок, а затем комплексное опробование всей системы, после которого рабочая комиссия составляет акт о приеме системы в эксплуатацию и дает рекомендации по режимам ее работы.

6. Сооружение фундамента и разворачивание РВС - 5000

Очень важным элементом при строительстве резервуаров является фундамент.

Для резервуаров объемом до 5 тыс. м3 (см. рис. 14) устраивают так называемые насыпные грунтовые двухслойные основания 2. Нижний слой этого основания - уплотненный местный супесчаный грунт, а верхний слой - уплотненный песок средней зернистости. На месте сооружения резервуара полностью удаляют растительный грунт (почву).

Поверхность верхнего слоя (песчаной подушки 3) должна иметь уклон от центра к периферии, равный 1 : 50. По краям подушки устраивают отмостку из камня 1 с уклоном 1:1,5 м. Для предотвращения коррозии днища стального резервуара от действия почвенных вод сверху песчаной подушки укладывают изоляционный (гидрофобный) слой 4 толщиной 80- 100 мм, состоящий из супесчаного грунта, тщательно перемешанного с вяжущим веществом (с жидким битумом или мазутом).

Рис. 14. Основания и фундаменты вертикальных стальных цилиндрических резервуаров объемом до 5 тыс. м3.

Современная структура технологии добычи, транспортировки и переработки нефти и структура потребления нефтепродуктов предопределяет необходимость хранения этих продуктов в резервуарах. Нефть хранят в резервуарных парках на промыслах, нефтеперекачивающих станциях, в сырьевых парках нефтеперерабатывающих заводов или в резервуарных парках крупных экспортных нефтебаз, нефтепродукты-в резервуарах товарных: парков нефтеперерабатывающих заводов, в резервуарных парках перекачивающих станций нефтепродуктопроводов, сети нефтебаз системы Госкомнефтепродукта и экспортных нефтебаз. Для хранения нефти и нефтепродуктов используют резервуары самых разнообразных конструктивных решений, в основном стальные и железобетонные, наиболее распространен стальной цилиндрический вертикальный резервуар. Стальные резервуары в отличие от аналогичных железобетонных имеют меньшие стоимость строительства и трудоемкость. Однако они сравнительно металлоемки и подвержены коррозии. Железобетонные резервуары весьма трудоемки при сооружении (значительный объем земляных работ, повышение требования к характеристике грунтов и гидрогеологическим условиям строительной площадки).

При разработке конструкций резервуаров необходимо добиваться повышения прочности и долговечности, а также снижения потерь нефти и нефтепродуктов от испарения. При нагревании резервуаров или падении атмосферного давления продукт интенсивно испаряется. Избыток его паров выпускают в атмосферу. При охлаждении резервуара или повышении атмосферного давления пары продукта в газовом пространстве резервуара конденсируются. В нем создается разрежение. В резервуар засасывается воздух. Этот многократно повторяющийся процесс получил название "малых дыханий" резервуара. "Большие дыхания" резервуара происходят при его заполнении и опорожнении.

Типовые цилиндрические вертикальные стальные резервуары вместимостью 100, 200, 300, 400, 500, 700, 1000, 2000, 3000, 5000, 10 000, 20 000, 30 000 м3 сооружают из рулонных заготовок, а. вместимостью 50 000 м3 - из рулонных заготовок и полистовым методом.

Строительство резервуаров больших объемов в настоящее время возможно лишь полистовым методом, так как толщина стенки нижних поясов должна быть равной 28-35 мм, а рулонированию поддаются стенки из листовой стали толщиной не более 16-18 мм.

Подготовка строительного производства при сооружении .резервуарных парков как стальных вертикальных цилиндрических резервуаров, так и железобетонных включает в себя организационные мероприятия (рассмотрение вопросов использования существующих транспортных и инженерных коммуникаций, местных строительных материалов, определение заказчика, генерального подрядчика и субподрядных организаций, заключение подрядных договоров), вне- и внутриплощадочные подготовительные работы. К внеплощадочным работам относят строительство внешних подъездных железнодорожных путей, автомобильных дорог, линий электропередачи, связи, внешних водопроводных сетей (иногда с водозаборами), системы внешней канализации (с очистными сооружениями и др.) Внутриплощадочные подготовительные работы начинают с создания геодезической разбивочной основы для строительства, позволяющей определить положения резервуаров и других объектов резервуарного парка в плане и по высоте. Затем осуществляют расчистку территории строительной площадки (при необходимости снос ненужных строений), инженерную подготовку площадки, создают складское хозяйство, площадки укрупненной сборки конструкций (для стальных резервуаров), монтируют инвентарные здания и временные сооружения, обеспечивают строительную площадку противопожарным водоснабжением и инвентарем, средствами связи и сигнализации.

Конструкции стальных вертикальных цилиндрических резервуаров на строительную площадку поставляют в виде укрупненных блоков заводского изготовления. Стенки, днище, центральную часть плавающей крыши-понтона поставляют готовыми полотнищами, свернутыми в рулоны; покрытия - отдельными щитами или их частями. Рулоны стенок стальных резервуаров вместимостью 5000, 10 000 и 20 000 м3 имеют длину около 12 м: вместимостью 30 000 и 50 000 м3 - около 18 м. Обычно с заводов-изготовителей блоки и элементы стальных резервуаров перевозят по железной дороге, водным путем, на трайлерах или специальных санях.

Стальной резервуар начинают монтировать после устройства, проверки (качество уплотнения подушки, отметки центра я периметра основания, толщина гидроизолирующего слоя и др.) и приемки основания.

Для доставки рулонов днища насыпают земляной пандус. Монтаж днища выполняют в такой последовательности. Монтируют периферийные листы днища (окраек), доставляют рулоны днища к основанию и разворачивают их (рис. 15), отдельные полотнища с помощью сварки соединяют в единое целое. По окончании монтажа находят геометрический центр днища, а затем с помощью специального приспособления (крепа огромного циркуля) наносят на днище окружность, равную наружному диаметру нижнего пояса корпуса резервуара.

Рис. 15. Схема разворачивания рулонов днища резервуара на основании: 1 - трактор; 2 - пандус; 3 - устройство для разворачивания рулона.

Монтаж корпуса резервуара выполняют следующим образом. На днище с помощью трактора доставляют рулон (рулоны) корпуса резервуары. Его устанавливают в вертикальное положение (тракторами с применением падающего А-образного шевра, самоходными кранами с использованием тракторов в качестве тормоза, поворотных шарниров, съемных кронштейнов, полиспастов). Перед подъемом на место установки рулона укладывают поддон - толстый стальной восьмиугольный лист, нижняя часть которого обильно смазана солидолом, что облегчает поворот рулона при разворачивании.

При использовании для подъема рулона корпуса резервуара монтажного самоходного гусеничного крана (рис. 16) рулон одним концом устанавливают на шарнир, а другим на клетчатую выкладку из деревянных брусьев. С помощью специального захвата монтажный кран поднимает рулон, который при этом поворачивается вокруг шарнира. Подъем рулона синхронно совмещается с передвижением крана при одновременном постоянном нахождении полиспаста в вертикальном положении (по схеме "подъем - перемещение - подъем - перемещение" и т. д.).

После вертикальной установки рулона корпуса резервуара в центре днища расчалками закрепляют постоянную или временную монтажную стойку, а рулон корпуса резервуара устанавливают так, чтобы начало нижней кромки его совпало с разметкой окружности днища резервуара. Рулон корпуса резервуара в верхней и нижней частях стягивают канатами (тросами), которые закрепляют на форкопах удерживающих тракторов. Стяжные планки рулона разрезают газовой резкой сверху вниз. К трактору, которым разворачивают рулон, специальной монтажной скобой присоединяют трос. Такую скобу прикрепляют к вертикальной кромке рулона, которую закрепляют растяжками. По размещенной на днище резервуара окружности через каждые 3-4 м приваривают стальные уголки-фиксаторы длиной 30-35 см.

Рис. 16. Схема подъема рулона корпуса резервуара монтажным самоходным гусеничным краном: 1 - рулон корпуса резервуара; 2 - специальный захват; 3 - трактор; 4 - шарнир с угломером; 5 - монтажный кран; 6 - места остановки монтажного крана при его перемещении.

После развертывания на 3-4 м полотнище рулона корпуса, резервуара прихватками приваривают к днищу. По мере разворачивания рулона монтажные скобы приваривают захватками разворачивания, а нижнюю кромку рулона прижимают К уголкам-фиксаторам и приваривают прерывистыми прихватками.

Щиты покрытия начинают монтировать после разворачивания 12-15 м рулона корпуса резервуара с помощью самоходного крана серии КС на гусеничном ходу. Эту операцию проводят по ходу разворачивания. Для ускорения монтажа щиты покрытия предварительно укрупняют на специальном сварочном стенде (рис. 17).

По верхней кромке рулона корпуса резервуара (вместимость 10 000 м3 и более) приваривают кольцо жесткости из швеллера, предварительно изогнутого по радиусу резервуара. При монтаже щиты покрытия резервуара внешним торцом опираются на верхнюю кромку стенки корпуса и опорное кольцо, а внутренним - на край поверхности центрального щита, установленного на центральной стойке.

По окончании развертывания всего рулона (рулонов) корпуса резервуара сваривают вертикальный шов (швы) корпуса, двухстороннее (из шавра или уголка) нижнее кольцевое соединение между нижним поясом корпуса и окрайками днища и верхнее кольцевое соединение между верхним поясом корпуса и щитами покрытия. Сварку нижнего и верхнего кольцевых швов ведут одновременно обратно-ступенчатым методом. Вертикальный замыкающий шов (швы) резервуара сваривают встык с двух сторон с предварительным формированием стыкового соединения специальным приспособлением.

Рис. 17. Схема разворачивания рулона корпуса резервуара и монтаж щитов покрытия: 1 - монтажный кран; 2 - навесные леса; 3 - щит покрытия; 4 - центральная монтажная стойка; 5 - монтажная лестница; 6 - опорное кольцо; 7 - уголки-фиксаторы; 8 - развернутая часть стенки корпуса; 9 - расчалки; 10 - клиновой упор; 11 - рулон" стенки корпуса; 12 - трактор

При сооружении стальных вертикальных цилиндрических резервуаров монтаж понтона или плавающей крыши начинают непосредственно по окончании монтажа днища. До начала монтажа на днище резервуара делают разметку коробов или мест расположения опорных стоек, к которым приваривают опорные плиты. Затем на днище располагают рулоны центральной части понтона (плавающей крыши), разворачивают их и монтируют. В центральной части понтона (плавающей крыши) размечают места расположения стоек и начинают монтаж корпуса. По ходу развертывания рулонов корпуса ведут монтаж коробов понтона, обеспечивающих его плавучесть. Короба к месту работы подают монтажным краном, с помощью которого ведут также монтаж щитов покрытия. Короба между собой, как и с центральным полотнищем, соединяют накладками, свариваемыми внахлестку. Для установки трубчатых стоек в центральной части понтона (плавающей крыши) прорезают отверстия. Через крышку люка-лаза (после монтажа корпуса) в резервуар закачивают воду так, чтобы понтон (плавающая крыша) поднялся примерно на 2 м, что позволяет приваривать к понтону стойки, которыми после удаления воды понтон (плавающая крыша) будет опираться на дно резервуара. Затем монтируют затвор между внутренней поверхностью стенки корпуса и понтоном (плавающей крышей) для герметизации пространства, верхнюю балконную площадку (для резервуаров с плавающей крышей) и кольца жесткости по высоте стенки корпуса резервуара, так как отсутствие покрытия в таких резервуарах резко снижает жесткость стенки корпуса.

На окрайках днища резервуара размечают окружность, соответствующую наружному диаметру нижнего пояса, по которой устанавливают листы и временно крепят их клиновыми приспособлениями на шайбах, присоединенных сваркой к листам корпуса. Затем сваривают вертикальные и нижний кольцевой швы (вертикальные - ручной дуговой сваркой и автоматической сваркой с принудительным формированием шва --под флюсом или порошковой проволокой, нижний кольцевой шов -ручной дуговой сваркой, полуавтоматической сваркой в среде углекислого газа автоматической сваркой в среде углекислого газа или автоматической сваркой порошковой проволокой с полупринудительным формированием шва).

Горизонтальные швы между поясами, как правило, выполняют два сварщика полуавтоматической сваркой в среде углекислого газа одновременно с двух сторон. Сварщики находятся в специальных кабинах, которые перемещаются, опираясь роликами на смонтированный пояс резервуара.

Практикуется предварительная сварка нескольких листов в полотна (карты) длиной до 12 м на специальных стеллажах в зоне строительной площадки.

Сварные швы днища резервуара проверяют на плотность вакуум-способом или химическим способом, а швы корпуса - керосиновой пробой (внутреннюю поверхность швов покрывают слоем мелового раствора, а наружную промазывают керосином, который быстро проникает в сквозные свищи сварных швов).

При гидравлическом испытании сооруженный стальной вертикальный цилиндрический резервуар заполняют водой до верхнего проектного уровня и выдерживают его в таком состоянии определенное время. Покрытие резервуара подвергают испытанию на плотность. В этом случае давление воздуха в полностью закрытом резервуаре под покрытием доводят до 2,5 кПа. Сварные швы предварительно покрывают мыльным раствором. Пузырьки воздуха не должны появляться в течение 30 мин. Последующие испытания покрытия на вакуум проводят при открытых замерных люках. Уровень воды в резервуаре снижают до А от проектного. Затем при закрытых люках осуществляют дальнейшее снижение уровня воды до достижения внутри резервуара разряжения около 400 Па при расчетном вакууме 250 Па. После слива воды определяют отклонения геометрической формы резервуара, а также осадку его днища.

7. Особенности перекачки газа

Классификация и состав природных и искусственных газов

Все газы подразделяются на два класса: природные и искусственные.

Природные газы подразделяются на три группы:

газы, добываемые из чисто газовых месторождений; они представляют собой газ, содержащий мало тяжелых углеводородов;

газы, добываемые из конденсатных месторождений; они представляют собой смесь газа и конденсата широкой фракции, состоящей из бензина, лигроина, керосина, а иногда и солярового масла;

газы, добываемые вместе с нефтью из нефтяных месторождений; это попутные газы, представляющие смесь газа с газовым бензином и пропано-бутановой фракцией.

Газ, добываемый из чисто газовых месторождений, состоит в основном из метана, содержание которого составляет 82-98%. Малое содержание тяжелых углеводородов объясняется процессом избирательной миграции углеводородного вещества через пористые породы. За длительный путь миграции в газе остаются только легкие составляющие.

Газ, добываемый из конденсатных месторождений, содержит также значительное количество метана (80-95%), а попутный газ - только 30-70%.

Природные газы состоят преимущественно из предельных углеводородов (алканов). Но часто имеются в них компоненты, ухудшающие качество газа, - сероводород, углекислота, азот и водяные пары.

Искусственные газы получаются из твердых топлив в газогенераторах, тоннельных и прочих печах при высоких температурах, а иногда и при повышенных давлениях.

Развивается газификация горючих сланцев (Кукурское месторождение в Эстонии), газификация бурых углей под давлением (Щекинский завод около Тулы, под давлением до 2,0 МПа). Основными компонентами этих газов являются водород и метан.

Физико - химические свойства углеводородных газов

Газы могут находиться в различном агрегатном состоянии в зависимости от давления и температуры.

Метан, этан и этилен при обычных условиях (20-30° С и атмосферное давление) являются реальными газами. Пропан, пропилен, бутан и бутилены при обычных условиях находятся в парообразном состоянии, при повышенных давлениях - в жидком состоянии. Эти углеводороды входят в состав так называемых сжиженных нефтяных газов. Углеводороды, начиная с изопентана и выше, при обычных условиях находятся в жидком состоянии. Они входят в состав бензиновой фракции. Плотность газов - это отношение массы газа G к его объему V в состоянии покоя

р = G / V

Часто используют понятие относительная плотность - отношение плотностей газа и воздуха при одних и тех же условиях

Δ = р / рВ

Плотность газа в нормальных физических условиях может быть определена по его молярной массе М

р0 = М / 22,41

где 22,41 - объем одного моля газа при нормальных условиях. Нормальные физические условия характеризуются параметрами t0 = 0° С и р0 = 0,1 МПа (760 мм рт. ст.).

Удельным объемом называют объем единицы массы газа

v = 1 / р

Вязкость углеводородных газов зависит от температуры и давления. С увеличением температуры динамический коэффициент вязкости μ возрастает. При давлениях до 4,0 МПа динамическая вязкость мало зависит от давления. Но при более высоких давлениях эта зависимость становится заметной. С увеличением давления вязкость возрастает.

Часто при расчетах применяют кинематический коэффициент вязкости, который равен динамическому коэффициенту вязкости, отнесенному к плотности газа

v = μ / р

Давлением насыщенных паров при данной температуре называется давление, при котором жидкость находится в равновесии со своими парами. Давление насыщенных паров характеризует испаряемость жидкостей (сжиженных газов). С увеличением температуры давление насыщенных паров возрастает.

Каждому индивидуальному газу присущи определенные значения критических параметров - критического давления ркр и критической температуры Ткр. Критическая температура - такая температура, выше которой газ не может быть сжижен. Критическое давление - это минимальное давление, при котором газ, находящийся при критической температуре, сжижается.

Классификация газопроводов

Магистральным газопроводом называется трубопровод, предназначенный для транспортировки газа из района добычи или производства в район его потребления или соединяющий отдельные газовые месторождения.

Ответвлением от магистрального газопровода называется трубопровод, присоединенный непосредственно к магистральному газопроводу и предназначенный для отвода части транспортируемого газа к отдельным населенным пунктам и промышленным предприятиям.

В зависимости от рабочего давления устанавливаются три класса магистральных газопроводов: I - высокого давления (при рабочем давлении выше 2,5 МПа); II - среднего давления (при рабочем давлении от 1,2 до 2,5 МПа); III - низкого давления (при рабочем давлении до 1,2 МПа включительно).

В состав сооружений магистрального газопровода входят: комплекс сооружений и установок, предназначенных для транспортировки природного или попутного нефтяного газа от газовых или нефтяных промыслов к потребителям (городам, поселкам, промышленным предприятиям и электростанциям).

Длина магистрального газопровода может составлять от десятка до нескольких тысяч километров, а диаметр - от 150 до 1420 мм. Большинство газопроводов, построенных после 1958 г., имеют диаметр от 720 до 1420 мм. Технико-экономическими исследованиями установлено, что с увеличением диаметра труб уменьшается удельный расход металла. В табл. 13 приведены относительные технико-экономические показатели по газопроводам различных диаметров. При увеличении диаметра труб наряду с большой экономией металла снижаются также затраты на строительство и эксплуатацию газопроводов. Поэтому в настоящее время большинство газопроводов сооружается диаметром 1020 мм и больше.

Движение газа по газопроводу осуществляется либо за счет пластового давления, либо при помощи компрессорных станций, расположенных вдоль газопровода. Расстояния между компрессорными станциями определяются гидравлическим расчетом.

Относительные технико-экономические показатели (на единицу пропускной способности) по газопроводам разных диаметров (показатели по газопроводу диаметром 325 мм приняты за единицу)

Табл. 13

 Показатели

Диаметр газопроводов, мм


325

720

1020

1220

Удельные маталловложения Капитальные вложения Эксплуатационные расходы Пропускная способность

1,0 1,0 1,0 1,0

0,22 0,31 0,23 10,4

0,19 0,25 0,20 23,2

0,15 0,23 0,19 35,00


Магистральный газопровод

В состав магистрального газопровода входят следующие объекты (рис. 18): головные сооружения; стальной трубопровод с ответвлениями, запорной арматурой и линейными сооружениями; компрессорные станции (КС); газораспределительные станции (ГРС); дома линейных ремонтеров и аварийно-ремонтные пункты (АРП); устройства линейной и станционной связи; установки катодной, протекторной и дренажной защиты; вспомогательные сооружения.

После головных сооружений очищенный и осушенный газ поступает в магистральный газопровод. Магистральный, газопровод может быть постоянного или переменного диаметра. В некоторых случаях он состоит из двух или нескольких газопроводов, уложенных параллельно по одной трассе.

Для возможного отключения отдельных участков газопровода через 20-25 км по трассе устанавливаются линейные узлы, включающие в себя запорные отключающие устройства (краны, задвижки) и продувочные свечи. Кроме того, отключающие устройства устанавливаются на всех ответвлениях от газопровода, на берегах водных преград при пересечении их газопроводом и на подходах к компрессорным станциям. Линейные краны устанавливаются с ручным, пневматическим или пневмогидравлическим приводом. В непосредственной близости от линейных кранов располагаются продувочные свечи, предназначенные для опорожнения газопровода на участке между кранами в случае необходимости проведения ремонтных работ.

Рис. 18. Схема магистрального газопровода: 1 - газовый промысел; г - газосборные сети (промысловой пункт сбора газа); 3 - головные сооружения; 4 - промежуточные компрессорные станции; 5 - газораспределительные станции; в - линейная арматура; 7 - переход (двухниточный) через водную преграду; 8 - подземные хранилища газа; 9 - отводы от основной магистрали.

Вдоль трассы газопровода через 20-25 км располагаются дома линейных ремонтеров. Линейные ремонтеры имеют телефонную связь с ближайшими КС, АРП и между собой.

Для предохранения металла труб от коррозии газопроводы оборудуются непрерывно действующей антикоррозионной защитой. Для предохранения от почвенной коррозии применяется катодная или протекторная защита, а от блуждающих токов - электродренажная защита.-

Для оперативного руководства перекачкой газа вдоль газопровода сооружается селекторная или радиорелейная высокочастотная связь.

Компрессорные станции

На трубопроводах с интервалом, определяемым гидравлическим расчетом, устанавливаются компрессорные станции (КС), предназначенные для повышения давления газа. На КС имеются: один или несколько компрессорных цехов; электростанция или трансформаторная подстанция; система водоснабжения с насосными (циркуляционной насосной охлаждения компрессорных агрегатов, водонапорной башней, градирней и резервуарами для хранения пожарного запаса воды); узел дальней и внутренней связи; система маслоснабжения с установками по регенерации масла, складом горючесмазочных материалов; химическая лаборатория; котельная; механическая мастерская; установка масляных пылеуловителей; приемные и нагнетательные коллекторы с отключающей арматурой; автотранспортный парк и материальный склад. На магистральных газопроводах для перекачки газа применяются два вида КС, имеющих разные технологические схемы: оборудованные газомоторными поршневыми компрессорами; оборудованные центробежными нагнетателями с приводом от газовых турбин или электродвигателей. Технологическая схема КС с поршневыми компрессорами показана на рис. 19. Газ из магистрали 1 поступает в пылеуловители 2, где очищается от частичек пыли, затем проходит через маслоотделитель 3 и поступает в приемный коллектор 4 газомото-компрессоров 8. Сжатый до определенного давления газ по нагнетательному коллектору 5 поступает в газопровод 6. Через пункт регулировки 7 газ отбирается для привода агрегатов (топливный газ) и на бытовые нужды.

Наибольшее распространение в газовом хозяйстве имеют угловые агрегаты, в которых компрессорные цилиндры расположены горизонтально, а силовые V-образно под углом 60° попарно.

Рис. 19. Технологическая схема компрессорной станции с поршневыми компрессорами.

К ним относятся газомотокомпрессоры 10ГК и 10ГКН с номинальной мощностью 736 и 1100 кВт. Эти агрегаты объединяют в одном корпусе силовую часть и компрессор для сжатия газа.

Рис. 20. Технологическая схема компрессорной станции с центробежными нагнетателями.

Технологическая схема КС с центробежными нагнетателями дана на рис. 20. Газ с давлением р2 поступает в пылеуловители I. Очищенный от механических примесей и капельной влаги газ поступает в коллектор II. Масло, уносимое из пылеуловителей улавливается маслоуловителем III, который устанавливается на всасывающем коллекторе после пылеуловителей. Далее газ поступает в центробежные нагнетатели IV, где производится одно или многоступенчатое сжатие газа. После сжатия газа до давления рг он направляется в магистральный газопровод. Краны 1 и 2 - отсекающая запорная арматура с автоматическим управлением, кран 3 - проходной, открыт при. неработающем агрегате; кран 5-бис образует малый контур нагнетателя (он открыт при загрузке и остановке агрегата и закрыт при нормальной работе). Остальные краны 4, 5, 6, 7, 8, 9 обеспечивают нормальную эксплуатацию КС или газопровода при различных ситуациях.

На крупных газопроводах с пропускной способностью, превышающей 12 млн. м3/сут, устанавливают центробежные нагнетатели. В качестве двигателя к ним применяют газовую турбину или электродвигатель. Центробежный нагнетатель или турбокомпрессор является машиной, в которой сжатие газа происходит под действием центробежных сил, развивающихся при вращении рабочего колеса. Подобно центробежному насосу, он состоит из корпуса, в котором вращается вал с укрепленным на нем рабочим колесом. Для предотвращения утечек газа из нагнетателя в помещение он снабжен масляной системой уплотнения.

На магистральных газопроводах в настоящее время работают КС с турбинами различной мощности: ГТ-700-5 мощностью 4250 кВт; ГТК-5 мощностью 4400 кВт; ГТ-750-6 мощностью 6000 кВт; ГТУ-9 мощностью 9000 кВт; ГТК-10 мощностью 10 000 кВт.

Газораспределительные станции

ГРС сооружаются в конце каждого магистрального газопровода или отвода от него и предназначаются: для снижения давления газа и поддержания этого давления в заданных пределах; для дополнительной очистки газа от механических примесей; для дополнительной одоризации газа; для регулирования и учета расхода газа, отпускаемого потребителям.

Подготовка газа к транспорту

Природный газ, получаемый с промыслов, содержит посторонние примеси: твердые частицы (песок, окалина), конденсат тяжелых углеводородов, водяные пары, часто сероводород и углекислый газ.

Присутствие твердых частиц в газе приводит к быстрому износу соприкасающихся с газом деталей компрессоров. Твердые частицы засоряют и портят арматуру газопровода и контрольно-измерительные приборы; скапливаясь в пониженных участках газопровода, они сужают его поперечное сечение.

Жидкие примеси, оседая в пониженных участках трубопровода, также вызывают сужение его поперечного сечения. Они, кроме того, оказывают коррозирующее действие на трубопровод, арматуру и приборы. Влага в определенных условиях приводит к образованию гидратов, выпадающих в газопроводе в виде твердых кристаллов. Гидратные пробки могут полностью закупорить трубопровод.

Сероводород - вредная примесь. В количествах, больших 0,01 мг на литр воздуха рабочей зоны, он ядовит. В присутствии влаги сероводород вызывает сильную коррозию металлов.

Углекислый газ вреден тем, что он снижает теплотворную способность газа и является балластом.

Перед поступлением в магистральный газопровод газ должен быть осушен и очищен от вредных примесей.

Подготовка газа к транспорту проводится на специальных установках, расположенных на головных сооружениях газопровода, а очистка от твердых примесей производится на всех КС газопровода.

Отделение попутного газа от нефти

Попутный газ, добываемый вместе с нефтью, необходимо отделить от нефти и направить потребителю. Отделение производится в специальных установках, называемых трапами (сепараторами) (рис. 21). Процесс разделения осуществляется в два этапа: разделение нефти и газа; очистка газа от нефтяной пыли. Трап имеет четыре секции: сепарационную 1, отбойную II, осадительную III и отстойную IV. Сепарационная секция служит для разделения жидкости и газа. Входной патрубок 1 расположен тангенциально. Центробежная сила заставляет наибольшее количество жидкости отделиться от газа. В осадительной секции из восходящего потока газа осаждается нефтяная пыль. В отбойной секции газ окончательно освобождается от нефтяной пыли под действием сил инерции. В этой секции из потока газа извлекаются мельчайшие капли жидкости (менее 10 мк) перед выходом газа из трапа. Отстойная секция служит для сбора жидкости, отделяемой от раза во всех трех секциях. Отстойник оборудован установкой для замера жидкости и поддержания уровня на постоянной высоте. Все секции сообщаются с отстойником дренажными трубками 2, по которым нефть, не соприкасаясь с восходящим газовым потоком, стекает в отстойник. Сепараторы бывают вертикальные, горизонтальные и сферические. Сепаратор вертикального типа выгоден в тех случаях, когда поток из скважины содержит частицы песка и грязи (чистить проще). Наиболее часто применяют вертикальные сепараторы.

Рис. 21. Сепаратор для отделения попутного газа от нефти

На конденсатных месторождениях из пласта вместе с газом выходит конденсат, который является ценным сырьем нефтехимической промышленности. Конденсат надо отделить от газа перед его транспортом, так как неполное отделение конденсата на промысле вызывает его выпадение в магистральном газопроводе, что приводит к уменьшению пропускной способности газопровода.

Выход конденсата зависит от температуры и давления. Изотермы конденсации имеют максимум при определенном давлении (рис. 22). Из графика видно, что с понижением температуры t сепарации резко увеличивается выход конденсата С. Удаление конденсата производится при максимальном давлении конденсации рmax конд. Разделение газа и конденсата производят на специальных установках низкотемпературной сепарации (рис. 23). Газ из скважины 1 по шлейфу 2 проходит через дроссельную шайбу 3, где происходит дросселирование давления и снижение температуры идущей из скважины смеси газа и конденсата. Далее газ попадает в каплеотделитель 4, где осаждается конденсат, выделившийся в шлейфах и в результате дросселирования.

Рис. 22. Изотермы конденсация

Этот конденсат сливается в емкость для конденсата 5, а оттуда направляется в конденсатопровод. Из каплеотделителя газ поступает в газовый холодильник 6, где он охлаждается встречным потоком отсепарированного холодного газа. После холодильника газ редуцируется до давления максимальной конденсации в регулируемом штуцере 7. В результате температура его снижается на величину дроссельного эффекта (примерно 0,3° на 0,1 МПа). Затем газ попадает в вертикальный сепаратор 8, где происходит разделение конденсата и газа. Чтобы не происходило обмерзания этого сепаратора, в него вмонтирован паровой теплообменник 10. Далее газ и конденсат направляются в горизонтальный низкотемпературный сепаратор 9, где вследствие резкого уменьшения скорости при максимальном давлении конденсации и низкой температуре происходит окончательное разделение газа и конденсата. Конденсат из сепаратора 9 периодически выпускается в конденсатопровод, а газ, проходя через холодильник, направляется на дальнейшую обработку.

Рис. 23. Схема установки низкотемпературной сепарации

Для предотвращения гидратообразования в установку вводится метанол или диэтиленгликоль. Вода, как более тяжелая жидкость, чем конденсат, отстаивается в нижней части сепаратора и оттуда периодически сбрасывается в очистные сооружения.

Очистка газа от конденсата должна производиться до степени, исключающей выпадение конденсата при транспортировке газа.

Очистка газа от механических примесей

Очистка газа от механических примесей осуществляется для предотвращения загрязнений и эрозии линейной части газопроводов и оборудования КС, ГРС и оборудования потребителей.

Установки по очистке газа предусматриваются на входе в КС и ГРС и представляют собой аппараты различной конструкции, работающие по принципу сухих или мокрых фильтров. При проектировании КС магистральных газопроводов для очистки газа рекомендуется устанавливать вертикальные масляные пылеуловители диаметром 600, 1000, 1600, 2400 мм. На ГРС используются большей частью пылеуловители диаметром до 1600 мм, рассчитанные на давление 6,4 МПа, и диаметром 2400 мм - на рабочее давление 5,5 МПа. Масляный пылеуловитель представляет собой вертикальный цилиндрический сосуд со сферическими днищами (рис. 24). Пылеуловитель состоит из трех секций: нижней промывочной А (от нижнего днища до перегородки 5), в которой все время поддерживается постоянный уровень масла; средней осадительной Б (от перегородки 5 до перегородки 6), где газ освобождается от крупных частиц масла, и верхней отбойной (скрубберной) секции В (от перегородки 6 до верхнего днища), где происходит окончательная очистка газа от масла. Работа пылеуловителя заключается в следующем. Очищаемый газ через газо-подводящий патрубок 10, ударяясь о козырек 9, входит в пылеуловитель, где в связи с уменьшением скорости из него под действием силы тяжести выпадают и осаждаются наиболее крупные частицы пыли и жидкости. Далее газ поступает в контактные трубки 4, ниже которых на определенном уровне (25-50 мм) находится смачивающая жидкость (соляровое масло), и проходит в осадительную секцию Б. Проходя через контактные трубки со значительной скоростью, газ увлекает за собой масло, которое, промывая его, обволакивает взвешенные частицы пыли. В осадительной секции скорость газа резко снижается, выпадающие при этом крупные частицы пыли и жидкости по дренажным трубкам 11 стекают вниз. Наиболее легкие частицы из осадительной секции газовым потоком уносятся в верхнюю скрубберную секцию В.

Рис. 24. Вертикальный масляный пылеуловитель

Скрубберная секция состоит из десяти рядов перегородок 8, расположенных в шахматном порядке. Проходя в лабиринте перегородок и ударяясь о них, газ совершает много поворотов. Благодаря этому частицы масла осаждаются на перегородках 8 и затем стекают на дно скрубберной секции, с которой по дренажным трубкам 11 спускаются в нижнюю часть пылеуловителя. Очищенный газ через газоотводящий патрубок 7 выходит в газопровод. Осевший на дно пылеуловителя шлам периодически (через 2-3 месяца) удаляют через люк 12. Осевшее внизу загрязненное масло удаляют продувкой через трубку 1 в отстойник. Взамен загрязненного масла в пылеуловитель по трубам 2 из маслоотстойника доливается до норм свежее очищенное масло. Продувка производится в зимний период не реже одного раза в сутки или по мере подъема уровня масла, если его уровень поднимается выше нормального быстрее чем за 24 ч. Полная очистка пылеуловителя производится 3-4 раза в год через люк. Контроль за уровнем масла ведется по шкале указателя уровня 3. В состав установки для очистки газа кроме группы масляных пылеуловителей входят отстойники, предназначенные для отстоя отработанного масла с целью повторного его использования. Масляный аккумулятор предназначен для заправки пылеуловителей свежим маслом. Подача масла из аккумулятора в пылеуловители осуществляется самотеком за счет разности высотных отметок, так как при этом давление в аккумуляторе и пылеуловителе выравнивается открытием крана на линии между аккумулятором и пылеуловителем.

Рис. 25. Циклонный пылеуловитель:

а - схема циклонного пылеуловителя; б - элемент циклонного пылеуловителя; 1 - патрубок для выхода газа; 2 - корпус; 3 - верхняя решетка; 4 - патрубок для входа газа; 5 - элемент циклонного пылеуловителя; 6 - нижняя решетка; 7 - дренажный штуцер; 8 - наружные винтовые лопасти; 9 - вход газа; 10 - выход газа.

Количество заливаемого масла в пылеуловитель диаметром2400мм не превышает 1,5-2 т. Унос масла допускается не более 25 г на 1000 м3 газа.

Диаметр и число пылеуловителей определяются расчетом, исходя из нормальных условий их работы, проектного объема транспортируемого газа, скорости его в пылеуловителях и необходимости периодического отключения одного из них на ремонт. При отключении одного из пылеуловителей допускается перегрузка оставшихся не более чем на 33%.

Вместимости аккумулятора и отстойников принимаются равными вместимости одного пылеуловителя по маслу.

Установки масляных пылеуловителей располагаются на открытых площадках на всех КС перед входом газа в компрессорный цех.

Пропускная способность вертикальных масляных пылеуловителей при заданном давлении ограничивается скоростью потока газа в контактных трубках, которая не должна превосходить скорости их "захлебывания" (1-3 м/с). Масса и размеры этих пылеуловителей велики. Поэтому для уменьшения расхода металла и габаритных размеров разработаны конструкции горизонтальных и сферических жидкостных пылеуловителей и центробежных циклонных пылеуловителей. В горизонтальных и сферических пылеуловителях используется барботажный принцип промывки газа. Очистка газа в циклонном пылеуловителе (рис. 25) происходит за счет отбрасывания центробежной силой к периферии капельной влаги и твердых частиц. Отсепарированная влага и твердые частицы осаждаются по дренажному конусу циклона в нижнюю часть аппарата, откуда автоматически удаляются через дренажный штуцер.

Список использованной литературы

1.              Транспорт и хранение нефти и газа, под редакцией Н.Н. Константиновича М., Недра 1975 г.

2.      Строительство объектов нефтяной и газовой промышленности, Н.В. Бобрицкий, Б.Н. Курепин, М., Недра 1983 г.

.        Сооружение и ремонт газонефтепроводов, газонефтехранилищ и нефтебаз, Высшее образование., М., Недра 1987 г.

.        Опыт строительства сборных железобетонных резервуаров, Г.Н. Гомжин, М., Недра 1964 г.

Похожие работы на - Сооружение и эксплуатация газонефтепроводов и газонефтехранилищ

 

Не нашли материал для своей работы?
Поможем написать уникальную работу
Без плагиата!
Без нейросетей!