Сборка и сварка фермы
МИНИСТЕРСТВО ОБРАЗОВАНИЯ И НАУКИ
РОССИЙСКОЙ ФЕДЕРАЦИИ
ФЕДЕРАЛЬНОЕ государственное БЮДЖЕТНОЕ
образовательное учреждение
высшего профессионального образования
«тюменский государственный НЕФТЕГАЗОВЫЙ УНИВЕРСИТЕТ»
ПИСЬМЕННАЯ
ЭКЗАМЕНАЦИОННАЯ РАБОТА
на тему:
«Сборка
и сварка фермы»
Тюмень,
2015
Содержание
1. Характеристика изделия
. Материалы, необходимые для
выполнения работ
. Оборудование, инструменты,
приспособления, инвентарь
. Технологический процесс
. Технология выполнения швов
. Выбор режима сварки
. Требования качества выполненных
работ
. Организация рабочего места
. Безопасные приемы труда
Список используемой литературы
1... Характеристика
изделия
Ферма - это решетчатая конструкция - система
стержней из профильного проката или труб, соединенных в узлах таким образом,
что стержни испытывают растяжение или сжатие, а иногда сжатие с продольным
изгибом. Металлические сварные фермы широко используют при строительстве
промышленных и гражданских зданий, мостов, мачт, вышек и т. д. Это объясняется
высокой прочностью и жесткостью ферм и небольшими затратами металла на их
изготовление.
Рис.1.1. Ферма
Ферма состоит из элементов: пояс,
стойка, раскос, шпренгель <https://ru.wikipedia.org/wiki/%D0%A8%D0%BF%D1%80%D0%B5%D0%BD%D0%B3%D0%B5%D0%BB%D1%8C_(%D0%B7%D0%BD%D0%B0%D1%87%D0%B5%D0%BD%D0%B8%D1%8F)>
(опорный раскос).
2.
Материалы, необходимые для выполнения работ
Для сварки фермы был выбран прокат профильной
трубы 50 х 25мм из стали 09Г2С. Стенка трубы
1,12 мм, длина - 6,12 м.
Сталь 09Г2С - низколегированная конструкционная
для сварных работ. 09Г2С - сталь, свариваемая без ограничений, при сварке не
требует подогрева и последующей термообработки, не флокеночувствительна и не
склонна к отпускной хрупкости.
Химический состав в % стали 09Г2С:
|
C
|
Si
|
Mn
|
Ni
|
S
|
P
|
Cr
|
N
|
Cu
|
As
|
|
до 0.12
|
0.5-0.8
|
1.3-1.7
|
до 0.3
|
до 0.04
|
до 0.035
|
до 0.3
|
до 0.008
|
до 0.3
|
до 0.08
|
Для сварки фермы подходят следующие марки
сварочной проволоки: Св-08ГС, Св-08Г2С, Св-18ХГС. Для полуавтоматической сварки
в углекислом газе (СО2) использовать сварочную проволоку, желательно
омедненную, диаметром 0,6-1 мм, также нельзя использовать ржавую и гнутую
сварочную проволоку.
При сварке используется проволока Св-08Г2С-О.
Омеднение защищает проволоку от окисления и улучшает токоподвод.
Основные характеристики Св-08Г2С-О:
проволока выпускается диаметром 0,8; 1,0; 1,2;
1,4; 1,6; 2,0; 2,5; 3,0; 3,8; 4,0; 5,0 мм;
обработка поверхности: без покрытия, омедненная,
полированная (остаточная смазка менее 0,03%), химически полированная проволока;
газозащитная - CO2
или смесь Ag-80% и CO²-20%;
тип тока: постоянный обратной полярности.
Защитным газом в данной сварке выступает
углекислый газ (СО2).
Углекислый газ является активным, это значит,
что он защищает зону сварки от воздуха, растворяется в жидком металле, либо
вступает с ним в химическое взаимодействие.
Углекислый газ бесцветный, со слабым запахом, с
резко выраженными окислительными свойствами, хорошо растворяется в воде.
Тяжелее воздуха в 1,5 раза, может скапливаться в плохо проветриваемых
помещениях, в колодцах, приямках. ферма сварка шов труба
Для снижения влажности СО2,
рекомендуется установить баллон вентилем вниз и через 1-2 ч открыть вентиль на
8-10 с для удаления воды. Перед сваркой из нормально установленного баллона
выпускают небольшое количество газа, чтобы удалить попавший внутрь воздух. В
углекислом газе сваривают чугун, низко- и среднеуглеродистые, низколегированные
конструкционные коррозионностойкие стали. Цвет баллона - черный, надпись
желтая.
СО2 используется для ручной дуговой
сварки на переменном и постоянном токе в различных пространственных положениях
ответственных конструкций из углеродистых и низколегированных сталей с
нормативным пределом прочности до 500 МПа.
3. Оборудование, инструменты,
приспособления, инвентарь
Для сварки фермы рациональнее применить
полуавтоматическую сварку в углекислом газе. Конструктивно сварочный
полуавтомат состоит из источника тока (выпрямителя) и механизма подачи
сварочной проволоки, выполненных в одном корпусе или раздельно и комплектуется
сварочной горелкой (рис.3.1.). Основной принцип полуавтоматической сварки MIG/MAG
заключается в том, что металлическая проволока во время сварки подается в зону
сварки через сварочную горелку и плавится в электрической дуге. Сварочная проволока
при этом методе играет двойную роль - она является токопроводящим электродом и
служит присадочным материалом.

Рис. 3.1. Основной механизм подачи проволоки
толкающего типа с обычной горелкой
Исходя из конструктивных особенностей
оборудования для полуавтоматической сварки в углекислом газе используют
полуавтомат «Спутник». Силовой блок питания вырабатывает переменный сварочный
ток, силовой выпрямитель преобразует переменный ток в постоянный, дроссель
сглаживает пульсации тока после преобразования, блок управления включает и
выключает силовой блок питания, пневмоклапан для подачи защитного газа в зону
сварки и подающий механизм. Шлангом управления производится включение блока управления
и производится сварка. На панели управления расположены все органы управления
полуавтомата (кроме кнопки включения схемы, она на ручке шланга управления):
регулировка подачи электродной проволоки, регулировка силы сварочного тока и
напряжения, тумблер включения сети, сигнальная лампа (показывает наличие
напряжения), универсальный разъем для подключения шланга управления, вывод для
подключения кабеля обратного тока (массы).
Принцип работы полуавтомата основан на сварке
металлов в среде защитного газа плавящимся электродом.
Посредством шланга управления в место сварки
автоматически подается электрод и защитный газ, а перемещение сварочной горелки
по шву производится вручную сварщиком.
Порядковый номер полуавтомата выбит на передней
панели около подающего механизма и на табличке на задней панели. Пломбировка
полуавтомата отсутствует.
Во время работы полуавтомата необходимо
соблюдать время периода работы и паузы (ПВ), т.к. во время сварки происходит
нагрев дросселя, силового выпрямителя и силового трансформатора, при нагреве
они могут выйти из строя. Время сварки 3 минуты. Время паузы (перерыва) 2
минуты.
Во время паузы происходит охлаждение за счет
естественной вентиляции силовых агрегатов полуавтомата через имеющиеся
вентиляционные отверстия в корпусе.
Таблица 3.1. Технические характеристики
полуавтомата «Спутник»:
|
Технические
характеристики
|
|
Напряжение
питания сети, В
|
380
|
|
Максимальный
сварочный ток полуавтомата, А
|
175
|
|
Номинальное
рабочее напряжение полуавтомата, В
|
32
|
|
Максимальный режим работы ПВ, %
|
60
|
|
Частота питающей сети, Гц
|
50
|
|
Диаметр используемой проволоки, мм
|
0,8-1,2
|
|
Скорость
вылета электрода, м/мин
|
0-11
|
|
Потребляемая
мощность, кВт не более
|
3,5
|
|
Масса полуавтомата, кг
|
85
|
|
Размеры
|
1000х815х355
|
Кроме сварочного полуавтомата сварка в
углекислом газе предусматривает использование дополнительного оборудования -
подогревателя и осушителя.
Подогреватель используется только при сварке в
углекислом газе. Испарение жидкого СО2 при большом его расходе
приводит к резкому понижению температуры. Влага, содержащаяся в газе, замерзает
в редукторе. Для безопасности подогреватель питается постоянным (20 В) или
переменным током (36 В).
Рис.3.2. Подогреватель: 1 - корпус, 2 - кожух, 3
- змеевик, 4 - теплоизоляция, 5 - нагревательный элемент, 6 - накидная гайка.
Осушитель поглощает влагу из
углекислого газа. Выпускается двух модификаций: высокого и низкого давления.
Осушитель высокого давления устанавливают перед регулятором (редуктором), а низкого
- после него. Влагопоглощающим веществом служит силикагель или алюмогликоль.
Путем прокаливания при 250-300 ᵒС эти вещества поддаются восстановлению.
Рис.3.3. Осушитель: 1 - втулка, 2 - накидная
гайка, 3 - пружина, 4 - сетка, 5 - фильтр, 6 - осушающий материал, 7 - сетчатая
шайба, 8 - корпус, 9 - штуцер.
4.
Технологический процесс
. Подготовка металла к
сварке: низколегированные
стали разрезают на заготовки газовой, плазменной или воздушно-дуговой резкой с
последующей зачисткой участков нагрева резцовыми или абразивными инструментами
до удаления следов огневой резки. Перед сборкой стыка свариваемые кромки на
ширину до 20 мм зачищают до металлического блеска и обезжиривают. Стыки
собирают в сборочных приспособлениях или с помощью прихваток. Их ставят с
применением присадочных проволок той же марки, какой будет выполнена сварка.
Высота прихватки равна 0,6 - 0,7 толщины
свариваемых деталей, но не менее 3 мм, при толщине стенки до 10 мм или 5-8 мм
при толщине стенки более 10 мм. Прихватки необходимо выполнять с полным
проваром. Их поверхность должны быть тщательно зачищена. Прихватки, имеющие
недопустимые дефекты следует удалить механическим способом. Сварочную проволоку
в течение 1,2 - 2 ч прокаливают при температуре 150 - 250ºС.
Ржавчина на проволоке резко ухудшает стабильность процесса сварки. Удалять
ржавчину рекомендуется травлением проволоки в 5 % - ном растворе соляной
кислоты с последующим прокаливанием 1,5 - 2 ч при температуре 150 - 250ºС.
2. Технологический процесс
сварки металлической фермы начинается с изготовления ее элементов - уголков,
швеллеров, косынок и т. п. по заданным чертежам. Изготовленные элементы фермы
собирают на стеллаже или в стапелях и скрепляют короткими сварными швами.
Последовательность наложения сварных швов при сварке фермы, собранной на
прихватках, должна выполняться в соответствии с технологией, предусматривающей
получение минимальных короблений, допустимых без последующей рихтовки фермы - порядок сварки узлов всегда следует вести от середины фермы
к ее концам.
1. На стеллажах, пользуясь
фиксаторами, ограничителями и закрепляющими устройствами, выкладывают согласно
чертежу первые ветви верхнего и нижнего пояса фермы.
. В узловых точках поясов
устанавливают косынки, прижимают их струбцинами или скобками к ветвям поясов и
прихватывают.
. Проверяют правильность положения
поясов и узловых точек, измеряя линейкой или струной по направлению стоек,
раскосов и связей их теоретическую длину между взаимно противоположными точками
и одновременно наносят на косынках риски по направлению элементов решетки.
. Выкладывают первые ветви стоек и
раскосов, выдерживая величину минуса в каждом узле и, ориентируясь по
совпадению рисок на косынках и на концах стержней решетки, прижимают стержни к
косынкам и ставят прихватки.
. Кантуют собранную ветвь фермы на
180°, выкладывают согласно чертежу прокладки на поясах и элементах решетки,
прижимают их и прихватывают.
. Выкладывают вторые ветви поясов,
стоек, раскосов и связей, ориентируясь по первой ветви каждого элемента,
прижимают их и прихватывают к косынкам и прокладкам.
. Производят сварку собранной фермы.
Сварку узлов начинают от середины фермы и ведут симметрично к ее концам. В
каждом узле сначала приваривают косынки к поясам, а затем стойки и раскосы к
косынкам.
. Кантуют второй раз ферму на 180° и
производят в таком же порядке сварку узлов со стороны первых ветвей поясов,
стоек и раскосов.
. После сварки всех швов ферма
подвергается заключительным операциям, по окончании которых поступает в склад
готовой продукции.
5.
Технология выполнения швов
Узлы фермы сваривают
последовательно - от середины фермы к опорным узлам. Сначала выполняют
стыковые, а затем угловые швы. Если швы разного сечения, то вначале накладывают
швы с большим сечением, а затем с меньшим. Каждый элемент при сборке
прихватывают швом длиной 30-40мм. Близко расположенные швы не выполняются
сразу. Сначала дают остыть тому участку основного металла, где будет
накладываться близко расположенный шов. Это снизит перегрев металла и
пластические деформации. Контроль продольного шва выводят на торец
привариваемого элемента на длину 20 мм. (см.рис.5.1.)
Рис.5.1. Длина продольного шва.
При сварке деталей ферм используют следующие
виды соединений:
· нахлесточное соединение с обваркой контура
уголка прочнее и жестче (рис.5.2.). Целесообразно перекрещивать полки уголков,
перпендикулярные к плоскости соединения. Во избежание появления в стержнях
лишних изгибающих и крутящих моментов целесообразно соединять элементы фермы так,
чтобы линии центров изгиба сечений пересекались в одной точке.
Рис.5.2.
Соединение полками, обращенными в одну сторону
компактнее (см.рис.5.3.).
Рис.5.3.
· узел фермы с косынкой - жесткость соединения
усиливают косынками. Соединение с накладными косынками значительно прочнее и
жестче (рис.5.4.).
Рис.5.4.Узел фермы с косынкой.
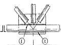
· узел фермы с накладкой: к горизонтальному
стержню фермы, представляющему в сечении двутавр, приваривается двумя угловыми
швами 1 надставка. При длине швов более 500 мм они накладываются
обратноступенчатым способом. Два стержня, каждый из которых состоит из двух
уголков, устанавливаются на надставку и прихватываются к ней с таким расчетом,
чтобы геометрические оси стержней и балки пересекались в одной точке. Сначала
накладываются лобовые швы 2, затем фланговые 3 и 4, направление сварки которых
должно быть от лобового шва к краям надставки. Во избежание коробления надставки
швы 3 и 4 следует накладывать одновременно с обеих сторон надставки либо
поочередно с одной и с другой стороны (см.рис.5.5.).
Рис. 5.5. Узел фермы с надставкой.
Конец продольного шва выводят на торец
привариваемого элемента на дли
· узел фермы с прокладкой используют в
случае, когда сечение всех стержней состоит из парных элементов - уголков или
швеллеров. Парные элементы стержней соединяют между собой с зазором, в который
вставляется прокладка. Сначала приваривается горизонтальный стержень к
прокладке швами 1 и 2. Сварку рекомендуется вести одновременно с обеих сторон
прокладки двумя сварщиками. Затем таким же образом приваривается вертикальная
стойка, а потом две наклонные стойки.
Рис.5.6. Узел фермы с прокладкой.
6.
Выбор режима сварки
Качество сварки в значительной мере зависит от
правильности выбора режимов работы сварочного полуавтомата, а также от
правильности выбора сварочных материалов (сварочной проволоки). Для регулировки
расхода защитного газа используют газовый редуктор. Защитный газ, который
подается в зону сварки через газовое сопло, защищает дугу и сварочную ванну с
расплавленным металлом. Металл в расплавленном состоянии химически активен и
может взаимодействовать с защитным газом.
В зависимости от толщины свариваемого металла
сварщик выбирает режим работы переключателем силы тока и подачи электрода.
Расстояние от края защитной трубки и свариваемой деталью 7-14 мм.
Толщина свариваемого металла - 2 мм. Зазор между
свариваемыми деталями устанавливается около 0,8 мм.
Рассмотрим оптимальные режимы сварки при толщине
металла 2 мм:
Диаметр
проволоки 0,8 мм
Сварочный
ток - около 200 А
Скорость
сварки - 55 м/ч
Вылет
электрода - 13 мм
Расход
газа - 7 л/мин
Число проходов - 1
7. Требования
качества выполненных работ
Сварные конструкции контролируют на всех этапах
их изготовления. Кроме того, систематически проверяют приспособления и
оборудование. При предварительном контроле подвергаются проверке основные и
вспомогательные материалы, устанавливается их соответствие чертежу и
техническим условиям,
После заготовительных работ детали подвергают
чаще всего наружному осмотру, т.е. проверяют внешний вид детали, качество
поверхности, наличие заусенцев, трещин, забоин и т.п., а также измеряют
универсальными и специальными инструментами, шаблонами, с помощью контрольных
приспособлений. Особенно тщательно контролируют участки, подвергающиеся сварке.
Профиль кромок, подготовленных под сварку плавлением, проверяют специальными
шаблонами, а качество подготовки поверхности - с помощью оптических приборов
или специальными микрометрами.
Во время сборки и прихватки проверяют
расположение деталей друг относительно друга, величину зазоров, расположение и
размер прихваток, отсутствие трещин, прожогов и других дефектов в местах
прихваток и т.д. Качество сборки и прихватки определяют главным образом
наружным осмотром и обмером.
Наиболее ответственным моментом является текущий
контроль выполнения сварки. Организация контроля сварочных работ может
производиться в двух направлениях: контролируют сами процессы сварки либо
полученные изделия.
8.
Организация рабочего места
Для сварки и сборки фермы создаются
специализированные сварочные участки - сборочно-сварочные цехи, которые
оборудованы грузоподъемными устройствами, сборочными стеллажами, кондукторами и
кантователями. Применение грузоподъемных устройств должно быть предусмотрено на
сборке при сварке отдельных изделий массой более 20 кг каждое. Ширина проходов
между оборудованием, движущимися механизмами и перемещаемыми деталями, а также
между стационарными многопостовыми источниками питания должна быть не менее 1,5
м.