Розробка технології зварювання балону
Національний
технічний університет України
" Київський
політехнічний інститут "
Зварювальний
факультет
Курсова робота
з дисципліни:
"Технологія та устаткування зварювання плавленням"
Тема:
"Розробка технології зварювання балону"
Виконав: ст. 2 курсу, ЗФ
групи ЗВ - 22
Чміль Б.О.
Перевірив: Бойко В.П.
Київ-2014
Зміст
Вступ
. Конструктивно-технологічний аналіз
.1 Призначення та умови експлуатації
.2 Конструкція, габаритні розміри та маса
.3 Зварювальний (основний) матеріал
.4 Зварні з’єднання
.5 Організація зварювальних робіт
. Вибір способів зварювання
.1 Вибір типового способу зварювання
.2 Вибір спеціального способу зварювання
. Вибір зварювальних матеріалів
.1 Вибір покритих електродів
.2 Вибір захисного газу
.3 Вибір зварювального дроту
.4 Вибір зварювального флюсу
. Вибір швів та розробки кромок
.1 Вибір швів та розробка кромок для зварювання в СО2
.2 Вибір швів та розробка кромок для зварювання під
флюсом
. Розрахунок режимів зварювання
.1 Визначення режимів для зварювання в СО2
.2 Визначення режимів для зварювання під флюсом
. Вибір зварювального обладнання
.1 Вибір зварювального обладнання для зварювання в СО2
.2 Вибір зварювального обладнання для зварювання під
флюсом
. Техніка зварювання
. Розрахунок технологічної собівартості
.1 Розрахунок витрат для зварювання в СО2
.2 Розрахунок витрат для зварювання під флюсом
. Прийняття рішення
. Нормування зварювальної операції
Література
Вступ
У даній курсовій роботі, проводиться
технологічний аналіз по виготовленню балону. В ході аналізу наведені матеріали
для підбору способу зварювання до даної конструкції, проведений вибір
складально-зварювального устаткування. Також проведений розрахунок режиму
зварювання, розрахунок технологічної собівартості, вибір швів та підготовка
кромок враховуючи особливості конструкції. В даному аналізі порівнюється два
способи зварювання які потім порівнюються по певним параметрам. Потім з них
вибирається оди, найбільш доцільний. Після цього формується висновок, ухвалення
рішення та складання технологічної карти.
1. Конструктивно-технологічний аналіз
1.1 Призначення та умови
експлуатації
Балон - металева ємкість, призначена для
зберігання і транспортування стиснутих, зріджених та розчинених газів під
тиском вище атмосферного. Балони розрізняються по місткості, конструктивним
особливостям, фарбуванню. Найпоширеніші балони місткістю 40 л. За фарбуванням
розрізняють такі балони: кисневий балон офарблюють у блакитний
колір, ацетиленовий
- у білий, балон для аргону - у сірий, для вуглекислого
газу і повітря - у чорний, у темно-зелений, для інших пальних газів - у червоний
колір. Їх виготовляють зазвичай із безшовних труб,
матеріалом яких є вуглецева та легована сталь. Для зріджених газів - пропану і бутану допускається
використання балонів зі зварними швами. Місткість балонів буває від 0,4 до 80
літрів. Балони для кисню - стальні циліндричні посуди виготовлені також з
вуглецевої та легованої сталі.
Експлуатація, зберігання і транспортування
балонів повинні здійснюватись відповідно до вимог інструкції з безпечної експлуатації,
зберігання і транспортування балонів [1]. Аналізуючи дану інструкцію можна
зробити висновок: так як у балонах зберігаються гази та суміші газів під тиском
вище атмосферного, тому балон є конструкцією - дуже відповідальною.
1.2 Конструкція, габаритні
розміри та маса
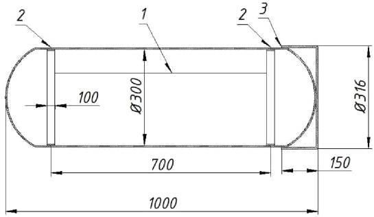
Балон складається з основного циліндра, нижньої і
верхньої напівсфер та днища. Форма та габаритні розміри балону зображені на
рис. 1. Товщина стінок даного матеріалу 4мм.
Рис.1. Балон
Знаючи габаритні розміри конструкції вираховуємо
об’єм та її масу:
Об’єм:
V=πr2h
V=0,01м 3
Густина сталі: ρ=7850 кг/м 3
Знаючи об’єм та густину можна знайти масу:
M=V ρ
M=78,5 кг
Отже, балон не є крупно габаритним тому при організації
зварювальних робіт його легше використовувати.
1.3 Зварювальний (основний)
матеріал
По марчнику [2] сталей знаходимо хімічний склад та технологічні
властивості сталі 14ХГС (ГОСТ 5520-79) та зображуємо їх у вигляді таблиць.
Хімічний склад в % матеріалу 14ХГС
|
C
|
Si
|
Mn
|
Ni
|
S
|
P
|
Cr
|
Cu
|
As
|
Fe
|
|
0.11 -
0.16
|
0.4 -
0.7
|
0.9 -
1.3
|
до 0.3
|
до 0.04
|
до
0.035
|
0.5 -
0.8
|
до 0.3
|
до 0.08
|
~96
|
Характеристика матеріалу Сталь 14ХГС
|
Марка
|
Сталь
14ХГС.Хромокремнемарганцева.
|
|
Замінник
|
Сталь 15ХСНД, Сталь 16ГС, Сталь 14Г 2, Сталь 16ГНМ,Сталь 14СНД
|
|
Класифікація
|
Сталь
конструкційна низьколегована для зварювальних конструкцій
|
|
Використання
|
Електрозварювальні
труби магістральних газопроводів високого тиску, зварювальні конструкції,
листові, клапанні конструктивні деталі.
|
Технологічні властивості матеріалу 14ХГС
|
Зварюваність:
|
обмежено
зварювана
|
|
Флокеночутливість:
|
не
чутлива
|
|
Схильність
до відпускної крихкості:
|
схильна
|
Судячи з хімічного складу сталь низьколегована та
не містить легуючих елементів, які характеризуються високою хімічною
активністю, що необхідно використовувати при виборі способу зварювання та
зварювальних матеріалів. Оцінюємо зварюваність сталі розрахунковим шляхом.
Перевіримо схильність метала шва до утворення гарячих тріщин при найбільш
несприятливих поєднаннях легуючих елементів та домішок.
Так як HCS=0,0179 що більше ніж 0,004,
то метал схильний до утворення гарячих тріщин. Перевіримо схильність основного
металу до утворення холодних тріщин при найбільш несприятливому легуванні,
тобто при максимальному вмісту легуючих елементів та домішок:
Cекв
Таким чином, при вмісті в сталі 14ХГС легуючих елементів та
домішок по максимуму Cекв=0,83, тобто дещо вище
допустимих значень (0,40...0,45). Що свідчить про можливе утворення холодних
тріщин, тому в заводських умовах необхідно контролювати склад сталі по
сертифікатах.
В цілому сталь можна віднести до обмежено зварюваних при
середньому вмісті легуючих елементів та домішок.
В марочнику [2] знаходяться механічні властивості сталі
14ХГС для даної товщини листового металу 4мм, які представлені у таблиці нижче.
Механічні властивості при Т=20oС матеріалу 14ХГС
|
Марка
сталі
|
Розмір, мм
|
σв, МПа
|
σТ, МПа
|
δ, %
|
KCU, кДж / м2
|
|
14ХГС
|
4
|
490
|
345
|
22
|
340-390
|
1.4 Зварні з’єднання
Всі зварні з’єднання є стиковими та зазнають
статичного навантаження від внутрішнього тиску. В цілому всі з’єднання
необхідно віднести до особливо відповідальних. За конфігурацією шви є
кільцевими та один лінійний. Доступ до швів обмежений так як діаметр балону не
дозволяє зварнику зварювати шви з внутрішньої сторони, тому зварювання
необхідно проводити тільки з зовнішньої сторони. Всі з’єднання не довгі (менше
1м). Всі відомості про з’єднання даного балону наведені у таблиці нижче.
|
№ п/п
|
Вид з’єднання
|
Товщина металу (мм)
|
Протяжність шва (см)
|
Кількість з’єднань
|
Конфігурація з’єднань
|
Доступність
|
|
1
|
Стикове
|
4
|
700
|
1
|
Лінійне
|
Обмеж. з внутр. с.
|
|
2
|
Стикове
|
4
|
942
|
2
|
Кільцеве
|
Обмеж. з внутр. с.
|
|
3
|
Стикове
|
4
|
992
|
1
|
Кільцеве
|
Обмеж. з внутр. с.
|
1.5 Організація зварювальних
робіт
зварювання сталь собівартість
В заводських умовах рекомендується зварювати всі
з’єднання балону в нижньому положенні в такій послідовності: спочатку
зварюється основний циліндр (з’єднання №1), потім зварюють верхню та нижню
напівсфери в нижньому положенні обертаючи конструкцію (з’єднання №2), а вже в
кінці приварюють днище (з’єднання №3).
Так як балони виготовляється та транспортуються
партіями певної кількості, отже дане виробництво можна вважити серійним.
2. Вибір способів зварювання
2.1 Вибір типового способу
зварювання
До групи типових способів зварювання відносять
універсальні способи зварювання, які найбільш повно розроблені та широко
використовуються у виробництві зварювальних конструкцій:
- ручне дугове зварювання покритим електродом
- Е (111 - за міжнародною системою позначень),
- механізоване та автоматичне плавким
електродом в активному газі - УП (135),
- механізоване та автоматичне плавким
електродом в інертному газі - ІП (131),
- автоматичне зварювання під флюсом - Ф
(121),
- електрошлакове - Ш (72),
- газове зварювання - Г (311),
- зварювання неплавким вольфрамовим
електродом в інертних газах - ІН (141),
- зварювання неплавким графітовим
електродом - АН (181),
- плазмове зварювання - П (15),
- електронно-променеве зварювання - ЕП,
лазерне зварювання - Л.
Ці способи є дуже різним, а тому потрібно
проаналізувати їх з факторами що впливають на вибір способу зварювання. До
факторів що впливають на вибір способу зварювання відносять: фізичні
властивості матеріалу, хімічний склад та активність легуючих елементів,
зварюваність, товщина матеріалу, транспортабельність, положення при зварюванні,
доступність, довжина зварного з’єднання, матеріальні затрати та інше.
Встановлено, що матеріал балону - сталь 14ХГС
(ГОСТ 5520-79) відноситься до групи низьколегованих сталей які обмежено
зварюються. Отже для цієї сталі пропонується проаналізувати такі способи
зварювання, які наведені у таблиці нижче.
|
ТИПОВІ
СПОСОБИ ЗВАРЮВАННЯ
|
|
Матеріал
|
Сталь
14ХГС (ГОСТ 5520-79)
|
|
№ п/п
|
Фактори
способу зв.
|
Плавким
електродом
|
Неплавким
електродом
|
|
|
Е
|
УП
|
ІП
|
Ф
|
Ш
|
Г
|
ІН
|
АН
|
П
|
ЕП
|
Л
|
|
1
|
Хімічний
склад
|
+
|
+
|
|
+
|
+
|
+
|
|
+
|
|
|
|
|
2
|
Товщина
металу(4мм)
|
+
|
+
|
|
+
|
+
|
|
|
|
|
|
|
|
3
|
Положення
при зв.
|
+
|
+
|
|
+
|
|
|
|
|
|
|
|
|
4
|
Довжина
з’єднання
|
+
|
+
|
|
+
|
|
|
|
|
|
|
|
|
5
|
Доступність
|
+
|
+
|
|
+
|
|
|
|
|
|
|
|
Так як сталь 14ХГС не містить легуючих елементів
типу Ti, Al та інших високоактивних хімічних елементів, то з подальшого
аналізу було виключено способи зварювання плавким (ІП) та неплавким (ІН)
електродом в дорогих інертних газах. Ще було виключено способи з дорогим
обладнанням та великою густиною енергії: плазмове (П), електронно-променеве
(ЕП), та лазерне (Л) зварювання, так як цей матеріал не є тугоплавким. Далі
аналізуючи товщину матеріалу, було відкинуто способи газового (Г) зварювання (багато
прохідне з присадкою) та низько ефективне зварювання неплавким графітовим
електродом (АН). При аналізі положення при зварюванні було також відкинуто
електрошлакове зварювання (Ш), так як воно дозволяє зварювати тільки у
вертикальному положенні.
Продовжуючи аналіз положення при зварюванні було
залишено ручне дугове зварювання покритим електродом (Е), механізоване та
автоматичне плавким електродом в активному газі (УП), автоматичне зварювання
під флюсом (Ф) враховуючи певні особливості положення при зварюванні. З’єднання
№1 рекомендується зварювати в нижньому положенні. Його доцільніше виконати
автоматичним зварюванням плавким електродом в вуглекислому газі (УП), або під
флюсом (Ф). А з’єднання №2 та №3 рекомендується варити в нижньому для
поворотних стиків труб. Для цих з’єднань зварювання під флюсом не підходить,
так як площі навколо шва не достатньо щоб насипати флюс у повному об’ємі. Тому
доцільніше буде використати ручне дугове зварювання покритим електродом (Е) та
автоматизоване плавким електродом у вуглекислому газі (УП). В таблиці нижче
наведені варіанти типових способів зварювання з вказанням їх пріоритетності:
|
№ з’єднання
|
Положення
при зварюванні
|
Товщина
матеріалу мм
|
Варіант
типових способів зварювання
|
|
1
|
Н
|
4
|
1) УПавт; 2) Ф
|
|
2
|
Н для
поворотних стиків
|
4
|
1) УПавт; 2) Е
|
|
3
|
Н для
поворотних стиків
|
4
|
1) УПавт; 2) Е
|
Заключний висновок аналізу можна буде дати після
оцінки економічного використання та собівартості кожного зі способів, включаючи
розгляд спеціальних способів.
2.2 Вибір спеціального способу
зварювання
Спеціальні способи зварювання - це способи, які
основані на типових способах зварювання і призначені для конкретного, більш
вузького використання.
Як відомо наша конструкція має 2 види положень
при зварюванні: нижнє та нижнє для поворотних стиків. Так як зварювання під
флюсом є найбільш продуктивним серед вище обраних способів то пропонується
використати трактор для зварювання під флюсом з вузькою колісною базою за
допомогою якого можна буде зварювати в нижньому положенні та в нижньому для поворотних
стиків.
Одним з таких тракторів є BRIMA MZ 125, який має
змінну вольт амперну характеристику, високу продуктивність, малі масо габаритні
показники (ширина 44 см, що важливо у нашому випадку), цифровий контроль
параметрів та захист від перенавантажень. Більш повну інформацію та технічні
характеристики трактора BRIMA MZ 125 можна розглянути на сайті [7].
Так як у балону опухла поверхня, мною
пропонується розробити спеціальні з’ємні мідні бордюри вздовж зварного
з'єднання для утримання флюсу у місці де має відбуватись зварне з'єднання.
Висота бордюрів рекомендується не менше 5 см для запобігання розсипання флюсу з
зони зварного з'єднання.
Також для спрощення технології зварювання та
застосування відповідної апаратури без зниження показників якості ефективним
буде дугове зварювання спеціальним порошковим дротом ПП-АН-19С, не потребуючий
злива надлишку шлаку. Це спростить обробку матеріалу після зварювання.
3. Вибір зварювальних матеріалів
Вибираємо з’єднання №1 для якого в подальшому буде
розглядатись обладнання, режими, процес зварювання та інше.
3.1 Вибір покритих електродів
Вибір покритих електродів буде здійснюватися за
певними критеріями. Так як балон зварюється в заводських умовах. Матеріал
конструкції сталь 14ХГС можна віднести до низьколегованих сталей з низькою
хімічною активністю це дає змогу не обмежуватися в типі покриття. Так як при
максимальній концентрації легуючих елементів та домішок з’являється схильність
до утворення гарячих та холодних тріщин тому бажано вибрати покриття, яке забезпечує
низький вміст водню в шві (Н2<10см3 на 100г металу), а
також покриття у якому великий вміст марганцю (Mn>1,5 %) це дасть
запобіганню утворення тріщин у шві. Так як було проаналізовано раніше що балон
є конструкцією особливо відповідальною, тому електроди потрібно вибирати
виключно з основним покриттям.
За довідником[3] знаходимо найближчий тип електродів що задовольняють ці
параметри. Такими електродами є ДСК - 50 з вмістом C-0,10; Mn-1,00; Si-0,55;
S- до 0,03; P-до 0,03; який
працює на постійному струмі, зворотній полярності.
3.2 Вибір захисного газу
Розглянемо приклад захисного газу для дугового
зварювання покритим електродом для з’єднання № 1 балону.
Основний метал сталь 14ХГС відноситься до
матеріалів з низькою хімічною активністю, тому цілком допустимий вибір
активного газу СО2 струменевої форми захисту. Враховуючи особливо
відповідальне призначення виробу, необхідно вибрати зварювальний вуглекислий
газ 1-го сорту [3], так як він має менший вміст вологи, чим харчова
вуглекислота. В монтажних умовах зварювання сферичного резервуару зварювальний
пост може бути стаціонарним, тому доцільно індивідуальне постачання СО2
в балонах.
3.3 Вибір зварювального дроту
Виберемо зварювальний дріт для дугового
зварювання в СО2 для з'єднань №1балону.
Для зварювання низько вуглецевої сталі 14ХГС
необхідно перш за все шукати зварювальний дріт в аналогічній групі з
низьколегованих сталей. Так як сталь 14ХГС має схильність до утворення гарячих
та холодних тріщин тому за довідником [3] бажано вибрати дріт з великий вміст марганцю (Mn>1,4 %). Таким
дротом є СВ-08Г 2С (ГОСТ-2246-70) з вмістом C-0,08; Mn-1,40; Si-0,41. Так як
зварювання ведеться в заводських умовах, то зовнішнє покриття дроту не вимагає
особливих вимог до стійкості від корозії та інших факторів зовнішнього
середовища.
3.4 Вибір зварювального флюсу
При виготовленні балону пропонується зварювати
основний циліндр (з'єднання №1) в заводських умовах автоматичним зварюванням
під флюсом. Так як сталь 14ХГС відноситься до матеріалів з низькою хімічною
активністю, тому можна вибрати флюс з числа кисневих, високоактивних або
активних, високо-або низькокремністих, марганцевих. Враховуючи особливо
відповідальне призначення виробу, слід надати перевагу вибору флюсів з числа
активних або малоактивних низькокремністих, марганцевих, які забезпечують більш
високу пластичність та ударну в'язкість при низьких температурах. Необхідний
склад металу шва можна забезпечити за рахунок складу зварювального дроту, тому
нема необхідності в виборі легуючого керамічного флюсу. Оскільки зварювання в
цехових умовах, то гарантується відсутність іржі на кромках і можна вибрати
більш технологічний плавлений флюс. Так як товщина металу 4 мм, то потрібно
вибрати флюс який забезпечить відмінну якість шва за один прохід. За довідником
[3] вибираємо флюс АН-348АМ з вмістом SiO2-41,0…44,0; MnO-34,0…38,0; CaO- до 6,5; MgO-5,0…7,5; Al2O2- до 4,5%; та
інших хімічних компонентів що підходять для зварювання стикового з’єднання
сталі 14ХГС.
4. Вибір швів та розробки кромок
.1 Вибір швів та розробка кромок для
зварювання в СО2
Розглянемо вибір шва та розробки кромок для
з’єднання №1 балону.
Одним з запропонованих варіантів зварювання в СО2.
В результаті конструктивно-технологічного аналізу виробу встановлено, що
основний метал являє собою сталь 14ХГС з товщиною 4 мм. З'єднання №1 необхідно
зварювати в заводських умовах в нижньому положенні. Зварювання з зовнішнього
боку більш сприятливе, так як діаметр циліндру балона не дозволяє виконати
зварювання з внутрішньої сторони, положення шва зручніше, та краща природна
вентиляція. Тому доцільно обрати шви з числа односторонніх. З довідника [4] для
товщини металу 4 мм знаходимо 18 типів стикових з'єднань. Типи з’єднань С17,
С18, С19, С20, С21з розробками двох кромок не підходять так як вони призначені
для великих товщин. Типи з’єднань С8, С9, С10, С11, С12 з розробкою однієї
кромки теж не підходять так як товщина металу 4 мм, яка є дуже малою для цих
типів. Тип з’єднань С1, С28, С3 йдуть з відбортовкою кромок що теж не підходить
для даного з’єднання балону.
Тому серед усіх 18-ти типів з’єднань залишимо
п’ять: С2 - односторонній без скосів кромок; С4 - односторонній зі з’ємною
мідною підкладко; С5 - односторонній на залишковій підкладці; С6 -
односторонній замковий та С7 - двосторонній. Так як товщина сталі 14ХГС 4 мм,
то для такої товщини необхідна обов’язкова підкладка, тому спосіб С2, С6, С7
можна виключити. Залишилось 2 способи: С4 (зі з’ємною підкладкою) та С5 з
(залишковою підкладкою). Так як залишкова підкладка має негативний вплив на
формування шва, та не повний провар в області дотику підкладки до металу. Тому
найкращим та найдоцільнішим способом буде С4 - одностороннє з’єднання зі
з’ємною мідною підкладкою.
Для цього типу з’єднання по ГОСТ 14771-76 рекомендовані
такі розміри шва:
4.2 Вибір швів та розробка
кромок для зварювання під флюсом
Другим із запропонованих варіантів є зварювання
під флюсом. Для цього ж самого з’єднання (№1) з довідника [5] для товщини
металу 4 мм знаходимо 6 типів стикових з'єднань. Типи з’єднань С7 і С29
відкидаємо так як вони для двосторонніх з’єднань. Тип з’єднань С1 не підходить
так як він призначений для з’єднань з відбортовкою кромок. Тип з’єднань С5
також виключаємо, так як залишкова підкладка має негативний вплив на формування
шва, та не повний провар в області дотику підкладки до металу. Також виключаємо
тип з’єднань С47, так як цей тип призначений для механізованого зварювання під
флюсом на вису, а серійного виробництва рекомендовано використовувати
автоматичне зварювання під флюсом. Отже у нас залишився тип з’єднань С4, який
найкраще підходить для даного з’єднання. Цей тип поділяється на три підтипи:
АФф - автоматичне на флюсовій подушці,
АФм - автоматичне на флюсомідній підкладці
АФп - автоматичне на мідному повзуні.
З них ми вибираємо найбільш підходящий для даного
типу з’єднання це - АФм (автоматичне на флюсомідній підкладці).
Для цього типу з’єднання по ГОСТ 8713-79
рекомендовані такі розміри шва:
5. Розрахунок режимів зварювання
5.1 Визначення режимів для
зварювання в СО2
Визначимо режими зварювання сталі 14ХГС при
зварюванні в СО2. На кафедрі зварювального виробництва НТУУ "КПІ" були
проведені відповідні дослідження по створенню математичних моделей плавлення
основного та електродного металів та створення на цій основі інженерних методів
розрахунків режимів дугового зварювання плавкими та неплавкими електродами
широкої гами металів та їх сплавів. В залежності від товщини металу, розробки
кромок, типів зварних швів та інших характеристик пропонується дві основні
схеми розрахунків:
· по розмірам зварного шва (глибині
проплавлення) - стикові односторонні та двохсторонні шви без розробки та з
розробкою кромок;
· по площі
наплавленого металу - кутові та багато прохідні стикові шви.
Так як для стикового з’єднання №1 балону, по ГОСТ
14771-76 тип з'єднання С 4 нам відомі такі розміри: S=4мм; b=2,0мм; e=9,0 e1=6,0
g=2,0; g1=1,5;
Знаючи ці розміри рахуємо параметри режиму
зварювання в СО 2.
Площа валика:
Fв=К 3* e1* g1=4*6,0*1,5=36
мм 2
Глибина проплавлення:
hp=S-0,5b=4-0.5*2=3мм
Діаметр електродного дроту:
dд
,
так як по ГОСТ 14771-76 вже э встановлені діаметри, то вони
будуть в межах dд =1.6 - 2,0мм.
Швидкість зварювання:
Vзв
(15м/год)
Зварювальний струм:
Ізв
Напруга зварювання:
Uзв=14+0,05* Ізв=14+0,05*195=23,75 В
Виліт електродного дроту:
Lд=10 dеп+/-2 dд
=10*2+/-2*2=20+/-4
Швидкість подачі дроту:
Vпд
мм/с
(1310м/год)
Витрати захисного газу (СО2)
qзг=3,3*10-3*Ізв 0,75=3,38*10-3*1950,75=0,176
л/с (633,6 л/год.)
5.2 Визначення режимів для зварювання під
флюсом
Визначимо режими зварювання сталі 14ХГС при зварюванні під
флюсом за тою ж схемою - по розмірам зварного шва.
Так як для стикового з’єднання №1 балону, по ГОСТ 8713-79
тип з'єднання С 4 нам відомі такі розміри: S=4мм; b=1,0мм; e=16,0 g=1,5.
Знаючи ці розміри рахуємо параметри режиму зварювання під
флюсом.
Площа валика:
Fв=К 3* e* g=4*16*1,5=36 мм 2
Глибина проплавлення:
hp=0,6S-0,5b=0,6*4-0,5*1=1,9 =2
Діаметр електродного дроту:
dд= (0,29…1,1)* hp=(0,29…1,1)*2=0,58…2,2
мм.,
для кращої продуктивності вибираємо більший діаметр - 2,2
мм.
Швидкість зварювання:
Vзв
мм/с
(21,6 м/год)
Зварювальний струм:
Ізв
А
Напруга зварювання:
Uзв=22+0,02* Ізв=22+0,02*147,4=25 В
Виліт електродного дроту:
Lд=10 dеп+/-2 dд
=10*2,2+/-2*2,2=22+/-4,4 мм
Швидкість подачі дроту:
Vпд
мм/с
6. Вибір
зварювального обладнання
6.1 Вибір зварювального обладнання для
зварювання в СО2
Вибір джерела живлення обумовлений заданими параметрами
режиму зварювання які були розраховані у попередньому розділі.
Для даних параметрів режиму зварювання пропонується
використати випрямляч ВДУ 506-С [6]. Випрямляч призначений для
комплектації напівавтоматів і автоматів дугового зварювання, а так само для
ручного дугового зварювання покритими електродами на постійному струмі (режим
ММА). ВДУ-506С в комплекті з напівавтоматом призначений для напівавтоматичного
зварювання плавким електродним дротом в середовищі захисних газів на постійному
струмі (режим МІГ / МАГ).
|
Модель
|
ВДУ-506С
|
|
Розміри
і маса
|
|
Ширина
|
600 мм
|
|
Висота
|
740 мм
|
|
Глибина
|
920 мм
|
250 кг
|
|
Основні
характеристики
|
|
Напруга
мережі, В
|
3 х 380
|
|
Частота
мережі, Гц
|
50
|
|
Номінальний
зварювальний струм, А (при ПВ,%)
|
500
|
|
Межі
регулювання зварювального струму, А
|
50-500
|
|
Напруга
холостого ходу, В
|
85
|
|
Споживаюча
потужність до, кВа
|
40
|
|
Діаметр
електроду, мм
|
2,0 -
8,0
|
|
Номінальна
робоча напруга
|
46-50
|
Вибір автомату також повинен відповідати параметрам
режиму зварювання, які було визначено у попередньому розділі.
Тому для даних параметрів режиму зварювання в
якості автомату пропонується АДГ-602. Автомат зварювальний АДГ-602
призначений для дугового зварювання виробів з маловуглецевих і низьколегованих
сталей на постійному струмі сталевим плавким електродом, у вуглекислому газі.
Характеристики даного автомату наведені у таблиці нижче
|
Технічні
характеристики
|
Значення
|
|
Номінальна
напруга мережі, В
|
380
|
|
Частота
струму живлення мережі, Гц
|
50
|
|
Номінальний
зварювальний струм, А, при ПВ=60%
|
630
|
|
Діапазон
регулювання зварювального струму, А
|
100 ÷ 700
|
|
Кількість
електродів
|
1
|
|
Діаметр
сплющеного електродного дроту, мм:
|
1,2 ÷ 3,0
|
|
Швидкість
подачі електродного дроту, м/год:
|
120 ÷ 960
|
|
Швидкість
зварювання, м/год
|
12 ÷ 120
|
|
Витрати
захисного газу, л/год до
|
1400
|
|
Витрати
води, л/год, до
|
120
|
|
Маса
стального електродного дроту в касеті, кг
|
12
|
|
Маса,
кг:
|
60
|
|
Габаритні
розміри, мм:
|
800×450×600
|
6.2 Вибір зварювального
обладнання для зварювання під флюсом
Для автоматичного зварювання під флюсом часто
йдуть укомплектовані набори з автоматичної установки та джерела живлення. Так
як було розраховано параметри режиму зварювання у попередньому розділі для
автоматичного зварювання під флюсом, то комплект з автомату та джерела живлення
будемо вибирати згідно цих параметрів.
Одним з найкращих комплектів, які підходять для
даних параметрів режиму зварювання під флюсом є автомат А-1416 з
джерелом живлення ВДУ-1201К. Щодо автомату, то він підвісний самохідний
призначений для дугового зварювання суцільним дротом під шаром флюсу
низьковуглецевих і легованих сталей на постійному струмі з незалежними від
параметрів дуги швидкостями зварювання та подачі електродного дроту. Глибоке
регулювання швидкості подачі електродного дроту і швидкості зварювання,
одержуване змінними шестернями, забезпечує широкий діапазон застосування
автомата. Що до джерела живлення, то це універсальний зварювальний випрямляч
призначений для автоматичного і напівавтоматичного зварювання в середовищі
захисних газів і під флюсом, а також для ручного дугового зварювання штучними
електродами всіх типів. Випрямляч має відмінні зварювальні властивості:
стабільне горіння дуги, мале розбризкування металу, висока якість зварного шва.
Наявність коліс робить джерело особливо мобільним.
Технічні характеристики даного комплекту автомату
та джерела живлення наведені у таблиці нижче:
|
Технічні
характеристики
|
з
ВДУ-506К
|
|
Номінальна
напруга мережі, В
|
380
|
|
Частота
струму живлення мережі, Гц
|
50
|
|
Номінальний
зварювальний струм, А
|
при
ПВ=60% 500
|
|
Діапазон
регулювання зварювального струму, А
|
60 ÷ 500
|
|
Кількість
електродів, шт
|
1
|
|
Діаметр
суцільного електродного дроту, мм
|
1,2 ÷ 2,0;
2,0 ÷ 5,0
|
|
Межі
ступінчастого регулювання швидкості подачі електродного дроту, м/ч
|
47 ÷ 509
|
|
Діапазон
ступінчастого регулювання швидкості зварювання, м/ч
|
12 ÷ 120
|
|
Вертикальне
переміщення зварювальної головки: - хід, мм - швидкість, м/ч
|
250 29,4
|
|
Поперечне
переміщення зварювальної головки: - хід, мм - швидкість, м/ч
|
±75 от
руки
|
|
Регулювання
кута нахилу електроду (мундштука), град
|
±25 ручне
|
|
Маршова
швидкість переміщення зварювальної головки, м/ч
|
950
|
|
Флюсоапаратура: -
об’єм, дм 3 - витрати повітря, м 3/ч -
висота всмоктування флюсу, м
|
25 30 2
|
|
Маса,
кг: -
зварювальної головки - джерела живлення
|
320 ÷ 295 275
|
|
Габаритні
розміри, мм: -
зварювальної головки - джерело живлення
|
960×860×1860 805×600×1030
|
7. Техніка зварювання
З самого початку перед початком зварювання, нам
потрібно зробити прихватки по краям деталі. Так, як в нас довжина шва дорівнює
0,7 м, то нам потрібно вибрати якийсь спосіб виконання швів, щоб деталь не
покрутило. Найкраще буде для середніх швів вибрати спосіб зворотно ступінчастий
який показаний на малюнку нижче:
Довжина шва розбивається на 4 частини довжинами
по 100…300 мм і зварювання починається від кінця ділянки до початку. Цей спосіб
виконання шва зменшить напруження, що в свою чергу не дасть зародитися тріщинам
і метал менше буде крутити. Так, як товщина деталі маленька (4 мм) то не
обов'язково ставити електродний дріт під кутом.
На початку автоматичного зварювання під флюсом,
коли основний метал ще не прогрітий, глибина його проплавлення зменшена, у
зв'язку з чим цю частину шва зазвичай виводять на вхідну планку. По закінченні
зварювання в місці кратера утворюється ослаблений шов, тому процес зварювання
закінчують на вивідний планці. Вхідну і вивідну планки шириною до 150 мм і
довжиною (залежно від режиму і товщини металу) до 250 мм закріплюють на
прихатках до початку зварювання. Після зварювання під флюсом планки видаляють.
8. Розрахунок технологічної собівартості
Для отримання оптимального варіанту технології
необхідна порівняльна економічна оцінка по технологічній собівартості та
продуктивності процесу. Найбільш ефективною буде технологія з мінімальними
затратами і, як правило, максимальною продуктивністю.
Методика визначення основних економічних
показників технологічної собівартості включає:
1. затрати на зварювальні матеріали (електроди,
флюси, дріт, захисний газ і т. д.);
2. затрати на технологічну електроенергію;
3. затрати на зварювальне обладнання;
4. затрати на зарплату основних робітників (зварників);
Доцільно розрахунки проводити на одиницю довжини
зварного шва, наприклад на 1 м. шва. Всі затрати пов' язані з основним часом
зварювання, тому розрахунок слід починати з визначення основного часу
зварювання, який є критерієм продуктивності процесу та використовується при
розрахунку затрат.
8.1 Розрахунок витрат для
зварювання в СО2
Основний час зварювання є критерієм
продуктивності, і визначається:
(однопрохідний шов)
де 
=1 м; 
- швидкість зварювання, м/год;
Розрахунок витрат і затрат на зварювальні матеріали:
Зварювальний дріт: розрахунок витрат дроту на 1м шва можна
виконати через параметри режиму:
де 
= 1,02…1,03 - коефіцієнт витрати дроту;
ψр = 0,01…0,15 - коефіцієнт втрат на
розбризкування;в - площа валика, мм2 ;
Lшв - довжина шва, м;
Затрати на електродну проволоку:
Захисний газ: витрати захисного газу орієнтовно можна
визначити через витрати формулу:
Qзг = qзг * t сзв = 633,6*
0,06 = 38 л
Затрати на газ:
Розрахунок витрат і затрат на технологічну електроенергію:
витрати технологічної електроенергії:

Дж
джоуль [Дж] = 0,000002 [кВт·год]
Затрати на технологічну електроенергію:
Затрати на зварювальне обладнання:
Затрати на заробітну плату робітників (зварників):
Розрахуємо технологічну собівартість автоматичного
зварювання в СО2:
8.2 Розрахунок витрат для зварювання під
флюсом
Основний час зварювання є критерієм продуктивності, і
визначається:
(однопрохідний шов)
де 
- довжина шва, м; 
- швидкість зварювання, м/год;
Розрахунок витрат і затрат на зварювальні матеріали:
Зварювальний дріт: розрахунок витрат проволоки на 1м шва
можна виконати через параметри режиму:
де 
= 1,02…1,03 - коефіцієнт витрати дроту;
ψр = 0,01…0,15 - коефіцієнт втрат на
розбризкування;н.о - площа валика, мм2; Lшв - довжина шва, м;
Затрати на електродний дріт:
Зварювальний флюс: витрати зварювального флюсу орієнтовно
можна визначити через витрати зварювальної проволоки:

1,3
.
Затрати на флюс:
Розрахунок витрат і затрат на технологічну електроенергію:
витрати технологічної електроенергії:

Дж

джоуль [Дж] = 0.000002 [кВт·ч]
Затрати на технологічну електроенергію:
Затрати на зварювальне обладнання:
Затрати на заробітну плату робітників
(зварників):
Розрахуємо технологічну собівартість
автоматичного зварювання під флюсом:
9. Прийняття рішення
В процесі розрахунків двох способів зварювання:
автоматичне зварювання в СО2 та автоматичне зварювання під флюсом,
було отримано різні технічні та економічні дані по кожному способу. Була
розроблена технологія зварювання по двох способах, розроблені кромки, вибрані
режими зварювання, вибрані джерела живлення і автомати та розраховано
собівартість.
Порівнюючи ці два способи зварювання, прийнято
рішення вибрати серед них один спосіб - автоматичне зварювання під флюсом.
Так як розглядається варіант серійного виробництва балонів то, в цьому випадку
важливу роль відіграє продуктивність зварювання, якісне формування шва та
низька собівартість. Автоматичне зварювання під флюсом краще відповідає цим
критеріям у порівнянні з автоматичним зварювання м у СО2, так як:
продуктивність цього способу більша у 3 - 4
рази;
- якісніше формування шва забезпечує флюс
який ізолює зварювальну ванну від негативного впливу навколишнього середовища,
запобігає утворенню шкідливої пористості шва та мідна підкладка яка забезпечує
рівномірне з’єднання двох стиків та запобігає проплавленню основного металу;
собівартість вища на 1грн, але при
серійному виробництві більше значення приділяється якості формування шва;
Отже, навівши всі плюси автоматичного зварювання
під флюсом, цей спосіб і є кінцевим вибором даної технології розробки вибору
способів зварювання.
10. Нормування зварювальної операції
Час зварювання знайдемо як загальну довжину швів
помножену на час зварювання 1 м шва.
t
год =
108 с
Витрати дроту:
Витрати флюсу на одну конструкцію:

1,3
.
Судячи з розрахунків для зварювання однієї конструкції
необхідно витратити часу приблизно 2 хвилини.
Якщо врахувати що конструкція має ще 2 типи
з’єднань для поворотних стиків, то на їх з’єднання потрібно буде затратити
більше часу ніж на розрахований шов, так як конструкцію потрібно встановлювати
на обертаючу станину. Загалом можна припустити що за 30 хвилин в заводських
умовах можна повністю виготовити дану конструкцію. Тоді за 8-ми годинний
робочий день можна виготовити 16 таких конструкцій.
Література
1. http://forca.com.ua/instrukcii/ohorona-praci/instrukciya-z-bezpechnoi-ekspluatacii-zberigannya-i-transportuvannya-baloniv.html
2. http://www.splav.kharkov.com/mat_start.php?name_id=126
. Н.И. Каховський, В.Г. Фартушный, К.А. Ющенко
"Электродуговая сварка сталей - справочник", издательство
"Наукова думка", Киев 1975.
4. ГОСТ 14771-76. Дуговая сварка в защитном
газе. Соединения сварные. Основные типы, конструктивные элементы и размеры.
5. ГОСТ 8713-79. Сварка под флюсом.
Соединения сварные. Основные типы, конструктивные элементы и размеры.
6. http://www.domsvarki.ua/products/products/95/Vyipryamitel-svarochnyiy-VDU-506S.html
7. http://www.tiberis.ru/collections/avtomatizirovanna-svarka-traktora-dlya-svaki-pod-flusom/products/brima-mz-1250