Расчет и проектирование протяжки для круглого отверстия

  • Вид работы:
    Курсовая работа (т)
  • Предмет:
    Другое
  • Язык:
    Русский
    ,
    Формат файла:
    MS Word
    526,48 Кб
  • Опубликовано:
    2014-12-22
Вы можете узнать стоимость помощи в написании студенческой работы.
Помощь в написании работы, которую точно примут!

Расчет и проектирование протяжки для круглого отверстия

Содержание

Введение

1. Расчет и проектирование протяжки для круглого отверстия

.1 Исходные данные

.2 Выбор материала инструмента

.3 Расчет конструктивных элементов круглой протяжки

.4 Расчет силы резания и проверка протяжки на прочность

1.5 Выбор предельных отклонений на основные элементы протяжки и другие технические требования

2. Расчет и проектирование канавочного резца

.1 Исходные данные

.2 Разработка эскиза резца

.3 Выбор материала инструмента

.4 Расчет конструктивных элементов резца

.5 Расчет державки на прочность и изгиб

Заключение

Библиографический список

Нормативные ссылки

Введение

Протяжки являются многозубыми металлорежущими инструментами, осуществляющими снятие припуска без движения подачи за счет превышения высоты или ширины последующего зуба по отношению к высоте или ширине предыдущего.

Протягивание является одним из наиболее высокопроизводительных процессов обработки деталей резанием и применяется при изготовлении различных деталей, формы обрабатываемых поверхностей, которых весьма разнообразны. Протяжкой можно обработать сквозные отверстия различной формы, получить различные прямые или винтовые канавки и фасонные наружные поверхности, различные зубчатые секторы и т.д.

Протяжки позволяют получить поверхности высокой точности (7, 8-й квалитет) и низкой шероховатости. Протягивание производительнее строгания, фрезерования развертывания в два, три и более раз. Высокая производительность процесса протягивания объясняется большой длиной режущих кромок зубьев протяжки, одновременно участвующих в работе.

Из всех разновидностей протяжек чаще всего применяются протяжки для обработки круглых отверстий.

Резец - однолезвийный инструмент для обработки деталей с поступательным или вращательным главным движением резания и возможностью движения подачи в любом направлении.

Резец является наиболее распространенным инструментом, его применяют на токарных, револьверных, карусельных, расточных, строгальных и долбежных станках, токарных автоматах или полуавтоматах. В зависимости от вида станка и рода выполняемой работы применяют резцы различных типов, отличающихся по назначению, форме, конструкции и размерам.

В данной курсовой работе разрабатывается конструкция круглой протяжки, применяемой на горизонтально-протяжном станке модели 7А510, и токарного канавочного резца, который применяется на токарном станке с ЧПУ модели 16К20ФЗ, для чернового и чистового точения канавочных отверстий валов.

. Расчет и проектирование протяжки для круглого отверстия

.1 Исходные данные

Наименьший диаметр обрабатываемого отверстия ;

Величина допуска на отверстие ;

Характер стенок отверстия ТН - тонкостенное;

Материал детали - ст. 30;

Твердость материала - НВ179;

Длина детали ;

Наименьший диаметр отверстия под протягивание ;

Класс точности dо - Н12;

Модель протяжного станка 7А510;

Тяговое усилие протяжного станка Qт = 10 т;

Наибольший ход каретки протяжного станка Lст = 1250 мм;

Толщина фланца приспособления - 25;

Тип рабочего патрона А - автоматический;

Конструктивные особенности протяжки ЗХ/ВЗ - наличие заднего хвостовика и выглаживающих зубьев.

Рисунок 1.1 - Эскиз детали

.2 Выбор материала инструмента

Для проектирования протяжки выбираем быстрорежущую инструментальную сталь марки Р9, химический состав которой приведен в таблице 1.

Таблица 1 - Химический состав стали марки Р9

Содержание элементов, %

W

V

Co

Si

Mo

Mn

Ni

P

Cr

S

8,5 - 9,5

2,3 - 2,7

Не более 0,5

Не более 0,5

Не более 1

Не более 0,5

Не более 0,4

Не более 0,03

3,8 - 4,4

Не более 0,03


Расшифровка марки стали Р9: буква Р говорит о том, что перед нами инструментальная быстрорежущая сталь, в которой присутствует вольфрам в количестве около 9%.

.3      Расчет конструктивных элементов круглой протяжки

)        Припуск на сторону отверстия под протягивание определяем по формуле:


где  - номинальный диаметр протягиваемого отверстия, мм;

 - минимальный диаметр отверстия заготовки под протягивание, мм.

.

)        Подъем на зуб на сторону  выбирают по таблице 3 [4]. Принимаем .

Между режущими и калибрующими зубьями делают несколько зачищающих зубьев с постоянно убывающим подъемом на зуб. Принимаем  и распределяем подъем на зуб следующим образом:

 

)        Профиль, размеры зуба и стружечных канавок между зубьями выбирают по таблице 9 [4] в зависимости от площади слоя металла, снимаемого одним режущим зубом протяжки. Необходимо, чтобы площадь сечения стружечной канавки между зубьями отвечала условию:

, (1.2)

где  - коэффициент заполнения канавки, выбирают по таблице 11 [4], учитывая, что сталь 30 с твердостью НВ179 имеет предел прочности , принимаем ;

 - площадь сечения канавки, мм2

 ; (1.3)

 - площадь сечения среза металла, снимаемого одним зубом, мм2.

 (1.4)

;

.

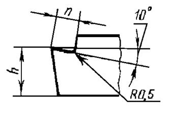
Пользуясь таблицей 9 [4] для ближайшего большего значения , при стружечной канавке с удлиненным дном (рис. 1.2) принимаем: шаг зубьев протяжки ; глубину канавки ; длину задней поверхности ; радиус скругления канавки  и .

Рисунок 1.2 - Эскиз профиля режущих зубьев протяжки

Шаг калибрующих зубьев         круглых протяжек принимаем равным 0,6 - 0,8 шага режущих зубьев. Принимаем .

Рисунок 1.3 - Эскиз профиля калибрующих зубьев

На калибрующих зубьях делается ленточка с углом  Ширина ленточки  мм (рис. 1.3).

Шаг зачищающих зубьев протяжки делают переменным: от  до . Принимаем изменение шага  мм. Тогда из двух смежных шагов один равен  мм, а второй  мм.

)        Геометрические элементы лезвия режущих и калибрующих зубьев выбираем по таблицам 6 и 7 [4]: передний угол; задний угол: для черновых зубьев , для калибрующих .

Число стружкоразделительных канавок выбираем по таблице 2 [4]: число канавок . Предельное отклонение передних углов всех зубьев , задних углов режущих зубьев , задних углов калибрующих зубьев .

Рисунок 1.4 - Эскиз стружкоразделительных канавок

)        Максимальное число одновременно работающих зубьев:

 (1.5)

.

)        Определяем размеры режущих зубьев. Диаметр первого зуба принимаем равным диаметру передней направляющей части: . Диаметр каждого последующего зуба увеличиваем на . На последних трех зачищающих зубьях, предшествующих калибрующим зубьям, подъем на зуб постепенно уменьшаем по данным п. 2.

)        Число режущих зубьев подсчитываем по формуле и затем уточняем по таблице размеров зубьев:

, (1.6)

где  - величина припуска под протягивание на сторону.

.

Принимаем .

)        Диаметр калибрующих зубьев определяем по формуле:

, (1.7)

где  - максимальный диаметр обрабатываемого отверстия;

 - изменение диаметра отверстия после протягивания,  определяется для каждого материала опытным путем, при протягивании стали наблюдается разбивание в пределах 0,005…0,01 мм.

.

)        Число калибрующих зубьев принимаем по таблице 12 [4].

По таблице П.3 [3] по допуску выбираем квалитет точности . Принимаем число калибрующих зубьев , а число зачищающих зубьев .

10)    Число выглаживающих зубьев принимаем . Размеры отдельных элементов выглаживающих зубьев зависят от шага зубьев, а шаг от длины протягиваемого отверстия. По таблице 13 [4] при длине протягиваемого отверстия , принимаем шаг . Выбираем второй тип зубьев (рис. 1.5), который применяется при шаге больше 6 мм для обработки незакаленных сталей. Для этого типа размеры выглаживающих зубьев:

,

 

,

 

.

Рисунок 1.5 - Эскиз выглаживающих зубьев

Диаметр выглаживающих зубьев принимаем равным  мм.

)        Вычисленные размеры зубьев сводим в таблицу 2, помещаемую на рабочем чертеже протяжки.

Таблица 2 - Диаметры зубьев протяжки

Номер зуба

Диаметр, мм

Номер зуба

Диаметр, мм

1 2 3 4 5 6 7 8 9 10 11 12 13 14

11,200 11,262 11,324 11,386 11,448 11,510 11,572 11,634 11,696 11,758 11,820 11,882 11,944 11,975

15 16

11,996 12,006



17 18 19 20 21 22

12,014



23 24 25 26 27

12,016


)        Длину протяжки от торца хвостовика до первого зуба принимают по станку в зависимости от патрона, толщины опорной плиты, приспособления для закрепления заготовки, зазора между ними, длины заготовки и других элементов (рис. 1.6):

, (1.8)

где  - длина входа хвостовика в патрон, зависящая от конструкции патрона, принимаем ;

 - зазор между патроном и стеной опорной плиты станка, равной 5…20 мм, принимаем ;

 - высота выступающей части планшайбы, принимаем ;

 - длина передней направляющей с учетом зазора ∆:

, (1.9)

где  мм.

.

Находим , принимаем . Длина  должна быть проверена по станку с учетом длины протягиваемого изделия согласно таблицы 23 [4]: ; так как , то , принимаем .

Рисунок 1.6 - Схема для определения длины протяжки от торца хвостовика до первого зуба

)        Выбираем конструктивные размеры хвостовой части протяжки по ГОСТ 4044-70. ; ; ; ;  ; ; ; ; ; ; .

Рисунок 1.6 - Основные размеры хвостовика

Длина переходного конуса равна 5…40 мм, принимаем . Диаметр передней направляющей принимаем равным диаметру предварительного отверстия заготовки с предельным отклонением по : ; длина передней направляющей до первого зуба . Длину шейки  принимаем конструктивно в зависимости от габаритов станка:

, (1.10)

,

принимаем .

Диаметр задней направляющей протяжки должен быть равен диаметру протягиваемого отверстия с предельным отклонением по , прочие размеры задней направляющей даны в таблице 24 [4].

Рисунок 1.7 - Эскиз задней направляющей протяжки

Задний хвостовик протяжки делаем аналогично переднему с теми же размерами.

)        Определяем общую длину протяжки :

. (1.11)

Длина рабочей части:

, (1.12)

где  - количество черновых зубьев;

 - количество зачищающих зубьев.

.

Длина калибрующей части:

, (1.13)

.

Длина выглаживающих зубьев:

, (1.14)

.

Длина задней направляющей  принимается в зависимости от диаметра задней направляющей  (таблица 24 [4]). Этот диаметр равен диаметру протянутого отверстия:

,

выполненного с полем допуска , т.е. ; .

Длину заднего хвостовика принимаем .

Тогда

.

Принимаем .

.4     
Расчет силы резания и проверка протяжки на прочность

)        Определяем максимально допустимую силу резания :

, (1.15)

протяжка резание прочность конструктивный

где  - коэффициент, зависящий от свойств обрабатываемого материала и формы протяжки;

 - ширина срезаемого слоя, равная диаметру чернового режущего зуба, имеющего наибольший диаметр;

 - толщина срезаемого слоя (подъем на зуб );

 - показатель степени;

 - максимальное число зубьев, одновременно находящихся в работе;

 - поправочные коэффициенты соответственно на передний угол, на изнашивание инструмента и на СОЖ.

Для круглых протяжек, при работе ст. 30 . При переднем угле , ;  - для зубьев протяжки с острыми режущи кромками;  - при применении СОЖ; .

Тогда сила резания

.

Полученная сила  не должна превышать тяговую силу станка, приведенную в его паспортных данных. В данном случае тяговая сила станка равна 100000 Н, следовательно, обработка возможна.

)        Проверяем конструкцию протяжки на прочность.

Рассчитываем конструкцию на разрыв во впадине первого зуба по формуле:

, (1.16)

где площадь опасного сечения

;

напряжение в опасном сечении

.

Напряжение в опасном сечении  не должно превышать допустимого .

Приведем аналогичный расчет для сечения хвостовика ():

;

.

Полученное значение напряжения  также является допустимым. Оно не должно превышать допустимого .

)        Рассчитываем хвостовик на смятие:

, (1.17)

где  - опорная площадь замка

,

где  и  - размеры хвостовика.

.

Допустимое напряжение на смятие не должно превышать 600 МПа, что выполняется.

Для данных условий работы режущую часть протяжки изготавливают из стали Р9, а хвостовик - из стали 40Х.

.5      Выбор предельных отклонений на основные элементы протяжки и другие технические требования

)        Предельные отклонения на основные элементы протяжки и другие технические требования выбираем по ГОСТ 9126-76.

)        Центровые отверстия выполняем по ГОСТ 14034-74, форма В.

. Расчет и проектирование канавочного резца

.1 Исходные данные

Диаметр заготовки ;

Наименьший диаметр обработки резанием ;

Величина допуска на диаметр ;

Ширина нарезаемой канавки ;

Величина допуска на ширину канавки ;

Длина нарезания канавки от торца заготовки  мм;

Скругления в углах канавки  мм;

Марка обрабатываемого материала: сталь 30Х

Твердость материала: ;

Предел прочности материала: ;

Модель станка: станок токарный с ЧПУ 16К20Ф3;

Шероховатость ;

Глубина резания ;

Подача при черновом точении

Рисунок 2.1 - Эскиз обрабатываемой детали

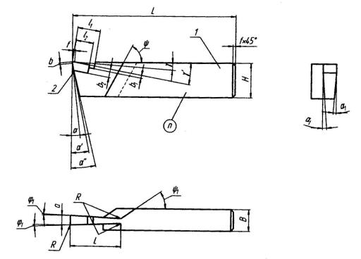
.2 Разработка эскиза канавочного резца

Канавочный резец состоит из корпуса и рабочей части (рис. 2.2). Рабочая часть представляет собой пластину из твердого сплава, которая припаивается к корпусу резца. В качестве присоединительного элемента используют медные и латунные припои.

Рисунок 2.2 - Эскиз токарного канавочного резца

.3 Выбор марки материалов инструмента

Для режущей части выбираем титано-вольфрамовый твердый сплав Т15К6. В его состав входят карбиды титана и карбиды вольфрама в соединении с кобальтом. Химический состав твердого сплава Т15К6 приведен в таблице 1.

Таблица 1 - Химический состав твердого сплава Т15К6

Содержание элементов, %

TiC

WC

Co

15

79

6


Механические характеристики твердого сплава Т15К6:

твердость НRA 90;

предел прочности на изгиб .

Для корпуса выбираем конструкционную углеродистую сталь 40Х. Расшифровка марки стали 40Х: в стали содержится 0,40% углерода и менее 1,5% хрома. Химический состав стали 40Х приведен в таблице 2.

Таблица 2 - Химический состав стали марки 40Х

Содержание элементов, %

C

Si

Mn

Ni

S

P

Cr

Cu

Fe

0,36 - 0,44

0,17 - 0,37

0,5 - 0,8

до 0,3

до 0,035

до 0,035

0,8 - 1,1

до 0,3

около 97


Механические характеристики стали 40Х:

твердость НВ 217;

предел прочности ;

предел прочности на изгиб .

.4 Расчет конструктивных элементов канавочного резца

)        Расчет габаритных размеров корпуса

По ГОСТ 18884-73 выбираем исполнение 2. По таблице 2 в приложении определяем габаритные размеры корпуса в зависимости от наибольшего диаметра отрезки.

При наибольшем диаметре отрезки  габаритные размеры корпуса резца:

,

.

)        Выбор формы пластины

По ГОСТ 18884-73 по таблице 2 в приложении определяем обозначение пластины для выбранных габаритных размеров. Выбираем пластину 13612 ГОСТ 17163-90. Исполнение 2 пластины (рис. 2.3). В зависимости от ширины нарезаемой канавки принимаем габаритные размеры:

 мм,

 мм,

 мм.

Рисунок 2.3 - Эскиз пластины канавочного резца

Ориентировочная масса пластины № 13612 из твердого сплава Т15К6 .

)        Выбор расположения пластины в корпусе

По ГОСТ 18884-73 по таблице 2 в приложении выбираем размеры гнезда под пластину (рис. 2.4). Для габаритных размеров корпуса :

,

.

По таблице 8.9 [3] для напаянных пластинок из твердого сплава принимаем криволинейную форму заточки передней поверхности резцов с отрицательной фаской типа V (рис. 2.5).

Рисунок 2.4 - Гнездо под пластину

Рисунок 2.5 - Эскиз расположения пластины в корпусе резца

)        Назначение геометрических параметров режущего клина

По таблицам 8.12, 8.13 и 8.14 [3] принимаем следующие значения углов:

главный передний угол: ;

главный задний угол: ;

вспомогательный задний угол: ;

угол наклона режущей кромки: ;

главный угол в плане: ;

вспомогательный угол в плане: ;

радиус скругления: .

)        Оформление передней поверхности пластины

Рисунок 2.6 - Эскиз точения канавки с сечением передней поверхности пластины

)        Выбор способа стружкодробления

При обработке стали 30Х образуется сливная стружка. Она сходит в виде ленты, закручивающейся в спираль. Поверхность ее, обращенная к резцу, чистая и гладкая. С обратной стороны она имеет небольшие зазубрины. Она образуется при обработке пластичных материалов со значительными скоростями скольжения и небольшими подачами инструмента с оптимальными передними углами. Наиболее известны следующие способы дробления (завивания) сливной стружки:

управление геометрией режущего инструмента,

назначение режимов резания в пределах области устойчивого стружколомания,

использование инструментов с лунками, уступами и накладными стружколомами на передней поверхности,

использование схем резания, позволяющих получить стружку заданных размеров,

управление динамикой резания,

управление кинематикой резания.

Наиболее часто используют инструменты с лунками, уступами и накладными стружколомами на передней поверхности. Эти изменения конструкции инструмента дают возможность устанавливать при резании удобные форму, размеры и направление движения стружки, за счет резкого увеличения деформаций по ее ширине и толщине. Лунки и уступы формируются как на инструментах, подвергаемых заточке, так и на сменных многогранных пластинках.

Поэтому для данного канавочного резца применяем лунку на передней поверхности пластины. Ее размеры показаны на рисунке 2.5.

.5 Расчет державки на прочность и изгиб

)        Режимы обработки

Глубина резания .

Подача выбирается по таблице 11 [5, с. 266] в зависимости от глубины резания, диаметра детали и материала заготовки. Для чернового точения принимаем подачу

Скорость резания определяется по формуле:

, (2.1)

где  - коэффициент, определяется в таблице 17 [5, с.269]; ;

 - определяются также по таблице 17 [5]; ;

 - глубина резания;

 - подача;

 - период стойкости инструмента; среднее значение стойкости при одноинструментной обработке 45 мин;

 - поправочный коэффициент, определяется по формуле

, (2.2)

где  - коэффициент, учитывающий влияние материала заготовки; для стали (таблица 1 [5, с.261]) равен

, (2.3)

 - коэффициент, характеризующий группу стали по степени обрабатываемости;  (таблица 2 [5, с. 262]);

 - степень обрабатываемости; ;

.

 - коэффициент, учитывающий состояние поверхности заготовки; для проката (таблица 5 [5, с. 263]) равен ;

 - коэффициент, учитывающий материал инструмента; по таблице 6 [5, с. 263] ;

Тогда

.

Скорость резания

.

)        Условие прочности определяется соотношением:

, (2.4)

где  - максимальная сила резания;

 - площадь опасного сечения;

 - допустимый предел прочности; для стали 40Х .

, (2.5)

где  - допускаемая стрела прогиба резца при чистовом точении,  мм;

 - вылет резца;

 - модуль упругости материала корпуса резца, ;

 - момент инерции.

Для прямоугольного сечения корпуса момент инерции равен:

, (2.6)

.

Вылет резца определяется как:

, (2.7)

.

Тогда максимальная сила резания:

.

Площадь опасного сечения определяется по формуле:

, (2.8)

.

.

Таким образом, условие прочности выполняется.

)        Условие прочности на изгиб записывается следующим образом:

,                                     (2.9)

где  - наибольший изгибающий момент под действием составляющей силы резания Рz, Н·мм;

 - допустимый изгибающий момент, Н·мм.

,                                             (2.10)

где L - вылет резца, мм.

Сила резания при растачивании определяется по формуле:

,                                (2.11)

где  - эмпирический коэффициент;

t - глубина резания, мм;

S - подача, мм/об;

 - скорость резания, м/мин;

x, y, n - показатели степени;

 - поправочный коэффициент.

Н.

Н×мм.

, (2.12)

где  - момент сопротивления изгибу резца прямоугольного сечения, ;

 - допустимое напряжение изгибу; для стали 40Х .

,                                                   (2.13)

где h - высота державки резца, мм;

b - ширина державки резца, мм.

 

.

Условие прочности выполняется.

Заключение

В данном курсовом проекте была спроектирована протяжка диаметром 12Н7 мм, у которой присутствуют выглаживающие зубья и задний хвостовик. А также был спроектирован резец токарный канавочный размерами  для обработки канавки шириной 7 мм. Дано краткое описание особенностей проектируемого инструмента, технические условия и другие исходные данные для проектирования. Обоснован выбор конструктивной разновидности резца и протяжки, произведен расчет вычисляемых и обоснование нерасчетных параметров и элементов конструкции резца и протяжки, расчеты на прочность рабочей и крепежной части. Кроме того оформлена графическая часть на выбранный вариант конструкции резца и круглой протяжки.

Библиографический список

1.      Методические указания по выполнению курсовой работы «Режущий инструмент»: Правила по выполнению и оформлению расчетно-графической работы по дисциплине «Режущий инструмент» для студентов всех форм обучения специальности 151001.65 - Технология машиностроения: Сост.: Кузнецова В.В. - Арзамас: Издательство ОО «Ассоциация ученых» г. Арзамас, 2006. - 22 с.: 4ил.

.        Гречишников В.А. Режущие инструменты: учебное пособие / В. А. Гречишников, С. Н. Григорьев, А. Г. Схиртладзе, Б. Е. Седов, В. А. Иванов, В. К. Перевозников. - 2-е изд., перераб. и доп. - Старый Оскол: ТНТ, 2010. - 388 с.

.        Справочник инструментальщика / Под общ. ред. И.Н. Ординарцева. - Л.: Машиностроение, 1987, - 846 с.

.        Расчет и профилирование круглых протяжек: Методические указания по выполнению расчетно-графического задания в курсовом и дипломном проектировании по дисциплине «Режущий инструмент» для студентов всех форм обучения специальности 151001.65 - Технология машиностроения: Сост.: Кузнецова В.В. - Арзамас: Издательство ОО «Ассоциация ученых» г. Арзамас, 2005. - 46 с.: ил.21

.        Справочник технолога-машиностроителя. 2-ой том. Под ред. А.Г. Косиловой и Р.К. Мещерякова. - 4-е изд., перераб. и доп. -М:Машиностроение, 1985. 496с., ил.

Нормативные ссылки

. ГОСТ 2.104-90 - ЕСКД. Основные требования к тексту.

. ГОСТ 2.109-73 - ЕСКД. Основные требования к чертежам.

. ГОСТ 14034-74 - Центровые отверстия.

. ГОСТ 19265-73 - Стандарт на быстрорежущие стали.

. ГОСТ 25347-82 - Поля допусков.

. ГОСТ 2799-73 - Класс шероховатости поверхностей.

. ГОСТ 4044-70 - Хвостовики круглые для протяжек. Типы и основные размеры.

. ГОСТ 4543-71 - Легированные стали. Марки.

. ГОСТ 4553-71 - Сталь 40Х.

. ГОСТ 5264-80 - Сварка.

. ГОСТ 18884-73 - Резцы токарные отрезные с пластинами из твердого сплава. Конструкция и размеры.

. ГОСТ 17163-90 - Пластины твердосплавные напаиваемые типа 13. Конструкция и размеры.

. ГОСТ 3882-74 - Сплавы твердые спеченные. Марки.

Похожие работы на - Расчет и проектирование протяжки для круглого отверстия

 

Не нашли материал для своей работы?
Поможем написать уникальную работу
Без плагиата!
Без нейросетей!