Воздухонагреватели доменной печи

  • Вид работы:
    Курсовая работа (т)
  • Предмет:
    Другое
  • Язык:
    Русский
    ,
    Формат файла:
    MS Word
    480,22 Кб
  • Опубликовано:
    2014-06-22
Вы можете узнать стоимость помощи в написании студенческой работы.
Помощь в написании работы, которую точно примут!

Воздухонагреватели доменной печи

СОДЕРЖАНИЕ

Введение

1. Устройство и работа воздухонагревателя печи

. Огнеупорная кладка воздухонагревателей

. Оборудование воздухонагревателей доменной печи

3.1 Перепускной клапан

.2 Дымовой клапан

.3 Клапан холодного дутья

.4 Клапан горячего дутья

.5 Газовая горелка

.6 Воздушно-разгрузочный клапан «снорт»

.7 Смесительный клапан

.8 Воздухонагреватель с шаровой насадкой

. Совершенствование режимов работы воздухонагревателей с целью повышения температуры дутья

Перечень ссылок

ВВЕДЕНИЕ

Нагрев дутья в доменном производстве - один из важнейших этапов его развития, сыгравший огромную роль в снижении расхода горючего и повышении производительности доменных печей.

Поиски путей повышения температуры дутья привели к созданию регенеративных воздухонагревателей, показавших значительное преимущество по уровню достигаемого нагрева воздуха и быстро вытеснявших из практики все ранее создаваемые конструкции. Таким образом они стали преимущественным средством для нагрева доменного дутья до настоящего времени.

 

1.  УСТРОЙСТВО И РАБОТА ВОЗДУХОНАГРЕВАТЕЛЯ ПЕЧИ

 

Устройство и работа воздухонагревателя печи - совершенствование его конструкции.

Кожух. Регенеративные воздухонагреватели доменных печей типа «Каупер» имеют металлическую оболочку с днищем, футерованную огнеупорным шамотным кирпичом, называемую кожухом. Основными требованиями, предъявляемыми к кожуху, являются максимальная плотность в швах и рассчитанная на избыточное давление до 490 кПа строительная прочность, определяемая при контрольной проверке после выкладки стен воздухонагревателя в соответствии со специальной инструкцией.

В связи со значительным увеличением размеров воздухонагревателей, достигающих по высоте 50-55 м и наружному диаметру 9-13 м, кожухи изготовляют из низколегированных сталей марок 14Г2, 09Г2С, 10Г2С с толщиной листов 25-40 мм для воздухонагревателя и 20 мм для шахты горения в случае устройства ее выносной (диаметром 3-5 м). В зарубежной практике применяют также котельную сталь; при этом толщина поясов в цилиндрической части 29-40 мм (Япония), днища 51 мм на периферии и 32 мм в центре. Кожух делают сварным с применением электрошлакового метода сварки. Листам купола с увеличенной толщиной придается скорлупообразная форма. Низ кожуха закрепляется на фундаменте по всей окружности болтами (расстояние между болтами 200-300 мм). Листы, ослабленные вырезами в местах установки клапанов и люков, усиливаются накладками.

Для предупреждения интеркристаллитной коррозии кожуха применяется тепловая изоляция его покрытием кислотостойкими керамическими массами или защита фольгой из специальной стали. Для осмотра, чистки и ремонта в кожухе воздухонагревателя имеются лазы снизу камеры горения и в поднасадочном пространстве. В куполе люки делают один по центру (диаметром 700-750 мм), закрывающийся специальной огнеупорной пробкой со вставленной термопарой, и один небольшой над камерой горения для пропуска троса. На этот трос подвешивается люлька во время ремонтов.

Воздухонагреватель (Рисунок 1.1) доменной печи состоит из днища 1; опорных поднасадочных колонн 3; поднасадочной решетки 4, состоящей из ряда плит с отверстиями по числу ячеек насадки; насадки 5; разграничительной стенки 6, отделяющей насадочное пространство от камеры горения; камеры горения 7; подкупольного пространства 8 с люками 9; кожуха 10 воздухонагревателя с огнеупорной кладкой 2. Камера горения имеет штуцер газовой горелки 11; поднасадочное пространство оборудовано штуцером шибера холодного дутья 12 и дымовыми клапанами. Для уменьшения внешних тепловых потерь между огнеупорной кладкой стен и кожухом помещается трепельный кирпич с засыпкой. Применяют также специальные «маты» из нетеплопроводных материалов. Насадка 5 делается обычно прямоугольной с размером отверстий 45x45 мм или из шестигранных блоков с круглыми отверстиями диаметром 36-41 мм.

Очищенный доменный газ (или смесь доменного и коксового газов), подведенный к воздухонагревателю, подается в камеру горения газовой горелкой совместно с необходимым для сжигания газа воздухом, подаваемым специальной воздуходувной станцией. Продукты сгорания газа поднимаются вверх под купол воздухонагревателя, где происходит их полное сгорание и развивается максимальная температура. Далее продукты сгорания опускаются вниз через каналы насадки.

1 - днище; 2 - огнеупорная кладка днища; 3 - колонна; 4 - решетка; 5 - насадка; 6 - вертикальная стенка; 7 - камера горения; 8 - подкупольное пространство; 9 - люки; 10 - кожух; 11 - штуцер газовой горелки; 12 - штуцер клапана холодного дутья; 13 - лазы.

Рисунок 1.1 - Воздухонагреватель доменной печи со встроенной камерой горения

Отдавая насадке свое тепло, они охлаждаются до 150-400 °С и затем отводятся через дымовые клапаны в боров к дымовой трубе. После нагрева насадки по достижении максимально допустимой. После нагрева насадки по достижении максимально допустимой температуры подкупольного пространства подача газа в камеру горения прекращается.

Через поднасадочное пространство, насадку и камеру горения в обратном газу направлении подается воздух, который нагревается, проходя через горячую насадку, и затем через клапан горячего дутья направляется по воздухопроводу горячего дутья в доменную печь.

После охлаждения насадки воздухонагреватель вновь переводят на режим нагрева. Непрерывность подачи дутья обеспечивается наличием блока из трех-четырех воздухонагревателей на печь, из которых попеременно два или три работают в режиме нагрева, а остальные - на дутье, в зависимости от их числа и принятой схемы работы (одиночной или попарно параллельной). Режимы нагрева и охлаждения являются основными для работы воздухонагревателя. Кроме этого, он может находиться на «тяге» или быть отключенным.

При работе воздухонагревателя доменных печей на тяге во время кратковременных остановок печей доменный газ, сгорающий частично в фурменных коленах и кольцевом воздухопроводе, отводится по воздушному тракту в камеру горения одного из воздухонагревателей для полного сгорания. В проектах современных доменных печей эта операция отпадает, так как газ сжигают, помимо воздухонагревателей, на специальных свечах, устанавливаемых около печи с соответствующим «отсечением» их от горячего воздухопровода.

Воздухонагреватель отключают в случае перевода в горячий резерв или ремонта печи, т. е. воздухонагреватель изолируют от газовоздухопроводов и дымового борова с трубой.

Увеличение объемов доменных печей и интенсивности их работы потребовали повышения мощности воздухонагревателей. Считалось, что удельной поверхности нагрева 55-60 м23 полезного объема печи достаточно для нагрева дутья до 1000 °С. Для отечественных цехов удельная поверхность нагрева составляет в среднем 63-64 м23, но для печи объемом 5000, 5500 м3 она принята равной 95-100 м23 полезного объема печи. Для Японии, располагающей в настоящее время максимальной тепловой мощностью воздухонагревателей, этот показатель составляет 70-73 м23 полезного объема печи.

В Англии и США, позднее вступивших на путь строительства доменных печей больших объемов и имеющих только отдельные воздухонагреватели с нагревом дутья >1100 °С, удельная поверхность нагрева составляет 43-44 м23 полезного объема печи. Но малая удельная поверхность нагрева компенсируется применением высокоэффективных тонкостенных насадок с толщиной 25 мм различной формы, в том числе с круглыми и квадратными ячейками.

Повышение температуры дутья и увеличение удельной поверхности нагрева воздухонагревателей потребовали больших мощностей газовых горелок, типа «труба в трубе», пропускная способность которых по воздуху возросла от 48-60 тыс. м3/ч (Россия и Япония), 42,5 (Англия) и 76-85 (США) до 80-120 тыс. м3/ч (Россия).

В настоящее время для экономии рабочего места и сокращения тепловых потерь широкое применение находят керамические горелки с мощностью по воздуху до 200 тыс. м3/ч. Они повышают тепловую мощность воздухонагревателя на 10-15%, устанавливаются в донной части камеры горения и не имеют шибера между воздухонагревателями и горелкой. Газ поступает через низ центральной части камеры горения, а воздух по кольцеобразному каналу, находящемуся вокруг газопровода. Горелка работает бесшумно, при малых потерях давления газа. Пламя хорошо регулируется; нет пульсаций газа; обеспечивает лучший нагрев по сравнению с горелками типа «труба в трубе».

Для увеличения теплотворной способности топлива (доменного газа) его обогащают коксовым, природным газами, реже конвертерным. За рубежом при недостатке газового топлива добавляется бензин (Англия) или мазут. Практикуется также подогрев воздуха горения (Германия).

Большое значение придают автоматическому регулированию работы воздухонагревателей как в полуавтоматическом исполнении, так и полностью автоматизированными системами. В первом случае управление каждым клапаном в отдельности кнопочное или контакторное. Во втором случае импульс на перевод клапанов дает фотоэлемент, регистрирующий нагрев камеры горения, соответствующий определенным минимальной и максимальной температурам купола воздухонагревателя в газовом и воздушном периодах работы. Такая система впервые в металлургической практике была применена в 1955 г. на Кузнецком металлургическом комбинате.

2. ОГНЕУПОРНАЯ КЛАДКА ВОЗДУХОНАГРЕВАТЕЛЕЙ

Футеровка воздухонагревателей испытывает:

термические нагрузки, различные по величине и характеру в зависимости от места нахождения в воздухонагревателе. Наибольшими они бывают в кладке стен и особенно в камере горения, где наблюдаемые перепады температур максимальные;

механические нагрузки под влиянием собственного веса огнеупоров. При их нагреве образуются такие же различные сжимающие напряжения в кладке;

воздействие пыли, которое в процессе нагрева незначительно, но резко возрастает при взятии аппарата «на тягу». Пыль и щелочные пары, диффундирующие внутрь кирпичей, способствуют фазовым превращениям, а именно образованию анортита и гиганита, а в реакционной зоне - стекловидной фазы, содержащей корунд. При их нагреве образуются также различные сжимающие напряжения в кладке, например в камере горения до 7,8 МП а, в насадке 83-117 кПа.

Причинами деформации футеровки являются износ и выкрашивание кирпичей в куполе и верхней части камеры горения из-за чрезмерно высоких температур и реакций с пылью и щелочами; образование трещин вследствие разности температур с обеих сторон разделительной стенки; термические разрушения кирпичей в связи с чередованием периодов нагрева и охлаждения. Для ослабления действия указанных факторов кладку стен, купола и насадки делают с учетом условий работы огнеупоров в разных зонах по высоте воздухонагревателя.

Так, для футеровки нижней части радиальных стен и нижних рядов насадки в отечественной практике применяют шамотные изделия классов А и Б или полукислые изделия класса Б. Для футеровки высокотемпературных зон используют огнеупоры высокоглиноземистые (62-65% Аl2O3) и каолиновые (не менее 42% Аl2O3). Каолиновые огнеупоры можно применять в насадках, камерах горения и куполах при максимальной температуре нагрева 1280 °С, а в качестве стенового кирпича при температуре не выше 1380 °С. В современных воздухонагревателях, рассчитанных на температуру горячего дутья 1400-1500 °С (температура под куполом до 1600 °С), предусмотрено применять в верхних рядах футеровки перерожденный динас (до 30% общей высоты насадки).

Для современных отечественных доменных печей объемом 3000-3200 м3 возможны следующие конструктивные решения воздухонагревателей: диаметр кожуха расширяется на участке 11 м по высоте перед куполом с целью создания лучших условий для работы в области наиболее высоких температур. Камеры горения круглая, встроенная, боковая. Толщина футеровки наружных стен и купола в один болыиемерный кирпич (450 мм). Внутренняя (разграничительная) и наружная стены камеры горения выложены таким же кирпичом в два оката.

Воздухонагреватель имеет теплоизоляционную защиту из трецельного и легковесного кирпичей по одному ряду каждого. Кладка по всей высоте, кроме основания камеры горения, делается без перевязки для возможности свободного ее роста. Для большей строительной прочности стен воздухонагревателя и лучших условий его работы в области наиболее высоких температур сооружаются воздухонагреватели с «грибовидным» куполом, опирающимся на кольцевую балку и разгружающим стены воздухонагревателя от своего веса.

Свободное пространство в куполе между кладкой и кожухом футеруется жаростойким торкрет-бетоном. Зазоры между изоляционным кирпичом и кожухом в основании купола и вдоль стен заполняются ватой из высокоглиноземистого волокна.

Техническая характеристика воздухонагревателя: температура горячего дутья 1200 °С; избыточное давление дутья на фурмах 410 кПа; поверхность нагрева воздухонагревателя 55560 м2; поверхность нагрева на 1 м3 объема печи 69,0 м2, то же, на 1 м3 насадки 32,2 м2.

Сечение камеры насадки равно 42,2, камеры горения 6,03 м2; высота насадки 40,635 м, толщина шестигранного кирпича 25 мм, диаметр ячеек (средний) 41 мм, число полных ячеек 11000. Для эффективного теплообмена в условиях повышенного нагрева дутья и надежности службы насадку выполняют в виде шестигранных блоков с круглыми дырчатыми отверстиями (Рисунок. 2.1), расстояние между которыми 27 мм. Удельная поверхность нагрева в этом случае 32,7 против 24,9 м23 полезного объема печи в квадратной насадке с размером ячеек 45x45 мм, т. е. поверхность нагрева увеличивается на 31,5%. Благодаря достигаемой более высокой регенерации тепла температура дутья повышается на 50 °С при одной и той же температуре купола. Это дает прирост производительности доменной печи около 1,0 % и снижение расхода кокса на 8-10 кг/т чугуна.

Рисунок 2.1 - Шестигранное дырчатое насадочное изделие

Блоки насадки устанавливают отдельными столбиками для предупреждения возможного их разрушения при неравномерном прогреве. Их изготовляют из материала, содержащего до 62-72 % Аl2O3. Воздухонагреватели с шестигранной насадкой с применением муллитовых огнеупоров в среднетемпературной и динасовых в высокотемпературной зонах обеспечивают получение температуры под куполом до 1450 °С.

В зарубежной практике высокотемпературная зона воздухонагревателей со встроенной камерой горения выкладывается динасовыми огнеупорами, остальные зоны - шамотными. Насадка выполняется также из шестигранных блоков, но в отличие от отечественной практики с перевязкой рядов и зазорами в 2 мм.

В высокотемпературной зоне кожухи воздухонагревателей торкретируют изоляционным слоем толщиной 50-60 мм. Зазоры между изоляцией и основной стеной заполняют крошкой из огнеупорного материала, применяемого для футеровки этой зоны. В купольной части зазоры заполняют теплоизоляционными материалами. Конструкция воздухонагревателей с внутренней боковой камерой горения при высоких температурах дутья не обеспечивает устойчивости огнеупорной футеровки. Имеет место образование трещин в куполе, искривление разграничительной стенки между камерой горения и насадкой с возможным местным ее разрушением вследствие чего происходит так называемое короткое замыкание, т.е. преждевременный проход дымовых газов из камеры горения в камеру насадки или наоборот воздуха из насадочного пространства в камеру горения. Наблюдается также нарушение вертикальности каналов насадки, особенно в верхних ее зонах.

Для увеличения полезной площади насадки, возможности увеличения тепловой мощности воздухонагревателей и предупреждения при этом различных деформаций с 1959 г. начато строительство воздухонагревателей с выносными камерами горения (Рисунок 2.2).

Распределение огнеупоров в них по зонам аналогично аппаратам со встроенной камерой. Насадка также шестигранная, высота блоков 150 мм, в них семь отверстий диаметром 43 мм.

Кожух в высокотемпературных зонах защищен изоляционным кирпичом, торкрет-слоем и асбестовой засыпкой.

Воздухонагреватели с выносной камерой горения применили впервые в 1974 г. для доменной печи 5000 м2 на заводе «Криворожсталь».

Рисунок 2.2 - Воздухонагреватель с выносной камерой и керамической горелкой (а) и общий купол горения типа Дидье (б), Коп перса (в), Мартин-Па-генштехера (г)

Это внедрение, усложняющее сооружение и удорожающее его стоимость, имеет, однако, большой положительный эффект, значительно повышая нагрев дутья при одних и тех же размерах кожуха воздухонагревателя и при увеличении прочности его футеровки.

Усложненной является конструкция общего купола, перекрывающего камеры горения и насадки и выполняемого в трех вариантах. Изучается также возможность полного исключения камер горения подобно газонагревателям, применяемым в химической промышленности. Такого типа конструкции высокотемпературных воздухонагревателей со сжиганием газа в подкупольном пространстве при помощи керамических горелок разработаны и испытываются в производственных условиях (Рисунок 2.3).

В них предусматривается насадка из шестигранных блоков с круглыми ячейками диаметром до 41 мм, выполненных в зонах высоких температур из малоразрыхляющего динаса (1100- 1550 °С) и каолиновых изделий, содержащих не менее 42% Аl2O3 (900-1100 °С); в зоне средних температур (700-900 °С) из шамотных огнеупоров класса А; в зоне низких температур (700 °С и менее) из шамотных огнеупоров класса Б. Нижняя часть стен камеры горения выполнена из муллито-корундовых изделий.

а - общий вид; б - продольный разрез по форкамере при горелках со встречными струями газа и воздуха; в - то же, при горелках с параллельными струями; 1, 2 - воздушный и газовый коллекторы; 3 - выходные отверстия; 4 - горелка; 5 - форкамера; 6 - купол; 7 - штуцер горячего дутья; 8 - насадка; 9, 10 - каналы газовый и воздушный; 11 - перекрытие каналов; 12 - выходное отверстие из каналов; 13 - смесители.

Рисунок 2.3 - Бесшахтный воздухонагреватель конструкции ВНИИМТа

Газовые горелки применяют керамические, с пропускной способностью по воздуху до 200 тыс. м3/ч. Имеется в виду компенсация напряжений в кожухах воздухонагревателей с помощью линзовых компенсаторов или гидравлических (механических) домкратов, установленных под камерой горения. К основным их технологическим параметрам относятся: количество нагреваемого дутья 11 тыс. м3/мин при 21% O2 в дутье и 8,1 тыс. м3/мин при 35% O2; температура дутья 1400 °С; температура продуктов сгорания под куполом 1550 °С; удельная поверхность нагрева 100 м23 полезного объема печи и 32,2 м23 насадки; температура отходящего дыма до 400 °С. Дымовая труба у устья имеет диаметр 5100 мм; высота трубы 80 м.

Работа воздухонагревателей рассчитана на попарно параллельный и последовательный режимы. Регулирование температуры горячего дутья обеспечивается параллельно установленными клапанами дроссельного типа диаметром 1100 и 600 мм.

Число дымовых клапанов и шиберов холодного дутья предусмотрено для равномерного отсоса продуктов сгорания и распределения по насадке воздуха и равно трем, как у воздухонагревателей с выносной камерой горения для печи объемом 5000 м3.

Воздухонагреватель бесшахтной конструкции имеет короткофакельную горелку в куполе с размещением оборудования и рабочей площади блока воздухонагревателей на высоте более 40 м. Устройство таких воздухонагревателей возможно после окончательного решения конструкции керамических короткофакельных горелок.

3. ОБОРУДОВАНИЕ ВОЗДУХОНАГРЕВАТЕЛЕЙ ДОМЕННОЙ ПЕЧИ

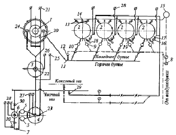
Воздухонагревательное хозяйство доменной печи, состоящее из воздухонагревателей, газовых и воздушных (для холодного и горячего дутья) магистралей, оснащено оборудованием, из которого на каждом воздухонагревателе установлены газовая горелка с регулировочными и отсоединительными клапанами; по одному клапану или шиберу холодного и горячего дутья; два-три дымовых и два перепускных или уравнительных клапана (в том числе один встроенный в клапан холодного дутья) (Рисунок 3.1). Остальное оборудование, установленное на газовоздухопроводах, включает листовые задвижки для полного отделения отдельных участков трубопровода для ремонта и клапаны:

отделительные для отключения и подключения одного участка к другому;

уравнительные или перепускные для установления заданного давления перед открытием дымовых клапанов;

предохранительные, предупреждающие образование излишнего давления в трубопроводах, а также затяжку атмосферного воздуха или газа при падении в них давления;

обратные, разрешающие движение потоков газа или воздуха в различных направлениях (в зависимости от положения клапана);

воздушно-разгрузочные («снорт») для быстрого снижения количества и давления поступающего в печь воздуха.

По устройству клапаны разделяют на шиберные (вертикального исполнения) и тарельчатые (горизонтальные и дроссельные с вращением затвора в плоскости, перпендикулярной движению газа или воздуха).

- доменная печь; 2 - воздухонагреватели; 3 - пылеулавливатель; 4 - скруббер; 5 - труба-распылитель; 6- водоотделитель; 7 - дроссельная группа; 8 - воздушно-выпускной канал; 9 - клапан холодного дутья; 10 - клапан горячего дутья; 11 - смесительный канал; 12 - дроссель-смеситель; 13 - дымовой клапан; 14 - перепускной клапан горелки; 15 - дымовая труба; 16 - газовые клапаны; 17 - газовые дроссели; 18 - вентиляторы горелок; 19 - отсечные клапаны горелок; 20 - наполняющий клапан; 21 - выпускной клапан; 22 - тарельчатый отделительный клапан; 23 - задвижка наполнительного газопровода; 24-27 - атмосферные клапаны соответственно печи, пылеулавливателя, отделительного клапана и скруббера; 28 - продувочные свечи; 29 - задвижка чистого доменного газа; 30 - шиберная задвижка.

Рисунок 3.1 - Схема газового хозяйства

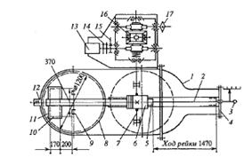
3.1         Перепускной клапан

Перепускной клапан (Рисунок 3.2) служит для снижения давления в воздухонагревателе до атмосферного при переводе его с «дутья» на «газ» перед открыванием дымовых клапанов. Установлен на трубопроводе, соединяющем воздухонагреватель с дымовым боровом.

Рисунок 3.2 - Клапан перепускной (два вида)

Клапан перепускной тарельчатого типа состоит из корпуса 6 с фланцами 4 и 5 седла 3; тарели 2, наподвижно закрепленной на штоке 1 с уплотнением 13; зубчатой рейки 9, ограниченно перемещающейся относительно штока 7 вдоль его оси; пружины 10, обеспечивающей прижатие тарели к седлу (77 - корпус); вала-шестерни 8, находящейся в зацеплении с рейкой. Открытие и закрытие клапана осуществляют электродвигателем 14 через гло-боидно-червячный редуктор 17, приводной вал 12, кривошипно-шатунный механизм 7 и вал-шестерню 8. Клапан можно перемещать вручную при помощи маховика 18, связанного с приводным валом редуктора конической зубчатой передачи. Конечный выключатель 19 блокирует возможность пуска электродвигателя 14 при ручном управлении. Включение и выключение электродвигателя производят с помощью командоаппарата 15 с кинематической зубчатой парой 16 при достижении тарелью крайних положений.

Перепускной клапан в нормальном положении закрыт. Горизонтальная часть корпуса клапана соединена со штуцером воздухонагревателя, а вертикальная часть - с дымовым боровом, отводящим избыточный воздух из воздухонагревателя через боров в дымовую трубу.

Дымовой клапан служит для отделения воздухонагревателей от дымового борова при работе его на «дутье». На воздухонагревателе устанавливают два или три дымовых клапана для снижения сопротивления движению газов в дымовом тракте и более равномерного нагрева насадки воздухонагревателя.

3.2         Дымовой клапан

Дымовой клапан служит для отделения воздухонагревателей от дымового борова при работе его на «дутье». На воздухонагревателе устанавливают два или три дымовых клапана для снижения сопротивления движению газов в дымовом тракте и более равномерного нагрева насадки воздухонагревателя.

Дымовой клапан тарельчатого типа (Рисунок 3.3) состоит из корпуса 2, крышки 3, патрубка 1, воздухоохлаждаемого седла 10, запорного диска 7. Промежуточного патрубка-основания 11 и опорной плиты 12. Диск шарнирно подвешен к рычагу 8, жестко закрепленному на валу 9. К валу Ртакже жестко прикреплен фигурный рычаг б, связанный канатом с приводом, состоящим из редуктора и электродвигателя.

В закрытом положении диск прижимается к седлу односторонним давлением воздуха со стороны воздухонагревателя. Перед открытием дымового клапана давление по обе стороны тарели выравнивается перепускным клапаном. С помощью привода тарель отводится в сторону и фиксируется в этом положении весом контргруза 4, подвешенного на канате 5 (13- опорная балка; 14 - электропривод; 15 - редуктор ручного привода; 16 - шкив).

Рисунок 3.3 - Дымовой клапан

.3 Клапан холодного дутья

Клапан холодного дутья служит для отделения воздухонагревателя от воздухопровода при переводе первого «на газ».

Клапан холодного дутья шиберного типа (Рисунок 3.4) состоит из корпуса 1 с крышкой 4; задвижки (заслонки) 8; малой задвижки 11, встроенной в задвижку 8 и перекрывающей малое отверстие в ней (выполняет роль перепускного клапана); жестко связанной с задвижкой 11 зубчатой рейкой 5, находящейся в сцеплении с шестерней 6 и получающей движение от вала 7; буфера 12, смягчающего удар задвижки 8 о корпус 1; привода, состоящего из электродвигателя 13, муфты предельного момента 14, тормоза 15; дифференциального редуктора 16; ручной привод осуществляется колесом 17.

Рисунок 3.4 - Клапан холодного дутья

При закрытом клапане заслонка 11 прижимается к корпусу давлением воздуха со стороны воздухопровода холодного дутья. При открывании привод приводит в движение рейку 5, которая перемещает малую задвижку 11. После полного открытия перепускного отверстия 10 электродвигатель отключается, происходит выравнивание давления по обе стороны задвижки 8, затем вновь включается привод и заслонка 11, дойдя до упора 9 в задвижке 8, двигается вместе с ней до полного открытия клапана. В случае заклинивания задвижки 8 в корпусе может быть использован посторонний привод-лебедка, который подсоединяется к проушине 3 штанги 2.

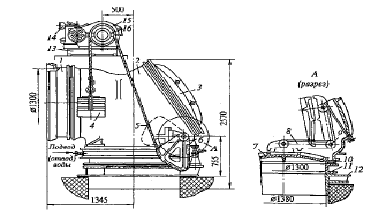
3.4 Клапан горячего дутья

Клапан горячего дутья с электроприводом предназначен для отделения воздухонагревателя от воздухопровода горячего дутья при работе воздухонагревателя в режиме нагрева.

Клапан горячего дутья шиберного типа (Рисунок 3.5) состоит из корпуса 1 крышки 2; фланцев 3; двух полых колец (седел) 4; полого шибера 5; двух труб 6 для подвода-отвода охлаждающего агента, жестко соединенных с шибером; траверсы 8 двух жестко закрепленных на крышке 2 узлов зубчатых реек, состоящих из реек, шарнирно прикрепленных к траверсе 8 и находящихся с рейками в зацеплении шестерен, смонтированных в корпусе 7; привода 10, соединенного с шестернями посредством карданных валов 9. Места стыка корпуса 7, крышки 2, фланцев 3, полых колец 4, а также направляющие трубы 6 уплотняются абестовым плетеным шнуром.

Рисунок 3.5 - Клапан горячего дутья

В клапане цилиндрическая часть корпуса 1, фланцы 3, кольца 4 и шибер 5 выполнены с подводами охлаждающего агента в нижнюю часть и отводами из верхней. Клапан рассчитан на работу с водяным или испарительным охлаждением при некотором конструктивном различии в устройстве диска. В обоих вариантах он клиновидный; для повышения жесткости его, как и кольца, выполняют сварно-штампо-ванным с алитированными наружными поверхностями.

Для повышения надежности стыков деталей предусмотрены подводы нейтрального газа или сжатого воздуха под давлением, несколько превышающим давление горячего дутья, в полость между рядами уплотнений.

При закрытом клапане шибер постоянно прижат односторонним давлением дутья к кольцу 4, расположенному со стороны воздухонагревателя. Подвод шибера к кольцу сопровождается угловым перемещением труб 6 в сферическом сочленении их с крышкой 2.

3.5 Газовая горелка

Газовая горелка с индивидуальным вентилятором служит для принудительной подачи газа и воздуха, необходимых для сжигания газа в камере горения воздухонагревателя. Устанавливается перед камерой горения и соединяется с газопроводом и воздухонагревателем через клапаны, регулирующие подачу газа и отключающие горелку.

Показана горелка (Рисунок 3.6) производительностью 75-120 тыс. м3/ч, у которой вентилятор с исполнительным механизмом отсутствует, а воздух подается от центральной вентиляторной станции, обслуживающей весь блок воздухонагревателей доменной печи, через патрубок 3 и трубу 1.

Отделение горелки от воздухопровода и регулирование расхода воздуха для горения осуществляются дроссельным клапаном 2, установленным на воздухопроводе.

Рисунок 3.6 - Газовая горелка

.6 Воздушно-разгрузочный клапан «снорт»

Воздушно-разгрузочный клапан («снорт») устанавливается на воздухопроводе холодного дутья в непосредственной близости от блока воздухонагревателей. Служит для уменьшения или полного прекращения подачи дутья в доменную печь без изменения режима работы воздуходувной машины.

Клапан объединяет два механически связанных между собой клапана: поршневой и дроссельный. При открывании поршневого воздух выпускается в атмосферу непосредственно или через специальный глушитель; одновременно с этим воздухопровод, ведущий к воздухонагревателям, перекрывается дросселем.

Клапан (Рисунок 3.7) состоит из корпуса 1 с вырезами для выхода воздуха; поршня 2, соединенного шатуном 3 с дросселем 4.

Для уменьшения шума при выпуске воздуха клапан снабжен глушителем 5, состоящим из концентрических цилиндров с конусами и отверстиями в стенках. Привод 6 дает возможность, кроме управления от электропривода, применять также и ручное управление 7, штурвал от которого находится около печи в специально укрытом помещении.

Рисунок 3.7 - Воздушно-разгрузочный клапан («снорт»)

Клапан, кроме применения в остановочных и пусковых операциях на печи, служит для производства искусственных осадок в случае под-висания печи, а также для аварийной остановки ее в экстренных случаях. На английском языке клапан именуется «снорт», что означает шумящий. Диаметр условного прохода клапана в зависимости от объема печи, расчетного давления и количества дутья 1400 мм и более.

.8 Смесительный клапан

Смесительный клапан (Рисунок 3.8), регулирующий температуру горячего дутья в воздухопроводе. Клапан дроссельный работает в системе автоматического управления, после перевода очередного воздухонагревателя доменной печи в режим «на дутье». При открывании клапана дроссель поворачивается на максимально заданный угол. При этом температура выходящего из воздухонагревателя горячего дутья и количество холодного воздуха, проходящего через дроссельный клапан, максимальны.

Рисунок 3.8 - Смесительный клапан

Клапан состоит из корпуса 1; поворотного диска 2, вала 3; указателя 4.

По мере остывания огнеупорной насадки воздухонагревателя дроссель плавно закрывается, уменьшая расход холодного воздуха. В конце дутьевого периода работы данного воздухонагревателя клапан почти полностью закрыт.

Воздухонагреватель с шаровой насадкой

Температура горячего дутья, вдуваемого в доменные печи, находится в известной зависимости от поверхности нагрева в воздухонагревательных аппаратах - каупеpax. Для повышения ее в настоящее время предложена новая конструкция кауперов с шаровой насадкой взамен обычной многоканальной, выложенной из шамотного кирпича.

Впервые такой воздухонагреватель был построен в США на опытной доменной печи объемом 9,6 м3, а затем в Швеции также в опытном порядке на печи объемом 82 м3. Испытания дали положительные результаты, но промышленного применения не получили.

В отечественной практике первые промышленные испытания прошли на Косогорском металлургическом заводе (г. Тула) на одной из доменных печей объемом 408 м3, выплавляющей ферромарганец. Для этого было сооружено два воздухонагревателя, заполненных корундовыми шарами диаметром 20 мм. Высота такой насадки составила 5,5 м, а внутренний диаметр воздухонагревателя - 6,0 м при общей высоте его 16 м, что значительно меньше размеров современных кауперов, высота которых достигает 55 м, а диаметр - 13 м.

Футеровка кожуха воздухонагревателя выполнена из карборундовых изделий в средней и верхней частях насадки и шамотных в нижней толщиной 345 мм в области насадки и 450 мм в области купола. Для теплоизоляции применены муллитовые легковесные изделия толщиной 114 мм в виде кремнекислых плит размером 80 мм. Кроме того, на кожух наносился торкретом бетон слоем в 50 мм.

Поднасадочное пространство высотой в 240 см стыкуется с центральным каналом для отвода продуктов горения через дымовой боров с дымовой трубой. Горелочное устройство каупера работает на природном газе, так как доменный газ не используется из-за недостаточной очистки его от пыли. Такой высокотемпературный воздухонагреватель (ВТВН) спроектирован институтами ИВТАН (г. Москва) и ВНИИМТ (г. Екатеринбург). Он обеспечивает температуру дутья до 1400-1500 °С.

Врезка штуцеров газовой горелки и клапана горячего дутья располагается в куполе каупера. Продукты горения отводятся через штуцер дымовых газов, расположенный в днище воздухонагревателя по его оси. Холодное дутье поступает также через шибер дымовых газов. В днище каупера предусмотрено специальное отверстие для выгрузки корундовых шаров диаметром 20 мм во время ремонтов. Блок воздухонагревателя оснащен прокладками для обслуживания крана и перекидными лестницами.

воздухонагреватель доменная печь дутье

4. СОВЕРШЕНСТВОВАНИЕ РЕЖИМОВ РАБОТЫ ВОЗДУХОНАГРЕВАТЕЛЕЙ С ЦЕЛЬЮ ПОВЫШЕНИЯ ТЕМПРАТУРЫ ДУТЬЯ

Мероприятия по подготовке шихты и вдувание различных реагентов в горн доменной печи наиболее эффективны при повышении нагрева доменного дутья. Так, на опытной доменной печи Горного бюро США повышение температуры дутья с 980 до 14000С обеспечило повышение производительности при вдувании природного газа на 23,5%, при увлажнении дутья на 26,4 %, при вдувании природного газа и обогащении дутья кислородом на 39,2 %; удельный расход кокса при вдувании природного газа без обогащения дутья кислородом снизился на 29%.

Для повышения нагрева дутья необходимо увеличение тепловой мощности воздухонагревателей, которая определяется их КПД и количеством сжигаемого газа. В свою очередь КПД воздухонагревателей зависит от разности температур продуктов горения под куполом и под насадкой. Температура под куполом может быть повышена при уменьшении коэффициента избытка воздуха горения, благодаря чему уменьшается унос тепла продуктами горения (если это не сопровождается недожогом топлива), а также при подогреве газа или воздуха горения путем использования части горячего дутья. Добавление к воздуху горения около половины горячего дутья позволяет повысить температуру дутья с 800 до 12000С; однако расход дутья при этом повышается примерно на 15 % и соответственно должна быть увеличена производительность воздуходувной машины.

Подогрев воздуха горения до 6000С в рекуператорах, обогреваемых газами, отходящими из воздухонагревателей, позволяет повысить температуру горения приблизительно на 400 на каждые 1000 подогрева газа или воздуха.

Повышение температуры дутья может быть достигнуто также путем сокращения периода нагрева дутья. Это, однако, связано с более частыми перекидками клапанов и увеличением относительного времени их перекидки, в течение которого приходится прекращать нагрев соответствующего воздухонагревателя. Чтобы при этом не снижалась тепловая мощность, необходимо ускорить перекидку клапанов с применением автоматизации.

Нагрев дутья можно увеличить также при помощи подогрева холодного дутья, добавляемого к горячему дутью через специальный клапан для стабилизации его температуры. Этот способ эквивалентен увеличению поверхности нагрева воздухонагревателей.

Также нагрев дутья можно повысить путем применения попарно-параллельной работы воздухонагревателей, при которой стабилизация температуры горячего достигается смешиванием дутья, поступающего из одного (более нагретого) воздухонагревателя и из второго (менее нагретого), который при обычной (т.е. последовательной) работе следовало бы поставить на нагрев насадки.

При такой работе воздухонагревателей необходима более высокая производительность газовых горелок и повышение напора газа и воздуха горения в связи с повышением сопротивления насадки. Однако это не вызывает затруднений, т.к. при вдувании реагентов и обогащении дутья кислородом расход дутья снижается и в мощности имеющихся воздуходувок, а также в тепловой мощности воздухонагревателей создается некоторый резерв.

При попарно-параллельной работе частота и продолжительность переключения клапанов не изменяются, но отрицательное влияние длительности паузы на тепловую мощность воздухонагревателей увеличивается. Поэтому следует ускорять перекидку клапанов, иначе попарно-параллельная работа может оказаться неэффективной.

Однако, как показали исследования, при длительности периодов нагрева и охлаждения насадки воздухонагревателей доменной печи объемом 2000 м3 по 4 ч количество тепла, усвоенного насадкой, осталось практически таким же, как при длительности периода нагрева 2,5 ч. Отсюда следует, что при попарно-параллельном режиме воздухонагреватели могут работать с более длинными периодами. Увеличение периода нагрева дутья позволяет уменьшить число смен давлений горячего дутья, возникающих при постановке "горячего" воздухонагревателя "на дутье".

Такая схема работы клапанов осуществлена на Косогорском металлургическом заводе.

Два воздухонагревателя находятся на нагреве дутья - "горячий" и "теплый", а остальные два - на нагреве насадки.

"Теплый" воздухонагреватель находится на нагреве дутья до тех пор, пока датчик температуры дутья не даст сигнал о готовности этого воздухонагревателя к переводу "на газ".

Когда "горячий" воздухонагреватель переводится на нагрев дутья, его клапан, регулирующий расход холодного дутья, почти закрыт и большая часть дутья проходит через "теплый" воздухонагреватель. По мере охлаждения "теплого" воздухонагревателя клапан "горячего" воздухонагревателя постепенно открывается. Когда этот клапан полностью открывается, клапан "теплого" воздухонагревателя автоматически начинает закрываться.

Периоды работы воздухонагревателей "на дутье" и "на газе" равны между собой и в среднем составляют 105 мин. При переходе на попарно-параллельную работу была использована имеющаяся резервная мощность горелок.

Перевод четырех воздухонагревателей на попарно-параллельную работу без конструктивных изменений позволяет отказаться от добавления холодного дутья для стабилизации температуры горячего дутья; повысить температуру горячего дутья, приблизив ее к температуре купола (так как ее изменение за период работы "на дутье" при той же продолжительности этого периода уменьшается на половину), увеличить период нагрева дутья, уменьшив тем самым число перекидок, и повысить стойкость футеровки трубопровода горячего дутья.

ПЕРЕЧЕНЬ ССЫЛОК

1 Вегман Е.Ф., Жеребин Б.Н и др. Металлургия чугунов. Москва 2004. Академкнига. с. 675 - 692.

Колпаков С.В., Шелков Е.М., Поликовский М.В., Горшков Ю.А. Высокотемпературные доменные воздухонагреватели с насыпной насадкой из корундовых шаров. Сталь - 1992. №10 - с.11-17.

Чернов Н.Н., Чечуро А.Н. Ведение доменной печи - Москва: Металлургия, 1987 - 138 с.

Леонидов Н.К., Клягин Г.С. Повышение температуры доменного дутья путем перевода воздухонагревателей на попарно-параллельную работу. Сталь. №3 - с.204-207.

Шкляр Ф.Р., Малкин В.М., Каштанова С.Д., и др. Доменные воздухонагреватели -Москва.: Металлургия, 1982.-176 с.

Похожие работы на - Воздухонагреватели доменной печи

 

Не нашли материал для своей работы?
Поможем написать уникальную работу
Без плагиата!
Без нейросетей!