Расчет футеровки воздухонагревателя ДП объемом 3300 м
Министерство
образования и науки РФ
Федеральное
агентство по образованию
Государственное
образовательное учреждение высшего профессионального образования
Череповецкий
государственный университет
Инженерно-технический
институт
Кафедра
металлургии, машиностроения и технологического оборудования
Контрольная
работа
«Расчет
футеровки воздухонагревателя ДП объёмом 3300 м3»
г.
Череповец, 2014-2015
Содержание
Введение
. Характеристика воздухонагревателей
. Расчет теплопроводности футеровки
из шамота
. Расчет температуры на стыке слоев
. Схема футеровки агрегата
Литература
Введение
Для увеличения температуры и интенсивности
горения кокса в горн доменной печи вдувается большое количество нагретого
воздуха, что приводит к экономии кокса в процессе плавки.
Использование горячего дутья в России началось в
1835-1836 гг. на доменных заводах в Петрозаводске и Выксе. Нагрев воздуха всего
до 300 °С привел к очень большой (около 40%) экономии топлива.
Вначале воздух нагревали в рекуператорах -
аппаратах, состоящих из чугунных труб, наружная поверхность которых нагревается
продуктами сгорания топлива (газ, уголь), проходящими между трубами
рекуператора. Пропускаемый в это время по трубам воздух нагревается. Однако
нагрев дутья в таких аппаратах не превышает 485 °С.
Цикл, состоящий из разогрева насадки и
последующего нагрева пропускаемого через нее воздуха, периодически повторяется.
Воздухонагреватель представляет собой цилиндрический
металлический кожух диаметром до 9 м и высотой до 60 м, сваренный из листовой
стали толщиной 15-17 мм. Внутри он футерован огнеупорным и теплоизоляционным
кирпичом. Воздухонагреватель состоит из двух основных частей: шахты - камеры
горения 3 круглого или эллиптического сечения и насадки - кладки из огнеупорных
кирпичей, образующей вертикальные каналы. Насадку и шахту разделяет огнеупорная
стена 5, не доходящая до купола.
1. Характеристика воздухонагревателей
Мощность воздухонагревателей характеризуется
поверхностью нагрева и производительностью газовых горелок, а конструкция -
типом насадки. При проектировании принимают на 1 м3полезного объема
доменной печи не менее 65 м2поверхности нагрева.
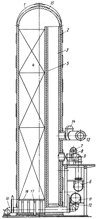
Рис. 1. Устройство воздухонагревателя: 1 -
кожух; 2 - кладка; 3 - камера горения; 4 - насадка; 5 - разделительная стена; 6
- газовый клапан; 7 - отделительный клапан; 8 - подвод к горелке; 9 - горелка;
10 - дымовой клапан; 11 - клапан холодного дутья; 12 - патрубок трубопровода
холодного дутья; 13 - трубопровод горячего дутья; 14 - клапан горячего дутья;
15 - футеровка купола; 16 - литые металлические поднасадочные решетки; 17 -
литые металлические поднасадочные колонны
Воздухонагреватели сооружают на общем фундаменте
в блоке (рис. 61) по четыре на каждую печь. Дымовая руба располагается около
воздухонагревателей, а дымовой боров может проходить внутри фундамента или
сбоку от него. Площадь нагрева насадки одного воздухонагревателя может
достигать 50000 м2. В этом случае масса шамотного кирпича составляет
около 3 тыс. т.
В табл. 1 приведены некоторые данные,
характеризующие воздухонагреватели советских доменных печей.
Таблица 1.
Характеристика воздухонагревателей
Воздухонагреватели работают следующим образом.
Во время нагрева газ из трубопровода поступает в
горелку, которая принудительно подает в камеру горения газовоздушную смесь. Эта
смесь воспламеняется при соприкосновении с раскаленными стенками. Максимальная
температура (1300-1370 °С) продуктов сгорания достигается в подкупольном
пространстве (при использовании только доменного газа). Затем газы, опускаясь,
проходят кирпичную насадку и через поднасадочные устройства и дымовые клапаны
при температуре 200-350 °С уходят в дымовой боров и дымовую трубу. При нагреве
тепло от продуктов горения передается насадке и футеровке стен
воздухонагревателя. После перевода воздухонагревателей "на дутье"
через него проходит воздух, который поступает от воздуходувной машины по
воздухопроводу холодного дутья, через клапан холодного дутья, поднасадочное
устройство, а затем через насадку, верхнюю часть камеры горения, клапан
горячего дутья и воздухопровод горячего дутья, соединенный с кольцевым воздухопроводом
горячего дутья.
Стены воздухонагревателя и камеру горения
выкладывают из шамотного кирпича классов А и Б. Для кладки верхней части стен
(одна треть) применяют высокоглиноземистый кирпич, средней - кирпич класса А и
нижней части - кирпич класса Б. Оставляемый между изоляционным и огнеупорным
кирпичом зазор в 60-70 мм заполняют слегка утрамбовываемой крошкой из
теплоизоляционного кирпича. Чтобы засыпка не просыпалась, через 2-2,5 м
теплоизоляционный кирпич укладывают впритык к кладке стены. На рис. 2 показана
кладка стен и камеры горения круглого сечения.
Рис. 2. Кладка стен круглой камеры горения
Купол воздухонагревателя выкладывают из
шамотного высокоглиноземистого кирпича. Верхнюю часть купола между огнеупорным
кирпичом и кожухом выполняют из изоляционного кирпича. В воздухонагревателях
старой конструкции применялась разделенная на ярусы насадка. Так, например,
насадка могла состоять из первого яруса с каналами сечением 100×1100
мм,
второго яруса, образующего ячейки 130×45 мм,
и третьего яруса с ячейками 45×45 мм.
Многоярусность насадки была целесообразной при небольшой высоте
воздухонагревателей и малой мощности горелок. Газовый поток, опускаясь книзу,
отдает тепло насадке, охлаждается, уменьшается в объеме и его скорость
снижается. Чтобы сохранить скорость газа, сечение ячеек в насадке книзу
уменьшали. В современных воздухонагревателях при надежной принудительной подаче
газа и воздуха необходимость в многоярусной насадке отпадает. В настоящее время
в основном применяется одноярусная насадка.
На рис. 3 показана насадка из фасонного кирпича
с горизонтальными каналами в соседние ячейки, а на рис. 3 - два варианта кладки
стен воздухонагревателя и купола.
Рис. 3. Кладка стен и купола водонагревателя
(два варианта)
футеровка водонагреватель
теплопроводность температура
Горелка с выдвижным патрубком состоит из
вентилятора электродвигателя 7, корпуса горелки 2, дросселирующего устройства 3
с регулятором подачи воздуха 9. Вал вентилятора вращается в подшипниках,
закрепленных в стойке 5, которая установлена на раме 2. Горелка соединена с
камерой горения выдвижным патрубком 4, зажимаемым фланцем 6. Перед заполнением
воздухонагревателя воздухом патрубок отводят в сторону и штуцер
воздухонагревателя закрывают заглушкой 5, прижимаемой коромыслом 10 и откидными
болтами.
Рис. 4. Газовая горелка без выдвижного патрубка:
1 - газовый дроссель; 2 - отделительный клапан; 3 - отделительный клапан
Для отсоединения воздухонагревателя от борова
при переводе на "дутье" предусмотрены два дымовых клапана, состоящих
из стального корпуса 2, покоящегося на чугунном водоохлаждаемом кольце 1.
Сечение клапана перекрывается диском, который перемещается рычагом,
закрепленным на валу 3. Клапан соединен с приводом при помощи каната,
охватывающего барабан с проскальзывающим ободом (во избежание резкого удара). К
канату подвешен противовес 4. Электронагреватель соединен с барабаном через
редуктор 6. Для осмотра клапана в корпусе предусмотрен люк 5.
При переводе воздухонагревателя на
"нагрев" после закрытия клапанов холодного и горячего дутья в нем
остается воздух. Открыть дымовые клапаны для соединения воздухонагревателя с
дымовым боровом нельзя, так как на клапаны давит оставшийся в
воздухонагревателе воздух. Для его выпуска из воздухонагревателя предусмотрен
клапан, через который оставшийся воздух сбрасывается в дымовой боров.
При переводе на "нагрев" воздухонагреватель
должен быть отсоединен от воздухопровода холодного дутья. Для этого
предусмотрен клапан холодного дутья, состоящий из корпуса и задвижки, на
которой находится перепускной клапан для уравновешивания давления с обеих
сторон. После окончания нагрева воздухонагревателя через этот клапан в него
поступает холодное дутье. Поскольку площадь, на которую действует давление,
невелика, перепускной клапан легко открывается для наполнения
воздухонагревателя воздухом. После этого задвижку клапана легко передвинуть,
так как давление с обеих ее сторон уравновешено. Клапаны холодного дутья
располагают горизонтально.
Между воздухонагревателем и воздухопроводом
горячего дутья расположен клапан (шибер) горячего дутья. При нагреве
воздухонагревателя клапан закрыт (опущен). Этот клапан состоит из литого
стального корпуса и крышки. В корпусе закреплены и уплотнены два охлаждаемых
водой медных или стальных кольца. Дисковый шибер в закрытом (опущенном)
положении прижимается воздухом к кольцу, расположенному со стороны воздухонагревателя.
Шибер обычно делают сварным или литым из меди. Трубы, по которым поступает
охлаждающая вода, проходят через сальниковые уплотнители, не пропускающие
воздух из корпуса клапана. Для подъема и опускания клапана установлен
электропривод. Обслуживающий персонал печи обязан следить за шиберами и не
допускать попадания воды в воздухопровод горячего дутья и в доменную печь
(вследствие прогара или образования трещин в кольце или дисковом клапане), так
как вода, попадая на раскаленную огнеупорную кладку, разрушает ее, а попадая в
печь, может привести к похолоданию, т.е. к расстройству хода.
Между воздухопроводами горячего и холодного
дутья находится смесительно-предохранительный клапан. Этот клапан состоит из
двух различных по назначению клапанов: смесительного, служащего для
регулирования температуры горячего дутья, и предохранительного, исключающего
возможность попадания газа из доменной печи в воздухопровод холодного дутья во
время остановки печи. Температура нагретого воздуха всегда выше задаваемой для
работы печи. Для поддержания постоянной температуры вдуваемого в доменную печь
воздуха его при помощи смесительного клапана разбавляют холодным воздухом. В
отдельных случаях необходимо снижать или повышать температуру дутья. В этих
случаях уменьшают или увеличивают долю добавляемого холодного воздуха.
Управление смесительным клапаном автоматическое в зависимости от показаний
термопары, вставленной в кольцевой воздухопровод.
Перед воздухонагревателями на воздухопроводе
холодного дутья находится воздушно-разгрузочный клапан (снорт), который служит
для быстрого уменьшения и прекращения подачи дутья в доменную печь (без
остановки или изменения режима работы воздуходувной машины в первый момент
после открытия воздушно-разгрузочного клапана). Сбрасывание через этот клапан
воздуха сопровождается сильным шумом. Поэтому на клапане установлен глушитель.
Воздухонагреватели отапливаются доменным газом
или смесью доменного и природного (иногда с коксового) газов.
Дымовые трубы воздухонагревателей бывают
различной конструкции: металлические, кирпичные и железобетонные. Раньше высоту
их из-за отсутствия мощных горелок делали равной двойной высоте
воздухонагревателя. В настоящее время высота трубы составляет 55 - 60 м, так
как газовоздушиая смесь подается в воздухонагреватель принудительно с помощью
газовой горелки.
. Расчет теплопроводности футеровки из шамота
Нахождение средней температуры футеровки
Где g
- тепловой поток на 1м2 поверхности, ВТ/м2 (4454Вт/м2
-справочное)
Твнеш., Твнутр. - температуры внешней и
внутренней поверхности футеровки, оС
Для кладки теплоизоляционного слоя применяют
кирпичи длинной 230-460мм, примем толщину теплоизоляционного слоя равную 460мм
(по толщине две длинны кирпича).
Тогда толщина рабочего слоя равна:

мм
. Расчет температуры на стыке слоев
Для определения температуры на стыке
теплоизоляционного и рабочего слоев используем графический метод.
Определим теплопроводность для
каждого слоя футеровки
Построим график (рисунок 5)
зависимости температуры от величины 
Проводим уточняющий расчет толщины рабочего и
теплоизоляционного слоев
Рисунок 5.
. Схема футеровки агрегата

Рисунок 7. Футеровка
воздухонагревателя в разрезе
Список литературы
1) Машины и агрегаты
металлургических заводов (Целиков А.И., Полухин В.И.)
) Методическое пособие Расчет
материального и теплового баланса кислородно-конверторной плавки (Степанов
А.Т.)
) Доменные воздухонагреватели
(Ф.Р. Шкляр)