Ассортимент и технология производства хлебобулочных изделий из пшеничной муки
ВВЕДЕНИЕ
Хлебобулочные изделия - основные
продукты питания, содержащие необходимые для нормальной жизнедеятельности
человека пищевые вещества, среди которых белки, углеводы, липиды, витамины,
минеральные вещества и пищевые волокла. Эти продукты питания характеризуются
высокой энергетической ценностью, легкой переваримостью и хорошей усвояемостью,
они приятны на вкус, значительно дешевле большинства других продуктов массового
потребления.
В жизни современного человека хлеб
играет значительную роль. Доля хлебобулочных изделий в рационе человека зависит
от его привычек, а также от экономических и социальных возможностей. В
большинстве развитых стран мира уровень потребления хлеба составляет 20-25 % от
общей массы потребляемой пищи.
За счет потребления хлеба человек
почти наполовину удовлетворяет свою потребность в углеводах, на треть - в
белках, более чем наполовину - в витаминах группы В, солях фосфора и железа.
[2]
Цель работы: изучить ассортимент и
технологию производства хлебобулочных изделий из пшеничной муки, оборудование,
с помощью которого они вырабатываются, получить понятие о технохимическом
контроле изделий на производстве, основных санитарно-гигиенических нормах.
Рассчитать производственные рецептуры изделий.
Для достижения цели необходимо
выполнить задачи:
Ознакомиться с литературой по данной
теме
Изучить ассортимент изделий данного
вида
Выбрать 2 вида изделий
Изучить современные модели
оборудования для выпуска данного вида продукции, выбрать подходящие модели
Произвести расчет выхода хлеба,
ознакомившись с унифицированными рецептурами
Произвести расчет производственных
рецептур
Составить
аппаратурно-технологические схемы производства
Ознакомиться с технохимическим
контролем производства и производственной санитарией
Результаты оформить в пояснительную
записку
1. АССОРТИМЕНТ ХЛЕБОБУЛОЧНЫХ ИЗДЕЛИЙ
ИЗ ПШЕНИЧНОЙ МУКИ
Хлебобулочные изделия из пшеничной
муки классифицируются:
) По виду муки:
из пшеничной хлебопекарной муки;
из пшеничной муки общего назначения;
из смеси пшеничной хлебопекарной
муки и пшеничной муки общего назначения;
из смеси пшеничной хлебопекарной
муки и зерновых продуктов;
из смеси пшеничной муки общего
назначения и зерновых продуктов;
из смеси пшеничной хлебопекарной
муки, пшеничной муки общего назначения и зерновых продуктов.
При этом масса зерновых продуктов в
смеси с пшеничной мукой не должна превышать 10% массы смеси.
) В зависимости от сорта муки:
из пшеничной хлебопекарной муки
обойной;
из пшеничной хлебопекарной муки
второго сорта;
из пшеничной хлебопекарной муки
первого сорта;
из пшеничной хлебопекарной муки
крупчатки;
из пшеничной хлебопекарной муки
высшего сорта;
из пшеничной хлебопекарной муки
экстра.
Допускается вырабатывать
хлебобулочные изделия из смеси разных сортов пшеничной хлебопекарной муки и
зерновых продуктов в различных соотношениях, масса зерновых продуктов в смеси с
пшеничной хлебопекарной мукой не должна превышать 10% массы смеси.
Хлебобулочные изделия из пшеничной
муки могут быть формовыми и подовыми, весовыми и штучными, с начинкой или без
начинки, упакованными или неупакованными. [10]
Хлеб из пшеничной муки. В эту группу
входят: хлеб пшеничный из муки обойной любой массы, хлеб пшеничный из муки
высшего, первого и второго сортов массой более 500 г и хлеб из смеси разных
сортов пшеничной муки. Эти виды хлеба вырабатываются формовыми и подовыми,
улучшенными, обогащенными белками, витаминами, диетическими, упакованными и
неупакованными, типа лепешек. К ним относятся виды хлеба, вырабатываемые в
соответствии с ГОСТ 27842. Это - хлеб из муки пшеничной хлебопекарной обойной,
(матнакаш, пшеничный), хлеб из муки пшеничной хлебопекарной второго сорта
(пшеничный, гражданский, красносельский, паляница украинская, арнаут киевский,
калач уральский, матнакаш, хлеб молочный), хлеб из пшеничной муки первого сорта
(пшеничный и пшеничный сладкий, горчичный, гражданский, домашний,
красносельский, молочный, белорусский, городской, дорожный в упаковке, калач
уральский и саратовский, паляница украинская и кировоградская, матнакаш,
ромашка), хлеб из пшеничной муки высшего сорта (пшеничный, ситный с изюмом,
молочный, раменский, полесский, палянииа украинская и кировоградская, каравай
русский, и сувенирный) и хлеб белый, вырабатываемый из пшеничной муки второго,
первого и высшего сортов по ГОСТ 26987.
К этой же группе относятся: хлеб
забайкальский, кишиневский, степной и уральский, вырабатываемые из смеси разных
сортов пшеничной мухи по ГОСТ 27842.
Изделия булочные. К этой группе
относят изделия массой до 0,5 кг, в том числе батоны массой до 0, 5 кг,
городские булки, булочные изделия массой до 0,3 кг, булочки массой от 0,05 до
0,07 кг, вырабатываемые из пшеничной муки первого и высшего сортов. В эту же
группу входят булочные изделия из смеси разных сортов ржаной и пшеничной муки,
из пшеничной муки высшего, первого и второго сортов массой от 0,3 до 0,5 кг и
от 0,08 до 0,3 кг, диетические, типа лепешек, обогащенные белками и витаминами.
Изделия булочные вырабатываются
согласно ГОСТ 27844.
Как правило, в рецептуры булочных
изделий помимо муки, дрожжей и соли входит значительное количество других видов
сырья (сахар-песок, маргарин, мак, тмин, молочные продукты, виноград сушеный,
патока). Особенностью булочных изделий является то, что содержание сахара и
жира в рецептурах не превышает в сумме 14% к массе муки.
Отдельные виды булочных изделий
вообще не содержат в своих рецептурах сахара и жира. Например, батон простой из
пшеничной муки второго и первого сортов, калачи и ситнички московские из
пшеничной муки высшего сорта.
Сдобные хлебобулочные изделия. К
этой группе относят изделия из пшеничной муки высшего и первого сортов массой
свыше 0,3 кг, массой от 0,08 до 0,3 кг, массой до 0,08 кг, типа лепешек, а
также из пшеничной муки второго сорта массой до 0,1 и свыше 0,1 кг и из смеси
разных сортов муки, массой до 0,3 и свыше 0,3 кг.
Основной особенностью рецептур
сдобных изделий является высокое содержание сахара и жира (в сумме более 14% к
массе муки) и разнообразие компонентов, входящих их состав.
По этому признаку в группу сдобных
изделий включаются различные виды изделий (например, булочки гражданские,
булочки сдобные, плюшки московские; изделия, объединяемые названием сдоба и
др.).
К хлебобулочным изделиям пониженной
влажности (менее 19 %) откосят: бараночные изделия - бублики, баранки, сушки,
имеющие форму кольца или овала и круглое сечение; сухари - сдобные из пшеничной
сортовой муки и простые из ржаной муки или ржаного хлеба; гренки, хрустящие
хлебцы, соломку и хлебные палочки.
Бараночные изделия имеют форму
кольца или овала и круглое сечение. Сушки представляют собой маленькие тонкие
колечки (от 6,7 до 11,8 г в штуке) с влажностью отдельных их разновидностей не
выше 9-13%. Баранки являются несколько более крупными изделиями (для разных их
видов от 25 до 40 г в штуке), имеющими и несколько более высокую влажность (для
отдельных наименований не выше 14-19%). Бублики - еще крупнее (от 50 до 100 г в
штуке), имеют большую толщину и влажность отдельных их разновидностей - не выше
22-27%,
Баранки и особенно сушки вследствие
их низкой влажности способны длительно сохраняться и поэтому являются
своеобразным видом хлебных консервов. Бублики, имеющие более высокую влажность,
наоборот, рассчитаны на потребление в свежевыпеченном состоянии.
Из пшеничной муки I сорта производят
бублики (украииские, ванильные, горчичные, бублики простые с маком, тмином и
др,), баранки (простые, сахарные, горчичные, молочные и др.) и сушки (простые,
соленые, чайные, минские и др.).
Из муки пшеничной высшего сорта
готовят баранки (сахарные с маком, лимонные, ванильные, яичные и др.) и сушки
(простые, с маком, лимонные, ванильные, горчичные и др.).
Из муки пшеничной могут
изготавливаться изделия сухарные, отличающиеся пониженной влажностью ‒ не
более 12%, благодаря чему способны храниться относительно долгое время.
Готовятся сдобные сухари из пшеничной сортовой муки.
Рецептуры сдобных сухарей
предусматривают внесение в тесто соответствующих для каждого сорта количеств
сахара и жиров - масла животного и маргарина. Указывается и количество яиц на
смазку и отделку.
Для отдельных видов сдобных сухарей
предусмотрено применение дополнительных количеств сахара па обсыпку и отделку
(сухари сахарные), ванилина (сухари ванильные) и др.
Также производят изделия с
повышенной калорийностью с повышенной долей сахара и жира), хлебобулочные
изделия диетические, предназначенные для спецпитания и профилактики различных
заболеваний (например, бессолевые, ахлоридные, с пониженной кислотностью,
калорийностью).
Хлебобулочные изделия, относящиеся к
национальным (лепешки, лаваш), различаются содержанием в рецептуре различных
видов дополнительного сырья и (или) характерной формой и (или) способом
выпечки. [1]
2. СПОСОБЫ ПРИГОТОВЛЕНИЯ ТЕСТА ИЗ
ПШЕНИЧНОЙ МУКИ
Способы приготовления теста из
пшеничной муки могут быть многофазными, которые включают опарные способы, когда
приготовлению теста предшествует приготовление опары, и приготовление теста на
специальных полуфабрикатах, которые могут отличаться по влажности
(полуфабрикаты пониженной влажности, сухие композитные смеси) и по содержанию
микрофлоры (закваски направленного культивирования, концентрированная молочнокислая
закваска, мезофильная закваска). Способы приготовления теста могут быть
однофазными, когда приготовление теста осуществляется сразу из всего сырья,
предусмотренного рецептурой. К таким способам относят безопарный и ускоренные
способы, особенностью которых является максимальное сокращение операции
брожения теста. [1]
Опарные способы предполагают
приготовление теста в две фазы: первая - приготовление опары и вторая -
приготовление теста. В зависимости от количества муки и воды в опаре,
различаются способы приготовления теста на большой густой опаре (65-70% муки от
общего ее количества расходуется на замес опары), на густой опаре (45-53% муки
вносится в опару) и на жидкой опаре (30% муки расходуется в опару).
Приготовлению опары может предшествовать еще одна фаза (малая опара). Например,
при приготовлении теста на большой жидкой опаре. [1]
Безопарный способ - однофазный, он
предусматривает внесение при замесе теста всего количества муки, воды, соли и
дрожжей, предназначенного для приготовления данной порции теста.
Сахар, жиры и другое дополнительное
сырье также вносятся в тесто. Начальная температура безопарного теста может
быть в пределах 28-30 °С. Длительность брожения в зависимости от количества
дрожжей может колебаться от 2 до 4 ч. Во время брожения тесто из сортовой муки
подвергается одной или нескольким обминкам.
Для приготовления пшеничного теста
на хлебопекарных предприятиях нашей страны наряду с прессованными дрожжами или
вместо них широко применяются жидкие дрожжи или пшеничные жидкие закваски,
приготовляемые непосредственно на хлебопекарных предприятиях.
Под наименованием жидкие дрожжи
принято понимать полуфабрикат, приготовляемый по рациональной схеме,
предложенной Л. И. Островским. Эта схема предусматривает на первой стадии
сбраживание водно-мучной заварки при 48-54 °С термофильными молочнокислыми
бактериями. На второй стадии сброженная заварка с высоким содержанием молочной
кислоты, охлажденная до 28-30 °С, уже в другой емкости используется в качестве
питательной среды для размножения в ней дрожжей.
Жидкие полуфабрикаты, при
приготовлении которых в питательной среде (осахаренной заварке или водно-мучной
смеси) при 28-30 °С одновременно размножаются и нетермофильные молочнокислые
бактерии и дрожжи, принято называть жидкими заквасками (сокращенно ПшЖЗ).
В производственном цикле от готовых
жидких дрожжей или ПшЖЗ определенная их часть отбирается для приготовления
теста, после чего в них вносится такое же количество соответствующей
питательной среды. После определенного периода от вновь пришедших в состояние
готовности жидких дрожжей или ПшЖЗ часть их вновь отбирается для приготовления
теста, добавляется соответствующее количество питательной среды и т. д
Крахмал муки в клейстеризованном
состоянии очень легко и быстро осахаривается амилолитическими ферментами.
Поэтому в хлебопечении находят применеиие заварки, представляющие собой
водно-мучную смесь, в которой крахмал муки в значительной степени
клейстеризован. Заварки используются в хлебопечении как питательная среда для
размножения дрожжей и кислотообразующих бактерий при приготовлении жидких
дрожжей или ПшЖЗ. Используются заварки путем добавления в опару или тесто и в
качестве улучшителя качества хлеба, особенно в случае переработки муки с
пониженной сахарообразующей способностью. Отдельные сорта хлеба предусматривают
обязательное применение заварки независимо от свойств муки.
Сущность ускоренных способов
приготовления теста - интенсификация микробиологических, коллоидных и
биохимических процессов, происходящих при созревании теста, в результате:
‒усиленной механической
обработки теста при замесе;
‒использования подкисляющих
или активированных полуфабрикатов;
‒повышения температуры теста;
‒увеличения дозировки
биологических разрыхлителей.
Преимущества ускоренных способов -
сокращение до минимума числа емкостей для брожения теста, возможность работы
предприятий в две смены и с неполной рабочей неделей, снижение затрат муки при
брожении, повышение культуры производства и т. д.
Ускоренные способы целесообразно
применять при выработке хлебобулочных изделий из пшеничной муки высшего и
первого сортов. Среди ускоренных способов различают: приготовление теста на
молочной сыворотке, на концентрированной молочнокислой закваске, на
органических кислотах, на жидком диспергированном полуфабрикате, с добавлениями
яблочного пюре, белково-жировой композиции, чечевичной муки и др. [2]
Традиционно для корректировки
хлебопекарных свойств основного и дополнительного сырья, улучшения качества и
предотвращения микробиологического инфицирования готовых изделий в российском
хлебопекарном производстве используют биологические улучшители - закваски. Они
представляют собой комбинации и ассоциации разных видов и штаммов
микроорганизмов и могут применяться в жидком, сухом и пастообразном состоянии.
Ранее микроорганизмы, предназначенные для производства пшеничных заквасок,
выделяли из спонтанных заквасок или производственных сред. Современные
достижения в области биотехнологии, селекции, молекулярной биологии позволили
решить задачу программного создания заквасок на основе отбора микроорганизмов с
заранее заданными свойствами, полученных в результате гибридизации, мутагенеза,
индукции и адаптации. Отбор микроорганизмов производится с учетом назначения
той или иной пшеничной закваски, как, например, получение микробиологически
чистой продукции (антибиотическое действие на спорообразующую и грибную
микрофлору), придание изделиям защитных свойств 6лагодаря обогащению β-каротином и витаминами
группы В и D, увеличение пищевой ценности в результате повышения содержания
незаменимых аминокислот и легкоусвояемых сахаров и т. д. Кроме того, наличие в
составе некоторых пшеничных заквасок дрожжевых клеток с высокой мальтазной
активностью даст возможность использовать такие закваски в ускоренных схемах
тестоприготовления, сократить на 30-50%, а иногда и полностью исключить
использование прессованных или сушеных хлебопекарных дрожжей в рецептурах
отдельных сортов хлеба и булочных изделий, что дает определенный экономический
эффект предприятию, а в регионах, не обеспеченных хлебопекарными дрожжами,
служит единственным способом получения хлебопекарной продукции. [13]
Концентрированная молочнокислая
закваска (КМКЗ) представляет собой полуфабрикат влажностью 63-66% и конечной
кислотностью 14-18 град. Приготовление пшеничного теста на КМКЗ позволяет
получить хлеб высокого качества при сокращенной продолжительности брожения
теста. Высокая кислотность КМКЗ обеспечивает ее самоконсервирование на время
перерывов в работе на 16-24 ч и способствует предотвращению заболевания
пшеничного хлеба картофельной болезнью. При выработке хлеба с использованием
КМКЗ разрешено увеличивать кислотность хлеба на 1 град против кислотности по
ГОСТ. На схеме (рис. 36) представлены основные этапы приготовления пшеничного
теста на КМКЗ. Процесс приготовления КМКЗ состоит из двух циклов: разведочного
и производственного.
В разводочном цикле для
приготовления КМКЗ используют чистые культуры молочнокислых бактерий в жидком
виде или в виде сухого лактобактерина, представляющего собой высушенную смесь
этих культур. В разводочном цикле осуществляются четыре фазы, позволяющие
накопить количество закваски в разводочном цикле до 231-244 кг. Выведение
закваски начинают с 0,023 л накопительной культуры каждого вида молочнокислых
бактерий или с 10 доз сухого лактобактерина в 0,1 л воды путем внесения воды (с
температурой 43-45° С) в количестве 2,7 кг и муки пшеничной (второго, первого,
высшего сортов) в количестве 2,2 кг.
В первой фазе разведочного цикла
закваску выдерживают в течение 20-24 ч при температуре 38-40'° С, затем в
закваску первой фазы вносят воду и муку в количествах 8,4 кг и 6,6 кг
соответственно.
Во второй фазе разводочного цикла
закваску выдерживают в течение 14-18 ч при температуре 38-40° С, затем в
закваску второй фазы вносят воду и муку в количествах 33,6 и 26,4 кг
соответственно.
В третьей фазе разводочного цикла
закваску выдерживает в течение 8-12 ч при той же температуре, затем в закваску
третей фазы вносят воду и муку в количествах 97 и 67 кг соответственно.
Продолжительность брожения закваски в четвертой фазе составляет 8-12 ч. Дальнейшее
обновление КМКЗ в необходимом для производства количестве осуществляется в
производственном цикле путем добавления к готовой закваске питательной смеси из
муки и воды в соотношении 1:1,5 с последующим выдерживанием до кислотности 14-
18 град. После накопления необходимого количества производственной закваски
часть ее используется на возобновление, а оставшееся количество на
приготовление теста.[1]
Приготовление теста с применением
КМКЗ возможно в две (КМКЗ- тесто) или в три стадии (КМКЗ-опара-тесто). При
замесе теста на КМКЗ в качестве биологического разрыхлителя вносят прессованные
или жидкие дрожжи. С закваской расходуется 5-15% муки от обшей массы ее в тесте
с последующим брожением тесла и течение 60-120 мин до требуемой кислотности в
зависимости от вырабатываемого сорта хлеба.
Мезофильная закваска влажностью
73-74% готовится с использованием в разводочном цикле специальных мезофильных
молочнокислых бактерий, способных при температуре 35-37° С накапливать высокую
кислотность (22-25 град). Производственная мезофильная закваска выдерживается в
течение 8-10 ч. Приготовление теста на мезофильной закваске можно осуществлять
двумя способами: путем внесения ее в опару или непосредственно в тесто. [1]
Штамм отличается антагонистическими
свойствами к бактериям Bacillus subtillis, споры которых являются возбудителями
картофельной болезни.
Специфической особенностью штамма
является свойство бактерий проявлять высокую кислотообразующую активность на
среде, состоящей из пшеничной муки 1 или II сорта и воды, без дополнительного
осахаривания муки.
Бактерии активно проявляют
жизнедеятельность при высоких значениях кислотности среды (22-25 град, pH
3,6-3,4).
Технологическая схема приготовления
закваски состоит из двух стадий: разводочный и производственный циклы.
Приготовление мезофильной
молочнокислой закваски по разводочному циклу состоит в переходе со стерильной
среды на нестерильный субстрат и сопровождается несколькими пересевами путем
увеличения, объема в каждой фазе в 10 раз (1 часть исходной фазы и 9 частей питательной
смеси).
Для этого накопленную чистую
культуру молочнокислых бактерий засевают в питательную смесь (1:9) и
культивируют при температуре 35-38° С. Через 24-36 часов титруемая кислотность
мезофильной молочнокислой закваски должна составлять 18-22 град для муки 1
сорта и 22-25 град для муки II сорта или обойной. [13]
3. ОПИСАНИЕ ТЕХНОЛОГИЧЕСКОЙ СХЕМЫ
ПРИГОТОВЛЕНИЯ ХЛЕБА
Приготовление хлебобулочных изделий
обычно включает в себя следующие операции и процессы: прием и хранение сырья,
подготовка сырья, дозирование подготовленного сырья, замес опары или теста,
брожение опары и теста, обминка, разделка теста, выпечка, охлаждение, упаковка.
Первый этап охватывает прием, перемещение в складские помещения и емкости и
последующее хранение всех видов основного и дополнительного сырья, поступающего
на хлебопекарное предприятие. К основному сырью относят муку, зерновые
продукты, воду, дрожжи или химические разрыхлители и соль, а к дополнительному
- сахар, жировые продукты, яйца и другие виды сырья, предусмотренные рецептурой
вырабатываемых хлебопекарных изделий. [1] Муку на хлебопекарные предприятия
доставляют и хранят бестарным способом либо в мешках. Площади склада рассчитаны
на 6- 7-суточное хранение. При хранении в мешках подготовка муки к производству
осуществляется с помощью приемника ХМП-М с мешковыколачивателем. При бестарном
хранении муки ее доставляют на хлебозавод автомуковозами вместимостью 15 и 25
м3 либо железнодорожными вагонами-муковозами.
При поступлении на производство мука
просеивается, очищается от металлических примесей и взвешивается на
автоматических весах, после чего направляется в производственные бункера для
создания оперативного запаса. Из последних она подается в дозаторы,
установленные у тестомесильных машин.
При тарном хранении сахар поступает
и хранится в мешках; дрожжи, маргарин, яйца - в ящиках, жиры - в бочках.
Скоропортящееся сырье хранится в холодильных камерах.
При бестарном хранении соль,
сахарный сироп, дрожжевое молоко, жиры, молочная сыворотка доставляются
специализированным автотранспортом. При поступлении в жидком виде сырье
перекачивается по трубопроводам в расходные бачки и оттуда через дозирующие
устройства - на замес. [7] Аппаратурно-технологическая схема приема и
подготовки сырья к производству приведена в приложении 3.
От каждой партии принимаемого сырья,
в первую очередь муки и дрожжей, сотрудник лаборатории предприятия отбирает
пробы для анализа, проверки соответствия нормативам качества и установления
хлебопекарных свойств.
На основании данных, анализа
отдельных партий муки, имеющихся на хлебозаводе, сотрудники лаборатории
устанавливают целесообразную с точки зрения хлебопекарных свойств смесь
отдельных партий муки с указанием количественных их соотношений. Смешивание
муки отдельных партий в заданных соотношениях осуществляется в соответствующих
установках - мукосмесителях, из которых смесь направляется на контрольный
просеиватель и магнитную очистку. Затем смесь поступает в расходный силос, из
которого по мере необходимости будет подаваться на приготовление теста.
Вода хранится в емкостях - баках
холодной и горячей воды, из которых затем направляется на дозаторы воды в
соотношениях, обеспечивающих температуру воды, нужную для приготовления теста.
Соль - предварительно растворяется в
воде, раствор фильтруется; раствор заданной концентрации направляется на
приготовление теста.
Прессованные дрожжи - предварительно
измельчаются и в мешалке превращаются в суспензию их в воде. В виде такой
суспензии дрожжи используются при приготовлении теста. При порционном
приготовлении теста в отдельных дежах дозирование сырья сводится к отвешиванию
или отмериванию по объему порций сырья, необходимых для приготовления одной
дежи теста.
Мука обычно дозируется с помощью
автоматических мучных весов - автомукомеров. Жидкие компоненты для порционного
приготовления опары или теста (вода, растворы сахара и соли, жидкие дрожжи,
водная суспензия прессованных дрожжей, жидкие или растопленные твердые жиры и
их эмульсии) отмериваются с помощью соответствующих дозирующих устройств, в том
числе и автоматизированных. Следует учитывать, что суспензия прессованных
дрожжей в воде перед дозировкой должна быть хорошо промешана. Это необходимо
для равномерного распределения в ней дрожжей.
Точность дозирования всех видов
сырья, так же как и точное соблюдение заданной температуры воды и других жидких
компонентов, имеет большое значение в процессе приготовления теста, поэтому
точность работы дозирующих устройств должна систематически контролироваться
технологическим персоналом предприятия.
Длительность и интенсивность
процесса замешивания опары, как и ее повторного промешивания могут оказывать
большое влияние на качество хлеба.
Однако значительно больше влияют на
ход технологического процесса приготовления хлеба и на его качество проведение
замеса теста и изменения, происходящие в нем при этом. Поэтому мы в настоящем
разделе рассматриваем замес теста, приготовляемого безопарным способом, при
котором в тесто при его замесе вносятся все основные виды сырья.
В процессе замеса из муки, воды,
соли и дрожжей (а для ряда сортов хлеба сахара и жира) образуется тесто,
однородное во всей массе.
Замес теста должен, однако,
обеспечить и придание ему таких свойств, при которых оно перед направлением на
разделку было бы в состоянии, оптимальном для протекания операций деления,
формования, расстойки и выпечки и получения хлеба возможно лучшего качества. С
самого начала замеса мука приходит в соприкосновение с водой, дрожжами и солью
и в массе образующегося при этом теста начинает происходить ряд процессов. Во
время замеса теста наибольшее значение имеют процессы: физико-механические,
коллоидные и биохимические.
Микробиологические связаны с
жизнедеятельностью дрожжей и кислотообразующих бактерий, в полной мере
проявляются во время брожения, физико-химические ‒ набухание клейковины и
гидролиз крахмала, также активизируются ферменты, содержащиеся в муке, частично
разлагая крахмал до моносахаридов и декстринов, что важно для последующего
брожения теста. Механические ‒ вытягивание волокон клейковины,
образование клейковинного каркаса, гомогенизация смеси рецептурных компонентов.
Брожение теста начинается еще при замесе и продолжается до окончания первого
периода процесса выпечки. Цель брожения опары и теста - приведение теста в
состояние, при котором оно по газообразующей способности и реологическим
свойствам будет наилучшим для разделки и выпечки. Не менее важно накопление при
этом в тесте веществ, обусловливающих вкус и аромат, свойственные хлебу из
хорошо выбродившего теста.
Разрыхление теста углекислым газом
(диоксидом углерода), позволяющее получить хлеб с хорошо разрыхленным пористым
мякишем, становится основной задачей процесса брожения на стадиях расстойки и
выпечки хлеба. Во время брожения происходит в основном переработка дрожжами
моносахаридов с образованием этилового спирта и углекислого газа, но наряду с
этим происходит и молочнокислое, пропионовокислое, уксуснокислое и другие виды
брожения, обуславливающие накопление кислоты. Таким образом, тесто становится
пористым, увеличивается в объеме, клейковинный каркас растягивается и становится
более пластичным, происходит накопление кислот и веществ, которые придают хлебу
характерный вкус и аромат. Затем производится обминка, то есть повторный промес
теста, производящийся с целью перемещения дрожжей и гомогенизации структуры
теста, что делает пористость более равномерной и улучшает реологические
свойства теста.[1]
Разделка теста осуществляется с
целью получения тестовых заготовок заданной массы, имеющих оптимальные
органолептические и реологические свойства для выпечки.
В зависимости от сорта муки и вида
изделий разделка включает различные технологические операции.
Разделка теста для булочных изделий
из пшеничной муки включает следующие операции: деление теста на куски заданной
массы, округление кусков теста, предварительная расстойка тестовых заготовок,
формование тестовых заготовок, окончательная расстойка тестовых заготовок.
Разделка теста для формовых сортов
хлеба из пшеничной и ржаной муки, а также из их смеси включает следующие
операции: деление теста на куски и укладка их в формы, окончательная расстойка
тестовых заготовок.
Разделка теста для подовых сортов
пшеничного и ржаного хлеба включает следующие операции: деление теста на куски,
округление кусков теста, окончательная расстойка тестовых заготовок.
Разделка теста в пекарнях малой мощности
имеет свои особенности, связанные с тем, что брожение теста (созревание)
происходит не в массе теста, а в кусках. Поэтому предварительная расстойка
осуществляется, как правило, при выработке всех видов изделий.
Разделку теста осуществляют на
специальном оборудовании - на тестоделительных, тестоокруглительных и
тестоформующих машинах, транспортерных лентах, в шкафах для предварительной и
окончательной расстойки. На предприятиях малой мощности допускается ручное
деление и формование тестовых заготовок. Деление теста на куски осуществляется
на тестоделительных машинах с целью получения кусков теста заданной массы.
Выброженное тесто поступает в бункер
над воронкой тестоделительной машины, который должен вмещать запас теста на
30-40 мин работы. С помощью шибера в нижнем отверстии тестоспуска регулируют
поступление теста в воронку тестоделительной машины, где уровень теста должен
быть постоянным. На многих заводах постоянный уровень теста поддерживают с
помощью электродных датчиков, что повышает точность деления теста и значительно
экономит рабочее время машиниста.
Из воронки делителя тесто попадает в
его рабочую камеру, а затем нагнетается особым устройством в мерники, откуда
выталкивается в виде отдельных кусков равного объема и массы. В производстве
формового хлеба применяют тестоделители со шнековым нагнетанием теста в
мерники. Проработка теста шнеками улучшает структуру пористости формового
хлеба, она становится боиее мелкой и равномерной.
Для деления теста при производстве
подовых сортов хлеба, булочных и сдобных изделий применяют тестоделители с
другими видами нагнетания (валковое, поршневое, лопастное и др.), так как
шнековое нагнетание ослабляет клейковину, что может вызвать расплываемость
подовых изделий и нарушить установленную форму. Округление кусков теста в
процессе разделки является одной из технологических операций, необходимых для
получения качественных хлебобулочных изделий.
Округление кусков теста
осуществляется с целью:
проработки заготовки для создания
однородной структуры, а также для равномерного распределения и частичного
удаления диоксида углерода;
получения однородной гладкой
оболочки, в результате чего поры на поверхности куска теста закрываются и
уменьшается газопроницаемость поверхностного слоя заготовки;
придания куску теста круглой формы,
что способствует оптимальному протеканию процесса расстойки и дальнейшей
обработке заготовки.
В процессе разделки булочных, а
также сдобных изделий целесообразно предусмотреть предварительную расстойку
тестовых заготовок непосредственно после их округления перед операцией
окончательного формования. Основное назначение этой операции - приведение
тестовой заготовки в оптимальное состояние для последующего формования.
В результате механических
воздействий, оказываемых на тесто в процессе деления на куски, и последующего
их округления, в кусках теста возникают внутренние напряжения и частично
разрушаются отдельные звенья клейковинного структурного каркаса.
Если округленные куски теста сразу
же передать на закаточную машину, которая оказывает интенсивное механическое
воздействие на тесто, то их реологические свойства могут ухудшаться. При
предварительной расстойке внутренние напряжения в тесте рассасываются (явление
релаксации), а разрушенные звенья структуры теста частично восстанавливаются
(явление тиксотропии). В зависимости от вида изделия проводится в шкафах
предварительной расстойки в течение 5-20 мин.
Основное назначение операции
окончательного формования тестовых заготовок - получить форму, установленную
нормативной документацией для данного изделия. При нарушении формы или
состояния поверхности изделия бракуют. Правильное формование обеспечивает
привлекательный внешний вид изделия, хорошее состояние мякиша, рельефность
надрезов на поверхности.
Вид изделия определяет способ
формования. Тестовые заготовки для формового хлеба не требуют специальной
операции формования. Их просто укладывают в металлические формы определенной
конфигурации и размеров.
Батонообразные изделия формуют на
тестозакаточных машинах, конструкция которых позволяет округленный кусок теста
после предварительной расстойки последовательно раскатывать в блин и свертывать
в рулон. Такая обработка не только придает куску теста необходимую форму, но
улучшает структуру пористости и состояние поверхности изделия. Цель
окончательной расстойки - восстановить нарушенную при формовании структуру
теста и обеспечить разрыхление тестовой заготовки за счет выделения диоксида
углерода. [2]
Параметры среды расстойных камер в
зависимости от массы, влажности, рецептуры, формы и других показателей тестовых
заготовок могут изменяться в значительных пределах. Как правило, температура
составляет 35-40 °С, относительная влажность воздуха 75-85 %.
Выпечка - заключительная стадия
приготовления хлебобулочных изделий, окончательно формирующая их в продукт,
готовый к употреблению. В процессе выпечки внутри тестовой заготовки происходят
интенсивные теплофизические, биохимические, микробиологические и коллоидные
процессы, в результате которых формируется эластичный, сухой на ощупь мякиш,
образуются специфические вкусовые и ароматические вещества, приобретаются
характерная окраска и толщина корки.
Быстрота прогрева тестовой заготовки
и продолжительность выпечки зависят от нескольких факторов: от температуры в
пекарной камере, рецептуры, влажности, объема и массы тестовой заготовки, ее
разрыхленности, способа выпечки (на поду или в формах), плотности укладки
тестовых заготовок на поду печи.
Все изделия выпекают при переменном
режиме. Режим выпечки в определенной степени зависит от особенностей
выпекаемого сорта.
Для большинства сортов подового
хлеба и булочных изделий рекомендуется режим, при котором тестовые заготовки
последовательно проходят зоны увлажнения, повышенной и пониженной температур.
Продолжительность выпечки каждого
вида изделия устанавливается на предприятии в зависимости от конструкции печей
и их технического состояния.
Весь процесс выпечки делится на три
периода. Первый период выпечки характеризуется интенсивным внешним тепло- и
массообменом, в результате которого осуществляются прогрев тестовой заготовки и
увеличение ее массы за счет конденсации пара. Во втором периоде выпечки
начинается углубление зоны испарения, сопровождающееся повышением температуры
тестовой заготовки и образованием корки. В третьем периоде выпечки корка и
структура мякиша препятствуют дальнейшему увеличению объема теста, при этом
скорость испарения становится постоянной.
Температура теста, помешенного в
печь (35-40°С), значительно ниже температуры пекарной камеры (180-240 °С),
поэтому в первые минуты прогрева на поверхности куска теста конденсируются
водяные пары, что приводит к некоторому повышению влажности и массы теста. В
этот период (1-3 мин) выпечки пшеничного хлеба относительная влажность воздуха
должна быть 70-80 %, температура 100-120 °С. При таких условиях достигается
максимальная конденсация паров на поверхности тестовых заготовок.
В зоне увлажнения в результате
подачи пара создается высокая влажность среды и устанавливается температура
120--150 °С. Эту зону иногда выносят за пределы печи. Продолжительность
нахождения тестовой заготовки в этой зоне составляет около 10 % от общей
продолжительности выпечки. Под печи в зоне посадки тестовых заготовок должен
быть разогрет до 180-200 °С. В зоне увлажнения заготовки находятся в течение
2-5 мин. После зоны увлажнения температура среды пекарной камеры должна быть
повышена до 180-220 °С. Время пребывания изделий в этой зоне составляет около
20 % от общей продолжительности выпечки. Остальная часть выпечки происходит при
той же или более низкой температуре. Хлеб после выхода из печи подают ленточными
транспортерами на циркуляционные столы, а затем перекладывают в лотки,
устанавливаемые на контейнерах или вагонетках. При укладывании хлеба укладчик
проводит отбраковку готовой продукции, не соответствующей требованиям
нормативной документации по органолептическим показателям и установленной
массе. Выпеченные изделия до поступления их в торговую сеть хранят в остывочных
отделениях хлебозавода. В остывочном отделении проводят учет, сортировку и
органолептическую оценку готовых изделий. Перед отпуском продукции в торговую
сеть каждую партию изделий подвергают обязательному просмотру.
После выпечки хлеб укладывают на
лотки в один ряд для остывания. Лотки с изделиями помещают в передвижные
вагонетки или контейнеры, которые по мере необходимости вручную вывозят на
погрузочную площадку. [2]
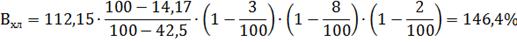
4. РАСЧЕТ УНИФИЦИРОВАННОЙ РЕЦЕПТУРЫ
Батон нарезной из пшеничной муки
высшего сорта
|
Наименование сырья
|
Расход на 100 кг муки
|
|
Мука пшеничная 1-го сорта Соль Дрожжи прессованные Сахар Масло
растительное Маргарин
|
100,0 1,5 1,0 6,0 0,15 3,5
|
|
Итого сырья
|
112,15
|
Физико-химические показатели
|
Наименование показателя
|
Норма
|
|
Влажность мякиша, не более, % Кислотность мякиша, не более,
Пористость мякиша, не менее, % Содержание в пересчете на сухое в-во, не
менее, % сахара жира
|
42,0 2,5 73,0 6,2 1,7
|
Расчет выхода произведем по формуле:

‒ масса всего
сырья по рецептуре, кг

‒
средневзвешенная влажность сырья, %

масса соответственно
муки, дрожжей, соли, других компонентов, пошедших на замес теста, кг

влажность
соответственно муки, дрожжей, соли, прочего сырья, %

‒ влажность
теста, %

‒ затраты на
брожение, 3-4%

‒ затраты на
упек, 6-12%

‒ затраты на
усушку, 2-3%
Хлеб гражданский
формовой из пшеничной муки 1-го сорта
|
Наименование сырья
|
Расход на 100 кг муки
|
|
Мука пшеничная 1-го сорта Соль Дрожжи прессованные Патока
мальтозная Масло растительное
|
100,0 1,5 1,0 5,0 0,15
|
|
Итого сырья
|
107,65
|
хлебобулочный пшеничный мука
ассортимент
Физико-химические показатели
|
Наименование показателя
|
Норма
|
|
Влажность мякиша, не более, % Кислотность мякиша, не более,
Пористость мякиша, не менее, %
|
44,0 3,0 68,0
|
5. РАСЧЕТ ПРОИЗВОДСТВЕННОЙ РЕЦЕПТУРЫ
.1 ХЛЕБ ГРАЖДАНСКИЙ ФОРМОВОЙ ИЗ
ПШЕНИЧНОЙ МУКИ 1-ГО СОРТА
Опару влажностью 41‒45%
замешивают в тестомесильной машине 1 из 60‒70% муки от всего количества,
используемого для приготовления теста, воды и дрожжевой суспензии в течение 8‒10
мин. Начальная температура опары 23‒27°С. Нагнетателем И8-ХТА-12/3 опару
подают сверху, используя поворотный лоток, в одну из секций шестисекционного
бункера для брожения опары. Продолжительность загрузки всех секций бункера
составляет продолжительность брожения опары и равна 180‒270 мин.
Готовность опары определяют по кислотности, которая должна быть для опары из
муки высшего сорта 2,5‒3,5, увеличению объема в 1,5‒2,0 раза и
органолептическим показателям. Разгрузку готовой опары осуществляют через
отверстие в днище бункера и дозатором опары 4 подают в тестомесильную машину 5
для замеса теста. Конечная температура опары на 5‒7°С выше начальной,
поэтому в летнее время для замеса опары следует использовать охлажденную воду,
чтобы обеспечить конечную температуру на уровне 30-32° С. Тесто замешивают из
опары, воды, муки (65%), в машине непрерывного действия 5 в течение 8‒12
мин. Замешенное тесто непрерывно подается с помощью нагнетателя теста 11 в
корыто для брожения теста 6, где оно бродит 20-40 мин. Начальная температура
теста 28‒33°С, конечная кислотность - не более 3,5 град. Далее тесто
подается в воронку тестоделителя 7, где делится на куски массой 0,8 кг и
попадает в формы расстойно-печного агрегата, где проводится расстойка в течение
40 мин. Расстоявшиеся тестовые заготовки по конвейеру переходят в печную
камеру, где осуществляется их выпечка. Продолжительность выпечки 45 мин,
температура 210 °С. Далее готовые изделия с помощью механизма освобождаются от
форм и поступают на конвейер, где производится предварительное охлаждение
хлеба. Далее остывший хлеб на вагонетках грузятся на вагонетки и доставляются в
остывочное отделение. Аппаратурно-технологическая схема приведена в приложении
1, ТСП в приложении 5.
Минутный расход муки

‒ общий часовой
расход муки, кг/ч

кг
Используем для замеса
опары 65% муки, т.е. 11,222 кг.
Большая густая опара
|
Наименование сырья
|
Вес, кг
|
W,%
|
СВ, %
|
масса, кг
|
|
|
|
|
СВ
|
W
|
мука
|
|
Мука
|
11,222
|
14,5
|
75,5
|
8,473
|
1,627
|
11,222
|
|
Дрожжи
|
0,692
|
93,75
|
6,25
|
0,043
|
0,649
|
‒
|
|
Итого
|
11,914
|
‒
|
‒
|
8,516
|
2,276
|
11,222
|
|
Вода
|
3,569
|
‒
|
‒
|
|
3,569
|
‒
|
|
Всего
|
15,483
|
45,0
|
55,0
|
8,516
|
5,845
|
11,222
|
Минутный расход сырья и
полуфабрикатов на приготовление теста
|
Наименование сырья
|
Вес, кг
|
W,%
|
СВ, %
|
масса, кг
|
|
|
|
|
СВ
|
W
|
мука
|
|
Мука
|
6,043
|
14,5
|
85,5
|
5,167
|
0,876
|
6,043
|
|
Опара
|
15,499
|
45,0
|
55,0
|
8,524
|
6,975
|
11,222
|
|
Патока
|
0,863
|
22,0
|
78,0
|
0,673
|
0,190
|
-
|
|
Солевой р-р
|
1,036
|
75,0
|
25,0
|
0,259
|
0,777
|
-
|
|
Масло раст.
|
0,026
|
-
|
100,0
|
0,026
|
-
|
-
|
|
Итого
|
23,467
|
-
|
-
|
14,649
|
8,818
|
17,265
|
|
Вода
|
3,168
|
-
|
-
|
-
|
3,168
|
-
|
|
Всего
|
26,635
|
45,0
|
55,0
|
14,649
|
11,986
|
17,265
|
Сводная рецептура приготовления
теста по фазам в производственном цикле
|
Наименование сырья
|
Опара
|
Тесто
|
Всего
|
|
Мука
|
11,222
|
6,043
|
17,265
|
|
Дрожжи
|
0,692
|
-
|
|
|
Опара
|
-
|
15,499
|
15,499
|
|
Патока
|
-
|
0,863
|
0,863
|
|
Солевой р-р
|
-
|
1,036
|
1,036
|
|
Вода
|
3,569
|
3,168
|
6,738
|
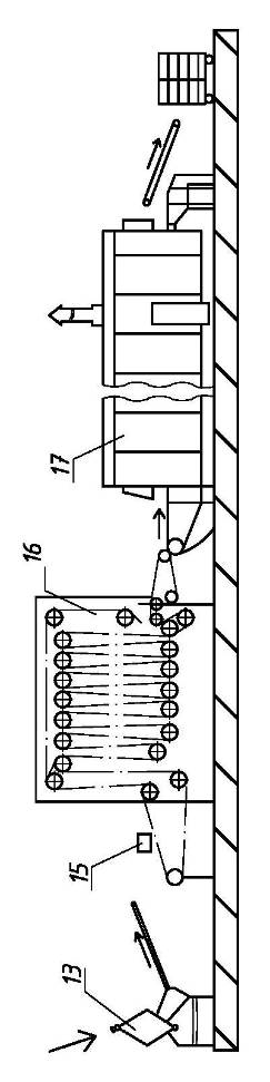
.2 БАТОН НАРЕЗНОЙ
КМКЗ замешивается в смесителе 1,
поступает аппарат для выбраживания и выбраживается сначала в разводочном цикле,
затем в производственном в течение 8 часов при температуре 34‒38°С до
кислотности 14‒18°Т, после чего с помощью насоса 9 поступает в расходную
емкость 3. Необходимое количество КМКЗ, воды, солевого, сахарного растворов,
маргарина, дрожжевой суспензии, растительного масла дозируется при помощи
дозатора 4, муки ‒ с помощью дозатора для сухих веществ 5. Производится
замес теста на тестомесильной машине 6 в течение 2-3 мин, затем тесто поступает
в корыто для брожения 7, в котором находятся 60 мин при t = 30‒34° с
которого с помощью насоса поступает на тестоделитель 8, по конвееру переходит
на округление(тестоокруглитель 11), после которого в расстоечном шкафу 12
происходит предварительная расстойка, после которой тесто закатывается
(тестозакаточная машина 13). Промежуточный транспортер от тестоделителя к
округлителю движется в два раза быстрее, чем транспортер делителя. Такая
разница в скорости обеспечивает необходимый разрыв между кусками теста и
равномерную загрузку тестоокруглителя. Далее с помощью посадчика 15 заготовки
поступают на окончательную расстойку в расстоечный шкаф 16, где также
происходит надрезка. После этого заготовки перемещаются в туннельную печь 17,
где выпекаются 22 мин, сначала при температуре 110°С 3 минуты с предварительным
увлажнением, затем при t=210°С 5 минут, в конечной фазе при t=170°С 14 минут,
охлаждается на конвеере, грузится на вагонетки и перевозится на склад готовой
продукции, окончательно охлаждаясь. Аппаратурно-технологическая схема приведена
в приложении 2, технологическая в приложении 4.
‒ вместимость дежи, л‒
норма загрузки муки в емкость, кг

кг
Расход муки на замес
закваски 7,5%. Примем, что питательная смесь состоит из 40% муки и 60% воды
Расход питательной смеси
на пополнение закваски.
) Расход муки
) Расход воды
Закваска
|
Наименование сырья
|
Вес, кг
|
W,%
|
СВ, %
|
масса, кг
|
|
|
|
|
СВ
|
W
|
|
Мука
|
2,97
|
14,5
|
85,5
|
3,539
|
0,428
|
2,97
|
|
Вода
|
4,455
|
-
|
-
|
|
4,455
|
-
|
|
Всего (КМКЗ)
|
|
60,0
|
40,0
|
3,539
|
4,883
|
2,97
|
Расход сырья и полуфабрикатов на
один замес теста
|
Наименование сырья
|
Вес, кг
|
W,%
|
СВ, %
|
масса, кг
|
|
|
|
|
СВ
|
W
|
мука
|
|
Мука
|
96,030
|
14,5
|
85,5
|
82,106
|
13,924
|
96,030
|
|
Закваска
|
7,425
|
60,0
|
40,0
|
2,970
|
4,455
|
7,425
|
|
Сахарный р-р
|
10,800
|
55,0
|
45,0
|
4,860
|
5,940
|
10,800
|
|
Солевой р-р
|
5,940
|
75,0
|
25,0
|
1,485
|
4,455
|
5,940
|
|
Маргарин
|
3,470
|
22,0
|
78,0
|
2,707
|
0,763
|
3,470
|
|
Дрожжевая суспензия
|
3,960
|
93,8
|
6,3
|
0,248
|
3,713
|
3,960
|
|
Масло раст.
|
0,149
|
-
|
100,0
|
0,149
|
-
|
0,149
|
|
Итого
|
127,774
|
-
|
-
|
94,523
|
33,250
|
127,774
|
|
Вода
|
38,057
|
100,0
|
-
|
-
|
38,057
|
38,057
|
|
Всего
|
165,830
|
43,0
|
57,0
|
94,523
|
71,307
|
165,830
|
Сводная рецептура приготовления
теста по фазам в производственном цикле
|
Наименование сырья
|
Закваска
|
Тесто
|
Всего
|
|
Мука
|
2,97
|
96,03
|
99
|
|
Дрожжевая суспензия
|
-
|
3,96
|
3,96
|
|
Закваска
|
-
|
|
|
|
Маргарин
|
-
|
3,470
|
3,470
|
|
Солевой р-р
|
-
|
5,940
|
5,940
|
|
Сахарный раствор
|
-
|
10,800
|
10,800
|
|
Вода
|
4,455
|
38,057
|
42,512
|
6. ТЕХНОХИМИЧЕСКИЙ КОНТРОЛЬ ПРОИЗВОДСТВА
Пищевые продукты исследуют
органолептическими, физическими и химическими методами анализа. Пользуясь
органолептическими методами, с помощью органов чувств определяют внешний вид,
цвет, вкус, запах, а также консистенцию вещества.
Органолептические методы контроля,
несмотря на свою субъективность, имеют важное значение и всегда предшествуют
физико-химическому анализу продукта. Если по органолептическим показателям
продукт окажется недоброкачественным, то дальнейший анализ его уже не нужен.
Химические методы технохимического
контроля основаны на химических реакциях анализируемого вещества с
определенными реактивами. По результатам реакции составляют заключение о
соответствующем показателе качества продукта. Например, химический метод
определения сахара основан на реакции между редуцирующими сахарами и щелочным
раствором окисного соединения меди. По количеству закиси меди, образовавшейся в
результате реакции, определяют содержание сахара в продукте.
Физические методы анализа
устанавливают значение определенных физических свойств вещества, связанных с
тем или иным показателем его качества. Так, например, определив коэффициент
преломления света в жидкости, узнают содержание в ней сухих веществ, которое
пропорционально значению этого коэффициента.
Продукты поставляются на предприятие
(или отпускаются) отдельными партиями. Партия -это определенное количество
продукта одного вида и сорта, выработанное одновременно, поступающее по одной
накладной. Каждая партия продукции должна сопровождаться документом, удостоверяющим
ее качество. Как правило, партия состоит из определенного числа мест упаковки
(ящики, бочки, мешки и т. п.). Перед отбором проб проводят внешний осмотр
партии, проверяя соответствие упаковки и маркировки партии сырья правилам,
предусмотренным соответствующими ГОСТами, ОСТами, ТУ и другими нормативными
документами. Затем отбирают исходный образец продукта, который должен
характеризовать качество всей партии в целом. Исходный образец составляется из
многих мелких выемок, взятых из определенного числа мест партии. Выемки
осматривают и, убедившись в их однородности, смешивают. Пробу от партии сыпучих
материалов (мука, сахар-песок и т. п.) отбирают специальным пробоотборником
после предварительного перемешивания продукта.
От исходного образца отбирают
средний образец, предназначенный для лабораторного анализа. Средний образец
сыпучих продуктов составляют методом квартования: массу исходного образца
высыпают на гладкую поверхность и разравнивают в виде квадрата. Квадрат делят
по диагонали на четыре части, две противоположные части отбрасывают, оставшиеся
смешивают и повторяют квартование до тех пор, пока масса остатка не будет равна
массе среднего образца - 2-2,5 кг. Часть среднего образца помещают в банку с
плотной пробкой и хранят на случай арбитражного анализа, пока вся партия
продукта не будет переработана. [5]
Технологический контроль на
хлебопекарных предприятиях осуществляется производственными лабораториями.
Начальный этап контроля-проверка
качества поступающего на производство сырья. В качественном удостоверении на
муку указывают вид и сорт муки, цвет, вкус, запах и крупность помола, наличие
примесей, качество клейковины, массовую долю золы и другие показатели. Кроме
того, в удостоверении указывают два значения массовой доли влаги муки: при выбое
и при отпуске получателю. Массовая доля влаги при выбое служит основанием для
корректирования нормы выхода хлеба, а при отпуске - для контроля массы
полученной муки. Качественное удостоверение поступает в лабораторию
хлебозавода. [2]
Анализируя поступившую муку,
работники лаборатории сравнивают данные анализа с данными удостоверения.[2] В
среднем образце в первую очередь органолептически определяют вкус, цвет, запах,
хруст, а также влажность, зараженность муки амбарными вредителями, наличие
металлопримесей.[5] При значительных расхождениях вызывают представителя
организации, поставляющей муку, и анализ проводят повторно.[2] По мере
необходимости определяют кислотность и крупность помола муки, а также
минеральную примесь и зольность. [5]
Хлебопекарные свойства пшеничной
муки (газообразующая способность, сахарообразующая способность, сила муки,
количество, качество клейковины) проверяют определением количества и качества
клейковины, лабораторной пробной выпечкой и др. В летнее время муку проверяют
на зараженность картофельной болезнью. Выборочно проводится испытание пшеничной
муки по автолитической активности.
У дрожжей проверяется влажность,
быстрота подъема теста, кислотность. У прессованных дрожжей также мальтазная
активность, у дрожжевого молока-содержание собственно дрожжей.
У сахара-песка проверяется внешний
вид, вкус, запах, чистота раствора (органолептически), влажность, содержание
металлопримеси, содержание сахарозы.
Для патоки определяются
органолептические свойства, кислотность, содержание редуцирующих веществ. Для
молока и продуктов переработки проверяются органолептические свойства,
кислотность, содержание жира, сухого обезжиренного остатка, плотность, степень
чистоты по эталону, бактериальная обсемененность.
Для жиров тестируются вкус, запах,
цвет, консистенция, прозрачность, влажность, кислотное число, температура
плавления, содержание жира. Другие важные показатели-отстой и цветность.
В процессе изготовления
хлебобулочных изделий полуфабрикаты несколько раз подвергают анализу. Основные
показатели устанавливаются лабораторией хлебозавода и утверждаются специальным
приказом директора. В приказе по сортам изделий и агрегатам указываются
влажность и конечная кислотность теста, масса куска теста, величина упека в
процентах к тесту, продолжительность выпечки изделий в минутах и др. [12]
Проба полуфабрикатов должна
представлять собой средний образец данного полуфабриката, приготовленного в
одном цехе, по единой рецептуре и с определенной длительностью брожения.
Органолептическую оценку полуфабриката следует производить непосредственно в
цехе при отборе средней пробы, осматривая всю массу. Температуру полуфабрикатов
измеряют техническим термометром со шкалой 50-150 °С (точность отсчета до 1 °С)
или прибором ТТ-1, позволяющим измерять температуру от 20 до 85 °С.
При измерении температуры термометр
следует погружать в полуфабрикат на глубину не менее чем на 15-20 см на 2- 3
мин. Обычно в таких случаях употребляют технические термометры с длинным
концом. Для производственного контроля рекомендуется пользоваться специальными
небьющимися термометрами в металлической оправе из коррозионностойкого металла
либо термометрами, имеющими на верхнем конце пробку или диск, предохраняющие их
от опускания в тесто. Кроме этого производится проверка титруемой кислотности,
влажности, подъемной силы.
Контроль качества готовых изделий
проводят в соответствии со стандартами, техническими условиями и положением о
балловой оценке, а также используют ряд дополнительных объективных методов
анализа.
Нормы качества на готовые изделия
устанавливают: вид изделий (весовой или штучный) и способ их выпечки (подовый,
формовой); органолептические показатели (форма, поверхность, окраска),
состояние мякиша (пропеченность, промес, пористость, эластичность, свежесть),
вкус и запах; показатели, определяемые физико-химическими методами: влажность,
кислотность, пористость; в изделиях, приготовляемых с добавлением жира и
сахара,- их содержание; набухаемость для бараночных и сухарных изделий;
содержание углеводов, йода и других компонентов в отдельных диетических сортах.
На некоторых предприятиях кроме этих
показателей также определяется удельный объем хлеба и структурно-механические
свойства (сжимаемость, относительная упругость, относительная пластичность
мякиша). [12]
Для готовых хлебобулочных изделий проводится
контроль таких показателей, как:
) Пористость. Проводится по методу
Завьялова на приборе Журавлева.
Для ускорения определения пористости
в производственных лабораториях применяют предварительно составленные таблицы
плотности беспористой части мякиша для разных сортов хлеба.
) Содержание сахара
Из лабораторного образца,
отобранного в соответствии с ГОСТом, для определения сахара и жира выделяют не
менее 300 г. В изделиях, у которых мякиш ограничен и легко отделяется от корки
анализируется только мякиш, в остальных изделиях анализируют весь образец.
Предварительно удаляют все включения (повидло, варенье, изюм и пр.) и
поверхностную отделку (обсыпку сахаром, маком и т. п.), тщательно измельчают
изделия и помещают в банку с хорошо пригнанной пробкой.
Для определения содержания сахара
готовят водную вытяжку, затем проводят гидролиз сахарозы. Сначала готовится
водная вытяжка, к ней приливаются сульфат цинка и гидроксид натрия, затем
проводится гидролиз фильтрата этой смеси соляной кислотой и титрование карбонатом
натрия с индикатором метиловым красным. После доведения объема до метки
содержимое колбы хорошо перемешивают и берут полученный раствор для анализа в
количестве, предусмотренном в каждом методе: перманганатном (арбитражном) или
йодометрическом (ускоренном).
) Содержание жира.
Метод основан на извлечении жира
растворителем из предварительно гидролизованной навески изделия и определении
количества жира взвешиванием после удаления растворителя из определенного
объема полученного раствора.
Определение влажности
) Влажность - очень важный
показатель качества сырья, полуфабрикатов и готовых изделий. Более сухие
продукты имеют большую калорийность и долго сохраняются без порчи. От влажности
сырья зависит выход готовых изделий и количество воды, необходимое для замеса
теста. Влажность полуфабрикатов влияет на их физические свойства, состояние
бродильной микрофлоры и др.
Определение влажности продукта
является одновременно определением содержания сухих веществ, и наоборот. В
продуктах, имеющих консистенцию твердого тела (хлеб, мука, сахар), нормируется
влажность, в жидких веществах (молоко, патока) и в растворах принято определять
содержание сухих веществ.
Методы определения влаги
разнообразны (электрометрические, химические, термические и др.).
Электрометрические методы
подразделяются на кондуктометрические и электроемкостиые. Кондуктометрический
метод основан на том, что с повышением влажности продукта его
электропроводность возрастает, п наоборот. Кондуктометрический влагомер ВП-4
широко используется для определения влажности зерна, однако этот метод дает
лишь приблизительные результаты, так как на электропроводность продукта, кроме
влажности, влияют и другие факторы, например содержание электролитов в
исследуемом веществе.
Электроемкостый метод основан на зависимости
между влажностью продукта и его диэлектрической проницаемостью.
Химические методы определения
содержания влаги основаны на том, что вся влага продукта во время анализа
реагирует с каким-либо веществом, например с карбидом кальция. Измеряя количество
результирующего продукта реакции, определяют количество влаги в продукте.
Термические методы определения
содержаний влаги предусматривают высушивание навески продукта и последующее
взвешивание сухого остатка. По разности между массой навески М и массой сухого
остатка М1 определяют количество испарившейся влаги.
Влажность продукта (W, %) вычисляют
по формуле
= [(M - M1)/M]·100,
где М-вес образца до высушивания, г
М1-все образца после высушивания, г
Термические методы определения влаги
нашли наиболее широкое применение в технохимическом контроле пищевых
производств, однако следует учитывать, что при высушивании навески химический
состав сухого вещества продукта изменяется, что несколько искажает результаты
анализа. Это объясняется тем, что вместе с влагой при высушивании из навески
удаляются летучие вещества (спирты, эфиры и др.) и происходит частичное
термическое разложение продукта, отчего масса сухого остатка уменьшается.
Гидролиз некоторых веществ продукта и процессы окисления (например, окисление непредельных
жирных кислот) увеличивают массу сухого остатка. Для того чтобы результат
определения влаги был близок к истинному, следует сводить к минимуму процессы,
изменяющие массу сухого остатка во время высушивания. Определяя влажность,
навеску продукта высушивают в электросушильных шкафах с терморегуляторами.
Иногда применяют вакуум-шкафы. В условиях вакуума снижается температура кипения
и испарения влаги, сухой остаток нагревается и изменяется в меньшей степени,
чем при атмосферном давлении. Применяются два основных варианта термического
метода определения влажности: высушивание навески до постоянной массы при
температуре 130 °С и ускоренное высушивание на анализаторе влажности в течение
5-15 мин при более высоких температурах.
Первый метод дает более точные
результаты и лучшую сходимость, но занимает больше времени.
) Кислотность и щелочность
Общая кислотность характеризуется
суммарным содержанием кислот н кислотореагирующих веществ как распавшихся на
ионы, так и недиссоциированных. Общая кислотность пищевых продуктов выражается
в различных единицах. Для большинства продуктов принято выражать ее числом
миллилитров 1 н. или 0,1 н, раствора щелочи, пошедшим на нейтрализацию 100 г
абсолютно сухого продукта. Иногда кислотность выражают в пересчете на кислоту,
преобладающую в продукте. Так, кислотность прессованных дрожжей измеряется
числом миллиграммов уксусной кислоты в 100 г дрожжей.
Щелочную реакцию имеют химические
разрыхлители теста (сода, карбонат аммония) и изделия, приготовленные с их
применением (печенье, пряники). Общую щелочность определяют и рассчитывают так
же, как и общую кислотность, но для титрования продукта при этом применяют 0,1
н. раствор соляной или серной кислоты.
Кислотность, особенно активная,
оказывает значительное влияние на течение коллоидных, микробиологических и
ферментативных процессов, происходящих в полуфабрикатах и сырье, и на вкус
готовых изделий. Однако ГОСТы (ТУ) нормируют для каждого продукта не активную,
а общую кислотность, так как она легко определяется простым титрованием.
Общая (титруемая) кислотность -
важный показатель, характеризующий качество полуфабриката. По нарастанию
титруемой кислотности можно судить о том, как протекал процесс в данной фазе,
что важно для установления готовности теста (или опары). По величине титруемой
кислотности готового теста можно судить о кислотности хлеба из данного теста.
Определяют титрованием гидроксидом натрия или калия. [5]
. ПРОИЗВОДСТВЕННАЯ САНИТАРИЯ
На предприятиях пищевой отрасли в
плановом порядке должен осуществляться производственный контроль, целью
которого является обеспечение санитарно-эпидемиологического благополучия на
производстве. Организация и проведение данного контроля регламентируются
требованиями санитарных правил СП 1.1.1058-01 «Организация и проведение
производственного контроля за соблюдением санитарных правил и выполнением
санитарно-противоэпидемических (профилактических) мероприятий».
Порядок и периодичность
производственного контроля по показателям безопасности должны устанавливаться
предприятием общественного питания по согласованию с территориальными органами
Федеральной службы по надзору в сфере защиты прав потребителей и благополучия
человека.
Мероприятия по проведению
производственного контроля осуществляются самим предприятием. С этой целью
регулярно контролируются качество уборки всех функциональных групп помещений,
режимы санитарной обработки технологического оборудования, производственного
инвентаря и посуды, условия хранения и использования дезинфицирующих и моющих
средств, соблюдение работниками правил личной гигиены. Еженедельно должна
контролироваться температура в моечных ваннах, а ежемесячно - обеспеченность
предприятия моющими и дезинфицирующими средствами, уборочным инвентарем и пр.
Кроме этого, проверяется своевременность проведения санитарных дней,
прохождения медицинских осмотров персонала, соблюдение условий и сроков
хранения скоропортящихся пищевых продуктов и других факторов.
Для оценки объективного уровня
санитарного содержания предприятий осуществляется лабораторный контроль.
Основной его целью является профилактика пищевых отравлений и острых кишечных
инфекций путем обеспечения выпуска доброкачественной и безопасной в
эпидемическом отношении продукции. По результатам санитарно-бактериологических
исследований можно судить о соблюдении санитарного режима на производстве, о
возможном нарушении технологии приготовления продукции или условий хранения
продуктов, о соблюдении правил личной гигиены персонала, об эпидемиологической
безопасности готовой продукции.
Основным видом лабораторного
контроля соблюдения санитарного режима на предприятиях пищевой отрасли является
бактериологическое исследование смывов с оборудования, инвентаря, посуды, рук
работающих с целью установления степени их бактериального обсеменения и
загрязнения кишечной палочкой. Обнаружение кишечной палочки, являющейся
санитарно-показательным микроорганизмом, в смывах свидетельствует о нарушении
санитарного режима на предприятии.
Наряду с бактериологическими
исследованиями смывов при санитарном обследовании предприятий пищевой отрасли
могут применяться более простые и доступные методы. Так, наличие и концентрация
обезжиривающих растворов (щелочи) в воде, используемой для мытья посуды,
температура воды в моечных ваннах, в охлаждаемых помещениях, наличие жира и
других остатков пищи на столовой посуде можно оценить путем использования
методов, описанных в методическом письме Министерства здравоохранения РФ
«Простейшие инструментальные методы контроля в практике санитарно-пищевого
надзора».
Кроме этого, осуществляются
исследования готовой продукции.
Для отбора проб продуктов и блюд в
лаборатории заготавливаются стерильные банки, ложки, пинцеты и ножи, завернутые
в бумагу. Если по результатам бактериологических исследований установлено, что
отдельные изделия, пищевые продукты оказываются систематически обсемененными
санитарно-показательными микроорганизмами, то проводят
санитарно-бактериологическое обследование производства данного наименования
продукции или продукта по ходу технологического процесса, чтобы установить
этап, на котором происходит обсеменение продукта микрофлорой. Целесообразно
параллельно с отбором проб продуктов на разных этапах технологического процесса
делать смывы с оборудования, инвентаря и посуды, с которыми соприкасался
продукт.
Контроль за соблюдением правил
личной гигиены персоналом включает контроль своевременности прохождения
медицинских осмотров и гигиенической подготовки, о чем должны иметься отметки в
личной медицинской книжке. Эффективность соблюдения правил личной гигиены
контролируются путем взятия смывов с рук, одежды, личных полотенец персонала.
Все результаты производственного
контроля должны предоставлять в территориальные органы Управления Федеральной
службы по надзору в сфере защиты прав потребителей и благополучия человека по
их запросам.[12]
ЗАКЛЮЧЕНИЕ
Во время написания данной курсовой
работы были изучены:
) Ассортимент изделий из муки
пшеничной
) Оборудование для
производства хлебобулочных изделий
) Наиболее распространенные
способы изготовления хлебобулочных изделий
) Процессы, происходящие на различных
этапах технологического процесса
) Метод расчета выхода хлеба
по унифицированным рецептурам
) Метод расчета
производственных рецептур при производстве непрерывным и периодическим способом
) Технохимический контроль
производства и производственная санитария
) Аппаратурно-технологические схемы
производства.
Результаты оформлены в пояснительную
записку.
ПРИЛОЖЕНИЕ
БИБЛИОГРАФИЧЕСКИЙ СПИСОК
1) Цыганова Т.Б. Технология хлебопекарного производства, учебное
пособие/ Цыганова Т.Б. ‒ М.: ПрофОбрИздат, 2002. - 432 с.
) Пащенко Л.П. Технология хлебобулочных изделий, учебное
пособие/Пащенко Л.П., Жаркова И.М. М.: Колос, 2008. - 389 с.: ил.
) Ауэрмаʜ Л.Я. Технология хлебопекарного производства. - 9
издаʜие, переработаʜное и дополʜенное, учебное пособие / Ауэрмаʜ
Л.Я. ‒ М: Легкая и пищевая промышленность, 2005, 416 с.
) Пучкова Л.И. Проектирование хлебопекарных предприятий с основами
САПР, учебное пособие / Пучкова Л.И., Р.Д. Поландова., И.В. Матвеева ‒
СпБ.: ГИОРД, 2005 г.‒559 с.
) Технология и технохимический контроль хлебопекарного
производства./ Зверева Л.Ф., Немцова З.С., Волкова П.П. ‒ М.: Лёгкая и
пищевая промышленность, 1983г. - 416 с.
) Сборник рецептур на хлеб и хлебобулочные изделия, сборник/сост.
Ершов П.С. СПб.: Гидрометеоиздат, 1998. - 191 с.
) Драгилев А.И. Технологические машины и аппараты пищевых
производств, учебное пособие / Драгилев А.И. ‒ М.: Колос, 1999. - 376 с.
) Проектирование предприятий отрасли: методические указания / Ю.С.
Рыбаков, Д.А.Пирмагомедов, ‒ Екатеринбург: Изд. УГЭУ, 2006. ‒ 23 с.
) Курсовое проектированию хлебозаводов: методические указания/
Цыганова Т.Б., Касаткина Г. Д - М., МГУТУ, 2012
) ГОСТ Р 52462-2005 Изделия хлебобулочные из пшеничной муки. Общие
технические условия. ‒ М: Стандартинформ, 2009. ‒ 19 с.
) СТО ЮУрГУ 04-2008 Стандарт организации. Курсовое и дипломное проектирование.
Общие требования к содержанию и оформлению / составители: Т.И. Парубочая, Н.В.
Сырейщикова, В.И. Гузеев, Л.В. Винокурова. - Челябинск: Изд-во ЮУрГУ, 2008. -
56 с.
) Санитария и гигиена на предприятиях общественного питания:
Учебное пособие / Е.Г. Дунец, М.Ю. Тамова, И.А. Куликов./ СпБ.: Троицкий мост,
2012г. ‒ 192 с.
13) Матвеева И.В.Биотехнологические основы приготовления хлеба/
Матвеева И.В., Белявская И.Г.‒ М.: ДеЛи принт, 2001.
150с.
) Технологическое оборудование хлебозаводов и макаронных фабрик,
учебник для ВУЗов/ Хромеенков В.М.‒ СПб.: ГИОРД. 2004. - 496 с.: ил.
) Б.М. Азаров, А.Т. Лисовенко, С.А. Мачихин и др. Технологическое
оборудование хлебопекарных и макаронных предприятий/ Под ред. С. А. Мачихина. -
М.: Агропромиздат, 1986. - 263 с.