Структура металл-диэлектрик-полупроводник
МИНИСТЕРСТВО
ОБРАЗОВАНИЯ И НАУКИ РОССИЙСКОЙ ФЕДЕРАЦИИ
ЮЖНЫЙ
ФЕДЕРАЛЬНЫЙ УНИВЕРСИТЕТ
ФГАОУ
ВПО «ЮЖНЫЙ ФЕДЕРАЛЬНЫЙ УНИВЕРСИТЕТ»
В
Г. ТАГАНРОГЕ
КАФЕДРА
ФИЗИКИ
ПОЯСНИТЕЛЬНАЯ
ЗАПИСКА
к
индивидуальному заданию
по
дисциплине «Физические основы микроэлектроники»
Тема задания
«Структура
металл-диэлектрик-полупроводник»
Вариант №6.2
Выполнил:
студент гр. Э-60
Ростов
А.В. Проверил
Профессор
Захаров А.Г
Таганрог
2012г.
Введение
В МДП-транзисторе с поликремниевым затвором n-типа
нужно рассчитать пороговое напряжение и построить диаграмму зависимости
порогового
Напряжения от концентрации примесных атомов
акцепторного типа проводимости, построить энергетическую диаграмму
МДП-структуры с заданной концентрацией примесей в кремнии в режиме сильной
инверсии. Рассчитать дифференциальной емкости МДП-структуры в режимах сильной
инверсии и обогащения. Исходные данные: Диэлектрик - SiO2, Тип затвора:
вырожденный поликремний n,
толшина окисла 90 нм., T-290,
диапазон концентраций примисий Nd, (10^13-10^17) см^-3 , концентрация примисей
в кремнии NDi,= 210^16 см^-3.
1. Анализ физических процессов в заданной
полупроводниковой структуре
МДП-СТРУКТУРА (металл - диэлектрик -
полупроводник) - структура, образованная ' пластиной полупроводника П, слоем
диэлектрика Д на одной из её поверхностей и металлическим электродом. При
подаче на МДП-с. напряжения V в полупроводнике вблизи границы с диэлектриком
возникает электрических поле. Оно перераспределяет заряды в полупроводнике,
изменяя концентрацию носителей заряда вблизи поверхности, и, следовательно,
изменяет электропроводность приповерхностного слоя полупроводниковой пластины.
Рис. 1. Энергетическая диаграмма МДП-структуры
на основе полупроводника р-типа при отсутствии напряжения V на затворе.
Заштрихованы состояния, занимаемые электронами при T = 0 K; F - работа входа
металла;
-
энергия электрона в вакууме;
- потолок валентной
зоны;
-
дно зоны проводимости;
- уровень Ферми;
-
ширина запрещённой зоны полупроводника
Энергетическая диаграмма МДП-структуры
изображена на рис. 2 с полупроводником n-типа. При
зоны
не изогнуты. Если
, то возникает
изгиб зон; здесь возможны три случая. Если
то
изгиб зон "вверх" (рис. 3, я) приводит к увеличению числа дырок у
поверхности полупроводника, т. к. их концентрация
(T
- температура). Вблизи поверхности полупроводника формируется слой, обогащённый
основных носителями. При
зоны изгибаются
"вниз" (рис. 3, б)и в приповерхностной области уменьшается число
основных носителей (обеднённый слой). При дальнейшем увеличении положит,
напряжения зоны изгибаются столь сильно, что середина запрещённой зоны вблизи
поверхности опускается ниже
(рис. 3, в). С
этого момента концентрация электронов превышает концентрацию дырок

Рис. 3. Энергетическая диаграмма МДП-структуры
на основе полупроводника р-типа при V < 0 (а), V> 0 (б), V >0 и
(в)
Рис. 4. Участок зонной диаграммы
приповерхностной области МДП- структуры (рис. 3, е) в режиме сильной инверсии;
-
середина запрещённой зоны;
-
электростатический потенциал; заштрихованы состояния, занятые электронами при
К.
При сильной инверсии, когда дно зоны
проводимости
опускается ниже
(рис. 4), концентрация электронов в инверсионном слое слабо зависит от
температуры T, а проводимость
инверсионного слоя
приобретает металлический характер
Инверсионный слой отделён от объёма
полупроводника обеднённым слоем, где имеется фиксированный заряд, связанный с
донорами и акцепторами, а концентрация электронов и дырок мала.
2. Расчет необходимых электрофизических
характеристик полупроводниковой структуры
.1 Расчет порогового напряжения Upor
Данные для расчета
К - температура
Ф /м электрическая постоянная
В -ширина запрещенной зоны
Кл -заряд электрон а
В - сродство к электрону
относительная диэлектрическая проницаемость
полупроводника
относительная диэлектрическая проницаемость
диэлектрик
м - толшина окисла
В - эффективная работа выхода из металла
Дж/К - постоянная Больцмана
м -3
Расчет недостающих параметров:
В - объемный потенциал
В - высота барьера Шоттки
В -разность потенциалов
В - разность работ выхода
Ф /M3 емкость диэлектрика
м -3 собственная концентрация носителей заряда
.2 Дифференциальная емкость в режиме насышения
Cmax
параметры для расчета :
Ф /М электрическая постоянная
относительная диэлектрическая проницаемость
диэлектрика
м - толшина окисла
Ф /М ^2
2.3 Диффиренциальная емкость в режиме сильной
инверсии
параметры для расчета :
Ф /М электрическая постоянная
относительная диэлектрическая проницаемость
полупроводника
В - температурный потенциал
м - 3 собственная концентрация носителей заряда
м -3
Кл -заряд электрона
относительная диэлектрическая проницаемость
диэлектрика
м - толшина окисла
расчет недостающего параметра
м - толщина обедненного слоя
.4 Построение энергетической диаграммы МДП-
структуры в режиме сильной инверсии
Необходимые электрофизические характеристики:
В -объемный потенциал
В -высота барьера Шоттки
м -толщина объединенного слоя
В - величина изгиба энергетических зон
м - толщина окисла
3. Технология изготовления комплементарных МОП-транзисторов
Существует несколько основных (базовых)
технологий изготовления субмикронных КМОП ИС. Они различаются по типу исходной
полупроводниковой подложки, методам изоляции, количеству слоев поликремния и и
количеству проводящих (металлических) слоев межсоединений (разводки). Для
"глубокого субмикрона" (при минимальных топологических размерах 0.25
мкм и менее) характерно использование изоляции приборов с помощью глубокой
канавки (щели), заполненной диэлектриком (канавочная изоляция), а количество
слоев межсоединений достигает пяти. Именно такая базовая технология будет
кратко описана далее. Она может быть усложнена введением дополнительных слоев
для формирования более качественных пассивных элементов.
Технологический маршрут изготовления КМОП ИС
включает большое количество технологических операций, объединенных в модули.
Основные (укрупненные) этапы формирования МОП-транзисторов в типовом КМОП
маршруте на р-подложке приведены на рис.3.1.1 - 3.1.3
На рис.3.1.3 технологический процесс ограничен
изготовлением только двух слоев разводки, для каждого последующего слоя
разводки этапы виг должны быть повторены. После формирования последнего слоя
разводки поверхность пластины покрывается защитным слоем (пассивация) и в нем
производится вскрытие контактных окон к последнему слою металла (формирование
контактных площадок - внешних выводов).
Многократное применение операции фотолитографии
позволяет переносить топологический рисунок с фотошаблона в функционатьные слои
на кремниевой пластине. В результате переноса изображений активных областей и
затвора и проведения легирования карманов, каната, стоков истоков на пластине
появляются весь арсенал активных приборов (и одновременно областей контактов к
подложке и карманам).
Переносом рисунков разводки в слои металлизации
активные приборы объединяются в интегральную схему.
Рис.3.1.1 Этапы технологического процесса
изготовления КМОП ИС: а ионное легирование кармана через маску по фотошаблону
№1 (ф-ш.1); б - фотолитография нитридной маски для травления канав кн. (ф-ш.2);
в - травление глубокой канав кн: г - заполнение канав кн диэлектриком и выравнивание
поверхности: д - имплантация для подгонки порогов МОП- транзисторов

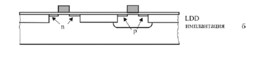
Рис.3.1.2 Этапы технологического процесса
изготовления КМОП ИС: а подзатворное окисление, осаждение поднкремния.
литография затворов (ф- ш.З); б - слабое легирование (LDD)
стоков истоков n-МОП через
маску (ф- ш.4) и слабое легирование (LDD)
стоков истоков p-МОП через
маску (ф-ш.5); в - формирование пристенков и глубокое легирование стоков
истоков п-МОП и контактов к карманам через маску (ф-ш.4) и стоков истоков p-МОП
и контактов к подложке через маску (ф-ш.5); г - силицидированне стоков истоков
и поликремниевых затворов
Рис.3.1.3. Этапы технологического процесса
изготовления КМОП ИС: а осаждение и оплавление легкоплавкого диэлектрика,
вскрытие контактных окон (ф-ш.б). заполнение их вольфрамом: 6 - напыление
первого слоя металла и формирование в нем разводки (ф-ш.7), осаждение и
оплавление межслойного диэлектрика; в - вскрытие контактных окон к первому слою
металла (ф-ш.8), заполнение их вольфрамом; г - напыление второго слоя металла и
формирование в нем разводки (ф-ш.9). осаждение и оплавление диэлектрика.
Заключение
По результатам расчётов в полупроводниковой
структуре МДП выявлена нелинейная зависимость порогового напряжения от
концентрации примесей на промежутке (10^13-10^17) см^-3. Предельные значения
дифференциальной емкости при данных условиях равно от (2,14-3,835)*10^-4 и
построили энергетическую диаграмму в режиме сильной инверсии.
транзистор диэлектрик полупроводник диаграмма
Библиографический список
1
Зи С. Физика полупроводниковых приборов: В 2-х кн. / Пер. с англ. 2-е перераб.
и доп. издание. - М.: Мир, 1984. Кн.1. - 456 с. Кн.2. - 456 с.
Захаров
А.Г., Какурин Ю.Б., Филипенко Н.А. Сборник задач по дисциплине «Физические
основы микро- электроники». - Таганрог: Изд-во ТРТУ, 2005. - 91 с.
Коваленко
А.А. Основы микроэлектроники: Учеб. пособие для студ. вузов. М.: Academia,
2006. - 326 с.
Барыбин
А.А. Электроника и микроэлектроника: физико-технологические основы: Учеб.
пособие для вузов. - М.: Физматлит, 2006. - 423 с.
Микроэлектроника:
Учебное пособие для втузов. В 9-ти кн. / Под ред. Л.А. Коледова. Кн.1.
Физические основы функционирования изделий микроэлектроники / О.В. Митрофанов,
Б.М. Симонов, Л.А. Коледов. - М.: Высшая школа, 1987. - 186 с.
Ракитин
В.В. Интегральные микросхемы на КМОП-транзисторах: учебное пособие: Москва,
2007. -307с