Выращивание монокристалла с заданными свойствами
Министерство
образования Российской Федерации
Санкт-Петербургский
государственный
электротехнический
университет "ЛЭТИ" им. В. И. Ульянова (Ленина)
Кафедра
Микроэлектроники
ПОЯСНИТЕЛЬНАЯ ЗАПИСКА
к курсовой работе по дисциплине
Технология материалов и изделий
электронной техники
на тему
Выращивание монокристалла с заданными
свойствами
Выполнил
Букреев В.П
гр. 0204
Преподаватель
Солодовникова
Е.Л
Санкт-Петербург
2013г.
Содержание
Введение
. Основные
свойства материалов
. Применение
полупроводникового GaP
. Обзор
современного состояния технологии производства полупроводниковых соединений
. Обоснование
выбора метода выращивания GaP
. Описание
метода Чохральского для выращивания фосфида галлия
. Расчетная
часть
. Схема
установки по выращиванию кристаллов методом Чохральского
Выводы
Список
использованной литературы
Введение
Содержание работы.
В данной курсовой работе разрабатывается технологический процесс
получения легированного монокристалла ФГДЦЧ-5-17, на 20% компенсированного
теллуром, с разбросом концентрации носителей заряда по длине слитка не более
±50%. Рассматривается процесс синтеза материала и условия легирования, режим
роста монокристалла.
Исходные данные
Разработать технологический процесс, рассчитать условия легирования и
режимы роста монокристалла ФГДЦЧ -5-17, на 20% компенсированного теллуром,
длиной 400 мм, диаметром 50 мм с разбросом концентрации носителей заряда по
длине слитка не более Dp/p = ± 50%.
Определить концентрацию и массу легирующей примеси, перераспределение
остаточных примесей, если их концентрация в исходном материале составляет цинк
10-4 масс. %. Определить выход годного материала. Рассчитать изменение степени
компенсации по длине кристалла.
1. Основные
свойства материалов
Расшифровка марки материала
В работе рассматривается технологический процесс получения монокристалла
ФГДЦЧ-5-17, на 20% компенсированного теллуром, с разбросом концентрации
носителей заряда по длине слитка не более ±50%.
Марка ФГДЦЧ-5-17 означает фосфид галлия, дырочный типа проводимости, легированный
цинком. Концентрация носителей заряда задана 5×1017 см-3.
В качестве легирующих примесей используем теллур (VI группа) и цинк (II группа).
Физико-химические свойства
Фосфид галлия
Фосфид галлия (GaP)
является представителем класса сложных полупроводников AIIIBV.
Кристаллизуется в кубической решетке типа сфалерита.
Таблица 1. Физико-химические и электрические свойства фосфида галлия
|
Температура плавления
|
1750 K
|
|
Ширина запрещенной зоны
|
2,26 эВ при Т = 300 К.
|
|
Переход
|
непрямозонный
|
|
Относительная диэлектрическая проницаемость на низких
частотах
|
10
|
|
Плотность твердого GaP
|
4,13 г/см3
|
|
Плотность жидкого GaP
|
4,60
г/см3
|
|
Кинематическая вязкость расплава
|
2·10-3 см/с
|
|
Концентрация собственных атомов
|
3,95·1022 ат/см3
|
|
Молекулярная масса
|
100,695 а. е. м.
|
|
Давление паров в точке плавления
|
3,53
МПа
|
|
Концентрация носителей заряда при 300 К
|
5·1017
см-3
|
|
Основные примеси доноры
|
Si, Te, Sn, S, Se, Ge
|
|
Основные примеси акцепторы
|
Be, Mg, Zn, Cd,C, Cu
|
Монокристаллы GaP выращивают
методом Чохральского. Их ориентация [111] и [100] с отклонением менее ±1°.
Рис.1. Зависимость подвижности носителей заряда от их концентрации в GaP

Рис.3. Проекции линии трехфазного равновесия на координатные плоскости:
а) линия ликвидуса Т-х; б) Р-х.
Теллур
Теллур - элемент VI
группы - является одной из основных донорных примесей для легирования
разлагающихся полупроводниковых соединений, к которым принадлежит фосфид
галлия.
Таблица 2. Физико-химические и электрические свойства теллура
|
Атомная масса
|
127,60 а. е.м.
|
|
Температура плавления
|
450 С
|
|
Плотность твердого
|
6,00 г/см3 (аморфная модификация) 6,25 г/см3
|
|
Плотность жидкого
|
5,75 г/см3
|
|
Равновесный коэф. распределения в GaP
|
0,06
|
С водой металлический теллур реагирует уже при 100 °С. Te окисляется на воздухе при комнатной
температуре, образуя оксид TeO2.
Этот же оксид получается при нагреве теллура на воздухе и его сгорании. TeO2 в сравнении с Te менее летуч.
Расплавленный теллур инертен, для плавки можно использовать графитовые и
кварцевые контейнеры.
Цинк
Цинк как элемент II
группы можно использовать в качестве акцепторной примеси для легирования
полупроводниковых соединений AIIIBV.
Таблица 3. Физико-химические и электрические свойства цинка
|
Атомная масса
|
65,37 а. е.м.
|
|
Температура плавления
|
419,5 С
|
|
Плотность твердого
|
7,13 г/см3
|
|
Плотность жидкого
|
6,92 г/см3
|
|
Равновесный коэф. распределения в GaP
|
0,25
|
|
Температура при давлении пара, С
|
292
|
343
|
405
|
487
|
593
|
736
|
907
|
|
Давление пара, мм. рт. ст.
|
10-3
|
10-2
|
10-1
|
1
|
10
|
100
|
760
|
Исследуемый материал GaP
легируется цинком (II) и на 20%
компенсируется теллуром (VI).
2. Применение полупроводникового GaP
Монокристаллы и пластины из фосфида галлия являются
основным материалом для создания светодиодов красного, красно-оранжевого,
оранжевого и желтого свечения, применяемых в больших цветных экранах,
аппаратуре обслуживающей движение транспорта и архитектурном освещении.
Фосфид галлия монокристаллический применяется при
изготовлении оптических линз и линз для лазеров.
В меньшей мере GaP в настоящее время применяется для
производства желто-зеленых светодиодов, так как светодиоды на основе
гетероэпитаксиальных структур InGaN/GaN обладают значительно лучшими
излучательными характеристиками в этом диапазоне длин волн.
При изготовлении светодиодов пластины GaP используются или как подложки для
выращивания автоэпитаксиальных (рост слоев фосфида галлия на подложках из того
же материала) структур, излучающих в красном и желто-зеленом диапазоне длин вол
или как основание композиции гибридных гетероструктур для мощных светодиодов
красного-желтого диапазона излучения.
Монокристаллические структуры фосфида галлия обладают
высокой температурной стабильностью длины волны излучения а также большой
яркостью излучения при высоких плотностях тока.
Технология выращивания.
Выращивание монокристаллов фосфида галлия
осуществляется по методу Чохральского из раствора-расплава из-под слоя флюса
(термически обработанная борная кислота), предотвращающего испарение фосфора.
3. Обзор
современного состояния технологии производства полупроводниковых соединений
Методы получения монокристаллов
Можно выделить три основные группы методов получения монокристаллов с
совершенной структурой:
o метод бестигельной зонной плавки (БЗП)
o метод гарнисажной плавки (ГП)
o метод Чохральского (МЧ)
Метод бестигельной зонной плавки
Суть метода зонной плавки состоит в создании узкой расплавленной зоны,
перемещаемой вдоль кристалла, и в перераспределении примеси между жидкой и
твердой фазами вследствие того, что эффективный коэффициент распределения
отличен от единицы.
Отказ от тигля в бестигельной разновидности метода зонной плавки
достигается вертикальным расположением исходного поликристаллического
материала. Неочищенный или нелегированный кристалл помещается между двумя
вращающимися держателями в герметичной камере. В узкой области образца
создается локальный нагрев с помощью высокочастотного индуктора. Таким образом,
слиток разделяется расплавленной зоной. Нагреватель может перемещаться вверх и
вниз вдоль кристалла, соответственно будет перемещаться и расплавленная зона.
Жидкая область удерживается из-за сил поверхностного натяжения, что накладывает
ограничение на длину расплавленной зоны и на материал слитка. Например, большая
плотность и малое поверхностное натяжение германия не позволяют получать слитки
диаметром более 15 мм.
Метод гарнисажной плавки.
Метод гарнисажной плавки состоит в вытягивании монокристалла из расплава,
создаваемого в углублении исходного поликристалла. Плавление идет под действием
электронного луча, разогревающего область около затравки. Этот способ похож на
метод Чохральского и даже называется гарнисажным методом Чохральского. Отличие
состоит в типе подпитывающей фазы: здесь она твердая.
Плюсы метода гарнисажной плавки:
· совершенство выращиваемых монокристаллов
· нет тигля, в его качестве выступает сам поликристалл
Минусы метода гарнисажной плавки:
· исходный поликристалл должен быть однороден по составу и по
форме Метод Чохральского
Рис. 4. Схема установки для выращивания кристаллов методом Чохральского.
· вращающегося тигля,
· нагревательного узла,
· магнитной системы,
· устройства для вытягивания затравки с данной скоростью.
Камера откачивается до высокого вакуума или заполняется инертным газом.
Этапы процесса выращивания
I.
Закрепление затравки
Затравка представляет собой монокристалл выращиваемого вещества высокого
структурного совершенства с минимальной плотностью дислокаций, вырезанный в
определенном кристаллографическом направлении.
II.
Загрузка и расплавление поликристалла
Загрузка исходного поликристаллического материала и необходимых примесей.
Герметизация камеры и откачка. Расплавление содержимого тигля. Перед началом
процесса расплав выдерживают при повышенной температуре для очистки от летучих
примесей, а затравка прогревается для предупреждения теплового удара.
III.
Выращивание шейки кристалла
Прогретая затравка опускается в расплав, и ее края оплавляются для
устранения дефектов. Процесс вытягивания кристалла начинают с формирования
шейки монокристалла. Диаметр шейки не должен превышать линейного размера
поперечного сечения затравки, длина должна составлять несколько ее диаметров.
Итак, при подъеме затравки за ней вытягивается за счет сил поверхностного
натяжения столбик расплава. В верхней части столбика начинается кристаллизация,
и растущие слои повторяют структуру совершенного образца. Скорость вытягивания
высока - возможные дефекты не успевают распространиться до области основного
кристалла.
IV.
Выход на диаметр
После формирования шейки происходит выход на диаметр монокристалла:
переход от размеров шейки до номинального диаметра слитка. Для этого можно или
уменьшить скорость вытягивания, или понизить температуру. Для предотвращения
увеличения плотности дислокаций угол разращивания делают довольно малым. После
выхода на диаметр условия выращивания кристалла стабилизируют с целью получения
слитка постоянного диаметра и высокого структурного совершенства.
V.
Рост цилиндрической части монокристалла
Необходимо контролировать диаметр растущего монокристалла с точностью до
0,1 мм. Это позволяет нам, изменяя условия процесса (скорость вращения,
скорость вытягивания, температуру), поддерживать диаметр постоянным. Например,
фиксируя отражение лазерного луча от мениска столбика расплава, можно
предотвращать нежелательное разращивание или сужение.
VI.
Формирование обратного конуса
При резком отрыве монокристалла от расплава произойдет термоудар и резкое
размножение дислокаций в нижней части образца. Что бы этого избежать, нужно
сузить кристалл на нижнем конце. Например, увеличение относительной скорости
вращения кристалла способствует перемешиванию расплава, вследствие чего осевые
и радиальные градиенты в нем уменьшаются. Это приводит к уменьшению размеров
переохлажденной области в расплаве, повышению ее температуры и высоты столбика
расплава под кристаллом, в результате чего монокристалл «подрезается».
VII.
Завершение процесса
После отрыва в тигле остается около 5 % расплава. Монокристалл медленно
охлаждается во избежание термических напряжений. Уменьшаем температуру
нагревателя.
4. Обоснование
выбора метода выращивания GaP
Фосфид галлия обладает высокой температурой плавления. Из раствора GaP будет испаряться фосфор, этого можно
избежать, применив специальный флюс. Для выращивания монокристалла фосфида
галлия данной массы и размеров воспользуемся методом Чохральского для
разлагающихся полупроводниковых соединений. Наш выбор основан на том, что,
во-первых, другие распространенные методы получения монокристаллов с высокой
степенью совершенства (метод бестигельной зонной плавки, метод гарнисажной
плавки) не позволяют работать с разлагающимися соединениями. В методе
гарнисажной плавки невозможно применить покровный флюс, потому как необходимо
обеспечить доступ электронного пучка к расплавляемой зоне. В методе
бестигельной зонной плавки в силу вертикальной ориентации флюс не применим. А
,во-вторых, технология метода Чохральского хорошо изучена и является наиболее
дешевым вариантом.
5. Описание
метода Чохральского для выращивания фосфида галлия
Выращивают монокристаллы фосфида галлия диаметром от 15 до 50 мм, длиной
больше 25мм. Потребитель имеет право заказать требуемый номинальный диаметр с
интервалом в 5мм. Возможное отклонения диаметра от номинального значения обычно
составляет ±2,5 мм по всей длине. На поверхности слитка допускаются следы
разложения GaP глубиной менее 0,5 мм, а также
единичные канавки размером до 1,5 мм. Допускается механическая обработка
монокристаллов.
Важно отметить, что расплавленный фосфид галлия активно взаимодействует
со всеми материалами, известными для изготовления контейнеров. Для выращивания
кристаллов методом Чохральского используют кварц. Кремний из кварцевого тигля
загрязняет монокристалл до значений 1019 ат/см3 в зависимости от условий
контакта.
Одним из вариантов метода Чохральского является метод жидкостной
герметизации, используемый для выращивания монокристаллов разлагающихся
полупроводниковых соединений, в частности фосфида галлия. Жидкостная
герметизация заключается в покрытии расплава слоем герметизирующего флюса, над
которым создают давление инертного газа, в 1,5-2,0 раза превышающее равновесное
давление пара летучего компонента в точке плавления соединения AIIIBV. Давление инертного газа над
фосфидом галлия составляет обычно 10 МПа.
В качестве покровного флюса используют расплав оксида бора (III) В2O3, обладающего стеклообразными
свойствами. Плотность в расплавленном состоянии 1,8 г/см3, температура начала
размягчения 723 К. В расплавленном состоянии В2O3 малоактивен и слабо реагирует с кварцем и с расплавами
полупроводниковых соединений. Однако в твердом состоянии при комнатных
температурах он очень гигроскопичен и жадно поглощает влагу из воздуха. Поэтому
перед употреблением В2O3 подвергают
длительному прокаливанию в глубоком вакууме.
Проведение процесса выращивания монокристалла в атмосфере
компенсированного (сжатого) газа, обладающего большой теплопроводностью, а
также наличие на поверхности расплава слоя флюса, обладающего теплоизолирующими
свойствами, существенно изменяют тепловые условия роста монокристалла по
сравнению с обычными. Это способствует возникновению в выращиваемых
монокристаллах настолько значительных напряжений, что монокристаллы больших
диаметров могут растрескиваться после охлаждения до комнатных температур.
Монокристалл под слоем флюса имеет тенденцию принимать волнистый профиль.
Ухудшение теплоотвода ведет к накоплению отводимой теплоты в столбике расплава,
высота которого увеличивается. Кристалл сужается. Однако после выхода этой
области из-под флюса она охлаждается потоками инертного газа, что ведет к
увеличению диаметра растущего кристалла. Чередование этих процессов ведет к
появлению волнистого профиля.
Нормальная высота флюса при выращивании монокристаллов разлагающихся
полупроводниковых соединений 10-12 мм. При высоте слоя флюса менее 8 мм потери
летучего компонента из расплава сильно возрастают; при очень большой высоте
флюса управление диаметром растущего монокристалла сильно затрудняется.
Синтез фосфида галлия.
Высокая летучесть фосфора обуславливает невозможность получения
поликристаллов GaP простым
сплавлением исходных веществ. Для синтеза GaP следует использовать метод, основанный на
взаимодействии паров летучего компонента и расплава нелетучего в квазигерметичном
реакторе.
монокристаллический
фосфид галлия полупроводниковый
Рис.5. Квазигерметичный реактор для синтеза разлагающихся
полупроводниковых соединений путем взаимодействия пара летучего компонента с
расплавом нелетучего, помещенного в тепловой узел установки высокого давления:
1 - термопара; 2 - летучий компонент (фосфор); 3 - электронагреватель
сопротивления; 4,5 - кварцевая пластина и реактор, соответственно; 6 -
графитовая подставка тигля; 7 - нагреватель тигля; 8 - кварцевый тигель; 9 -
канал гидравлического затвора, заполненный флюсом; 10 - расплав нелетучего
компонента (Ga)
Критерий выхода годного материала
При
изготовлении полупроводниковых кристаллов важно соблюдать однородность свойств
материала по всей протяженности слитка. Степень неоднородности распределения
концентрации носителей заряда по длине нормирована и задается величиной
разброса β.
Она есть мера относительного изменения
концентрации носителей заряда. В случае распределения примеси согласно уравнению
Галливера
(что имеет место в методе Чохрльского) можно выразить
предел образца, в котором концентрация примеси остается в заданных требуемых
пределах. В простом приближении, кроме того, считаем, что концентрация примеси
полностью определяет концентрацию носителей (то есть вся примесь однократно
ионизирована, есть примесь лишь одного сорта)
Если
требуемое значение (от которого измеряется разброс) берется равным начальному
значению концентрации, то тогда выход годного:
Если
же занизить концентрацию в начале кристалла, или же завысить требуемую
концентрацию, то разброс будет в обе стороны и выход годного повышается:
Рис. 6. Выход годного материала при требуемом значении концентрации,
совпадающем с концентрацией в начальной части
Рис. 7. Выход годного материала при увеличенном требуемом значении
концентрации, при "отрицательном допуске по концентрации"
Видно, что при применении отрицательного допуска по концентрации
существенно увеличивается выход годного, поскольку используется допустимый
диапазон разброса конецентрации как выше, так и ниже требуемого значения.
При легировании прохождением расплавленной зоны в методе зонной плавки
распределение примеси (даже без потерь на испарение примеси):
Вывод
формулы распределения примеси
Допущения Пфанна и Боомгардта
Допущения Пфанна состоят в следующем:
· Пренебрегаем диффузионным перераспределением примеси в твердой фазе,
коэффициент диффузии в твердой фазе принимается нулевым, DТ = 0
· Перераспределение примеси в жидкой фазе происходит мгновенно,
DЖ = ¥
· Эффективный коэффициент распределения k считаем постоянным и не зависящим от
концентрации примеси. Коэффициент постоянен в течение всего процесса
· Объем материала неизменен, то есть плотности твердой и жидкой
фаз равны dт = dж
· Нет обмена с газообразной фазой, нет разлагающихся,
диссоциирующих и летучих компонентов
Видно, что для летучих примесей нельзя применять эти допущения. Учет
перераспределения летучей примеси между газовой фазой и расплавом произведен в
допущениях Боомгардта. Они включают в себя положения допущений Пфанна, кроме
последнего. Вместо него три новых допущения:
o Нет обмена примесью между газообразной фазой и твердой фазой.
Процесс обмена примесью происходит только между расплавом и газовой фазой
o . Коэффициент диффузии в газовой фазе бесконечно велик, фаза
однородна
o Скорость обмена примесью между расплавом и газовой фазой
ограничивается скоростью поверхностного взаимодействия, т. е. кинетикой
присоединения или отсоединения частиц, и пропорциональна разности между текущей
С и равновесной Ср концентрациями летучей примеси в расплаве. Уравнения
Бартона-Прима-Слихтера и Слихтера
Коэффициентом распределения называется отношение концентрации примеси в
твердой фазе к ее концентрации в жидкой фазе.
Различают
эффективный коэффициент распределения k и равновесный коэффициент распределения
k0 в условиях термодинамического равновесия. Равновесный коэффициент является
справочной величиной. Связь между равновесным и неравновесным коэффициентом
распределения примеси установлена уравнением Бартона-Прима-Слихтера:

здесь
ν
- кинематическая вязкость расплава, ω - угловая скорость вращения кристалла относительно тигля
(рад/с).
Уравнения баланса объема и примеси.
Введем обозначения V, C, Q - текущие значения объема расплава, концентрации примеси в
расплаве, количества примеси в расплаве. Аналогично для твердой фазы VТ, CТ, QТ.
Начальные значения величин в расплаве соответственно обозначим V0, C0, Q0.
Запишем уравнения постоянства количества примеси в системе и условие
неизменности объема (по допущению Пфанна):
Количество
примеси Q = C·V. По определению, k = CT/C
CTdVT + CdV +
VdC = 0
Доля
закристаллизовавшегося расплава g = VT/V0, dg = dVT/dV0, -dg = dV/dV0. Итак, из второго
В
конце получаем уравнение Галливера, описывающее распределение примеси вдоль
слитка
6. Расчетная
часть
Задание параметров технологического процесса
Диаметр тигля обычно составляет 2-3 диаметра кристалла. В нашем случае
выращивается кристалл диаметром 50 мм - возьмем тигель диаметром 120 мм.
Высота тигля, как правило, сравнима с диаметром тигля. Пусть Hтиг = Dтиг = 120 мм.
Скорость кристаллизации обычно в методе Чохральского для AIIIBV 0.5-1 мм/мин. Зададим ее равной 1
мм/мин. Строго говоря, скорость вытягивания, а мы можем контролировать ее и
управлять именно ею, не совпадает со скоростью кристаллизации (для AIIIBV 0.3-1 мм/мин.). Уровень расплава в
тигле постоянно уменьшается, поэтому к скорости вытягивания нужно добавить
скорость опускания жидкости в тигле.
Из постоянства сумм объемов жидкой и твердой фаз можно получить
Угловая скорость роста кристалла
В промышлености обычно скорость
вращения затравки лежит в диапазоне 40-100 об./мин., а скорость вращения тигля
в диапазоне 5-10 об./мин. Примем скорость вращения затравки (кристалла) 90
об./мин., а скорость вращения тигля 10 об./мин. Итого
об./мин.
Рассчитаем массу расплава, необходимого для получения монокристалла GaP с учетом 5% остатка
Рассчитаем массу расплава вмещающегося в тигель, с учетом тонкого слоя
флюса в 10 мм
Весь необходимый расплав помещается в выбранный тигель.
Таблица 4.Параметры установки
|
D, см
|
H, см
|
V, см3
|
m, г
|
|
Тигель
|
12
|
12
|
1356.48
|
-
|
|
Кристалл
|
5.0
|
40
|
785
|
3242.05
|
|
Реактор
|
10-15
|
30
|
4000
|
-
|
|
|
|
|
|
|
f, cм/мин.
|
w0, об./мин.
|
|
|
|
Тигель
|
-
|
10
|
|
|
|
Кристалл
|
-
|
90
|
|
|
|
Сумма
|
0.1
|
100
|
|
|
Примеси - цинк и теллур - имеют свои равновесные коэффициенты
распределения.
Определим для каждой коэффициент распределения по длине кристалла.
KoZn = 0.25= 0.06
f = 0,00167 cм/c
Ввиду отсутствия данных, принимаем, что у всех примесей одинаковый
коэффициент диффузии
в жидкой фазе:
см2/с
см2/с
Одинаковой будет и толщина диффузионного слоя
Расчет легирования кристалла
Основным уравнением для отыскания концентраций примесей является
уравнение электронейтральности. Из марки материала ФГДЦЧ-5-17 легко определить,
что концентрация дырок должна быть равна p = 5·1017 см-3. Она задается соотношением между
концентрациями примесей - донорной Te и акцепторной Zn.
Необходимо учесть остаточные примеси: в нашем случае Zn - 10-4 масс.%.
Рабочая температура считается равной 300К. При
температуре 300К концентрация дырок гораздо выше концентрации электронов: p >> n.
Воспользуемся отрицательным допуском по концентрации
Кроме того
,
:
Мы получили концентрации примесей в твердой фазе. Найдем необходимые
начальные концентрации примесей в растворе:
11.28
= 9.1
Подставим в уравнение Галливера и построим соответствующие зависимости C(g).
Рис. 8. Распределение примесей по длине слитка
Распределение концентрации носителей заряда по длине слитка определяется
по тому же уравнению электронейтральности из концентраций примесей:
;
а
разброс носителей по длине слитка
:
1.5
Рис.
9. Распределение концентрации носителей заряда по длине слитка
Полученные результаты представим в виде таблицы:
Таблица 5. Распределение примеси по длине слитка и изменение степени
компенсации
|
g
|
0
|
0,1
|
0,2
|
0,3
|
0,4
|
0,5
|
0,6
|
0,7
|
0,8
|
0,811
|
0,9
|
|
CZn, 1017 * см-3
|
3.125
|
3.372
|
3.672
|
4.044
|
4.521
|
5.158
|
6.06
|
7.461
|
10
|
10.42
|
10.65
|
|
CTe, 1017 * см-3
|
0.625
|
0.689
|
0.769
|
0.871
|
1.006
|
1.192
|
1.468
|
1.919
|
2.799
|
2.95
|
5.34
|
|
p, 1017 * см-3
|
2.5
|
2.7
|
3.2
|
3.5
|
3.966
|
4.59
|
5.54
|
7.20
|
7.47
|
10.17
|
|
ε
|
20%
|
20%
|
21%
|
22%
|
22%
|
23%
|
24%
|
26%
|
28%
|
28%
|
32%
|
Рис. 10. Изменение степени компенсации по длине слитка.
Экспериментальный выход годного материала: gэксп = 0,811.
Теоретический выход годного материала находится по следующей формуле
если ограничится одной, главной примесью (Zn). С разбросом β = ± 50% имеем
gтеор
= 0,780.
Окончательный
расчет масс компонентов:
Массу расплава можно найти, исходя из экспериментального выхода годного
материала, запаса для формирования обратного конуса (коэффициент запаса Kz = 10%) и 5% остатка расплава в тигле
Зная молярные молекулярные (атомные) массы (MGa = 69.72 г/моль, MP = 30.97 г/моль, MGaP = 100.69 г/моль), легко найти сколько нужно галлия и фосфора
Однако, нужно учесть дополнительную массу фосфора на заполнение
свободного объема реактора. Примем, что:
гр.
Итого: масса галлия, загружаемого в реактор
, фосфора -
Расчет масс примесей
Концентрации
примесей в твердой фазе
0.277
Отсюда
найдем необходимую массу лигатуры при условии что: Слиг для цинка 1020 см-3, и
для теллура 1020 см-3 тоже.
Таблица
6. Вещества загружаемые в реактор
|
Ga
|
P
|
лигатуры
|
Раствор
|
|
|
|
Zn
|
Te
|
|
|
Масса, гр.
|
3460
|
1678,54
|
56,37
|
45,93
|
4997
|
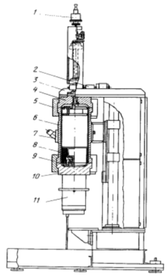
7. Схема
установки по выращиванию кристаллов методом Чохральского
Рис.11. Печной агрегат (вид сбоку) установки для синтеза и выращивания
монокристаллов разлагающихся полупроводниковых соединений под высоким давлением
инертного газа: 1 - измерительная головка; 2 - привод подъема и вращения штока
с затравкодержателем; 3 - рама установки; 5,9 - разъемные скобы, соединяющие
корпус камеры высокого давления 6 с верхней 4 и нижней 10 её крышками; 7 -
смотровое окно; 8 - тепловой узел; 11 - кожух привода подъема и вращения штока
тигля
Выводы
Первый этап, это синтез раствора GaP в квазигерметичном реакторе при температуре 1750°К.
Реактор имеет длину 30см и поперечный диаметр 10-15 см. В реактор загружаются
3460 гр. галлия и 1678,54гр. красного фосфора. В результате синтеза получается
4997 гр. раствора фосфида галлия.
Второй этап, проходит в установке выращивания кристаллов по методу
Чохральского. Тигель с раствором имеет высоту 12 см и диаметр 12 см. Скорость
вытягивания кристалла составляет 1 мм/мин, скорость вращения кристалла
90 об/мин., а скорость вращения тигля 10 об/мин. Выход годного материала с
концентрацией дырок 5*1017 см-3 при заданных условиях составил 0,811. Степень
компенсации вдоль длинны кристалла меняется от 20% до 30% (значение при 81,1%
закристаллизовавшегося слитка). Для получения необходимой концентрации
носителей заряда в раствор добавляется лигатура с концентрацией примеси 1020
см-3. Масса лигатуры с учетом остаточных примесей в растворе: цинка - 56,37
гр., теллура - 45,93 гр.
Список
использованной литературы
1. Производство
полупроводниковых материалов. Нашельский А.Я.: Учебное пособие для подготовки
рабочих. - Изд. 2-е, перераб. и доп. - М.: Металлургия, 1989.
2. Технология
полупроводниковых и диэлектрических материалов. Таиров Ю.М., Цветков В.Ф.:
Учебник для вузов. - Изд. 3-е. - СПб.: Лань, 2003.
. Технология
и автоматизация производства материалов и изделий электронной техники. Б.Л.
Антипов, Н.А. Смирнова, Е.Л. Солодовникова, В.С. Сорокин: Учеб. Пособие - СПб.:
СПбГЭТУ, 1992.
. Справочник
по электротехническим материалам. Том 3. Корицкий Ю.В., Пасынков В.В., Тареев
Б.М. - Изд. 3-е перераб. - Ленинград: Энергоатомиздат, 1988.