Выращивание полупроводникового монокристалла с заданными свойствами

  • Вид работы:
    Курсовая работа (т)
  • Предмет:
    Другое
  • Язык:
    Русский
    ,
    Формат файла:
    MS Word
    627,1 Кб
  • Опубликовано:
    2014-01-14
Вы можете узнать стоимость помощи в написании студенческой работы.
Помощь в написании работы, которую точно примут!

Выращивание полупроводникового монокристалла с заданными свойствами

МИНИСТЕРСТВО ОБРАЗОВАНИЯ И НАУКИ РФ

Федеральное государственное бюджетное образовательное учреждение высшего профессионального образования «Санкт-Петербургский государственный электротехнический университет «ЛЭТИ (Ленина)»

(СПбГЭТУ)

Факультет электроники

Кафедра микро- и наноэлектроники






КУРСОВАЯ РАБОТА

По дисциплине: ТЕХНОЛОГИЯ МАТЕРИАЛОВ И ЭЛЕМЕНТОВ ЭЛЕКТРОННОЙ ТЕХНИКИ

на тему: «Выращивание полупроводникового монокристалла с заданными свойствами»

Разработать технологический процесс, рассчитать условия легирования и режимы роста монокристалла ГСДЦ 1-1-18 диаметром 40 мм и длинной 300 мм с допустимым разбросом концентрации по длине кристалла не более .)

Оглавление

1. Основные свойства материала, методы получения монокристалла

.1 Расшифровка марки материала

.2 Краткое описание свойств материала

.3 Методы получения материала

. Теоретическая часть

.1 Обоснование выбора метода получения материала

.2 Вывод распределения примеси

. Расчетная часть

.1 Выбор технологических режимов и размеров установки

.2 Расчет легирования кристалла

.3 Определение массы легирующей примеси

Список использованных источников

1. Основные свойства материала, методы получения монокристалла

.1 Расшифровка марки материала

В данной курсовой работе будет рассмотрен один из способов получения монокристалла заданной марки ГСДЦ-1-1-18.

Все обозначение марки можно разделить на 2 части: буквенная часть и часть, заданная цифрами. Буквенная часть дает информацию о полупроводниковом материале, о типе электропроводности и о легирующей примеси. Для данного материала это означает, что будем получать антимонид галлия (ГС - Галлий Сурьмянистый), электропроводностью дырочного типа (Д), легированного цинком (Ц).

Часть, заданная цифрами дает количественную характеристику материала. Так, первая цифра обозначает допуск по концентрации (. Оставшиеся цифры задают исходную концентрацию в материале (.

.2 Краткое описание свойств материала

Антимонид галлия (GaSb) - монокристаллический полупроводниковый материал, относящийся к классу соединений AIIIBV. Кристаллы антимонида галлия имеют решетку сфалерита. Антимонид галлия не растворяется в воде, слабо растворяется в концентрированной соляной кислоте, добавление азотной кислоты к соляной сильно увеличивает скорость растворения. При растворении в кислотах выделяется токсичный стибин SbH3. Окисление антимонида галлия на воздухе начинается при температуре выше 400 оС. При окислении поверхность антимонида галлия адсорбирует значительно большее число атомов кислорода, чем другие соединения AIIIBV. Монокристаллические слитки антимонида галлия получают из поликристаллического материала стехиометрического состава методом выращивания из расплава. Основная область применения - в качестве подложек для гетероструктур четверных твердых растворов типа  и  для лазерных излучателей и фотоприемников на длину волны от 1,0 до 5,0 мкм. Отличительной особенностью кристаллов антимонида галлия является высокая чувствительность к механическим напряжениям. Под действием давления 400 МПа удельное сопротивление GaSb увеличивается в два раза. Высокая чувствительность этих кристаллов позволила использовать его для производства тензометров. Применяют его также для изготовления туннельных диодов и микроволновых датчиков.

Таблица 1. Некоторые физико-химические свойства антимонида галлия (GaSb).

Атомная или молекулярная масса

191,47

Тип структуры

сфалерит

Период решетки, нм

0,609593

Плотность в твердом состоянии,

5,66

Плотность в жидком состоянии при ,

6,06

Температура плавления, К

985

Давление пара в точке плавления, МПа

(Sb)

Диэлектрическая проницаемость (НЧ)

15,69

Ширина запрещенной зоны, эВ

0,72


Таблица 2. Наблюдаемое поведение ряда элементов в соединении GaSb.

Li

Mg

Zn

Cd

Si

Ge

Sn

Sb

Se

Te

Д

А

А

А

А

А

А

О

Д

Д


Где А - акцептор, Д - донор, О - нерастворимый элемент.


Основными методами получения полупроводников на сегодня являются метод вытягивания из расплава (метод Чохральского), метод нормальной направленной кристаллизации (метод Бриджмена) и метода бестигельной и гарнисажной плавки. Кроме этого, для соединений AIIIBV необходимо еще провести процесс синтеза соединения.


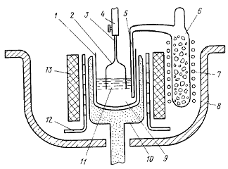
Метод Чохральского. Схема выращивания кристалла методом вытягивания из расплава приведена на рисунке. Суть метода состоит в следующем. Исходный поликристаллический материал загружают в тигель, затем расплавляют в герметичной камере в вакууме или инертной атмосфере. Непосредственно перед началом выращивания кристалла расплав выдерживают при температуре несколько выше температуры плавления для очистки от летучих примесей, которые, испаряясь из расплава, осаждаются на холодных частях камеры. Далее затравку прогревают, выдерживая ее над расплавом для предотвращения термоудара в момент контакта холодной затравки с поверхностью расплава. Затравка представляет собой монокристалл высокого структурного совершенства с минимальной плотностью дислокаций, который вырезается в строго определенном кристаллографическом направлении. Термоудар затравки может привести к увеличению в ней плотности дислокаций, которые прорастают в выращиваемый кристалл, ухудшая его структурное совершенство. Поверхностные нарушения, возникающие при вырезании затравки, удаляют химическим травлением. После прогрева затравку погружают в расплав и оплавляют для удаления поверхностных загрязнений. Процесс вытягивания кристалла начинают с формирования шейки монокристалла, представляющей собой тонкий монокристалл. Диаметр шейки не должен превышать линейного размера поперечного сечения затравки, длина должна составлять несколько ее диаметров. Шейку формируют с одновременным понижением температуры расплава с большой линейной скоростью и при больших осевых градиентах температуры. Это приводит к пересыщению вакансиями области монокристалла вблизи фронта кристаллизации, что при соответствующей кристаллографической ориентации затравки облегчает движение и выход на поверхность кристалла дислокаций, проросших из затравки. Для этого затравка должна быть ориентирована так, чтобы плоскости скольжения дислокаций располагались под как можно бóльшими углами к направлению роста кристалла. Такими плоскостями в решетке алмаза являются плоскости {111}. Следующей после формирования шейки операцией является разращивание монокристалла от размеров шейки до номинального диаметра слитка, т. е. выход на диаметр. Для предотвращения увеличения плотности дислокаций угол разращивания делают довольно малым. После выхода на диаметр условия выращивания кристалла стабилизируют с целью получения слитка постоянного диаметра и высокого структурного совершенства. На данном этапе тепловые условия процесса определяют градиенты температуры в кристалле и расплаве, от которых, в свою очередь, зависят форма фронта кристаллизации, размеры переохлажденной области, диаметр и скорость роста кристалла. После выращивания кристалла заданных диаметра и длины формируют обратный конус, плавно уменьшая диаметр кристалла, для того чтобы при отрыве кристалла от расплава предотвратить тепловой удар, приводящий к размножению дислокаций в его конечной части. Далее кристалл медленно охлаждают, для чего его поднимают на небольшое расстояние над расплавом и медленно снижают температуру нагревателя. Для обеспечения осевой симметрии теплового поля в расплаве в течение всего процесса выращивания тигль и кристалл одновременно вращают в противоположных направлениях. Чтобы подавить движение потоков жидкости в электропроводящем расплаве и предотвратить неоднородное распределение примеси в растущем кристалле, тигель с расплавом помещают в магнитное поле, которое тормозит движение проводящего расплава. Наблюдается эффект магнитной вязкости, т. е. увеличение в магнитном поле вязкости расплава до величины, превосходящей его собственную кинематическую вязкость.

Метод Пфанна.

Метод зонной плавки используется для очистки материалов, а также для получения однородно легированных слитков. Сущность метода зонной плавки состоит в следующем. Очищаемый материал в форме мелких кусков или заранее подготовленного поликристаллического слитка помещают в тигель, заключенный в герметичную камеру, которая наполняется защитным газом.

С помощью высокочастотного индуктора создается узкая расплавленная зона шириной 30…50 мм, медленно перемещаемая вдоль слитка. При бесконтейнерном (бестигельном) варианте зонной плавки очищаемый материал в форме стержня помещают вертикально. Узкая расплавленная зона удерживается между твердыми частями слитка за счет сил поверхностного натяжения.

Рис.2. Схема установки для выращивания кристаллов методом зонной плавки: а - горизонтальная плавка с использованием тигля, б - бестигельная зонная плавка; 1 - кристалл; 2 - расплавленная зона; 3 - исходный материал; 4 - стенки герметичной камеры; 5 - ВЧИ; 6 - тигель; 7 - держатель кристалла.

В начале процесса на нижнем конце переплавляемого стержня с помощью высокочастотного индуктора (ВЧИ) создается капля расплавленного материала, удерживающаяся силами поверхностного натяжения. К ней подводится затравка, которая смачивается расплавом. После процесса затравливания начинается рост монокристалла, при этом кристалл и загрузочный стержень перемещаются относительно высокочастотного индуктора с одинаковой скоростью. Верхний и нижний держатели вращаются в противоположных направлениях, что способствует перемешиванию расплава и выращиванию кристалла цилиндрической формы.

При плавке в вакууме наряду с оттеснением примеси в жидкую фазу происходит ее испарение из расплава. Отсутствие кварцевого тигля и графитового нагревателя позволяют получать бестигельной зонной плавкой кристаллы более высокой степени чистоты, чем методом Чохральского.

Метод нормальной направленной кристаллизации (метод Бриджмена).

В методах нормальной направленной кристаллизации заготовка расплавляется целиком, а затем расплав кристаллизуется с одного конца. Рост кристалла, таким образом, происходит в контакте со стенками тигля, содержащего расплав. Переохлаждение на фронте кристаллизации осуществляют путем перемещения тигля с расплавом относительно нагревателя, или нагревателя относительно тигля. В зависимости от расположения тигля с материалом различают горизонтальный и вертикальный методы нормальной направленной кристаллизации. Вертикальный метод получил название метода Бриджмена.

Рис.3. Схема установки для выращивания кристалла методом нормальной направленной кристаллизации: а - вертикальный (м. Бриджмена), б - горизонтальный; 1 - резистивный ВЧ нагреватель; 2 - тигель; 3 - кристаллизуемый расплав; 4 - закристаллизованная часть расплава.

Суть метода нормальной направленной кристаллизации заключается в следующем. Предварительно тщательно очищенный исходный материал загружают в тигель и расплавляют; процесс проводят в вакууме или в нейтральной атмосфере в герметичной камере. Затем начинается охлаждение расплава, причем наиболее интенсивному охлаждению подвергается оттянутый заостренный участок тигля: здесь зарождаются центры кристаллизации. Заостренный конец используется с целью увеличения вероятности образования только одного центра кристаллизации, поскольку объем расплава, находящегося в заостренной части тигля, невелик. Кроме того, в случае образования нескольких центров кристаллизации один из них, имеющий наиболее благоприятную ориентацию для роста, подавляет рост остальных зародышей. С течением времени по мере перемещения тигля с расплавом относительно нагревателя или перемещения нагревателя относительно тигля фронт кристаллизации перемещается в сторону расплава и постепенно весь расплав в тигле закристаллизовывается. Слиток будет монокристаллическим, если будет расти только один зародыш.

Следует заметить, что, если используются методы нормальной направленной кристаллизации для выращивания кристаллов, то процессы зарождения и роста не контролируются с достаточной степенью точности. Эти процессы зависят от формы фронта кристаллизации, от материала и качества изготовления тигля и всевозможных изменений условий роста. В качестве материала для изготовления тиглей наиболее часто применяют стекло, плавленый кварц, высокочистый графит, оксид алюминия (алунд), платину, нитрид алюминия и др.

Синтез полупроводников группы AIIIBV.

Синтезом называют процесс получения сложных веществ из более простых (в частности, из элементов) путем химических реакций. В технологии полупроводниковых материалов синтез используют для получения промежуточных соединений элементарных полупроводников, а также полупроводниковых соединений. Основным при получении полупроводниковых соединений является метод прямого синтеза, основанный на взаимодействии компонентов соединения по реакции:

.


При получении неразлагающихся полупроводниковых соединений, например антимонида индия, синтез осуществляется сплавлением компонентов соединения - Sb и In. Для разлагающихся полупроводниковых соединений сплавление компонентов может быть проведено под слоем жидкого покровного флюса, над которым имеется атмосфера инертного газа, находящегося под давлением, превышающим давление пара летучего компонента соединения в процессе синтеза. Для соединения GaSb обычно используют либо Ar либо . Это позволяет получить расплав разлагающегося полупроводникового соединения, а затем закристаллизовать его без существенных потерь летучего компонента. Используемый в таком процессе флюс должен быть инертным к компонентам синтезируемого соединения и его расплаву, а также обладать более низкой температурой плавления (размягчения), чем у летучего компонента. Это необходимо для того, чтобы до начала процесса синтеза, наступающего после расплавления компонентов соединения, они были полностью покрыты слоем флюса. Таким требованиям лучше всего удовлетворяет оксид бора (III), но его применение позволяет синтезировать только арсениды, летучий компонент которых - мышьяк, который плавится при 817 °С, т.е. при более высокой температуре, чем требуется для образования расплава борного ангидрида 600 °С).

Синтез арсенидов индия и галлия путем сплавления исходных компонентов проводят в автоклаве с применением высокочастотного нагрева. Для этого в кварцевый тигель, находящийся в графитовой подставке, помещают взятые в стехиометрическом отношении мышьяк и металл (индий или галлий), а поверх них навеску борного ангидрида. После уплотнения и вакуумирования камеры высокого давления (автоклава) в ней создают высокое давление инертного газа. После этого подставку с тиглем медленно вдвигают в высокочастотный индуктор. Засчет тепла, выделяющегося от нагретой верхней части подставки, флюс расплавляется и покрывает смесь компонентов соединения. После этого подставку с тиглем помещают в середину индуктора и нагревают до температуры, примерно соответствующей точке плавления мышьяка. Расплавленный мышьяк реагирует с расплавленным металлом с выделением тепла, достаточного для подъема температуры до точки плавления синтезируемого соединения. В результате образуется расплав соединения, который кристаллизуют охлаждением, получая поликристаллический слиток соединения.

Достоинством синтеза, основанного на сплавлении компонентов соединения, является возможность совмещения его с процессом выращивания монокристаллов в одной установке, т.е. после проведения синтеза из расплава соединения выращивают монокристалл. В результате исключения операций перегрузки синтезированного материала и подготовки его к процессу выращивания при совмещении этих технологических процессов можно повысить чистоту конечного продукта и удешевить его.

В данном курсовом проекте не будет представлено расчетов для синтеза антимонида галлия.

. Теоретическая часть

.1 Обоснование выбора метода получения материала


В данном курсовом проекте для получения полупроводника ГСДЦ будем использовать метод сплавления компонентов под слоем флюса. Данный метод является наиболее простым для получения полупроводника AIIIBV, а полученный материал будет достаточно чистым. Для легирования полупроводника будет использован метод Чохральского, поверхность расплава в котором также будет покрыта флюсом. Выбор данного метода основан на том, что в других методах невозможно остановить процесс испарения легколетучего компонента, либо это осуществляется сложным путем. Также метод Чохральского обладает наибольшим процентом выхода годного материала, которым может быть увеличен путем использования отрицательного допуска по концентрации. В качестве флюса возможно использование оксида бора (III) (). Еще одним фактором, влияющим на выбор методов получения, является то, что эти два процесса возможно совместить в одной технологической установке, аналогично способу, показанному на рисунке 5.

.2 Вывод распределения примеси

Для вывода теоретической зависимости, используем допущения Пфанна для методов направленной кристаллизации:

)  (нет диффузионного пере-распределения в твердой фазе);

)  (мгновенное перемешива-ние в жидкой фазе);

) (коэффициент распреде-ление постоянен);

)  (на границе раздела фаз нет скачка объема);

) Отсутствие летучей примеси (ис-пользуем флюс).

Введем следующие обозначения:

 - начальная концентрация приме-си в расплаве;

 - концентрация примеси в твер-дой фазе; 

 - текущая концентрация примеси в расплаве;

 - начальный объем жидкой фазы;

 - объем твердой фазы;

 - текущий объем расплава;

 - начальное количество примеси в жидкой фазе;

 - количество примеси в твердой фазе;

 - текущее количество примеси в расплаве.

Из уравнения баланса объемов (для неконсервативного метода) получим:

,

а из уравнения материального баланса:

.

Используя соотношение , перепишем уравнение материального баланса:

.

Введем замену , обозначающую долю закристаллизованного расплава:

,

отсюда уравнение мат. баланса:

 

, упростив, получаем:

.

В результате, мы получили уравнение Галливера для нелетучей примеси.

В полученной формуле  - эффективный коэффициент распределения, который зависит от параметров процесса и может быть вычислен из формулы Бартона-Прима-Слихтера:

,

где  - равновесный коэффициент распределения, -скорость кристаллизации,  - коэффициент диффузии в жидкой фазе,  - толщина диффузионного слоя, которую можно рассчитать по формуле Слихтера:

.

Также в данном курсовом проекте будет использован пассивный метод получения однородно легированного кристалла.

 - разброс параметров от заданного значения, тогда кристалл удовлетворяет критерию, если:

, подставим уравнение Галливера:



Решая неравенство относительно , получим:

.

Увеличить выход годного материала можно, если искусственным путем снизить концентрацию в начальной части слитка, полагая . Тогда, решая неравенство, записанное выше, получим величину максимального теоретического выхода:

.

. Расчетная часть

.1 Выбор технологических режимов и размеров установки

В задании к курсовому проекту сказано, что  нам необходимо вырастить монокристалл, заданных размеров (). Для того чтобы получить кристалл такого размера, необходимо, чтобы в расплавленном состоянии он полностью помещался в установку по методу Чохральского.

Диаметр тигля установки принято брать в два-три раза больше диаметра кристалла, а высота тигля должна быть примерно равна диаметру:

.

Тогда объем тигля: .

Скорость кристаллизации  для полупроводников AIIIBV должна находиться в диапазоне от 0,5 до 1 . Выберем ее равной , что равно                 .

Скорость вращения материала в установках Чохральского делится на две составляющие: скорость вращения кристалла () и скорость вращения тигля с расплавом (. Суммарная скорость  при этом должна быть меньше . Скорость вращения тигля зададим равной , а скорость вращения кристалла примем .

Рассчитаем скорость вытягивания кристалла:

,

где  - скорость опускания расплава.

, отсюда

.

Таблица 2. Параметры режима работы и размеров установки.


Для последующих расчетов нам понадобятся некоторые табличные значения, такие как равновесный коэффициент распределения ( и коэффициенты диффузии (). На основе этих данных рассчитаем толщину диффузионного слоя  (ф-ла Слихтера) и эффективный коэффициент распределения  (ф-ла -Прима-Слихтера). Занесем это в общую таблицу ().

Таблица 3. Табличные рассчитанные данные для примесей.

Примесь

Zn

0,01

0,011

0,011

Si

1

0,011

Te

0,4

0,434

0,011


.2 Расчет легирования кристалла

Расчет легирования будем проводить исходя из уравнения электронейтральности:

,

для нашего случая это общее выражение запишется как (с учетом отрицательного допуска по концентрации):

.

В полученном уравнении  обозначают структурные дефекты, которые выступают как акцепторы. Используя соотношение ,  и, учитывая, что  можно пренебречь электронной составляющей.

Из общего определения процента по массе:

,

путем несложных вычислений получим:

;

.

Зная, что , перепишем уравнение электронейтральности:


Находим :

,.

Используя уравнение Галливера, мы можем получить распределение примеси.

Рис.7. Зависимость  для различных примесей с учетом отрицательного допуска по концентрации: 1 - распределение остаточного кремния, 2 - распределение легирующего цинка, 3 - распределение остаточного теллура, 4 - распределение структурных дефектов, 5 - суммарное распределение примеси.

Рис.8. Распределение концентрации носителей заряда и линии ограничивающие допуск по концентрации.

Из рисунка 8 можно определить выход годного материала. Значение максимального выхода годного равно .

Проведем теоретический расчет выхода годного, учитывая только цинк:

.

Зная выход годного, становится возможным рассчитать массу расплава, для выращивания заданного кристалла, и объем расплава:

,

.

.

В итоге, , значит, тигель с такими размерами нам подходит.

.3 Определение массы легирующей примеси

Определим массу примеси цинка:

.

Поскольку масса примеси меньше, чем  от массы расплава, удобнее использовать лигатуру.

Поскольку для того чтобы более равномерно распределить примесь в расплаве и не ошибиться при взвешивании, масса лигатуры должна быть 1-3 % от массы расплава. Для примера, возьмем 2 % от массы расплава. Тогда концентрация лигатуры составляет:

.

Округлим полученное значение до  . Для выбранного значения концентрации лигатуры определим конечное значение массы:

.

В итоге мы получаем, что для легирования нам необходимо 70,2 г лигатуры концентрацией  .

Список использованных источников

1.       Александрова, О. А. Технология полупроводниковых материалов/ О. А. Александрова, В. С. Сорокин. - СПб: СПбГЭТУ "ЛЭТИ", 2003.

.        Волков, П. К. Методика выбора модельных сред для расплавов полупроводников в земных и космических условиях/ П. К. Волков, Б. Г. Захаров. - Калуга: Научно-исследовательский центр «Космическое материаловедение» Института кристаллографии РАН, 1998.

.        Иванова Р. В. Химия и технология галлия/ Р. В. Иванова. - М: Металлургия, 1973.

.        Курносов, А. И. Технология производства полупроводниковых приборов и интегральных микросхем/ А. И. Курносов, В.В. Юдин. - М: Высшая школа, 1986.

.        Нашельский, А. Я. Производство полупроводниковых материалов/ А. Я. Нашельский. - М: Металлургия, 1989.

.        Случинская, И. А.  Основы материаловедения и технологии полупроводников/ И. А. Случинская. - М, 2002.

.        Химия и технология редких и рассеяных элементов. Часть 1/ под ред. К.А. Большакова. - М: Высшая школа, 1976.

Похожие работы на - Выращивание полупроводникового монокристалла с заданными свойствами

 

Не нашли материал для своей работы?
Поможем написать уникальную работу
Без плагиата!
Без нейросетей!