Получение и изучение кристалловолокон ниобата лития

  • Вид работы:
    Курсовая работа (т)
  • Предмет:
    Физика
  • Язык:
    Русский
    ,
    Формат файла:
    MS Word
    2,19 Мб
  • Опубликовано:
    2014-10-12
Вы можете узнать стоимость помощи в написании студенческой работы.
Помощь в написании работы, которую точно примут!

Получение и изучение кристалловолокон ниобата лития

МИНИСТЕРСТВО ОБРАЗОВАНИЯ И НАУКИ РОССИЙСКОЙ ФЕДЕРАЦИИ

Федеральное государственное бюджетное образовательное учреждение

высшего профессионального образования

"КУБАНСКИЙ ГОСУДАРСТВЕННЫЙ УНИВЕРСИТЕТ"

(ФГБОУ ВПО "КубГУ")

Физико-технический факультет

Кафедра оптоэлектроники



КУРСОВАЯ РАБОТА

Получение и изучение кристалловолокон ниобата лития













Краснодар 2013

Реферат

Курсовая работа: 35 с., 17 рис., 1 табл., 10 источников.

КРИСТАЛЛОВОЛОКНА, КРИСТАЛЛИЧЕСКАЯ СТРУКТУРА, НИОБАТ ЛИТИЯ, РАСПЛАВ, ОПТИЧЕСКАЯ СИСТЕМА, ТЕХНОЛОГИЯ ВЫРАЩИВАНИЯ, ОПТИЧЕСКИЙ ЦЕНТР

Целью данной курсовой работы является проведение аналитического обзора по современным методам выращивания кристалловолокон, получение и исследование лабораторного образца кристалловолокна ниобата лития.

В результате выполнения курсовой работы на полученном лабораторном образе кристалловолокна ниобата лития, выполнены спектрально-кинетические исследования, проведены измерения и расчёты.

Содержание

Введение

. Основные методы выращивания монокристаллов

.1 Выращивание из раствора в расплаве (спонтанная кристаллизация)

.2 Метод Вернейля

.3 Метод Бриджмена

.4 Метод Чохральского

.5 Метод зонной плавки

.6 Гидротермальное выращивание

.7 Метод твердофазной рекристаллизации

. Выращивание кристалловолокон

.1 Метод лазерного разогрева (LHPG)

.2 Технологии вытягивания из мениска

.3 Иллюстрации возможностей методов выращивания кристалловолокон

. Методика проведения эксперимента

. Экспериментальное определение однородности вхождения оптических центров в кристалловолокне

Заключение

Список использованных источников

монокристалл кристаллизация оптический лазерный

Введение

Сегодня существует множество детально разработанных, хорошо отлаженных и пригодных для промышленного применения технологий получения кристаллических материалов, основанных на известных методах выращивания объемных монокристаллов (методы Чохральского, Бриджмена, гидротермального синтеза и др.). Однако получаемые по этим технологиям кристаллы не могут быть использованы в приборах и устройствах без предварительной обработки: нарезки, шлифовки, полировки и т.д., в результате которой теряется до 50 % от начальной массы синтезированных материалов. По этой причине актуальной является проблема разработки новых методов получения кристаллических материалов, пригодных для выращивания кристаллов заданных форм и размеров, не требующих дополнительной обработки перед их использованием в различных приборах и устройствах. Один из методов выращивания профилированных кристаллов - метод выращивания с пленочной подпиткой при краевом ограничении роста (метод EFG - edge-definedfilm-fedgrowth) - сегодня активно используется для выращивания специфических форм некоторых кристаллов, например, сапфировых трубок и кремниевых лент. Однако наиболее востребованной на практике формой кристаллов является форма волокна.

Монокристаллы в форме волокна (кристалловолокна) стали объектом повышенного интереса благодаря их уникальным свойствам. За счет большого отношения длины к диаметру, наряду с практически идеальной кристаллической структурой и химической однородностью, их механические и физические свойства приближаются к теоретическим значениям, не достижимым для обычных объемных кристаллов. Кристалловолокна за счет вытянутой формы являются идеальными средами для изготовления волноводов (в том числе волноводов ИК-диапазона), перестраиваемых узкополосных фильтров и элементов нелинейной оптики. Они представляют также интерес для применения в микролазерах и лазерных модуляторах, работающих при комнатной температуре, особенно для генерации второй и высших гармоник в зеленой, синей и фиолетовой областях спектра.

Монокристалл ниобата лития () обладает высокими электро- и нелинейнооптическими коэффициентами, что обуславливает его широкое применение в оптоэлектронике для изготовления преобразователей частоты лазерного излучения, параметрических генераторов света, оптических сенсоров, амплитудно-фазовых и фазовых модуляторов световых пучков, дефлекторов и т.д.

Целью данной работы является:

проведение аналитического обзора по современным методам выращивания кристалловолокон;

получение лабораторного образца;

определение параметров затухания кристалловолокна ниобата лития.

1. Основные методы выращивания монокристаллов

В последние годы монокристаллические волокна (кристалловолокна) стали объектом пристального внимания и интенсивного изучения. Это связано с уникальными свойствами волокон. Обычно под волокнами подразумеваются любые материалы вытянутой формы и малого диаметра, порядка м. Таким образом, термин волокно описывает все типы материалов, отвечающих этим требованиям, например нить, проволоку, волос. Кристаллические структуры в форме волокон (кристалловолокна) могут быть выращены из расплавов, растворов и паров.

Первые работы по выращиванию волокон датируются началом прошлого столетия. В 1917 году Чохральский вырастил металлические монокристаллические волокна диаметром 200 мкм путем их вытягивания из расплава. Немного позднее, в 1922 году, с целью изучения процесса вытягивания монокристаллов Гомперц вырастил металлические кристалловолокна через отверстия в слюдяном диске, плавающем на поверхности расплава. Это был "час рождения" методов получения профилированных кристаллов, использующих принцип капиллярной стабилизации мениска, который лежит в основе технологий выращивания волокон и в наши дни.

В результате интенсивных исследований профилированных монокристаллов германия и других материалов (исследования были закончены к началу семидесятых годов прошлого века Степановым, Голем и Пастором), было установлено, что одной из необычных характеристик кристалловолокон является их предельно высокая прочность. Так, например, прочность сапфировых волокон, по данным работ Ла Бель и Млавского превышает 1 ГПа. Это особое свойство кристалловолокон обусловлено совершенством их структуры вследствие их малых размеров, что сводит к минимуму количество дефектов, являющихся причиной низкой прочности материалов крупных размеров. Высокая прочность кристалловолокон делает их перспективными материалами для применения в качестве армирующих элементов.[1]

Широкая полоса пропускания (оптическая прозрачность), высокая температура плавления и химическая стойкость многих кристаллических материалов делают их привлекательными для использования в устройствах передачи энергии, особенно в условиях агрессивных сред. Кристалловолокна прекрасно подходят для обеспечения нелинейных оптических взаимодействий, эффективной оптической генерации, для создания оптических квантовых генераторов второй и высших гармоник, для смешения частот, для электрооптической модуляции. Кристалловолокна, в частности , могут использоваться для изготовления фоторефрактивных голографических запоминающих устройств.[2] На базе волокон возможно создание узкополосных перестраиваемых фильтров с шириной полосы пропускания менее 0,01 нм, благодаря реализуемой в них брегговской дифракции высоких порядков. При использовании кристалловолокон в качестве активных лазерных элементов волоконная конфигурация имеет еще одно важное преимущество: активный элемент в процессе работы имеет сравнительно низкую температуру (что благотворно сказывается на интенсивности оптической генерации) за счет эффективного отвода тепла по волокну. И, наконец, к уникальным качествам кристалловолокон относится то, что сразу после выращивания они готовы к использованию в оптических и других устройствах без дополнительной механической обработки. Последнее существенно минимизирует издержки производства кристалловолокон. [3]

Анализ процесса выращивания волоконных материалов позволил более полно установить и изучить свойства кристалловолокон, необходимые для более детальных исследований особенностей роста кристаллов. Благодаря малому диаметру волокон у них наблюдается либо минимальное количество дислокаций, либо их полное отсутствие. Этот эффект связан с существенным снижением термомеханического напряжения в волокнах. Кроме того, в волокнах обеспечиваются условия для залечивания (подавления) дефектов в процессе роста, что наблюдается, даже если направление вытягивания кристалла немного отклоняется от направления его роста.[4]

Обычно волокна выращивают в режиме управляемой диффузии. Малые зоны плавления ингредиентов и высокие скорости роста обеспечивают эффективный коэффициент распределения компонентов, близкий к единице. В результате это приводит к однородному распределению компонентов вдоль оси роста кристалла. Последнее обстоятельство делает возможным изучение процессов плавления неоднородных многокомпонентных материалов. Впервые подобные исследования были проведены в лаборатории Фукуды. Сегодня они выполняются и в ряде других научных организаций, например в Институте выращивания кристаллов в Берлине. Практическая значимость этих работ заключается в том, что за короткое время при незначительных финансовых затратах путем синтеза небольшого количества того или иного материала на установках для выращивания волокон удается определить кинетику роста, стабильность химического состава и степень совершенства получаемых кристаллов. На основании этих данных исследуемый материал отвергается или рекомендуется в качестве исходного для выращивания из него объемных кристаллов, в частности по методу Чохральского, в промышленных масштабах. Такой пример весьма убедительно показывает эффективность научного подхода в исследовании материалов, особенно в университетских и институтских лабораториях.[1]

Выращивание монокристаллов возможно как с использованием монокристаллических затравок, так и спонтанно. Рост кристаллов на затравках одноименного материала называют гомоэпитаксиальным, на других подходящих по кристаллографическим параметрам поверхностях - гетероэпитаксиальным. К основным методам отнесем следующие:

1.1 Выращивание из раствора в расплаве (спонтанная кристаллизация)

В качестве легкоплавких флюсов используют обычно  (),  (824),  (450), (817),  (670) и др. Кристаллизация происходит при охлаждении ниже точки насыщения. Основными достоинствами метода является то, что кристаллизацию можно проводить значительно ниже температуры плавления получаемого материала. Недостатки: загрязнение элементами флюса, необходимость в очень точном регулировании температуры, использование дорогостоящих платиновых и др. материалов тиглей.

1 - кристаллизационная печь, 2 - циллиндрический карборундовый экран, 3 - нагревательные силитовые стержни, 4 - под печи, 5 - тигель, 6 - устройство для вертикального перемещения, 7 - устройство для реверсивного вращения, 8 - термопара-датчик, 9 - контрольные термопары

Рисунок 1 - Принципиальная схема установки для выращивания кристаллов из расплава в растворе

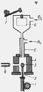
1.2 Метод Вернейля

Метод Вернейля реализуется путем просыпки маленьких порций порошковой шихты в трубчатую печь, где эта шихта расплавляется во время падения в кислородно-водородном пламени и питает каплю расплава на поверхности затравки. Затравка при этом вытягивается постепенно вниз, а капля пребывает на одном и том же уровне по высоте печи.

1 - механизм опускания кристалла, 2 - кристаллодержатель, 3 - растущий кристалл, 4 - муфель, 5 - горелка, 6 - бункер, 7 - механизм встряхивания, 8 - катетометр

Рисунок 2 - Схема установки для выращивания монокристаллов по методу Вернейля

Преимущества данного метода: отсутствие флюсов и дорогостоящих материалов тиглей; отсутствие необходимости точного контроля температуры; возможность контроля за ростом монокристалла. Недостатки: из-за высокой температуры роста кристаллы имеют внутренние напряжения; стехиометрия состава может нарушаться вследствие восстановления компонентов водородом и испарения летучих веществ. Скорость выращивания - несколько мм/час.

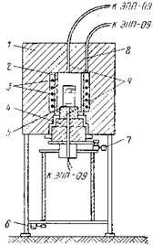
.3 Метод Бриджмена

Метод Бриджмена - зарождающиеся в нижней части тигля с расплавом монокристаллы служат затравкой.

1 - тигель с расплавом, 2 - кристалл, 3 - печь, 4 - холодильник, 5 - термопара, 6 - тепловой экран

Рисунок 3 - Схема установки для выращивания монокристаллов по методу Бриджмена

Тигель опускается в более холодную зону печи. Нижняя часть тигля - коническая. Скорость выращивания - также несколько мм/час.

Основным преимуществом метода Бриджмена является его техническая простота. Среди недостатков метода Бриджмена следует выделить невозможность (при высокотемпературной кристаллизации) наблюдать за положением фронта роста и, соответственно, влиять на него. Другим недостатком являются проблемы, связанные с механическим воздействием стенок контейнера на монокристалл. Имеет место и чисто техническая проблема, связанная с извлечением монокристалла из контейнера. В подавляющем большинстве случаев эта проблема решается путем разрушения контейнера, хотя и делались попытки извлечения кристалла из контейнера путем быстрого нагрева перевернутого контейнера с кристаллом в той же печи.

.4 Метод Чохральского

По методу Чохральского производят вытягивание вверх на затравку монокристалла из ванны с расплавом. Нагрев обычно осуществляют при помощи СВЧ-излучения. Для снятия возникающих напряжений используют дополнительную печь, через которую проходит выращиваемый кристалл и отжигается. Может использоваться для выращивания кристаллов элементов и химических соединений, устойчивых при температурах плавления-кристаллизации.

1 - тигель с расплавом, 2 - кристалл, 3 - печь, 4 - холодильник, 5, 6 - механизм вытягивания

Рисунок 4 - Схема установки для выращивания монокристаллов по методу Чохральского

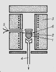
1.5 Метод зонной плавки

Зонная плавка заключается в прогонке зоны расплава по длине заготовки монокристалла, одновременно в зоне расплава концентрируются примеси и происходит очистка кристалла, конечную часть которого затем удаляют. Нагрев осуществляется индукционным, радиационно-оптическим или другим методом. Скорость выращивания по методам 4 и 5 близка к таковой для 2 и 3 методов. При реализации трех последних способов необходимо регулирование газовой среды выращивания.

1 - твердая фаза, 2 - расплав, 3 - нагреватель (стрелкой показано направление движения нагревателя).

Рисунок 5 - Схема устройства для зонной плавки

.6 Гидротермальное выращивание

Исходные оксиды или готовый сложный оксид растворяют в водных растворах кислот или щелочей для реализации гидротермального метода. Выращивание проводят в автоклавах с защитными коррозионно-стойкими вкладышами, например, для ферритов при 375-725 и давлении 1800-2000 атм. Из-за разницы температур в верхней и нижней зонах автоклава вверху выделяется кристалл. Скорость выращивания - от долей мм до нескольких мм в сутки. Выращиваемые монокристаллы обычно имеют высокое качество и характерную кристаллографическую огранку, т.к. растут в условиях более или менее близких к равновесным.

- раствор, 2 - криcталл, 3 - печь, 4 - вещество для кристаллизации ()

Рисунок 6 - Схема автоклава для гидротермального синтеза

.7 Метод твердофазной рекристаллизации

Для выращивания кристаллов путем твердофазной рекристаллизации приводят в соприкосновение керамическую заготовку и монокристаллическую затравку, между ними иногда помещают вещество, инициирующее процесс рекристаллизации, в частности, при получении ферритовых кристаллов - оксид железа (тонкий слой). Если скорость рекристаллизации превышает скорость выхода пор на поверхность, получаемый кристалл может быть довольно пористым. После получения монокристаллов их точно ориентируют в пространстве и подвергают механической обработке. На монокристаллы наносят защитные покрытия и при необходимости слои материалов различного функционального назначения. [6]

. Выращивание кристалловолокон

Для производства волокон диаметром не более 10 мкм применяются главным образом два метода: метод LHPG и метод .

.1 Метод лазерного разогрева (LHPG)

Первые удачные эксперименты по выращиванию кристаллов из расплавленной зоны на пьедестале, используемом в качестве зародыша, были осуществлены Поплавским. Плавление вещества осуществляли с помощью резистивного нагревателя. В 1972 году, Хаггерти и др. разработали технологию LHPG, в которой для нагрева и плавления вещества используют энергию лазерного луча. Позже эта технология была существенно улучшена в Стэнфордском университете Фейгельсоном. На рисунке 7 приведена схема установки для выращивания кристалловолокон методом лазерного разогрева. Нагрев и плавление исходного материала в ней выполняется с помощью инфракрасного (10,06 мкм) -лазера, работающего в стационарном режиме для стабилизации направления и мощности лазерного пучка.

Рисунок 7 - Схематическая иллюстрация метода лазерного разогрева

Во избежание появления холодных участков в зоне плавления в своих экспериментах Феджер использовал оптическую систему, обеспечивающую фокусировку лазерного луча равномерно по всей окружности заготовки. Мощность нагрева регулировалась компьютером. Процесс выращивания кристалловолокна выполнялся в специальной герметичной камере. Эта камера не позволяла случайным воздушным потокам вызывать изменение диаметра выращиваемого волокна, но допускала использовать химически активную или инертную атмосферу или поддерживать вакуум в процессе синтеза (рисунок8).

Рисунок 8 - Внутри ростовой LHPD камеры

Количество энергии, необходимое для того, чтобы расплавить заготовку, зависит от температуры плавления ее материала, диаметра, а такжекоэффициента оптического поглощения. Излучение -лазера (с длиной волны 10,06 мкм) используется, как правило, для веществ с температурой плавления до ~ 3000°С. Наиболее значимой особенностью технологии LHPG является возможность получения различных веществ (в том числе твердых растворов, материалов с неконгруэнтным плавлением и с разной концентрацией примесей) в монокристаллической форме, необходимой для ряда физических, химических и кристаллографических экспериментов. Метод LHPG по этому показателю близок к идеальному методу выращивания монокристаллов, Он позволяет легко получать монокристаллы за гораздо меньший промежуток времени, чем стандартные методы, и по более низкой цене. Кроме того, технология LHPG относится к бестигельным технологиям, что положительно сказывается на химической чистоте выращиваемых кристалловолокон (отсутствуют неконтролируемые примеси и загрязнения от тигля). В качестве исходных материалов в методе LHPG используют заготовки круглого или прямоугольного сечения из поликристаллического(отсутствуют неконтролируемые примеси и загрязнения от тигля). вещества, которые сравнительно легко формируются из прессованных отвердевших расплавов и прокаленных порошков или из образцов, полученных методом горячего прессования.

Рисунок 9 - Выращивание кристалловолокон методом LHPD; слева до погружения, справа во время роста

Для надежного управления диаметром выращиваемого волокна исходные стержни должны иметь круглое сечение постоянного диаметра по всей длине. Перед выращиванием плотность стержней можно повысить путем частичного сплавления частиц заготовки с помощью лазера. Малый диаметр выращиваемых кристаллов позволяет использовать для начала роста различные типы затравок: металлические проволоки (химически инертные), монокристаллы, поликристаллические стержни. За счет того, что дефекты типа кристаллических двойников и дислокаций требуют для своего развития большего пространства, чем толщина волокна, вероятность появления такого рода нарушений в волокне оказывается меньше, чем в объемном кристалле, за исключением случая, когда эти дефекты распространяются вдоль направления роста волокна. Метод LHPG относится к методом направленной кристаллизации и позволяет получать образцы с заданной кристаллографической ориентацией.[7]

В рамках технологии LHPG относительно легко получаются кристалловолокна из веществ, которые плавятся и испаряются конгруэнтно и имеют низкое давление пара при температуре плавления. Однако методы плавающей зоны вообще и метод LHPG в частности вполне пригодны и для получения монокристаллов из составов, плавящихся неконгруэнтно. При использовании заготовки из такого (неконгруэнтно плавящегося) вещества химический состав выращиваемого кристалловолокна отличается от состава как исходной заготовки, так и расплава. Что значит, что расплав неконгруэнтен? Это значит, что одного или более компонентов не хватает для обеспечения требуемой стехиометрии. Тем не менее, с помощью метода LHPG можно вырастить стехиометрические кристалловолокна высокого качества из неконгруэнтно плавящихся и испаряющихся материалов. Для этого в исходную заготовку добавляют в избытке те компоненты (как правило, это летучие компоненты), недостаток которых наблюдается в выращенном волокне. Сегодня метод LHPG широко используется для получения кристалловолокон различных материалов. Существуют, однако, некоторые вещества, для которых технология LHPG непригодна по термодинамическим и кинематическим характеристикам. К таким веществам относятся, например, ИК-материалы, которые плавятся при слишком низкой температуре и имеют при этом существенное испарение. Для таких материалов следует применять другие более подходящие, технологии выращивания, позволяющие избегать диссоциации расплава, например выращивание кристалловолокон в капилляре.

2.2 Технологии вытягивания из мениска

Использование технологии микровытягивания.

Метод выращивания кристалловолокон (метод микровытягивания) был разработан в лаборатории профессора Фукуды в Университете Тохокув Сендае, Япония. На рисунке 10 показана схема метода  и используемый для выращивания волокна кристалл-зародыш. Рост волокна происходит при вытягивании расплава из тигля (как правило, платинового или иридиевого) через микроскопическое отверстие в днище (рисунок 10, а). Плавление исходного материала выполняют с помощью резистивного (пропусканием электрического тока через тигель) или высокочастотного индукционного нагрева. Дополнительный нагреватель из платиновой проволоки или из иридиевой трубки уменьшает перепад температуры на выходе из тигля и используется для уменьшения скорости охлаждения выращенного волокна и снятия термических напряжений в нем. В установке имеется возможность двухкоординатного (X-Y) перемещения тигля.

Рисунок 10 - Схематическая иллюстрация метода микровытягивания с резистивным нагревом (а); подготовка затравки (б)

Рисунок 11 - Конструкция тигля для низкотемпературного метода микровытягивания

Шихта плавится в тигле и проходит через капиллярную трубочку (насадку) или капиллярное отверстие в тигле (в случае иридиевого тигля). Волокно формируется в области соприкосновения зародыша с расплавом на конце насадки. Зародыш медленно опускают с постоянной скоростью, что приводит к вытягиванию расплава из тигля и его кристаллизации. За ростом волокна можно следить с помощью телекамеры. Форму и геометрию тигля выбирают в зависимости от температуры плавления выращиваемого материала и угла смачивания его расплава (рисунок 11). Для материалов, плавящихся конгруэнтно при высоких температурах, используют тигли из иридия и сплава платины и родия. Использование платино-родиевого тигля, однако, снижает оптическое качество кристаллов: у них появляется слабая окраска из-за присутствия родия.

В таблице1 приведены результаты сравнения методов LHPG и . Очевидно, что отсутствие тигля в методе LHPG является неоспоримым преимуществом в плане качества получаемых кристалловолокон, которые не загрязняются материалом тигля в процессе роста.[1]

Таблица1 - Сравнение методови LHPD


2.3 Иллюстрации возможностей методов выращивания кристалловолокон

Для получения монокристаллов ниобата лития (NL) традиционно используется метод Чохральского. Обычно монокристаллические були NL являются конгруэнтными (соотношение компонентов расплава не меняется во время его кристаллизации)" но нестехиометрическими по составу. Хотя в области выращивания кристаллов NL был достигнут значительный прогресс, проблема нестехиометрического состава остается нерешенной. Монокристаллы качественно лучше, чем конгруэнтный кристалл NL, и потому новые исследования процессов роста этих кристаллов остаются актуальными. Такие исследования, несомненно, должны помочь в установлении взаимосвязи между режимами синтеза этих материалов, их химическими свойствами и оптическими характеристиками. Технология LHPG является одной из возможных технологий для изучения особенностей синтеза кристаллов ниобата лития.

С использованием метода LHPG были выращены высококачественные (без видимых дефектов, нарушающих прозрачность) кристалловолокна и  (рисунок12). Для образца , выращенного со скоростью 70 мм/ч, с помощью измерения интенсивности люминесценции при точечном (хорошо сфокусированном) возбуждении была измерена картина распределения  вдоль оси волокна. На основании этих данных установили, что концентрация  неравномерна и стремится к постоянному значению, равному концентрации  в исходном стержне (заготовке), в полном соответствии с формулой Пфанна:

,

где - концентрация  в волокне в точке ; - концентрация  в заготовке; - коэффициент распределения; - радиус волокна; - радиус заготовки; - объем зоны расплава; - скорость движения волокна; - скорость движения заготовки; - плотность заготовки; - теоретическая плотность кристалла.[1]

Рисунок 12-Волокно  выращенное методом LHPD (масштаб в мм)

При проведении исследований, направленных на выявление возможности применения активированных иттербием волокон ниобата лития для самоудвоения частоты ИК-лазерного излучения (1060 нм) и получения излучения в зеленой области спектра (530 нм), были выполнены измерения длины волны, соответствующей режиму фазового синхронизма при некритическом двойном лучепреломлении при комнатной температуре. Было обнаружено, что длина волны фазового синхронизма при комнатной температуре в значительной степени зависит от состава образца, что позволяет точно подстроить ее под длину волны лазерного излучения (1060нм). Самую короткую длину волны при фазовом синхронизме дает волокно, обогащенное литием (49,47 мол. % ) и выращенное из заготовки с 50 мол.% при скорости вытягивания 120 мм/ч.[9]

Волокна ниобата лития, полученные методом , по качеству были близки к волокнам, полученным методом LHPG. Уда и др., осуществлявшие выращивание волокна  методом , наблюдали характерную для этого метода инверсию температурного градиента в зоне расплава. Такое поведение градиента температуры уменьшает влияние электрического поля в расплаве и способствует однородному распределению компонентов в кристаллах среднего и большого диаметра. С использованием технологии микровытягиванияЮну и др. удалось вырастить волокно  без дефектов кристаллической структуры.

Состав большинства кристалловолокон, полученных методами  и LHPG, оказался ближе к стехиометрическому, чем состав кристаллов, получаемых по иным технологиям, таким как методы Чохральского или Бриджмена. Это все связано с тем, что зона расплава в методах  и LHPG имеет малые в сравнении с другими известными методами размеры, что заметно понижает интенсивность конвекции и ее негативное влияние на состав и качество получаемых материалов.[10]

3. Методика проведения эксперимента

Управление измерениями, сбор данных и их обработка производилась на ЭВМ, объединенной при помощи устройства сопряжения со спектрально-измерительными комплексами на основе монохроматора МДР-204.

Рисунок 13 - Оптическая схема установки по проведению спектрально-кинетических исследований.

4. Экспериментальное определение однородности вхождения оптических центров в кристалловолокне

Диаметр кристалловолокна варьировался от 100 до 300 мкм. Поскольку волокно не было покрыто защитной пленкой, то оно представляло собой хрупкий материал. Причем эта данность волокна усугубляется фактом покрытия его поверхности белесой пленкой. Наличие такой хрупкости и помутнения поверхности волокна говорит о том, что с поверхности происходит испарение лития, что приводит к увеличению дефектов поверхности и высокой степени хрупкости волокна. Таким образом в исследованиях использовался образец волокна длиной около 2 см.

Проблема проведения эксперимента традиционно для волокна заключается в методе ввода излучения в волокно. Учитывая хрупкость волокна и отсутствие защитного покрытия, нами был выбран способ определения распределения оптических центров по длине волокна с поверхности образца.

На полученном лабораторном образце кристалловолокна были проведены необходимые кинетические исследования, фотография получения экспериментальных данных приведена на рисунке 14.

Рисунок 14 - Фотография внешнего вида экспериментальной установки

Кинетики люминесценции оптических центров измерялись после возбуждения импульсом основной гармоники лазера - 1560нм, с длительностью импульсов ~10 нс. Спектральная область измерений кинетик люминесценции выбиралась при помощи монохрматора МДР-204 c решеткой 600 штр/мм (обратная линейная дисперсия 5.2 нм/мм, область спектральной чувствительности 380-2500нм).

Для измерения люминесценции и кинетик люминесценции использовалсялавинный фотоприемник с областью спектральной чувствительности 0.8-1.7 мкм.

На рисунке 15 представлен вид кинетики затухания люминесценции на длине волны 1560нм.


Сплошной красной линией показана теоретическая аппроксимация


где - люминесцентное время жизни; - импульс лазера; - текущее время.

Рисунок 16 - Зависимость интенсивности излучения люминесценции на 980 нм от длины кристалловолокна

Рисунок 17 - Зависимость интенсивности излучения люминесценции на 1560 нм от длины кристалловолокна


Заключение

Основные результаты курсовой работы состоят в следующем:

Изучены основные технологии выращивания кристалловолокон. Кристаллические структуры в форме волокон могут быть получены из расплавов, растворов и паров.

Получен лабораторный образец кристалловолокна , легированного.

Исследованы полученные кристалловолокна на однородность вхождения оптических центров по длине волокна.

Проведены исследования кинетик затухания люминесценции, при помощи которых оптические центры отождествляются с ионами эрбия.

Список использованных источников

Фукуда Ц. Выращивание кристалловолокон из расплава / Ц. Фукуда, пер. с англ. под ред. Б. В. Шульгина. - М.: ФИЗМАТЛИТ, 2009. - 368 с.

Сидоров Н. В. Фоторефрактивные свойства номинально чистых и легированных нелинейно-оптических монокристаллов ниобата лития / Н. В. Сидоров // Новые технологии. - 2010. - № 1 (28). - С. 32-40.

Желтиков А. М. Нелинейная оптика микроструктурированных волокон / А. М. Желтиков // Успехи физических наук. - 2008. - Т. 174, №1. - С. 73-105.

Сидоров Н. В Ниобат лития: дефекты, фоторефракция, колебательный спектр, поляритоны / Н. В Сидоров. - М.: Наука, 2003. - 250 с.

Калинников В. Т. Фундаментальные основы технологии высокосовершенных монокристаллов ниобата и танталата лития: аналитический обзор / В. Т. Калинников. - Апатиты: КНЦ РАН, 2005

Екатеринбургская университетская сеть. URL: http: //www.eunnet.net/ [15 февраля 2012]

Палатников М. Н. Сегнетоэлектрические твердые растворы на основе оксидных соединений ниобия и тантала / М. Н. Палатников. - Санкт-Петербург: Наука, 2002. - 304 с.

Сюй А. В. Трехслойная спекл-структура в фоторефрактивном монокристалле ниобата лития: сборник научных трудов / А.В. Сюй. - М.: НИЯУ МИФИ, 2011 - С. 189-190.

On-line издание, посвященное вопросам наноиндустрии. URL: http: //www.nanonewsnet.ru/ [25 марта 2012]

Антонычева Е. А. Структурный беспорядок в монокристаллах ниобата лития и его проявление в фотореактивном и комбинационном рассеянии света: диссертация канд. физ.-мат. наук / Е. А. Антонычева. - Хабаровск, Федеральное государственное бюджетное учреждение науки Физический институт им. П.Н. Лебедева 2012. - 23 с.

Похожие работы на - Получение и изучение кристалловолокон ниобата лития

 

Не нашли материал для своей работы?
Поможем написать уникальную работу
Без плагиата!
Без нейросетей!