Конструирование и расчет элементов оборудования
Министерство
науки и образования Российской Федерации
Федеральное
государственное бюджетное образовательное учреждение
Высшего
профессионального образования
Волгоградский
государственный технический университет
Кафедра
«Процессы и аппараты химических производств»
Курсовая
работа
«Конструирование
и расчет элементов оборудования»
Выполнил
студент
гр. ХМАМ-5
Тарабрин
Т.Ю.
Проверил:
Ильина
Л.А.
Волгоград
2013г.
Введение
Расчету на прочность от внутреннего избыточного
давления или наружного давления и от внешних нагрузок (силы тяжести, ветровых
нагрузок, сейсмических и др.) должны подвергаются все основные элементы
аппарата (обечайки, днища, опоры и другие несущие нагрузки детали).
Стандартные сборочные единицы и детали при
конструировании аппарата выбирают на ближайшее большее условное давление для
рабочей температуры и, как правило, на прочность не рассчитываются.
Обычно аппараты работают при однократной или
многократной (если общее число циклов за время эксплуатации не превышает 1000,
то нагрузка в расчетах на прочность условно считается однократной) статической
нагрузке, на которую и проводят все расчеты на прочность элементов, сборочных
единиц и аппарата в целом.
При многократной статических нагрузках, если
число циклов нагружения будет больше 1000 за весь срок эксплуатации,
рассчитываемые элементы подлежат проверке на усталостную прочность. Если
колебания нагрузки не превышает 15% от расчетной, то эта проверка независимо от
числа циклов не производится.
Техническое задание
Произвести расчет аппарата на прочность
элементов корпуса аппарата при действии внутреннего давления; расчет толщины
стенки цилиндрической обечайки корпуса, находящейся под рубашкой, из условия
устойчивости; расчет укрепления отверстия для люка; эскиз фланцевого соединения
с нанесением требуемого размера.
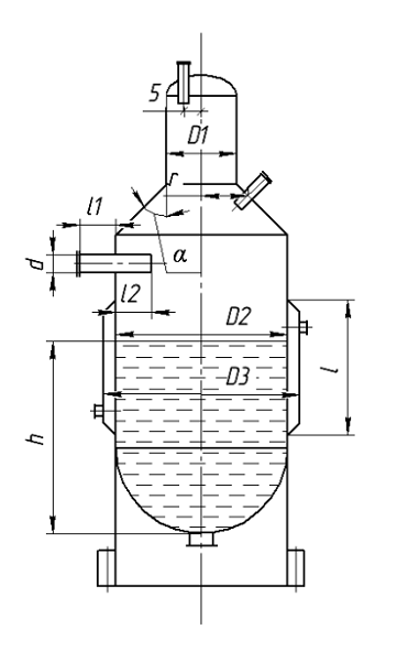
Рисунок 1 - Схема колонного аппарата
Исходные данные
Таблица 1 - Исходные данные
|
Вариант
|
Расчетная
температура стенки аппарата t, ºC
|
Давление
в аппарате p, МПа
|
Давление
в рубашке pруб, МПа
|
Марка
стали
|
Прибавка
к расчетным толщинам стенок с, мм
|
Диаметр
D1, м
|
Диаметр
D2, м
|
Диаметр
D3, м
|
Высота
рубашки l, м
|
Диаметр
отверстия d, мм
|
Длина
наружной части штуцера l1, мм
|
Длина
внутренней части штуцера l2, мм
|
Плотность
среды в аппарате ρ, кг/м3
|
Высота
слоя жидкости h, м
|
|
1.7
|
85
|
0,3
|
0,15
|
ВСт3сп
|
1,6
|
1,2
|
2,2
|
2,6
|
1,0
|
650
|
300
|
50
|
1100
|
3,5
|
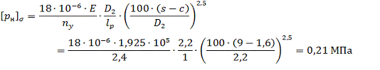
. Расчет на прочность элементов корпуса аппарата
при действии внутреннего давления
Гидростатическое давление
Расчетное давление
Следовательно
Нормативное допускаемое напряжение при расчетной
температуре
Допускаемое напряжение при температуре 20 ºC
где поправочный коэффициент для листового
проката.
Допускаемое напряжение при рабочей температуре
Допускаемое давление в условиях гидравлических
испытаниях

Модуль упругости при расчетной температуре:
.1 Расчет эллиптической оболочки,
нагруженной внутренним давлением
Рисунок 2 - Расчетная схема эллиптической
оболочки, нагруженная внутренним давлением
Расчетная толщина стенки
Исполнительная толщина стенки
Допускаемые давление
В рабочем состоянии
При испытаниях
Что больше расчетного давления и давления при
испытании. Следовательно данная толщина стенки пригодна.
цилиндрический обечайка корпус фланцевый
1.2 Расчет цилиндрической оболочки, нагруженной
внутренним давлением
Рисунок 3 - Расчетная схема цилиндрической
оболочки, нагруженная внутренним давлением
Расчетная толщина стенки
Исполнительная толщина стенки
Допускаемое давление
В рабочем состоянии
При испытаниях
Что больше расчетного давления и давления при
испытании. Следовательно данная толщина стенки пригодна.
.3 Расчет конической оболочки, нагруженной
внутренним давлением
Рисунок 4 - Расчетная схема конической оболочки,
нагруженная внутренним давлением
Расчетная толщина стенки
Исполнительная толщина стенки
Допускаемое давление
В рабочем состоянии
При испытаниях
Что больше расчетного давления и давления при
испытании. Следовательно данная толщина стенки пригодна.
.4 Расчет цилиндрической оболочки, нагруженной
внутренним давлением
Рисунок 5 - Расчетная схема цилиндрической
оболочки, нагруженная внутренним давлением
Расчетная толщина стенки
Исполнительная толщина стенки
Допускаемое давление
В рабочем состоянии
При испытаниях
Что больше расчетного давления и давления при
испытании. Следовательно данная толщина стенки пригодна.
1.5 Расчет сферической оболочки, нагруженной
внутренним давлением
Рисунок 6 - Расчетная схема сферической
оболочки, нагруженная внутренним давлением
Расчетная толщина стенки
Исполнительная толщина стенки
Допускаемое давление
В рабочем состоянии
При испытаниях
Что больше расчетного давления и давления при
испытании. Следовательно данная толщина стенки пригодна.
.6 Расчет цилиндрической оболочки - штуцера,
нагруженной внутренним давлением
Рисунок 7 - Расчетная схема цилиндрической
оболочки - штуцера, нагруженная внутренним давлением
Расчетная толщина стенки
Исполнительная толщина стенки
Допускаемое давление
В рабочем состоянии
При испытаниях
Что больше расчетного давления и давления при
испытании. Следовательно данная толщина стенки пригодна.
.7 Расчет фланцевого соединения аппарата
Рисунок 8 -Схема действия нагрузок на фланец в
рабочих условиях
Толщина втулки примем s0=3 мм, что удовлетворяет
условию≤s0≤1.3s(3≤3 3.9)-s<5мм(3,9-3=0,9<5мм)
Толщина s1 втулки по формуле
Где
=2
при
Высота втулки
Примем
=0,01м.
Эквивалентная толщина втулки фланца
Диаметр болтовой окружности
Примем
=0,72м
Наружный диаметр фланца
Примем
=0,76м
Наружный диаметр прокладки по формуле
Средний диаметр прокладки
Количество болтов
Высота фланца
Принимаем hф=11 мм
Расстояние между опорными поверхностями гаек для
фланцевого соединения с уплотнительной поверхностью типа «шип-паз»
Нагрузки действующие на фланец. Равнодействующая
внутреннего давления
Реакция прокладки
=0.0014м; kпр=2,5
Усилие, возникающее от температурных деформаций
где αф=16,6·10-6
1/°С и αб=13,1·10-6
1/°С - коэффициенты линейного расширения материала фланцев (12Х18Н10Т) и болтов
(35Х); tф=0,96t=0.96·85=81,6°С; tб=0,95t=0.95·85=80,7°С; Eб=2·105МПа;
fб=2,35·10-4м2;nб=16.
Еп=2000 МПа

Коэффициент жесткости фланцевого соединения
Болтовая нагрузка в условиях монтажа до подачи
внутреннего давления

Приведенный изгибающий момент
Проверка прочности и герметичности соединения.
Условия прочности болтов
.7 Расчет плоской крышки, нагруженной внутренним
давлением
Рисунок 8 - Расчетная схема плоской крышки,
нагруженная внутренним давлением
Расчетная толщина стенки
Примем по рисунку 1 тип закрепления г [1], при
котором коэффициент K = 0,40, а расчетный диаметр Dp = Dб = 720мм = 0,72 м. Так
как в крышке отверстий нет, коэффициент K0 = 1.
Исполнительная толщина стенки,
Допускаемое давление:
Что больше расчетного давления и давления при
испытании. Следовательно данная толщина стенки пригодна.
Типовые конструкции отъемных крышек
изготавливаются из листов или поковок.
Фланец на штуцер был исходя из ГОСТ 12830-67
[2].
Эскиз фланцевого соединения со стандартными
значениями приведен на рисунке 9.
Рисунок 9 - Эскиз фланцевого соединения
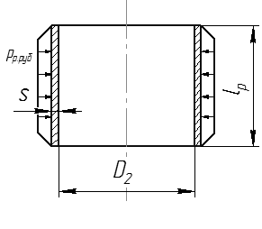
.8 Расчет цилиндрической оболочки - рубашки, нагруженной
внутренним давлением
Рисунок 10 - Расчетная схема цилиндрической
оболочки - рубашки, нагруженной внутренним давлением
Следовательно
Расчетная толщина стенки
Исполнительная толщина стенки
Допускаемое давление
В рабочем состоянии
При испытаниях
Что больше расчетного давления и давления при
испытании. Следовательно данная толщина стенки пригодна.
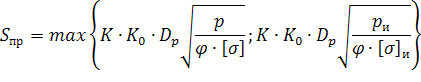
2. Расчет оболочек, нагруженных наружным
давлением
Рисунок 11 - Расчетная схема оболочки,
нагруженной наружным давлением
Оболочки находящейся под действием наружного
давления требуют проверку на потерю устойчивости.
где наружное расчетное давление; допускаемое
наружное давление.
Определим расчетную и исполнительную толщину
оболочки, нагруженную наружным давлением.
=
=sp+c+c0=7.1+1.6+0.3=9мм
где K2 - коэффициент, зависящий от значений
коэффициентов K1 и K2, и определяется по рисунку [3].
где ny - коэффициент запаса устойчивости, для
рабочих условиях равный 2,4, для условий испытаний и монтажа 1,8; lp -
расчетная длина оболочки.
Длина, разделяющая цилиндрические оболочки на
длинные и короткие, называется критической и определяется по формуле:
Допускаемое наружное давление определяется из
условия прочности и устойчивости:
где допускаемое давление из условия прочности:
а допускаемое давление из условия устойчивости в
пределах упругости для коротких обечаек:
Проверку на потерю устойчивости:
Условие устойчивости выполнено.
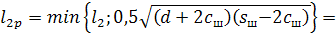
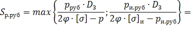
3. Расчет укрепления отверстий
Отверстия в стенках корпуса аппарата ослабевают
стенку, поэтому должны быть укреплены. Используем геометрический критерий
укрепления отверстий, предусматривающий компенсацию площади продольного сечения
выреза с помощью дополнительных укрепляющих элементов расположенных в зоне, прилегающей
к отверстию.
- укрепляемая оболочка; 2 - штуцер; 3 -
накладное кольцо
Расчетный диаметр укрепляемой оболочки
- для
цилиндрической оболочки
Расчетный диаметр отверстия. Для нашего случая
ось штуцера совпадает с нормалью к поверхности в центре отверстия (х = 0).
Расчетный диаметр одиночного отверстия, не
требующего укрепления
= 58,0 мм
, следовательно
отверстие требует укрепления.
Площадь продольного сечения наружной части
штуцера:
ш-исполнительная толщина стенки штуцера
(0,8-1)s=1s=9мм
где расчетная длина наружной части штуцера
равна:
Площадь продольного сечения внутренней части
штуцера:
где расчетная длина внутренней части штуцера
равна:
Площадь продольного сечения оболочки,
участвующей в укреплении:
где расчетная длина образующей оболочки в зоне
укрепления:
Примем толщину стенки накладного кольца sк = 8
мм.
Площадь продольного сечения накладного кольца в
зоне укрепления:
Площадь продольного сечения выреза, подлежащая
компенсации
где расчетный диаметр отверстия, не требующего
укрепления, при отсутствии избыточной толщины стенки укрепляемой оболочки:
где
,
т. к. штуцер, накладное кольцо и укрепляемая оболочка выполнены из одного
материала.
Условие выполняется, следовательно, укрепляющее
кольцо толщиной 8,0 мм и длиной более 189,0 мм нам подходит.
Список использованной литературы
1 Ефремов,
М. Ю. Конструирование и расчет элементов оборудования: учеб. пособие / М. Ю.
Ефремов, А. Б. Голованчиков, Н. В. Шибитова. - Волгоград: ИУНЛ ВолгГТУ, 2008.
Лащинский,
А. А. Конструирование сварных химических аппаратов: Справочник. - 3-е изд.,
перепечатка с 1981 г. М. : Альянс, 2011.
Михалев,
М. Ф. Расчет и конструирование машин и аппаратов химических производств:
Примеры и задачи: Учеб. пособие / М. Ф. Михалев [и др.] : под ред. М. Ф.
Михалева. - Л. : Машиностроение, 1984.