Расчет аппарата высокого давления
МАЭ РФ
Северский
Государственный Технологический Институт
Кафедра
МАХП
Расчёт
аппарата высокого давления
Расчёты
КиР 800.01.07.00 РР
Преподаватель
Русаков И.Ю.
Студент гр. Д-080
Кочемасов К.
Северск -
2003
Содержание
Введение
1.Цель расчета
. Данные для расчета
3. Расчёты
3.1 Выбор конструкционных материалов
3.2 Расчёт корпуса на прочность
3.3 Расчёт
крышки на прочность
3.4 Расчёт
днища на прочность
3.5
Определение удельной тепловой нагрузки
.6 Расчёт
напряжений от внутреннего давления
3.7 Расчёт
эквивалентный напряжений
3.8 Расчёт
прочности шпилек для соединения крышки с корпусом
.9 Расчёт
суммарных осевых податливостей крышки
.10 Расчёт
нижнего затвора
.11 Расчёт
прочности шпилек для соединения днища и корпуса
.12 Расчёт
суммарных осевых податливостей днища
.13
Определение размеров концевых элементов корпуса
.14 Расчёт
массы пустого и заполненного аппарата
3.15 Расчет
массы пустого и заполненного аппарата
Заключение
Литература
Приложение А
аппарат корпус днище затвор
Введение
Использование толстостенных сосудов и аппаратов во многих отраслях
промышленности, в частности, химической, весьма значительно.
К толстостенным сосудам, чаще называемым аппаратами высокого давления
(АВД), относятся аппараты, работающие при давление более 10МПа. Толщина стенки
корпуса такого аппарата превышает 10% его внутреннего диаметра. Конструкция АВД
определяется требованиями химико-технологического процесса, эксплуатационными
параметрами и характеристиками (давление, температура, свойства рабочей среды,
режим работы), производительностью, мощностью и оснащённостью технологическим
оборудованием заводов-изготовителей, условиями транспортировки и монтажа. АВД
могут быть как без внутренних устройств в качестве баллонов, резервуаров,
аккумуляторов, ресиверов, так и с внутренними устройствами, включающими, кроме
самого сосуда, различные реакционные, теплообменные и другие устройства,
размещаемые внутри корпуса.
Не смотря на большое количество конструкций АВД, в любой из них можно
выделить основные элементы: корпус, состоящий из обечайки и фланцев, крышки,
днища, затворные и уплотнительные устройства и опоры. Так как указанные
элементы общими, поэтому при проведении расчётов необходимо ознакомиться с их
конструкциями.
Данная работа посвящена расчёту аппарата высокого давления.
. Цель расчета
Целью расчета является закрепление теоретических знаний,
расчетно-практических рекомендаций по курсу "Конструирование и расчет
элементов оборудования отросли" и их приложение к конкретному прочностному
расчету отдельных конструктивных элементов аппарата высокого давления.
2. Данные для расчета
Данные для расчета приведены в таблице 1.
Таблица 1 - Данные для расчета
|
Рабочая среда, 5%
|
CH3COOH
|
|
Давление, МПа
|
100
|
|
Диаметр аппарата D,
мм
|
1000
|
|
Тип крышки
|
Эллиптическая
|
|
Уплотнительное соединение
|
С кольцом 8-го сечения
|
|
Тип днища
|
Плоское с радиусным
переходом r=50мм
|
|
Уплотнительное соединение
|
С двухконусным кольцом
|
|
Отверстия в крышке di, мм
|
100
|
|
Высота аппарата Н, м
|
6,5
|
|
Срок службы аппарата, лет
|
10
|
3. Расчеты
.1 Выбор конструкционных материалов
За расчётную температуру стенки сосуда принимают наибольшее значение
температуры стенки
Для
корпуса, крышки и днища аппарата принимаем материал - сталь 22Х3М со скоростью
коррозии 0,1 мм/год и имеющую предел прочности и предел текучести, равные
Допускаемое напряжение определяют по формуле из [1, с.122]:
где
h - поправочный
коэффициент, учитывающий условия эксплуатации аппарата, так как среда не опасна
и не токсична, принимаем равным 1;
Коэффициент
запаса прочности по пределу прочности - пВ и пределу
прочности текучести - пТ в зависимости от условий нагружения
следует определить в соответствии с таблицей 2.
Таблица 2 - Коэффициенты запаса прочности
|
Условия нагружения
|
Коэффициенты запаса
прочности
|
|
пТ
|
пВ
|
|
Рабочие условия
|
1,5
|
2,6
|
|
Условия испытания
|
1,1
|
-
|
где пТ - коэффициент запаса прочности по пределу
текучести;
пВ - коэффициент запаса прочности по временному сопротивлению.
Коэффициенты
прочности сварных швов для сосудов и аппаратов, кованных стальных выбираем
согласно [1, с. 122] и принимаем
= 1,0.
Расчётные
значения модуля продольной упругости - Е в зависимости от температуры должны
соответствовать [1]. При температуре 1000С для стали 22Х3М
модуль продольной упругости равен Е = 2×105МПа.
Прибавку
к расчётным толщинам следует определять по [1]:
С=
С1 + С2+ С3.
Так
как суммарные действия С1 и С2 не превышают
5% , то эти прибавки не учитываются.
С1
= П×t,
где
П - скорость коррозии мм/год;
t - срок службы
аппарата, лет.
С
= С1 = 0,1×10 = 1мм.
3.2
Расчёт корпуса на прочность
Расчётный
коэффициент согласно [2] рассчитывается по формуле:
Результатом
проектного расчёта цилиндрической обечайки аппарата высокого давления является
определение толщины стенки. Из геометрических соотношений находим:
SR=RH -R= 0,5×D×(bR -1);
S≥ SR + C;
где
RH, R - соответственно наружный и внутренний радиусы
толстостенной цилиндрической обечайки;
SR= 0,5×1000×(1,555-1)=277,5мм;
S≥
277,5 + 1=278,5мм.
Принимаем
S = 370мм.
Допускаемое
давление следует рассчитывать по формуле[1, с 128]:
[p]=[б]×j × lnb,
где
[p]=370×1 × ln1,736= 204МПа.
Проверяем
условие
;
.
Расчёт примем для цилиндрических обечаек при условии:
.2.1
Расчёт на прочность при гидравлических испытаниях
Для условий испытаний сосудов и аппаратов допускаемое напряжение согласно
рекомендации [1] определяем:
где
Допускаемое
давление
[p]И=[б]И×j × lnb;
[p]И=327,27
× ln1,736
=180,5МПа.
Проверяем условие
;
.
.3 Расчёт крышки на прочность
Предварительная расчётная толщина эллиптической части крышки
определяется:
где
R- внутренний радиус эллиптической части крышки, м.
ψ0 - коэффициент ослабления
крышки отверстиями, рассчитываемый по формуле:
Тогда

Принимаем толщину стенки крышки Sк=180мм.
Допускаемое
внутреннее избыточное давление следует рассчитывать по формуле:
Получаем:
Для эллиптической крышки H=0,25.D,
3.4 Расчёт днища на прочность
Расчётная толщина днища плоского с радиусным переходом:
где
К0=1 - коэффициент ослабления днища отверстиями.
Принимаем
S2 =
320мм.
Допускаемое
давление
Проверяем условие
;
.
Расчёт примет вид для плоских днищ при условии:
3.5 Расчёт напряжений от внутреннего давления
В большинстве случаев аппараты работают под внутренним давлением, тогда
радиальные, меридиональные и кольцевые напряжения рассчитываются по формулам
согласно [3].
Наружный
радиус корпуса:
RH = R +S;
RH = 500 + 370 = 870мм.
При
r = RH = 870мм:
При
При
r = R =500мм:
Рисунок
- Эпюра напряжений от внутреннего давления
Таблица
3 - Распределение напряжений от внутреннего давления
|
Вид напряжения
|
r =RH, мм
|
r = R, мм
|
|
|
sr, МПа
|
0
|
-30,45
|
-100,7
|
|
st, МПа
|
99,32
|
129,8
|
200
|
|
su, МПа
|
49,66
|
49,66
|
49,66
|
.6 Расчёт напряжений от тепловых нагрузок
Многие химические реакции протекают при высоком давлении в необходимом
интервале и с нужной скоростью лишь при поддержке определённой температуры.
Поэтому стенки таких аппаратов оказываются под воздействием не только давления,
но и тепловых нагрузок.
Повышение температуры стенок:
Dt = tнагр - tс;
Dt = 100 - 20 = 800С.
Радиальные, меридиональные и кольцевые напряжения для цилиндрической
стенки сосуда с тепловыми нагрузками определяются по формулам:
где
a - коэффициент линейного расширения, равный для стали
22Х3М a=16,6×10-6
1/град;
m - коэффициент
Пуассона, равный для сталей m=0,3.
При
r = R = 500мм:
При
При
r = RН = 870мм:
Таблица
4 - Распределение напряжений от тепловых нагрузок
|
Вид напряжения
|
r = RH, мм
|
r = R, мм
|
|
|
srDt, МПа
|
0
|
-24,51
|
0
|
|
stDt, МПа
|
155,4
|
16,2
|
-217
|
|
suDt, МПа
|
155,4
|
-8,3
|
-217
|
На рисунке 4 показано эпюра напряжений от тепловых нагрузок.
Рисунок
4 - Эпюра напряжений от тепловых нагрузок
3.7 Расчёт эквивалентных напряжений
При совместном действии давления и температуры определяются суммарные
нормальные напряжения согласно [3] по формулам:
При
r = R = 500мм:
При
При
r = RН = 870мм:
Видим,
что мах напряжение распределяется на внутреннем диаметре аппарата.
Эквивалентные
напряжения в этом случае рассчитываются по 4 теории прочности:
Проверим
условие:
3.8 Расчёт верхнего затвора
Расчёт верхнего затвора производим согласно [4].
Расчётное усилие, действующее на шпильку, вычисляют по формуле:
Q = Qд + Qв.
Равнодействующую внутреннего давления среды на крышку вычисляют по
формуле:
Qд = 0,25×D2СР× П × Р.
Средний диаметр уплотнительного соединения рассчитываем по формуле:
По
конструкции и конструктивным соображениям прокладку с двухконусным кольцом
между крышкой и обечайкой выполняют из стали 20Х3МВФ, для которой
,
:
Осевую
составляющую равнодействующей внутреннего давления среды на уплотнительное
кольцо, вычисляют по формуле:
где
,
Тогда:
В
итоге расчётное усилие герметизации для затвора с двухконусной прокладкой
равно:
3.9 Расчет прочности шпилек для соединения крышки с корпусом
Расчетный диаметр стержня шпильки согласно [5]
где
- коэффициент, учитывающий тангенциальные напряжения
в шпильке при затяге;
-
коэффициент, учитывающий неравномерность распределения нагрузки между
шпильками;
-
диаметр центрального отверстия, мм;
- предел
текучести материала шпильки;
- число
шпилек в затворном узле.
Принимаем согласно [3] для шпильки с резьбой более М 85х6
количество
шпилек
Допускаемое
напряжение для материала шпильки
где
- минимальное значение предела текучести материала
шпильки при расчётной температуре;
-
поправочный коэффициент, учитывающий условия эксплуатации;
-
коэффициент запаса прочности.
Рисунок - Эскиз шпильки
Принимаем для шпильки материал сталь 34ХН3М, для
которой
Диаметр
стержня шпильки принимаем по таблице 2.5 [3], из
условия
Диаметр
резьбы шпильки назначается в зависимости от диаметра
согласно таблицы 2.5 [3]
Таблица 6 Основные размеры шпильки и резьбовых гнезд, мм
|
Диаметр резьбы
|
Диаметр стержня шпильки
|
Диаметр резьбы гнезда
корпуса
|
Глубина гнезда под шпильку
|
|
dр, мм
|
dc, мм
|
L, мм
|
L2
|
|
150
|
141,5
|
235
|
250
|
Диаметр болтовой окружности Dбmin,
минимально необходимый для размещения шпилек, определяется уравнением
3.10 Расчет суммарных осевых податливостей крышки
Среднюю
величину температуры деталей уплотнения принимают для сосудов и аппаратов,
крышка и фланец корпуса которых не теплоизолированы с нагрузкой поверхности
где
- температура фланца 0С;
-
температура корпуса 0С;
-
температура шпильки 0С;
-
температура уплотнительных колец 0С;
-
температура шайбы 0С.
Для
каждого материала соответствуют коэффициенты линейного расширения, равные для
восьмиугольного уплотнительного кольца
для
плоской прокладки
для шайбы
для
крышки
для днища
для
фланца
Суммарное осевое температурное перемещение деталей уплотнения в зоне
контакта вычисляют по формуле:
Расчетную
длину шпильки вычисляют по формуле
Величину
зазора
определяют конструктивно:
Высоту
шайбы
принимают конструктивно:
Толщина
крышки
= 180 мм.
Суммарный
коэффициент осевой податливости уплотнения вычисляют по формуле:
Коэффициент
осевой податливости уплотнительного кольца вычисляют по формуле:
где
Допускается
при упрощенных расчетах принимать
Коэффициент
осевой податливости шпилек вычисляют по формуле:
Коэффициент
осевой податливости шайб вычисляют по формуле:
где
- площадь поперечного сечения шайбы, равная

Осевую
нагрузку, действующую на шпильку от неравномерности нагрева элементов
уплотнения, а также различие коэффициентов линейного расширения его сопрягаемых
деталей вычисляют по формуле:
3.11 Расчет нижнего затвора
Расчёт нижнего затвора производим согласно [4].
Расчётное усилие, действующее на шпильку, вычисляют по формуле:
Q = Qд + Qв.
Равнодействующую внутреннего давления среды на днище вычисляют по
формуле:
Qд = 0,25×D2СР× π × Р.
Средний диаметр уплотнительного соединения рассчитываем по формуле:
По
конструкции и конструктивным соображениям прокладку восьмиугольного сечения
между днищем и обечайкой выполняют из стали 20Х3МВФ, для которой
,
:
Осевую
составляющую равнодействующей внутреннего давления среды на уплотнительное
кольцо, вычисляют по формуле:
где
- угол конуса уплотнительной поверхности;
l
- ширина уплотняющей поверхности;
- угол
трения на уплотнительных поверхностях, принимают 11040I
Ширину уплотнительной поверхности определяют по формуле
Толщина
уплотнительного кольца равна:
Принимаем
b=45мм.
Ширину
перемычки в корпусе сосуда определяют из условия
Принимаем
Т=92мм.
Высоту
цилиндрической части кольца принимаем в зависимости от внутреннего диаметра
сосуда (D=1000мм)
Глубину
конической части канавки рассчитываем по формуле:
- полная
высота уплотнительного кольца, рассчитываем по формуле:
Полная
глубина канавки под уплотнительное кольцо определяем по формуле:
,
где
, но не менее 3мм,
1 - уплотнительное кольцо; 2 - элемент уплотнения крышки; 3 - элемент
уплотнения корпуса
Рисунок 5 - Восьмиугольное уплотнение
Эскиз нижнего затвора приведен на рисунке 5.
.12 Расчет прочности шпилек для соединения днища и корпуса
Расчётный диаметр стержня шпильки определяют из условия прочности при
нагружение ее силой Q с учётом
дополнительных напряжений, возникающих от крутящего момента при затяжке:
где
Допускаемое напряжение для материала шпильки

где
- коэффициент запаса прочности.
Для
шпилек соединяющих днище с корпусом, принимаем такой же материал, как и для
шпилек, соединяющих крышку с корпусом и допускаемые напряжения будут равны (см.
п. 9.2)
Принимаем количество шпилек
Диаметр
центрального отверстия:
Таблица 7 - Основные размеры шпилек и
резьбовых гнезд, мм
|
Диаметр резьбы
|
Диаметр стержня шпильки
|
Длина резьбы гнезда корпуса
|
Глубина гнезда под шпильку
|
|
dр, мм
|
dc, мм
|
L, мм
|
L2
|
|
150
|
141,5
|
235
|
265
|
Диаметр болтовой окружности фланца днища, минимально необходимый из
условия размещения шпилек, определяется уравнением:
Принимаем
диаметр болтовой окружности
.
На
рисунке 8 изображен эскиз шпильки для соединения днища с корпусом.
Рисунок Эскиз шпильки
.13 Расчет суммарных осевых податливостей днища
Суммарное осевое температурное перемещение в зоне контакта вычисляют по
формуле:
Размер
, вычисляют по формуле:
Размер
, принимаем конструктивно равным толщине днища
,
Размеры
и
определяем
конструктивно. Согласно /6/
Принимаем
Размер
равен
Расчетную
длину шпильки вычисляют по формуле:
Величину
зазора
определяем конструктивно с учетом размеров элементов
уплотнения:
Высоту
шайбы
определяем конструктивно:
Суммарный коэффициент осевой податливости уплотнения вычисляют по
формуле:
Коэффициент
осевой податливости уплотнительного кольца вычисляют по формуле:
где
Допускается
при упрощенных расчетах принимать
Коэффициент
осевой податливости фланца днища допускается принимать:
Коэффициент
осевой податливости шайб вычисляют по формуле:
где
Коэффициент
осевой податливости шпилек вычисляют по формуле:
Осевую
нагрузку, действующую на шпильку от неравномерности нагрева элементов
уплотнения, а также различия величин коэффициентов линейного расширения
сопрягаемых деталей
, вычисляют по формуле:
3.14
Определение размеров концевых элементов корпуса
Диаметр
окружности центров шпильки для затвора с плоской металлической прокладкой,
определяется по формуле:
для
соединения фланца днища с корпусом:
Принимаем
Для
соединения крышки с корпусом
Принимаем
Наружный
диаметр фланца:
Для
соединения крышки и корпуса:
Для
соединения фланца днища и корпуса:

Согласно
[3] высоту
и
(рисунок
9), рекомендуется принимать в зависимости от угла
образующей конической части фланца. При
Для
соединения крышки с корпусом
Принимаем
Для
соединения фланца днища с корпусом аппарата
Принимаем
.15
Расчет массы пустого и заполненного аппарата
Масса
пустого аппарата:
Масса
корпуса:
Масса
крышки:
Масса
днища:
Масса
фланца корпуса аппарата для соединения его с крышкой:
Масса
фланца корпуса аппарата для соединения его с днищем:
Масса пустого аппарата:
Масса
заполненного аппарата:
Масса
раствора:
Масса
заполненного аппарата:
В
связи с тем, что аппарат имеет большую массу, опоры и стропы не подбираем.
Заключение
Таблица 8 - Характеристики аппарата высокого давления
|
1 Толщина стенки корпуса, м
|
0,37
|
|
2 Толщина стенки крышки, м
|
0,18
|
|
3 Толщина стенки днища, м
|
0,32
|
|
4 Наружный диаметр крышки,
м
|
2,32
|
|
5 Наружный диаметр корпуса,
м
|
1,74
|
В результате проведенной работы были рассчитаны: обечайки, крышка, днище,
фланцы и уплотнения.
Литература
1. Расчёт и конструирование машин и
аппаратов химических производств: Примеры и задачи: Учебн. Пособие для
студентов вузов/ М.Ф. Михалёв, Н.П. Третьяков, А.И. Мильченко, В.В. Зобнин; Под
общ. ред. М.Ф. Михалёва. - Л.: Машиностроение, Ленингр. отд-ние, 1984.
2. ГОСТ 14249-89. Сосуды и аппараты.
Нормы и методы расчёта на прочность.
3. ГОСТ 25215-82. Сосуды и аппараты
высокого давления. Нормы и методы расчёта на прочность.
4. ОСТ 26-1046-87. Сосуды и аппараты
высокого давления. Нормы и методы расчёта на прочность.
5. РД 26-01-168-88. Уплотнения
неподвижных металлических днищ сосудов и аппаратов на давления от 10 до 100МПа:
Методика расчета на прочность и плотность.
6. ГОСТ 26303-84. Сосуды высокого
высокого давления. Шпильки. Методы расчёта на прочность.
7. Лащинский А.А. Конструирование
сварных химических аппаратов: Справочник. - Л.: Машиностроение, Ленингр.
отд-ние, 1981.-382с.
8. ГОСТ 7.1-84 Библиографическое
описание документа. Общие требования и правила составления.
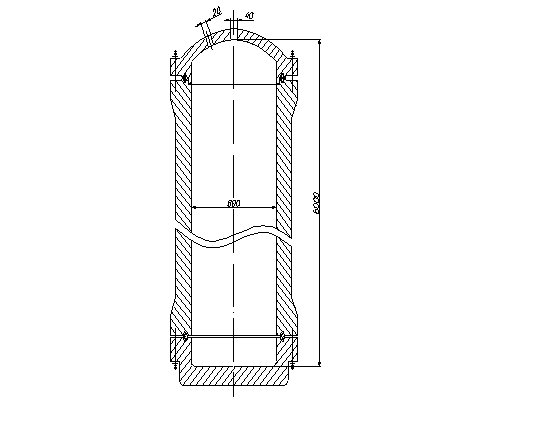
Приложение А
(Обязательное)
Эскиз аппарата