Расчет подогревателя низкого давления

  • Вид работы:
    Методичка
  • Предмет:
    Физика
  • Язык:
    Русский
    ,
    Формат файла:
    MS Word
    826,79 Кб
  • Опубликовано:
    2012-04-25
Вы можете узнать стоимость помощи в написании студенческой работы.
Помощь в написании работы, которую точно примут!

Расчет подогревателя низкого давления

МИНИСТЕРСТВО ОБРАЗОВАНИЯ И НАУКИ УКРАИНЫ

Национальный технический университет

«Харьковский политехнический институт»








МЕТОДИЧЕСКИЕ УКАЗАНИЯ

к курсовой работе по теме

«РАСЧЕТ ПОДОГРЕВАТЕЛЯ НИЗКОГО ДАВЛЕНИЯ»

по курсу «Тепломассообмен»

для студентов специальностей 6.090506, 6.090511

Утверждено

редакционно-издательским

советом университета,

протокол № 3 от 21.12.07





Харьков НТУ «ХПИ» 2008г.

Методические указания к курсовой работе по теме «Расчет подогревателя низкого давления» курса «Тепломассообмен» для студентов специальностей 6.090506, 6.090511 / Сост. В.Н. Пустовалов, А.И. Тарасов, С.П. Науменко, Т.И. Михайленко -- Харьков: НТУ «ХПИ», 2008. -- 52 с. -- На русск. яз.

Составители: Пустовалов В.Н.,

Тарасов А.И.,

Науменко С.П.,

Михайленко Т.И.

Рецензент Шевелев А.А.

Кафедра турбиностроения

ВСТУПЛЕНИЕ

Современная стационарная теплоэнергетика базируется в основном на паровых теплосиловых установках. Продукты сгорания топлива в этих установках являются промежуточным теплоносителем, рабочим телом служит водяной пар.

Основным циклом, по которому работают паросиловые установки, является цикл Ренкина с регенерацией теплоты, которая осуществляется в теплообменниках, как поверхностного, так и смешивающего типов.

Регенеративный цикл можно рассматривать как процесс комбинированной выработки энергии с внутренним потреблением теплоты пара, отбираемого из турбины. Регенеративный подогрев питательной воды снижает потерю теплоты с отработавшим паром в конденсаторе турбины.

Относительное повышение КПД установки за счёт регенерации может составлять от 7 до 15 %, что сопоставимо с эффектом, получаемым за счёт повышения начальных параметров пара.

Теплообменники, входящие в систему регенерации, представляют собой дорогостоящее, крупногабаритное и металлоёмкое оборудование. Поддержание эффективной работы этих аппаратов окупается в минимальные сроки и даёт существенный экономический эффект.

Цель настоящих методических указаний -- изложение рекомендации по проведению теплового и конструкторского расчёта подогревателя низкого давления (ПНД) регенеративной системы паротурбинного энергоблока.

Приведен пример расчета.

1. ОБЩИЕ ПОЛОЖЕНИЯ

1.1 Классификация теплообменников

Теплообменными аппаратами (теплообменниками) называются устройства, предназначенные для передачи теплоты от одного теплоносителя к другому. Теплоноситель, имеющий более высокую температуру и отдающий тепло, называется первичным, а обладающий более низкой температурой и воспринимающий тепло -- вторичным.

Классификация теплообменников может производится по различным признакам.

) По принципу действия различают теплообменники смешивающего и поверхностного типов.

В смешивающих теплообменниках теплообмен происходит благодаря непосредственному контакту и смешению обоих теплоносителей. Теплообмен происходит одновременно с материальным обменом.

В поверхностных теплообменниках оба теплоносителя отделены один от другого твердыми стенками, которые участвуют в процессе теплообмена и образуют поверхность теплообмена (в зависимости от назначения аппарата часто её называют поверхностью нагрева или охлаждения).

Поверхностные теплообменники разделяются на: рекуперативные и регенеративные. В рекуперативных аппаратах одна сторона поверхности теплообмена всё время омывается одним теплоносителем, а другая сторона другим. Тепло от одного теплоносителя к другому передается через разделительную стенку. Направление теплового потока в стенке остается неизменным. В регенеративных подогревателях одна и та же поверхность теплообмена попеременно омывается то одним, то другим теплоносителем. В период нагрева, т.е. при проходе первичного теплоносителя, стенки теплообменника нагреваются, в них аккумулируется тепло, которое в период охлаждения отдается протекающему вторичному теплоносителю.

Направление потока тепла в стенках периодически меняется.

) По наличию или отсутствию изменения агрегатного состояния теплоносителей теплообменники классифицируют на:

● без изменения агрегатного состояния теплоносителей;

● с изменением агрегатного состояния одного теплоносителя -- конденсация пара (первичного теплоносителя) или кипение воды (вторичного теплоносителя);

● с изменением агрегатного состояния обоих теплоносителей -- конденсацией первичного пара и кипением вторичной воды.


) По схеме движения теплоносителей различают:

● прямоток -- оба теплоносителя движутся параллельно в одном направлении (рис. 1.1а);

● противоток - теплоносители движутся в противоположных направлениях (рис. 1.1б);

● перекрестный ток -- теплоносители движутся во взаимно-перпендикулярных направлениях; перекрестный ток может быть однократным (рис. 1.1в) или многократным (рис. 1.1г).

Применяются и более сложные схемы, представляющие различные сочетания прямотока, противотока и перекрестного тока, например, д и е на рис. 1.1.

) По конструктивному оформлению поверхности теплообмена классифицируют на: из гладких или оребренных трубок -- трубчатые аппараты и из плоских, а чаще штампованных листов различного очертания -пластинчатые.

) По роду теплоносителей делят на: водяные, пароводяные и т.д.

) По назначению: конденсаторы, маслоохладители, воздухоподогреватели и т.п.

) По давлению конденсата или питательной воды делят на: подогреватели низкого и высокого давления. Через первую группу подогревателей вода прокачивается конденсатными насосами при сравнительно небольшом давлении воды и греющего пара. Через подогреватели высокого давления (ПВД) вода прокачивается питательным насосом под давлением, превышающим давление в котле. Давление греющего пара у этих теплообменников достигает 5,88…6,38 МПа.

Эти условия работы и определяют конструктивные различия подогревателей высокого и низкого давления. ПНД конструктивно проще и дешевле ПВД.

1.2 Преимущества и недостатки регенеративных подогревателей смешивающего и поверхностного типов

Преимущества смешивающих подогревателей:

■ В смешивающих подогревателях вода нагревается до температуры насыщения, благодаря этому потенциал греющего пара используется наиболее полно, достигается наибольшая экономия теплоты за счет регенерации.

■ Возможность удаления из воды растворенных газов при подогреве её до температуры насыщения греющего пара.

Недостатки смешивающих подогревателей:

■ Необходимость иметь большое количество последовательно включенных питательных насосов (число которых равно количеству подогревателей), чем снижается надежность питания котлов. Используя гравитационный слив конденсата, можно снизить количество насосов до одного на каждую пару последовательно включенных смешивающих подогревателей, но в этом случае усложняется компоновка регенеративной установки.

■ При подводе греющего пара из отборов турбин в смешивающих (контактных) подогревателях приводится предусматривать меры против заброса воды в турбину из корпуса подогревателя при сбросах нагрузки.

Недостатки поверхностных подогревателей:

■ Из-за сопротивления переходу теплоты через стенку имеет место недогрев воды до температуры насыщения пара. Недогрев уменьшается с увеличением удельной поверхности подогревателя на тонну подогреваемой воды, но при этом возрастает его стоимость. Оптимальный недогрев определяется технико-экономическими расчетами. Вследствие недогрева тепловая экономичность схем с поверхностными подогревателями ниже, а затраты металла и стоимость выше, чем в схемах со смешивающими подогревателями.

■ Схемы с поверхностными подогревателями усложняются дренажными линиями для отвода конденсата греющего пара и различаются способом отвода дренажа.

.3 Схемы отвода конденсата греющего пара. Их преимущества и недостатки

Из схем отвода дренажа наивысшую тепловую экономичность имеет схема с дренажным насосом у каждого подогревателя с подачей дренажа в линию главного конденсата (рис. 1.2а), но она дорога и сложна. Для обеспечения наибольшей тепловой экономичности смешивать конденсат из подогревателей и главный конденсат турбин следует при условиях, соответствующих наибольшему приближению к обратимому процессу смешения, т.е. при наименьшей разности температур. Экономична, но одинаково сложна схема с подкачкой дренажа в вышерасположенные подогреватели (рис. 1.2б). Наиболее дешевой является каскадная схема отвода дренажа (рис. 1.2в), где вообще нет дренажных насосов и дренаж удаляется самотеком в сторону подогревателей более низкого давления, а затем -- в конденсатор турбины, но она менее экономична. Чтобы избежать протекания по дренажным линиям «пролетного» пара, устанавливают конденсатоотводчики, открывающиеся при росте уровня дренажа в подогревателях. На линии дренажа из последнего подогревателя в конденсатор иногда применяют более надежный в работе U-образный гидрозатвор, но при большом перепаде давлений требуется значительная его высота. Снижение экономичности каскадной схемы обусловлено необратимостью процесса, поскольку дренаж с повышенным потенциалом сливается в теплообменник, работающий при низшем потенциале. В энергетическом отношении это означает, что отбор пара более низкого давления уменьшается в результате вытеснения дренажем из подогревателей повышенного давления: увеличивается конденсационная выработка электроэнергии и появляется потеря тепла с горячим дренажем, отводимым в конденсатор, где это тепло отдается охлаждающей воде.


Комбинированная схема отвода дренажа (рис. 1.2г) по тепловой экономичности и по сложности выполнения занимает промежуточное положение. Так как давление воды в поверхностном подогревателе для предотвращения вскипания должно быть больше, чем давление греющего пара, оказывается возможным (в отличие от смешивающих подогревателей) прокачивать воду через группу последовательно включенных подогревателей одним насосом (конденсатным и далее питательным).

Воздух, попадающий в подогреватель через неплотности при работе под вакуумом, и углекислота, присутствующая в паре, нарушают теплообмен. Неконденсирующиеся газы отсасываются каскадно через подогреватели более низкого давления в конденсатор по системе трубок с ограничивающими расход шайбами. Из конденсатора неконденсирующиеся газы отсасываются эжектором и выбрасываются в атмосферу. На линиях отборов пара устанавливаются обратные клапаны для защиты турбины от обратного потока пара при вскипании дренажа во время резких сбросов нагрузки.

1.4 Элементы конструкции современных подогревателей низкого давления

На рис. 1.3 показана конструкция одного из вариантов нового ПНД для блоков мощностью 800 МВт. Этот подогреватель имеет встроенные охладитель пара и охладитель дренажа. Все элементы поверхностей нагрева имеют U-образные трубки из нержавеющей стали Х18Н10Т. Охладитель дренажа расположен внизу корпуса, имеет собственную водяную камеру с трубной доской и его трубки расположены горизонтально.

Трубки собственно подогревателя и охладителя пара закреплены в основной трубной доске, вваренной в корпус подогревателя, их трубки расположены вертикально. Нагреваемая вода делает в подогревателе восемь ходов: два -- в охладителе дренажа, затем четыре -- в собственно подогревателе и, наконец, два -- в охладителе пара.

Рисунок 1.3 -- Разрезы ПНД энергоблока мощностью 800 МВт:

-- корпус; 2 -- трубный пучок собственно подогревателя; 3 -- трубный пучок охладителя пара; 4 -- кожух охладителя пара; 5 -- трубная доска; 6 -- крышка; 7 -- анкерная связь; 8 -- гидрозатвор; 9 -- паровпускное устройство; 10 -- поддон; 11 -- кожух охладителя дренажа; 12 -- трубный пучок охладителя дренажа; 13 -- водораспределительная камера охладителя дренажа; патрубки: А -- для подвода основного конденсата к собственно подогревателю; Б -- для отвода основного конденсата из собственно подогревателя; В -- для подвода греющего пара к пароохладителю; Г, Д -- для подвода и отвода основного конденсата к охладителю дренажа; Е -- для подвода конденсата греющего пара из подогревателя более высокого давления; Ж -- для отсоса паровоздушной смеси; И -- для подвода паровоздушной смеси из подогревателя более высокого давления; К -- для отвода конденсата греющего пара

Греющий пар поступает в корпус подогревателя сбоку на уровне низа трубок пароохладителя и проходит вначале снизу вверх через отсек пароохладителя. Затем пар движется сверху вниз через отсек собственно подогревателя и конденсируется. В каждом отсеке имеются поперечные перегородки для направления потока пара. Отвод дренажа осуществляется снизу. Воздух отсасывается через перфорированную трубку из нижней части отсека собственно подогревателя.

1.5 Понятие о вальцовочном соединении трубок с трубной доской

Требования к креплению трубок в трубных досках следующие: фиксировать положение трубок; обеспечивать герметичность сопряжения даже при наличии термических напряжений и легкость смены трубок без повреждения трубной доски. Крепление может быть неподвижным и подвижным, т.е. допускающим некоторое продольное перемещение конца трубки при изменении её длины.

Подвижное сопряжение сальникового типа показано на рис. 1.4а. Конец трубки свободно входит в отверстие в трубной доске, а уплотнение достигается набивкой (обычно хлопчатобумажным шнуром), которая зажимается втулкой, имеющей наружную резьбу. Сальниковые конструкции были широко распространены, но в настоящее время применяются очень редко из-за присущих им недостатков: плохая герметичность, сложность и дороговизна изготовления; большие габариты сальника, что ограничивает возможность размещения трубок на близком расстоянии одна от другой; неудобство в эксплуатации -- необходимость надзора, затяжки втулок, смены набивки, трудоёмкость восстановления и ремонта.

Различные способы неподвижного сопряжения трубок с развальцовкой их в трубных досках показаны на рис. 1.4б-и. Выступающие концы трубок оставляют прямыми (рис. 1.4б) или со стороны входа для устранения завихрений раздают на конус, развальцовывают «колокольчиком» (рис. 1.4в). Часто концы трубок отбортовываются (рис. 1.4г), что обеспечивает большую прочность соединения. Иногда отверстие с наружной стороны трубной доски растачивается на конус (рис. 1.4д). В ответственных конструкциях применяется обварка (рис. 1.4е, ж) или запайка (рис. 1.4б, з) выступающих концов трубок. Особо прочное и плотное вальцовочное соединение получается при наличии канавок в отверстиях трубной доски (рис. 1.4и).

Рисунок 1.4 -- Сопряжение трубок с трубными досками:

а -- сальниковое крепление; б -- обычное вальцовочное соединение; в вальцовочное соединение «колокольчиком»; г -- вальцовочное соединение с отбортовкой; д -- сочетание цилиндрической и конической развальцовок; е -вальцовочное соединение с запайкой и обваркой; ж -- вальцовочное соединение с обваркой; з -- вальцовочное соединение с запайкой; и -- вальцовочное соединение с канавками в отверстиях трубной доски

При развальцовке трубки получают пластическую деформацию и внутренний их диаметр увеличивается. Вследствие этого на поверхности сопряжения трубки с доской создаются упругие напряжения, обеспечивающие прочность и плотность соединения. Для получения, прочного и плотного вальцовочного соединения необходимо иметь определенную «степень развальцовки»

где d0 -- начальный диаметр отверстия в трубной доске; Δ1 -- увеличение внутреннего диаметра трубок после вальцовки; Δ2 -- разность диаметров отверстия и наружного диаметра трубки до вальцовки.

Для обеспечения надёжного вальцовочного соединения толщину трубной доски принимают не менее  (dн -- наружный диаметр трубки, мм).

Для вальцовки трубок в трубных досках применяются различные устройства.

Рисунок 1.5 -- Конструкция вальцовки:

-- конус (веретено); 2 -- нажимная втулка; 3 -- корпус; 4 -- три ролика; 5 -- вальцуемая трубка

Простейшая вальцовка показана на рис. 1.5. Она состоит из конуса 1 (веретена), трёх роликов 4, корпуса 3 и нажимной втулки 2. Процесс вальцовки осуществляется следующим образом. После установки роликов в трубку 5 вращают веретено воротком, время от времени подавая его вперед подвинчиванием нажимной втулки 2. При изготовлении и монтаже трубчатой теплообменной аппаратуры широко используются механические вальцовки и ряд других механизмов и приспособлений с электрическим, пневмоническим и гидравлическим приводом. Для обеспечения необходимой степени развальцовки применяются автоматические устройства, ограничивающие крутящий момент или степень развальцовки.

Отверстия в трубной доске обычно выполняют на 0,2…0,3 мм больше наружного диаметра трубки, а их края раззенковываются или закругляются. Развальцовка производится на неполную толщину трубной доски, так как можно или «подрезать» трубку с внутренней стороны доски или «раздать» её, что затруднит смену. Выступающие концы трубок подрезаются на одинаковую высоту (2…3 мм).

Крепление трубок развальцовкой обоих концов получило повсеместное распространение из-за значительных преимуществ: гидравлическая плотность соединений, простота и дешевизна изготовления, простота и удобство в эксплуатации.

1.6 Разбивка трубок

Разбивка трубок (расположение в пучке) определяется шагом и характером (способом) разбивки.

Шаг трубок t, т.е. расстояние между осями соседних трубок, обычно выбирают возможно меньшим для сокращения размеров аппарата и увеличения скорости теплоносителя в межтрубном пространстве, если это не вызывает чрезмерного гидродинамического сопротивления.

Минимальная величина шага лимитируется методом крепления трубок в трубной доске и ее ослаблением отверстиями для трубок, а иногда - образованием отложений в межтрубном пространстве. Минимальный шаг обычно принимают при развальцовке t = (1,25…1,3) dн, при сальниковом креплении t = dн + 9 мм, при сварке t = 1,25dн. Удобно пользоваться понятием «относительного шага», т.е. отношением шага разбивки к наружному диаметру трубки ψ = t/dн. При вальцовочном соединении относительный шаг бывает обычно в пределах ψ = 1,3…1,6. В некоторых аппаратах при невысоких давлениях теплоносителей относительный шаг может принимать несколько меньшее значение.

Анализ современных конструкций показывает, что минимальный относительный шаг ψ = 1,25…1,3 можно использовать только в аппаратах, рассчитанных на небольшое давление (до пробного давления порядка 0,5 МПа). С возрастанием давления (до пробного давления 9 МПа) это соотношение следует увеличивать до ψ = 1,4…1,6.

Способ разбивки трубок имеет весьма существенное значение. В теплообменных аппаратах применяются следующие разбивки трубок (рис. 1.6): шахматная и частный ее случай - треугольная (ромбическая); коридорная и частный ее случай - квадратная; по концентрическим окружностям; радиальная (встречается только в сочетании с другими методами разбивки).

Шахматная разбивка (рис. 1.6а) определяется величиной поперечного шага t1 и продольного t2 или же относительным поперечным шагом ψ1 = t1/dн, продольным ψ2 = t2/dн и диаметром dн. Вместо продольного шага t2 иногда используют диагональный шаг. Он равен

Рисунок 1.6 -- Разбивка трубок:

а -- шахматная; б -- треугольная; в -- коридорная;

г - квадратная; д -- по концентрическим окружностям;

е -- треугольная в круглом корпусе; ж -- радиальная

Частным случаем шахматной разбивки является треугольная разбивка (рис. 1.6б), когда оси трубок размещаются в вершинах равносторонних треугольников, сторона которых равна шагу t. Эту разбивку называют также ромбической, так как каждые четыре соседние трубки лежат в вершинах ромба, короткая диагональ которого равна его сторонам. Треугольная разбивка наиболее распространена, главным образом из-за компактности, т.е. возможности при одном и том же шаге разместить на единице площади трубной доски наибольшее число трубок и иметь в единице объема наибольшую поверхность теплообмена.

Коридорная разбивка (рис. 1.6в) характеризуется величиной поперечного t1 и продольного t2 шагов или же относительными шагами ψ1 и ψ2 и dн. Частным ее случаем является квадратная разбивка (рис. 1.6г), когда оси трубок расположены в вершинах квадрата со стороной, равной шагу t. Квадратная разбивка применяется значительно реже треугольной из-за меньшей удельной поверхности теплообмена при том же шаге и диаметре трубок, т.е. худшего использования объема аппаратов.

Разбивка по концентрическим окружностям (рис. 1.6д), расположенным одна от другой на расстоянии шага t (считая по радиусу). Разбивка трубок по этим окружностям делается обычно с тем же шагом t, который приходится несколько округлять (в большую сторону) для равномерного распределения трубок по каждой окружности. Этот метод разбивки имеет тот же недостаток, что и квадратная. Преимущество по сравнению с треугольной и квадратной разбивкой состоит в более равномерном заполнении сечения вблизи стенок круглого корпуса (ср. с рис. 1.6е). Поэтому указанный метод разбивки применяется при движении жидкости или неконденсирующихся газов вдоль трубок в межтрубном пространстве круглого сечения.

Радиальная разбивка (рис. 1.6ж), когда трубки располагаются на пересечении расположенных под одинаковыми углами радиусов с несколькими концентрическими окружностями. Расстояние между этими окружностями и шаг разбивки на первой (наименьшей) окружности обычно принимаются равными заданному шагу t. На следующих окружностях шаг больше. Этот метод разбивки применяется иногда при движении конденсирующегося пара от периферии к центру трубного пучка как в конденсаторах, так и в некоторых пароводяных подогревателях для уменьшения скорости пара при входе в трубный пучок и уменьшения проходного сечения по мере уменьшения объема пара из-за его конденсации для поддержания примерно постоянной скорости пара.

1.7 Коэффициенты заполнения и использования трубной доски

Конструктивно поверхностные регенеративные подогреватели выполняют с трубной доской или с коллекторными трубами. С трубной доской изготовляют подогреватели при давлении воды ниже 7 МПа. Таким образом, все ПНД имеют трубные доски.

Из-за наличия перегородок, анкерных связей, каркаса пучка и т.п. площадь трубной доски не используется полностью для крепления трубок. Отношение действительного количества трубок в пучке к числу трубок, которые можно разместить при полном использовании площади трубной доски, называется коэффициентом заполнения трубной доски ηтр. При этом обычно за основу берется треугольная разбивка, как наиболее компактная.

Если общее число трубок в пучке N, а диаметр трубной доски Dтр, то необходимая площадь для размещения трубок составляет 0,866t2N, а действительная площадь . Следовательно, коэффициент заполнения трубной доски

 или                                                                (1.1)

Применение коэффициента ηтр очень удобно при выполнении тепловых расчетов, когда еще нет чертежа разбивки трубок. В этом случае значение ηтр предварительно берется по аналогичным конструкциям, а в дальнейшем уточняется при конструктивной разработке.

Для предварительных расчетов еще удобнее применять (не нужно задаваться шагом t) коэффициент использования трубной доски uтр -- отношение общего сечения всех трубок (по наружному диаметру) к площади трубной доски:

                                                                              (1.2)

Сопоставляя выражения (1.1) и (1.2), находим


где ψ = t/dн -- относительный шаг.

1.8 Понятие о коэффициенте теплоотдачи

Коэффициент теплоотдачи (КТО -- α, Вт/(м2∙К)) является коэффициентом пропорциональности между разностью температур Δt и плотностью теплового потока в феноменологическом законе q = αΔt, описывающем перенос теплоты от стенки к жидкости или наоборот.

КТО характеризует интенсивность теплообмена между поверхностью тела и окружающей средой. Численно он равен количеству теплоты, отдаваемого (или воспринимаемого) единицей поверхности в единицу времени при разности температур между поверхностью тела и окружающей средой, равной 1 град.

1.9 Понятие о коэффициенте теплопередачи

Коэффициент теплопередачи это коэффициент пропорциональности между разностью температур двух жидкостей, разделённых стенкой, и плотностью теплового потока в феноменологическом законе q = kΔt. Величина k имеет ту же размерность, что и α.

Коэффициент теплопередачи k характеризует интенсивность передачи тепла от одной жидкости к другой через разделяющую их стенку и численно равен количеству тепла, которое передается через единицу поверхности стенки в единицу времени при разности температур между жидкостями в 1 град.

Величина обратная коэффициенту теплопередачи, называется полным термическим сопротивлением теплопередачи. Для теплопередачи через плоскую стенку, толщиной δ с коэффициентом теплопроводности λ равен

.

1.10 Соотношение между коэффициентами теплоотдачи со стороны пара α1 и со стороны воды α2

Расчетный анализ ряда водоподогревателей [1], серийно выпускаемых промышленностью, показал, что коэффициент теплоотдачи со стороны нагреваемой воды α2 выше приблизительно в 11/4-2 раза, чем коэффициент теплоотдачи α1 со стороны конденсирующего пара. Чем выше температура в подогревателе, тем это соотношение больше, так как численное значение комплекса физических параметров воды, обуславливающего величину конвективной теплопередачи при турбулентном движении жидкости, увеличивается с повышением температуры быстрее, чем аналогичный комплекс для теплоотдачи при конденсации пара. Если условно принять отношение этих коэффициентов теплоотдачи при 0 °С за единицу, то для других температур получим следующее

Температура, ºС

0

50

100

150

200

α2/α1

1

1,19

1,27

1,50

1,70


1.11 Причины, из-за которых давление воды в поверхностном подогревателе выбирается большим, чем давление греющего пара

Поверхностные водоподогреватели, как правило, выполняются водотрубными, т.е. с движением нагреваемой воды в трубках и греющего пара в межтрубном пространстве. Встречающиеся изредка паротрубные подогреватели имеют низкий коэффициент теплопередачи.

В пароводяных подогревателях (а также в конденсаторах) давление нагреваемой воды должно быть обязательно выше давления греющего пара для устранения возможности закипания воды. Оно вызывало бы возрастание гидродинамического сопротивления по водяному тракту и могло бы привести к расстройству аппаратуры и трубопроводов в результате гидравлических ударов, т.е. сильного увеличения давления при резком уменьшении скорости воды.

1.12 К чему может привести разрыв трубок в регенеративном подогревателе? Назначение автоматических обводных клапанных коробок

Серьезнейшей аварией подогревателей является разрыв трубок, при котором паровое пространство может заполниться водой, а при забросе её в турбину возникнет механическое повреждение лопаточного аппарата турбины.

Запас горячей воды в паровом пространстве подогревателей представляет большую опасность для турбины, так как понижение давления пара в ступени отбора (например, при сбросе нагрузки) вызовет мгновенное парообразование в подогревателе. В этом случае, если по какой-либо причине не закроются обратные клапаны на паропроводах отбора, появится обратный поток пара с бросками воды из подогревателя в турбину. Обратный поток пара из подогревателя турбины опасен и потому, что в случае сброса нагрузки и отключения от сети генератора поступающий пар может разогнать ротор турбины. Необходимо осуществлять постоянный контроль за уровнем воды в подогревателе и оборудовать подогреватели защитно-предохранительной аппаратурой. Это особенно важно для подогревателей высокого давления.

Для контроля уровня конденсата водоподогреватели снабжаются водомерными стеклами с защитными сетками. Высота этих стекол определяется возможными пределами колебаний уровня конденсата. Во избежание попадания в турбину воды при разрыве трубок подогревателя, а также обратного потока пара из подогревателя в турбину при сбросе нагрузки, на паропроводах между турбиной и подогревателями устанавливаются обратные клапаны. Их часто делают с закрытием автоматическим или от электрического импульса при сбросе нагрузки. Подогреватели высокого давления снабжаются еще автоматическими устройствами, которые при чрезмерном (аварийном) повышении уровня воды в паровом корпусе, например, из-за разрыва трубки, переключают поток нагреваемой питательной воды помимо подогревателя.

Каждый водоподогреватель оборудуется контрольно-измерительными приборами для измерения температур, давлений и расходов теплоносителей.

1.13. Понятие «переохлаждение конденсата». Причины переохлаждения конденсата. Это положительное или отрицательное явление

Температура конденсата греющего пара tк всегда ниже температуры насыщения tн этого пара. Разность tн - tк называется переохлаждением конденсата. Это явление объясняется охлаждением конденсата при его стекании по поверхности трубок и наличием над поверхностью конденсата в нижней части аппарата смеси, обогащенной воздухом, имеющей более низкую температуру, чем греющий пар. В конденсаторах паровых турбин переохлаждение конденсата всегда вредно, а в подогревателях может быть полезным или вредным в зависимости от системы дренирования.

При каскадной схеме, т.е. дренаже, в подогреватель более низкого давления желательно переохлаждение конденсата, так как тепло переохлаждения используется в этом подогревателе, а не в следующем подогревателе более низкого давления. Поэтому нежелательно (при данной схеме) производить подачу дренажа в нижнюю часть подогревателя, чтобы не уменьшать в нем переохлаждение конденсата. При подаче же конденсата греющего пара насосом в соседний подогреватель более высокого давления переохлаждение конденсата нежелательно.

При каскадной схеме дренирования и наличии охладителей дренажа нужно обеспечить возможно минимальное переохлаждение конденсата в том подогревателе, перед которым (по ходу воды) установлен охладитель. Иначе разница температур дренажа и подогреваемого основного конденсата может быть очень мала, в результате чего подогрев основного конденсата будет столь незначительным, что это не оправдает установки охладителя.

1.14 Факторы, которые влияют на выбор оптимальной скорости движения воды, которая подогревается в трубках регенеративных подогревателей

При выборе скоростей движения теплоносителей в трубках и при продольном их обтекании нужно учитывать обеспечение развитого турбулентного движения с целью получения достаточно высоких значений коэффициента теплоотдачи. При выборе скоростей движения основных теплоносителей (вода, водяной пар и газы) руководствуются следующими соображениями.

Низший предел скорости воды в трубках определяется необходимостью создания развитого турбулентного движения (число Re > 10000). При применяемых диаметрах трубок это обеспечивается при скорости воды около 1 м/сек.

Верхний предел скорости воды лимитируется гидродинамическим сопротивлением аппаратов (расходом энергии на насосы). Наивыгоднейшая скорость в каждом отдельном случае может быть определена технико-экономическими расчетами при помощи сопоставления изменения стоимости аппаратуры при интенсификации теплообмена и расхода электроэнергии. Обычно принимают скорость воды в латунных трубках не выше 3 м/сек, а в подогревателях высокого давления со стальными трубками -- до 4…5 м/сек.

.15 Понятие об уравнениях подобия (критериальных уравнениях)

Конвективный теплообмен описывается системой дифференциальных уравнений и условиями однозначности с большим количеством переменных. Попытки аналитического решения этой системы уравнений наталкиваются на серьезные трудности.

В настоящее время точные решения имеются только для отдельных частных случаев. Поэтому большое значение приобретает экспериментальный путь исследования.

С помощью теории подобия размерные физические величины можно объединить в безразмерные комплексы, причем так, что число комплексов будет меньше числа величин, из которых составлены эти комплексы. Полученные безразмерные комплексы можно рассматривать как новые переменные. Их называют числами подобия или критерии подобия.

Зависимости между числами подобия называют уравнениями подобия или критериальными уравнениями.

При введении в уравнения безразмерных комплексов число величин под знаком функции сокращается, что упрощает исследование физических процессов. Кроме того, новые безразмерные переменные отражают влияние не только отдельных одиночных факторов, но и их совокупности, что дозволяет легче определить физические связи в исследуемом процессе.

Теория подобия устанавливает также условия, при которых результаты лабораторных исследований можно распространить на другие явления, подобные рассматриваемому. Ввиду этого теория подобия является теоретической базой эксперимента. Хотя методами теории подобия вид искомой функции не может быть определен, теория подобия облегчает анализ процесса и описание полученных результатов.

Условия подобия физических процессов, сформулированы ниже в виде трех правил:

) Подобные процессы должны быть качественно одинаковыми, т.е. они должны иметь одинаковую физическую природу и описываться одинаковыми по форме записи дифференциальными уравнениями.

) Условия однозначности подобных процессов должны быть одинаковыми во всем, кроме численных значений постоянных, содержащихся в этих условиях.

) Одноименные определяющие критерии подобных процессов должны иметь одинаковую численную величину.

Сформулированные условия являются определением подобия физических процессов.

Таблица 1.1 -- Основные критерии подобия тепловых и гидродинамических явлений

Критерий

Символ

Наименование

Пояснение

ReКритерий Рейнольдса (критерий режима движения)Характеризует гидродинамический режим потока, является мерой отношения сил инерции и молекулярного трения. Характеризует степень устойчивости потока по отношению к внешним и внутренним возмущениям (при Rе < 2000 возмущения затухают)




МКритерий Маевского-Маха (критерий газодинамического подобия)Является мерой отношения между скоростью течения среды и скоростью распространения в ней упругих деформаций




EuКритерий Эйлера (критерий подобия полей давления)Является мерой отношения сил давления и инерции в потоке




NuКритерий Нуссельта (безразмерный коэффициент теплоотдачи)Характеризует связь между интенсивностью теплообмена и температурным полем в пограничном слое потока




РеКритерий ПеклеЯвляется мерой отношения молекулярного и конвективного переносов тепла в потоке




РгКритерий Прандтля (критерий подобия температурных и скоростных полей)Является мерой подобия температурных и скоростных нолей в потоке. При Рг = 1 и grad p = 0 поля температур и скоростей подобны




FoКритерии Фурье (критерий тепловой гомохронности)Определяет сходственные моменты времени, отвечающие подобию нестационарных температурных полей




BiКритерий Био (критерий краевого подобия)Характеризует связь между полем температур в твердом теле и условиями теплоотдачи на его поверхности, являясь мерой отношения внутреннего и внешнего тепловых сопротивлений




StКритерий Стантона Является мерой соотношения между изменением температуры жидкости по длине и движущим температурным напором (или между результатом теплообмена и его причиной)




GrКритерий ГрасгофаХарактеризует подъёмную силу, возникающую в жидкости вследствие разности плотностей




ArКритерий АрхимедаПри условии β = const идентичен Gr





2. ОСНОВНЫЕ ПОЛОЖЕНИЯ КОНСТРУКТИВНОГО РАСЧЁТА ПОДОГРЕВАТЕЛЯ НИЗКОГО ДАВЛЕНИЯ

2.1 Общие сведения

Целью конструктивного расчета являются определение поверхности теплообмена и габаритных размеров аппарата.

На ТЭС получили распространение подогреватели вертикального типа. В ПНД поверхность нагрева образуется U-образными трубками из латуни или нержавеющей стали: концы трубок развальцовываются в трубной доске. Трубки применяются тонкостенные с толщиной стенки 0,75…1,0 мм. Вода (основной конденсат) подводится в водяную камеру, разделенную перегородками, и поступает в трубки. Пройдя по трубкам несколько ходов и нагревшись, вода через выходной патрубок выходит из подогревателя.

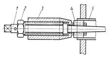
Пример конструкции ПНД приведен на рис. 2.1. Трубная система заключена в сварной корпус, который имеет фланцевое соединение с водяной камерой. Между фланцами зажимается трубная доска. Устойчивость трубной системе придает легкий каркас, к которому крепятся трубные перегородки, обеспечивающие поперечное омывание трубок паром. Поток пара, поступающий в подогреватель через паровой патрубок, встречается с пароотбойным щитком и растекается внутри корпуса. Дренаж подогревателя стекает в нижнюю часть корпуса, откуда удаляется по сливной линии. Для того чтобы не допустить попадания пара в сливной трубопровод, в нижней части корпуса поддерживается уровень конденсата, который обеспечивается регулирующим клапаном на сливной линии. Этот клапан управляется электронным регулятором, получающим импульс от уровня конденсата в корпусе. Воздух, попадающий вместе с паром в подогреватель, собирается в нижней части корпуса, откуда и удаляется по трубке, соединенной с конденсатором.

Принципиальная схема движения пара и воды в подогревателе изображена на рис. 2.2.

Рисунок 2.1 -- Конструкция подогревателя низкого давления:

1 -- водяная камера; 2 -- трубная доска; 3 -- трубная система;

-- патрубок подвода греющего пара; 5 -- каркас трубной системы;

-- корпус; 7 -- перегородка трубной системы

Исходными данными для конструктивного расчёта являются:

-- давление пара в отборе турбины ротб, бар;

- расход конденсата......................... Gв, т/ч;

- температура конденсата на входе в подогреватель tв1, °С;

- недогрев......................................... J, °С;

- диаметр трубок трубного пучка в мм:  dн/dвн = 18/16;

- число ходов воды.......................... z;

- скорость воды в трубках.............. wв, м/с;

- расстояние между перегородками h, м;

- теплопроводность материала трубок    λм, Вт/(м·К);

- коэффициент трения...................... λfr;

- коэффициент заполнения трубной доски    ηтр.


2.2 Тепловой расчет

Термодинамические процессы пара, отбираемого из турбины для регенеративного подогрева конденсата, схематически представлены в i-s диаграмме на рис 2.3 для общего случая, когда греющий пар несколько перегрет.

паротурбинный энергоблок подогреватель давление теплоотдача


Здесь ab -- дросселирование в подводящем трубопроводе и соответствующей арматуре, причём отрезок ab для наглядности несколько растянут; bc -- изобарное охлаждение пара на некоторой части трубного пучка до состояния насыщения; cd -- изобарная конденсация пара на большой части поверхности трубок; qΣ -- теплота переданная основному конденсату паром отбора, кДж/кг; Δiпер -- теплота, переданная при снятии перегрева, кДж/кг; r -- теплота, переданная при конденсации насыщенного пара, кДж/кг.

Тепловой поток от отборного пара к основному конденсату

Q = Gп(iп - iкгп)                                                                               (2.1)

где Q -- тепловой поток, кВт; Gп -- расход пара в отбор, кг/с; iп -- энтальпия пара в месте отбора, кДж/кг; iкгп -- энтальпия конденсата греющего пара, кДж/кг.

Тепловой поток, соответствующий снятию перегрева пара

Qпер = Gп(iп - iн)                                                                             (2.2)

Здесь iн -- энтальпия насыщенного пара, кДж/кг.

Доля теплового потока от снятия перегрева в общем тепловом потоке от отборного пара к подогреваемому конденсату, определяемая как невелика и составляет, например, для ПНД-2, ПНД-3, ПНД-4 паротурбинной установки К-800-240 ОАО ЛМЗ соответственно 0,01; 0,08; 0,12, откуда следует, что даже в предельном случае (ПНД-4) на большей части трубного пучка греющий пар находится в состоянии насыщения.

                                                                                  (2.3)

Как видно из схемы кожухотрубного ПНД на рис. 2.2, обтекание греющим паром трубного пучка, строго говоря, не может быть отнесено ни к одной из классических схем: прямотоку, противотоку или перекрёстному току.

Давление в корпусе подогревателя меньше давления в месте отбора пара в цилиндре турбины на величину потерь в тракте между турбиной и подогревателем. В приближенном расчете можно принять

рп = (1 ÷ 0,08)ротб                                                                          (2.4)

Давлению рп соответствует температура насыщения tн = f(рп). Это температура конденсирующегося в корпусе подогревателя пара отбора, т.е. температура греющего теплоносителя.

Температура воды за подогревателем

                                                                                             (2.5)

Тепловой поток, воспринимаемый нагреваемым конденсатом

                                                                   (2.6)

Здесь tв1, tв2 -- энтальпия конденсата на входе и выходе из подогревателя, кДж/кг; cв1, cв2 -- соответствующая теплоемкость конденсата, кДж/(кг·К).

Уравнение (2.6) является частным случаем уравнения энергии для открытой термодинамической системы и иначе называется уравнением теплового баланса.

Уравнение теплопередачи в подогревателе имеет вид

Q = kΔtcpF                                                                                       (2.7)

где Q -- тепловой поток через поверхность, разделяющую теплоносители, Вт; k -- коэффициент теплоотдачи, Вт/(м2∙К); Δtcp -- средний логарифмический температурный напор, ºС; F -- поверхность теплообмена, м2.

Средний логарифмический температурный напор определяется выражением

                                                                                       (2.8)

Или

                                                                                      (2.9)

где tв1, tв2, tн -- начальная, конечная температуры конденсата и температура насыщения греющего пара, соответственно, °С.

Δt = tв2 - tв1; .

Уравнение для Δtcp в виде (2.9) используется при расчёте конденсаторов турбоустановок. Формула справедлива как для прямотока, так и для противотока для случая, когда греющая среда имеет постоянную температуру.

Средняя температура подогреваемого конденсата может быть определена следующим образом. Пусть местная разность температур конденсирующегося пара и подогреваемого конденсата равна

Δt = tн - tf                                                                                         (2.10)

Применяя к обеим частям уравнения (2.10) процедуру усреднения и учитывая, что , получим

                                                                                           (2.11)

Температура  используется далее для определения теплофизических характеристик подогреваемого конденсата.

Подставив выражение для тепловой нагрузки (2.6) в (2.7) и разрешив это уравнение относительно F, получим

                                                                               (2.12)

Ключевым моментом в определении поверхности F является нахождение коэффициента теплоотдачи k или плотности теплового потока q. Ниже используется методика, предложенная в работе [2].

Схема теплопередачи, принятая в расчете, изображена на рис. 2.4.

Расчётную среднюю температуру подогреваемого конденсата получаем из уравнения (2.11)

                                                                                           (2.13)

Поскольку трубки тонкостенные, ниже использованы зависимости для плоской стенки.

Плотность теплового потока от пара к поверхности трубок

                                                                                 (2.14)

откуда

                                                                                               (2.15)

Средняя температура поверхности стенки со стороны пара оценивается как

                                                                                (2.16)

Тогда средняя температура плёнки конденсата будет равна

                                                                                       (2.17)

Средний коэффициент теплоотдачи от конденсирующегося пара к стенке определяется по формуле Нуссельта с поправкой Капицы [1, 3]:

                                                                                   (2.18)

где r -- удельная теплота фазового перехода, кДж/кг; ρ -- плотность конденсата, кг/м3; g -- ускорение силы тяжести, м/с2; λ -- тепловодность конденсата, Вт/(м∙К); μ -- динамическая вязкость конденсата, Па∙с; h -- расстояние между паронаправляющими перегородками, м.

Индекс «ж» указывает на то, что все теплофизические свойства конденсата определяются по его средней температуре tж, кроме удельной теплоты фазового перехода r, которая определяется по температуре насыщения tн [4, 6].

В выражении (2.18) можно выделить комплекс, учитывающий физические свойства плёнки конденсата

                                                                                          (2.19)

Тогда

                                                                                (2.20)

Формула (2.18) и вытекающая из неё формула (2.20), строго говоря, справедливы при конденсации сухого насыщенного пара. Приближённый учёт перегрева может быть учтён [5], если в них вместо теплоты фазового перехода r подставить значение

,

где iп, iн - энтальпия перегретого и насыщенного пара, соответственно.

Если ввести комплекс В1

                                                                                      (2.21)

то (2.20) преобразуется к виду

                                                                                            (2.22)

а подстановка (2.22) в (2.15) даёт

                                                                                           (2.23)

Падение температуры в стенке трубок

                                                                                             (2.24)

Коэффициент теплоотдачи α2 от внутренней стенки трубки к нагреваемому конденсату определяется по уравнению подобия Михеева [3], описывающему среднюю теплоотдачу при турбулентном течении жидкости в трубах

                                                                      (2.25)

Если пренебречь близким к единице множителем , учитывающим зависимость теплофизических свойств жидкости от температуры, то будем иметь

                                                                        (2.26)

где dвн -- внутренний диаметр трубок, м; wв -- скорость воды в трубках ПНД, которую обычно принимают в пределах 1,5…2,5 м/с.

Падение температуры при теплоотдаче от внутренней поверхности стенки к воде

                                                                                     (2.27)

Принимают, что сумма частичных температурных напоров равна среднему логарифмическому температурному напору

                                                     (2.28)

Это трансцендентное уравнение относительно плотности теплового потока q, которое можно решить численным или графическим способом.

Для графического решения уравнение (2.28) удобно представить в виде

                                                                            (2.29)

где ЛЧ -- левая часть, ПЧ -- правая часть.

Схема графического решения показана на рис. 2.5. После нахождения величины q описанным выше образом, можно её уточнить, используя новые значения tc1, tc2 и α2, найденные по формулам, вытекающим из (2.23), (2.24) и (2.26)


; ;

Решение уравнения (2.28) с новым значением  даёт второе приближение для величины q.

В изложенной методике расчёта коэффициент теплопередачи не участвует, однако для справки он может быть определен как

                                                                                                (2.30)

Поверхность нагрева равна

                                                                                                  (2.31)

В дальнейшем используется расчётная поверхность нагрева Fp, которая принимается с запасом на заглушаемые в процессе эксплуатации трубки:

                                                                                             (2.32)

2.3 Определение конструктивных размеров подогревателя низкого давления

Числом ходов ПНД по воде задаются. Наибольшее распространение получили теплообменники с z = 4. На рис. 2.6 показано, как движется конденсат в водяной камере четырёхходового ПНД.

Весь объёмный расход конденсата движется по nz трубок каждого из ходов воды, т.е.

                                                                                        (2.33)

откуда

                                                                                         (2.34)

Число отверстий в трубной доске

                                                                                                 (2.35)

Принимают, что при ромбическом расположении осей трубок на трубной доске («ромбической разбивке») на одну трубку приходится часть площади трубной доски, определяемая площадью ромба с острым углом, равным 60º:

                                                                           (2.36)

где t -- расстояние между осями трубок, шаг. Это поясняется на рис. 2.7.

Шаг разбивки t связан с наружным диаметром трубок соотношением, вытекающим из условия прочности трубной доски: при развальцовке трубок t = (1,25…1,3)dн, при приварке трубок t = (1,4…1,6)dн.

Площадь трубной доски, занятая трубками

                                                                               (2.37)

По конструктивным условиям часть трубной доски не может быть заполнена отверстиями под трубки. Это отражается в конструктивной характеристике, которая называется коэффициентом заполнения трубной доски

                                                                                          (2.38)

где Sтр -- площадь трубной доски. Значение ηтр предварительно берётся по аналогичным конструкциям, а в дальнейшем уточняется при конструктивной проработке аппарата. Для ПНД ηтр = 0,35…0,65.

Диаметр трубной доски

                                                                                           (2.39)

Объединив (2.37), (2.38) и (2.39), будем иметь

                                                                                  (2.40)

Величина поверхности нагрева по наружному диаметру трубок

                                                                                      (2.41)

откуда

                                                                                        (2.42)

Диаметр трубной доски ограничен условиями её прочности. Для ПНД рекомендуется Dтр = 1,0…1,8 м.

При ремонте подогревателей трубная система с помощью мостового крана переноситься на ремонтную площадку. ПНД стоят вертикально, поэтому размер ℓтр минимизирован максимальной высотой крюка мостового крана. Отсюда важным конструктивным показателем для ПНД является величина

                                                                                     (2.43)

2.4 Гидравлическое сопротивление

Полная механическая энергия 1 м3 потока движущейся жидкости определяется трёхчленом Бернулли

                                                                                    (2.44)

где z -- расстояние данного сечения струйки тока жидкости от уровня, принятого за начало отсчета, а остальные обозначения введены выше.

Величину Н называют напором или полным давлением, измеряется в Па. Слагаемые правой части уравнения (2.44) называются статическим давлением, геометрическим напором, динамическим напором, соответственно.

При движении вязкой жидкости по трубам и каналам часть полного давления необратимо теряется (переходит в теплоту). Гидравлическое сопротивление - величина, равная потери полного давления. Отношение потерянного полного давления к динамическому давлению в условленном сечении называют коэффициентом гидравлического сопротивления.

При установившемся движении «теряемая» часть полного давления подводится к потоку насосом.

Коэффициенты местных гидравлических сопротивлений отдельных элементов тракта основного конденсата таковы [2]:

- удар и поворот во входной или выходной камерах -- 1,5;

- поворот на 180º из одной секции в другую -- 2,5;

- поворот на 180º в U-образной трубе -- 0,5.

Сумма коэффициентов местных сопротивлений ПНД определяется по формуле

                                                                             (2.45)

где k1 и k2 -- коэффициенты:

, .

                                                                         (2.46)

где λfr -- коэффициент трения, равный 0,03 для стальных труб и 0,02 для латунных; wв -- скорость воды в трубках; ℓтр -- длина трубок; z -- число ходов воды; ρf -- плотность подогреваемого конденсата при температуре ;  -- сумма коэффициентов местных сопротивлений.

3. ПРИМЕР РАСЧЕТА ПОДОГРЕВАТЕЛЯ НИЗКОГО ДАВЛЕНИЯ

3.1 Исходные данные

Давление пара в отборе.............. ротб = 7·105 Па.

Расход конденсата....................... Gв = 750 т/ч.

Начальная температура конденсата    tв1 = 132 ºС.

Недогрев...................................... J = 4 ºС.

Диаметр трубок подогревателя.. dн/dвн = 18/16 мм.

Число ходов воды........................ z = 4.

Расстояние между паронаправляющими перегородками    h = 1 м.

Скорость конденсата в трубках.. wв = 2,0 м/с.

Ускорение силы тяжести............. g = 9,81 м/с2.

Коэффициент заполнения трубной доски     ηтр = 0,65.

Коэффициент трения................... λfr = 0,02.

Коэффициент теплопроводности металла трубок λм = 117 Вт/(м·К).

.2 Тепловой расчёт

Давление греющего пара

 Па.

Температура насыщения tн при рп (приложение А)

tн = 161,6 ºС.

Температура конденсата за подогревателем

.

Тепловой поток, воспринимаемый основным конденсатом (приложение А):

св1 = 4,267·103 Дж/(кг·К); св2 = 4,332·103 Дж/(кг·К);

.

Средний логарифмический температурный напор

.

Средняя температура воды в трубках

.

Физические свойства воды при температуре  (приложение А):

ρf = 917,757 кг/м3; Prf = 1,157;

λf = 0,682 Вт/(м·К); νf = 2,043·10-7 м2/с.

Коэффициент теплоотдачи от основного конденсата к стенкам трубок


Средняя температура наружной стенки трубок

.

Средняя температура плёнки конденсата

.

Теплофизические свойства воды при температуре tж (приложение А):

ρж = 909,489 кг/м3; λж = 0,681 Вт/(м·К);

μж = 1,77·10-4 Па·с; rж = 2,076·106 Дж/кг.

Коэффициент теплоотдачи со стороны пара

;

;


Плотность теплового потока определяем, решая графическим методом уравнение

.

Результаты расчёта и соответствующий график представлены в табл. 3.1 и на рис. 3.1.

Таблица 3.1

Формула

q, Вт/м2


60000

80000

100000

120000

0,510,680,851,03





6,289,2112,4015,82





q/α2

4,03

5,38

6,72

8,06

ЛЧ

12,29

12,12

11,95

11,77

ПЧ

10,31

14,59

19,12

23,88

Рисунок 3.1

q = 6,907·104 Вт/м2.

Коэффициент теплопередачи

.

Поверхность нагрева


Расчётная поверхность нагрева с учётом возможного выхода трубок из строя при эксплуатации


.3 Конструктивные размеры подогревателя

Шаг разбивки трубной доски

t = 1,25dн = 1,25·0,018 = 0,0225 м.

Число трубок в одном ходе

.

Диаметр трубной доски

.

Длина трубок

.

Характеристическое отношение

.

Поскольку конструктивный показатель ε находится в рекомендуемых пределах, расчёт подогревателя можно считать законченным.

Оценка высоты подогревателя


3.4 Гидравлическое сопротивление подогревателя по водяной стороне

Сумма коэффициентов местных сопротивлений

.

Коэффициент сопротивления трубного пучка

.

Полное гидравлическое сопротивление

.

Гидравлическое сопротивление в м. вод. ст.


ПРИЛОЖЕНИЕ А

Физические свойства воды и водяного пара на линии насыщения

Таблица А.1 -- Физические свойства воды на линии насыщения

t, ºC

p∙10-5, Па

ρ, кг/м3

i´, кДж/кг

ср, кДж/(кг∙ºC)

λ∙102, Вт/(м∙ºC)

0

1,013

999,9

0

4,212

55,1

10

1,013

999,7

42,04

4,191

57,4

20

1,013

998,2

83,91

4,183

59,9

30

1,013

995,7

125,7

4,174

61,8

40

1,013

992,2

167,5

4,174

63,5

50

1,013

988,1

209,3

4,174

64,8

60

1,013

983,2

251,1

4,179

65,9

70

1,013

977,8

293,0

4,187

66,8

80

1,013

971,8

335,0

4,195

67,4

90

1,013

965,3

377,0

4,208

68,0

100

1,013

958,4

419,1

4,220

68,3

110

1,43

951,0

461,4

4,233

68,5

120

1,98

943,1

503,7

4,250

68,6

130

2,70

934,8

546,4

4,266

68,6

140

3,61

926,1

589,1

4,287

68,5

150

4,76

917,0

632,2

4,313

68,4

160

6,18

907,4

675,4

4,346

68,3

170

7,92

897,3

719,3

4,380

67,9

180

10,03

886,9

763,3

4,417

67,4

190

12,55

876,0

807,8

4,459

67,0

200

15,55

863,0

852,5

4,505

66,3

210

19,08

852,8

807,7

4,555

65,5

220

23,20

840,3

943,7

4,614

64,5

230

27,98

827,3

990,2

4,681

63,7

240

33,48

813,6

1037,5

4,756

62,8

250

39,78

799,0

1085,7

4,844

61,8

0

13,1

1788

1,789

-0,63

756,4

13,67

10

13,7

1306

1,306

+0,70

741,6

9,52

20

14,3

1004

1,006

1,82

726,9

7,02

30

14,9

801,5

0,805

3,21

712,2

5,42

40

15,3

653,3

0,659

3,87

696,5

4,31

50

15,7

549,4

0,556

4,49

676,9

3,54

60

16,0

469,9

0,478

5,11

662,2

3,98

70

16,3

406,1

0,415

5,70

643,5

2,55

80

16,6

355,1

0,365

6,32

625,9

2,21

90

16,8

314,9

0,326

6,95

607,2

1,95

100

16,9

282,5

0,295

7,52

588,6

1,75

110

17,0

259,0

8,08

569,0

1,60

120

17,1

237,4

0,252

8,64

548,4

1,47

130

17,2

217,8

0,233

9,19

528,8

1,36

140

17,2

201,1

0,217

9,72

507,2

1,26

150

17,3

186,4

0,203

10,3

486,6

1,17

160

17,3

173,6

0,191

10,7

436,0

1,10

170

17,3

162,8

0,181

11,3

443,4

1,05

180

17,2

153,0

0,173

11,9

422,8

1,00

190

17,1

144,2

0,165

12,6

400,2

0,96

200

17,0

136,4

0,158

13,3

376,7

0,93

210

16,9

130,5

0,153

14,1

354,1

0,91

220

16,6

124,6

0,148

14,8

331,6

0,89

230

16,4

119,7

0,145

15,9

310,0

0,88

240

16,2

114,8

0,141

16,8

285,5

0,87

250

15,9

109,9

0,137

18,1

261,9

0,86


Таблица А.2 - Физические свойства водяного пара на линии насыщения

t, ºC

p∙10-5, Па

r, кДж/кг

t, ºC

p∙10-5, Па

r, кДж/кг

t, ºC

p∙10-5, Па

r, кДж/кг

50

0,1233

2383

120

1,9854

2202

190

12,553

1979

55

0,1574

2370

125

2,3208

2188

195

13,989

1960

60

0,1992

2358

130

2,7011

2174

200

15,551

1941

65

0,2501

2345

135

3,130

2159

205

17,245

1921

70

0,3117

2338

140

3,614

2145

210

19,080

1900

75

0,3855

2321

145

4,155

2130

215

21,062

1879

80

0,4736

2308

150

4,760

2114

220

23,201

1858

85

0,5781

2295

155

5,433

2099

225

25,504

1835

90

0,7011

2282

160

6,180

2082

230

27,979

1813

95

0,8451

2270

165

7,008

2066

235

30,635

1790

100

1,013

2257

170

7,920

2050

240

33,480

1766

105

1,2079

2243

175

8,925

2032

245

36,524

1741

110

1,4326

2230

180

10,027

2015

250

39,776

1715

115

1,6905

2216

185

11,234

1997

255

43,25

1689


ПРИЛОЖЕНИЕ Б

Варианты заданий для выполнения курсовой работы

№ п/п

Прототип

ротб, бар

Gв, т/ч

tв1, ºС

J, ºС

dвн/dн, мм

z

wв, м/с

λм, Вт/(м∙К)

1.

ПН-400-26-7-I

7

750

133

3

16/18

4

2,1

110

2.

то же самое

6,5

800

125

4


4

2,2

100

3.

то же самое

7

800

140

3


4

2,4

60

4.

то же самое

6

650

124

5


4

2,15

75

5.

то же самое

5

720

115

4


4

2,0

40

6.

ПН-400-26-7-II

3,0

550

107

3

16/18

4

1,6

110

7.

то же самое

3,5

550

112

4


4

2,05

100

8.

то же самое

5,5

700

110

3


4

1,7

60

9.

то же самое

4,5

600

114

5


4

2,0

75

10.

то же самое

6

700

115

4


4

1,85

50

11.

ПН-400-26-7-III

3,8

550

108

5

16/18

4

1,9

12.

то же самое

4

650

120

3


4

2,0

100

13.

то же самое

5

700

105

4


4

1,65

60

14.

то же самое

6

600

112

4


4

1,6

75

15.

то же самое

7

800

115

3


4

1,5

60

16.

ПН-250-1М

0,7

290

58

3

14,5/16

6

1,5

110

17.

то же самое

0,6

260

50

4


6

1,55

100

18.

то же самое

0,55

285

57

5


6

1,9

60

19.

то же самое

0,65

300

48

3


6

1,95

75

20.

то же самое

0,6

280

55

4


6

1,8

110


СПИСОК ИСТОЧНИКОВ ИНФОРМАЦИИ

1. Берман С. С. Теплообменные аппараты и конденсационные устройства турбоустановок. -- М.: Машгиз, 1959.

. Гиршфельд В. Я., Морозов Г. А. Тепловые электрические станции.
М.: Энергия, 1973.

. Исаченко В. П., Осипова В. А., Сукомел А. С. Теплопередача. -- М.: Энергоиздат, 1981.

. Ривкин С. Л., Александров А. А. Теплофизические свойства воды и водяного пара. -- М.: Энергия, 1980.

. Теоретические основы теплотехники. Теплотехнический эксперимент.: Справочник / Под общ. ред. В. А. Григорьева, В. М. Зорина. -- 2-е изд., перераб. -- М.: Энергоиздат, 1988.

. Краснощеков Е. А., Сукомёл А. С. Задачник по теплопередаче. -- М.: Энергия, 1975.

. Чиркин В. С. Теплопроводность промышленных материалов. -- М.: Машгиз, 1962.

9. Елизаров Д. П. Теплоэнергетические установки электростанций. -- М.: Энергоиздат, 1982.

Похожие работы на - Расчет подогревателя низкого давления

 

Не нашли материал для своей работы?
Поможем написать уникальную работу
Без плагиата!
Без нейросетей!