Изоляционное оборудование и технология изоляции

  • Вид работы:
    Курсовая работа (т)
  • Предмет:
    Другое
  • Язык:
    Русский
    ,
    Формат файла:
    MS Word
    628,76 Кб
  • Опубликовано:
    2014-02-19
Вы можете узнать стоимость помощи в написании студенческой работы.
Помощь в написании работы, которую точно примут!

Изоляционное оборудование и технология изоляции

 

 

 

 

 

 

 

 

 

 

 

 

 

 

Курсовая работа

Изоляционное оборудование и технология изоляции

Введение

трубопровод изоляционный покрытие

Коррозия трубопроводов - явление, обусловленное, главным образом, электрохимическими реакциями окисления металла при взаимодействии с влагой. Металл постепенно видоизменяется на ионном уровне и, распадаясь, исчезает с поверхности трубы. Окисление, характеризующее феномен коррозии металлических трубопроводов, может происходить по различным причинам и, следовательно, возникает на основе различных механизмов. Процесс окисления может зависеть от характера жидкости, протекающей по трубопроводу, или от свойств среды, в которой проложен трубопровод.

Металлические трубы в процессе эксплуатации подвержены образованию ржавчины (и внутри, и снаружи). В результате коррозии уменьшается пропускная способность труб, возникают засоры, свищи, происходит расхождение швов, утечка воды, в общем, значительно снижается срок службы трубопроводов. Естественно, коррозию легче предотвратить, чем бороться с ней. Для этого существуют различные способы.

Методы защиты металлических труб от ржавчины подразделяются на пассивные и активные. Пассивные - это изоляция труб внутри и снаружи или их покрытие специальными оболочками, активные - электрическая защита. Трубы, выпускаемые на заводах, обычно не имеют антикоррозионного покрытия. Поэтому защиту от ржавчины следует выполнять перед укладкой или в процессе укладки труб. В качестве наружной изоляции для стальных труб применяют битумно-полимерные, битумно-минеральные, этиленовые и подобные им покрытия, выбор которых зависит от грунта.

1. Изоляционные покрытия

трубопровод изоляционный покрытие

Изоляционные покрытия, применяемые на подземных магистральных трубопроводах, должны удовлетворять следующим основным требованиям:

обладать высокими диэлектрическими свойствами;

быть сплошными;

обладать хорошей прилипаемостыо к металлу трубопровода;

быть водонепроницаемыми, механически прочными, эластичными и термостойкими.

Конструкция покрытий должна допускать возможность механизации их нанесения на трубы, а используемые материалы должны быть недорогими, недефицитными и долговечными.

В зависимости от используемых материалов различают покрытия на основе битумных мастик, полимерных липких лент, эпоксидных полимеров, каменноугольных пеков и др.

. Битумные мастики

Наибольшее распространение в отрасли трубопроводного транспорта нефти и нефтепродуктов получили покрытия на основе битумных мастик. Они представляют собой многослойную конструкцию, включающую грунтовку, мастику, армирующую и защитную обертки. Грунтовка представляет собой раствор битума в бензине. После ее нанесения бензин испаряется и на трубе остается тонкая пленка битума, заполнившего все микронеровности поверхности металла. Грунтовка служит для обеспечения более полного контакта, а, следовательно, лучшей прилипаемости основного изоляционного слоя битумной мастики - к трубе. Битумная мастика представляет собой смесь тугоплавкого битума (изоляционного - БНИ-1У-3, БНИ-IV, БНИ-V или строительного - БН-70/30, БН-90/10), наполнителей (минеральных - асбеста, доломита, известняка, талька; органических резиновой крошки; полимерных - атактического полипропилена, низкомолекулярного полиэтилена, полидиена) и пластификаторов (полиизобутилена, полидиена, масла осевого, автола). Каждый из компонентов мастики выполняет свою роль. Битум обеспечивает необходимое электросопротивление покрытия, наполнители - механическую прочность мастики, пластификаторы - ее эластичность. Битумную мастику наносят на трубу при температуре 150... 180 °С. Расплавляя тонкую пленку битума, оставшуюся на трубе после испарения грунтовки, мастика проникает во все микронеровности поверхности металла, обеспечивая хорошую прилипаемость покрытия.

Битумная мастика может наноситься в один или два слоя. В последнем случае между слоями мастики для увеличения механической прочности покрытия наносят слой армирующей обертки из стеклохолста. Для защиты слоя битумной мастики от механических повреждений она покрывается сверху защитной оберткой (бризол, бикарул и др.).

В зависимости от количества и толщины слоев мастики различают битумные покрытия нормального типа (общей толщиной 4 мм) и усиленного типа (толщиной 6 мм). Покрытия усиленного типа применяются на трубопроводах диаметром 1020 мм и более, а также независимо от диаметра в следующих случаях:

южнее 50-й параллели северной широты;

на подводных переходах и в поймах рек, а также на переходах через железные и автомобильные дороги;

на территориях перекачивающих станций;

на участках промышленных и бытовых стоков, свалок мусора и щлака;

на участках, где имеются блуждающие токи;

на участках трубопроводов, прокладываемых параллельно рекам, каналам, озерам, а также вблизи населенных пунктов и промышленных предприятий.

Изоляционные покрытия на основе битумных мастик применяются при температуре транспортируемого продукта не более 40 °С. При более высоких температурах применяются полимерные изоляционные покрытия. Порошковые полиэтиленовые покрытия выдерживают температуру до 70 °С, эпоксидные - 80 °С, полиэтиленовые липкие ленты - 70 "С.

. Покрытия на основе эпоксидной порошковой краски и напыленного полиэтилена

Покрытия на основе эпоксидной порошковой краски и напыленного полиэтилена изготавливаются, в основном, в заводских условиях. В настоящее время мощности по выпуску изолированных труб ограничены. Поэтому наиболее широко применяются покрытия на основе полимерных липких лент. Сначала на трубу наносится полимерная или битумио- полимерная грунтовка, затем полиэтиленовая или поливинилхлоридная изоляционная липкая лента (1-2 слоя) и защитная обертка. Толщина изоляционного покрытия нормального типа составляет 1,35... 1,5 мм, а усиленного - 1,7 мм.

Полимерные покрытия обладают высоким электросопротивлением, очень технологичны (простота нанесения, удобство механизации работ), однако они легко уязвимы - острые выступы на поверхности металла или камушки легко прокалывают такую изоляцию, нарушая ее сплошность. С этой точки зрения они уступают покрытиям на основе битумных мастик, проколоть которые достаточно сложно. Но и битумные покрытия имеют недостатки: с течением времени они теряют эластичность, становятся хрупкими и отслаиваются от трубопровода.

Указанных недостатков лишено комбинированное изоляционное покрытие «Пластобит». На слой грунтовки наносится битумная мастика толщиной 3...4 мм, которая сразу же обматывается поливи- иилхлоридиой пленкой без подклеивающего слоя. Величина нахлеста регулируется в пределах 3...6 мм. В момент намотки полимерного слоя часть мастики выдавливается под нахлест, что обеспечивает получение герметичного покрытия.

Полимерный слой в конструкции покрытия «Пластобит» играет роль своеобразной «арматуры», которая обеспечивает сохранение целостности основного изоляционного слоя битумного. В свою очередь, прокол полимерной пленки не приводит к нарушению целостности покрытия, т.к. слой битумной мастики имеет достаточно большую толщину.

. Машина для покрытий на основе эпоксидной порошковой краски и напыленного полиэтилена

Для изоляции трубопровода сваренного в нитку, в полевых условиях требуется готовая траншея, чтобы трубоукладчик укладывал изолированную трубу непосредственно в траншею. Зачистную машина «Малыш» устанавливается на трубопровод, также устанавливается на трубопровод изолировочная машина «МИГ».

Обе машины могут насаживаться на трубу с торца или могут монтироваться на любом участке трубопровода, в последнем случае каждая из машин разбирается на две половины.

Очистка и изоляция ведется на трубопроводе слева направо. Между очистной и изолировочной машинами устанавливается трубоукладчик с траллеей (тележка с обрезиненными роликами, по которым катится труба в подвешенном состоянии). Трубоукладчик едет рядом с трубой и держит траллею с трубой на расстоянии 1 метра от земли. Изолировочная колонна работает следующим образом. Справа от трубоукладчика машина «Малыш» производит зачистку. Степень зачистки трубы регулируется как шагом машины (многократное прохождение щеток по одному месту), так и усилием прижатия щеток к трубе.

Затем, со скоростью зачистной машины движется трубоукладчик с траллеей. Слева от трубоукладчика труба поливается клеем из емкости с носиком (чайника). Последней, в изолировочной колонне, расположена машина «МИГ», которая с помощью укрепленного на машине «полотенца» из пористой ткани равномерно растирает клей по всей поверхности трубы. Следом за полотенцем на изолировочной машине расположена 1-я шпуля, с которой наматывается на трубу первый антикоррозионный слой полимерной пленки. По первому слою пленки катятся обрезиненные колеса из маслобензостойкой резины. Колеса установлены под углом к оси трубопровода, что обеспечивает продольное поступательное движение при вращении машины и намотку пленки по винтовой линии с необходимым нахлестом. Слева, в задней части машины, расположена вторая шпуля для рулона с оберткой. Обертка предназначена для механической защиты первого антикоррозионного слоя пленки. В ряде случаев для получения «весьма усиленной изоляции» толщиной 2 мм в задней части машины расположены две шпули, 2-я и 3-я для намотки второго и третьего слоя.

Бригада для изоляции состоит из четырех человек: машинист трубоукладчика, два оператора на очистной и изоляционной машинах и помощника, который помогает перезаряжать рулоны и поливает трубу праймером (клеем). Машины «МИГ» рассчитаны для использования разрезанных на части стандартных рулонов полимерной пленки и обертки. Размеры стандартных рулонов: диаметр наружный до 450 мм, диаметр внутренний 75-80 мм, ширина 450 мм. Для машин «МИГ» ширина рулона в зависимости от типа изолировочной машины и диаметра изолируемой трубы может быть от 80 до 225 мм. Таким образом стандартный рулон удобнее всего резать на токарном станке на 2, 3, или 4 части по ширине. Например, для машины «МИГ-219» для трубы 219 мм необходимо разрезать стандартный рулон на 3 части (1/3 рулона), а для машины «МИГ-325» для трубы 325 мм необходима 1/2 рулона.

Машина проста в управлении, физических усилий, практически, не требуется. Для надежной зачистки сильно корродированных участков трубопровода потребуется в отдельных случаях 2-х или 3-х кратный проход машины по одному участку.

Как это сделать? Для зачистки трубы в обратном направлении, т.е. справа налево, необходимо лишь развернуть ходовые стальные колеса в обратную сторону на тот же угол, и машина пойдет обратно. Машина «Малыш» применяется для зачистки труб от старой битумной изоляции, для, этого щетки заменяются на скребки и ножи. Для работ в стационарных условиях на машины «МИГ», «Малыш» могут устанавливаться электродвигатели.

Таким образом, изоляция труб, а также проводов и кабелей сегодня - это скорее необходимость. Не нужно экономить на безопасности, чувство уверенности и защищенности дорогого стоит.

Рис 1. чертеж машины

. Электрохимическая защита трубопроводов от коррозии

Практика показывает, что даже тщательно выполненное изоляционное покрытие в процессе эксплуатации стареет: теряет свои диэлектрические свойства, водоустойчивость, адгезию. Встречаются повреждения изоляции при засыпке трубопроводов в траншее, при их температурных перемещениях, при воздействии корней растений. Кроме того, в покрытиях остается некоторое количество незамеченных при проверке дефектов. Следовательно, изоляционные покрытия не гарантируют необходимой защиты подземных трубопроводов от коррозии. Исходя из этого, в строительных нормах и правилах отмечается, что защита трубопроводов от подземной коррозии независимо от коррозионной активности грунта и района их прокладки должна осуществляться комплексно: защитными покрытиями и средствами электрохимической защиты (ЭХЗ).

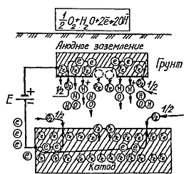
Электрохимическая защита осуществляется катодной поляризацией трубопроводов. Если катодная поляризация производится с помощью внешнего источника постоянного тока, то такая защита называется катодной, если же поляризация осуществляется присоединением защищаемого трубопровода к металлу, имеющему более отрицательный потенциал, то такая защита называется протекторной.

. Катодная защита

Принципиальная схема катодной защиты показана на рис. 4. Источником постоянного тока является станция катодной защиты 3, где с помощью выпрямителей переменный ток, поступающий от вдольтрассовой ЛЭП 1 через трансформаторный пункт 2, преобразуется в постоянный.

Отрицательным полюсом источник с помощью кабеля 6 подключен к защищаемому трубопроводу 4, а положительным - к анодному заземлению 5. При включении источника тока электрическая цепь замыкается через почвенный электролит.

Принцип действия катодной защиты (рис. 5) аналогичен процессу электролиза. Под воздействием приложенного электричес кого поля источника начинается движение полусвободных валентных электронов в направлении «анодное заземление - источник тока - защищаемое сооружение». Теряя электроны, атомы металла анодного заземления переходят в виде ион-атомов в раствор почвенного электролита, т. е. анодное заземление разрушается. Ион-атомы подвергаются гидратации и отводятся вглубь раствора. У защищаемого же сооружения вследствие работы источника постоянного тока наблюдается избыток свободных электронов, т. е. создаются условия для протекания реакций кислородной и водородной деполяризации, характерных для катода.

Считается, что для защиты от коррозии подземных металлических трубопроводов необходимо, чтобы их потенциал был не более минус 0,85 В. Минимальный защитный потенциал должен поддерживаться на границе зон действия смежных станций катодной защиты (СКЗ).

 

Рис. 4. Принципиальная схема катодной защиты: 1 - ЛЭП; 2 - трансформаторный пункт; 3 - станция катодной защиты; 4 - защищаемый трубопровод; 5 - анодное заземление; 6 - кабель

 

Рис.5. Механизм действия катодной защиты

7. Станции катодной защиты

Перед включением СКЗ в работу после окончательного монтажа необходимо тщательно проверить все элементы установки и произвести измерение сопротивления растеканию анодного и защитных заземлений, переходного сопротивления труба - земля и общего сопротивления цепи СКЗ. Данные замеров заносят в паспорт установки. После этого включают напряжение питания и устанавливают разность потенциалов труба - земля в точке дренажа, равную - 1,27 в по отношению к медносульфатному электроду. Установив это значение разности в точке дренажа, производят замеры потенциалов по длине газопровода в обе стороны от СКЗ у всех катодных выводов. Минимальное значение потенциала в конце защищаемого участка должно быть не менее -0,87 в по отношению к медносульфатному электроду. По результатам измерений строится график разности потенциалов по длине газопровода. При наладке СКЗ, при плохой изоляции, допускается установка разности потенциалов труба - земля в точке дренажа . Это позволяет увеличить защитную зону действия катодной станции.

Данные наладки заносят в паспорт СКЗ и составляют акт на включение катодной станции в работу. Катодная защита газопровода должна действовать бесперебойно. Поэтому следует регулярно проверять и ремонтировать СКЗ и вести ежедневный контроль за параметрами установки (напряжением и током). Для каждой СКЗ устанавливается определенный режим в зависимости от условий ее работы. При эксплуатации катодной станции ведется журнал электрических параметров ее и работы источника тока. Необходим также постоянный контроль за анодным заземлением, состояние которого определяется по величине тока СКЗ. Резкое снижение тока будет свидетельствовать о возрастании сопротивления, связанном с отключением отдельных электродов заземления или же с высыханием грунта. При нормальной работе СКЗ величина защитного тока не должна отличаться от нормальной величины более чем на 10%.

Рис.6. схема станции катодной защиты

. Протекторная защита

Принцип действия протекторной защиты аналогичен работе гальванического элемента (рис. 4).

Таким образом, разрушение металла все равно имеет место. Но не трубопровода, а протектора.

Теоретически для защиты стальных сооружений от коррозии могут быть использованы все металлы, расположенные в электрохимическом ряду напряжений левее от железа, т.к. они более электроотрицательны. Практически же протекторы изготавливаются только из материалов, удовлетворяющих следующим требованиям:

§  разность потенциалов материала протектора и железа (стали) должна быть как можно больше;

§  ток, получаемый при электрохимическом растворении единицы массы протектора (токоотдача), должен быть максимальным;

§  отношение массы протектора, израсходованной на создание защитного тока, к общей потере массы протектора (коэффициент использования) должно быть наибольшим.

Рис. 7. Принципиальная схема протекторной защиты

Рис. 8. Принципиальные схемы электрических дренажей: а - прямой; б - поляризованный; в - усиленный

Данным требованиям в наибольшей степени удовлетворяют магний, цинк и алюминий, сплавы которых и используются для изготовления протекторов.

Протекторную защиту рекомендуется использовать в грунтах с удельным сопротивлением не более 50 Омвм.

Применяют защиту протекторами, расположенными как поодиночке, так и группами. Кроме того, защита от коррозии трубопроводов может быть выполнена ленточными протекторами.

Защита от блуждающих токов- Механизм наведения блуждающих токов на подземные металлические сооружения и их разрушения

Появление блуждающих токов в подземных металлических сооружениях связано с работой электрифицированного транспорта и электрических устройств, использующих землю в качестве токопро- вода. Источниками блуждающих токов являются линии электрифицированных железных дорог, трамваев, линии электропередачи, установки катодной защиты и др.

При работе электрифицированного транспорта ток совершает движение от положительной шины тяговой подстанции по контактному проводу к двигателю транспортного средства, а затем через колеса попадает на рельсы, по которым возвращается к отрицательной шине тяговой подстанции. Однако из-за нарушения перемычек между рельсами (увеличение сопротивления цепи), а также низкого переходного сопротивления «рельсы - грунт» часть тока стекает в землю. Здесь она натекает на подземные металлические сооружения, имеющие низкое продольное сопротивление, и распространяется до места с нарушенной изоляцией, расположенного недалеко от сооружения с еще меньшим продольным сопротивлением. В месте стекания блуждающих токов металл сооружения теряет свои ион - атомы, т. е. разрушается.

Блуждающие токи опасны тем, что они стекают, как правило, с небольшой площади поверхности, что приводит к образованию глубоких язв в металле в течение короткого времени.

. Электродренажная защита трубопроводов

Метод защиты трубопроводов от разрушения блуждающими токами, предусматривающий их отвод (дренаж) с защищаемого сооружения на сооружение - источник блуждающих токов, либо специальное заземление - называется электродренажной защитой.

Применяют прямой, поляризованный и усиленный дренажи. Прямой электрический дренаж - это дренажное устройство двусторонней проводимости. Схема прямого электрического дренажа (рис. 8 а) включает: реостат R, рубильник К, плавкий предохранитель Пр и сигнальное реле С г Сила тока в цепи «трубопровод-рельс» регулируется реостатом. Йсли величина тока превысит допустимую величину, то плавкий предохранитель сгорит, ток потечет по обмотке реле, при включении которого включается звуковой или световой сигнал.

Прямой электрический дренаж применяется в тех случаях, когда потенциал трубопровода постоянно выше потенциала рельсовой сети, куда отводятся блуждающие токи. В противном случае дренаж превратится в канал для натекания блуждающих токов на трубопровод.

Усиленный дренаж (рис. 8 в) применяется в тех случаях, когда нужно не только отводить блуждающие токи с трубопровода, но и обеспечить на нем необходимую величину защитного потенциала. Усиленный дренаж представляет собой обычную катодную станцию, подключенную отрицательным полюсом к защищаемому сооружению, а положительным - не к анодному заземлению, а к рельсам электрифицированного транспорта.

За счет такой схемы подключения обеспечивается: во-первых, поляризованный дренаж (за счет работы вентильных элементов в схеме СКЗ), а во-вторых, катодная станция удерживает необходимый защитный потенциал трубопровода.

После ввода трубопровода в эксплуатацию производится регулировка параметров работы системы их защиты от коррозии. При необходимости с учетом фактического положения дел могут вводиться в эксплуатацию дополнительные станции катодной и дренажной защиты, а также протекторные установки

Заключение

Таким образом, можно сделать вывод, что технология защиты трубопроводов от коррозии полимерными покрытиями совершенствуется, так как магистральные газонефтепроводы являются дорогостоящими и металлоемкими сооружениями, поэтому полимерные покрытия должна рассчитываться на работу в течение всего длительного срока службы трубопровода - 35 и более лет.

Литература

1. Кузнецов М.В., Новоселов В.Ф., Тугунов П.И., Котов В.Ф. Противокоррозионная защита трубопроводов и резервуаров: Учебник для вузов. - М.: Недра, 1992

. Наружная антикоррозионная изоляция труб. Технические условия 39-0147585-49-98/НПО «ЗНОК и ППД», 1997

. Проспект фирмы «Маннесманн» (ФРГ), 1993.

. Проспект-каталог «ВАSF» (ФРГ). - Кельн, 1995.

. Воронин В.И., Воронина Т.С. Изоляционные покрытия подземных нефтегазопроводов. - М.: ВНИИОЭНГ, 1990.

. Проспект фирмы «Спай-сапаг», «СИФ», «Изопайн» (Франция). - Париж, Седан, 1992.

. Противокоррозионная изоляция труб в заводских условиях за рубежом. Сер. Борьба с коррозией и защита окружающей среды. - М.: ВНИИОЭНГ, 1988

Похожие работы на - Изоляционное оборудование и технология изоляции

 

Не нашли материал для своей работы?
Поможем написать уникальную работу
Без плагиата!
Без нейросетей!