|
Наименование
процессов, подлежащих контролю
|
Предмет
Контроля
|
Инструмент
и способ контроля
|
Ответственный
контролер
|
Технические
критерии оценки качества
|
|
1
|
2
|
3
|
4
|
5
|
|
Подготовительные
предмонтажные работы
|
Опорные
конструкции. Выверка проектных горизонтальных и вертикальных осей и отметок
|
Уровень,
отвес, нивелир
|
Мастер
|
Отклонение
отметки верха стойки не более  15 мм, смещение по горизонтали
относительно главных осей вдоль и поперек опоры не более  20 мм, разворот стоек в плане не
более  5 градусов, отклонение стойки от
вертикали не более 1:100 ее высоты.
|
|
Проверка
разметки отверстий под фундаментные болты
|
Линейка
|
Мастер
|
В
соответствии с заводской документацией.
|
|
Блок
трансформатора Уплотнения
|
Визуально
|
Бригадир
|
Отсутствие
течей масла
|
|
Фарфоровая
покрышка. Годность для монтажа.
|
Линейка,
штангенциркуль
|
Бригадир
|
Суммарная
допустимая площадь сколов не более 200  . Допустимая глубина сколов не
более 3 мм.
|
|
Уровень масла по маслоуказателю
|
Визуально
|
Бригадир
|
Уровень
масла в пределах контрольных черт на маслоуказателе, соответствующих уровням
масла в неработающем трансформаторе при температуре окружающего воздуха: при
нижнем рабочем значении; при температуре 5 градусов; при верхнем рабочем
значении.
|
|
Измерение
тока холостого хода(выполняет группа наладки).
|
Стенд
с нагрузочным реостатом
|
Мастер
|
|
|
Воздухоосушитель
каждого блока. Уровень масла.
|
Линейка
|
Бригадир
|
На
3 мм выше нижнего края, металлического корпуса, входящего в стеклянный
стакан.
|
|
Цвет
силикагеля индикатора
|
Визуально
|
Бригадир
|
Голубой.
При розовом цвете силикагель сменить.
|
|
Первичная
и вторичная (основная и дополнительная) обмотки каждого блока. Измерение
электрического сопротивления (выполняет группа наладки).
|
Мост
РЗЗЗ
|
Мастер
|
Измеренная
величина не должна отличатся более чем на 2 % от величин, указанных в
паспорте трансформатора.
|
|
Измерение
сопротивления изоляции(при температуре изоляции не ниже 10 градусов)
|
Мегаометр
МС-0,5
|
Мастер
|
Сопротивление
изоляции между обмотками, между обмотками и заземленным цоколем блока должно
быть не менее 50 МОм при температуре 20±5 градусов.
|
|
Трансформаторное
масло. Испытание пробы масла из каждого блока.
|
Лаборатория.
|
Мастер
|
Минимальное
значение величины пробивного напряжения 55 кВ для трансформаторов 330 кВ.
Допустимая величина тангенса угла диэлектрических потерь при температуре 90
градусов - не более 2,2 %.
|
|
Монтаж трансформаторов.
|
Сборка
колоны из блоков. Соблюдение заводской маркировки.
|
Визуально
|
Бригадир
|
Внешний
осмотр
|
|
Установка
колонны из блоков. Вертикальность установки.
|
Отвес
|
Бригадир
|
|
3.6
Порядок монтажа
При монтаже трансформаторов из нескольких блоков
с цоколей верхнего и средних блоков снимают крышки. Обращают внимание на то,
чтобы указатели уровня масла на расширителях блоков располагались один над
другим. Блоки стропят за кольца основания нижнего блока, предварительно подмотав
пеньковый канат в верхней части фарфоровой покрышки, обвязывают стропы у
расширителя верхнего блока, поднимают блоки строго в вертикальном положении,
устанавливают на опорную конструкцию (или ранее установленные блоки) и
закрепляют. Болты соединяемых фланцев затягивают равномерно по всей окружности.
Соединяют перемычки одноименные вводы соседних блоков, проверяют правильность
соединения и устанавливают крышки на цоколи. Соединяемые фланцы блоков
закрывают козырьками. Проверяют вертикальность установки трансформатора.
Трансформаторы с одним блоком НКФ - 110 кВ
Поднимают и устанавливают блок на опорную
конструкцию, крепят болтами.
Аналогично собираются остальные две фазы
трансформатора.
4.
Разработка плана монтажной площадки
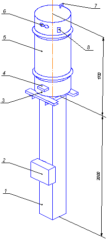
Объектом монтажа является трансформатор
напряжения типа НКФ-110. Для подъема и установки трансформатора применяется
кран КС - 2571Б.
Высота опорной конструкции 2800 мм, высота
силового трансформатора 1730 мм, следовательно, необходимо расположить кран
так, чтобы было возможным поднять трансформатор и установить его на опорную
конструкцию.
Наибольшая требуемая высота подъема груза
примерно 4,6 м, наибольшая длина стрелы крана 8,3 м, поэтому кран
устанавливается на расстоянии 6,4 м от опорной конструкции.
Открытые склады и навесы для хранения
оборудования, конструкций и материалов, закрытые склады, механическая
мастерская, а также помещения для рабочих находятся на территории завода вне
монтажной площадки, поэтому на плане не указываются.
План размещения оборудования и механизмов при
монтаже трансформатора напряжения представлен на рисунке 4.1
Рисунок 4.1 - План размещения оборудования и
механизмов при монтаже трансформатора напряжения серии НКФ - 110 1 - опорная
конструкция; 2 - настил из досок; 3 - блок трансформатора.
5.
Разработка сетевого графика монтажных работ
В строительстве объектов больших размеров
линейные графики не могут обеспечить оперативного управления, увязки и
обеспечения производства многочисленных работ:
проектирования;
поставки оборудования;
строительства;
монтажа и др.
В настоящее время широко изучается и внедряется
метод сетевого планирования и управления (СПУ). Основой его служит сетевой
график - графическая модель процессов строительства.
Расчеты трудоемкости должны производиться по
единым нормам и расценкам (ЕНиР), ведомственным нормам и расценкам (ВНиР) и
укрупненным нормам и расценкам. Данные сетевого графика представлены в таблице
5.1.
Таблица 5.1 - Расчет продолжительности работ
монтажа трансформатора напряжения типа НКФ - 110
|
Шифр
работы (по графику)
|
Наименование
работы
|
Трудоемкость
по нормам Нвр, чел.-час.
|
Состав
звена электромонтажников, n
|
Плановая
продолжительность работы в дн.
|
Коэффициент,
учитывающий работы на высоте, k
|
|
1
|
2
|
3
|
4
|
5
|
6
|
|
4
- 6
|
Монтаж
опорной конструкции
|
1,44
|
Электромонтажники
4-го разряда - 1 2-го разряда - 1
|
0,095
|
1,05
|
|
0 - 2
|
Подготовка
деревянного настила
|
0,544
|
Электромонтажники
3-го разряда - 1 2-го разряда - 1
|
0,034
|
1
|
|
0 - 1
|
Погрузка
автокраном деталей и узлов трансформатора и монтажного оборудования
|
0,317
|
Электромонтажники
3-го разряда - 1 2-го разряда - 1
|
0,02
|
1
|
|
1 - 4
|
Выгрузка
автокраном деталей и узлов трансформатора и монтажного оборудования
|
0,269
|
Электромонтажники
3-го разряда - 1 2-го разряда - 1
|
0,017
|
1
|
|
0 - 3
|
Погрузка
материалов и инструмента вручную на автомашину
|
0,67
|
Электромонтажники
3-го разряда - 1 2-го разряда - 1
|
0,042
|
1
|
|
4 - 5
|
Выгрузка
материалов и инструмента вручную с автомашины
|
0,51
|
Электромонтажники
3-го разряда - 1 2-го разряда - 1
|
0,032
|
1
|
|
5 - 7
|
Укладка
деталей и узлов трансформатора по рабочим местам
|
1,3
|
Электромонтажники
4-го разряда - 1 2-го разряда - 1
|
0,081
|
1
|
|
7 - 8
|
Монтаж
трансформатора напряжения НКФ-110
|
12
|
Электромонтажники
5-го разряда-1 4-го разряда-1 3-го разряда-1
|
0,525
|
1,05
|
|
8 - 9
|
Отбор
и анализ пробы масла
|
0,64
|
Электромонтажники
5-го разряда-1 4-го разряда-1 3-го разряда-1
|
0,028
|
1,05
|
|
9 - 10
|
Прокладка
полосы заземления по железобетонной сойке, с пристрелкой
строительно-монтажным пистолетом
|
13,3
|
Электромонтажники
5-го разряда-1 4-го разряда-1 3-го разряда-1
|
0,582
|
1,05
|
|
9 - 11
|
Прокладка
полосы заземления в траншее
|
8,6
|
Электромонтажники
5-го разряда-1 4-го разряда-1 3-го разряда-1
|
0,358
|
1
|
|
10 - 12
|
Присоединение
полосы заземления сваркой к общему контуру заземления
|
0,12
|
Электромонтажники
5-го разряда-1 4-го разряда-1 3-го разряда-1
|
0,005
|
1
|
|
12 - 14
|
Первичное
и вторичное окрашивание проложенной по железобетонной стойке полосы
заземления
|
6,1
|
Электромонтажники
5-го разряда-1 4-го разряда-1 3-го разряда-1
|
0,267
|
1,05
|
|
12 - 13
|
Погрузка
автокраном монтажного оборудования
|
0,317
|
Электромонтажники
4-го разряда-1 2-го разряда-1
|
0,02
|
1
|
|
14 - 15
|
Погрузка
инструмента вручную на автомашину
|
0,67
|
Электромонтажники
4-го разряда-1 2-го разряда-1
|
0,042
|
1
|
|
Итого
|
|
|
|
2,148
дней
|
|
Исходными данными для составления сетевого
графика служат:
физические объемы монтажных работ;
затраты труда на монтажные работы;
последовательность производства работы;
продолжительность монтажа объекта - директивный
срок.
Рисунок 5.1 - Сетевой график электромонтажных
работ трансформатора напряжения серии НКФ - 110
Благодаря сетевому графику продолжительность
работ сокращается на 0,549 дней.
6.
Расчёт и выбор заземляющих устройств
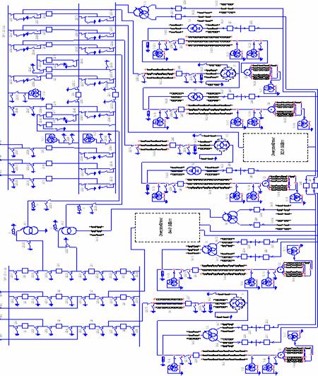
Размеры ОРУ - 500 кВ и ОРУ - 220 кВ составляются
в соответствии с главной схемой (рисунок 6.3) - показаны на рисунке 6.1
Рисунок 6.1 - Размеры ОРУ - 500 кВ и ОРУ - 220
кВ
Размеры ОРУ находятся по следующим данным:
для ОРУ 500 кВ: шаг ячейки - 28 м; длина - 186
м;
для ОРУ 220 кВ: шаг ячейки - 12м; длина - 24 м.
План заземляющей сетки показан на рисунке 6.2
Рисунок 6.2 - План заземляющей сетки
Площадь заземляющего устройства:
(6.1)
Общая длина полос сетки:
(6.2)
Периметр сетки:
(6.3)
Рисунок 6.3 - Электрическая часть ОРУ=500/220 кВ
Число вертикальных заземлителей:
(6.4)
где Р - периметр сетки,м;
а - расстояние между вертикальными заземлителями,
принимаем 10 м.
Расчётное удельное сопротивление верхнего слоя
грунта:

(6.5)
где Кс - коэффициент сезонности,
принимаем 1,25;

- удельное
сопротивление верхнего слоя грунта, принимаем 60
.
Ток однофазного короткого замыкания на землю:

, (6.6)
где 
- ток трехфазного
короткого замыкания, принимается из расчётов токов короткого замыкания,
принимаем 14800 А.

.
Коэффициент напряжения прикосновения:
(6.7)
где 
- длина
вертикального заземлителя, принимаем 5м;
S - площадь заземляющего
устройства,
;

общая длина полос
сетки,
;
M -
параметр, зависящий от 
, принимаем 0,79.
Коэффициент, определяемый по сопротивлению тела
человека Rч = 1000 Ом и
сопротивлению растекания тока от ступеней Rс:

, (6.8)
где 
- сопротивление
тела человека;
сопротивление растекания тока от ступеней.
Потенциал на заземлителе:
, (6.9)
где 
- проходное
допустимое напряжение, принимаем 200 В;

- коэффициент
напряжения прикосновения.
Допустимое сопротивление заземляющего
устройства:
, (6.10)
где 
- потенциал на
заземлителе, В;

- ток однофазного
короткого замыкания, А;

коэффициент
стекания, принимаем 0,5.
Сторона квадрата модели:

, (6.11)

Число ячеек сетки на стороне квадрата:

(6.12)
Принимается
14
шт.
Длина полос в расчётной модели:

, (6.13)
где 
- число ячеек
сетки на стороне квадрата, шт.
Длина сторон ячеек модели:

. (6.14)
где 
- сторона квадрата
модели, м;
Число вертикальных заземлителей по периметру
контура:

, (6.15)
где 
- длина сторон
ячеек модели.
Принимается
56
шт.
Общая длина вертикальных заземлителей модели:

, (6.16)
где 
- число
вертикальных заземлителей по периметру контура, шт.
Относительная глубина заземлителей:

, (6.17)
где t
- глубина горизонтальных заземлителей, м.
Сопротивление сложного заземлителя:
(6.18)
Эквивалентное сопротивление:

(6.19)
где 
- удельное
сопротивление верхнего слоя грунта,
;
удельное сопротивление нижнего слоя грунта,
принимаем 11
(6.20)


(6.21)


(6.21)
где 
сопротивление
сложного заземлителя, Ом;

общая длина
вертикальных заземлителей модели, м.
Сопротивление заземляющего устройства с учётом
естественных заземлителей:

, (6.22)
где 
сопротивление
естественного заземлителя - стальная труба, принимаем 2,5 Ом;
Напряжение прикосновения:
(6.23)
Заземляющее устройство отвечает требованиям
безопасности.
7.
Техника безопасности
Работы по монтажу трансформаторов выполняют с
соблюдением требований технике безопасности согласно действующим нормам и
правилам.
Перед началом работ мастер или прораб проводит
инструктаж на рабочем месте: объясняет задание и способы выполнения намечаемых
работ.
Такелажное оборудование, используемое при
монтаже, должно иметь отметки об испытаниях в соответствии с требованиями
Госгортехнадзора.
При монтаже обращают внимание на состояние и
правильную установку подъемных средств и одинаковый натяг всех стропов.
Подращивание блоков выполняют с особой
осторожностью. При наведение собранной части колонны блоков на подращиваемые
блоки монтажники должны находится вне контура монтируемой конструкции со
стороны, противоположной подаче краном. При наведение собранной части на
подращиваемый блок зазор между ними не должен превышать 30 см. Крепления троса
за ребра блока не допускается.
Подъем трансформаторов и отдельных блоков
производят без рывков и толчков с сохранением строго вертикального положения.
Подъем полностью собранного трансформатора из
трех или четырех блоков не допускается.
На период монтажа опасная зона, ограниченная
радиусом 10 м - для НКФ-110 кВ от оси поворотной части крана, ограждается и
обозначается хорошо видимыми предупредительными знаками.
К основным электрозащитным средствам в
электроустановках до 1 кВ относятся:
- изолирующие штанги; изолирующие и
электроизмерительные клещи;
- указатели напряжения;
- диэлектрические перчатки;
- изолированный инструмент.
К дополнительным электрозащитным средствам для
работы в электроустановках напряжением до 1 кВ относятся:
- диэлектрические галоши;
- диэлектрические ковры;
- изолирующие подставки и накладки;
- изолирующие колпаки.
К основным средствам электрозащиты в
электроустановках напряжением выше 1кВ относятся:
- изолирующие штанги всех видов;
- изолирующие и электроизмерительные клещи;
- указатели напряжения;
- устройства и приспособления для обеспечения
безопасности труда при проведении испытаний и измерений в электроустановках;
- изолирующие устройства и приспособления для
ремонтных работ под напряжением в электроустановках напряжением 150 кВ и выше.
Средства защиты работающих в зависимости от
характера их применения подразделяют на две категории:
- коллективной защиты;
- индивидуальной защиты.
Электрозащитные средства коллективной защиты в
защиты от назначения подразделяют на классы:
- от повышенного уровня электромагнитных и
электрических полей;
- от повышенной напряженности
магнитных и электрических полей;
- от поражения электрическим током;
- от повышенного уровня статического
электричества.
К средствам защиты от повышенного уровня
электромагнитных излучений относятся:
- оградительные устройства;
- защитные покрытия;
- герметизирующие устройства;
- устройства автоматического контроля
и сигнализации;
- устройства дистанционного
управления;
- знаки безопасности.
К средствам защиты от повышенной напряженности
магнитных и электрических полей относятся:
- оградительные устройства;
- защитные заземления;
- изолирующие устройства и покрытия;
- знаки безопасности.
К средствам защиты от поражения электрическим
током относятся:
- оградительные устройства;
- устройства автоматического контроля
и сигнализации;
- изолирующие устройства и покрытия;
- устройства защитного заземления и
зануления;
- устройства автоматического
отключения;
- устройства выравнивания потенциалов
и понижения напряжения;
- устройства дистанционного
управления;
- предохранительные устройства;
- молниеотводы и разрядники;
- знаки безопасности.
К средствам защиты от повышенного уровня
статического электричества относятся:
- заземляющие устройства; нейтрализаторы;
- увлажняющие устройства;
- антиэлектростатические вещества;
- экранирующие устройства.
Средства индивидуальной защиты (СИЗ)
предназначены для защиты головы (защитные каски); глаз и лица (защитные очки и
щитки); органов дыхания (противогазы и респираторы) рук (рукавицы) и от падения
с высоты (предохранительные пояса и страховочные канаты).
Требования к персоналу II
группы по электробезопасности:
- элементарные технические знания об
электроустановке и оборудовании;
- отчетливое представление об
опасности электрического тока, опасности приближения к токоведущим частям;
- знание основных мер предосторожности
при работах в электроустановках;
- практические навыки оказания первой медицинской
помощи.
Требования к персоналу III
группы по электробезопасности:
- элементарные познания в общей электротехнике;
- знание электроустановки и порядка ее
технического обслуживания;
- знание общих правил техники безопасности, правил
допуска к работе, и специальных требований, касающихся выполняемой работы;
- умение обеспечить безопасное ведение
работы и вести надзор за работающими в электроустановках;
- знание правил освобождения пострадавшего от
действия электрического тока, оказание первой медицинской помощи и умение
практически оказывать ее пострадавшему.
Требования к персоналу IV
группы по электробезопасности:
- знание электротехники в объеме
специализированного профессионального училища;
- полное представление об опасности
при работах в электроустановках;
- знание настоящих правил, правил технической
эксплуатации электрооборудования, устройства электроустановок и пожарной
безопасности в объеме занимаемой должности;
- знание схем электроустановок и
оборудования обслуживаемого участка, знание технических мероприятий,
обеспечивающих безопасность работ;
- умение проводить инструктаж, организовывать
безопасное проведение работ, осуществлять надзор за членами бригады;
- знание правил освобождения пострадавшего от
действия электрического тока, оказания первой медицинской полмощи и умение
практически оказать ее пострадавшему;
- умение обучать персонал правилам техники
безопасности, практическим приемам оказания первой медицинской помощи.
Требования к персоналу V
группы по электробезопасности:
- знание схем электроустановок, компоновки
оборудования технологических процессов производства;
- знание настоящих правил, правил
пользования и испытаний средств защиты, четкое представление о том, чем вызвано
то или иное требование;
знание правил технической эксплуатации, правил
устройства электроустановок и пожарной безопасности в объеме занимаемой
должности;
- умение четко обозначить и излагать требования о
мерах безопасности при проведении инструктажа работников;
- умение организовать безопасное проведение работ
и осуществлять непосредственное руководство работами в электроустановках любого
напряжения;
- умение обучать персонал правилам техники
безопасности, практическим приемам оказания первой медицинской помощи.
К техническим мероприятиям,
обеспечивающим безопасность работ, относятся: отключение напряжения, установка
ограждений и вывешивание плакатов; проверка отсутствия напряжения; установка
защитного заземления.
Отключение напряжения. Все
токоведущие части электроустановки, на которых будут производиться работы,
должны быть отключены.
Отключать напряжение следует
так, чтобы отключаемое оборудование отделялось со всех сторон от токоведущих
частей, находящихся под напряжением. При этом с каждой стороны должен быть
видимый разрыв. Работать на оборудовании, отделенном от токоведущих частей
только выключателем, запрещается.
Отключив напряжение, необходимо
принять меры, препятствующие обратной подаче напряжения. Для этого с
выключателей снимают оперативный ток, а приводы разъединителей запирают на
замок.
Установка ограждений и
вывешивание плакатов. На всех приводах выключателей и разъединителей и на
ключах управления, с помощью которых напряжение может быть подано к месту
работ, вывешивают плакаты «Не включать - работают люди!»
В закрытых распределительных
устройствах на сетчатых или сплошных ограждениях ячеек, соседних с местом
работы и противолежащих, вывешивают плакаты «Стой - высокое напряжение!». Если
эти ячейки не имеют ограждений, необходимо поставить переносный щит с надписью
«Стой - высокое напряжение!». Такие же щиты следует установить и во всех
остальных местах, куда ремонтному персоналу вход запрещен.
На открытых подстанциях место
работ ограждают канатом, на котором укрепляют плакат «Стой - высокое
напряжение!». При работе на высоте на общих конструкциях открытых подстанций
место работ ограждают плакатами «Стой - высокое напряжение!» так, чтобы путь по
конструкции к соседним токоведущим частям был закрыт. Внизу на конструкциях,
соседних с той, которая предназначена для подъема ремонтного персонала,
вывешивают плакаты «Не влезай - убьет!». На конструкции, где производят подъем
к месту работ, вывешивают плакат «Влезай здесь!».
У места, предназначенного для выполнения
работ, после окончания его подготовки помещают плакаты «Работать здесь!».
Отсутствие напряжения на
отключенном оборудовании проверяется дежурном персоналом после установки
предупредительных плакатов, временных ограждений и присоединения переносных
заземлений к заземляющему контуру. Перед проверкой испытывают указатель
напряжения, с помощью которого устанавливают отсутствие напряжения на
отключенном оборудовании. Для этого прибор подносят к токоведущим частям,
расположенным поблизости и находящимся под напряжением. Отсутствие напряжения
проверяют на всех зажимах отключенного оборудования, а у выключателя - на шести
выводах. Установка защитного заземления. Проверив отсутствие напряжения, на
оборудование, где будут производиться монтажные или ремонтные работы,
накладывают провода, заземляющие и закорачивающие все три фазы. Накладывать и
снимать переносные заземления разрешается только вдвоем, причем один из
работающих должен иметь по технике безопасности не ниже чем IV
группу, а другой - не ниже чем III
группу. Закоротку сначала присоединяют к «земле», изолирующей штангой
накладывают зажимами на части всех трех фаз. При этом на руки должны быть
диэлектрические перчатки. Необходимо также, чтобы силовые и измерительные
трансформаторы были предварительно отключены и со стороны низшего напряжения, в
противном случае существует опасность обратного трансформирования низшего
напряжения.
Литература
1. О.Е. Атапина. Методические
указания к курсовому проектированию по дисциплине «Технология электромонтажных
работ».
. О.Е. Атапина. Методические
указания к расчету заземляющих устройств для курсового и дипломного
проектирования.
. О.Е. Атапина. Методические
указания по выбору транспортных и грузородъемных механизмов.
. СНИП.
. ГОСТ 2.105.-95, ЕСКД. Общие
требования к текстовым документам. - ИПК: Издательство стандартов, 1996.
6. А. Ф. Зюзин, А. М. Вишток.
Монтаж, эксплуатация и ремонт электрооборудования промышленных предприятий и
установок. - М.: Высшая школа, 1980.
7. А. Ф. Зюзин, М. В. Антонов.
Монтаж, эксплуатация и ремонт электрооборудования промышленных предприятий и
установок. - М.: Высшая школа, 1986.
8. Справочник по организации и
механизации электромонтажных работ на электростанциях и подстанциях. Под ред.
Н.А. Иванова, Н.Г. Этуса. - М.: Энергоатомиздат, 1988.
9. Н. Г. Этус, Л. Н. Махлина.
Технология электромонтажных работ на электрических станциях и подстанциях. -
М.: Энергоиздат, 1982.
. ЕНиР. Сборник Е25:
Электромонтажные работы