Технология монтажа трансформатора напряжения НКФ-220

  • Вид работы:
    Курсовая работа (т)
  • Предмет:
    Другое
  • Язык:
    Русский
    ,
    Формат файла:
    MS Word
    352,95 Кб
  • Опубликовано:
    2012-11-15
Вы можете узнать стоимость помощи в написании студенческой работы.
Помощь в написании работы, которую точно примут!

Технология монтажа трансформатора напряжения НКФ-220

Содержание

Введение

. Характеристика монтируемого оборудования

.1 Назначение и обозначение оборудования

.2 Конструкция оборудования

.3 Принцип действия

.4 Комплектация и основные монтажные характеристики оборудования

. Технология монтажа

.1 Выбор способов доставки оборудования к месту монтажа

.2 Выбор транспорта

2.3 Выбор типа и определение количества грузоподъемных механизмов

.4 Выбор стропов

2.5 Технические условия на монтаж

2.6 Порядок монтажа

3. Разработка плана монтажной площадки

. Разработка сетевого графика монтажных работ

. Расчет заземляющих устройств

. Разработка мероприятий по охране труда и технике безопасности

Литература

Введение

Электроэнергетика является важнейшей отраслью промышленности. Её задача обеспечение надежного электроснабжения электроэнергией промышленных предприятий первой категории и особой группы первой категории по бесперебойности электроснабжения, а так же социальных, общественных и жилых зданий. Поэтому для обеспечения надежного электроснабжения используют различные коммутационные и защитные устройства. А особенно необходимо контролировать параметры сети. Для этого служат измерительные приборы, которые запитываются от измерительных трансформаторов тока и напряжения.

Из всех перечисленных выше устройств меня будет интересовать измерительный трансформатор напряжения. От того как выполнены электромонтажные работы будет зависеть правильность и стабильность работы трансформатор напряжения. Правильность монтажа определяется техническими документами и технологическими картами монтажа. Монтажник осуществляющий монтаж оборудования должен сначала пройти инструктаж и иметь опыт работы на данный вид работ. Так же монтажник должен следовать инструкции по монтажу и не допускать ни каких отклонений от инструкции выработанной годами. Так же для улучшения и ускорения монтажных работ применяют различную механизацию, без который в настоящее время просто не возможно обойтись. Современная промышленность представляет для выбора монтажных организаций полный спектр малой и большой механизации. Это дрели и отбойные молотки, экскаваторы и автокраны, слесарные инструменты и средства работы на высоте. Все эти средства механизации позволяет не только ускорить процесс монтажа электрооборудования, но и значительно снизить риск получения травм среди персонала. И в этом направлении все в порядке. Есть нормативная база и порядок выдачи допуска к работе. Без инструктажа ни кто не приступит к работе. Так же как и без каски.

Темой моего курсового проекта является: «Технология монтажа трансформатора напряжения НКФ - 220»

1.      
Характеристика монтируемого оборудования

1.1 Назначение оборудования

Трансформатор напряжения предназначен для питания вторичных устройств, а так же измерительных устройств и релейной защиты и автоматики. Марка трансформатора напряжения типа НКФ - 220 расшифровывается следующим образом:

Н - трансформатор напряжения;

К - каскадный;

Ф - в фарфоровой покрышке;

220 - номинальное напряжение, кВ.

К данному трансформатору напряжения предъявляются следующие условия эксплуатации:

- температура окружающего воздуха от -45°С до +45°С;

- максимальная скорость ветра при отсутствии гололеда 40 м/с;

максимальная скорость ветра при наличии гололеда 15 м/с;

толщина стенки гололеда 20 мм;

высота установки над уровнем моря до 1000 м;

1.2 Конструкция с подробным описанием и поясняющими рисунками

Каждый блок трансформатора имеет свою активную часть и обмотки с электростатическими экранами. Активная часть помещена в фарфоровую покрышку, заполненную трансформаторным маслом.

Опорой трансформатора (блока) является цоколь, на который монтируется активная часть и фарфоровая покрышка. Цоколь имеет маслосливное устройство, коробку вторичных выводов, кабельную муфту, бобышки заземления и табличку с техническими данными. Магнитопровод изготовлен из пластин анизотропной, холоднокатаной электротехнической стали. Конструкция обмоток - цилиндрическая, многослоевая.

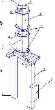
Изоляция трансформатора напряжения выполнена из изоляционной трансформаторной бумаги, высушенной под вакуумом и пропитанной трансформаторным маслом. Конструкция такого трансформатора напряжения представлена на рисунке 2.1.

- опорная конструкция,2 - ящик зажимов, 3 - нижний блок трансформатора,4 - верхний блок трансформатора,5 - линейный ввод первичной обмотки, 6 - указатель уровня масла, 7 - воздухосушитель, 8 - коробка вторичных вводов.

Рисунок 2.1 - Трансформатора напряжения

1.3 Принцип действия оборудования

Принцип действия данного трансформатора напряжения заключается в следующем: На первичную обмотку через линейных ввод первичной обмотки поступает первичное напряжение. Это напряжение создает магнитный поток, который наводит ЭДС в магнитопроводе. Эта ЭДС проходя по магнитопроводу до вторичной обмотке наводит там ток, трансформируемое на более низкое пропорциональное ему напряжение. Далее это напряжение через коробку вторичных вводов поступает на нагрузку.

1.4    Комплектация и основные монтажные характеристи­ки оборудования

Трансформатор напряжения поставляется заводом - изготовителем отдельными узлами: нижний блок трансформатора, верхний блок трансформатора упакованные в 2 деревянных ящика 870Ч620Ч4000. Масса узлов составляет соответственно 780 кг. Вес одной фазы составляет 1560 кг. Общий вес трансформатора (все три фазы) составляет 4680 кг. Трансформатор напряжения поставляется сначала железнодорожный, а потом автомобильный.

2.       Разработка технологии монтажа

.1      Выбор способа доставки

В нашем случае с трансформатором напряжения самым оптимальным способом доставки оборудования на место монтажа является автомобильный и железнодорожный, так как завод - изготовитель под название ЗАО "ЭнергоГлавСтрой" находится в городе Москва

2.2        Выбор транспорта

Выбор транспорта осуществляется по габаритам груза и его массе. Наш трансформатор напряжения имеет габариты упаковки 870Ч620Ч200 и общая масса трансформатора напряжения 1335 кг. По таким параметрам я выбираю грузовик типа ГАЗ-2705 фургон с грузоподъемностью 1350 кг и габаритами платформы 3150х1700

.3      Выбор грузоподъемных механизмов

Выбираем лебедку с электроприводом, технические характеристики заносим в таблицу 3.1

Таблица 3.1 - Технические характеристики лебедки

Характеристики лебедки

Значения характеристик

Грузоподъемность, т

1

Диаметр барабана, мм

200

Диаметр стального каната, мм

11

Канато - емкость, м

110

Частота вращения, об/мин

1423

Масса, кг

119

2.4 Выбор стропов

Для строповки исполняем 4 ветви стропа под углом 45 градусов исходя из технических требований

Определяю нагрузку на каждую ветвь стропа

  (3.1)

где  - масса поднимаемого груза, кг,

 - косинус угла между поверхностью груза и стропом,

 - количество ветвей, шт.

 

Определяем нагрузку на каждую ветвь стропа при знаменном значении

  (3.2)

где m - коэффициент, зависящий от угла .

 

Определяем нагрузку на каждую ветвь стропа при смещении центра тяжести

  (3.3)

где  - коэффициент неравномерности нагрузки.

 

Выберем канат по разрывному усилию каната

  (3.4)

  (3.5)

где K - коэффициент прочности,

Р - разрывное усилие каната в целом, принимаемое по сертификату,- наибольшее натяжение ветви каната, кгс.

 

Выбираем стальные канаты типа ТК 6Ч19 = 114из проволок с органическим сердечником с диаметром каната 9,3, проволовки 0,6 миллиметра, разрывное усилие 3830 кгс и расчетный предел прочности проволок на растяжении 140 кгс/мм2

Схема строповки представлена на рисунке 3.1

Рисунок 3.1 - Схема строповки монтируемого оборудования

Сводная ведомость потребителей необходимое для монтажа.

Сводная ведомость потребителей потребного монтажного оборудования приведена в таблице 3.2.

Таблица 3.2 - Ведомость потребного монтажного оборудования

Наименование и марка

Количество

Назначение и примечание

Автомобиль ГАЗ-2705 фургон

1

Для доставки комплектующих

Лебедка с электроприводом

1

Для монтажа трансформатора напряжения на месте монтажа


Сводная ведомость потребных инструментов и приспособлений приведены в таблице 3.3.

Таблица 3.3- Ведомость потребных инструментов и приспособлений

Наименование и марка

Количество

Примечание

Аппарат сварочный ТД - 500

1

Для приварки полосы заземления

Маска защитная для электросварщика

1

Для защиты лица при сварки

Уровень строительный УС4 - 2

1

Для проверки горизонтальности

Ключи гаечные с открытым зевом двухсторонние (комплект)

2

Для монтажа трансформаторов напряжения

Отвертка слесарная, монтажная

2

Для монтажа трансформаторов напряжения

Строп типа ТК 6Ч119 диаметром 114 мм

2

Для подъема элементов трансформатора напряжения

Плоскогубцы комбинированные с изолирующими ручками

1

Для монтажа трансформатора напряжения

Отвес стальной строительный

1

Для выверки вертикальности

Лом гвоздодер ЛГ - 20

1

Распаковка оборудования

Лом монтажный ЛМ - 24

1

Монтаж оснований


Сводная ведомость потребных монтажных материалов приведена в таблице 2.3

Таблица 3 - Ведомость потребных монтажных материалов

Наименование

Ед. изм.

Количество

Примечание

Ветошь

кг

1,35

Для протирки контактного соединения

Доски толщиной 40 мм.

кг

0,13

Для монтажа трансформатора напряжения

Электроды Э42

кг

0,35

Для сварочного аппарата

Дюбель

шт

6

Для нанесения отметок под пистолет

2.5 Технические условие на монтаж

К началу монтажных работ должны быть выполнении:

транспортные коммуникация к месту монтажа трансформатора напряжения;

опоры под трансформатор напряжения;

силовая сеть 380/220 В;

контур заземления.

Трансформаторы напряжения транспортируются отдельными блоками и заполненные маслом. Хранятся они в вертикальном положении.

Во избежание поломок ящиков при подъеме краном необходимо, чтобы между стропами и горизонтальной плоскостью крышки ящика образовывался угол не менее 45о. Ящики с элементами следует опускать на землю плавно, без толчков.

При получении трансформатора необходимо проверить наличие полного комплекта поставки, количество мест, состояние упаковки, сохранность груза, наличие технической документации.

При сборке трансформатора напряжения необходимо соблюдать порядковую нумерацию блоков. Нижний блок имеет первый порядковый номер.

2.6 Порядок монтажа

При монтаже трансформатора с несколькими блоками с цоколей верхнего и среднего блока снимается крышки. Обращают внимание на то что бы указатели уровня масла находились один над другим. Нижний блок расконсервируют и производят внешний осмотр. Если имеются дефекты, образующиеся при транспортировки трансформатора, то оформляется акт и такой блок бракуется.

Если же таких дефектов нет. То нижний блок ставят на подготовленный деревянный настил. Стропуется верхний блок и устанавливая его на первый блок соединяя их между собой болтами. Соединяют перемычками одноименные

выводы первого и второго блоков в местах разъема. Проверяется вертикальность и горизонтальность трансформатора напряжения.

Колонну из двух блоков подымают и устанавливают на опорную конструкцию, крепят болтами. Затягивают все болты. Проверяется вертикальность и горизонтальность трансформатора напряжения.

Аналогично собирают две другие фазы.

Монтаж трансформатора напряжения представлен на рисунке 3.2

- опорная конструкция; 2 - блок трансформатора; 3 - подмотка из пенькового каната; 4 - канат капроновый; 5 - строп; 6 - настил из досок

Рисунок 3.2 - монтаж трансформатора напряжения типа НКФ - 220М

В заключение монтажа устанавливают и закрепляют на опорной конструкции трансформатора ящик зажимов. Трансформатор заземляют (полоса заземления пристреливается). Прокладываются и присоединяются кабели вторичных цепей. Восстанавливают лакокрасочные покрытия металлических частей и поврежденных мест. Красят сварочные швы. Трансформаторы присоединяют к ошиновке высокого напряжения. Длина спуска должна обеспечивать в наиболее неблагоприятных погодных условиях допустимое тяжение на контактный вывод трансформатора не более 1470 Н. Силовой ящик демонтируется. Убирают монтажные механизмы, инструменты и материалы.

3.      
Разработка плана монтажной площадки

Объектами монтажа являются трансформатор напряжения типа НКФ - 220. Для подъема и установки трансформатора напряжения применяется кран КС-2571Б

Высота опорной конструкции 2700 мм, высота колонки 2000 мм, следовательно, необходимо расположить кран так, чтобы было возможным поднять и установить все элементы. Наибольшая требуемая высота подъема груза примерно 6700 м.

План размещения оборудования и механизмов при монтаже трансформаторов напряжения представлен на рисунке 4.1

- опорная конструкция,2 - настил из досок, 3 - блок трансформатора

Рисунок 4.1 - План размещения оборудования при монтаже трансформаторов напряжения.

монтажный оборудование трансформатор напряжение

4.      
Разработка сетевого графика

Метод сетевого планирования позволяет значительно снизить время монтажа. Сетевой график - то основа этого метода.

Исходными данными для составления сетевого графика служат:

физические объемы монтажных работ;

затраты труда на монтажные работы;

последовательность производства работы;

продолжительность монтажа объекта - директивный срок.

Расчеты трудоемкости должны производиться по единым нормам и расценкам (ЕНиР).

Данные сетевого графика представлены в таблице 5.1

Сетевой график электромонтажных работ представлен на рисунке 5.1

Таблица 5.1 - Сетевой график электромонтажных работ

Шифр работы (по графику)

Наименование работы

Трудоемкость по нормам Нвр, чел.-час.

Состав звена электромонтажников, n

Плановая продолжительность работы в дн. Коэффициент, учитывающий работы на высоте, k


 

1

2

3

4

5

6

 

0 - 1

Погрузка автокраном деталей и узлов трансформатора и монтажного оборудования

0,40

Электромонтажники  3-го разряда - 1 2-го разряда - 1

0,025

1

 

1 - 2

Выгрузка автокраном деталей и узлов трансформатора и монтажного оборудования

0,55

Электромонтажники  3-го разряда - 1 2-го разряда - 1

0,034

1

 

0 - 3

Погрузка материалов и инструмента вручную на машину

0,15

Электромонтажники  3-го разряда - 1 2-го разряда - 1

0,009

1

 

3 - 4

Выгрузка материалов и инструмента вручную с машины

0,20

Электромонтажники  3-го разряда - 1 2-го разряда - 1

0,013

1

 

5 - 4

 Отбор пробы масла

1,0

Электромонтажники  4-го разряда - 1 2-го разряда - 1

0,063

1

 

2 - 7

Подготовка деревянного настила

0,50

Электромонтажники  4-го разряда - 1 2-го разряда - 1

0,031

1

 

2 - 6

Монтаж опорной конструкции

1,44

Электромонтажники 4-го разряда - 1 2-го разряда - 1

0,095

1,05

7 - 8

 Укладка деталей и узлов трансформатора по рабочим местам

0,35

Электромонтажники 4-го разряда - 1 2-го разряда - 1

0,022

1

8 - 9

 Монтаж трансформатора напряжения НКФ - 220

26,5

Электромонтажники 5-го разряда - 1 4-го разряда - 1 3-го разряда - 1

1,159

1,05

9 - 10

Устанавливают и закрепляют на опорной конструкции ящик зажимов

1,0

Электромонтажники 4-го разряда - 1 2-го разряда - 1

0,066

1,05

10 - 11

Окрашивают маталлические части и поврежденные места и красят сварочные швы

1,0

Электромонтажники 4-го разряда - 1 2-го разряда - 1

0,063

1

10 - 11

Прокладка полосы заземления по железобетонной стойке с пристрелкой строительным пистолетом

3,0

Электромонтажники 4-го разряда - 1 2-го разряда - 1

0,200

1,05

11 - 13

Прокладка и присоединение кабелей вторичных цепей

4,0

Электромонтажники 4-го разряда - 1 2-го разряда - 1

0,25

1

13 - 14

Подключение трансформатора нпряжения к ошиновке высокого напряжения

1,0

Электромонтажники 4-го разряда - 1 2-го разряда - 1

0,066

1,05

14 - 15

Погрузка автокраном монтажного оборудования

2,0

Электромонтажники 4-го разряда - 1 2-го разряда - 1

0,125

1

Итого:




2,221



Рисунок 5.1 - Сетевой график электромонтажных работ трансформатора напряжения НКФ - 220

В ходе внедрения сетевого планирования время монтажа трансформатора напряжения сократились на 0,316 дней

5. Расчет заземляющих устройств

, Ом∙мгрунт, Ом∙мh1, мТип естественного заземлителя






140

песчаник

30

2

тросс - опора

5,3


Чертим план ОРУ и определяем ее размеры

ОРУ показана на рисунке 6.1

Рисунок 6.1 - План ОРУ.

Приводим размеры ОРУ кратным 10 и чертим заземляющие горизонтальные и вертикальные полосы.

План показан на рисунке 6.2

Рисунок 6.2 - План заземляющей сетки

Схема, для которой был произведен расчет заземляющих устройств представлена на рисунке 6.3

Рисунок - 6.3 - Главная схема Череповецкой ГРЭС - 620 МВт, напряжение 220/110

Определяем длины заземляющих полос

Заземляющая сетка состоит из

полос l = 220 м - продольные полосы

21 полос l = 30 м - поперечные полосы

Определяем площадь заземляющей сетки

S = 30·220 = 6600 м2

Определяем общую длину полос сетки

L = 2·220 + 21·30 = 1070 м2

Определяем периметр сетки

P = 30 + 220 + 30 + 220 = 500 м2

Число вертикальных заземлителей

  (6.1)

 

Определяем длину вертикального заземлителя

 

lа = 5 м

Определяем расчётное удельное сопротивление верхнего слоя

  (6.2)

где  - коэффициент сезонности для вертикальных заземлителей

 

Определяем коэффициент напряжения прикосновения


где М - параметр, зависящий от

- коэффициент, определяемый по сопротивлению тела человека и сопротивлению растеканию тока от ступеней

 

  (6.4)

 

  (6.5)

 

Потенциал на заземлителе

  (6.6)

где  - напряжение прикосновения

 

Определяем допустимое сопротивление заземляющего устройства

  (6.7)

где  - коэффициент стекания тока к.з. на землю, принимается равный 0,4-0,6;   - ток однофазного к.з,

  (6.8)

 

 

Cопротивления заземляющего устройства преобразуют его в эквивалентную модель квадратной формы.

Сторона квадрата модели

  (6.9)

 

 

Число ячеек сетки на стороне квадрата

 

  (6.10)

 

Принимаем m = 6 шт. Длина полос в расчетной модели

  (6.11)

 

Длина сторон ячеек модели

  (6.12)

 

Число вертикальных заземлителей по периметру распределительного устройства

  (6.13)

 

Принимаем  = 55 шт. Общая длина вертикальных заземлителей модели

  (6.14)

 

Относительная глубина заземлителей

  (6.15)

где t - глубина залегания принимается 0,7м

 

Определяется общее сопротивление сложного заземлителя, преобразованного в расчётную модель

  (6.16)

где А - множитель

 

 

По диаграмме определяется эквивалентное сопротивление для и . Из диаграммы , тогда

  (6.17)

 

  (6.18)

 

Сопротивление заземляющего устройства с учетом естественных заземлителей

  (6.20)

 

Определяем напряжение прикосновения

  (6.21)

 

 

Заземляющее устройство отвечает требования безопасности

6. Разработка мероприятий по охране труда

Работы по монтажу разрядников выполняют с соблюдением требований техники безопасности согласно действующим нормам и правилам.

Перед началом работ мастер или прораб проводит инструктаж на рабочем месте: объясняет задание, способы и приемы пользования предохранительными приспособлениями.

Такелажное оборудование и инвентарь, используемые при монтаже, должны также иметь отметки об испытаниях в соответствии с требованиями ГОСТ.

При монтаже обращают внимание на состояние и правильную установку подъемных средств, и одинаковый натяг всех стропов.

Подращивание элементов выполняют с особой осторожностью. При наведении собранной части колонны элементов на подращиваемые элементы монтажники находятся вне контура монтируемой конструкции со стороны, противоположной подаче краном. При наведении собранной части на подращиваемый элемент зазор между ними не должен превышать 30см. Крепление троса за ребра элемента не допускается.

На период монтажа опасная зона, ограниченная радиусом 12,5м от оси поворотной части крана, ограждается и обозначается хорошо видимыми предупредительными знаками.

К основным средствам в электроустановках напряжением выше 1кВ относятся:

изолирующие штанги всех видов;

изолирующие и электроизмерительные клещи;

указатели напряжения;

устройства и приспособления для обеспечения безопасности труда при проведении испытаний и измерений в электроустановках;

изолирующие устройства и приспособления для ремонтных работ под напряжением в электроустановках напряжением 110кВ и выше.

К основным электрозащитным средствам в электроустановках до 1кВ относятся:

- изолирующие штанги; изолирующие и электроизмерительные клещи; указатели напряжения;

- диэлектрические перчатки;

изолированный инструмент.

К дополнительным электрозащитным средствам в электроустановках напряжением выше 1кВ относятся:

диэлектрические перчатки;

диэлектрические боты;

диэлектрические ковры;

изолирующие подставки и накладки;

изолирующие колпаки;

штанги для переноса и выравнивания потенциала.

К дополнительным электрозащитным средствам для работы в электроустановках напряжением до 1кВ относятся:

диэлектрические галоши;

диэлектрические ковры;

изолирующие подставки и накладки;

изолирующие колпаки.

Средства защиты работающих в зависимости от характера их применения подразделяют на две категории:

коллективной защиты;

индивидуальной защиты.

Электрозащитные средства коллективной защиты в защиты от назначения подразделяют на классы:

от повышенного уровня электромагнитных и электрических полей;

от повышенной напряженности магнитных и электрических полей;

от поражения электрическим током;

от повышенного уровня статического электричества.

К средствам защиты от повышенного уровня электромагнитных излучений относятся:

- оградительные устройства;

защитные покрытия;

герметизирующие устройства;

устройства автоматического контроля и сигнализации;

устройства дистанционного управления;

знаки безопасности.

К средствам защиты от повышенной напряженности магнитных и электрических полей относятся:

оградительные устройства;

защитные заземления;

изолирующие устройства и покрытия;

- знаки безопасности.

К средствам защиты от поражения электрическим током относятся:

оградительные устройства;

устройства автоматического контроля и сигнализации;

изолирующие устройства и покрытия;

устройства защитного заземления и зануления;

устройства автоматического отключения;

устройства выравнивания потенциалов и понижения напряжения;

устройства дистанционного управления;

предохранительные устройства;

молниеотводы и разрядники;

знаки безопасности.

К средствам защиты от повышенного уровня статического электричества относятся:

заземляющие устройства;

нейтрализаторы;

увлажняющие устройства;

антиэлектростатические вещества;

экранирующие устройства.

Средства индивидуальной защиты (СИЗ) предназначены для защиты головы (защитные каски); глаз и лица (защитные очки и щитки); органов дыхания (противогазы и респираторы) рук (рукавицы) и от падения с высоты (предохранительные пояса и страховочные канаты).

Требования к персоналу II группы по электробезопасности:

элементарные технические знания об электроустановке и оборудовании;

отчетливое представление об опасности электрического тока, опасности приближения к токоведущим частям;

знание основных мер предосторожности при работах в электроустановках;

практические навыки оказания первой медицинской помощи.

Требования к персоналу III группы по электробезопасности:

элементарные познания в общей электротехнике;

знание электроустановки и порядка ее технического обслуживания;

знание общих правил техники безопасности, правил допуска к работе, и специальных требований, касающихся выполняемой работы;

умение обеспечить безопасное ведение работы и вести надзор за работающими в электроустановках;

знание правил освобождения пострадавшего от действия электрического тока, оказание первой медицинской помощи и умение практически оказывать ее пострадавшему.

Требования к персоналу IV группы по электробезопасности:

знание электротехники в объеме специализированного профессионального училища;

полное представление об опасности при работах в электроустановках;

знание настоящих правил, правил технической эксплуатации электрооборудования, устройства электроустановок и пожарной безопасности в объеме занимаемой должности;

знание схем электроустановок и оборудования обслуживаемого участка, знание технических мероприятий, обеспечивающих безопасность работ;

умение проводить инструктаж, организовывать безопасное проведение работ, осуществлять надзор за членами бригады;

знание правил освобождения пострадавшего от действия электрического тока, оказания первой медицинской полмощи и умение практически оказать ее пострадавшему;

умение обучать персонал правилам техники безопасности, практическим приемам оказания первой медицинской помощи.

Требования к персоналу V группы по электробезопасности:

знание схем электроустановок, компоновки оборудования технологических процессов производства;

знание настоящих правил, правил пользования и испытаний средств защиты, четкое представление о том, чем вызвано то или иное требование;

знание правил технической эксплуатации, правил устройства электроустановок и пожарной безопасности в объеме занимаемой должности;

умение четко обозначить и излагать требования о мерах безопасности при проведении инструктажа работников;

умение организовать безопасное проведение работ и осуществлять непосредственное руководство работами в электроустановках любого напряжения;

умение обучать персонал правилам техники безопасности, практическим приемам оказания первой медицинской помощи.

В ОРУ при работах, проводимых с земли и на оборудовании, установленном на фундаментах, рабочее место должно быть ограждено канатом или веревкой с вывешенными на них плакатами: «Стой, напряжение».

На участках конструкций, по которым можно пройти от рабочего места к граничащим с ним участкам, находящимися под напряжением, должны быть установлены плакаты: «Стой, напряжение».

На подготовленных рабочих местах должен быть установлен плакат: «Работать здесь».

На конструкции, по которой не разрешается подниматься, вывешивается плакат: «Не влезай, убьет».

На ограждениях камер, шкафах, панелях, граничащих с рабочим местом, должны быть вывешены плакаты: «Стой, напряжение».

Литература

1 О.Е. Атапина. Методические указания к курсовому проектированию по дисциплине «Технология электромонтажных работ».

2 О.Е. Атапина. Методические указания к расчету заземляющих устройств для курсового и дипломного проектирования.

О.Е. Атапина.Методические указания по выбору транспортных и грузородъемных механизмов.

СНИП.

ГОСТ 2.105.-95, ЕСКД. Общие требования к текстовым документам. - ИПК: Издательство стандартов, 1996.

6 А.Ф. Зюзин, А.М. Вишток. Монтаж, эксплуатация и ремонт электрооборудования промышленных предприятий и установок. - М.: Высшая школа, 1980.

7 А.Ф. Зюзин, М.В. Антонов. Монтаж, эксплуатация и ремонт электрооборудования промышленных предприятий и установок. - М.: Высшая школа, 1986.

8 Справочник по организации и механизации электромонтажных работ на электростанциях и подстанциях. Под ред. Н.А. Иванова, Н.Г. Этуса. - М.: Энергоатомиздат, 1988.

9 Н.Г. Этус, Л.Н. Махлина. Технология электромонтажных работ на электрических станциях и подстанциях. - М.: Энергоиздат, 1982.

10 ЕНиР. Сборник Е25: Электромонтажные работы

Похожие работы на - Технология монтажа трансформатора напряжения НКФ-220

 

Не нашли материал для своей работы?
Поможем написать уникальную работу
Без плагиата!
Без нейросетей!