Система водоснабжения пассажирского вагона

  • Вид работы:
    Контрольная работа
  • Предмет:
    Транспорт, грузоперевозки
  • Язык:
    Русский
    ,
    Формат файла:
    MS Word
    84,17 Кб
  • Опубликовано:
    2014-03-08
Вы можете узнать стоимость помощи в написании студенческой работы.
Помощь в написании работы, которую точно примут!

Система водоснабжения пассажирского вагона















Контрольная работа

Тема

Система водоснабжения пассажирского вагона

Введение

пассажирский вагон водоснабжение

Пассажирские вагоны предназначены для размещения пассажиров при их перевозке с обеспечением необходимых удобств, а также вспомогательных транспортных операций и специальных пассажирских перевозок.

Современный парк пассажирских вагонов состоит из цельнометаллических вагонов, предназначенных для перевозки пассажиров (86 %) и вспомогательного назначения (14 %). Вагоны локомотивной тяги, предназначенные для перевозки пассажиров, используемые в дальнем и межобластном сообщении, составляют более 70 % пассажирского парка. Все эти вагоны, включая специализированные и вагоны вспомогательного назначения, обращающиеся по магистральным путям ОАО «РЖД», представляют собой замкнутую тонкостенную оболочку, подкрепленную гофрами и поперечными балками рамы, стойками стен и дугами крыши. В результате образуется цельнометаллическая тонкостенная несущая конструкция, в которой используются нержавеющая, углеродистая и низколегированная стали. Такие конструкции называются цельнометаллическими вагонами (ЦМВ). Ходовая часть вагонов состоит из двух двухосных тележек типа ТВЗ-ЦНИИ М с улучшенной плавностью хода.

Тормоз - автоматический с электропневматическим и пневматическим управлением, имеется также ручной тормоз, привод которого обеспечивает удержание вагона на уклоне до 15 %. Ударно-тяговые приборы - автосцепка типа СА-3 с ограничителем вертикальных перемещений, резинометаллический поглощающий аппарат типа Р-2П или Р-5П. Современное внутреннее оборудование, удобная планировка всех помещений вагонов, единство стилевого и цветового решения обеспечивает высокий комфорт для пассажиров и обслуживающего персонала.

Все массовые типы вагонов пассажирского парка спроектированы по габариту 1-ВМ (ГОСТ 9238-83), тележки - по габариту 02-ВМ, обеспечивающие скорость движения до 160 км/ч. Плавность хода находится в пределах 3,1-3,25. Производство отечественных купейных вагонов начато в 1992-1993 гг., некупейных - 1988-1990 гг. Средний коэффициент теплопередачи ограждений кузовов в стационарных условиях составляет 1,0-1,11 Вт/м-К. удельный расход электроэнергии 10,2-16,7 кВт/ч на 1000 пасса-жиро-км (в купейных вагонах). Кроме обычных в эксплуатации находятся, испытываются или разрабатываются пассажирские вагоны, предназначенные для скоростного (до 250 км/ч) или высокоскоростного (до 350-500 км/ч) движения поездов.

Основными помещениями для пассажиров являются купе, расположенные в кузове вагона, служащем также несущей конструкцией, способной воспринимать все виды нагрузок, возникающих в эксплуатации.

Каждый пассажирский вагон имеет систему электроснабжения, обеспечивающую питание электроэнергией всех его потребителей: устройства отопления, освещения, электробытовых приборов и др. К климатическим устройствам пассажирских вагонов относится комплекс оборудования, включающий установки отопления, вентиляции, кондиционирования воздуха, необходимые для обеспечения в вагоне нормальных температурных условий и воздухообмена. В данной дипломной работе рассмотрена система водоснабжения пассажирского вагона.

1. Назначение и устройство системы водоснабжения пассажирского вагона

В целях создания комфортных условий пассажирам и обслуживающему персоналу вагоны оснащены системами электрооборудования, водоснабжения, отопления, вентиляции, кондиционирования. Рассмотрим устройство системы водоснабжения пассажирского вагона.

Система водоснабжения пассажирских вагонов является важнейшим санитарно-техническим оборудованием, обеспечивающим необходимые условия пассажирам во время их длительной поездки. Независимо от типа каждый пассажирский вагон оснащен самотечной системой водоснабжения, предназначенной для обеспечения пассажиров питьевой водой, удовлетворения их бытовых нужд и пополнения системы отопления в промежутках между заправками. В вагоностроении нашли применение две системы водоснабжения пассажирских вагонов: отечественного и постройки заводов Германии.

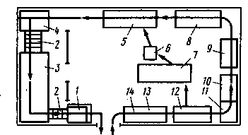
Система водоснабжения в пассажирском купейном вагоне (рис.1.1) включает два сообщающихся между собой бака 13, размещенных в конце кузова вагона. Общий объем рассматриваемой системы водоснабжения составляет 1050 литров. В котловом конце вагона установлен промывной бак объемом 50 л, в который вода поступает из больших баков по трубе 11. В этой системе вода нагревается в специальном бойлере 1 змеевиком 2, соединенным системой труб и кранов с котлом отопления. Температура воды в бойлере контролируется с помощью термометра 4. Система заполняется водой посредством наливных труб 14, находящихся в некотловом конце вагона: одна - со стороны купе, а другая - со стороны коридора. На концах этих труб имеются соединительные головки, служащие для подключения наливных шлангов, защищенные кожухами. В зимнее время перед заполнением системы заблаговременно включают электрические обогреватели для оттаивания головок наливных труб.

В случае заполнения системы одной трубой 14, другая и труба 16 являются вестовыми, не допускающими завышения установленного уровня. Когда заполнение системы закончено, в средней части кузова на электрощите, смонтированном на боковой стене, зажигается сигнальная лампочка белого цвета, после чего наполнение прекращается, а выключатель сигнальной установки на распределительном щите служебного отделения ставится в положение «выключено». Магистральный трубопровод 11, идущий вдоль вагона, питает холодной водой кипятильник 9 через фильтр и поплавковую камеру, а систему отопления - через обратный клапан, Кипяченая вода из кипятильника 9 перекачивается ручным насосом в бак 6, откуда она поступает в бак 7 охладительной установки. Охлажденная до +(12-18)°С вода по трубопроводу поступает к крану питьевой воды, установленному в нише стены коридора котлового конца вагона. Умывальные чаши 5, расположенные в обоих концах вагона, а также мойка 8 снабжаются холодной и горячей водой. К унитазам 17 холодная вода поступает из системы холодного водоснабжения, но для оттаивания в зимний период к ним через трубопровод 18 из системы отопления подается горячая вода. Для подсоединения шланга, используемого при уборке туалета, предусмотрен трубопровод 3 с вентилем. Горячая вода к умывальникам 5 и мойке 8 поступает по трубопроводу 12, а возвращается в бойлер неиспользованной горячей воды по трубопроводу 10. Уровень воды в баках 13 проверяют с помощью контрольных трубок 15 и кранов, установленных в туалете некотлового конца вагона.

Пассажирские вагоны других типов, такие как вагоны-рестораны, почтовые, багажные и другие, также оборудованы самотечной системой водоснабжения и отопления и отличаются от рассмотренных выше конструктивными решениями, обусловленными назначением вагона. В вагоне-ресторане, например, установлены две самостоятельные системы снабжения горячей и холодной водой: первая - для кухни с раздаточным отделением, вторая - для котельной с туалетным отделением. Для снабжения кухни и раздаточной холодной водой имеется бак емкостью 800 литров, расположенный над потолком кухни. Из бака холодная вода по трубам подается к кранам: мойке, находящейся в раздаточной, мойке и умывальнику, находящимся в кухне. От этого же бака по трубопроводу ручным насосом вода подается к водонагревателю и баку горячей воды, объем которого равен 50 литров. Отсюда вода через очистной фильтр поступает к кранам моек для посуды и умывальника.

Рисунок 1.1 - Схема водоснабжения пассажирского купейного вагона

Обе системы холодной и горячей воды кухни и раздаточной наполняются через соединительные головки, расположенные в середине вагона с обеих сторон кузова. Система налива воды всего вагона оборудована электрической сигнализацией наполнения баков. Когда наполнение системы подходит к концу, загорается лампочка на щитке, которая гаснет в момент прекращения наполнения. Наливные трубы и труба слива умывальной чаши имеют электрические обогреватели. Запас воды в вагоне-ресторане для котельной и туалета составляет 130 л. Холодная вода по трубопроводу подается в котел отопления, к умывальной чаше и душу. Горячая вода от водонагревателя по трубопроводу путем естественной циркуляции попадает в бак горячей воды и возвращается обратно в водонагреватель. Расходуется горячая вода в туалете, душе и умывальнике.

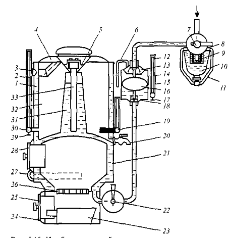
Питьевая вода в пассажирских вагонах приготавливается в кипятильниках непрерывного действия (рис. 1.2) с комбинированным электроутольным отоплением. Он состоит из корпуса 1, топки 21 угольного отопления, электрических элементов: верхнего 33 и бокового 27, водосборника 32 кипяченой воды, поплавковой камеры 18 с клапаном 16, фильтра 9, указателя 30 уровня кипяченой воды, термометра 19 и арматуры: трехходового 7, водоразборного 20 и спускного 22 кранов.

Пространство между наружной стенкой корпуса кипятильника /, корпусом топки 21 и конусной трубой 31 водосборника заполняется сырой водой. Внутренняя стенка корпуса кипятильника и конусная труба образуют водосборник 32 кипяченой воды, который соединен с атмосферой сливным патрубком 3. Вода из сети водоснабжения поступает в кипятильник через трехходовой кран 7 и фильтр 9, поплавковую камеру 18 и кран 22.

При нагревании воды до температуры кипения она переливается через конус 31 в водосборник 32, уровень ее в камере сырой воды и поплавковой камере понижается, поплавок 16 опускается и открывает клапан водопровода. Таким образом, сырая вода пополняет кипятильник, ее уровень поднимается и поплавок своей верхней запорной иглой перекрывает водопровод. Поплавок отрегулирован так, что уровень сырой воды не может подняться выше уровня, не доходящего на 40 мм до верхней кромки конуса 31, в результате чего исключается возможность попадания ее в некипяченом виде в водосборник 32, Уровень сырой воды контролируется по указателю 12 уровня поплавковой камеры, на котором нанесены две красные риски 14 и /5. Верхняя риска указывает на предельное наполнение кипятильника водой, а нижняя - на предельно возможный расход сырой воды и минимально допустимый уровень ее в камере. Наполнение водосборника кипяченой водой контролируют по указателю уровня 2, на котором также имеется красная риска, указывающая ни предельное наполнение водосборника. Производительность кипятильника при нормальной его работе составляет 1,1-1,4 л кипяченой воды в минуту.

Рисунок 1.2 - Комбинированный кипятильник с электрическим и угольным разогревом

Установка для охлаждения питьевой воды (рис. 1.3) состоит из компрессора 18, нагнетательного вентиля 20, конденсатора 16, ресивера 13, запорного вентиля 12, фильтра 11, автоматического регулирующего вентиля 10 испарителя 8. Кипяченая вода из бака 4 поступает а бак 6, охлаждается в нем, а затем подается к водоразборному крану 2. Вода охлаждается за счет отдачи своего тепла парам хладагента в испарителе 8. Процесс работы холодильной установки заключается в следующем. Из компрессора 18 газообразный хладагент через нагнетательный вентиль 20 поступает в конденсатор 16 и переходит в жидкое состояние. Из конденсатора он через ресивер 13, запорный вентиль 12. фильтр 11 и автоматический регулирующий вентиль 10 компрессором IS нагнетается в испаритель 8. При прохождении через регулирующий вентиль 10 жидкий хладагент расширяется, давление его резко падает и он переходит в газообразное состояние - испаряется.

В процессе испарения хладагент отбирает тепло от воды, а затем его пары всасываются компрессором 18 через всасывающий вентиль19 , и цикл повторяется. Уровень температуры охлаждения воды устанавливается при помощи термостата 7 и может регулироваться в пределах +(12-20). Водоохладитель размещен в шкафу, где размещен бак 4 для кипяченой воды вместимостью 40 л, бак для охлажденной воды 6, холодильный агрегат 17, а в нише 1 кран 2 для раздачи воды.

Рисунок 1.3 - Схема установки для охлаждения питьевой воды

2. Неисправности системы водоснабжения пассажирского вагона постройки Германии

При движении пассажирских вагонов из-за постоянного колебания кузова нарушается плотность соединений в трубопроводах систем водоснабжения и отопления, появляются трещины в стенках труб, баков, котла. Происходит также естественный износ трущихся поверхностей запорных клапанов, пробок. Возможно поражение металла коррозией.

Основными неисправностями в системе водоснабжения являются течь воды из-за повреждений баков, труб, кранов умывальников и клапанов унитазов, неисправность (заедание) педального механизма унитаза, запорных вентилей, повреждения кипятильников и устройств горячего водоснабжения, умывальных чаш и унитазов. Неисправности в системах водоснабжения и отопления устраняют при плановых (деповском и капитальном) ремонтах, при техническом обслуживании (ТО-1 - в пунктах формирования или оборота и в пути следования, ТО-2 - перед началом летних и зимних перевозок, ТО-3-при единой технической ревизии), а также при текущем отцепочном ремонте (ТР).

Все неисправности системы водоснабжения выявляются при помощи систем технического обслуживания.

Система водоснабжения пассажирского вагона в процессе эксплуатации подвергается различным видам технического обслуживания и ремонта. ТО-1 проводится ежедневно в пути следования поездной бригадой. При этом главное внимание уделяется проверке плотности соединения труб, вентилей, кранов и их сальниковых уплотнений, а также работе кипятильников, охладителей питьевой воды.

ТО-1 также выполняют перед отправлением в рейс слесари или осмотрщики-ремонтники внутреннего оборудования. Они проверяют плотность постановки фланцев промывочных люков водяных баков. При наличии течи прокладки заменяют или подтягивают болтовые соединения. Если имеется течь в резьбовых соединениях трубопроводов, вызванная разрушением материала подмотки или ослаблением затяжки контргаек, последние заменяют или подтягивают. Пропуск воды через сальниковые уплотнения вентилей и кранов устраняют заменой набивки сальника, подтягиванием гайки сальника вентиля, конусной пробки крана, притиркой пробки к конусному гнезду корпуса крана.

При зимнем и летнем техническом обслуживаниях ТО-2, которые приурочивают к проведению единой технической ревизии, в системе водоснабжения, кроме работ, характерных для ТО-1, производят соответствующие переключения в системе отопления. Например, подключают или отключают водяное отопление, водяные калориферы. При единой технической ревизии пассажирских вагонов всех типов устраняют неисправности водяных баков, труб, вентилей, кранов, клапанов и их механизмов, унитазов, умывальных чаш, кипятильников. Систему водоснабжения промывают в том случае, если ревизия совпадает со сроком летнего технического обслуживания. После ремонта и промывки кипятильник испытывают в рабочем состоянии.

При единой технической ревизии производят ремонтные работы по замене отдельных участков труб, проржавевших или имеющих течь по сварным швам. Размер устанавливаемой вновь трубы должен обеспечить постановку ее без возникновения напряжений в местах соединения. Вновь устанавливаемые трубы должны быть оцинкованными.

Техническое обслуживание и ремонт водяных обогревателей сводятся к восстановлению их элементов: подводящих и отводящих труб, корпуса, а также постановке утерянных сливных пробок, хомутов и болтов крепления кожухов. При летнем техническом обслуживании водяные обогреватели отключают от системы отопления, а оставшуюся в них воду удаляют через сливной патрубок.

При ТО-1 перед отправлением в рейс пассажирских вагонов со станции формирования проверяют исправность электрических нагревателей наливных и сливных труб, контролируют по величине потребляемого тока в момент их включения. Ток замеряется амперметром. Считается нормой, если на вагонах с батареей 50 В обогреватели труб потребляют 10-14 А, а с батареей 110 В - 4-6 А.

Зимнее или летнее техническое обслуживание, как правило, приурочено ко времени проведения единой технической ревизии пассажирского вагона, при которой:

промывают водяную систему охлаждения питьевой воды с продувкой ее воздухом давлением 0,05-0,07 МПа;

заменяют съемную часть фильтра-осушителя;

заменяют узлы и детали охладителя питьевой воды, вышедшие из строя.

3. Ремонт системы водоснабжения пассажирского вагона

При деповском ремонте пассажирских вагонов в системе водоснабжения промывают водяные баки и водопроводную сеть, осматривают и ремонтируют арматуру. Люки на боковых стенках баков снимают для очистки внутренних поверхностей от шлама и грязи. При наличии течи или отрыва поперечных перегородок (волнорезов) бак снимают для ремонта с восстановлением антикоррозионных покрытий. Краны и вентили с неисправными сальниковыми уплотнениями или заеданием при закрывании и открывании ремонтируют.

Водомерные стекла очищают, разбитые заменяют, недостающие пополняют. Краны водомерных стекол при необходимости ремонтируют или заменяют новыми. Обогреватели водоналивных труб проверяют на отсутствие течи. Бойлеры (подогреватели) системы горячего водоснабжения промывают, осматривают и ремонтируют. Бачки для литьевом воды с вагона снимают, разбирают, промывают и при необходимости ремонтируют с восстановлением антикоррозионного покрытия. В случае необходимости замены труб системы водоснабжения устанавливают вместо неисправных только оцинкованные трубы.

По окончании ремонта проверяют действие всех устройств системы водоснабжения наливом воды, обнаруженные утечки устраняют. Затем восстанавливают или наносят вновь необходимые надписи и обозначения на арматуре, оборудовании и трубопроводах в установленных местах.

При капитальном ремонте вагона систему водоснабжения разбирают полностью. Снятое оборудование направляют для проверки и ремонта на специально оборудованный участок. После монтажа на вагоне отремонтированных устройств и трубопроводов проверяют действие системы водоснабжения, как указано выше.

Водяной бак при необходимости ремонта демонтируют. Для этого снимают щит на потолке малого коридора некотловой стороны вагона, разъединяют фланцевые соединения труб с баком. Ослабляют болты крепления, поворачивают запоры на 90° и снимают крышку люка на крыше вагона. С бака снимают воздуховыпускной трубопровод, освобождают элементы крепления и вынимают бак из вагона через люк в крыше. Аналогично снимают водяной бак, размещенный над тамбуром некотлового конца вагона.

Промывочный бак системы водоснабжения снимают для очистки или ремонта, предварительно сняв щит на потолке туалета котловой стороны, разъединив фланцевое соединение, сняв запоры и вынув крепежные болты.

Снятые с вагона баки опускают на платформу электрокара или транспортировочной тележки и перемещают на ремонтный участок.

Баки из углеродистой стали, имеющие течь из-за поражения стенок коррозией, как правило, заменяют изготовленными из нержавеющей стали. Изломанные или деформированные волнорезы заменяют новыми. Баки из нержавеющей стали при ремонте промывают, открывая для этого промывочные люки.

Электросварочные работы при ремонте баков выполняют в полном соответствии с требованиями Инструкции по сварке и наплавке при ремонте вагонов и контейнеров. При ремонте баков из нержавеющей стали применяют специальную установку для сварки в среде защитного газа (аргона). Места сварки перед изложением швов на баках из углеродистой стали обезжиривают в подвергают химическому травлению. Кромки трещин обрабатывают электрокорундовыми кругами. Обезжиривание выполняют ацетоном, бензином Б-70 или уайт-спиритом. Качество обезжиривания проверяют смачиванием водой. После обезжиривания проводят химическое травление щелочами или кислотами с целью разрушения и удаления пленки окислов на свариваемых поверхностях. Наиболее целесообразно применять для травления кислотный раствор такого состава: соляная кислота -20%, серная кислота -5%, азотная кислота -5%, вода-70%. Травление заканчивают промывкой горячей водой и сушкой при температуре 40-70°С до полного удаления влаги. Химическому травлению подвергают и присадочный материал. Сварка подготовленных деталей должна быть выполнена в течение не более одних суток, а присадочный материал годится для применения в течение не более трех суток при условии хранения в герметичной таре, заполненной инертным газом. Нержавеющую сталь подвергают обезжириванию и химическому травлению только в случаях, когда она загрязнена окалиной. Если бак из нержавеющей стали имеет полированную поверхность, то она химическому обезжириванию и травлению не подлежит.

Водяные баки из алюминиевых сплавов также могут иметь трещины по сварному шву или в околошовной зоне, в листах стенок или в перегородках. Кроме того, возможны механические повреждения в виде пробоин. Подготовку поверхностей к сварке производят так же, как в баках из нержавеющей стали.

При ремонте баков для воды, изготовленных из стеклопластика, заделывают пробоины в стенках, потолке и днище, устраняют течь через неплотности в прокладках люков и местах присоединения трубопроводов. Для устранения повреждений применяют специальные приспособления, позволяющие наносить на ремонтируемые поверхности снятого с вагона бака эпоксидные смолы с различными наполнителями.

Допускается устранять течь воды в баках из стеклопластика наложением накладок стеклоткани, покрытой холоднотвердеющей смесью эпоксидной смолы и отвердителя. Таким способом можно ремонтировать также все типы металлических водяных баков. Работы выполняют в определенной последовательности. Сначала поверхность вокруг поврежденного места зачищают шлифовальной .шкуркой до металлического блеска, обезжиривают ацетоном и сушат. Затем на подготовленное место приклеивают накладку из стеклоткани марки АСТТ (б)-С или АСТТ (б)-Сг, перекрывающую участок повреждения на 15-20 мм по периметру. Для закрепления накладки применяют эпоксидную смесь - 10 частей (по массе) эпоксидной смолы ЭД-5 или ЭД-6 и одна часть отвердителя. Отвердитель вводят в смолу непосредственно перед нанесением смеси на место повреждения. Смесь наносят на поверхность бака под накладку, а также и поверх нее. Верхний слой холоднотвердеющей смеси должен перекрывать накладку на 10-15 мм о периметру. Для окончательного затвердения смеси отремонтированный участок выдерживают в течение 2-3 ч в естественных условиях при 18-20° С. После указанного времени обеспечивается прочное соединение Накладки с Подготовленной поверхностью и герметичность отремонтированного участка бака.

Внутреннее покрытие стенок баков изготовленных из углеродистых сталей, при деповском ремонте вагонов восстанавливают в случае необходимости. Повреждения на поверхности внутреннего покрытия могут появиться из-за естественного износа, поражения коррозией и после выполнения электрогазосварочных работ при ремонте. Операции по устранению таких повреждений производят в отделении нанесения защитных покрытий способом горячего цинкования или нанесения металла распылением с применением специальных металлизационных установок. Наибольшее распространение получили установки для нанесения антикоррозионного покрытия из цинка или алюминия газовым или электрическим металл из втором.

Перед нанесением покрытия внутренние поверхности бака очищают от продуктов коррозии, а окончательную подготовку проводят не ранее чем за 2-3 ч до металлизации. Такая подготовка заключается в придании поверхности требуемой шероховатости. Для этой цели чаще всего применяют дробеструйные установки.

Принцип действия металлизатора любого типа заключается в том, что проволоку из цинка или алюминия нагревают до температуры плавления, после чего расплавленный металл выдувают сжатым воздухом под давлением 0,55-0,60 МПа в виде мельчайших частиц на подготовленную поверхность. Сжатый воздух предварительно очищают от воды, масла и других примесей, пропуская через фильтр, масловодоотделитель и маслоуловитель. Качество металлизации внутренних поверхностей баков и других деталей проверяют внешним осмотром.

Таким же способом наносят защитные покрытия на внутренние поверхности кипятильников из углеродистой стали, бачков для питьевой воды, расширительных баков, бойлеров, поплавков кипятильников, а также на наружные поверхности труб системы отопления и др.

Муфтовые соединения трубопроводов при наличии течи разбирают, заменяют пеньковую подмотку, подтягивают муфты и контргайки. Фланцевые соединения уплотняют подтягиванием гаек болтов. Если упругость прокладки между фланцами нарушена, ее заменяют новой, сняв болты крепления. Трубы горячего водоснабжения при необходимости заменяют оцинкованными. К бойлерной установке относится и плита, работающая на твердом топливе и расположенная под бойлером. При ремонте плиты заменяют неисправные детали крепления дверок топки и зольника, прогоревшие колосники, проверяют исправность кожуха и цельность изоляции.

Кипятильник при деповском ремонте демонтируют из вагона и направляют в специальное отделение ремонтно-заготовительного Участка на стеллаж 13 (рис.3.1). После разборки на верстаке 12 и очистки от грязи и старой краски на стенде 11 с корпуса кипятильника удаляют накипь раствором уксусной кислоты (1,2 л на 6 л воды) или муравьиной (1,8 л на 5,4 л воды). Способ заполнения кипятильника раствором выбирают в зависимости от его конструкции.

На кипятильниках периодического и непрерывного действия с баками для запаса кипяченой воды перед заливкой растворителя выполняют подготовительные работы: сливают воду из кипятильника при закрытом трехходовом кране, отвинчивают шестигранную пробку на закрытом спускном кране, а на ее место подсоединяют изогнутую трубку с краном и резиновым шлангом для подключения к сосуду с раствором кислоты. Открывая кран и медленно поднимая сосуд, заполняют раствором кипятильное пространство. Затем крышку кипятильника открывают и подогревают раствор до 70 "С, который вступает в химическую реакцию с накипью. Очистку продолжают до окончания выделения пузырьков углекислого газа на поверхности раствора. Рекомендуется в процессе очистки несколько раз заменять раствор в кипятильнике. Осадок накипи удаляют вместе с раствором через спускной кран.

Рисунок 3.1 - Схема размещения технологического оборудования в отделении ремонта кипятильников

После растворения накипи кипятильник промывают несколько раз содовым раствором и теплой водой. Затем снимают с кипятильника приспособление для подачи раствора, ввинчивают на место шестигранную пробку спускного крана. Очищенные от накипи омываемые водой внутренние поверхности после осмотра на столе 9 покрывают тонким слоем олова на стенде 8. Здесь же восстанавливают неисправные отражатели огневой коробки, ремонтируют поврежденный люк топки, зольник и выполняют другие слесарные работы. Вместо лужения разрешается производить металлизацию алюминием внутренней поверхности корпуса кипятильника. Для этого его отправляют в отделение металлизации, где предварительно очищают на дробеструйной установке. Арматуру, снятую с кипятильника, промывают в ванне 10, после чего осматривают и ремонтируют на верстаке 7 (при необходимости здесь же выполняют паяльные работы). Для хромирования или нанесения другого покрытия детали передают в гальваническое отделений Краны после притирки и сборки испытывают на стенде 6. Отремонтированная арматура поступает на верстак 5, куда направляются и корпуса кипятильников. Сюда же подаются из злектроцеха детали для комбинированных кипятильников (с электронагревом). После сборки кипятильник окрашивают на поворотном стенде 4 и передают в камеру сушки 3 по рольгангу 2. Рабочие места для окраски и сушки оборудованы вытяжной вентиляцией и отделены от остального оборудования перегородкой. Для транспортировки кипятильника по ремонтным позициям используют монорельс 14 с тельфером.

После ремонта собранный кипятильник окрашивают снаружи, на сухие окрашенные поверхности наносят надписи и декоративные покрытия. Окрашенный кипятильник испытывают на стенде 1 в холодном состоянии. При испытании уровень сырой воды в поплавковой камере должен быть на 5 мм выше нижней красной черты на водомерном стекле, а в кипятильном пространстве - на 50 мм ниже верхнего края корпуса. Окончательную приемку отремонтированного кипятильника заканчивают в горячем состоянии после установки в вагон. На корпусе принятого кипятильника указывают дату ремонта и промывки.

Арматуру системы водоснабжения (муфты, контргайки, угольники, вентили, краны), имеющую износ рабочих поверхностей, повреждения резьбы, трещины или отколы в деталях, заменяют. После ремонта краны и вентили испытывают гидравлическим давлением 0,2 МПа. Собранный на вагоне трубопровод системы водоснабжения также подвергают гидравлическому испытанию давлением 0,1 МПа.

Оборудование туалетов (умывальные чаши, унитазы, ящики для туалетной бумаги, кувшины для ершей и др.) ремонтируют после очистки, обмывки и дезинфекции. Клапан промывки унитаза разбирают, детали клапана проверяют, неисправные заменяют. Для устранения утечки воды через неплотный сальник установленного на место клапана накидным ключом отвинчивают гайку и вынимают нажимную втулку. Заменив неисправную сальниковую набивку, закрепляют ее с помощью втулки и гайки и проверяют действие клапана.

По окончании всех ремонтных работ систему водоснабжения испытывают. Для этого ее заполняют водой и тщательно осматривают места возможных неплотностей в соединениях баков, трубопроводов и оборудования туалетов. Устраняют утечки воды, контролируют правильность установки и действие вентилей и кранов в закрытом и открытом положениях, а также клапанов унитазов, проверяют подачу горячей воды к мойке и умывальникам и работу кипятильника. После испытания системы на баки наносят надписи - дату промывки.

4. Техника безопасности при ремонте системы водоснабжения пассажирского вагона

Внешний осмотр комбинированного кипятильника можно выполнять только после отключения его от системы электроснабжения и при полной уверенности в том, что никто не сможет произвести обратное включение.

Также предварительно надо отключить комбинированный электрокипятильник и при устранении течи воды на различных участках системы приготовления кипяченой воды.

Для предотвращения ожога горячей водой необходимо плавно открывать воздуховыпускные краны системы отопления и применять при отборе воды шланги или емкости, исключающие разбрызгивание. Недопустимо растапливать котел при неисправных дверцах его топки и зольника.

Перед топками котла и плиты в котельном отделении нельзя размещать сгораемые предметы. Запрещается применять при растопке котла, плиты и кипятильника легковоспламеняющиеся жидкости (бензин, керосин и др.).

При выпуске воды из систем отопления и водоснабжения или из отдельных их участков надо не допускать вытекания ее на пол вагона. Под сливные устройства ставить ведра, лотки или применять шланги.

На участке ремонта водяных баков, кроме общих требований безопасности выполнения электрогазосварочных работ, соблюдают правила применения кислотных и щелочных растворов, органических растворителей и других химикатов.

Химическое травление производят только в ваннах из нержавеющих сталей, оборудованных вытяжной вентиляцией. Работу обязательно выполняют с применением защитных очков, спецодежды, пластиковых или резиновых фартуков и перчаток, которые после окончания смены хранят в отдельных шкафах и периодически подвергают стирке.

При использовании легковоспламеняющихся органических растворителей для обезжиривания поверхностей деталей перед сваркой соблюдают следующее правило: если применяют ацетон, то надевают резиновые перчатки, если другие растворители - хлорвиниловые.

На участке обезжиривания и химического травления запрещается курить и применять открытый огонь во избежание возникновения пожара. Кислоты, щелочи и органические растворители необходимо хранить раздельно.

Вагоны локомотивной тяги, предназначенные для перевозки пассажиров, используемые в дальнем и межобластном сообщении, составляют более 70 % пассажирского парка. Все эти вагоны, включая специализированные и вагоны вспомогательного назначения, обращающиеся по магистральным путям ОАО «РЖД», представляют собой замкнутую тонкостенную оболочку, подкрепленную гофрами и поперечными балками У рамы, стойками стен и дугами крыши. В результате образуется цельнометаллическая тонкостенная несущая конструкция, в которой используются нержавеющая, углеродистая и низколегированная стали. Такие конструкции называются цельнометаллическими вагонами (ЦМВ).

Заключение

Система водоснабжения пассажирских вагонов является важнейшим санитарно-техническим оборудованием, обеспечивающим необходимые условия пассажирам во время их длительной поездки. Независимо от типа каждый пассажирский вагон оснащен самотечной системой водоснабжения, предназначенной для обеспечения пассажиров питьевой водой, удовлетворения их бытовых нужд и пополнения системы отопления в промежутках между заправками.

Устройства водоснабжения в пассажирских вагонах предназначены для обеспечения пассажиров питьевой водой и удовлетворения их бытовых нужд, а также для пополнения системы отопления водой в пути следования поезда. В таких устройствах предусмотрены приборы для кипячения и охлаждения питьевой воды, для снабжения горячей водой умывальников в туалетах и раковины для мытья посуды в служебном отделении. Все пассажирские вагоны имеют самотечную систему водоснабжения.

Объем запасных баков для воды рассчитывают исходя из средней нормы расхода на одного пассажира в сутки - примерно 20 л. Около 25% всего количества воды приходится на обеспечение бесперебойной эксплуатации устройств горячего водоснабжения. Для пассажирских вагонов оптимальным считается запас воды на 12 ч. Общий объем воды в системе большинства вагонов составляет около 1000 л.

В холодный период года в водоналивных трубах используется горячая вода системы отопления. Головки водоналивных труб закрыты кожухами, предохраняющими их от загрязнения.

Список использованных источников

1.       Пастухов И.В. Конструкция вагонов. М.: Маршрут, 2004

2.       Быков Б.В. Конструкция, техническое обслуживание и ремонт грузовых вагонов. М.: Желдориздат, 2005

.        Быков Б.В. Технология ремонта вагонов. М.: Желдориздат, 2001

.        Лукин В.В. Вагоны. Общий курс. М.: Маршрут, 2004

.        Мотовилов К.В. Технология производства и ремонта вагонов. М.: Маршрут, 2003

Похожие работы на - Система водоснабжения пассажирского вагона

 

Не нашли материал для своей работы?
Поможем написать уникальную работу
Без плагиата!
Без нейросетей!