Испытание дизельной топливной аппаратуры

  • Вид работы:
    Реферат
  • Предмет:
    Транспорт, грузоперевозки
  • Язык:
    Русский
    ,
    Формат файла:
    MS Word
    278,93 Кб
  • Опубликовано:
    2013-10-15
Вы можете узнать стоимость помощи в написании студенческой работы.
Помощь в написании работы, которую точно примут!

Испытание дизельной топливной аппаратуры

Министерство образования и науки Российской Федерации

ФГАОУ ВПО «Северо-Восточный федеральный университет им. М.К. Аммосова»

Автодорожный факультет










Реферат по теме:

Испытание дизельной топливной аппаратуры








Якутск 2013 г.

Показатели технического состояния топливной аппаратуры

К основным показателям, характеризующим состояние топливной аппаратуры, относятся следующие:

производительность подкачивающего насоса;

пропускная способность фильтрующих элементов тонкой очистки топлива;

производительность насосных элементов;

степень неравномерности подачи топлива насосными элементами;

угол опережения подачи или впрыска топлива в цилиндры двигателя;

степень изношенности прецизионных пар;

частота вращения кулачкового вала топливного насоса (коленчатого вала двигателя), соответствующая началу действия  регулятора или 100%-ной загрузке двигателя по мощности;

степень неравномерности регулятора;

степень нечувствительности регулятора;

давление впрыска и качество распыливания топлива форсунками.

При регулировке топливной аппаратуры после ее изготовления или ремонта эти показатели должны быть оптимальными, обеспечивающими необходимую мощность и экономичность двигателя. Однако в процессе эксплуатации они изменяются, что обусловлено изнашиванием деталей, их деформацией, изменением качественных характеристик материалов, из которых они изготовлены, накоплением в аппаратуре продуктов износа и загрязнений и др. Интенсивность изменения первоначальных показателей работы топливной аппаратуры зависит от условий ее эксплуатации, качества изготовления и ремонта деталей, величины зазоров в сопряжениях, качества смазки, наличия на трущихся поверхностях продуктов загрязнений и износа.

Чтобы поддерживать показатели работы топливной аппаратуры в допустимых пределах в течение межремонтного периода, необходимо своевременно проводить техническое обслуживание и устранять неисправности. Это позволяет создавать наиболее благоприятные условия для работы сопряженных деталей, снижать до минимума их износ и тем самым обеспечивать необходимую стабильность значений параметров технического состояния топливной аппаратуры.

Признаками неудовлетворительной работы топливной аппаратуры могут быть трудный запуск дизеля, неустойчивая работа, дымный выпуск, пониженная мощность и экономичность.

Наиболее частые причины трудного запуска дизеля - наличие воздуха или воды в системе топливоподачи, неправильная установка топливного насоса на двигатель и неудовлетворительное состояние форсунок.

Для выявления причин трудного запуска сначала проверяют, нет ли воздуха в системе топливоподачи, путем прокачки системы. Затем определяют, нет ли воды в топливе, вывернув спускную пробку топливного фильтра и спустив из корпуса фильтра отстой в приготовленную емкость. Вода будет заметна на дне емкости. Если и после этого двигатель не запускается, проверяют и при необходимости регулируют момент начала впрыска или подачи топлива. После этого проверяют давление впрыска и качество распыливания топлива форсунками.

Если топливная аппаратура исправна, а качество топлива удовлетворительное, то трудный запуск дизеля может быть следствием неисправностей в самом дизеле (слабой компрессии, попадания воды в цилиндры из системы охлаждения, нарушения фаз газораспределения, неплотного прилегания клапапов к гнездам головки и др.).

Неустойчивая работа дизеля наблюдается главным образом при попадании в цилиндры воды, наличии в топливе воздуха, закоксовы-вании или залегании иглы в корпусе распылителя, чрезмерном износе прецизионных пар топливного насоса, большой неравномерности подачи топлива насосными элементами, значительном износе механизмов регулятора. Возможны также случаи поломки пружин плунжеров, нагнетательных клапанов и форсунок, заедания рейки топливного насоса или муфты регулятора, зависания клапанов газораспределения.

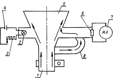
Схема устройства и работы дымомера: 1 - приемный патрубок; 2 - осветительная лампа; 3 - реостат; 4 - аккумуляторная батарея; 5 - раструб; 6 - фотоэлемент; 7 - миллиамперметр; S - трубка для продувки камеры фотоэлемента.

Рис. 1

Дымный выпуск, как правило, появляется в результате неполного сгорания топлива, которое может быть вызвано неудовлетворительной работой форсунок, слишком ранним или, наоборот, поздним впрыском топлива в цилиндры, чрезмерной подачей топлива, недостатком воздуха (при сильном загрязнении воздухоочистителя). Двигатель дымит также при несвоевременном открытии и закрытии клапанов вследствие нарушения фаз газораспределения.

Степень дымности определяют на глаз или при помощи прибора, называемого дымомером. Принцип работы дымомера основан на поглощении световой энергии частицами продуктов сгорания, входящих в состав отработавших газов. Он состоит из приемного патрубка присоединенного к раструбу 5, осветительной лампочки 2, реостата 5, служащего для калибровки прибора, фотоэлемента 6, миллиамперметра 7 и трубки 8 для продувки камеры фотоэлемента. Питание прибора осуществляется от аккумуляторной батареи 4.

Перед проверкой степени дььмности двигатель прогревают до нормального теплового состояния. Затем его останавливают и устанавливают прибор на выпускную трубу. Лампочку с реостатом подключают к аккумуляторной батарее. При помощи реостата проводят калибровку прибора, для чего добиваются такого накала лампочки, чтобы показание миллиамперметра при неработающем двигателе было равно нулю. Затем запускают двигатель, устанавливают необходимые скоростной и нагрузочный режимы работы и по показанию прибора определяют степень дымиости. Если дыма нет, через прибор проходит наибольший ток, возбуждаемый в фотоэлементе световым потоком, испускаемым лампочкой 2. Следовательно, и стрелка прибора отклонится на большую величину (почти на такую же, как и при неработающем двигателе). При этом показание прибора будет близким к нулевому.

С увеличением дымности и газов освещенность фотоэлемента лампочкой уменьшается, вследствие чего уменьшается и величина тока, проходящего через миллиамперметр, а стрелка отклоняется на меньшую величину. Шкала прибора проградуирована в процентах. Если полностью заслонить поток света, падающего на фотоэлемент, или выключить лампочку, отклонения стрелки не произойдет, так как в цепи миллиамперметра отсутствует ток, и прибор покажет 100%.

Кроме неполного сгорания топлива, причиной дымного выпуска может оказаться чрезмерный угар картерного масла, которое, попадая в камеру сгорания, частично сгорает и выбрасывается с отработавшими газами в виде синего дыма. При помощи дымомера невозможно разделить процент дымности на составляющие, обусловленные неполным сгоранием топлива и угаром картерного масла. Это один из существенных недостатков описанного устройства.

О состоянии топливной аппаратуры в целом можно судить по двум обобщенным показателям, характеризующим эксплуатационные качества двигателя, - его мощности и экономичности. Способы определения этих показателей изложены в главе XIII. Там же указаны и факторы, от которых зависят эти показатели.

Влияние качества очистки топлива на работу топливной аппаратуры

Надежность и долговечность топливной аппаратуры зависят главным образом от продолжительности безотказной работы прецизионных деталей: плунжерных пар и нагнетательных клапанов топливного насоса и распылителей форсунок. Зазоры в сопряжениях плунжер - втулка и корпус распылителя - игла находятся в пределах 0,6-2,5 мкм. Мельчайшие абразивные частицы, попадая в зазоры, вызывают усиленное изнашивание и царапание трущихся поверхностей. По мере изнашивания прецизионных деталей снижается производительность насосных элементов, изменяются момент, продолжительность и давление впрыска топлива в цилиндры двигателя, снижается качество распыливания топлива. По этим причинам ухудшается процесс смесеобразования и сгорания топлива, снижаются мощность и экономичность двигателя.

Согласно ГОСТ 6370-59, механических примесей в топливе должно быть не более 0,005%, т. е. не более 50 г на 1 т топлива. В действительности же зачастую в дизельном топливе, хранящемся на нефтебазах, количество механических примесей достигает 120 г/т и более, а в местах заправки содержание их доходит до 200-250 г/т. В топливных баках тракторов механических примесей содержится до 250-300 г/т. Загрязнение топлива механическими примесями происходит в основном при его хранении и транспортировке, а также при заправке тракторов и работе их в пыльных условиях.

Основную массу механических примесей составляют кремнезем Si02 и глинозем А1203, которые обладают высокой твердостью, в 2-3 раза превышающей твердость рабочих поверхностей прецизионных деталей топливной аппаратуры. Оказавшись в зазорах, эти примеси царапают трущиеся поверхности, что влечет за собой заклинивание и выход из строя указанных деталей. При попадании абразивов в распылитель происходит зависание иглы в корпусе, что вызывает перебои в работе двигателя, влекущие за собой закоксовывание распылителя и выход его из строя.

Абразивы, находящиеся в топливе, вызывают также усиленное изнашивание деталей подкачивающего насоса, сопровождаемое снижением производительности топливного насоса. При изношенных плунжерных парах и деталях подкачивающего насоса топливо попадает в картер топливного насоса и регулятора и, разжижая смазку, способствует усиленному изнашиванию кулачкового вала, толкателей и трущихся сопряжений регулятора. Вследствие этого изменяются рабочие характеристики топливного насоса и регулятора и ухудшается работа двигателя.

Не меньший вред топливной аппаратуре причиняет вода, попадающая в дизельное топливо при небрежном его хранении. Оказавшись на рабочих поверхностях прецизионных деталей, вода вызывает их коррозию, приводящую к заклиниванию трущихся сопряжений и выходу из строя указанных деталей. Кроме того, вода понижает теплотворную способность топлива, а следовательно, мощность двигателя. При температуре топлива ниже нуля содержащиеся в нем частицы воды замерзают и в виде мелких кусочков льда забивают топливопроводы. По этой причине затрудняется запуск двигателя в зимнее время.

Если фильтры исправны, в топливный насос попадает мало примесей, причем настолько малых размеров, что они свободно проникают в зазоры прецизионных пар, почти не повреждая их. При засорении фильтрующих элементов повышается давление перед фильтром, что способствует проникновению внутрь элементов частиц более крупных размеров. В случае порчи или ослабления крепления элементов к насосу начинают поступать частицы больших и малых размеров в значительном количестве. Эти частицы, попадая на трущиеся поверхности прецизионных пар, вызывают усиленное абразивное изнашивание деталей и быстрый выход их из строя.

По мере засорения фильтрующих элементов снижается их пропускная способность, вследствие чего падает давление топлива за фильтром. При значительном загрязнении элементов и падении давления за фильтром тонкой очистки до 0,4-0,2 кгс/см2 снижается производительность насосных элементов и повышается степень неравномерности подачи топлива в цилиндры двигателя. В результате снижения производительности насоса падает мощность, а при неравномерной подаче происходит неравномерное изнашивание деталей цилиндро-поршневой группы.

Факторы, влияющие на производительность насосных элементов

Производительность насосного элемента (секции) характеризуется величиной цикловой подачи топлива и частотой вращения кулачкового вала топливного насоса. Иными словами, производительность - это масса или объем топлива, поданные плунжерной парой через форсунку в единицу времени (г/мин, см3/мин). Цикловая подача - это масса или объем топлива, поданные плунжерной парой за один ход плунжера (за один цикл). Ее обычно выражают в мг/цикл или же мм3/цикл, т. е. в массовых или объемных единицах.

Массовая цикловая подача зависит от геометрического активного хода и диаметра плунжера, плотности топлива и коэффициента подачи. Геометрический активный ход равен пути плунжера от момента перекрытия впускного отверстия втулки плунжера до момента начала открытия отсечного (выпускного) отверстия втулки. Его устанавливают, изменяя положение отсечной кромки плунжера относительно выпускного отверстия при регулировке топливного насоса на специальном стенде так, чтобы обеспечить необходимую производительность элемента, обусловливающую соответствующий часовой расход топлива на двигателе.

Производительность насосного элемента (массовая) изменяется при эксплуатации в связи с изменением коэффициента подачи, частоты вращения кулачкового вала топливного насоса и плотности топлива.

Коэффициент подачи представляет собой отношение массы топлива, впрыснутого форсункой за цикл, к массе топлива, которое могло бы поместиться в объеме, описанном плунжером за геометрический активный хдд, т. е. отношение действительной цикловой подачи к теоретической. Этот коэффициент зависит главным образом от следующих факторов:

степени изношенности прецизионных пар топливного насоса;

давления топлива в головке топливного насоса (на входе во втулку плунжера);

пропускной способности трубок высокого давления;

пропускной способности форсунок;

вязкости и плотности топлива.

Рассмотрим физическую сущность перечисленных факторов.

Степень изношенности прецизионных пар оказывает существенное влияние на величину цикловой подачи.

По мере изнашивания плунжерной пары уменьшается цикловая подача, что обусловливается утечкой топлива через зазор между плунжером и втулкой во время нагнетания топлива. Величина утечки возрастает с понижением частоты вращения кулачкового вала насоса. При большом износе плунжерных пар ухудшается запуск двигателя.

По данным Центрального научно-исследовательского и конструкторского института топливной аппаратуры автотракторных и стационарных двигателей (ЦНИТА), за 4000 ч работы топливных насосов 4ТН-8,5Х10Т на тракторах ДТ-54А вследствие износа плунжерных пар цикловая подача уменьшилась при 650 об/мин кулачкового вала (номинальный режим) на 4,3-5,8%, а при 120 об/мин (пусковой режим) на 7,4-9,7%.

Заметно влияет на величину цикловой подачи также степень изношенности нагнетательного клапана, который изнашивается в сопряжениях клапан - седло (запорный конус) и разгружающий поясок - направляющее отверстие корпуса клапана. При чрезмерном износе нагнетательного клапана по запорному конусу нарушается нормальная работа форсунки, в результате чего двигатель работает неустойчиво и не развивает нормальной мощности.

После каждого впрыска топлива форсункой нагнетательный клапан препятствует обратному выходу топлива из топливопровода высокого давления, поэтому в нем имеется остаточное давление. Для резкого снижения остаточного давления и предотвращения подтекания топлива из распылителя форсунки нагнетательный клапан снабжен разгружающим пояском. Высвобождая некоторый объем топлива при посадке клапана в гнездо, этот поясок способствует резкому снижению давления в топливопроводе, а значит, и более быстрой посадке иглы в седло распылителя.

По мере изнашивания разгружающего пояска клапана остаточное давление в топливопроводе высокого давления возрастает. Это влечет за собой увеличение цикловой подачи топлива, что до некоторой степени полезно, так как в таком случае в какой-то мере компенсируются утечки топлива, происходящие вследствие изнашивания плунжерных пар. Однако большого износа разгрузочного пояска допускать не следует потому, что при чрезмерном повышении остаточного давления скорость опускания иглы распылителя в седло замедляется и часть топлива в конце впрыска выходит из форсунки под небольшим давлением, плохо распыливается или даже выходит через сопло в нераспыленном виде. В этом случае затягивается впрыск и происходит подтекание топлива через распылитель.

При износе разгружающего пояска нагнетательного клапана в результате высокого остаточного давления в топливопроводе увеличивается отраженная от нагнетательного клапана волна давления, которая, дойдя до иглы распылителя, сильно ударяет в нее, и поэтому может произойти повторный впрыск, или так называемый подвпрыск, топлива.

Затянутый впрыск, подвпрыск, и подтекание топлива приводят к неполному сгоранию части его, снижению экономичности работы двигателя. Кроме того, нераспыленное топливо, оседая на торце распылителя или оставаясь на поверхности сопла при подтекании, под действием высокой температуры газов в камере сгорания разлагается. При этом образуются высокомолекулярные углеродистые соединения, приводящие к закоксовыванию распылителей.

Давление топлива в головке насоса в процессе эксплуатации уменьшается. Это происходит вследствие загрязнения фильтрующих элементов топливных фильтров, уменьшения производительности подкачивающего насоса, износа перепускного клапана. При чрезмерном снижении давления (до 0,2 кгс/см2) в топливопровод-ных каналах появляются противотоки, обусловливающие резкое возрастание дросселирования на входе в надплунжерное пространство, в результате чего снижается степень наполнения надплунжерного пространства топливом. По этой причине уменьшается цикловая подача, а следовательно, снижается мощность двигателя.

Пропускная способность трубок высокого давления зависит от величины гидравлического сопротивления, на которое оказывают влияние диаметр и чистота обработки поверхности топливопроводного канала, объем канала, жесткость стенок, радиус изгиба трубок. Кроме того, при эксплуатации наблюдаются сужения каналов в наконечниках трубок, вмятины, резкие изгибы, наличие ржавчины и смолистых отложений в трубках, вследствие чего пропускная способность трубок уменьшается.

Пропускная способность форсунок оценивается количеством топлива, прошедшего через форсунку за один цикл (ход плунжера). В процессе эксплуатации пропускная способность форсунок может как увеличиваться, так и уменьшаться. Ее увеличение объясняется главным образом ослаблением затяжки пружины, а уменьшение - закоксовыванием сопла распылителя.

Пропускная способность форсунок возрастает по мере изнашивания сопловых отверстий распылителей. При этом уменьшается гидравлическое сопротивление движению топлива через форсунку, что приводит к снижению давления впрыска и увеличению расхода топлива.

На пропускную способность форсунок существенное влияние оказывает давление газов в камере сгорания, которое создает дополнительное сопротивление выходу топлива из форсунки по сравнению с впрыском при атмосферном давлении.

Вязкость и плотность топлива также оказывают влияние на величину цикловой подачи топлива. После заполнения надплунжерного пространства топливом при движении плунжера вверх происходит постепенное перекрытие впускного отверстия верхней кромкой плунжера. При этом топливо частично вытекает из надплунжерного пространства обратно в канал головки насоса. По мере перекрытия плунжером впускного отверстия возрастает дросселирование топлива во впускном отверстии, поэтому давление в надплун-жерном пространстве резко повышается и нагнетательный клапан начинает подниматься раньше, чем торец плунжера полностью перекроет впускное отверстие втулки. В конце подачи топлива (в момент открытия отсечного отверстия втулки) происходит обратное явление: падение давления в надплунжерном пространстве несколько задерживается вследствие дросселирования топлива в отсечном отверстии, благодаря чему подача топлива прекращается несколько позже момента начала открытия отсечного отверстия. Отсюда следует, что при работе топливного насоса действительный активный ход плунжера больше геометрического.

Величина дросселирования зависит от вязкости топлива: при ее повышении дросселирование, а следовательно, и активный ход плунжера возрастают (при неизменном геометрическом ходе). В этом случае цикловая подача повышается.

В период нагнетания плунжером топлива происходит его утечка через зазор между плунжером и втулкой. Чем больше вязкость, тем меньше утечка.

Массовое количество топлива, подаваемого плунжером, при неизменном активном ходе зависит от плотности топлива. Чем больше плотность, тем больше массовая цикловая подача и часовой расход топлива двигателем.

Таким образом, при одной и той же регулировке топливного насоса в мастерской на безмоторном стенде цикловая подача топлива, а следовательно, и массовый расход в условиях эксплуатации могут отличаться, Эти параметры изменяются в значительных пределах в зависимости От теплового состояния двигателя, состояния прецизионных пар, сорта применяемого топлива и других факторов. Ввиду того что в мастерской на стенде насос регулируют при более низкой температуре топлива (порядка 20° С) по сравнению с температурой топлива в насосе во время работы трактора, при регулировке следует устанавливать повышенную подачу. Чем больше изношены плунжерные пары, тем на большую подачу следует регулировать насос на стенде, так как с увеличением зазоров разница в утечке холодного и горячего топлива через них возрастает.

Факторы, влияющие на неравномерность подачи топлива

Долговечность двигателя во многом зависит от распределения нагрузки по цилиндрам, которое зависит главным образом от цикловой подачи каждого насосного элемента. Новый или отремонтированный топливный насос регулируют так, чтобы цикловая подача всех элементов была одинаковой. В процессе эксплуатации равномерность подачи топлива нарушается. Например, после 1500 ч работы двигателя Д-37М (трактор Т-40) с топливным насосом УТН-5 и форсунками 6Т2-20С1-В неравномерность подачи достигла 15%, тогда как в начале эксплуатации она составила 2%.

Увеличение неравномерности подачи по мере эксплуатации в основном обусловливается различной скоростью изнашивания прецизионных пар отдельных насосных элементов и наличием местных износов, что, в свою очередь, связано с неодинаковыми первоначальными зазорами в сопряжениях, различной твердостью рабочих поверхностей и чистотой их обработки, а также неодинаковыми допусками на изготовление деталей.

Равномерность подачи проверяют и регулируют при номинальной частоте вращения кулачкового вала насоса. Во время работы дизеля на других режимах вследствие отклонения в величине диаметров плунжеров, углов наклона винтовых (отсечных) кромок, углов расположения поводков плунжеров неравномерность подачи топлива увеличивается.

Наиболее резкое увеличение неравномерности подачи наблюдается с понижением частоты вращения кулачкового вала, что обусловлено увеличением разности утечек топлива через зазоры прецизионных пар при различной степени изношенности их. По этой причине при малых частотах вращения коленчатого вала происходит выключение подачи топлива в отдельные цилиндры, в результате чего двигатель работает с перебоями. Поэтому, регулируя топливный насос с изношенными плунжерными парами, следует проверять его работу не только при номинальной, но и минимально устойчивой частоте вращения коленчатого вала.

При различной степени изношенности плунжерных пар на неравномерность подачи значительное влияние оказывает температура топлива. С повышением ее неравномерность возрастает, что объясняется увеличением разности утечек топлива через зазоры в связи с понижением его вязкости. В настоящее время на заводах-изготовителях и ремонтных предприятиях величину и равномерность подачи регулируют при температуре топлива в баке стенда, равной 20-30° С. При работе же двигателя температура топлива в головке насоса достигает 60-70° С. В результате этого значительно уменьшается вязкость топлива и возрастает разница утечек топлива через зазоры плунжерных пар, что влечет за собой увеличение неравномерности подачи.

На неравномерность подачи топлива в цилиндры значительное влияние оказывает техническое состояние нагнетательных клапанов и форсунок, что обусловлено различными зазорами между разгружающими поясками и направляющими отверстиями клапанов, различным износом сопловых отверстий распылителей, изменением давления затяжки пружин форсунок, закоксовыванием распылителей и др.

топливный аппаратура производительность форсунка

Проверка и регулировка форсунок

Работу форсунок проверяют при заметном снижении мощности двигателя, повышении расхода топлива, перебоях в работе двигателя и дымлении. Кроме того, чтобы увеличить надежность и долговечность распылителей, форсунки периодически (согласно правилам технического обслуживания) снимают, очищают от нагара и лакоотло-жений, после чего проверяют давление впрыска и качество распыливания топлива.

Ориентировочно о работе форсунок судят по характеру звука выхлопа при поочередном выключении подачи топлива в цилиндры. Если характер звука выхлопа не меняется или меняется незначительно (не резко), это свидетельствует о неисправности проверяемой форсунки.

Давление затяжки пружины форсунки и качество распыливания топлива непосредственно на тракторе проверяют при помощи макси-метра КИ-1336.

Максиметр состоит из корпуса, внутри которого находятся распылитель и нажимной штифт с пружиной, регулировочной гайки с установочным винтом и двух штуцеров. Корпус максиметра и регулировочная гайка имеют микрометрическую резьбу. При повороте гайки по ходу часовой стрелки пружина сжимается и передает усилие игле распылителя. Один оборот гайки изменяет давление затяжки пружины на 50 кгс/см2. Цена одного деления на гайке равна 5, а на корпусе - 50 кгс/см2. Точность показаний составляет ± 2,5 кгс/см2.

Для проверки форсунок ослабляют крепления топливопроводов на штуцерах высокого давления секций топливного насоса. Отсоединяют от форсунок топливопроводы и сливные трубки. Закрывают топливопроводы и форсунки заглушками. Снимают форсунки с двигателя и закрывают отверстия в головке цилиндров заглушками. Кладут форсунки в ванну с бензином, чтобы размягчить нагар. Вынимают форсунки из ванны, удаляют нагар с распылителей медной пластиной и промывают форсунки в дизельном топливе. Устанавливают каждую форсунку в тиски, отвертывают колпак и ослабляют затяжку контргайки регулировочного винта.

Снимают топливопровод с одной из секций топливного насоса и присоединяют к ней максиметр, а к максиметру форсунку. Ослабляют затяжку пружины максиметра и, прокручивая дизель при помощи пускового приспособления или вручную, убеждаются в периодическом появлении струи топлива из распылителя максиметра.

Поворачивают регулировочную гайку максиметра по ходу часовой стрелки до момента начала впрыска топлива форсункой. Определяют по шкале давление начала впрыска

Номинальное давление начала впрыска топлива-125 кгс/см2; у двигателей А-01, А-01М, А-41, ЯМЭ-238НБ - 150; Д-108 - 200; Д65-Н, Д-37М, Д-37Е, Д-21 - 170 кгс/см2. Допускается отклонение дазления начала впрыска от номинальной величины на ±5 кгс/см2.

Если давление не соответствует указанной величине, устанавливают максиметр на номинальное давление и, прокручивая двигатель, регулируют давление затяжки пружины форсунки, поворачивая регулировочный винт до момента одновременного впрыска топлива макси-метром и форсункой. По окончании регулировки затягивают контргайку регулировочного винта.

Определяют качество распыливания топлива. Распыливание должно быть туманообразным, без заметных на глаз капелек и струй. Начало и конец впрыска должны быть четкими и сопровождаться резким звуком.

Более точную проверку и регулировку форсунок проводят на приборе КИ-562 (КП-1609А), который применяют в цехах по регулировке топливной аппаратуры (на ремонтных предприятиях), на пунктах технического обслуживания, в передвижных диагностических установках, автопередвижных мастерских и др.

Прибор КИ-562 состоит из корпуса 2 (рис. 57), внутри которого помещен насосный элемент (плунжерная пара и нагнетательный клапан двигателя КДМ-100), механизма привода насосного элемента с рычагом 7, присоединительного штуцера с маховичком 3, распределителя 4 с запорным вентилем 5, манометра 6, топливного бачка 7 с фланелевым фильтром и глушителя 10. Топливо в испытуемую форсунку 9 и манометр нагнетают рычагом 1. Запорный вентиль служит для отключения полости манометра при проверке качества распыливания топлива.

Подлежащие испытанию форсунки снимают с двигателя, обмывают снаружи и устанавливают в приспособление для разборки и сборки форсунок или в тиски. Отвинчивают на несколько оборотов нажимную гайку распылителя. Перевертывают форсунку нажимной гайкой вниз и свинчивают гайку с корпуса. Вынимают и разбирают распылитель. Кладут корпус и иглу распылителя на некоторое время в ванночку с бензином. Затем удаляют нагар с рабочих поверхностей иглы и корпуса распылителя. Прочищают внутреннюю полость корпуса распылителя (сверлом или проволокой соответствующего диаметра).

У форсунок с многодырчатыми распылителями (двигатели А-01, А-01М, Д-108, А-41, ЯМЗ-238НБ, Д65-Н, Д-37М, Д-37Е, Д-21) прочищают сопловые отверстия в корпусе распылителя (сверлом, иглой или стальной струной соответствующего диаметра).

Промывают детали распылителя сначала в бензине, а затем в дизельном топливе. При этом перемещают иглу в корпусе распылителя, погруженном в топливо. Убеждаются в свободном движении иглы в корпусе распылителя, для чего вынимают иглу из корпуса на 1/3 ее длины и наклоняют ось корпуса на 45° к горизонтали. Игла должна опуститься в корпус под собственным весом. Зависание иглы не допускается. Слегка притирают запорную часть иглы к корпусу и вновь промывают их в дизельном топливе.

Очищают от нагара и промывают в дизельном топливе нажимную гайку. Устанавливают распылитель на место и закрепляют гайкой. Не вынимая форсунку из приспособления, отвертывают колпак и ослабляют затяжку контргайки регулировочного винта.

Устанавливают форсунку на прибор. Рычагом 1 со скоростью 70-80 качаний в минуту нагнетают топливо в форсунку. По показанию манометра определяют давление начала впрыска топлива. Если давление не соответствует номинальному, его регулируют, ввинчивая или вывинчивая регулировочный винт при помощи отвертки 8.

Испытание и регулировка форсунки при помощи прибора КИ-562: / - рычаг; 2 - корпус прибора: 3 - маховичок: 4 - распределитель; 5 - запорный вентиль: 6 - манометр: 7 - топливный бачок; 8 - отвертка; 9 - испытуемая форсунка; !Q - глушитель.

Рис. 2

Проверка технического состояния подкачивающего насоса, фильтрующих элементов тонкой очистки топлива и перепускного клапана при помощи прибора КИ-4801

Прибор КИ-4801  предназначен для проверки давления топлива в системе топливоподачи низкого давления при определении состояния подкачивающего насоса и перепускного клапана, а также степени загрязненности фильтрующих элементов тонкой очистки топлива. Он состоит из манометра 1 класса 2,5 со шкалой 0-4 кгс/см2, корпуса 2У трехходового крана 5, двух шлангов 4 и 5, подсоединенных к крану, двух присоединительных пустотелых болтов (удлиненных штуцеров) 6 и 7. Внутри корпуса помещен клапан 8 сброса воздуха из прибора с помощью винта 9.

Для замера давления в системе топливоподачи прибор подключают к системе параллельно. При этом наконечник одного из шлангов подсоединяют к нагнетательной магистрали подкачивающего насоса перед фильтром тонкой очистки топлива, а наконечник другого - между фильтром и топливным насосом.

Состояние указанных узлов топливной аппаратуры проверяют в следующем порядке.

Запускают двигатель и устанавливают номинальную частоту вращения коленчатого вала. При помощи трехходового крана прибора сообщают полость манометра с выходным каналом корпуса фильтра и фиксируют показание манометра. Затем, переключив кран, замеряют давление перед фильтром.

О состоянии фильтрующих элементов судят по перепаду замеренного давления. Предельные значения давлений за фильтром при соответствующих давлениях, развиваемых подкачивающими насосами поршневого типа, установленными на топливных насосах типа ТН-9 X X 10, ТН-8,5 X 10 и УТН-5, приведены в таблице.

Значения давления топлива за фильтром, соответствующие предельному загрязнению фильтрующих элементов при различном давлении, развиваемом подкачивающим насосом


Минимально допустимое давление топлива за фильтром тонкой очистки, кгс/см2

Давление перед фильтром тонкой очистки, кгс/см2


Более 1,4

0,6

1,1-1,4

0,5

0,8-1,1

0,4


Проверка состояния подкачивающего насоса, фильтрующих элементов тонкой очистки топлива и перепускного клапана прибором КИ-4801: а - прибор КИ-4801 для проверки давления в системе топливоподачи низкого давления; б - схема подключения прибора к фильтру тонкой очистки топлива; в - схема подключения прибора к подкачивающему насосу; г манометр; 2 - корпус; 3 - трехходовой край; 4t 5 - шланги; 6,7 - пустотелые болты (удлиненные штуцеры); 8 - клапаи; 9 - винт.

Определение производительности насосных элементов, неравномерности подачи и массового расхода топлива

Производительность насосных элементов и неравномерность подачи топлива непосредственно на тракторе проверяют топливомером КИ-4818, который состоит из измерителя, закрепляемого на штативе 1с помощью винта 16, контрольных форсунок 7, топливопроводов 5, переключателей подачи топлива 9 и редуктора 15 с присоединенным к нему датчиком 14 электродистанционного тахометра.

Измеритель включает в себя корпус 2, секундомер 3, рычажок 4 для ручной установки стрелок секундомера в нулевое положение, указатель 5 электродистанционного тахометра ТЭ1-2, стаканы 6 с пе-ногасителями, валик 10 со сливными лотками и роликом для включения и выключения секундомера, кабель 11, соединяющий указатель тахометра с датчиком, мерные стаканчики (мензурки) 12 и уровень 13 для установки измерителя в горизонтальное положение.

Мензурки закрепляются на корпусе пружинными скобами, позволяющими быстро и легко снимать их для слива топлива.

В комплект топливомера входят медные прокладки, служащие для уплотнения мест присоединения топливопроводов высокого давления к форсункам и переключателям подачи топлива, а также мест присоединения переключателей к штуцерам секций топливного насоса. Прокладки обеспечивают надежное уплотнение и не допускают течи топлива при слабой затяжке накидных гаек, благодаря чему значительно повышается долговечность гаек и штуцеров.

Переключатели подачи топлива служат для полного или частичного выключения отдельных цилиндров двигателя и подачи топлива к форсункам топливомера при проведении замеров. Принцип действия переключателя основан на изменении направления потока топлива, подаваемого насосным элементом, или разделении этого потока на две части, одна из которых направляется в цилиндр двигателя, а другая - в топливомер.

Переключатель подачи топлива включает в себя корпус 1 (рис. 78), внутри которого находятся запорные клапаны 7 и 9, предназначенные для разделения потока топлива, поступающего от насоса по трубке 19. В корпус ввернута пробка <3, служащая направляющей штока 4 и заглушкой. Между пробкой и заплечиком штока помещена пружина 5, которая, нажимая на шток, выталкивает клапан 7 из седла 6. Клапан 7 упирается в клапан 9, стремясь прижать его к запорному конусу седла 5. В качестве запорных клапанов используют нагнетательные клапаны топливных насосов. Для ввинчивания седла клапана в корпус переключателя на тарелке седла профрезеровывают канавку. С левой стороны в корпус ввернута пробка 12, внутри которой помещен винт 13 с рифленой рукояткой. В торец винта упирается клапан 9. При вывертывании винта под действием пружины клапан 7 открывается, а клапан 9 закрывается. При ввертывании винт, перемещаясь вправо, открывает клапан 9 и закрывает клапан 7. При этом пружина 5 под действием штока 4 сжимается. Чтобы предотвратить выпадение винта из втулки, в ее тело запрессован штифт )/, ограничивающий ход винта при его вывертывании.

Для подключения переключателя к топливному насосу служит^ накидная гайка 23, навернутая на штуцер 22. Штуцер и навернутая на него часть гайки имеют левую резьбу, а вторая часть гайки, предназначенная для навертывания на штуцер насосного элемента, имеет правую резьбу. Гайка одновременно навертывается на штуцер насосного элемента и на штуцер переключателя, благодаря чему осуществляется плотное соединение штуцеров. Для подключения переключателя подачи топлива к двигателю служит штуцер 21, а для подключения к топливомеру - штуцер 10. Внутренняя полость штуцера 22 через сверление в распределителе 20 сообщается с каналом трубки 19, а полость штуцера 21 - с каналом трубки 18. К штуцерам 10 и 21 присоединяют топливопроводы высокого давления, соединенные соответственно с контрольными форсунками топливомера и с рабочими форсунками двигателя.

Регулирование подачи топлива при помощи переключателей осуществляется в следующем порядке.

Перед запуском двигателя винты переключателей должны быть вывернуты до отказа. При таком положении винтов двигатель работает на всех цилиндрах, так как топливо, поступая по трубке 19, проходит через открытый клапан 7 в трубку 18, откуда через распределитель 20 и штуцер 21 направляется в цилиндры. Для полного выключения подачи топлива в какой-либо цилиндр необходимо ввернуть винт соответствующего переключателя подачи до отказа. При этом клапан 9 откроется, а клапан 7 закроется, благодаря чему топливо из трубки 19 будет направляться в штуцер 10, а оттуда по топливопроводу высокого давления в форсунку топливомера. Если винт 13 установить в промежуточное положение, при котором оба клапана будут открыты, то топливо начнет поступать в двигатель и в топливо-мер. При этом вследствие уменьшения подачи топлива в цилиндр нагрузка на другие цилиндры возрастет. Степень уменьшения подачи в работающий цилиндр зависит от положения винта: для уменьшения подачи винт ввертывают, а для увеличения - вывертывают.

Топливо, поступающее к форсункам топливомера, направляется в мерные стаканчики или в шланг 17 на слив. При повороте рукоятки валика 10 против хода часовой стрелки топливо из лоточков начинает стекать в мерные стаканчики. Одновременно с этим включается секундомер. При повороте рукоятки в обратную сторону подача топлива в стаканчики прекращается, а секундомер выключается. По объему топлива в стаканчиках и времени их заполнения определяют количество топлива, подаваемого насосными элементами в единицу времени

Частоту вращения коленчатого вала в момент замера контролируют по показанию тахометра. Привод датчика тахометра (тахогенератора) осуществляется от вала топливного насоса с помощью редуктора 15. Для установки редуктора на двигатель снимают крышку люка с кожуха шестерен распределения или счетчик мото-часов. Передаточное число редуктора равно 2, благодаря чему тахометр показывает частоту вращения коленчатого вала.

Недостаток данного привода - его неуниверсальность и большая трудоемкость установки на двигатель. Взамен этого привода в ГОСНИТИ разработано более простое устройство для измерения частоты вращения вала отбора мощности. Это устройство состоит из корпуса, внутри которого на шарикоподшипниках установлена муфта привода тахогенератора. Для измерения частоты вращения ВОМ муфту надевают на его хвостовик и фиксируют корпус от проворачивания. Тахогенератор жестко соединен с муфтой привода и, следовательно, вращается как одно целое с валом отбора мощности.

К топливомеру прикладывается два комплекта контрольных форсунок (8 шт.) типа ФШ-2Х25. Четыре форсунки отрегулированы на давление 170 кгс/см2 и применяются при проверке насосов на двигателях А-01, АМ-01М, Д-108, А-41, ЯМЭ-238НБ, Д65-Н, Д-37М, Д-37Е и Д-21. Остальные четыре форсунки отрегулированы на давление 125 кгс/см2 и применяются при проверке насосов на двигателях других марок.

Погрешность замера максимальной производительности насосных элементов не превышает 3%, неравномерности подачи-1,5%; погрешность замера частоты вращения коленчатого вала - не более 20 об/мин. Емкость мензурок 100 см3, цена деления 2 см3.

Производительность насосных элементов и степень неравномерности подачи топлива на четырехцилиндровом двигателе определяют в следующем порядке.

Запускают двигатель и при работе на максимальном скоростном режиме выключают два цилиндра (I и IV или II и III), направив топливо в форсунки топливомера. Лотки в это время должны быть установлены в положение слива, а мерные стаканчики должны быть пустыми.

При работе двигателя на двух цилиндрах нагрузка работающих цилиндров составляет 65-70% от максимальной. Для достижения 100-процентной нагрузки одного из работающих цилиндров (с целью установки рейки топливного насоса в положение максимальной подачи топлива) уменьшают подачу топлива в другой работающий цилиндр. Для этого, плавно поворачивая рукоятку переключателя, наблюдают за показаниями тахометра. В это время часть топлива начнет поступать в форсунку топливомера, благодаря чему частота вращения коленчатого вала будет снижаться. Как только частота вращения достигнет значения, подсчитанного по формуле (43а) или (436), поворот рукоятки переключателя прекращают.

Положение рейки топливного насоса, соответствующее максимальной производительности, более точно можно определить по легкому соприкосновению подвижного элемента, связанного с регулятором числа оборотов, с упором, ограничивающим максимальную подачу топлива.

Рычажком 4 устанавливают стрелку секундомера в нулевое положение и переводят сливные лотки в положение замера. В это время включается секундомер. Через 1,0-1,5 мин переводят лотки в положение слива. Одновременно с этим секундомер выключается. Записав объем топлива в мензурках и показание секундомера, проверяют величину подачи топлива остальными двумя секциями насоса. Для этого полностью включают в работу все цилиндры, выливают топливо из мензурок и с помощью переключателей выключают два других цилиндра. Затем, плавно поворачивая рукоятку переключателя, подключенного к какой-либо из проверенных секций топливного насоса, и наблюдая за стрелкой измерителя тахометра, добиваются точно такого показания, которое было при предыдущем замере. Устанавливают стрелку секундомера в нулевое положение. С помощью рукоятки валика 10 переводят сливные лотки в положение замера и по прошествии точно такого же времени, какое было при предыдущем замере, переводят лотки в положение слива.

Для проверки топливных показателей у шестицилиндрового двигателя (у тракторов Т-4 или Т-4А) к топливомеру подключают, как и в предыдущем случае, четыре секции топливного насоса, кроме I и VI, или II и V, или III и IV. Такое распределение (спаривание) секций обусловлено порядком работы цилиндров и обеспечивает наиболее равномерную работу двигателя при замере производительности. В этом случае одновременно замеряют производительность четырех секций, направив струи топлива в мензурки топливомера. Имитацию 100-процентной нагрузки проводят, уменьшая подачу в один из двух работающих цилиндров описанными выше способами (с помощью переключателя подачи топлива или выключателя цилиндра). Чтобы определить производительность остальных двух секций, следует остановить двигатель и подключить их к топливомеру вместо одной из двух проверенных пар, соблюдая условие обеспечения равномерности работы двигателя.

Использованная литература

1.   Грехов Л.В. Топливная аппаратура с электронным управлением дизелей и двигателей с непосредственным впрыском бензина: Учебно-практическое пособие. - М.: Легион-Автодата, 2001. - 176с.

2.       Габитов И.И., Неговора А.В. Разработка информационно-измерительного комплекса для диагностирования топливной аппаратуры автотракторных дизелей // Тракторы и сельхозмашины. - 2002. - №4 с.


Похожие работы на - Испытание дизельной топливной аппаратуры

 

Не нашли материал для своей работы?
Поможем написать уникальную работу
Без плагиата!
Без нейросетей!