Способы и технологии подачи топлив в цилиндры в газодизельных двигателях

  • Вид работы:
    Отчет по практике
  • Предмет:
    Другое
  • Язык:
    Русский
    ,
    Формат файла:
    MS Word
    847,73 Кб
  • Опубликовано:
    2013-12-06
Вы можете узнать стоимость помощи в написании студенческой работы.
Помощь в написании работы, которую точно примут!

Способы и технологии подачи топлив в цилиндры в газодизельных двигателях

МОСКОВСКИЙ ГОСУДАРСТВЕННЫЙ МАШИНОСТРОИТЕЛЬНЫЙ УНИВЕРСИТЕТ «МАМИ»

ЭНЕРГОМАШИНОСТРОИТЕЛЬНЫЙ ФАКУЛЬТЕТ

Кафедра «Двигатели внутреннего сгорания»








ОТЧЕТ О ПАТЕНТНЫХ ИССЛЕДОВАНИЯХ

На тему

«Способы и технологии подачи топлив в цилиндры в газодизельных двигателях»

Студент: Студенцов А.С

Руководитель практики: Теренченко А.С.






МОСКВА 2013г.

СОДЕРЖАНИЕ

1.     Обозначения и сокращения

2.       Объект исследований

.        Анализ патентной документации

Заключение

Приложение А. Задание на проведение патентных исследований

Приложение Б. Регламент поиска

Приложение В. Отчет о поиске

1 ОБОЗНАЧЕНИЯ И СОКРАЩЕНИЯ

ДВС - двигатель внутреннего сгорания

КС - камера сгорания

СНГ - сжиженный нефтяной газ

СПГ - сжиженный природный газ

ТНВД - топливный насос высокого давления

ЭБУ - электронный блок управления

. ОБЪЕКТ ИССЛЕДОВАНИЙ

Анализ тенденций развития мирового двигателестроения показывает, что наиболее перспективным и вместе с тем относительно легко реализуемым способом улучшения экономических и экологических параметров двигателей является их адаптирование к альтернативным видам топлива. В особенности это касается ДВС с воспламенением от сжатия, ввиду его большего КПД по сравнению с ДВС с принудительным воспламенением.

В данном исследовании отражен накопленный опыт по конструированию ДВС с воспламенением от сжатия, работающим одновременно на горючем газе и дизельном топливе. По типу смешивания топлив такие двигатели делятся на два вида: без смешивания (газовое топливо равномерно перемешано с воздухом, дизельное топливо, будучи впрыснутым в КС, воспламеняется прежде, чем перемешается с газом и воздухом) и со смешиванием топлив в каком-либо устройстве. Первый тип конструктивно реализуется установкой газовой форсунки во впускном трубопроводе, с подачей газа на такте впуска, либо в головке цилиндра, с подачей газа на такте впуска и/или сжатия. Второй тип конструктивно реализуется отдельным устройством для смешивания дизельного и газового топлива, в том числе газа в сжиженном виде, для последующей подачи готовой смеси к форсунке, либо форсункой специальной конструкции, в полости которой происходит смешивание топлив при впрыске. Также существуют конструкции, предполагающие полный отказ от дизельного топлива - с использованием какого-либо ненефтяного топлива в качестве запального.

. АНАЛИЗ ПАТЕНТНОЙ ДОКУМЕНТАЦИИ

В рамках исследования производился поиск и анализ патентных документов, в которых рассматривались вопросы применения одновременно газового и дизельного топлива в ДВС с воспламенением от сжатия.

Поиск патентной документации производился с помощью сети Internet по следующим источникам:

- Patentscope of World Intellectual Property Organization (WIPO), Switzerland

Database of United States Patent and Trademark Office (USPTO), U.S.

Database of National Center for Industrial Property Information and Trading (INPIT), Japan

- База данных ФГБУ Федерального Института Промышленной Собственности (ФИПС), РФ

В качестве определяющих терминов при поиске использовались ключевые слова: diesel engine, dual fuel, gaseous fuel, fuel mixture, LPG, methane, газовое топливо, битопливный двигатель, газодизель.

В процессе поиска охвачен временной интервал с 2003 по 2013 год включительно. Было рассмотрено 242 документа, среди них 142 зарубежных и 100 отечественных. Для более подробного рассмотрения отобрано 11 документов.

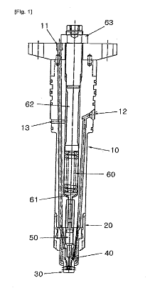
В патенте KR2010007400 представлена конструкция комбинированной форсунки, в которой управление осуществляется от давления дизельного топлива, причем, в соответствии с рисунком 1, запорный механизм газовой части форсунки управляется плунжером дизельной части форсунки.

Рисунок 1 - устройство KR2010007400

В патенте RU78270 так же представлена комбинированная форсунка, отличие которой от предыдущей конструкции в том, что дозирование газового топлива осуществляется электромагнитным клапаном. В соответствии с рисунком 2, этот клапан находится в верхней части форсунки.

Рисунок 2 - устройство RU78270

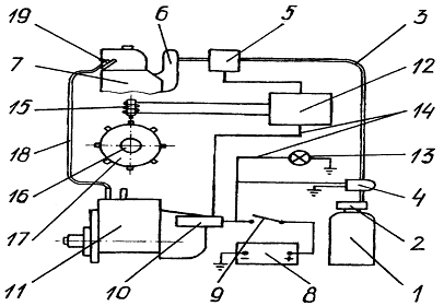
Патентом RU50258 описывается принцип регулирования подачи газового и дизельного топлив видоизмененным многоплунжерным ТНВД, плунжеры которого имеют конструкцию, предусматривающую подачу и отключение подачи газа к форсунке. В соответствии с рисунком 3 клапан, управляющий подачей газа, находится над верхней частью плунжера.

Рисунок 3 - схема конструкции RU50258

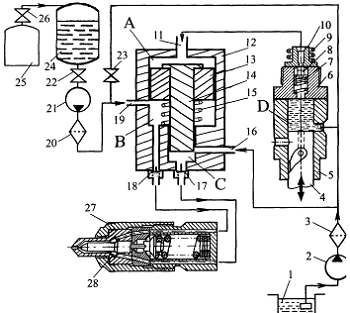
В патенте RU2338920 описана конструкция устройств, предназначенных для перевода дизельного двигателя любой конструкции на работу на газовом топливе - это устройство регулирования подачи СНГ и комбинированная форсунка. В соответствии с рисунком 4, регулятор устанавливается после ТНВД, который остается штатным, и осуществляет дозированную подачу газа к комбинированной форсунке в зависимости от подачи дизельного топлива.

Рисунок 4 - конструкция устройств RU2338920

В патенте JP2003193874 описан, в соответствии с рисунком 5, способ подачи газа во впускной коллектор одной форсункой с электронным управлением, причем дизельные форсунки и газовая форсунка контролируется одним ЭБУ. Газ подается во впускной коллектор непрерывно, контроль расхода осуществляется датчиком давления.

дизельный газовый топливо патентный

Рисунок 5 - схема устройств JP2003193874

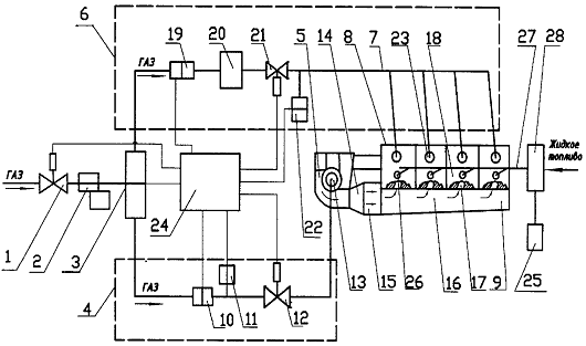
Патент RU47448 также описывает способ подачи газа во впускной коллектор с электронным управлением, принципиальное его отличие от предыдущего документа заключается в том, что применяются индивидуальные для каждого цилиндра форсунки, и подача газа осуществляется дозировано, на такте впуска. В соответствии с рисунком 6, на двигателе сохраняется ТНВД, специальный датчик на нем подает на ЭБУ сигнал о впрыске дизельного топлива.

Рисунок 6 - схема устройств RU47448

Принцип работы устройства RU57832, в соответствии с рисунком 7, предусматривает предварительное смешивание дизельного топлива и СНГ и последующую подачу смеси к форсункам.

Рисунок 7 - схема устройств RU57832

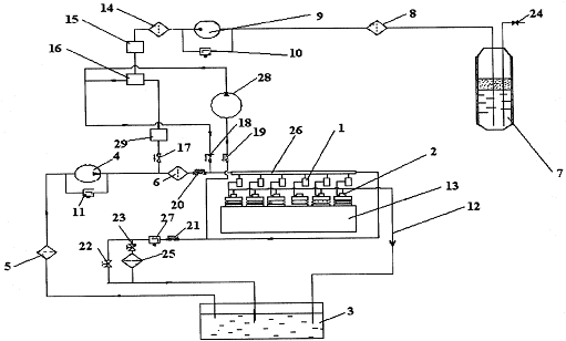
Патент AU2011000456 содержит описание принципа работы и схему топливной аппаратуры, смешивающей часть подаваемого из баков дизельного топлива с СПГ и подающей чистое дизельное топливо и смесь к комбинированным форсункам.

Особенность конструкции RU2319846, изображенной на рисунке 8, в том, что используется комбинация ввода газа во впускной коллектор (20-50%) и непосредственно в КС (80-50% соответственно), причем часть газа, подаваемая непосредственно в КС, подогревается в специальном устройстве за счет теплоты от выпускного коллектора до температуры 150-250 градусов Цельсия.

Рисунок 8 - конструкция RU2319846

Патент IT MI20090968 содержит способ эксплуатации газодизельного ДВС, который предполагает отказ от дизельного топлива, в качестве запального топлива в вышеозначенном способе эксплуатации используется газойль.

В патенте RU2207441 так же содержится способ эксплуатации газодизельного ДВС без дизельного топлива, но, в отличие от предыдущего, он предполагает полный перевод газодизельного ДВС на альтернативное топливо: в качестве запального топлива используется диметиловый эфир.

ЗАКЛЮЧЕНИЕ

Патентные исследования проведены по всем предметам поиска и источникам информации, предусмотренным регламентом. Регламент при поиске не изменялся. Патентные исследования позволили выявить технический уровень развития газодизельных ДВС.

На данный момент теми или иными патентными документами охвачены все способы подачи топлив в цилиндры газодизельного ДВС, а так же работа газодизельного ДВС полностью на альтернативных топливах. Предложено множество вариантов конструкций и их комбинаций, способов регулирования подачи газа. Во всех рассмотренных документах подача дизельного топлива регулируется одним из традиционных сособов.

При первичной сортировке отброшено 131 зарубежных и 86 отечественных документов по нестрогому соответствию цели поиска и несоответствию временным рамкам поиска. Среди отобранных отечественных патентов патентообладателями 9 документов являются ВУЗы, 2 документов - Российская Федерация в той или иной форме, 2 документов - коммерческие организации, 1 документа - частные лица; среди отобранных зарубежных документов патентообладателями 7 документов являются коммерческие организации, 4 документов - коммерческие организации и разработчики совместно. Из отобранных зарубежных патентов 6 зарегистрированы в Австралии, 2 в Японии, 2 в Италии и 1 в Южной Корее. В отчете представлено 11 документов.

Почти все вошедшие в отчет зарубежные патентные документы принадлежат малоизвестным организациям, которые являются поставщиками автокомпонентов для крупных производителей. Исключение составляет представленный выше южнокорейский патент KR2010007400, принадлежащий Hyundai Heavy Industries. Патентообладателями являются организации и разработчики, работающие в этих организациях, частные лица в качестве патентобладателей встречаются крайне редко.

Среди отечественных патентообладателей по численности преобладают ВУЗы, на втором месте - частные лица, а коммерческих организаций сравнительно мало.


Приложение А

Задание на проведение патентных исследований

Наименование темы: «Применение газовых и смесевых топлив в ДВС с воспламенением от сжатия»

Задачи патентных исследований:

Выявить концептуальные направления развития технологий использования газовых топлив в ДВС с воспламенением от сжатия, в частности способы подачи топлива в КС.

Таблица 1. Календарный план

Виды патентных исследований

Подразделения-исполнители (соисполнители)

Ответственные исполнители (Ф.И.О.)

Сроки выполнения патентных исследований. Начало. Окончание

Отчетные документы

Исследования технологий применения газовых топлив в ДВС с воспламенением от сжатия

ГНЦ РФ ФГУП НАМИ

Студенцов А.С.

01.07.2013 -    22.07.2013

Отчет о патентных исследованиях


Приложение Б

Регламент поиска

Наименование темы: «Применение газовых и смесевых топлив в ДВС с воспламенением от сжатия»

Номер и дата утверждения задания: 05.07. 2013г.

Цель поиска информации: Изучение запатентованных конструкций узлов и агрегатов и накопленного опыта в области применения газовых топлив в ДВС с воспламенением от сжатия, в частности способы подачи топлив в КС.

Обоснование регламента поиска: Глубина поиска составляет 10 лет. Поиск проводится по странам, ведущим разработки в области газодизельных двигателей.

Начало поиска 05.07.2013

Окончание поиска 22.07.2013

Таблица 2 Регламент поиска

Предмет


Источники информации, по которым будет проводиться поиск



поиска


патентные

НТИ*




Страна поиска

Наименование

Классификационные рубрики: МПК (МКИ)*, МКПО*, НКИ* и другие

Наименование

Рубрики УДК* и другие

Ретроспективность

Наименование информационной базы (фонда)

1

2

3

4

5

6

11

12

Подача дизельного и газового топлив в цилиндры ДВС с воспламенением от сжатия

РФ, США, страны азиатского и европейского регионов, Австралия

Двигатели, характеризуемые воспламенением от сжатия Двигатели, характеризуемые работой на газовых топливах Топливная аппаратура, работающая на двух и более топливах

F02B7/00 F02B43/00 F02M43/00



2003 -2013г

Patentscope of WIPO, Switzerland Database of USPTO, U.S. Database of INPIT, Japan База данных ФГБУ ФИПС, РФ



Приложение B

Отчет о поиске

В.1 Поиск проведен в соответствии с заданием от 05.07.2013 и регламентом поиска от 05.07.2013.

В.2 Этап работы: Исследование патентной ситуации по технологиям и способам подачи газового и дизельного топлив в цилиндры ДВС с воспламенением от сжатия.

В.3 Начало поиска 05.07.2013 Окончание поиска 22.07.2013

В.4 Сведения о выполнении регламента поиска: регламент выполнен полностью.

В.5 Предложения по дальнейшему проведению поиска и патентных исследований: нет предложений.

В.6 Материалы, отобранные для последующего анализа: нет.

Таблица 3 Исследованные патенты

 

Предмет поиска (объект исследования, его составные части)

Страна выдачи, вид и номер охранного документа. Классификационный индекс*

Заявитель (патентообладатель), страна. Номер заявки, дата приоритета, конвенционный приоритет, дата публикации*

Название изобретения, полезной модели.

 

1

2

3

4

 

1 ПАТЕНТЫ ЮЖНОЙ КОРЕИ

 

1

HYUNDAI HEAVY IND CO LTD (KR) 10852952 27.10.2010 10.04.2013

Битопливная форсунка, включающая гибридное сопло, для дизельных и газовых двигателей.

2 ПАТЕНТЫ ИТАЛИИ

 

1

Италия IT MI20090968 F02D 19/10 F02D 41/00 F02D 19/08

LANDI RENZO S.P.A. (IT) 10723084 25.05.2010 11.04.2012

Применение газойля в качестве запального топлива в газодизельных ДВС.

 

3 ПАТЕНТЫ ЯПОНИИ

 

1

Япония JP2003193874 F02M 35/104 F02D 19/8 F02M 21/4 F02M 21/2 F02D 19/2

Nippon Ekosu K.K. (JP) 2001394164 26.12.2001 06.09.2003

Способ и конструкция устройств для подачи газового топлива во впускной коллектор газодизельного двигателя, с электронным управлением.

 

4 ПАТЕНТЫ АВСТРАЛИИ

 

1

Австралия AU2011000456 F02D 19/08 F02M 31/20 F02M 37/04 F02M 43/00

KRUG, Uwe (DE) (For US Only), DGC INDUSTRIES PTY LTD (AU) (For All Designated States Except US) PCT/AU2011/000456 20.04.2011 27.10.2011

Система подачи газового и дизельного топлива в цилиндры газодизельного ДВС и предварительным смешиванием части дизельного топлива с сжиженным газом.

 

5 ПАТЕНТЫ РОССИЙСКОЙ ФЕДЕРАЦИИ

 

1

РФ RU50258 F02M43/00

ГОУ ВПО СамГАПС (RU) 2005118584/22 15.06.2005 27.12.2005

Топливоподающая система газодизеля с внутренним смесеобразованием.

 

2

РФ RU57832 F02B43/00 F02M37/00

ГОУ ВПО СамГАПС (RU) 2006120686/22 13.06.2006 27.10.2006

Система топливоподачи газодизеля с внутренним смесеобразованием.

 

3

РФ RU78270 F02M21/02

Бердников Алексей Анатольевич (RU), Зуев Роман Александрович (RU) 2008124253/22 16.06.2008 20.11.2008

Форсунка для газодизеля.

 

4

РФ RU2319846 F02D19/10 F02B43/06 F02M29/02

ФГУП ВНИКТИ (RU) 2006122902/06 28.06.2006 20.03.2008

Способ подачи горючего газа в рабочие цилиндры газодизеля.

 

5

РФ RU2338920 F02М43/00

ФГОУ ВПО КрасГАУ (RU) 2007108990/06 12.03.2007 20.11.2008

Система подачи жидкого и газообразного топлива в газодизель.

 

6

РФ RU2207441 F02B7/02 F02B43/04

ООО "ППП Дизельавтоматика" (RU) 2001113061/06 11.05.2001 27.06.2003

Способ питания газодизеля.

 

7

РФ RU47448 F02M43/00

ФГОУ ВПО РГСХА (RU) 2004134911/22 29.11.2004 27.08.2005

Система питания дизельного двигателя двумя видами топлива.

 


Похожие работы на - Способы и технологии подачи топлив в цилиндры в газодизельных двигателях

 

Не нашли материал для своей работы?
Поможем написать уникальную работу
Без плагиата!
Без нейросетей!