Определение содержания серы в нефтепродуктах
ВВЕДЕНИЕ
С развитием техники повышаются требования к
ассортименту и качеству нефти и нефтепродуктов, что, в свою очередь, требует
совершенствования процессов их производства. Поэтому качество, как товарной
нефти, так и продуктов ее переработки, подлежит обязательному контролю.
Организацию контроля качества невозможно осуществлять без стандартов на
нефтепродукты и методов их испытания. Задачи стандартизации многообразны.
Контроль нефтепродуктов на содержание серы и ее
соединений остается важной аналитической задачей. В нефтепродуктах сернистые
соединения являются очень вредной примесью. Они токсичны, придают
нефтепродуктам неприятный запах, их повышенное содержание вредно отражается на
антидетонационных свойствах бензинов, способствуют смолообразованию в крекинг-продуктах
и, главное, вызывают коррозию металлов. Чем меньше серы в топливе, тем дольше
служит каталитический нейтрализатор автомобилей, дожигающий токсичный оксид
углерода (СО), несгоревшие углеводороды и вредные оксиды азота.
Дизельные топлива с содержанием серы меньше
0,035% имеют худшие смазывающие свойства. Их применение приводит к
существенному увеличению износа плунжеров насоса высокого давления и снижению
срока безотказной работы других агрегатов топливной аппаратуры. Стал
необходимым ввод в топливо присадок, улучшающих их смазывающие свойства. В
России такие присадки пока еще серийно не производятся. И это не единственная
проблема, связанная с переходом на новые стандарты.
К сожалению, на наших АЗС до сих пор не
организован раздельный сбыт дизельного топлива разных марок, отличающихся по
содержанию в них серы и другим показателям, характеризующим их экологичность.
Дизельное топливо производится из двух видов
нефтей, малосернистых в нем максимально допустимое содержание серы 0,20% и
высокосернистых с содержанием серы до 1,0%.
Наличие активных сернистых соединений,
вызывающих коррозию резервуаров, цистерн, трубопроводов, топливной аппаратуры
не допускается.
Есть от серы и прямой вред для здоровья: ее
оксиды, соединяясь с парами воды, повисают в воздухе в виде паров серной и
сернистой кислоты. Результат - кислотные дожди, раздражение дыхательных путей и
урон зеленым насаждениям.
В связи с вышеизложенным, вытекает необходимость
осуществления постоянного аналитического контроля нефтепродуктов на содержание
серы и ее соединений, что позволит впоследствии не только повысить качество
получаемого продукта и его технических показателей, но и снизить вредные
токсичные выбросы в атмосферу, тем самым уменьшив загрязнение окружающей среды.
Цель работы
контроль содержания серы и серосодержащих
соединений в нефтепродуктах (дизельном топливе, бензине, смазочных маслах);
оценка качества нефтепродуктов.
Задачи:
. Обобщить и систематизировать литературные
данные о влиянии серы и сернистых соединений на качество нефтепродуктов.
. Обобщить и систематизировать литературные
данные по известным методикам определения серы и сернистых соединений в
нефтепродуктах.
. Осуществление контроля содержания серы и
сернистых соединений в нефтепродуктах, представленных на АЗС города Орла.
. Разработать практическое занятие на тему:
«Определение содержания серы в нефтепродуктах» в рамках курса «Анализ
конкретных объектов».
Новизна работы заключается в модернизации
существующих методик определении серы и ее соединений в образцах нефтепродуктов.
ГЛАВА I.
ТЕОРЕТИЧЕСКАЯ ЧАСТЬ
.1 ХИМИЧЕСКИЙ СОСТАВ НЕФТИ И ЕГО ВЛИЯНИЕ НА
СВОЙСТВА НЕФТЕПРОДУКТОВ
Нефть представляет собой сложную смесь различных
соединений углерода с водородом. По элементному составу она содержит 83-87%
углерода, 11-14% водорода, 0,1-1,2% кислорода, 0,02-1,7% азота и 0,01-5,5%
серы. По внешнему виду нефть - маслянистая жидкость, от темно-коричневого до
желтого цветов, плотностью 0,75-1,03 г/см.
Нефть имеет органическое происхождение.
Исходными веществами для образования нефти послужили органические соединения,
представляющие собой продукты распада растительных и животных организмов.
Основную массу вещества нефти составляют
углеводороды 3-х главных групп: парафиновые (алканы), нафтеновые (циклоалканы)
и ароматические (арены), которые как по количеству, так и по свойствам
различаются для нефти разного происхождения. В нефти содержатся также
незначительные количества кислородных и азотистых соединений.
Парафиновые углеводороды. Общая эмпирическая
формула СnН2n+2 объединяет газообразные углеводороды, начиная с метана СH4,
жидкие, начиная с пентана C5H12, и твердые (Н-парафины), начиная с гексадекана
С16Н34. Газообразные и твердые углеводороды способны растворяться в жидких, из
которых, могут вновь выделяться газообразные (при повышении температуры или
увеличения давления) и твердые (при понижении температуры).
Молекулы парафиновых углеводородов имеют
неразветвленные цепи атомов углерода. Сами углеводороды носят название
нормальных. Указанные, углеводороды устойчивы к реакциям окисления. Однако с
повышением., температуры за 250...300°С окислительные процессы у Н-парафинов
значительно интенсифицируются.
Кроме Н-парафинов, в нефтепродуктах находятся
также изомерные углеводороды (И- парафины), которые имеют иное пространственное
расположение атомов. И- парафины при умеренной температуре проявляют более
высокую способность вступать в окислительные реакции, но с увеличением
температуры эта способность замедляется, и в области высоких температур И-
парафины оказываются более стойкими, чем Н-парафины. Для обеспечения мягкой
работы дизельного двигателя важны Н-парафины, а для создания высоких
противодетонационных свойств бензинов для карбюраторных двигателей важное
значение имеют И- парафины. Парафиновые углеводороды имеют высокую температуру
застывания, поэтому их присутствие в зимних сортах дизельного топлива и
смазочных масел допускается в незначительных количествах.
Общее содержание парафиновых углеводородов в
нефти и продуктах ее переработки составляет около 50...60%, причем наиболее
высокое их содержание приходится на фракции, выкипающие до 150°С.
Нафтеновые углеводороды имеют цикличное
строение, поскольку в их молекулы входят замкнутые кольца атомов углерода,
соединенные между собой простыми валентными связями.
В легких топливных фракциях нефти содержатся
моноциклические нафтеновые углеводороды, молекулы которых включают в себя по
одному кольцу из пяти или шести атомов углерода. Общая эмпирическая формула
моноциклоалканов СnН2n. Представители моноциклоалканов - циклопентан C5H10 и
циклогексан C6H12. У более сложных нафтеновых углеводородов в молекулы входят,
кроме циклического ядра, одна или несколько боковых цепей, представляющих собой
радикалы парафиновых цепных углеводородов. Имея одно и то же число атомов в
молекулах, нафтены могут содержать большое количество изомерных структур,
которые различаются между собой расположением и строением боковых цепей.
Нафтеновые углеводороды в сравнении с
парафиновыми при одинаковой молекулярной массе в области невысоких температур
устойчивы к реакциям окисления, но несколько уступают Н-алканам. При повышении
температуры (около 400°С и выше) цикланы превосходят Н-парафины по стойкости к
окислительным реакциям и приближаются к Н-парафинам.
Нафтеновые углеводороды обладают низкими
температурами застывания, являются ценным компонентом зимних сортов топлива и
масел. Хорошая устойчивость к окислению при высоких температурах делает эти
углеводороды необходимой составной частью топлива для карбюраторных двигателей,
улучшая их противодетонационные качества.
Содержание нафтеновых углеводородов в нефти
составляет 20-30% и может быть несколько большим [1].
Ароматические углеводороды (арены) имеют
шестичленное циклическое ядро. Молекула ароматического углеводорода бензола
имеет вид С6Н6.
В легкие фракции нефти и нефтепродуктов входят
моноциклические углеводороды с общей эмпирической формулой CnH2n-6, в составе
которых одна или несколько боковых парафиновых цепей. Арены в зависимости от
количества и расположения боковых цепей образуют изомерные соединения.
В более тяжелых фракциях наряду с вышеуказанными
содержатся бициклические и полициклические ароматические углеводороды, в
молекулы которых входят несколько взаимоконденсированных колец или же кольца,
соединенные между собой промежуточными цепями. Ароматические углеводороды обладают
высокой термической устойчивостью к реакциям окисления, но вступают в реакцию
замещения с сохранением бензольного ядра. Ароматические углеводороды обладают
большей вязкостью, плотностью и температурой кипения в сравнении с
циклоалканами и алканами при той же молекулярной массе. С понижением
температуры вязкость аренов резко возрастает, что отрицательно сказывается на
свойствах смазочных материалов.
Ароматические углеводороды устойчивы к реакциям
образования перекисей, что повышает противодетонационные свойства
карбюраторного топлива. Арены вызывают увеличение периода задержки
самовоспламенения дизельного топлива, что способствует жесткой работе
дизельного двигателя.
В нефти содержание ароматических углеводородов
составляет 10-30%. Количество ароматических углеводородов возрастает по мере
повышения температуры кипения отдельной фракции нефти, доходя до 30-35% во
фракции с температурой 250-300°С.
В процессе термической переработки нефти
образуются также непредельные углеводороды, которые характеризуются наличием
двойных или тройных связей между углеродными атомами. Наиболее часто
встречаются в нефтепродуктах олефиновые углеводороды (алкены) со структурной
формулой СnН2n с одной двойной связью (например, этилен С2H4). Распространены
также и диолефиновые углеводороды (алкадиены) со структурной формулой СnН2n-2,
которые имеют две двойные связи (бутадиен С4H6).
Наличие двойных связей в молекулах алкенов и
алкaдиенов способствует их повышенной химической активности. Они легко
окисляются и имеют склонность к реакциям присоединения и уплотнения
(полимеризации). Чем больше число двойных связей в молекуле и выше температура,
тем интенсивнее протекает процесс окисления. В результате полимеризации
образуются высокомолекулярные смолисто - асфальтовые вещества, из-за чего
непредельные углеводороды в большинстве случаев нежелательны для моторного
топлива и смазочных масел. Малая стабильность непредельных углеводородов
является следствием смолообразования в топливе при хранении, особенно в
крекинг-бензинах.
Органические кислоты - это соединения,
содержащие кислород. Основными органическими кислотами, содержащимися в нефти и
нефтепродуктах, являются нафтеновые кислоты, относящиеся к карбоновым кислотам.
Нафтеновые кислоты не вызывают коррозию черных металлов, но с цветными металлами
(особенно с цинком и свинцом) взаимодействуют интенсивно, образуя соли. В
результате окислительных процессов в нефтепродуктах образуются также
оксикислоты, в молекулах которых, кроме карбоксильной, присутствует
гидроксильная группа ОН-.
Смолисто-асфальтовые вещества являются сложными
соединениями углерода, водорода, кислорода, иногда серы. Они подразделяются на
нефтяные смолы, асфальгены, карбены и карбоиды, кислые нефтяные смолы.
Нейтральные смолы - это полужидкие тягучие
вещества, темно-желтого или коричневого цвета, обладающие сильной окрашивающей
способностью. Плотность около 1,0 г/см3 . Элементный состав 80-85 % С, 10% Н,
5-10% О. Смолы легко растворяются в нефтепродуктах.
Асфальгены представляют собой темно-бурые или
черные твердые вещества, также обладающие сильной окрашивающей способностью.
Плотность их более 1 г/см3. В асфальгенах по сравнению со смолами несколько
больше содержится углерода и меньше водорода. Они растворяются в тяжелых
фракциях нефти (масляных) и нефтяных смолах, образуя коллоидные растворы.
Асфальгены при нагревании выше 300°С разлагаются.
Карбены и карбоиды, образующиеся из асфальгенов,
по мере их уплотнения имеют более темный цвет. Они трудно растворимы.
Кислые нефтяные смолы (асфальгеновые кислоты и
их ангидриды) - это полутвердые или твердые вещества плотностью более 1 г/см3
не растворимы в бензине. Они образуются в результате окислительной
полимеризации и конденсации продуктов окисления углеводородов (кислот,
оксикислот и т.п.).
Сернистые соединения образуются на основе серы,
содержащейся в нефти и нефтепродуктах, могут быть в свободном или связанном
виде. По влиянию на металлы сернистые соединения подразделяются на две группы:
активные, непосредственно вступающие в реакцию с металлами (сероводород H2S,
сера S, различные меркаптаны), и нейтральные, которые не действуют на металл
(сульфиды).
Наличие активных сернистых соединений в
нефтепродуктах не допускается. Для топлива все сернистые соединения весьма
нежелательны, так как в процессе сгорания образуется сернистый и серный газы,
при растворении которых в воде образуются кислоты, вызывающие интенсивную
коррозию деталей двигателя.
Азотистые соединения содержатся в нефти в
незначительном количестве (до 0,3%) и практически могут быть удалены при
очистке нефтепродуктов. Кроме рассмотренных соединений, в нефти содержатся
минеральные примеси (обычно в виде различных солей нафтеновых кислот) и вода,
которые легко удаляются при отстаивании [2].
.2 КЛАССИФИКАЦИЯ НЕФТЕПРОДУКТОВ
Принято классифицировать нефтепродукты по их
назначению и использованию в отраслях народного хозяйства .
В соответствии с этим различают: моторное
топливо, энергетическое топливо, нефтяные масла, углеродные и вяжущие
материалы, нефтехимическое сырье, нефтепродукты специального назначения.
Моторное топливо в зависимости от принципа
работы двигателя подразделяют на: бензины (авиационные и автомобильные),
реактивное и дизельное топливо.
Энергетическое топливо подразделяют на:
газотурбинное, котельное и судовое.
Нефтяные масла подразделяют на смазочные и не
смазочные. Смазочные масла подразделяют на моторные для поршневых и реактивных
двигателей; трансмиссионные и осевые, предназначенные для смазки автомобильных
и тракторных гипоидных трансмиссий (зубчатых передач различных типов) и шеек
осей железнодорожных вагонов и тепловозов.
Индустриальные масла предназначены для смазки
станков, машин и механизмов различного промышленного оборудования, работающих в
разнообразных условиях с различной скоростью и нагрузкой. По значению вязкости,
их подразделяют на легкие (швейное, сепараторное, вазелиновое, приборное,
веретенное, велосит и др.), средние (для средних режимов скоростей и нагрузок)
и тяжелые (для смазки кранов, буровых установок, оборудования мартеновских
печей, прокатных станов и др.).
Энергетические масла (турбинные, компрессорные и
цилиндровые) - для смазки энергетических установок и машин, работающих в
условиях нагрузки, повышенной температуры и воздействия воды, пара и воздуха.
Несмазочные (специальные) масла предназначены не
для смазки, а для применения в качестве рабочих жидкостей в тормозных системах,
в пароструйных насосах и гидравлических устройствах, в трансформаторах,
конденсаторах, в качестве электроизолирующей среды (трансформаторное,
конденсаторное, гидравлическое, вакуумное), а также, такие как вазелиновое,
медицинское, парфюмерное, смазочно-охлаждающие жидкости.
Углеродные и вяжущие материалы включают:
нефтяные коксы, битумы, нефтяные пеки (связующие, пропитывающие, брикетные,
волокнообразующие и специальные).
Нефтехимическое сырье. К этой группе можно отнести:
арены (бензол, толуол, ксилолы, нафталин и др.), сырье для пиролиза
(нефтезаводские и попутные нефтяные газы, прямогонные бензиновые фракции,
алкеносодержащие газы).
Также парафины и церезины. Вырабатываются как
жидкие (получаемые карбамидной и адсорбционной депарафинизацией нефтяных
дистиллятов), так и твердые (получаемые при депарафинизации масел). Жидкие
парафины являются сырьем для получения белкововитаминных концентратов,
синтетически жирных кислот и поверхностно-активных веществ [3].
Нефтепродукты специального назначения
подразделяют на:
• Термогазойль (сырье для производства
технического углерода).
• Консистентные смазки (антифрикционные,
защитные и уплотнительные).
• Осветительный керосин.
• Присадки к топливам и маслам, деэмульгаторы.
• Элементная сера.
• Водород и другие.
.3 СЕРНИСТЫЕ СОЕДИНЕНИЯ
Сера является одной из постоянных составных
частей нефти. В сырой нефти сера содержится главным образом в виде органических
сернистых соединений, а в дистиллятах и в готовых нефтепродуктах она присутствует
как в чистом виде, так и в виде сероводорода и органических соединений.
Появление сероводорода и серы в нефтепродуктах
объясняется частичным разложением органических сернистых соединений при
термическом воздействии в процессе переработки, причем основную массу продуктов
ра12спада составляет сероводород. Окисляясь, он переходит в элементарную серу,
поэтому часто содержание серы в продукте является результатом окисления
сероводорода.
Склонность сероводорода к окислению настолько
велика, что он реагирует при обыкновенной температуре даже с кислородом
воздуха, хотя реакция в этом случае протекает очень медленно.
К числу органических сернистых соединений нефти
относятся следующие.
Меркаптаны или тиоспирты (RSH)
- легколетучие жидкости с чрезвычайно сильным отвратительным запахом. Подобно
сероводороду они обнаруживают слабокислотные свойства; с тяжелыми металлами
легко образуют солеподобные производные - меркаптиды.
Сульфиды или тиоэфиры (R-S-R)
- нейтральные вещества, не растворяющиеся в воде, но легко растворяющиеся в
нефтепродуктах. Они представляют собой большей частью твердые кристаллические
тела, заметно разлагающиеся при перегонке. При окислении сульфиды переходят в
сульфоксиды и затем в сульфоны. Сульфоксиды обладают характером слабых щелочей,
сульфоны являются нейтральными продуктами
Сульфид Сульфоксид Сульфон
Дисульфиды и полисульфиды (R-S…..S-R)
- тяжелые жидкости с неприятным запахом, легко растворяющиеся в нефтепродуктах
и очень мало в воде. По химической функции являются нейтральными соединениями.
При перегонке частично разлагаются, особенно высокомолекулярные соединения.
Тиофен (C4H4S)
и его производные - нейтральные циклические соединения с пятичленным кольцом.
Это - жидкости, не растворяющиеся в воде; по своим химическим свойствам они
напоминают ароматические углеводороды. Так, при действии крепкой серной кислоты
эти соединения образуют сульфокислоты по схеме
Тиофан (C4H8S) или
тетрагидротиофен и его производные - бесцветные жидкости с крайне неприятным
запахом, перегоняющиеся без разложения; они не растворимы в воде, но легко
растворяются в обычных органических растворителях и нефтепродуктах. По своим
химическим свойствам напоминают сульфиды жирного ряда и подобно им при действии
окислителей превращаются в соответствующие сульфоксиды и сульфоны [4].
Помимо моноциклических сернистых
соединений, в высших фракциях нефти присутствуют также би- и полициклические
серосодержащие соединения, строение которых большей частью не выяснено. В
результате систематического анализа сернистых соединений установлено, что эти
соединения составляют так называемую «остаточную» серу.
Зибенек, Флетчер и другие показали,
что при термической обработке нефтепродуктов, содержащих значительное
количество серы, образуется сероуглерод (CS2) [4].
Однако температуры образования CS2 во всяком случае не могут
быть ниже 600-800°С. Следовательно, эти температуры значительно выше тех, при
которых протекают основные процессы переработки нефти. Поэтому к сообщениям о
нахождении сероуглерода в нефтепродуктах надо относиться с большой
осторожностью. Не исключена возможность содержания CS2 в сырой
нефти.
Кроме описанных, нефть и
нефтепродукты могут содержать сернистые соединения, появляющиеся в результате
очистки нефтяных дистиллятов. К ним относятся кислые и средние эфиры серной
кислоты, а также сульфокислоты. Кислые эфиры, образующиеся по нижеследующей
схеме, представляют собой жидкости с сильными кислотными свойствами, весьма
нестойкие к термическому воздействию:
RC=CR +
HOSO2ОH
®
RCH-CR-OSO2OH
Средние эфиры образуются по схеме:
RC=CR +
HOSO2ОH
®
SO2(RCH-CR-O)2
По химической функции средние эфиры
являются нейтральными веществами. Однако они легко реагируют со щелочами,
отщепляя серную кислоту; при нагревании выше 120° средние эфиры разлагаются.
Кислые и средние эфиры получаются в
результате кислотной очистки нефтяных дистиллятов, частично они остаются в
обработанном серной кислотой дистилляте, частично переходят в кислый гудрон.
При кипячении с водой эфиры гидролизуются в спирты.
Сульфокислоты RSO3H получаются
либо в результате глубокого окисления органических сернистых соединений, в
частности меркаптанов, либо в результате действия серной кислоты на нефтяные
углеводороды, в основном ароматические. Последняя реакция может быть
представлена следующим образом:
CnH2n-6 +HОSО2ОH ® CnH2n -7SO3H + H2O
Сульфокислоты являются
кристаллическими веществами, легко растворимыми в воде, и представляют собой
сильные кислоты.
О количествах сернистых соединений в
нефти судят по результатам определения общего содержания серы, выраженного в
процентах [5].
В настоящее время принято делить
нефть на 4 группы:
) не сернистые (S < 0,2%);
) малосернистые (S= 0,2 - 1,0%);
) сернистые (S = 1 - 3%);
) высокосернистые (S >3%).
В таблице 1 приведены данные о
содержании серы в нефти различных месторождений.
Таблица 1. Содержание серы нефти
различных месторождений
|
Месторождение
|
Содержание
серы, %
|
|
Сурханское
(Баку)
|
0,02
- 0,08
|
|
Доссорское
(Эмба)
|
0,11
- 0,15
|
|
Грозненское
|
0,20
- 0,25
|
|
Майкопское
|
0,18
- 0,28
|
|
Тюменское
(Западная Сибирь)
|
0,55
- 2,06
|
|
Краснокамское
(Пермская обл.)
|
0,58
- 0,96
|
|
Марковское
(Сибирь)
|
0,89
|
|
Сахалинское
|
0,33
- 1,28
|
|
Ухтинское
|
1,12
- 1,24
|
|
Туймазинское
(Башкирия)
|
1,47
|
|
Ромашкинское
(Татарстан)
|
1,62
|
|
Тюменское
(Сибирь)
|
1,5
- 2,0
|
|
Бавлинское
(Татарстан)
|
1,22
- 2,45
|
|
Ишимбаевское
(Башкирия)
|
2,5
- 2,95
|
|
Ставропольское
(Куйбышевская обл.)
|
2,58
|
|
Арланское
|
2,79
|
|
Бугурусланское
(Башкирия)
|
2,92
|
|
Хаудагское
(Узбекистан)
|
3,22
|
|
Уч-Кизыльское
(Узбекистан)
|
1,82
- 6,32
|
|
Полуостров
Мангышлак
|
0,2
- 0,69
|
Содержание серы в дистиллятах прямой перегонки
нефти возрастает по мере перехода от низших фракций к высшим. Меньше всего ее
находится в бензине. Более 50% всей серы остается в мазуте.
Сернистые органические соединения, за
исключением циклических, являются термически малоустойчивыми веществами,
поэтому если в процессе перегонки они разлагаются, то легкие продукты
обогащаются серой, главным образом за счет сероводорода.
Сернистые соединения являются не желательными
компонентами нефти, так как вследствие своей способности к распаду с выделением
сероводорода и элементарной серы, сильно корродирующих и разрушающих
аппаратуру, они значительно затрудняют процессы переработки. Нежелательно
наличие сернистых соединении и в готовых нефтепродуктах. Однако в этом случае
приходится учитывать в основном активные соединения серы, к которым относятся
меркаптаны, сероводород и элементарная сера. Эти вещества вредно действуют на
механизмы, в которых применяется нефтепродукт, из-за высокой коррозионной
способности рассматриваемых соединений даже при низких температурах.
Из сказанного, ни в коем случае нельзя сделать
вывод, что в случае очищенных нефтепродуктов вредны только активные сернистые
соединения.
Сернистые соединения с нейтральной функцией и
здесь играют отрицательную роль, так как во многих случаях нефтепродукты
применяют при высокой температуре, вызывающей образование активных соединений
серы, в результате распада неактивных соединений или сжигают; при этом при
наличии воды, наряду с прочими продуктами сгорания образуется сернистый
ангидрид, сильно корродирующий металлические поверхности.
.3.1 НЕГАТИВНОЕ ВЛИЯНИЕ СЕРЫ И ЕЕ СОЕДИНЕНИЙ
В нефтепродуктах присутствуют
коррозионно-активные вещества - органические кислоты, меркаптаны, сера и
сероводород, перешедшие из нефти и образовавшиеся при переработке. Органические
кислоты образуются также при хранении нефтепродуктов в результате процессов
окисления. Сульфиды, дисульфиды, полисульфиды, тиофены, а также другие более
сложные сераорганические соединения без связей S-Н пассивны к основным конструкционным
материалам, однако они при хранении могут окисляться с образованием
сульфоокисей, сульфонов, сульфиновых и сульфоновых кислот, а иногда серной,
сернистой кислот и сероводорода, которые чрезвычайно коррозионно-активны. Среди
азотистых опасны в коррозионном отношении лишь соединения основного характера,
и то только к алюминию и его сплавам. Коррозионное действие гетероорганических
соединений значительно усиливается в присутствии воды
1.3.2 Механизм
коррозионных процессов
Причиной коррозии является термодинамическая
неустойчивость металла во внешней среде. Интенсивность и возможность коррозии
определяются знаком и величиной изобарно-изотерми-ческого потенциала Гиббса при
образовании продуктов коррозии из исходных веществ. Протекание коррозии сопровождается
уменьшением энергии Гиббса (-ΔG).
Если это условие не соблюдается, то коррозия отсутствует. Большинство металлов
образуют термодинамически устойчивые продукты коррозии при воздействии
нефтепродуктов, кислорода и воды и таким образом подвергаются коррозии.
Механизм и кинетика процессов коррозии зависят от природы среды, внешних
условий, качества металлов. По механизму различают химическую и
электрохимическую коррозию; по условиям - газовую, грунтовую, структурную,
контактную, щелевую, био- и электрокоррозию, а также коррозию в неэлектролитах
(нефтепродуктах), внешним током, под механическим напряжением, при трении и
коррозионную кавитацию. По характеру разрушения коррозия бывает общая, или
сплошная (равномерная, неравномерная, избирательная), и местная (пятнами,
язвами, точечная, сквозная, подповерхностная, межкристаллитная и коррозионное
растрескивание) [7].
1.3.3 Химическая
коррозия
Химическая коррозия - это самопроизвольное
разрушение металлов при взаимодействии с внешней средой. Химическая коррозия
подчиняется основным законам химической кинетики гетерогенных реакций и не
сопровождается электрическим током. Этот тип коррозии наблюдается при действии
на металлы сухих газов и жидких не электролитов, т. е. в нашем случае при
контакте сухих топлив, масел и газовой среды. Характерной особенностью
химической коррозии (в отличие от электрохимической) является то
обстоятельство, что продукты коррозии образуются непосредственно на участках
поверхности, вступающих в реакцию. Дальнейший рост пленки зависит от
возможности проникновения нефтепродуктов через эту защитную пленку. Переход
нерастворимых продуктов коррозии в нефтепродукты определяется
физико-химическими свойствами верхних слоев отложений [8].
Процесс коррозии зависит от прочности и
целостности пленки на поверхности металла. Условие целостности, впервые
сформулированное Пиллингом и Бедвортсом, заключается в том, что объем окисла,
образующегося из металла и коррозионной среды, должен быть больше исходного
объема металла. Отсюда следуют три случая.
. Объем продуктов коррозии меньше объема
исходного металла, и пленка получается рыхлой, со слабыми защитными свойствами.
В этом случае уравнение роста толщины h пленки со временем
h=k1τ
. Объем продуктов коррозии больше объема
исходного металла. В этом случае получается пленка с хорошими защитными
свойствами и рост пленки подчиняется параболическому закону:
h2=k2τ
. Возможно образование комбинированной пленки,
когда
около поверхности металла образуется сплошной слой, покрытый
пористым, не сплошным слоем продуктов коррозии.
Иногда химическая коррозия протекает медленнее,
чем это должно следовать из диффузионного механизма торможения, описываемого
параболической зависимостью [9]. Для некоторых металлов установлена
логарифмическая зависимость окисления, которая в простейшем случае (исключая
начальный период роста пленки) описывается так:
h=ln(k1τ)
или dx/dτ=ke-x
Скорость окисления в этом случае пропорциональна
степенной функции от h;
это указывает на гораздо большее торможение скорости химической коррозии с
увеличением толщины, чем это следует из параболической зависимости. Продукты
коррозии металлов органическими кислотами под воздействием двуокиси углерода из
воздуха частично превращаются в карбонаты с выделением свободных органических
кислот, что ведет к дальнейшей коррозии металлов. Нерастворимые соли отлагаются
на стенках резервуаров или остаются во взвешенном состоянии. При подаче в
двигатель топлива, содержащего продукты коррозии во взвешенном состоянии,
происходит быстрая забивка фильтров, жиклеров в карбюраторах или форсунок в
дизелях и реактивных двигателях [7].
Логарифмический закон скорости химической
коррозии экспериментально установлен для алюминия, цинка, никеля, железа в
среде сухого топлива (рис. 1).
Рис.1. Кинетика роста окисных пленок на металлах
в среде сухого топлива ТС-1
Каталитическое ускорение окисления
нефтепродуктов металлами приводит к образованию веществ, которые в свою очередь
взаимодействуют с металлами. Так, сплав МА-5 корродирует под воздействием
органических кислот значительно сильнее, чем сталь 20. Однако при испытании
коррозионного действия гидрированного топлива на эти металлы оказалось, что
сталь 20 корродировала сильнее сплава МА-5. Это объясняется тем, что в топливе
Т-7, хранившемся в контакте со сплавом МА-5, кислотность за время хранения не
изменилась, а после хранения в контакте со сталью, вследствие каталитического
действия стали на процесс окисления, кислотность за 6 мес. возросла с 0,5 до
14,5 мг КОН/100 мл топлива. Нефтепродукты термического крекинга легче
окисляются при хранении, поэтому они являются более коррозионно-активными по
сравнению с продуктами прямой перегонки. В результате в присутствии
крекинг-топлива довольно значительно корродируют медь, цинк и углеродистые
стали (табл. 2)
Разнообразно влияние сернистых соединений на
коррозионную активность нефтепродуктов. При увеличении в топливах содержания
серы коррозия металлов при длительном хранении значительно возрастает. Влияние
элементарной серы на коррозионную активность топлива велико. Типичный состав
отложений, образующихся при контакте сернистого топлива со сталью 20: меркаптид
железа 32%, сульфид железа 10%, гидраты окислов железа 10%, соли железа 32%,
остальные продукты коррозии и вода.
Таблица 2. Влияние непредельных углеводородов в
дизельном топливе на коррозию
|
Содержание
непредельных углеводородов в дизельном топливе, %
|
Коррозия
стали, г/м2
|
|
0
|
0,6
|
|
15
|
1,8
|
|
28
|
2,6
|
|
37
|
3,2
|
|
59
|
3,9
|
|
70
|
4,5
|
|
92
|
5,2
|
Таблица 3. Коррозия (г/м2) металлов топливом ДС
при хранении
|
Содержание
серы в топливе %
|
Время
хранения мес.
|
Сталь
марки СТ3
|
Сталь
10
|
Медь
|
Свинцовая
бронза
|
|
0,18
|
42
|
1,54
|
1,70
|
1,85
|
5,80
|
|
0,9
|
42
|
2,89
|
3,8
|
2,59
|
20,80
|
|
1,25
|
24
|
4,00
|
3,11
|
4,24
|
21,23
|
Коррозионная активность меркаптанов определяется
их строением. Алифатические меркаптаны по отношению к меди значительно
агрессивнее ароматических [10]. Это объясняется большей способностью
ароматических меркаптанов образовывать отложения на поверхности металлов. При
значительном содержании сероводорода (например: в сырой нефти) процессы
коррозии развиваются очень интенсивно. Растворенный в воде сероводород в
присутствии кислорода образует серную кислоту и сульфиды железа.
2Fe+H2S+O2 → 2FeS+H2O
Fe+11H2+O2 → 4Fe2S3
При быстром окислении пирофорных сульфидов
железа возможно самовозгорание их и воспламенение паров нефтепродуктов.
FeS+3O2
→ 2Fe2O3+4S
Довольно велика интенсивность сероводородной
коррозии в газовом пространстве резервуаров. Их стенки, периодически
обнажающиеся при понижении уровня, корродируют в меньшей степени. Особенно интенсивно
протекает коррозия при большой влажности воздуха. Сульфиды и сульфаты железа,
отрывающиеся от крыши и верхних поясов резервуара, падают на дно в подтоварной
воде, вызывают сильную коррозию. Сульфиды железа электроотрицательны по
отношению к стали, поэтому возникает электрохимическая коррозия, настолько
интенсивная, что днища могут выходить из строя через 3 - 6 мес. В исходных
нефтепродуктах процессы коррозии конструкционных материалов (металл
двухвалентен) описываются следующим образом:
Me + S → MeS+ Me →
(RS)2Me + H2↑+ H2O → RS- + H+ + H2O+ Me2+ → (RS)2MeS + H2O →
HS-+ H+ + H2O- + Me2+ → MeSS + Me → MeS + H2
При хранении сернистые соединения окисляются с
образованием RSO2H, RSO3H,
H2SO4, H2SO3,
RSO2OR,
ROSO2OR,
способных энергично разрушать металлы:
RSO2H + H2O → RSO2 + H2O+ Н+-
+ Me+ ® (RSO)2Me2H + Н2O
→ RSO3- + H+ + Н2O+
Ме
→ (RSO3)2MeSO3 + H2O+ Me → MeSO3∙n2H2OSO4 + Н2O
+ Me → MeSO4∙nH2OOR + H2O → RSO2OH + HOR3H
+ H2O
+ Me →
(RSO3)2Me
Продукты коррозии постепенно накапливаются на
стенках резервуаров, оседают на дно и откладываются в трубопроводах и насосах,
фильтрующих установках. В присутствии в нефтепродуктах воды скорость коррозии
существенно увеличивается [11].
.4 ОПРЕДЕЛЕНИЕ СЕРЫ В НЕФТЕПРОДУКТАХ
Органические соединения серы являются природным
компонентом сырой нефти. При термическом воздействии в процессе переработки
нефти сера и ее соединения попадают в нефтепродукты в различных концентрациях.
Основные формы присутствия серосодержащих
соединений в нефтепродуктах следующие:
сероводород H2S, образующийся при термическом
разложении серосодержащих соединений;
. элементарная сера, продукт окисления
сероводорода;
. меркаптаны R-SH;
. сульфиды или тиоэфиры R-S-R;
. дисульфиды и политиоэфиры R-S...S-R;
. тиофен C4H4S и его производные;
. тиофан или тетрагидротиофен C4H8S и его
производные;
. бициклические и полициклические
серосодержащие соединения;
. кислые и средние эфиры серной кислоты и
сульфокислоты, образующиеся в процессе очистки нефтяных дистиллятов.
Присутствие этих соединений нежелательно, т.к.
они придают нефтепродуктам неприятный запах, вызывают коррозию оборудования и
загрязняют атмосферу при сгорании. Соединения серы отравляют дорогостоящие
катализаторы переработки нефти и, выделяя в атмосферу оксиды серы при сгорании,
создают экологические проблемы [4].
Выброс в атмосферу соединений серы, образующихся
при сгорании нефтепродуктов, является предметом экологического контроля во всех
развитых странах.
Нормы предельной токсичности отработавших газов,
принятые в Европе, базируются на Директивах R15 ЕЭК и 70/220 ЕЭС, а также
последующих дополнениях к этим документам. В соответствии со стандартами Евро
3/Евро 4 (Директива 98/69 ЕС, дополнения 2002/80 ЕС) максимальное содержание
серы, как в бензине, так и в дизельном топливе, должно составлять 10 мг/кг в
2005-2011 годах (табл. 5). В США Агентством по Защите Окружающей Среды
(Environmental Protection Agency, EPA) также приняты жесткие нормы,
ограничивающие содержание серы в топливе (табл. 4). К 2008 году оно должно быть
снижено до 10 мг/кг в бензине и 5 мг/кг в дизельном топливе .
Таблица 4. Нормы содержания общей серы в бензине
и дизтопливе в странах Евросоюза, мг/кг
|
Норма
|
Евро
2 (2000-2001)
|
Евро
3 (2002-2005)
|
Евро
4 (2005-2011)
|
|
Бензин
|
150
|
50
|
10
|
|
Дизтопливо
|
350
|
50
|
10
|
Таблица 5. Нормы содержания общей серы в бензине
и дизтопливе в США (в скобках - для штата Калифорния), мг/кг
|
Год
|
2000
|
2003
|
2004
|
2005
|
2006-2007
|
2008-2010
|
|
Бензин
|
250
(30)
|
<150
(15)
|
120
|
90
|
30
|
<5
(<5)
|
|
Дизтопливо
|
450
(500)
|
250
(50)
|
150
|
30
|
15
|
<10
(<5)
|
Разработано множество методов определения серы,
от классически химических, например, сжигание в бомбе или лампе с последующим
титриметрическим или гравиметрическим окончанием, до современных
инструментальных, включая ультрафиолетовую и рентгеновскую флуоресценцию [12].
Выбор подходящего метода для решения
аналитической задачи зависит от природы и состава анализируемого объекта,
требуемого диапазона концентраций, точности, а также бюджетных возможностей
лаборатории.
Целью настоящего обзора является представление
целостной картины существующих лабораторных методов определения серы,
сравнительное рассмотрение их возможностей, ограничений и применимости для
анализа объектов различной природы.
В таблице 6 перечислены стандартные методы
определения серы, утвержденные ASTM (Американским Обществом по Испытанию
Материалов) и их методологические аналоги в других стандартах. Добавлены также
методы фирмы UOP (Universal Oil Products), которые в настоящее время широко
применяются наряду с национальными стандартами. В их числе метод восстановления
на никеле Ренея, не имеющий аналогов ASTM, IP, ISO, но имеющий российский
аналог ГОСТ. Методы, не являющиеся официально утвержденными стандартами, не
рассматриваются.
Рассматриваемые методы относятся к
количественному определению суммарного содержания соединений серы (общей серы)
в нефти, углеводородных жидкостях, топливах и смазках. Методы определения
индивидуальных серосодержащих соединений (в том числе сероводорода и
меркаптановой серы), в настоящем обзоре не рассматриваются. Методы определения
серы в газах (ASTM D2784, D3246, D6313, D6667) подробно не описываются, но
указывается их соответствие аналогичным методам анализа жидкостей.
Наибольшее внимание уделено методам определения
низких содержаний серы, что особенно актуально для анализа топлива по нормам Евро-3,
Евро-4.
Таблица 6. Стандартные методы определения общей
серы
|
Метод*
|
ASTM
|
IP
|
EN
ISO
|
ISO
|
UOP
|
ГОСТ
|
|
Бомбовый
метод
|
D129
|
61
|
-
|
-
|
-
|
3877
|
|
Ламповый
метод
|
D1266
|
2,107
|
|
|
-
|
Р51859,
19121
|
|
Сжигание
в кислородно-водородной горелке
|
-
|
243
|
24260
|
4260
|
586
|
-
|
|
Сжигание
в кварцевой трубке
|
D1551
|
63
|
-
|
-
|
-
|
1437
|
|
Высокотемпературный
метод
|
D1552
|
-
|
-
|
-
|
864
|
|
|
Волнодисперсионный
рентгенофлуоресцентный анализ (ВД РФА)
|
D2622
D6334
|
497,
447
|
14596,
20884
|
14596,
20884
|
-
|
Р
526602006
|
|
Окислительная
микрокулонометрия
|
D3120,
D3961
|
373
|
-
|
16591
|
727,
731
|
-
|
|
Восстановление
в водороде и ратеометрическая колориметрия
|
D4045
D6212
|
-
|
-
|
-
|
-
|
-
|
|
Энергодисперсионный
рентгенофлуоресцентный анализ (ЭД РФА)
|
D4294
D6445
|
336,
496
|
20847,
8754
|
8754,
20847
|
836
|
Р
50442, P51947
|
|
Волнодисперсионный
рентгенофлуоресцентный анализ (ВД РФА), определение присадок
|
D
4927 D 6443
|
407
|
-
|
-
|
842
|
-
|
|
АЭС
-ИСП, определение присадок
|
-
__
|
-
__
|
-
__
|
-
__
|
-
__
|
|
Окислительный
пиролиз и УФ флуоресценция
|
D5453
|
490
|
20846
|
20846
|
-
|
РЕН
ИСО 20846-2006
|
|
Окислительное
сжигание и электрохимическое (амперометрическое) детектирование
|
D6920
|
-
|
-
|
-
|
-
|
-
|
|
Волнодисперсионный
рентгенофлуоресцентный анализ с использованием монохроматического излучения
(МВД РФА)
|
D7039
|
|
|
|
|
|
|
Энергодисперсионный
рентгенофлуоресцентный анализ с использованием низкофонового
пропорционального счетчика
|
D7212
|
531
|
|
|
|
|
|
Рентгенофлуоресцентный
анализ с использованием поляризованного излучения
|
D7220
|
532
|
-
|
-
|
-
|
-
|
|
Восстановление
на никеле Ренея
|
|
|
-
|
-
|
357
|
13380
|
* ASTM=American Standard methods for Testing
Materials - Американские Стандартные методы Испытания Материалов (США); IP =
Institute of Petroleum - Институт Нефти, новое название Энергетический Институт
(Energy Institute, EI) (Великобритания; ISO = International Organization for
Standards - Международная Организация по Стандартизации (Женева, Швейцария), EN
= Europaische Norm - Стандарты Западной Европы, находятся в юрисдикции
Европейского Комитета по Стандартизации CEN (Comite Europeen de Normalisation),
Брюссель. Стандарты, разработанные ISO и принятые CEN, обычно обозначаются EN
ISO [13].
Все эти методы можно условно разделить на 3
группы:
) Методы, основанные на окислении серы и
последующем определении оксидов: ASTM D129, D1266, D1551, D1552, D3120, D5453,
D6920 и их аналоги.
) Методы, основанные на восстановлении серы до
H2S: ASTM D4045, UOP 357, ГОСТ 13380.
) Спектральные методы:
а) основанные на рентгеновском излучении: ASTM
D2622, D4294, D6334, D6443, D6445, D7039, D7212, D7220 и их аналоги;
б) атомно-эмиссионные: ASTM D4951, D5185.
В табл. 7 приведено сравнение методов
определения серы ASTM, EN ISO, IP, UOP, ГОСТ в отношении диапазонов
определяемых концентраций, точности определения и возможных ограничений.
Методы, помещенные в одну ячейку, являются аутентичными, т.е. приняты в
качестве совместных в разных стандартах. Цифра после номера метода, отделенная
от номера дефисом, наклонной чертой, дефисом двоеточием или скобками, указывает
на год утверждения метода.
Таблица 7. Сравнительные характеристики методов
|
Метод
|
Обозначение
|
Область
применения, диапазон
|
Ограничения,
мешающие влияния
|
Повторяемость**,
[значение]/[концентрация]
|
Воспроизводимость**,
[значение]/[кон- центрация
|
|
Окислительные
методы
|
|
Сжигание
в бомбе
|
ASTM
D129- 00(2005) - IP 61
|
Продукты,
которые не сгорают полностью в лампе: смазочные масла, присадки,
консистентные смазки; >0,1% серы.
|
Мешают
элементы, образующие нерастворимые сульфаты: Fe,
Al, Ca,
Si, Pb,
а также MoS и другие
нерастворимые в кислотах вещества.
|
0.04/(0,1-0,5)%
|
0,05/(0,1-0,5)%
|
|
ГОСТ
3877
|
|
|
|
Нет
данных
|
|
Сжигание
в лампе
|
ASTM D1266-
98(2003) - IP 107 -
ГОСТ Р 518592002
|
Бензин,
керосин, нафта; 0,01... 0,4%. От 5 мг/кг с турбидиметрическим окончанием
|
Длительность,
трудоемкость. Мешают кислотообразующие соединения.
|
0,005%,
0,6/5 мг/кг с турбидиметрическим окончанием
|
0,01/0,01%0,7/5
мг/кг с нефелометрическ им окончанием
|
|
ГОСТ
19121
|
Жидкие
нефтепродукты, полностью сгорающие в лампе. > 0,01% серы
|
Длительность,
трудоемкость.
|
0,004/0,01%
|
0,035/0,01%
|
|
Сжигание
в кислородно- водородной горелке
|
EN ISO 24260: 1994 - IP
243/94
|
Нефтепродукты,
природный газ и олефины, 1,10000 г/кг. Нефтяные дистилляты, <300 мг/кг
|
Очень
высокая трудоемкость. Используемые газы должны быть очищены от серы. Мешают F,
P, катионы
|
0,3/1
мг/кг,
|
0,6/1
мг/кг
|
|
Сжигание
в кварцевой трубке
|
ASTM D1551- 68(1973)*
|
Нефтепродукты
с добавками, содержащими хлор. 0,1-5,0% (масс.)
|
Мешают
фосфор и металлорганические соединения
|
0,07%/(до
0,5%),
|
0,09%/(до
0,9%),
|
|
ГОСТ
1437-75
|
Не
менее 0,1%
|
Мешают
металлы, фосфор, хлор
|
0,05%/(0,1-1%)
|
0,20%/(0,1-1%)
|
|
Окислительное
сжигание и электрохимическое детектирование
|
ASTM D6920-03
|
Нафта,
дистилляты, моторные топлива: бензин, газойль, дизельное топливо,
биодизельное топливо. 1,100 мг/кг
|
Влага,
образующаяся на стадии сгорания, если ее не удаляют. Эквивалентные количества
азота
|
0,8/3
мг/кг для бензинов 0,3/1 мг/кг для дизельного топлива
|
3,8/3
мг/кг для бензинов 2,0/1 мг/кг для дизельного топлива
|
|
Сжигание
в кислороде с послед. титрованием иодатом или инфракрасным детектированием
|
ASTM D1552-03
|
Образцы,
выкипающие выше 177oC
и содержащие >0,06% серы
|
>1%
Cl и >1% N при
иодатном детектировании. Затруднен анализ летучих образцов.
|
0,05%/(до
0,5%), 0,24%/(4...5%)
|
0,08%/(до
0,5%), 0,54%/(4...5%)
|
|
УФ
флуоресценция
|
ASTM D5453-05
|
Жидкие
углеводороды в диапазоне температур кипения от 25 до 400оС и вязкостью от 0.2
до 20 сСт. 1,0-8000 мг/кг
|
Галогены
<3500 мг/кг
|
0,2
мг/кг/ (1 мг/кг)
|
0,6
мг/кг/ (1 мг/кг)
|
|
EN ISO
20846:2004 - IP
490/05 - ГОСТ Р ЕН ИСО 20846
|
Бензины
с содержанием кислорода до 2,7% и дизельные топлива с содержанием до 5%
метиловых эфиров жирных кислот. 3,500 мг/кг
|
|
1,0/10
мг/кг для бензинов: 1,1/10 мг/кг для дизельного топлива
|
2,7/10
мг/кг для бензинов: 2,2/10 мг/кг для дизельного топлива
|
|
Восстановительные
методы
|
|
Восстановление
в водороде и радиометрическая колориметрия
|
ASTM D4045-04
|
Нафта,
керосин, спирт, паровой конденсат, различные дистилляты, реактивное топливо,
бензол, толуол. 0,02-10 ppm
|
Проблемы
при анализе высококипящих фракций (образование сажи)
|
0,02/0,02
мг/кг; 0,5/10 мг/кг
|
0,04/0,02
мг/кг; 0,82/10
мг/кг
|
|
ASTM D6212-99
|
Ароматические
углеводороды и их производные; 0,020-10 мг/кг
|
|
0,02/1
мг/кг, 1,6/100
мг/кг
|
Нет
данных
|
|
Восстановление
на никеле Ренея
|
UOP 357-80
|
Нефтяные
дистилляты: прямогонный бензин, гидрогенизат, реформат, ароматические углеводороды
0,1-200 мг/кг
|
Отсутствие
сероводорода в образце. Не применим к пробам, содержащим более 2% олефинов.
Невозможность определения окисленных форм серы
|
0,3/1
мг/кг; 6/250 мг/кг
|
Нет
данных
|
|
ГОСТ
13380-81
|
Нефтепродукты
с бромным числом не более 10, не содержащие смолистых веществ; 0,2-250 мг/кг.
Определяется сера, входящая в состав сероводорода, меркаптанов, сульфидов,
дисульфидов, тиофена и его производных, элементарная сера
|
Ограничение
по содержанию олефинов в пробе (бромное число не более 10)
|
0,09/0,2
мг/кг; 0,1/1,0
мг/кг
|
0,12/0,2
мг/кг; 0,2/1,0
мг/кг
|
|
Рентгеновские
методы
|
|
Энергодисперсионный
рентгенофлуоресцентный анализ (ЭД РФА)
|
ASTM D4294-03
|
Углеводороды,
не содержащие свинца: дизтопливо, нафта, керосин. Бензин, масла, нефть.
|
Элементы,
атомы которых излучают в том же спектральном диапазоне, что и атомы
|
0,005%
0,015%, 0,15%/5,00%.
Не распространяется на кислород-
|
0,009%/0,015%0.,61%/5,00%.
Не распространяется
|
|
ГОСТ
Р 519472002
|
0,015-5,00
%
|
серы:
свинец, кремний, фосфор, кальций, калий, галиды. Матричный эффект.
|
содержащие
образцы
|
на
кислород содержащие образцы
|
|
ASTM D6445- 99(04)
|
Неэтилированный
бензин и бензин-оксигенатные смеси. 48,1000 мг/кг.
|
Не
оговорены
|
19/50
мг/кг; 20/100 мг/кг.
|
55/50
мг/кг; 58/100 мг/кг.
|
|
ISO 8754:2003- IP
336/04
|
Углеводороды,
такие как нафта, дистилляты, печное топливо, тяжелые остатки, база смазочных
масел, неэтилированный бензин; 0,03-5 масс.%.
|
Мешают
добавки, содержащие тяжелые металлы. Кремний, фосфор, кальций, калий и галиды
мешают в присутствии нескольких сотен мг/кг.
|
0,004%
0,03%
|
0,014%
0,03%
|
|
EN ISO20847:2004 -
IP 496/05
|
Бензины,
в том числе содержащие до 2,7% кислорода, дизельное топливо, в том числе
содержащие до 5% метиловых эфиров жирных кислот, другие нефтепродукты. 30,500мг/кг.
|
Не
применим к этилированным бензинам и бензинам, содержащими от 8 до 20 мг/кг
калия, другим продуктам с добавками, содержащими свинец, кремний, фосфор,
кальций, калий или галиды в концентрациях >10X.
|
9,9/30
мг/кг для бензинов 8,6/30 мг/кг для дизельного топлива
|
14,3/30
мг/кг для бензинов 12,5/30 мг/кг для дизельного топлива
|
|
ГОСТ
Р 50442-92
|
Нефть
и нефтепродукты. 0,05-5,0%
|
Не
распространяется на продукты, содержащие кремний, фосфор, кальций, калий и
галиды более 0.1%, а также на этилированные бензины.
|
0,02/0,05%
|
0,027/0,05%
|
|
Энергодисперсионный
рентгенофлуоресцентный анализ с использованием низкофонового
пропорционального счетчика
|
ASTM D7212-06
|
Автомобильное
топливо,7,50 мг/кг
|
Спектральные
помехи от свинца, кремния, фосфора, кальция, калия, галидов >10 мг/кг.
Присутствие оксигенатов и воды влияет на чувствительность.
|
2,0/8
мг/кг
|
4,6/8
мг/кг
|
|
IP 531/05
|
Автомобильное
топливо, 2,50 мг/кг
|
Не
применим к топливу, содержащему от 8 до 20 мг/кг калия, к продуктам,
содержащим алкилаты свинца, кремний, фосфор, кальций или галиды в
концентрациях, превышающих в 10 раз концентрацию серы, или 10 мг/кг. На
чувствительность влияют оксигенаты и вода.
|
<
2,0 мг/кг
|
<
5,0 мг/кг
|
|
Рентгенофлуоресцентныйанализ
с использованиемполяризованного излучения
|
IP 532/05
|
Автомобильное
топливо: неэтилированный бензин, дизельное топливо и другие дистилляты. 2,50
мг/кг
|
Матрицы
пробы и калибровочных образцов должны быть близки по составу.
|
1,8/10
мг/кг; 2,8/50
мг/кг.
|
3,7/10
мг/кг; 5,5/50
мг/кг.
|
|
|
|
|
1,9/10
мг/кг; 2,9/50
мг/кг.
|
3,7/10
мг/кг; 5,6/50
мг/кг.
|
|
Волнодисперсионный
рентгенофлуоресцентный анализ (ВД РФА)
|
ASTM
D2622-05
|
Гомогенные
(однофазные) жидкие нефть и нефтепродукты: дизельное топливо, авиационное
топливо, керосин, другое дистиллятное топливо, нафта, остаточные масла,
базовые смазочные масла, гидравлические масла, неэтилированный бензин,
метанолсодержащее топливо М-85 и М-100. От 15 мг/кг до 5,3 масс.%.
|
Оказывает
влияние различие C/H отношения между пробами и калибровочными образцами.
Мешают фосфор, цинк, барий, свинец, кальций, хлор в оговоренных
концентрациях, этанол
|
3,5/3
мг/кг; 3,6/24 мг/кг
|
5/3
мг/кг; 7/24 мг/кг
|
|
ASTM
D6334- 98(2003)
|
Бензин
и бензин- оксигенатные смеси. 15.940 мг/кг.
|
Матричный
состав калибровочных растворов должен быть близок к матричному составу проб.
|
4,5/15
мг/кг; 41,5/940
мг/кг
|
8,2/15
мг/кг; 117,6/940
мг/кг
|
|
EN
ISO 20884: 2004-IP 497/05
|
Жидкое
гомогенное автомобильное топливо. 5,500 мг/кг.
|
Максимальное
содержание кислорода 2,7%. Мешают вода и мехпримеси.
|
1,8/5
мг/кг
|
2,5/5
мг/кг
|
|
ГОСТ
Р 52660- 2006
|
|
|
|
|
|
EN
ISO 14596:20 05 - IP 447/99
|
Жидкие
нефтепродукты, добавки к нефтепродуктам, полутвердые нефтепродукты,
разжижаемые при нагревании или растворимые в органических растворителях,
0,001-2,50 масс.%
|
Мешающее
влияние фосфора (концентрации не определены) и молибдена 50,100 мг/кг
|
3/(10,29)
мг/кг
|
5/(10,29)
мг/к
|
|
Волнодисперсионный
рентгенофлуоресцентный анализ (ВД РФА), определение присадок
|
ASTM
D4927-05
|
Смазочные
масла. 0,1-4,0 масс.% в присутствии Ba, Ca, P, Zn
|
Взаимное
влияние элементов при совместном присутствии. Учитывается с помощью метода
внутреннего стандарта или математической коррекции
|
0,004/0,1
мг/кг для метода внутреннего стандарта. 0,005/0,1 мг/кг для метода
математической коррекции
|
0,02/0,1
мг/кг
|
|
ASTM
D6443-04
|
Неиспользованные
смазочные масла. 0,03-5,0 масс.% в присутствии Ca, Cl, Cu, Mg, P, Zn
|
Мешают
Pb и Mo в значительных количествах
|
0,001/0,03
масс.%
|
0,007/0,03
масс.%
|
|
Волнодисперсионный
рентгенофлуоресцентный анализ с использованием монохроматического излучения
(МВД РФА)
|
ASTM
D7039-05
|
Бензин,
дизельное топливо, исходные продукты нефтепереработки для их приготовления;
2,500 мг/кг
|
Нет
данных
|
0,8/2
мг/кг
|
Нет
данных
|
|
Атомно-эмиссионные
методы
|
|
еАЭС-ИСП,
определние присадок
|
ASTM
D4951-06
|
Неиспользованные
масла и пакеты присадок. 0,3-3,2 масс.% в присутствии Ba, B, Ca, Mg, P, Zn
|
Мешают
присадки- улучшители индекса вязкости
|
0,016/0,3
мг/кг
|
0,061/0,3
мг/кг
|
|
ASTM
D5185-05
|
Элементы
присадок, металлы износа и загрязнения в смазочных маслах. 900,6000 мг/кг в
присутствии Al, Ba, B, Ca, Cu, Cr, Fe, Pb, Mg, Mo, Ni, P, Si, Ag, Na, Sn, Ti,
V, Zn
|
Спектральные
помехи. Устраняются методом математической коррекции
|
121/600
мг/кг
|
145/600
мг/кг
|
|
|
|
|
|
|
|
|
* Метод, прекративший действие.
** Используются данные по точности, приведенные
в методах. Если эти данные представлены в виде формул, то для удобства
сравнения они пересчитаны для нижней границы диапазона и для некоторых других
значений. Здесь и далее термины «точность» и «прецизионность» используются на
равноправных началах в соответствии с ГОСТ Р 8.580-2003 (ИСО 4259-92).
1.4.1 Методы,
основанные на окислении серы и последующем определением оксидов
Бомбовый метод. Самый «старший» метод ASTM
для определения серы в нефтепродуктах. Впервые введен в 1922 году.
Навеску испытуемого продукта сжигают в
калориметрической бомбе, заполненной сжатым кислородом. Получающуюся при
сгорании двуокись серы поглощают предварительно залитой в бомбу щелочью,
окисляют образовавшиеся сульфиты до сульфатов и затем определяют серу
гравиметрически осаждением хлористым барием в виде BaSO4.
Метод предназначен для анализа продуктов, которые не сгорают полностью в лампе:
смазочных масел с присадками, присадок, консистентных смазок. Применим к
продуктам с низкой летучестью, которые можно точно взвесить в открытом тигле. Применение
метода к легким нефтепродуктам затруднено, т. к. точно взвесить их можно только
в закрытом сосуде, например, в желатиновой капсуле, которая сама содержит серу.
Поправка на серу капсулы обычно велика и может составлять 2/3 определяемого
количества, что вносит большую погрешность в измерение [14].
Метод не применим к объектам, содержащим
элементы, образующие при сгорании нерастворимые сульфаты, которые могут мешать
на стадии осаждения. Этими элементами могут быть железо, алюминий, кальций,
кремний и свинец, которые часто входят в состав добавок к смазкам и маслам.
Мешают также нерастворимые материалы: сульфид молибдена, асбест, слюда и т.п.
Метод не применим к отработанным маслам, содержащим металлы износа.
Нижний предел определяемых содержаний 0,1% серы.
Поскольку максимальная навеска испытуемого образца не может быть больше 1 г (по
ГОСТ 3877 не больше 0,8 г), при малом содержании серы могут быть значительные
ошибки.
На рис.2. показана калориметрическая бомба
модели 1108 фирмы Parr,
США, пригодная для выполнения метода ASTM
D129. Кроме бомбы
для осуществления метода требуется запальная проволока, запальное устройство,
тигли для сжигания, токоведущие провода, система заполнения бомбы кислородом
[15].
Ламповый метод. Образец сжигают в замкнутой
системе, используя лампу с хлопчатобумажным фитилем, в искусственной атмосфере
30% кислорода и 70% углекислого газа для предотвращения образования окислов
азота, которые вносят положительную погрешность в определение с
титриметрическим окончанием.
Образовавшуюся двуокись серы поглощают и
окисляют до серной кислоты обработкой перекисью водорода. Раствор продувают
воздухом для удаления растворенной двуокиси углерода. Серу определяют в виде
сульфата титрованием гидроокисью натрия, либо гравиметрически осаждением в виде
BaSO4.
Допускается сжигание образца в воздухе, но при
этом окончание метода должно быть гравиметрическим, т.е. более трудоемким
(Дополнение A2 к ASTM
D1266).
Время сжигания испытуемого продукта в ASTM
D1266 не
оговаривается. Необходимыми требованиями являются горение образца без
образования копоти и полное сгорание всей пробы, так как тяжелые серосодержащие
соединения концентрируются в тяжелых остатках [16].
В Дополнении A1
приводится методика определения следовых содержаний серы с турбидиметрическим
окончанием. Сульфат бария, образовавшийся после добавления раствора хлорида
бария к поглощающему раствору, определяют, измеряя оптическую плотность
суспензии с помощью фотометра при длине волны 450 нм. Предварительно строят
калибровку по серии суспензий с различной концентрацией сульфата бария.
Суспензии стабилизируют глицерином. Этот метод крайне трудоемкий, так как
включает процедуры приготовления калибровочных суспензий, упаривания
поглощающего раствора. Вся стеклянная посуда, участвующая в выполнении анализа,
требует исключительно тщательной очистки
С турбидиметрическим окончанием нижний предел
может быть снижен до 5 мг/кг (0,0005%). Повторяемость в диапазоне 5-80 мг/кг
составляет 0,116 S,
воспроизводимость 0,145 S
мг/кг.
ГОСТ Р 51859-2002 введен как аутентичный перевод
метода ASTM
D1266-98. В отличие
от оригинала, метод определения низких содержаний серы на уровне не менее 5
мг/кг назван «нефелометрическим».
Аппараты для определения серы по ASTM
D1266 - ГОСТ Р 51859
выпускают фирмы Normalab
Analis и Stanhope-Seta
(рис. 3). Аппарат фирмы Stanhope-Seta
модели 20410-0 может быть укомплектован системой для подготовки смеси кислорода
и углекислого газа модели 20460-0 [17].
Ламповый метод определения серы ГОСТ 19121
является упрощенным вариантом ASTM
D1266. В нем, во-первых,
пренебрегают образованием окислов азота при сгорании (сжигание продукта
выполняется в атмосфере естественного воздуха, а окончание метода
титриметрическое), во вторых, отсутствует методика определения следовых
содержаний серы с турбидиметрическим окончанием. Кроме этого, образовавшуюся
при сгорании двуокись серы не окисляют до сульфата, а титруют напрямую в виде
нестабильного сульфита, что может приводить к потере точности. Нижняя граница
определяемых содержаний 0,01%.
Сущность метода заключается в сжигании навески
нефтепродукта в стеклянной лампочке с фитилем и поглощении образовавшегося при
этом сернистого газа раствором углекислого натрия (кальцинированной соды):
SO2+Na2CO3 → Na2SO3+CO2
Na2SO3+O2 → 2Na2SO4
Для количественного определения серы избыток
соды оттитровывается соляной кислотой.
Метод предназначен для определения общей серы в
светлых нефтепродуктах и в маловязких маслах, которые сгорают без остатка в
лампочке прибора [18].
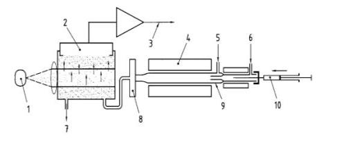
Рис. 2. Прибор для определения серы ламповым
методом: 1 - абсорбер; 2 - брызгоуловитель; 3 - ламповое стекло; 4 - лампочка;
5 - фитиль; 6 - шлифы
Сжигание в кислородно-водородной горелке
Метод также основан на полном сжигании образца.
Вместо лампы используется кислородно-водородная горелка, которая позволяет
количественно сжигать не только жидкие углеводороды, но также газы, в том числе
сжиженные. Метод крайне трудоемок, требует использования сжатых газов
(кислорода и водорода), ртути и громоздкого стеклянного оборудования. Показал
низкую точность в европейских межлабораторных испытаниях . Для анализа
углеводородных жидкостей в настоящее время практически не используется.
Соответствующий метод ASTM D2784 предназначен
только для анализа сжиженных газов.
Аппарат для сжигания по Викболду модели 20240-0
выпускает фирма Stanhope-Seta [19].
Высокотемпературный метод (ASTM D1552-03)
Метод называется высокотемпературным, так как он
использует сжигание анализируемого образца в керамической трубчатой печи при
температуре 1350 - 1482oC в потоке кислорода. Используются печи как с
индукционным, так и с резистивным нагревом.
Метод предназначен для темных нефтепродуктов,
кипящих выше 177oC и содержащих не менее 0,06% серы. Применим к смазочным
маслам с присадками и концентрированным присадкам. Можно анализировать кокс с
содержанием серы до 8%. Определению не мешают щелочные и щелочноземельные
металлы, цинк, фосфор, свинец.
Имеются две разновидности метода: с
детектированием иодатным титрованием и с ифракрасным детектированием.
При детектировании иодатным титрованием продукты
сгорания улавливаются таким же абсорбером, как и в ламповом методе и титруются
раствором иодата калия. Титрование ведется «на ходу», иодат добавляют по мере
исчезновения голубой окраски приемного раствора, полученной добавлением йода и
крахмала. Повторяемость зависит от диапазона, в диапазоне 0-0,5% она составляет
0,05%. Воспроизводимость в этом же диапазоне составляет 0,08% .
Мешающее влияние оказывают хлор в концентрации
свыше 1% и азот свыше 0,1%.
При инфракрасном детектировании окислы серы
детектируют по поглощению ими инфракрасного излучения. Влагу и механические
примеси предварительно отделяют. Этот принцип используется в широко известных
CHNS анализаторах, выпускаемых, например, фирмами LECO или ELTRA. Количество
серы определяют по предварительно выполненной калибровке с применением
калибровочных образцов, близких по матричному составу к анализируемым.
Повторяемость зависит от диапазона, в диапазоне
0-0,5% она составляет 0,04%. Воспроизводимость в этом же диапазоне 0,13%.
Азот не мешает определению. Хлор не мешает в
концентрациях до 1%.
Перед анализом систему нужно откалибровать с
помощью образца с известным содержанием серы, близкого по составу к
анализируемому [20].
Метод определения серы в нефтяных маслах (метод
кварцевой трубки, ASTM
D1551-68(1973) -
метод, изъятый из обращения
Сущность метода заключается в сжигании пробы
анализируемого продукта в кварцевой трубке при температуре 950-1000oC
с последующим поглощением продуктов сгорания и титриметрическим окончанием.
Для сжигания используют воздух, который очищают
пропусканием через растворы гидроокиси натрия и перекиси водорода.
Образец вводят в трубку в кварцевой лодочке и
медленно испаряют нагреванием газовой горелкой.
Продукты сгорания поглощаются раствором перекиси
водорода, который окисляет продукты сгорания серы до сульфатов. В
поглотительном растворе определяют общую кислотность и хлорид-ион отдельно
титрованием нитратом серебра [21].
Диапазон определяемых содержаний серы от 0,1 до
5,0%.
Метод ГОСТ 1437 «Нефтепродукты темные.
Ускоренный метод определения серы»
Его можно считать аналогом ASTM D1551 Основан на
сжигании пробы в кварцевой трубке при температуре 900 - 1200oC. Для окисления
вместо кислорода используют воздух. В качестве приемного раствора используют
смесь перекиси водорода с серной кислотой, т.е. образовавшуюся при сгорании
двуокись серы окисляют до сульфат-иона, как в методе ASTM D1551. По завершении
сжигания приемный раствор титруют гидроокисью натрия. В отличие от ASTM D1551,
хлор не определяют и поправку на него не вводят. Нижняя граница определяемых
содержаний 0,1%.
Можно анализировать темные нефтепродукты,
включая масла и остаточные нефтепродукты, а также нефть, кокс и серосодержащие
присадки.
Метод не распространяется на присадки,
содержащие металлы, фосфор и хлор, а также на масла с этими присадками.
Сжигание в кислороде с кулонометрическим
детектированием (окислительная микрокулонометрия):
Аналогичные методы: IP 373, ISO 16591
Метод позволяет определять серу в диапазоне
концентраций от 3,0 до 100 ppm в жидких углеводородах, кипящих от 26 до 274oC.
Галиды (хлор, бром, иод) не мешают в концентрациях, в 10 раз превышающих
концентрацию серы. Азот не мешает в 1000-кратных избытках. Метод не применим к
образцам, содержащим тяжелые металлы (никель, ванадий, свинец, и т.п.), в
концентрациях выше 500 ppm.
Данный метод прекратил свое действие в качестве
официального стандарта, однако продолжает использоваться некоторыми
лабораториями. Оборудование для его осуществления выпускается, в частности,
фирмой Stanhope-Seta (Великобритания) [22].
Жидкую пробу инжектируют в поток газа, состоящий
из 80% кислорода и 20% инертного газа (аргона или гелия). При сгорании сера
окисляется до диоксида, который поступает в титровальную ячейку, заполненную
электролитом (водный раствор уксусной кислоты с добавлением иодида калия и
азида натрия). Диоксид серы титруется трииодид-ионами, генерируемыми в ячейке
под действием тока.
Происходящие процессы можно описать следующими
уравнениями:
Пиролиз соединений серы:
S + O2 → SO2 + продукты сгорания
Генерирование иодида на аноде:
I- → I3- + 2e-
Реакция в
ячейке:
I3- + SO2 + H2O → SO3 + 3I- +
2H+
Поскольку один трииодид- ион реагирует с одной
молекулой SO2,
количество электричества, затраченное на генерирование трииодида, прямо
пропорционально количеству диоксида серы, поступившего в титровальную ячейку.
Таким образом, при условии 100%-ного превращения всей серы, содержащейся в
образце, в диоксид, метод является абсолютным и не требует калибровки,
измеряется только количество электричества. Однако, в условиях
сильноокислительной среды при высокой температуре, часть серы окисляется до
триоксида SO3, который
не реагирует с титрантом. Количество образовавшегося SO3
зависит от природы образца, в частности, от фракционного состава и природы
серосодержащих соединений. Поэтому для получения адекватной калибровки
рекомендуется использовать калибровочные образцы, близкие по матричному составу
к анализируемой пробе [23].
Определение серы этим методом требует особого
внимания к чистоте используемого оборудования и реактивов. Чистота используемых
газов должна быть не ниже 99,995%. Все газовые коммуникации должны быть
выполнены из тщательно очищенных трубок из нержавеющей стали.
Методом межлабораторных испытаний был определен
практический нижний предел количественного определения (Practical
Limit Of
Quantification, PLOQ)
серы в бензине 3 мг/кг и в дизельном топливе 5 мг/кг.
Метод окислительной кулонометрии ASTM
D3246 предназначен
для анализа нефтяных газов.
Рис. 3. Схема метода ASTM D3120: 1. шприц для
ввода пробы; 2. кварцевая пиролизная трубка; 3. пиролизная печь; 4. ввод
кислорода; 5. ввод газа-носителя; 6. обогреваемая газовая линия; 7.
титрационная ячейка; 8. кулонометр
Стандартный метод определения следовых количеств
серы в жидких ароматических углеводородах с помощью окислительной кулонометрии
(ASTM D3961-98)
Полностью аналогичен ASTM D3120. Отменен в 2004 г.
Метод определения общей серы в жидких
ароматических углеводородах и их производных посредством окислительного сжигания
и электрохимического детектирования (ASTM
D6428-99)
Метод D6428
находился в юрисдикции комитета D16
ASTM по ароматическим
углеводородам. Отменен в 2006 году и передан в ведение комитета ASTM
D02 по
нефтепродуктам и смазкам под обозначением D6920.
Очень близок по методологии к ASTM
D3120. Проба так же
сжигается в кислороде с образованием окислов, но вместо кулонометрической
титрационной ячейки используется электрохимический детектор. Уравнения
происходящих реакций:
R-S + O2 → CO2 + H2O + SO2 ;
SO2 + H2O + электролит 
H2SO4 + 2H+ + 2e-
Электрохимический детектор, работающий по этому
принципу является амперометрическим. Обладает очень высокой чувствительностью.
Амперометрический детектор модели NARL9101
фирмы Perkin
Elmer используется в
хроматографических анализаторах индивидуальных серосодержащих соединений Perkin
Elmer-Arnel.
Анализаторы общей серы по ASTM
D6428 с
амперометрическими детекторами выпускались фирмами APS
(ныне Analytic
Jena) и Antek.
В настоящее время не производятся.
В межлабораторных испытаниях, проведенных в США
метод ASTM
D6428 показал
наихудшие точностные характеристики. Комитет D02
ASTM предложил
исключить его из списка методов, рекомендованных для определения серы в
низкосернистых топливах, что и было сделано впоследствии [24].
Стандартный метод определения общей серы в
светлых углеводородах, топливах для двигателей внутреннего сгорания и моторных
маслах методом ультрафиолетовой флуоресценции (ASTM
D5453-06)
Метод ASTM
D5453 был впервые
утвержден в 1993 г. Наиболее универсален, разработан для анализа как топлива,
так и масел, бензин-оксигенатных смесей, этанола. Разработчиком метода и
единственным производителем оборудования для него до 2003 года была компания Antek,
США.
Стандарт ISO
EN 20846-IP490
утвержден в 2004 году применительно к автомобильному топливу, что и отражено в
его названии.
ГОСТ Р ЕН ИСО 20846:2004 введен с 1 января 2008
года. Подготовлен на основе аутентичного перевода EN
ISO 20846. Существенных
отличий от первоисточника не имеет.
В настоящее время приборы для этого метода
выпускают компании Antek,
Thermo Euroglas,
Horiba, Mitsubishi.
Схема определения показана на рис. 8.
Образец полностью сжигают в кислороде с
получением оксидов при температуре 1075±25oC.
Образец вводят либо с помощью шприца непосредственно в пиролизную трубку, либо
предварительно помещая его в кварцевую лодочку (только ASTM
D5453).
S + O2 → SO2 + продукты сгорания.
Скорость ввода жидкой пробы 1 мкл/с.
Одновременно при сжигании углеводородов
образуется двуокись углерода и вода:
CnHm + O2
→ CO2 + H2O
Образующуюся воду, в которой может растворяться
образовавшаяся двуокись серы, удаляют, пропуская газовый поток через мембранный
осушитель.
Действие мембранного осушителя основано на
диффузии молекул воды через трубчатый полимерный материал PermPure,
проницаемый для воды, но не проницаемый для газа. Продиффундировавшая вода
удаляется встречным потоком сухого газа (рис. 8). Используется либо газ с
выхода детектора, пропущенный через поглотитель влаги, либо отдельный поток
сухого газа [25].
Некоторые производители последовательно с
мембранным осушителем устанавливают сернокислотный барботер для более полного
удаления влаги.
Осушенный газ, образовавшийся после сгорания
образца, поступает в ультрафиолетовый детектор. В детекторе газовый поток
облучается ультрафиолетовым светом. Молекулы SO2 поглощают энергию
ультрафиолетового излучения и переходят в возбужденное состояние SO2 *.
+hν → SO2*
Возбужденные молекулы SO2* при обратном переходе
в стабильное состояние испускают кванты света с длиной волны, отличной от длины
волны возбуждающего света.
* → SO2 +hν
Излученная энергия регистрируется
фотоумножителем и преобразуется в электрический сигнал.
Калибровка осуществляется по образцам с известным
содержанием серы (в мкг/мл), обычно растворы дибутилсульфида или тиофена в
изооктане. Для пересчета в весовые содержания (мкг/г) необходимо учитывать
плотность анализируемых образцов.
В отличие от ASTM D3120, метод ультрафиолетовой
флуоресценции «сухой», т.е. не требует использования водных растворов,
способных активно поглощать оксиды серы. Благодаря этому приборы, реализующие
его, могут комплектоваться детектором для одновременного определения азота
хемилюменисцентным методом (ASTM D4629) из той же пробы.
При выборе метода и оборудования для решения
аналитической задачи нельзя руководствоваться только рекламой производителей и
продавцов оборудования. Основой для выбора должен служить утвержденный
стандартный метод анализа, для которого на основании большого числа данных
определены точностные характеристики.
Производители приборов в рекламных целях часто
указывают диапазон определяемых содержаний элементов «от нуля до …», приводят в
качестве нижней границы определяемых содержаний предельную сходимость результатов
на отдельно взятом приборе в идеальных условиях, умалчивают о мешающих
влияниях.
При выборе метода следует учитывать его
применимость к объектам анализа, нижнюю границу определяемых содержаний,
точность, стоимость необходимого оборудования и расходных материалов,
возможность многоэлементного анализа [26].
Рис. 4. Схема метода ультрафиолетовой
флуоресценции (по EN ISO 20846); 1. источник УФ излучения; 2. фотоумножитель;
3. выходной сигнал; 4. пиролизная печь; 5. ввод кислорода; 6. ввод инертного
газа; 7. выход газов; 8. осушитель; 9. кварцевая пиролизная трубка; 10. шприц
для ввода пробы
ВЫВОДЫ
. Изучен химический состав нефти и его
влияние на свойства нефтепродуктов. Приведена классификация нефтепродуктов.
. Рассмотрено негативное влияние серы и
ее соединений на качество нефтепродуктов.
. Рассмотрены стандартные методы
определения общей серы в нефти и продуктах ее переработки, дана их
классификация, соответствие методов, принятых в различных системах
стандартизации: ASTM, EN ISO, IP, ГОСТ.
. Кратко излагаются теоретические
принципы, лежащие в основе методов.
. Обсуждены возможности применения
методов для анализа объектов различной природы.
. Приведены результаты и выводы исследовательских
работ, выполненных в США и Европе по сопоставлению результатов, полученных
различными методами в межлабораторных испытаниях.
. Обсуждены методы, допущенные к
применению европейскими спецификациями на топлива и российскими техническими
условиями.
Особое внимание уделяется методам определения
низких содержаний серы в моторных топливах по нормам Евро 3/Евро 4.
сера коррозионный дизельный бензин
ГЛАВА II.
ПРАКТИЧЕСКАЯ ЧАСТЬ
.1. ОПРЕДЕЛЕНИЕ СОДЕРЖАНИЯ СЕРЫ В ДИЗЕЛЬНОМ
ТОПЛИВЕ
С 1 ноября 2001 г. утверждены и введены в
действие ТУ 38.401-58-296-2001 «Топливо дизельное автомобильное. Технические
условия», разработанные на базе аутентичного перевода EN-590-2000 с нормой
содержания серы не более 0,035%, для автомобилей, соответствующих требованиям Euro-3.
К 2003 - 2005 гг. намечается гармонизация отечественных стандартов на бензин и
дизельное топливо с европейскими требованиями для автомобилей уровня Euro-3.
Это означает ограничение содержания серы в бензинах до 0,015%, а в дизельном
топливе до 0,035%. Но введение подобных стандартов не будет означать
одновременный переход на новые требования: процесс продолжится не менее 5 лет.
В этот период будут одновременно действовать «старые» и «новые» требования.
Определение серы и ее соединений проводили с использованием
бомбового и лампового методов, а также методом энергодисперсионной
рентгенофлоурисцентной спектрометрии.
.2 МЕТОДИКА ОПРЕДЕЛЕНИЯ СЕРЫ В НЕФТЕПРОДУКТАХ
БОМБОВЫМ МЕТОДОМ
Аппаратура и реактивы
. эксикатор с осушающим реактивом;
. тигли фарфоровые №4 низкие;
. электрический муфель с устойчивой
температурой 800±20ºС с реостатом;
. термопара хромель-алюмель и
милливольтметр с градуировкой шкалы до 1000ºС
или оптический пирометр;
. щипцы для тиглей длиной 350 мм;
. баня для подогрева водяная;
. плитка электрическая;
. стаканы номинальной вместимостью 300 -
500мл;
. воронки стеклянные под углом 60º,
диаметром 50 - 65 мм;
. запальная проволока;
. прокладки свинцовые для крышки бомбы;
. кислород сжатый в баллоне;
. кислота соляная х.ч. концентрированная;
. барий хлористый , 10%-ый водный
раствор;
. серебро азотнокислое, 3%-ый водный
раствор;
. метилоранжевый, 0,02%-ый водный
раствор;
. вода, дистиллированная;
. фильтры, обезволенные плотные (синяя
лента), диаметром 70 - 90 мм;
. бумага фильтровальная лабораторная.
ПРОВЕДЕНИЕ ИСПЫТАНИЯ
Содержание серы определяется сжиганием топлива в
калориметрической бомбе. Установка состоит из подставки, бомбы, трубки для
подачи кислорода, манометра, устройства для подачи тока к запальной проволоке и
проводов.
В чистую, предварительно взвешенную чашечку,
наливали испытуемое топливо массой 0,6 - 0,8 г, взвешивали с относительной
погрешностью не более 0,0002 г, и устанавливали ее в калориметрическую бомбу.
Внутрь топлива погружали запальную проволоку и наливали в бомбу 20 мл
дистиллированной воды. Собрали бомбу, наполняли ее кислородом до избыточного
давления 2,5 - 2,6 МПа, проверяли ее на герметичность и устанавливали в сосуд с
водой. Подключали электроды бомбы к запальному устройству и включали ток.
Бомбу выдерживали в сосуде в течение 10 мин.,
осторожно разбирали ее и содержимое сливали в стакан объемной вместимостью 300
- 350 мл, тщательно промывали чашечку и внутреннюю поверхность бомбы горячей
дистиллированной водой. В стакан с продуктами из бомбы добавляли 2 - 3 капли
метилоранжа и соляной кислоты до появления неисчезающего розового окрашивания.
Стакан с раствором устанавливали на электрическую плитку и кипятили в течение
20 - 30 мин, доводя объем до 50 - 70 мл. В конце кипячения в кипящий раствор
осторожно доливали 10 мл 10%-ного горячего раствора хлористого бария, который в
результате реакции с серной кислотой, содержащейся в стакане, переходит в
сернокислый барий, выпадающий в осадок.
После охлаждения содержимое стакана фильтровали
через беззольный фильтр (синяя лента) и осадок на фильтре тщательно промывали
дистиллированной водой. Фильтр с осадком сернокислого бария помещали в
фарфоровый тигель, который предварительно доводили до постоянной массы с
относительной погрешностью при взвешивании не более 0,0002 г. Тигель с фильтром
переносили в муфельную печь, прокаливали в течение 25 - 30 мин при температуре
700 - 750ºС,
охлаждали в эксикаторе до комнатной температуры и взвешивали на аналитических
весах.
Зная массу сернокислого бария и массу топлива,
взятого для исследования, вычисляли массовую долю серы в топливе.
ОБРАБОТКА РЕЗУЛЬТАТОВ
Массовую долю содержания серы, S (%) в топливе
вычисляли по формуле:
где m1
- масса сернокислого бария, полученная при анализе испытуемого нефтепродукта,
г;
m2 - масса
испытуемого топлива, г.
m3- масса
сернокислого бария, полученная при проведении контрольного опыта, г;
После окончания исследований сделали заключение
о соответствии массовой доли серы исследуемого образца топлива требованиям ГОСТ
для данной марки, табл. 8 [27].
Таблица 8. Содержание серы в дизельном топливе
разных марок (n=5, P=0,95)
|
Показатель
|
ТУ
38.401-58-170-96
|
ТУ
38.1011348-99
|
ТУ
38.401-58-296-2001
|
|
Массовая
доля серы, %
|
0,048
± 0,002 (Sr = 0,03)
|
0,032
± 0,002 (Sr = 0,05)
|
0,028
± 0,001 (Sr = 0,03)
|
Полученные результаты свидетельствуют о том, что
все проанализированные марки дизельного топлива соответствуют ГОСТу по
содержанию в них серы.
Таблица 9. Содержание серы в дизельном топливе
по ГОСТу
|
Показатель
|
ТУ
38.401-58-170-96
|
ТУ38.1011348-99
|
ТУ
38.401-58-296-2001
|
ГОСТ
|
|
Массовая
доля серы, % не более
|
0,05
|
0,035
|
0,035
|
По
ГОСТу 19121-73 или 50442
|
.3 ОПРЕДЕЛЕНИЕ СОДЕРЖАНИЯ СЕРЫ В БЕНЗИНАХ
МЕТОДОМ ИСПЫТАНИЯ НА МЕДНОЙ ПЛАСТИНКЕ
Сернистые соединения бензинов могут быть условно
разделены на активные и неактивные. К активным, относятся элементарная сера,
сероводород и меркаптаны, к неактивным - сульфиды, дисульфиды и т.д. Активные
сернистые соединения коррозируют металл даже при низких температурах, их
присутствие в бензинах не допустимо. Неактивные сернистые соединения не
коррозируют металл, но при сгорании образуют коррозионно-агрессивные оксиды
серы SO2 и SO3. Испытание воздействия бензина на медную пластинку при
повышенной температуре служит качественной пробой на присутствие активных
сернистых соединений. Даже при незначительной концентрации элементарной серы в
бензине медная пластинка, помещенная в него на 3 ч. при 100ºС,
покрывается бледно-серыми пятнами, а при большом содержании серы за то же время
при нагреве до 50ºС - черным
налетом. В присутствии сероводорода медная пластинка приобретает серый цвет с
красными разводами. Менее чувствительна медная пластинка к воздействию
меркаптанов.
Аппаратура и реактивы
. пластинки из электролитной меди
размером 40x10x2;
. спирт этиловый;
. эфир петролейной марки 40-70;
. цилиндры измерительные;
. колбы конические плоскодонные
вместимостью 250 мл;
. электроплитка закрытого типа;
. вода дистиллированная;
. пробирки;
. баня водная;
. цилиндр медный;
. бензол.
ПРОВЕДЕНИЕ ИСПЫТАНИЯ
Для испытания пластинки тщательно отшлифовывали,
промывали спиртом и эфиром и высушивали на фильтровальной бумаге. Испытуемые
сорта бензина наливали в пробирки высотой 150 мм и диаметром 15 - 20 мм
примерно до половины ее высоты и опускали в него щипцами медную пластинку.
Пробирки закрывали корковой пробкой и погружали в водяную баню. Температура
воды в бане должна быть 50±5ºС, а уровень
воды - выше уровня бензина в пробирках. Пробирки выдерживали в бане в течении 3
ч, затем медные пластинки вынимали и промывали в фарфоровой чашке ацетоном
(можно спиртобензольной смесью). Для каждого образца бензина провели пять
параллельных испытаний.
Если медная пластинка покрыта черным,
темно-коричневым, серовато-стальным налетом или пятнами, то считается, что
бензин не выдержал испытания на медной пластинке.
ОБРАБОТКА РЕЗУЛЬТАТОВ
На основании цвета медной пластинки сделали
заключение о коррозионных свойствах исследуемого образца и влиянии сернистых
соединений, содержащихся в бензине, на ресурс, работу двигателя и системы
питания [28].
После окончания исследования производили
сравнение регламентированного ГОСТ. Результаты приведены в табл. 10.
Таблица 10. Содержание серы в бензинах разных
марок (n=5, P=0,95)
|
Показатель
|
АИ-80
|
АИ
- 92
|
Премиум
АИ - 95
|
Супер
АИ - 98
|
|
Массовая
доля серы, %
|
0,042
± 0,002 (Sr = 0,04)
|
0,038
± 0,002 (Sr = 0,04)
|
0,043
± 0,002 (Sr = 0,03)
|
0,047
± 0,004 (Sr = 0,07)
|
Полученные результаты свидетельствуют о том, что
все проанализированные марки бензина соответствуют ГОСТу по содержанию в них
серы.
Таблица 11. Содержание серы в бензине по ГОСТу
|
Показатель
|
АИ-80
|
АИ
- 92
|
Премиум
АИ-95
|
Супер
АИ - 98
|
ГОСТ
|
|
Массовая
доля серы, % не более
|
0,05
|
0,05
|
0,05
|
0,05
|
По
ГОСТу 19121 или Р50442
|
Воспроизводимость методов определения содержания
серы в дизельном топливе и бензине характеризуется величиной Sr
= 0,01 - 0,08.
2.4 ОПРЕДЕЛЕНИЕ СЕРЫ В ДИЗЕЛЬНОМ ТОПЛИВЕ И
БЕНЗИНЕ ЛАМПОВЫМ МЕТОДОМ
Аппаратура и реактивы
. абсорбер;
. брызгоуловитель;
. ламповое стекло;
. лампочка;
. фитиль;
. шлифы.
. углекислый натрий, 0,3%-ный водный
раствор;
. соляная кислота, 0,05 н. титрованный
раствор;
. бензин бессернистый;
. этиловый спирт;
. петролейный эфир;
. метиловый оранжевый, 0,05%-ный водный
раствор.
. бюретки вместимостью 10, 25 и 50 см3
Прибор (рис. 4) состоит из фитильной лампочки 4,
лампового стекла 3, абсорбера 1 и брызгоуловителя 2. Перед определением
лампочку 4 и фитиль 5 промыли петролейным эфиром и высушили. Все остальные
детали тщательно промыли и ополоснули дистиллированной водой.
В большой резервуар абсорбера насыпали до 2/3
его высоты, чисто вымытые стеклянные бусы (отрезки стеклянных палочек) в
качестве насадки, улучшающей абсорбцию сернистого газа в поглотительном
растворе. В абсорбер залили из бюретки точно 10 мл раствора соды и 10 мл
дистиллированной воды. При анализе масел заливают 25 мл раствора соды. Смазали
шлифы 6 и собирали прибор. К брызгоуловителю подключили систему вакуума,
снабженную промежуточной буферной емкостью. На резиновые трубки между насосом и
буферной емкостью и между этой емкостью и брызгоуловителем надели винтовые
зажимы для регулирования просасывания воздуха. Таким образом, подготовили
одновременно три прибора для двух параллельных и одного контрольного
определения. Поэтому, брызгоуловители к буферной емкости присоединяют с
помощью, стеклянного паука.
ПРОВЕДЕНИЕ ИСПЫТАНИЯ
В чистые сухие лампочки отбирали пробы (навески)
для анализа. При этом руководствовались следующим.
. При анализе малосернистых не коптящих бензинов
наливали в лампочку 4-5 мл бензина.
. При анализе высококипящих сернистых, но не
коптящих, светлых нефтепродуктов наливали в лампочку 1,5-3 мл продукта. Далее в
обоих этих случаях лампочку закрывали пробкой с фитильной трубкой, через
которую пропущен фитиль. Нижний конец фитиля при этом располагался по
окружности дна лампочки. После того как фитиль пропитался продуктом, его
наружный конец срезали вровень с концом фитильной трубки. Лампочку зажигали,
устанавливали высоту пламени 5-6 мм и гасили его. Закрывали лампочку колпачком
и взвешивали на аналитических весах. Второе взвешивание для установления массы
сгоревшего продукта проводили уже после сжигания в конце определения.
. При анализе коптящих светлых нефтепродуктов,
содержащих ароматические или непредельные углеводороды в значительных
количествах, а также дизельного топлива наливали в предварительно взвешенную
вместе с фитилем и колпачком на аналитических весах чистую сухую лампочку и 1-2
мл испытуемого продукта. Вставляли фитиль, закрывали колпачком и снова
взвешивали для установления массы продукта, предназначенного для сжигания.
После этого навеску разбавляли бессернистым бензином, доводя общий объем до 4-5
мл.
. При анализе масел с вязкостью при 100°С менее
10 мм2/с (10 сСт) отбирали 2-2,3 мл, а при большей вязкости 0,9-1 мл
испытуемого продукта в чистые, сухие и предварительно взвешенные лампочки и
взвешивали. Разбавление бензином в зависимости от вязкости анализируемого
продукта проводили в отношении от 2,5 : 1 до 7 : 1.
Указанным способом проводили пять повторных
опытов. В лампочку, предназначенную для контрольного опыта, наливали без
взвешивания этиловый спирт или бессернистый бензин. Контрольный опыт ставили
для того, чтобы исключить возможные ошибки в анализе за счет кислых загрязнений
в воздухе.
После того как приборы собраны и пробы набраны, включали
насос и устанавливали равномерное неинтенсивное просасывание воздуха через все
абсорберы. Лампочки ставили под ламповые стекла, и зажигали их от спиртовки.
Спичками поджигать лампочки нельзя. Края фитильных трубочек при этом были
расположены не более чем на 8 мм выше нижнего края лампового стекла, а высота
пламени была равной 6-8 мм. Пламя было не коптящим, скорость просасывания
воздуха и продуктов горения равномерной, и брызги из абсорбера не попадали в
брызгоуловитель.
Весь этот режим регулировали винтовыми зажимами
на вакуумной линии и высотой фитиля, который выверяли с помощью иглы.
Регулировка фитиля проводилась при погашенном пламени.
После полного сгорания навески продукта, в том
случае если проводилось предварительное ее разбавление, в лампочку снова
наливали 1-2 мл бессернистого бензина и его вновь полностью сжигали. Это
необходимо для уменьшения ошибок, связанных с образованием на фитиле нагаров,
при анализе коптящих или высококипящих нефтепродуктов. Лампочку в контрольном
опыте гасили одновременно с окончанием сжигания в целевых пробах.
Через 5 мин. после сжигания насос останавливали,
приборы и брызгоуловители разобирали, ламповые стекла и верхние части
абсорберов хорошо промывали дистиллированной водой, расходуя на это 50-70 мл
воды. Промывные воды собирали в абсорберы. Содержимое абсорбера количественно
переводили в коническую колбу.
При анализе высокосернистых продуктов, раствор
после добавления к нему промывных вод и метилового оранжевого индикатора
окрашивался в оранжевый цвет. Это указывает, что взятого количества раствора
соды оказалось недостаточно для полного поглощения сернистого газа. В этом
случае сжигание повторили с меньшей навеской испытуемого продукта.
Далее избыток соды в растворе оттитровывали 0,05
н. соляной кислоты до оранжевого окрашивания. Вначале титровали раствор
контрольного опыта, а затем растворы от целевых опытов, применяя при этом
раствор контрольного опыта, окрашенный в оранжевый цвет, в качестве
«свидетеля».
Содержание серы х (в масс. %) в анализируемом
продукте рассчитывали по формуле:
где V - объем точно 0,05 н. раствора
соляной кислоты, израсходованной на титрование в контрольном опыте, мл;
V1 - то же в
целевом опыте, мл;
,0008 - количество серы,
эквивалентное 1 мл точно 0,05 н. раствора соляной кислоты, г;
G - навеска
испытуемого продукта, г.
Расхождения между двумя параллельными
определениями не должны превышать 5% от величины меньшего результата [29].
Таблица 12. Показатели содержания серы в
дизельном топливе (n=5, P=0,95)
|
Показатель
|
Зимнее
ДТ
|
Л-0.05-62
вид II
|
ЕВРО
3, сорт
С
|
ЕВРО
4
|
|
Массовая
доля серы, мг/кг
|
281±9,05
Sr=0,03
|
24±0,20
Sr=0,01
|
9±0,05
Sr=0,01
|
5±0,02
Sr=0,03
|
Таблица 13.
Показатели содержания серы в бензинах (n=5,
P=0,95)
|
Показатель
|
АИ-80
|
АИ
- 92
|
Премиум
АИ - 95
|
Супер
АИ - 98
|
|
Массовая
доля серы, мг/кг
|
4,24
± 0,21 Sr=0,04
|
3,8
± 0,15 Sr=0,03
|
4,3
± 0.21 Sr=0,04
|
4,7
± 0,22 Sr=0,04
|
Полученные результаты свидетельствуют о том, что
все проанализированные марки бензина соответствуют ГОСТу по содержанию в них
серы.
2.5 ОПРЕДЕЛЕНИЕ СЕРЫ МЕТОДОМ ЭНЕРГОДИСПЕРСИОННОЙ
РЕНТГЕНОФЛОУРИСЦЕНТНОЙ СПЕКТРОМЕТРИИ
ОБЛАСТЬ ПРИМЕНЕНИЯ
Настоящий метод позволяет определять массовые
доли серы от 0,0150 % до 5,00 % в дизельном топливе, нафте, керосине, нефтяных
остатках, основах смазочных масел, гидравлических маслах, реактивном топливе,
сырой нефти, бензине (неэтилированном) и других дистиллятных нефтепродуктах.
Пользуясь этой методикой, можно анализировать
серу в других продуктах, таких как топливо М-85 и М-100, содержащих 85 % и 100
% метанола.
Метод обеспечивает быстрое и точное измерение
общей серы в нефти и нефтепродуктах с минимальной подготовкой образца. Время
анализа образца обычно 2-4 мин.
Сущность метода состоит в том, что испытуемый
образец помещают в пучок лучей, испускаемых источником рентгеновского
излучения. Измеряют характеристики энергии возбуждения от рентгеновского
излучения и сравнивают полученный сигнал счетчика импульсов с сигналами
счетчика, полученными при испытании заранее подготовленных калибровочных
образцов.
Для определения серы от 0,0150 % до 5,00 %
требуются две группы калибровочных образцов.
МЕШАЮЩИИ ФАКТОРЫ
При использовании данного метода испытания могут
возникнуть два типа помех.
Спектральные помехи (перекрывание спектральных
пиков) возникают, если испытуемый образец содержит воду, алкилированный свинец,
кремний, фосфор, кальций, калий и галоидные соединения при концентрациях,
превышающих данную измеренной концентрации серы или более чем несколько сот
миллиграммов на килограмм.
Кроме спектральных помех, существуют помехи,
вызванные изменениями концентрации элементов в образце, приводящими к изменению
интенсивности каждого элемента.
К таким помехам относится присутствие в
испытуемом образце присадок, улучшающих эксплуатационные свойства
нефтепродукта, например оксигенаты в бензине.
Оба типа помех компенсируются в современных
приборах использованием вмонтированного программного обеспечения.
Рекомендуется время от времени проверять
автоматическую коррекцию этих помех, предложенную изготовителем, воспользовавшись
инструкцией к прибору.
Для новых составов поправки обязательно должны
быть проверены.
Требования безопасности приведены в приложении
А.
Величины, установленные в системе СИ,
рассматривают как стандартные.
Предпочтительной единицей является массовая доля
серы в процентах.
АППАРАТУРА
Энергодисперсионный рентгеновский флуоресцентный
анализатор.
Используют любые энергодисперсионные
рентгеновские флуоресцентные анализаторы, если их конструкция включает
перечисленные в 3.1.1-3.1.6 элементы. Необходимы следующие конструктивные
детали:
Источник рентгеновского излучения с энергией
выше 2,5 кэВ (килоэлектрон-вольт).
Съемная кювета для образца, оснащенная окнами с
заменяемыми прозрачными для рентгеновских лучей органическими полимерными
пленками и обеспечивающая высоту загрузки образца не менее 4 мм.
Детектор рентгеновского излучения с
чувствительностью 2,3 кэВ и разрешающей способностью, не превышающей 800 эВ.
Подходящим к использованию является газовый
пропорциональный счетчик.
Фильтры или другие средства, позволяющие
отделить X -излучение серы от другого рентгеновского излучения с более высокой
энергией.
Электронное оборудование для преобразования
сигнала и обработки данных, которое включает: подсчет интенсивности
рентгеновского излучения, как минимум, по двум энергетическим зонам для
коррекции по фону; поправки спектральных наложений; перевод интенсивности
рентгеновского излучения серы в ее процентную концентрацию.
Дисплей или принтер, регистрирующий показания
содержания серы в процентах (по массе).
Весы аналитические с погрешностью взвешивания не
более 0,1 мг.
Реактивы и материалы
Чистота реактивов
РЕАКТИВЫ И МАТЕРИАЛЫ
Используют реактивы квалификации х. ч.
Если нет других указаний, реактивы должны
соответствовать спецификациям Комитета по аналитическим реактивам Американского
химического общества. Рекомендации, касающиеся реагентов, не вошедших в
перечень Американского химического общества, приведены в таблице 6.
Допускается использовать реактивы другой
квалификации при условии, что они не снижают точности определения.
Ди-н-бутилсульфид (DBS) высокой степени чистоты,
сертифицированный по содержанию серы.
Сертифицированное содержание серы используют при
расчете точных концентраций калибровочных стандартных растворов.
ПРИМЕЧАНИЕ
Важно знать концентрацию серы в ди-н-бутилсульфиде,
так как примеси также могут содержать соединения серы.
Минеральное масло белое, соответствующее
спецификации Комитета по аналитическим реактивам Американского химического
общества, с содержанием серы не менее 2 мг/кг.
Пленка, проницаемая для рентгеновских лучей.
Используют любую пленку, которая устойчива к
действию испытуемого образца и не содержит серу. Пригодными являются пленки из
полиэфира, полипропилена, поликарбоната и полиамида.
Образцы с высоким содержанием ароматики могут
растворять полиэфирные и поликарбонатные пленки. В таких случаях взамен этих
пленок, из которых изготовляют окошечки кювет под образцы для рентгеновского
облучения, могут быть использованы другие материалы, не загрязненные примесями
других элементов.
Предпочтительным материалом для изготовления
окошечек является полиамидная фольга, так как несмотря на то, что сильнее
других материалов поглощает рентгеновское излучение, она намного более стойка к
химическому воздействию ароматики и обладает более высокой механической прочностью.
Кювета для образца, стойкая к химическому
воздействию испытуемого образца и отвечающая геометрическим требованиям
спектрометра.
ПОДГОТОВКА АППАРАТУРЫ
Установили аппаратуру в соответствии с
инструкциями изготовителей. По возможности прибор должен быть постоянно включен
для поддержания его оптимально стабильной работы.
Кюветы для образцов при повторном использовании
очистили и просушили, при этом заменили рентгеновскую пленку на новую.
Избегая касания внутренней поверхности кюветы, а
также пленки кюветы и окошечка прибора. Пленка кюветы должна быть чистой и
натянутой, так как морщины на пленке влияют на интенсивность рентгеновского
излучения серы.
Повторное калибрование прибора необходимо
проводить при замене типа и толщины, а также при применении каждого нового
рулона или партии пленки.
Калибрование и стандартизация условий измерения
Приготовление стандартных растворов
Приготовили первичные стандартные растворы с
массовой долей серы 0,1 % и 5 %, не применяя для их приготовления способ
разбавления единого концентрата. Точное содержание серы в каждом стандартном
растворе рассчитали с точностью до четвертого десятичного знака.
В устойчивый узкогорлый сосуд (контейнер)
взвесили заданное количество разбавителя с точностью до 0,1 мг (таблица 14).
Затем в этот же сосуд точно взвесили заданное количество ди-н-бутилсульфида.
Тщательно его перемешали при комнатной температуре, применяя магнитную мешалку,
покрытую политетрафторэтиленом (ПТФЭ).
Примечание. Разбавитель калибровочного образца
должен быть по своей химической природе близок к типу анализируемого образца. В
качестве альтернативного разбавителя приемлемо белое минеральное масло (8).
Готовили серию калибровочных стандартных
растворов с двумя заданными диапазонами массовых долей серы (таблица 15)
разбавлением каждого первичного стандартного раствора (10) разбавителем,
соответствующим исследуемому образцу.
Таблица 14. Состав первичных стандартных
растворов
|
Массовая
доля серы, %
|
Масса
белого масла, г
|
Масса
ди-н-бутилсульфида, г
|
|
5,0
- 0,1
|
48,6
- 43,6
|
14,4
- 0,200
|
Таблица 15. Калибровочные стандартные растворы
|
Номер
стандартного раствора
|
Массовая
доля серы, %, в диапазоне, %
|
|
0,0020-0,1
|
0,1-5,0
|
|
1
|
0,0000
|
0,00
|
|
2
|
0,0020
|
0,10
|
|
3
|
0,0050
|
0,50
|
|
4
|
0,0100
|
1,00
|
|
5
|
0,0300
|
2,20
|
|
6
|
0,0600
|
5,00
|
|
7
|
0,1000
|
-
|
Альтернативно могут быть использованы
сертифицированные стандарты Национального института стандартов и технологии
(NIST), содержащие следы анализируемого элемента и приготовленные по методике,
описанной выше, или составленные из анализируемого образца.
Если разбавитель образца, используемый при
подготовке стандартных растворов, содержит воду, то значение соответствующей ей
концентрации прибавляют к расчетному содержанию серы приготовленных стандартных
растворов.
При этом следует проконсультироваться у поставщика
реактивов о сертифицированной сере или провести испытание минерального масла по
методу испытания или по другому эквивалентному методу с чувствительностью по
сере не более 1 ррт.
Массовую долю серы, S, %, рассчитали по
уравнению
= (DBS х SDBS) + (МО х SM0)/(DBS + МО)
где DBS - фактическая масса ди-н-бутилсульфида,
г;- массовая доля серы в ди-н-бутилсульфиде, обычно 21,91 %; МО фактическая
масса минерального масла (разбавителя), г; SM0 - массовая доля серы в
минеральном масле, %.
Сертифицированные калибровочные стандартные
растворы
Эти стандартные растворы включают в себя
стандартные эталонные материалы (SRM), приготовленные и сертифицированные
Национальным институтом стандартов и технологии (NIST), т. е. SRM 2724 для серы
в дизельном топливе.
Стандарты должны охватывать диапазоны
номинальных концентраций, представленных в таблице 15.
Калибровочные стандартные растворы для поверки
Несколько дополнительных стандартных растворов,
которые не использовались для построения калибровочной кривой, применяют для
поверки.
ОБРАЗЦЫ КОНТРОЛЯ КАЧЕСТВА
Стабильные образцы нефти или нефтепродуктов,
типичные для исследуемых образцов, которые регулярно анализируются для
подтверждения, что система работает стабильно.
До использования все стандартные растворы хранят
в стеклянных бутылках (темных или обернутых в светонепроницаемый материал),
закрытых стеклянными пробками, винтовыми колпачками с внутренней подложкой из
инертного полимера или другими инертными непроницаемыми затворами, в темном
прохладном месте.
При появлении в стандартном растворе осадка или
изменения концентрации его выбрасывают.
ПОДГОТОВКА К ИСПЫТАНИЮ
Отбор и подготовка проб - в соответствии с ГОСТ
[31], [32].
Перед отбором пробы для анализа образец
тщательно перемешивают.
Испытуемые образцы проанализировали сразу же
после заполнения ими кюветы и исчезновения воздушных пузырьков, вызванных
перемешиванием.
ПРОВЕДЕНИЕ ИСПЫТАНИЯ
Заполняли 3/4 объема кюветы испытуемым образцом,
оставляя сверху свободное пространство, предусмотрев вентиляционное отверстие
для предотвращения прогибания пленки окошечка кюветы во время испытания летучих
образцов.
ПРИМЕЧАНИЕ
Не допускается проливать образец внутрь
анализатора.
Калибровка прибора
Прибор калибруют по соответствующему диапазону,
представленному в таблице 15, следуя инструкциям завода-изготовителя.
Обычно процедура калибровки включает установку
прибора на запись суммарной интенсивности рентгеновского излучения серы, после
чего проводят измерение известных стандартных растворов.
Получают два показания для стандартного
раствора, используя рекомендуемое время счета для прибора, согласно таблице 16.
Таблица 16. Время счета для определения
содержания серы
|
Диапазон
массовой доли серы, %
|
Время
счета, с
|
|
0,0000-0,1000
0,1000-5,0
|
200-300
100
|
При минимальной задержке повторяют процедуру,
используя свежеприготовленные кюветы и свежие порции стандартного раствора.
Когда все стандартные растворы единожды
проанализированы, строят оптимальную калибровочную кривую, основанную на
подсчетах суммарной серы для каждого стандартного раствора. Сразу же после
калибровки определяют концентрацию серы одного или более калибровочных
стандартных растворов поверки (по колибровочным стандартным растворам).
Измеренные значения должны находиться в пределах 3 % относительно
сертифицированных величин.
При возникновении сомнений относительно
полученных результатов необходимо провести повторную калибровку. При оценке
калибровки следует принимать во внимание расхождение результатов между
испытуемыми и стандартными образцами.
Анализ образцов с неизвестным содержанием серы
Заполняют кювету испытуемым образцом.
Вязкие образцы следует подогреть для обеспечения
их текучести; воздушные пузырьки должны отсутствовать в пространстве между
окном кюветы и поверхностью образца.
Измеряют каждый образец в соответствии с
рекомендуемым в таблице 16 временем счета для определенного диапазона
концентрации.
При минимальной задержке повторяют измерение,
используя свежеприготовленные кюветы и свежие пробы образца.
Получают среднее из двух значений содержания
серы в испытуемом образце.
Если среднее значение выходит за пределы
концентрации по калибровке, повторяют измерение дважды, используя диапазон,
включающий в себя это среднее значение [32].
ОТКЛОНЕНИЯ
Межлабораторное исследование включило восемь
эталонных материалов NIST. В таблице 17 приведены сертифицированные значения и
отклонения при определении серы [33].
Таблица 17. Отклонение
|
Стандарт
NIST
|
Массовая
доля серы, %
|
Отклонение
|
Значимость
|
|
SRM
1616а
|
0,0146
|
0,0009
|
Нет
|
|
SRM
2724а
|
0,0430
|
0,0008
|
-
|
|
SRM
1617а
|
0,173
|
0,0003
|
-
|
|
SRM
1623с
|
0,381
|
0,0119
|
Да
|
|
SRM
1621е
|
0,948
|
0,0198
|
Нет
|
|
SRM
2717
|
3,02
|
0,0072
|
-
|
Таблица 18. Определение серы на приборе
Спектроскан S методом
энергодисперсионной рентгенофлуоресцентной спектрометрии (n=5,
P=0,95)
|
Прибор
для определения серы.
|
Вид
топлива
|
Название
места отбора проб
|
Значения
мг/кг
|
Значения
%
|
Sr
|
|
Спектроскан
S
|
Евро
4
|
ЛУКойл
|
8
|
0,0008
|
0,03
|
|
Евро
4
|
ТНК
|
7
|
0,0007
|
0,03
|
|
Л-0.05-62
вид II
|
PETROL
|
21
|
0,0021
|
0,04
|
|
Евро3
|
OKTAN
|
6
|
0,0006
|
0,01
|
|
ЕВРО
3, сорт
С
|
6
|
0,0006
|
0,01
|
|
Л-0.05-62
вид II
|
PETROL
|
16
|
0,0016
|
0,04
|
|
Зимнее
ДТ
|
ЛУКойл
|
281
|
0,0281
|
0,03
|
|
Зимнее
ДТ
|
PETROL
|
195
|
0,0195
|
0,03
|
|
Зимнее
ДТ
|
ТНК
|
204
|
0,0204
|
0,03
|
|
Зимнее
ДТ
|
OKTAN
|
112
|
0,0112
|
0,03
|
Таблица 19. Определение серы на приборе OXFORD
LAB-X
3000 ANALYSIS
REPORT методом
энергодисперсионной рентгенофлуоресцентной спектрометрии (n=5,
P=0,95)
|
Прибор
для определения серы.
|
Вид
топлива
|
Название
места отбора проб
|
Значения
мг/кг
|
Значения
%
|
Sr
|
|
OXFORD LAB-X 3000 ANALYSIS REPORT
|
Евро
4
|
ЛУКойл
|
424
|
0.0424
|
0,03
|
|
Евро
4
|
ТНК
|
476
|
0.0476
|
0,03
|
|
Л-0.05-62
вид II
|
PETROL
|
503
|
0.0503
|
0,03
|
|
Евро3
|
OKTAN
|
463
|
0.0463
|
0,03
|
|
ЕВРО
3, сорт
С
|
ЛУКойл
|
435
|
0.0435
|
0,03
|
|
Л-0.05-62
вид II
|
PETROL
|
500
|
0.050
|
0,03
|
|
Зимнее
ДТ
|
ЛУКойл
|
30
|
0.300
|
0,04
|
|
Зимнее
ДТ
|
PETROL
|
26,8
|
0.268
|
0,05
|
|
Зимнее
ДТ
|
ТНК
|
27,3
|
0,273
|
0,03
|
|
Зимнее
ДТ
|
OKTAN
|
98
|
0,098
|
0,03
|
Полученные результаты свидетельствуют о том, что
все проанализированные марки бензина соответствуют ГОСТу по содержанию в них
серы.
ВЫВОДЫ
В настоящее время, когда нефть и ее
производные являются неотъемлемой
<http://ru.wiktionary.org/wiki/%ED%E5%EE%F2%FA%E5%EC%EB%E5%EC%FB%E9>
частью нашей жизни, возникает необходимость контроля качества. Излишнее ее
содержание не только загрязняет окружающую среду, но и негативно влияет на
работу двигателей. Влияние сернистых соединений на коррозионную активность
нефтепродуктов разнообразно, что приводит к индивидуальному подходу обработки
сырья. Исходя из всего выше сказанного:
1. Обобщены и систематизированы литературные
данные о горюче-смазочных материалах.
2. Рассмотрена актуальность проблемы
контроля качества горюче-смазочных материалов.
. Описаны основные методы определения
серы и ее соединений в нефти и нефтепродуктах.
. Проведен анализ по определению
содержания серы в образцах нефтепродуктов, отобранных на АЗС города Орла с
использованием бомбового и лампового методов, а также методом
энергодисперсионной рентгенофлуоресцентной спектрометрии.
. Проведение анализов и параллельное
использование трех разных методик определения серы и ее соединений в образцах
нефтепродуктов, позволяет выделить метод энергодисперсионной
рентгенофлуоресцентной спектрометрии как наиболее преспективный.
. Полученные экспериментальные данные
позволили сделать вывод о том, что все проанализированные образцы
нефтепродуктов соответствуют стандарту качества.
СПИСОК ЛИТЕРАТУРЫ
1. Вержичинская,
С.В. / Химия и технология нефти и газа. Вержичинская С.В., Дигуров Н.Г.,
Синицин С.А - М: ФОРУМ - ИНФРА - М 2007г. - 290с.
2. Грамолин,
А.В. Топливо, масла, смазки, жидкости и материалы для эксплуатации и ремонта
автомобилей. / Грамолин А.В., Кузнецов А.С. - М.: Машиностроение,2002. - 630с.
. Александрова,
В.И. Классификация продуктов переработки нефти / Александрова В.И. М.: - МГУ
2009г - 100с.
. Анализ
нефти и нефтепродуктов. / Рыбак Б.М., Сидорова И.Г., Михалевич В.Н., Зайцева
Л.И; под общей ред. Лимберг А.И. - М.: Недра, 1962 - 320с.
. Эллис,
К.В. Химия углеводородов нефти и их производных: учебное пособие: В 2ч . 2ч./
Эллис К.В. - М.: ОНТИ переведено с английского 1937г. 250с.
. Мастепанов,
А.М. Топливо - энергетический комплекс в Российской Федерации на рубеже веков:
состояния, проблемы и перспективы развития: справочное собрание в 2 т. Т.1 /
Мастепанов А.М. - М.: Издательство ИАЦ «Энергия» 2009 - 472с.
7. Большаков,
Г.Ф. Восстановление и контроль качества нефтепродуктов / Большаков Г.Ф. - Л.:
Недра, 1982. - 350 с.
8. Золотов,
Ю.А. <http://www.academia-moscow.ru/authors/?id=2375> Основы
аналитической химии: В 2 т. Т.1: Большова Т.А.
<http://www.academia-moscow.ru/authors/?id=3573>, Брыкина Г.Д.
<http://www.academia-moscow.ru/authors/?id=3572>, Гармаш А.В.
<http://www.academia-moscow.ru/authors/?id=3571>, Золотов Ю.А.
<http://www.academia-moscow.ru/authors/?id=2375> и др. / Под ред.
Ю.А.Золотова <http://www.academia-moscow.ru/authors/?id=2375>. - М.:
Академия, 2012. - 384 с.
. Золотов,
Ю.А. <http://www.academia-moscow.ru/authors/?id=2375> Основы
аналитической химии. В 2 т. Т. 2: Алов Н.В.
<http://www.academia-moscow.ru/authors/?id=3375>, Барбалат Ю.А.
<http://www.academia-moscow.ru/authors/?id=3574>, Борзенко А.Г., Гармаш
А.В. <http://www.academia-moscow.ru/authors/?id=3571>, Золотов Ю.А.
<http://www.academia-moscow.ru/authors/?id=2375> и др. / Под ред.
Ю.А.Золотова <http://www.academia-moscow.ru/authors/?id=2375>. - М.:
Академия, 2012. - 416 с.
. Лиханов,
В.А. Справочник по эксплуатационным материалам
<http://www.twirpx.com/file/555763/> Справочник по эксплуатационным
материалам: Учебное пособие:/ Лиханов В.А., Деветьяров Р.Р - Киров: Вятская
ГСХА, 2006. 123 с.
. Мстиславкая,
Л.П. Нефть и газ - от поисков до переработки»: научно-популярное издание по
нефтегазовым технологиям / Мстиславкая Л.П. - М.: Изд. ЦентрЛитНефтеГаз, 2008.
- 309 с.
. Измерение
массовой доли серы в нефти и нефтепродуктах / Гоганов А.Д. Королев В.В. Котович
И.В. Ковалев В.А. Летягин Ю.И. Мистибовская Л.Е. Плотников Р.И. - М.: Мир
измерений, 2004. - 39с.
13. Nadkarni K. /Determining
Trace Amounts of Sulfur in Petroleum Products / Nadkarni K. - World Refining,
June, 2000. - 400с.
14. ГОСТ
3877-88. ГОСТ Р Система стандартов по Химической промышленности, Издания.
Международный стандарт. Использование и измерения. - М.: Стандартин-форм, 1988.
- 5с.
. Каменко
М.К. Тайны образования нефти и горючих газов / Каменко М.К. - М.: Недра, 1981.
- 192 с.
16. Reagent Chemicals,
ACS-Specifications / Am. Chem. Soc, Washington, DC.
17. ГОСТ
Р 51859-2002. Система стандартов по Химической промышленности, Издания.
Международный стандарт. Использование и измерения. - М.: Стандартин-форм, 2002.
- 5с.
. ГОСТ
19121. Система стандартов по Химической промышленности, Издания. Международный
стандарт. Использование и измерения. - М.: Стандартин-форм, 1988. - 6с.
. АСТМ
Д 3120 Определение следовых количеств серы в светлых жидких нефтяных
углеводородах методом окислительной микрокулонометрии / Система стандартов по
Химической промышленности, Издания. Международный стандарт. Использование и
измерения. - М.: Стандартин-форм, 2000. - 10с.
. Магеррамов
,А.М. Нефтехимия и нефтепереработка /
<http://www.twirpx.com/file/533614/> Магеррамов А.М. Ахмедова Р.А.,
Ахмедова Н.Ф. - Баку: Издательство «Бакы Университети», 2009. - 660 с.
21. ASTM D1551-68
Система стандартов по Химической промышленности, Издания. Международный
стандарт. Использование и измерения. - М.: Стандартин-форм,1973. - 6с.
. Кириченко,
Н.Б. Автомобильные эксплуатационные материалы: Учебное пособие: Кириченко Н.Б.
-М.: Издательский центр «Академия», 2003 - 208 с.
. Джерихов,
В.Б. Автомобильные эксплуатационные материалы. Масла и смазки
<http://www.twirpx.com/file/896446/> .Учебное пособие. В 2 ч. / Джерихов
В.Б. - СПб.: СПБГАСУ, 2009. - 256 с. - Ч 2.
24. ASTM D6428-99
Система стандартов по Химической промышленности, Издания. Международный
стандарт. Использование и измерения. - М.: Стандартин-форм, 1999. - 9с.
. Мастепанов,
А.М. Топливо - энергетический комплекс в Российской Федерации на рубеже веков:
состояния, проблемы и перспективы развития. Справочное собрание: в 2 Т. /
Мастепанов А.М. -М.: Издательство ИАЦ «Энергия» 2009. 472с. - Том 2
26. Analar Standards for
Laboratory U.K., Chemicals / BDH Ltd., Poole, Dorset; United States
Pharmacopeia, and National Formulary, U.S. Pharmacopeial Convention, 1 nc,
(USPC), Rockville, MD.
27. АСТМ
Д 1266-98 Система стандартов по Химической промышленности, Издания.
Международный стандарт. Использование и измерения. - М.: Стандартин-форм, 1998.
- 10с.
. ГОСТ
6321-92 Система стандартов по Химической промышленности, Издания. Международный
стандарт. Использование и измерения. - М.: Стандартин-форм, 1992. - 9с.
29. ГОСТ
Р 51859-2002 Система стандартов по Химической промышленности, Издания. Международный
стандарт. Использование и измерения. - М.: Стандартин-форм, 1 - 9с.
30. АСТМ
Д 4057 Руководство по ручному отбору проб нефти и нефтепродуктов / Система
стандартов по Химической промышленности, Издания. Международный стандарт.
Использование и измерения. - М.: Стандартин-форм, 2007. - 9с.
. АСТМ
Д 4177 Руководство по автоматическому отбору проб нефти и нефтепродуктов /
Система стандартов по Химической промышленности, Издания. Международный
стандарт. Использование и измерения. - М.: Стандартин-форм, 2008. - 10с.
. АСТМ
Е 29 Руководство по применению значимых цифр в данных испытаниях для
определения соответствия со спецификациями / Система стандартов по Химической
промышленности, Издания. Международный стандарт. Использование и измерения. -
М.: Стандартин-форм, 1999. - 9с.
. ГОСТ
Р 51947-2002 Система стандартов по Химической промышленности, Издания.
Международный стандарт. Использование и измерения. - М.: Стандартин-форм, 2001.
- 15с.
ПРИЛОЖЕНИЕ
РАЗРАБОТКА ПРАКТИЧЕСКОГО ЗАНЯТИЯ НА ТЕМУ:
«ОПРЕДЕЛЕНИЕ СОДЕРЖАНИЯ СЕРЫ В НЕФТЕПРОДУКТАХ»
В рамках дисциплины «Анализ реальных объектов»
Цель работы: Провести определение содержания
серы в бензине разных марок на основании полученных данных сделать вывод о
качестве исследуемого топлива.
ТЕОРЕТИЧЕСКАЯ ЧАСТЬ
Одной из важнейших задач контроля качества нефти
и продуктов ее переработки является определение в них серы. Сернистые
соединения затрудняют процессы переработки нефти и способствуют коррозии
металлов, соприкасающихся с нефтепродуктами, что вызывает необходимость
строгого контроля содержания серы в данных объектах.
Сернистые соединения бензинов могут быть условно
разделены на активные и неактивные. К активным, относятся элементарная сера,
сероводород и меркаптаны, к неактивным - сульфиды, дисульфиды и т.д. Активные
сернистые соединения коррозируют металл даже при низких температурах, их
присутствие в бензинах не допустимо. Неактивные сернистые соединения не
коррозируют металл, но при сгорании образуют коррозионно-агрессивные оксиды
серы SO2 и SO3. Испытание воздействия бензина на медную пластинку при
повышенной температуре служит качественной пробой на присутствие активных
сернистых соединений. Даже при незначительной концентрации элементарной серы в
бензине медная пластинка, помещенная в него на 3 ч при 100ºС,
покрывается бледно-серыми пятнами, а при большом содержании серы за то же время
при нагреве до 50ºС черным
налетом. В присутствии сероводорода медная пластинка приобретает серый цвет с
красными разводами. Менее чувствительна медная пластинка к воздействию меркаптанов.
ЛАБОРАТОРНАЯ РАБОТА
ОПРЕДЕЛЕНИЕ СОДЕРЖАНИЯ СЕРЫ В БЕНЗИНАХ МЕТОДОМ
ИСПЫТАНИЯ НА МЕДНОЙ ПЛАСТИНКЕ
Аппаратура и реактивы
. пластинки из электролитной меди
размером 40x10x2;
. спирт этиловый;
. эфир петролейной марки 40-70;
. цилиндры измерительные;
. колбы конические плоскодонные
вместимостью 250 мл;
. электроплитка закрытого типа;
. вода дистиллированная;
. пробирки;
. баня водная;
. цилиндр медный;
. бензол.
ПРОВЕДЕНИЕ ИСПЫТАНИЯ
Для испытания пластинки тщательно отшлифовывают,
промывают спиртом и эфиром и высушивают на фильтровальной бумаге. Испытуемый
бензин наливают в пробирку высотой 150 мм и диаметром 15 - 20 мм примерно до
половины ее высоты и опускают в него щипцами медную пластинку. Пробирку
закрывают корковой пробкой и погружают в водную баню. Температура воды в бане
должна быть 50±5ºС, а уровень воды -
выше уровня бензина в пробирках.
Пробирки выдерживают в бане в течении 3 ч, затем
медные пластинки вынимают и промывают в фарфоровой чашке ацетоном или
спиртобензольной смесью.
Для каждого образца бензина проводят два
параллельных испытания.
Если медная пластинка покрыта черным,
темно-коричневым, серовато-стальным налетом или пятнами, то считается, что
бензин не выдержал испытания на медной пластинке.
ОБРАБОТКА РЕЗУЛЬТАТОВ
На основании цвета медной пластинки делают
заключение о коррозионных свойствах исследуемого образца и влиянии сернистых
соединений, содержащихся в бензине, на ресурс, работу двигателя и системы
питания.
После окончания исследования произвели сравнение
регламентированного ГОСТ.
Контрольные вопросы:
1. Что такое нефть и нефтепродукты?
2. Что понимается под выражением
«содержание серы в нефтепродуктах»
. Какие методы определения серы в
нефтепродуктах вы знаете?
. В чем заключается сущность определения
содержания серы в нефтепродуктах ламповым методом?
. Расскажите об устройстве
распределительной системы газов для сжигания нефтепродуктов в искусственной
атмосфере?
. Что такое дизельное топливо. Какие
основные виды вы знаете?
. Какое допустимое количество содержания
серы в нефтепродукте регламентировано ГОСТом?
. Для чего в автомобильные бензины
добавляют присадки?
РЕКОМЕНДУЕМАЯ ЛИТЕРАТУРА
1. Жасан
А.А Практикум по дисциплине топливо, смазочные материалы, и технические
жидкости. Кафедра «ЭМТП и тракторы» Орел 2006 207с
2. Основы
аналитической химии: В 2 т. Т. 1: Большова Т.А.
<http://www.academia-moscow.ru/authors/?id=3573>, Брыкина Г.Д.
<http://www.academia-moscow.ru/authors/?id=3572>, Гармаш А.В., Золотов
Ю.А. <http://www.academia-moscow.ru/authors/?id=2375> и др. / Под ред. Ю.А.Золотова
<http://www.academia-moscow.ru/authors/?id=2375>. - М.: Академия, 2012.
384 с.
. Основы
аналитической химии. В 2 т. Т. 2: Алов Н.В.
<http://www.academia-moscow.ru/authors/?id=3375>, Барбалат Ю.А.
<http://www.academia-moscow.ru/authors/?id=3574>, Борзенко А.Г.
<http://www.academia-moscow.ru/authors/?id=3575>, Гармаш А.В.
<http://www.academia-moscow.ru/authors/?id=3571>, Золотов Ю.А.
<http://www.academia-moscow.ru/authors/?id=2375> и др. / Под ред.
Ю.А.Золотова <http://www.academia-moscow.ru/authors/?id=2375>. - М.:
Академия, 2012. 416 с.