Синхронизация и управление в оптических транспортных сетях

  • Вид работы:
    Реферат
  • Предмет:
    Информатика, ВТ, телекоммуникации
  • Язык:
    Русский
    ,
    Формат файла:
    MS Word
    416,06 Кб
  • Опубликовано:
    2014-03-12
Вы можете узнать стоимость помощи в написании студенческой работы.
Помощь в написании работы, которую точно примут!

Синхронизация и управление в оптических транспортных сетях

О ФЕДЕРАЛЬНОЕ АГЕНТСТВО СВЯЗИ

Государственное образовательное бюджетное учреждение высшего профессионального образования

Московский Технический Университет Связи и Информатики









Реферат

по дисциплине «Волоконная оптика в телекоммуникациях»

На тему: «Синхронизация и управление в оптических транспортных сетях»


Выполнила студентка

Группы М61201

Лентионова Н.В.




Москва 2013 год

СОДЕРЖАНИЕ

ВВЕДЕНИЕ

Глава 1 « Определение тактовой сетевой синхронизаии»

.1 Общие положения

.2 Структура сети синхронизации

.3 Проектирование схем синхронизации

Глава 2 «Проблемы тактовой синхронизации»

Глава 3 «Общие принципы управления в оптической мультисервисной транспортной сети»

.1 Общие положения

.2 Общие принципы управления в оптической мультисервисной транспортной сети

.3 Системы управления оптическими мультисервисными транспортными сетями

ЗАКЛЮЧЕНИЕ

СПИСОК ИСПОЛЬЗОВАННОЙ ЛИТЕРАТУРЫ

ВВЕДЕНИЕ


Стремительное развитие цифровых систем коммутации и средств передачи информации, внедрение технологий SDH и SONET привело к значительному возрастанию роли систем синхронизации в сетях телекоммуникаций. Новые сферы применения и виды предоставляемых услуг также вызывают повышенные требования к характеристикам и работе сетей синхронизации.

Точная работа и тщательное планирование систем синхронизации требуются не только для того, чтобы избежать неприемлемых рабочих характеристик, но чтобы ослабить скрытые, дорогостоящие и трудноопределимые проблемы и уменьшить малозаметные взаимные влияния сетей различного подчинения.

Синхронизация - это средство поддержания работы всего цифрового оборудования в сети связи на одной средней скорости. Для цифровой передачи информация преобразуется в дискретные импульсы. При передаче этих импульсов через линии и узлы связи цифровой сети все ее компоненты должны синхронизироваться. Синхронизация должна существовать на трех уровнях: битовая синхронизация, синхронизация на уровне канальных интервалов (time slot) и кадровая синхронизация.

Битовая синхронизация заключается в том, что передающий и принимающий концы линии передачи работают на одной тактовой частоте, поэтому биты считываются правильно. Для достижения битовой синхронизации приемник может получать свои тактовые импульсы с входящей линии. Битовая синхронизация включает такие проблемы как джиттер линии передачи и плотность единиц. Эти проблемы поднимаются при предъявлении требований к синхронизации и системам передачи.

Синхронизация канального интервала (time slot) соединяет приемник и передатчик таким образом, чтобы канальные интервалы могли быть идентифицированы для извлечения данных. Это достигается путем использования фиксированного формата кадра для разделения байтов. Основными проблемами синхронизации на уровне канального интервала являются время изменения кадра и обнаружение потери кадра.

Кадровая синхронизация вызвана необходимостью согласования по фазе передатчика и приемника таким образом, чтобы можно было идентифицировать начало кадра. Кадром в сигнале DS1 или E1 является группа битов, состоящая из двадцати четырех или тридцати байтов (канальных интервалов) соответственно, и одного импульса кадровой синхронизации. Время кадра равно 125 микросекундам. Канальные интервалы соответствуют пользователям конкретных (телефонных) каналов связи.

Тактовый генератор сети, расположенный в узле источника, управляет частотой передачи через этот узел битов, кадров и канальных интервалов. Вторичный генератор сети расположенный в принимающем узле, предназначен для управления скоростью считывания информации. Целью тактовой сетевой синхронизации является согласованная работа первичного генератора и приемника с тем, чтобы принимающий узел мог правильно интерпретировать цифровой сигнал. Различие в синхронизации узлов, находящихся в одной сети, может привести к пропуску или к повторному считыванию принимающим узлом посланной на него информации. Это явление называется проскальзыванием.

Глава 1 «Определение тактовой сетевой синхронизации»

 

1.1     Общие положения


Термины и определения ТСС первоначально приведены в рекомендации МСЭ-Т G.810. Ряд терминов и определений, которые необходимы для дальнейшего изложения материала, приведены ниже.

Тактовая сетевая синхронизация представляет собой один из видов синхронизации, необходимой для обеспечения функционирования цифровых систем передачи и коммутации. Тактовая синхронизация это процесс точного временного соответствия между принимаемым сигналом и последовательностью тактовых импульсов [].

В цифровых системах понятие "синхронизм" тесно связано с понятием "проскальзывания" (slips).

Проскальзывание - исключение или повторение в цифровом сигнале одного или нескольких бит, происходящее вследствие различия в скоростях записи и считывания двоичных данных в буферных устройствах.

Проскальзывание может быть управляемым или неуправляемым.

Проскальзывание, которое не приводит к сбою цикловой синхронизации, называют управляемым. При этом сигнал с потерями восстанавливает синхронизм.

При неуправляемом проскальзывании моменты потери и повторения позиций в цифровом сигнале невосполнимы.

Количество проскальзываний является предметом нормирования и служит основой определения требований к тактовым генераторам сети синхронизации.

Нормирование проскальзываний введено с рекомендации МСЭ-Т G.822 для стандартного цифрового условного эталонного соединения длиной 27 500 км основного цифрового канала 64 кбит/с между абонентскими окончаниями. Это соединение представляет собой соединение двух национальных сетей через несколько международных транзитов и насчитывает в общей сложности до 13 узлов и станций (из них пять центров международной коммутации и на каждой национальной сети по третичному, вторичному и первичному центру коммутации).

В таком соединении может происходить:

а) не более пяти проскальзываний за 24 часа в течение 98,9% времени работы;

б) более пяти проскальзываний за 24 часа, но менее 30 за один час в течение 1% времени работы;

в) более 30 проскальзываний за один час в течение 0,1% времени работы.

Время работы - не менее одного года. Качество, обозначенное а), соответствует псевдосинхронному режиму сети. Качество, обозначенное б), оценивается как пониженное качество, при котором сохраняется трафик. Качество, обозначенное в), считается неудовлетворительным и соответствует нарушению соединения.

Фазовые дрожания - кратковременные отклонения значащих моментов цифрового сигнала от их идеальных положений во времени. Если частота отклонений превышает 10 Гц, то их называют джиттером (Jitter). Если частота отклонений не превышает 10 Гц, то их называют блужданиями или вандером (Wander). На рис.5.1 представлены характеристики импульсного сигнала с изменением значащих моментов.

В современной технологии контроля получила распространение практика измерения амплитуды дрожания цифрового сигнала в единицах времени: абсолютных (микросекунды) или приведенных - единичных интервалах (Unit Interval). Одним единичным интервалом называется время, необходимое для передачи одного бита информации с заданной скоростью передачи.

Источниками тактовых сигналов в цифровых системах и сетях являются тактовые генераторы, которые подразделяются на первичный эталонный (ПЭГ), ведомый/вторичный задающий (ВЗГ), генератор сетевого элемента (ГСЭ).

Число проскальзываний, которые возникают из-за ухудшения качества синхронизации, определяется следующей формулой []:

Число проскальзываний за 24 часа = (число секунд за сутки) х (число циклов в секунду) х (D f / fo), (1), где (D f / fo) - точность синхронизации.

Если длительность цикла 125 мкс, цикловая частота равна 8 кГц, число секунд в сутках- 86 400, то число проскальзываний определяется:проск = 6,9 х 10 8 х (D f / fo) . (2)

Соотношение (2) позволяет определить связь норматива на проскальзывания и требуемую точность синхронизации. При стабильности тактового генератора 2 х 10 - 11 число проскальзываний в сутки составит:проск = 13,8 ×10 - 3 , т. е., возникнет одно проскальзывание за 72,5 суток, что соответствует требованию рекомендации G.822.

Первичный эталонный генератор (ПЭГ) - высокостабильный генератор, долговременное относительное отклонение частоты которого от номинального значения поддерживается не превышающим 1х10 - 11 при контроле по универсальному координированному времени.

Ведомый или вторичный задающий генератор (ВЗГ) - генератор, фаза которого подстраивается по входному сигналу, полученному от генератора более высокого или того же качества. ВЗГ обеспечивает, как правило, высокую кратковременную относительную стабильность частоты (около 10 - 9......10 - 11) и существенно более низкую относительно ПЭГ долговременную относительную стабильность (около 10 - 8).

Генератор сетевого элемента (ГСЭ) - синхронизируемый внешним синхросигналом генератор (обычный кварцевый), помещаемый в мультиплексоры PDH, SDH, АТМ, кроссовых коммутаторов и т. д. Такты ГСЭ так же подстраиваются под внешние такты, как и в ВЗГ, однако их собственная относительная долговременная стабильность не превышает 10 - 6.

Рис. 1 Временные диаграммы цифрового сигнала

Указанные генераторы имеют следующие иерархические положения по значимости в сети синхронизации (ТСС).

-й или высший уровень иерархии ТСС - ПЭГ (называемый нулевым).

-й уровень иерархии ТСС-ПЭИ (первичный эталонный источник), не являющийся составной частью ТСС, например, навигационный спутник GPS или ПЭГ другой сети.

-й уровень иерархии ТСС - ВЗГ, который представляют как транзитный или оконечный и совмещаемый с узлами автоматической коммутации (УАК) и автоматическими междугородными телефонными станциями (АМТС) или цифровыми АТС.

-й уровень иерархии ТСС - ГСЭ, к которым относятся мультиплексоры SDH, кроссовые коммутаторы SDH, оконечные цифровые АТС.

Источники тактового синхронизма могут быть включены в определенные сетевые конфигурации и различные сети ТСС.

Централизованная сеть распределения синхросигналов от единственного ПЭГ. Это синхронная сеть, в которой значащие моменты сигналов подстраиваются таким образом, чтобы установить синхронизм, при котором значащие моменты повторяются с некоторой средней точностью. Это принудительная синхронизированная сеть.

Совокупность централизованных подсетей, каждая из которых содержит ПЭГ. При отсутствии взаимосвязи между ПЭГ такая сеть синхронизации обеспечивает псевдосинхронный режим работы соответствующих цифровых подсетей.

Плезиохронный режим сети ТСС может возникнуть в цифровой сети, когда генератор ведомого узла (ВЗГ или ГСЭ) полностью теряет возможность внешней принудительной синхронизации из-за нарушения как основного, так и всех резервных путей синхронизации. В этом случае генератор переходит в режим удержания (в англоязычной литературе - holdover), при котором запоминается частота сети принудительной синхронизации. По мере ухода с течением времени частоты генератора из-за дрейфа от величины, зафиксированной в начальный момент в памяти, он переходит в так называемый свободный режим (в англоязычной литературе - free-run mode). Этот режим синхронизации уже называется асинхронным и характеризуется большим расхождением частот генераторов, при котором, однако, еще не нарушается процесс передачи информационной нагрузки в сети связи.

Сеть синхронизации ТСС образуется совокупностью генераторов (ПЭГ, ВЗГ, ГСЭ), системой распределения синхросигналов в узлах связи SASE (Stand Alone Synchronization Equipment - отдельное оборудование синхронизации или блоки сетевой синхронизации БСС) и связью между ними и самими синхросигналами, которые транслируются в определенном порядке.

В качестве синхросигналов в сети ТСС могут применяться следующие сигналы: цифровой сигнал 2048 кбит/с с кодированием в троичном коде HDB-3; гармонический одночастотный сигнал с частотой 2048 кГц; гармонический одночастотный сигнал с частотой 10 МГц или 5 МГц и некоторые другие [22].

Блоки сетевой синхронизации (БСС) или SASE выполняются в соответствии с концепцией построения интегрированных сетей синхронизации BITS (Building Integrated Timing Supply). Интеграция при построении ТСС предполагает объединение транспортных сетей, сетей доступа, вторичных сетей для поддержки синхронизма. При этом сеть синхронизации должна проектироваться и создаваться как наложенная сеть.

1.2 Структура сети синхронизации


Развитие цифровой сети оператора электросвязи, её взаимодействие с сетью связи общего пользования Российской Федерации и с сетями других операторов электросвязи определяет необходимость создания и совершенствования системы тактовой сетевой синхронизации. Наиболее высокие требования к синхронизации предъявляются, когда системы передачи синхронной цифровой иерархии взаимодействуют с цифровыми системами коммутации. С помощью тактовой сетевой синхронизации (ТСС) на сети обеспечивается установка и поддержание значения тактовой частоты очень близкой к ее номиналу (относительная ошибка <10-11 отн.ед.), в результате чего временные соотношения между сигналами не выходят за определенные пределы, превышение которых приводит к снижению качества или потере связи.

Системой ТСС называется комплекс технических средств, обеспечивающих формирование эталонных сигналов синхронизации и их передачу по сети всем задающим генераторам в оборудовании цифровых систем передачи и коммутации.

Наиболее важные требования по синхронизации предъявляются к цифровым сетям операторов электросвязи при проведении аудита системы ТСС, т.е. комплексной технической проверки построения и работоспособности системы ТСС. По результатам аудита головной организацией отрасли «Связь» выдается экспертное заключение о соответствии системы ТСС оператора электросвязи требованиям российских и международных нормативных документов и возможности взаимодействия с сетью связи общего пользования.

Структура сети синхронизации является иерархической. Первый уровень иерархии занимает первичный эталонный генератор. Технические параметры ПЭГ должны соответствовать требованиям Рекомендации МСЭ-Т G.811. Отклонение действительного значения частоты синхросигналов на выходах ПЭГ для цифровых сетей электросвязи от ее номинального значения не должно превышать 10-11 отн. ед. при заданных допустимых значениях фазовых блужданий. С целью выполнения требований к качественным показателям синхросигналов в качестве источников обычно используются цезиевые или водородные стандарты частоты, отклонение действительного значения частоты которых от ее номинального значения составляет не более нескольких единиц 10-12.

Для надежности формирования синхросигналов в состав ПЭГ обычно входят три первичных эталонных источника и вторичный задающий генератор, обеспечивающий выбор исправного ПЭИ с требуемыми характеристиками и формирование необходимого числа синхросигналов на его выходах, являющихся одновременно выходами ПЭГ. ПЭИ может быть на основе цезиевого или водородного стандарта частоты, а также на основе глобальной навигационной спутниковой системы (ГНСС) ГЛОНАСС.

Сигналы синхронизации от ПЭИ или ПЭГ передаются потребителям по цепям синхронизации с ВЗГ, которые используются в качестве фильтров низкочастотных блужданий фазы.

Организация основных и резервных путей передачи сигналов синхронизации должна проводиться исходя из условий их получения в соответствии со следующим правилом: длина цепочки последовательно включаемых генераторов сетевых элементов (мультиплексоров СЦИ) не должна превышать 20, при общей допустимой длине цепочки из 60 генераторов сетевых элементов (ГСЭ), начиная от первого ГСЭ, подключенного непосредственно к ПЭГ, в которую для восстановления сигналов синхронизации включают ВЗГ, числом не более 10.

Рис. 2 Цепочки последовательно включаемых генераторов сетевых элементов

 

.3 Проектирование схем синхронизации


Несколько слов о проектировании схем синхронизации

Важное значение при построении сети синхронизации имеет правильный подход при проектировании и дальнейшей реализации схемы синхронизации.

Исходными данными для проектирования являются:

·        существующие схемы организации связи;

·        планируемые схемы организации связи или существующие с указанием планируемого оборудования;

·        технические характеристики цифровых систем передачи и коммутации.

·        При проектировании схем синхронизации необходимо:

·        определить основной и резервный источник сигналов синхронизации;

·        определить оборудование, на которое будут подаваться сигналы синхронизации от выбранных источников;

·        определить возможность оборудования (по техническим характеристикам генератора и интерфейсам) принять сигналы синхронизации от выбранных источников;

·        определить потребность в дополнительном оборудовании синхронизации в соответствии с нормами на цепь сетевых элементов (МСЭ-Т G.823 или исходя из условий присоединения к сетям ТСС);

·        подготовить схему распределения основных и резервных сигналов синхронизации между узлами;

·        подготовить схему внутриузловой синхронизации;

·        указать приоритеты приема сигналов синхронизации на оборудовании (в случае если резервных синхросигналов более одного, а также при технической необходимости, учитывая конкретные особенности оборудования);

·        определить качество источника (SSM) в передаваемом сигнале синхронизации в точке выдачи синхросигнала для сети синхронизации и на резервном оборудовании;

·        определить объект и стык сопряжения разных колец ЦСП СЦИ для возможного резервирования;

·        указать использование возможности мониторинга в оборудовании ВЗГ, а также путь прохождения тестового сигнала.

Перед разработкой схемы синхронизации необходимо усвоить следующее.

Каждый узел сети синхронизации обычно использует только один сигнал синхронизации, который затем может быть распределен между оборудованием внутри станции, начиная с точки получения синхронизации по схеме "звезда" без трансляций синхронизма в цепочке внутри узла. С этой целью рекомендуется использовать сигнал 2 048 кбит/с (2 048 кГц). На больших узлах необходимо использовать дополнительную аппаратуру разветвления синхросигналов (АРСС). Каждый узел должен иметь основной и резервные источники синхронизма. Если в случае отказа узел не может получать сигнал синхронизации ни по основному, ни по резервному маршруту, то необходимо в узле установить генератор горячего резерва (ВЗГ).

Рис. 3 Схема организации связи Рис.4 Схема синхронизации

При проектировании для каждого сетевого элемента индивидуально должны быть определены установки порогов качества и приоритетов.

В связи с необходимостью обеспечения высокой надежности оборудования ТСС рекомендуется применять следующие меры: резервировать электропитание и все блоки ПЭГ, ВЗГ, ГСЭ, интерфейсы; резервировать все пути доставки синхросигналов к сетевым элементам.

Основой при разработке схемы тактовой синхронизации сети является детальная схема организации транспортной сети. При проектировании схемы синхронизации должно быть обеспечено согласование оборудования ПЭГ, ВЗГ, ГСЭ. Направление распределения синхросигналов должно быть указано стрелками в схеме синхронизации. На входах оборудования, предназначенного для принудительной синхронизации, должны быть указаны уровни качества (Q1-Q6), обозначены входы (Т1-Т3) и приоритеты (Р1-Р15 и т.д.) использования приходящих сигналов.

Транспортные сети часто строятся в виде колец и цепей. Планирование синхронизации кольца и цепей должно выполняться отдельно, т.к. в кольцах планируются механизмы самовосстановления. При этом для колец желательно иметь два ВЗГ.

Множественно-кольцевые сети необходимо разделять на несколько самовосстанавливающихся подсетей. Внутри каждой подсети синхронизация реализуется относительно просто. Возможно создание специальных колец распределения синхросигналов.

В линейной цепи распределения синхронизма также рекомендуется планировать два ВЗГ для поддержки устойчивой синхронизации в случае нарушений в линии или в источниках синхросигналов.

Узел для установки ПЭГ должен быть определен оптимально, т.е. так, чтобы поддержать передачу синхросигналов к узлам по “дереву” через минимальное число секций. В большинстве случаев ведущий узел определяется оператором сети. Если это не сделано, то выбор ведущего узла должен делать проектировщик. При этом критериями выбора могут быть: минимальное число иерархических уровней, равномерно сбалансированное “дерево” (с примерно одинаковым числом элементов в ветвях), максимально возможное число элементов на первом уровне иерархии.

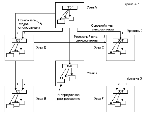
Для наглядной интерпретации схемы синхронизации полезно составить иерархическую диаграмму сложной сети. При этом представлении относительно легко определяются узлы, которые не имеют резервных путей передачи синхросигнала. В зависимости от требуемого уровня надежности в таких узлах может потребоваться установка дополнительных резервных источников.

Иерархическая диаграмма поможет обнаружить петли синхронизации. Важное правило при исключении петель состоит в том, чтобы сигнал всегда шел с верхнего уровня на нижний в направлении стрелок (как для основных, так и для резервных путей). Пример иерархической диаграммы приведен на рис.5. Целесообразно проводить проверку разработанных схем путем моделирования отказов при тестировании фрагментов сети ТСС.

Рис. 5 Схема межузловой синхронизации

Глава 2 «Проблемы тактовой синхронизации»


Качественная синхронизация цифровых систем - основа их нормальной работы. При объединении различных цифровых систем передачи и коммутации в единую систему передачи информации возникает необходимость в обеспечении точного соответствия фазы хронирующего сигнала, управляющего всеми элементами цифровой телекоммуникационной сети. Для этого предназначена система ТСС. Основной ее задачей является обеспечение синхронной работы генераторного оборудования цифровой сети операторов связи.

Создание и развитие системы ТСС имеет важнейшее значение при организации и совершенствовании цифровых сетей общего пользования, особенно в период создания телекоммуникационных сетей следующего поколения (NGN).

Синхронизацией называется процесс подстройки значащих моментов цифрового сигнала для установления и поддержания требуемых временных соотношений. За счёт синхронизации поддерживается непрерывность передаваемой информации и обеспечивается её целостность, т.е. определяется положение передаваемых кодовых слов и их последовательность.

Тактовая синхронизация - это процесс установления точного временного соответствия между принимаемым сигналом и последовательностью тактовых импульсов. Здесь под тактовыми импульсами понимают периодически повторяющиеся импульсы, с частотой, равной частоте повторения символов (битов) в информационном сигнале.

Синхросигналы (СС) в системах передачи искажаются под воздействием помех, т.е. меняется их временное положение. При частоте изменения более 10 Гц происходит так называемое дрожание, а при частоте менее 10 Гц, - блуждание.

В системах передачи применяется синхронизация по символам, тактам и циклам, а в системах коммутации - по битам и циклам.

Подавляющее большинство проблем синхронизации относится именно к частотной синхронизации, поэтому далее будем рассматривать только ее. В цифровых системах с импульсно-кодовой модуляцией (ИКМ), использующих плезиохронную и синхронную цифровую иерархию (ПЦИ/PDH, СЦИ/SDH), основной вид синхронизации - тактовая, она определяет остальные (по фреймам и мультифреймам) виды синхронизации. Проблемы синхронизации возникают, когда несколько простых локальных сетей (узлы имеют топологию "звезды" и настолько близки друг к другу, что временем распространения сигналов между ними можно пренебречь), причем каждая со своим источником тактовой сетевой синхронизации (ТСС), объединяются в сложную сеть передачи.

Если на передающем и принимающем узлах частоты источников тактовой синхронизации (хронирующих источников, или таймеров) не совпадают, за определенное время накапливается ошибка временного интервала (ОВИ/TIE), равная разности момента прихода (tп) n-го импульса цифровой последовательности и момента генерации (tг) n-го импульса источником тактовой синхронизации принимающего узла. Частота местного источника ТСС может быть выше или ниже частоты принимаемой последовательности. В зависимости от этого, когда ОВИ становится соизмеримой с длиной тактового интервала, происходит либо пропадание одного импульса, либо формирование лишнего - что приводит к срыву синхронизации. Данное явление называют проскальзыванием или слипом (slip). При передаче аудиосигнала слипы воспринимаются как щелчки - до определенного уровня это терпимо. Однако при передаче данных они приводят к нарушению связи.

Качество синхронизации можно оценить периодом времени, за который накопленная ОВИ приводит к срыву тактовой синхронизации, или частотой проскальзываний в единицу времени. Учитывая, что отдельные участки сложной сети могут синхронизироваться от источников различной точности, важно определить предельно допустимые значения частоты слипов. В соответствии с руководящими техническими материалами Министерства связи (РТМ МС) РФ все системы ТСС классифицируются по четырем типам:

·        синхронный - слипов фактически нет;

·        псевдосинхронный - допускается 1 слип/70 дней;

·        плезиохронный - 1 слип/17 часов и

·        асинхронный - 1 слип/7 с.

Любая цифровая система в своей основе требует тактовый задающий генератор, который должен синхронизировать все внутренние и внешние операции по обработке цифровых данных. Наибольшие сложности в цифровых системах возникают, когда необходимо наладить взаимодействие различных в своей основе цифровых систем, т. е. систем с различными тактовыми генераторами и функциональными реализациями (системы передачи и коммутации). Даже внутри одной системы, например, системы передачи, требуется синхронизировать приемник сигнала с передатчиком (тактовый синхронизм, цикловой синхронизм, сверхцикловой синхронизм). Применение разных тактовых генераторов может повлечь за собой сбои передачи, если не произвести принудительной синхронизации генератора приемника генератором передатчика. При этом на стабильность частот генераторов на обоих концах линии цифровой передачи будут влиять различные физические факторы, которые вызывают дрожание фазы хронирующих импульсов. Этими факторами являются: шум и помехи, действующие на цепь синхронизации в приемнике; изменение длины пути передачи сигнала обусловлены температурными перепадами, рефракцией в атмосфере и т. д.; изменение скорости распространения сигналов в физической среде (в проводных и беспроводных линиях); нарушение регулярности поступления хронирующей информации; доплеровские сдвиги от подвижных оконечных устройств; переключения в линиях (срабатывание автоматического резервирования); систематические дрожания фазы цифрового сигнала, возникающие в регенераторах (повторителях) и т.д.

Глава 3 «д»

 

.1 Общие положения


Для построения оптических транспортных сетей сегодня широко используется технология SDH. Пропускная способность классических сетей SDH достигает 10 Гбит/с (STM-64). В настоящее время для коммерческого использования доступны и мультиплексоры уровня STM-256 (40 Гбит/с), но при этом резко повышаются требования к дисперсионным характеристикам волоконно-оптических линий, в том числе и к величине поляризационной дисперсии PMD (Polarization Mode Dispersion). При необходимости создания или наращивания транспортной сети с пропускной способностью 40 Гбит/с и выше часто становится экономически выгодным применять системы плотного спектрального уплотнения (DWDM).

Технология SDH начала развиваться в 80-е годы вслед за своей американской “сестрицей” - Sonet (Synchronous Optical Network). Концепция Sonet была разработана в 1986 г. в Bell Labs, а через два года она была принята как стандарт американским институтом ANSI. C 1988 по 1993 г. были разработаны и одобрены 16 стандартов SDH. Сегодня эта технология используется практически во всем мире за исключением США, Канады и Японии, где “обосновалась” Sonet.

На российском рынке представлено оборудование SDH всех ведущих зарубежных производителей, а также отечественных предприятий. В подавляющем большинстве случаев оборудование разных фирм совместимо между собой по SDH-интерфейсам, но не совместимо по системам управления. Это значит, что система управления на уровне сетевых элементов одного производителя не может управлять работой сетевых элементов другого производителя. Более того, система управления не может управлять и “родными” сетевыми элементами по каналам DCC (специальные встроенные в STM-сигнал каналы управления), если на пути к “родному” сетевому элементу стоит элемент другого производителя. Именно несовместимость оборудования SDH по системам управления и вынуждает оператора использовать продукцию одного производителя или создавать независимые по управлению транспортные сети, построенные на оборудовании разных фирм.

Выбор оптимального оборудования для построения или наращивания оптической транспортной сети предполагает, с одной стороны, анализ технических характеристик оборудования, возможности наращивания и стоимости, а с другой - рассмотрение вопросов ответственности поставщиков по выполнению своих обязательств перед заказчиком, организации гарантийного и постгарантийного сервиса. Чтобы обеспечить некоторую независимость от одной фирмы, многие операторы выбирают разных поставщиков, например, один поставщик из Америки, второй - из Европы, или один - из Европы, второй - из Азии.

Прежде чем остановиться на технических требованиях, предъявляемых к оборудованию SDH, рассмотрим архитектуру построения транспортной сети.

Архитектура транспортной сети

В транспортных сетях обычно выделяют три уровня: опорный (или магистральный), распределения и доступа. Магистральный уровень используется для передачи трафика в пределах региона или города. Основные требования, предъявляемые к оборудованию этого уровня, - большие расстояния передачи, большая емкость (DWDM, STM-64, STM-16), а также возможность поддерживать различные протоколы передачи данных. Уровень распределения - это транспортные сети, охватывающие меньшие площади или принадлежащие разным операторам. Особенность данного уровня - сложная сетевая топология, большое число сетевых узлов коммутации трафика, возможность поддерживать различные протоколы передачи данных. Пропускная способность сетей находится в пределах от STM-1 до STM-16. Уровень доступа характеризуется небольшой емкостью - STM-1, STM-4. Для подключения корпоративных сетей опять же желательно поддерживать различные протоколы передачи данных.

К разным уровням транспортной сети нового поколения предъявляются различные требования. На уровне доступа главными являются гибкость и экономичность. На уровне распределения важны объединение различных видов трафика и возможность его диспетчеризации с целью более рационального использования полосы пропускания. На магистральном уровне решающими становятся большая пропускная способность и возможность ее быстрого увеличения по мере роста объемов трафика.

Технические требования

Одно из основных требований к поставщику оборудования SDH - это наличие у него полной линейки продуктов SDH и DWDM, т. е. оборудования, которое может успешно работать на всех трех уровнях: опорном, распределения и доступа. Это обеспечит полную совместимость оборудования и возможность использования единой системы управления. Такая система, работающая со всей предлагаемой производителем линейкой оборудования SDH и DWDM, гарантирует единое управление в масштабах всей сети и экономию при ее наращивании.

Для эффективного использования полосы пропускания необходимо строить транспортные сети, которые одинаково хорошо подходят для предоставления не только традиционных узкополосных услуг TDM, но и услуг передачи данных, например ATM и IP. Кроме того, оборудование должно позволять реализовывать сложную архитектуру транспортной сети и предоставлять возможности для ее наращивания, т. е. обладать большим количеством линейных интерфейсов и интерфейсов доступа.

Перечисленные требования можно рассматривать как основные критерии при выборе поставщика оборудования.

3.2 Общие принципы управления в оптической мультисервисной транспортной сети


Одной из основополагающих моделей в сфере управления сетями телекоммуникаций является модель Сети Управления Телекоммуникациями (Telecommunication Management Network, TMN), которая подробно представлена в рекомендациях МСЭ-T серии M.3000-M.3100.

Согласно определению, TMN представляет собой отдельную сеть, которая имеет интерфейсы с одной или большим числом сетей связи в нескольких точках (интерфейсах), обменивается с этими сетями информацией и управляет их функционированием. Отделение TMN от сетей связи реализуется на физическом или логическом уровне в различных интерфейсах. Сеть TMN может частично использовать инфраструктуру управляемой сети, например, встроенные каналы передачи данных, коммутаторы и маршрутизаторы управляемой сети.

В спецификациях TMN управляемые ресурсы имеют общее название сетевые элементы (СЭ или NE, Network Element). Функции управления возложены на системы поддержки операций (Operations Support System, OSS) или операционные системы управления.

Функции управления оптической мультисервисной транспортной сетью согласно TMN, состоят в следующем:

·        конфигурирование СЭ;

·        коммутация кроссовых соединений в мультиплексорах;

·        переключение на резерв оптических секций, оптических и цифровых трактов, соединений подсетей и оборудования;

·        конфигурирование сети тактовой синхронизации;

·        конфигурирование каналов передачи данных для сети управления (СУ);

·        обработка аварийных сигналов;

·        контроль функционирования.

·        Конфигурирование СЭ предполагает выполнение ряда операций:

·        базовое конфигурирование сетевого элемента с пустой базой данных;

·        резервирование и восстановление конфигурации;

·        запрос данных конфигурации по позициям сетевого элемента (тип полки, список оборудования, назначение смежных блоков, точки окончания, тактирование, выдача аварийных сигналов, каналы передачи данных управления);

·        конфигурирование тактовых генераторов;

·        конфигурирование входов дистанционного контроля;

·        считывание состояния программного обеспечения и т.д.

Установка параметров порта (интерфейса) на СЭ подразумевает установку состояний оптических и электрических интерфейсов, интерфейсов внешней синхронизации и др.

Коммутация кроссовых соединений в СЭ может быть выполнена между отдельными электрическими и оптическими интерфейсами. Для контроля качества сигнала на установленном кроссовом соединении могут использоваться точки окончания или транзитного соединения.

Кроссовые соединения выполняются после полной конфигурации СЭ за исключением кроссовых СЭ. При кроссировании устанавливаются однонаправленные соединения “точка-точка””, однонаправленные “точка - много точек”, двунаправленные. Отмечаются точки окончания, метки сигналов, контроль транзитных соединений.

Переключение на резерв в СЭ, которое предусматривается в оборудовании, выполняется с целью повышения надежности сетевого элемента и сети связи. При нарушении передачи, например, при обрыве линии (по сигналу LOS) или повышенном коэффициенте ошибок, должно быть выполнено переключение сигналов на резервную линию. Дополнительное оборудование в составе СЭ может сохранить трафик в результате защитного переключения. Процедуры управления определены относительно установки резервирования, удаления резервирования, запроса конфигурации и данных о состоянии для существующих решений по резерву, изменений конфигураций резервирования, переключений между рабочими и резервными секциями мультиплексирования или сменными блоками в оборудовании. Резервирование секций и блоков может быть полным (1+1) или частным (1:n), где n - рабочих секций или блоков и 1 резервная секция или блок.

·        Конфигурирование тактовой синхронизации предполагает:

·        конфигурирование источников синхронизации СЭ и сети;

·        конфигурирование тактовых сигналов;

·        конфигурирование внешнего тактового сигнала синхронизации.

·        Конфигурирование производится по показателям качества и приоритетам. Очередность приоритетов устанавливается программно в каждом СЭ.

·        Признаком переключения синхросигналов по приоритету могут служить:

·        потеря сигнала (LOS);

·        потеря цикла (кадра) передачи (LOF);

·        сигнал индикации аварии (AIS).

Для защитных переключений источников синхронизации предусмотрен таймер восстановления синхронизма (от 1 до 60 минут), который возвращает схему синхронизма после срабатывания в исходное положение.

Конфигурирование сети передачи данных DCN (Data Communication Network), которая может создаваться на основе встроенных каналов, выполняется для обеспечения надежности передачи данных СУ. При этом конфигурировании создаются форматы адресов области (домена) управления и дополнительные адреса СЭ.

Обработка аварийных сигналов предполагает различные виды отображения аварий. Аварии индицируются в аппаратуре сетевого элемента светодиодами на панели состояний AIP (Alarm Interface Panel). Аварийные сигналы как уведомления отправляются СУ оператору для идентификации срочности и важности на экране монитора.

В базе данных СУ от СЭ может фиксироваться степень серьезности аварии, список аварийных сигналов, производиться фильтрация аварийных сигналов, подсчитываться число возникших аварийных сигналов, фиксироваться время аварий и т.д.

Контроль функционирования РМ (Performance Monitoring) позволяет оператору СУ следить за качеством работы конкретного СЭ транспортной сети.

В СУ достигается непрерывность сбора статистической информации с последующей аналитической обработкой. Для этого автоматически производится активизация точек контроля или измерений параметров функционирования, опрос этих точек и деактивация.

Контроль функционирования периодичен и информация фиксируется в базе данных (MIB, Management Information Base - база данных управляющей информации) через 15 минут или 24 часа (контроль и фиксация возможны также каждый час, каждые 30 и 45 минут).

3.3 Системы управления оптическими мультисервисными транспортными сетями


Для эффективного управления оптическими сетями связи все поставщики оборудования (мультиплексоров и транспортных платформ) предлагают использование современных средств программного управления, встраиваемого непосредственно в оборудование и в серверные устройства. Совокупность этих средств и устройств управления и каналов передачи данных получила название системы управления. Программные средства разрабатываются для каждого уровня управления (управление СЭ, управления транспортной сетью, управления услугами транспортной сети) и подразделяются на программы “менеджера” и “агента” управления. Программы “менеджера” размещаются в серверах управления. Программы “агента” размещаются в СЭ.

На уровне управления сетевых элементов EML (Element Manager Layer), предназначенном для поддержки работы оборудования, управления загрузкой программного обеспечения, централизованного менеджмента ошибок и сбора данных контроля и измерения характеристик оборудования и сети, используются прямые взаимодействия “агент-менеджер”.

Например, “Менеджер” Alcatel 1353 SH управляет всеми оптическими сетевыми элементами: SDH, DWDM, ATM, IP и любыми транспортными сетями: подводными и наземными, включая проводные и беспроводные системы, может осуществлять управление более чем 100 типами и версиями сетевых элементов. При этом поддерживаются любые интерфейсы управления: Q3/CMIP, SNMP, TL1, CORBA. Для сетей простой конфигурации могут использоваться локальные терминалы управления, например, 1320NX или 1320СТ (рис.6).

Рис.6 Пример подключения терминала управления 1320СТ к мультиплексору SDH через интерфейс Q3

На уровне управления транспортной сетью NML (Network Management Layer) используются интегрированные системы, предназначенные для организации и управления трактами, организуемыми внутри сети (от точки до точки) для внешних клиентов, а также управления сетью в целом. Выполняет все функции, включая такие, как создание, инвентаризация и обслуживание трактов, проведение необходимых расчетов, контроль их качественных характеристик (provisioning, inventory, maintenance, accounting and quality) и т.п.

На уровне NML реализуется ряд возможностей по:

·        дистанционному наблюдению и контролю транспортных сетей;

·        профилактическому обслуживанию, обнаружению и локализации неполадок для оказания поддержки обслуживающему персоналу;

·        централизованному управлению трактов при комплексном учете топологии сети;

·        управлению данными, увязанными с контролем качества предоставляемых услуг;

·        управлению данными, увязанными c инвентаризацией состояния сети с целью планирования дальнейших работ;

·        информации, связанной с предоставлением сетевых услуг;

·        оптимизации капиталовложений на основе использования технологий, допускающих возможность модернизации, а также гибкой и масштабируемой архитектуры сети. Примером такой системы управления может служить Alcatel 1354RM.

Системы управления уровня услуг SML (Service Management Layer) обеспечивают специалистам по планированию и реализации сетей широкий спектр возможностей для определения типа и конфигурации оптической мультисервисной платформы и сетевых топологий. Эти системы получают информацию от систем управления сетью для расчета соединения под услуги пользователю. Они могут формировать запросы ниже лежащим системам сетевого управления по расширению возможностей оптической сети (виртуальной сцепке контейнеров VC-X-Xv или блоков OPUk, наращиванию числа оптических каналов). На уровне управления услугами создается весь набор операторского класса, который необходим для создания транспортной сети, конфигурирования услуг и наблюдения за арендуемыми линиями передачи, услугами виртуальных частных сетей VPN с различным уровнем качества QoS.

Наиболее “продвинутые”, развитые системы управления способны обеспечить операции по планированию и проектированию оптической мультисервисной транспортной сети. К таким системам управления относятся, например, Cisco Transport Planner и Cisco Metro Planner - комплексный инструмент проектирования сетей DWDM и изменения существующих проектов на основе платформ ONS15454 с интегрированной технологией ROADM.

ЗАКЛЮЧЕНИЕ


Подводя итоги учебного проектирования оптической мультисервисной транспортной сети необходимо подчеркнуть перспективные ключевые составляющие процесса.

.        Технологии транспортных сетей продолжают развиваться. Готовятся стандарты: на скоростной режим передачи 100Гбит/с для Ethernet; на скоростной режим передачи 120Гбит/с для OTN-OTH (OТU-4). Внедряется технология квадратурной фазовой манипуляции с двойной поляризацией сигнала (DPQ-PSK, Dual Polarization Quadrature Phase Shift Keying), которая позволяет поддержать высокоскоростные режимы на протяженных участках волоконно-оптических систем передачи. Внедряется активная компенсация дисперсионных искажений в протяженных оптических линиях и упреждающая коррекция ошибок (FEC). Все шире используются рамановские усилители и полностью оптические регенераторы 2R, 3R. Происходит распространение оптических коммутаторов и интеллектуальных реконфигурируемых оптических мультиплексоров IROADM и т.д.

.        Технологии оптических сетей вплотную приблизились к пользовательским терминалам, прежде всего, благодаря технологиям FTTx. При этом в распоряжение пользователя поступает сетевое окончание на скорости от 100Мбит/с до 1000Мбит/с.

.        Все больше возрастает роль пакетной передачи и коммутации (ATM, Ethernet, MPLS, IP) в обеспечении пользователей высококачественными услугами.

.        Всё шире используются системы передачи мультиплексирования с разделением по длине волны (CWDM и DWDM) на различных участках транспортных сетей: от магистрального до доступа.

.        Самое главное, расширяется реальный спектр телекоммуникационных услуг, которые становятся доступными многим пользователям.

.        Заключение: специалисты, успешно освоившие технику и идеологию оптических мультисервисных транспортных сетей, всегда будут востребованы на предприятиях связи.

сетевой синхронизация цифровой оптический

СПИСОК ИСПОЛЬЗОВАННОЙ ЛИТЕРАТУРЫ


1.       <http://www.ptime.ru/syncro.html>

.        Волоконно-оптические сисетмы передачи «Синхронизации и управление в оптических транспортных сетях» <http://ndo.sibsutis.ru/magistr/courses_work/vosp_work/kp_up_t5.htm>

.        Павлов И.П. Оптические транспортные сети SDH на базе оборудования MADM Сети и системы связи <http://www.ccc.ru/magazine/depot/02_01/read.html?0305.htm>

.        Фокин В.Г. Оптические системы передачи и транспортные сети. -М.: Эко-Трендз, 2008.- 288с.

.        Скляров О.К. Волоконно-оптические сети и системы связи. -М.: Солон-пресс, 2004.-261с.

.        Телекоммуникационные системы и сети. Том 3. Мультисервисные сети./Величко В.В, Субботин Е.А., Шувалов В.П., Ярославцев А.Ф./ Учебное пособие УМО.-М.: Горячая линия - Телеком, 2005.-592с.

.        Фокин В.Г. Малинкин В.Б. Технологии транспортных сетей последнего поколения. Учебное пособие УМО. - Новосибирск, СибГУТИ, 2006.-132с.

.        Давыдкин П.Н., Колтунов М.Н., Рыжков А.В. Тактовая сетевая синхронизация. - М.: Эко-Трендз, 2004.-205с.

.        Бакланов И.Г. SDH-NGSDH: практический взгляд на развитие транспортных сетей.-М.: Метротек, 2006.-736с.

Похожие работы на - Синхронизация и управление в оптических транспортных сетях

 

Не нашли материал для своей работы?
Поможем написать уникальную работу
Без плагиата!
Без нейросетей!