Проектирование транспортных сетей электросвязи

  • Вид работы:
    Курсовая работа (т)
  • Предмет:
    Информатика, ВТ, телекоммуникации
  • Язык:
    Русский
    ,
    Формат файла:
    MS Word
    912,25 Кб
  • Опубликовано:
    2015-07-09
Вы можете узнать стоимость помощи в написании студенческой работы.
Помощь в написании работы, которую точно примут!

Проектирование транспортных сетей электросвязи

Содержание

Введение

.        Разработка схемы организации сети

.        Выбор топологии

.        Расчет количества эквивалентных потоков между узлами сети

.        Выбор кабелей между узлами сети

.        Расчет требуемого количества мультиплексоров всех уровней

.        Выбор способов защиты линейных и групповых трактов

.        Выбор типа аппаратуры

.        Выбор конфигурации оборудования

.        Расчет длины регенерационного участка

.        Разработка схемы организации связи

.        Разработка схемы синхронизации и управления сетью

Заключение

Список литературы

Введение

Постоянное увеличение объемов трафика, обусловленное лавинообразным развитием сети Internet, привело к необходимости увеличения пропускной способности каналов передачи данных. На сегодняшний день системы передачи SDH уже используются не только на магистральных направлениях ТфОП, но и на любых уровнях сетевых иерархий, включая метро и места доступа в сеть. При этом оборудование должно быть компактным для установки в любых помещениях и отвечать всем современным требованиям, предъявляемым к оборудованию.

Интерес к технологии SDH среди связистов обусловлен тем, что эта технология пришла на смену методам импульсно-кодовой модуляции РСМ (ИКМ) и плезиохронной цифровой иерархии PDH (ПЦИ) и стала интенсивно внедряться в результате массовой установки цифровых АТС, позволяющих оперировать потоками 2 Мбит/с, и создания региональных сетей SDH.

Преимуществ сети SDH заключается в том, что она может передавать мультиплексированные потоки с большим объемом информации и при этом не требует полного демультиплексирования при выделении каналов на транзитных участках. Плезиохронные системы использовали выравнивающие биты для выравнивания скоростей. При этом терялась информация, которая указывала на начало каждого трибутарного блока низшего порядка. Поэтому для выделения одного трибутарного блока требовалось полное демультиплексирование всего потока, как это показано на рис. 1.1.а.

После выделения трибутарного блока оставшаяся информацияи добавляемая на этом узле, предназначавшаяся для передачи на следующем участке, мультиплексировались снова. Это требовало установки на транзитных станциях пары "мультиплексор-демультиплексор", работающих в непосредственной связи (на жаргоне - "спина к спине", back-to-back).

Рис. 1.

Они были предназначены только для выделения и вставки трибутарных блоков. Такое решение очень удорожало стоимость аппаратуры, особенно в случаях, когда нужно было обслужить потокс преимущественно транзитной нагрузкой и небольшим количеством информации, которая принимается или замещается на данном узле. SDH обеспечивает значительное уменьшение стоимости аппаратуры благодаря установке мультиплексора ввода/вывода - МВВ (Add Drop Multiplexer-ADM), который может "распаковывать" или замещать информацию в потоке без демультиплексирования потока. Работа такого устройства в транзитном режиме показана на рис. Рис 1.1 б. Уменьшение стоимости связано с исключением пары "мультиплексор-демультиплексор", работающей back-to-back. Транспортные сети с использованием SDHМВВ могут быть линейными или кольцевыми. На рис. 1.2 а показано использование SDHМВВ в линейной сети для связи между различными SDH-терминалами (на рисунке они обозначены цифрами 1, 2, 3, 4). Эти терминалы могут быть частями другого оборудования. Например, они могут быть оборудованием интерфейса маршрутизаторов другой сети. На рис.1,2  <#"803732.files/image002.gif">

Рисунок 2

На рисунке предполагается, что поставленный в каждом узле SDHМВВ выделяет информацию, предназначенную данному узлу, и вставляет другую по направлению к соседнему узлу. Таким образом, мультиплексоры ввода/вывода позволяют создавать виртуальные топологии сетей.

Указанные соображения говорят о том, что синхронные сети имеют ряд преимуществ перед асинхронными, основные из них следующие:

- упрощение сети;

надежность и самовосстанавливаемость сети;

гибкость управления сетью;

- выделение полосы пропускания по требованию;

- универсальность применения;

простота наращивания мощности;

2. Техническое задание на проектирование сети

·        предполагается построить сеть SDH

·        в районах развертывания сети SDH предполагается ввести в действие 6 цифровых АТС;

·        предлагается связать все станции в единую сеть, используя технологию SDH;

·        Разработать схему организации сети. Рассчитать количество компонентных потоков между узлами. Обосновать выбор скоростей передачи агрегатных потоков. Выбрать типы мультиплексоров, кросс-коннектов и линейного оборудования в узлах. Выбрать оптический кабель.

·        Выбрать схемы защиты в сети и обосновать их.

·        Разработать схему сети синхронизации.

·        Выбрать оборудование SDH для реализации проектируемой сети, используя продукцию любой фирмы-изготовителя. Привести комплектацию оборудования.

·        Рассчитать длину регенерационного участка с учетом данных аппаратуры и кабеля.

Таблица 1. Расстояние между узлами в километрах.

Расстояние между узлами в километрах

Вариант

А - Б

А - Е

Б - В

В - Г

Г - Д

Д - Е

1

64

17

15

66

84

49

2

63

16

14

65

86

48

3

66

18

16

67

87

50

4

65

15

17

68

83

47

5

62

18

16

65

88

51

6

67

19

18

69

82

46

7

61

21

19

64

89

45

8

68

22

20

63

81

44

9

60

23

13

62

80

43

0

65

20

16

67

85

50


Таблица 2. Ориентировочные функции в узлах

Вариант

Узел

Мультиплексор ввода-вывода (ADM)

1-10

А

Да


Б

Да


В

Да


Г

Да


Д

Да


Е

Да


Таблица 3. Необходимое число цифровых потоков проектируемой сети.

Вариант

Цифровые потоки

Направление передачи



А - Г

А - В

А - Д

Б - В

В - Е

В - Д

1-5

Е1

10

8

16

10

6

20


Е3




2


2


Е4





1



STM-1


1






.       
Разработка схемы организации сети

В соответствии с исходными данными таблица 1, строим схему организации сети.

Рис. 1.1. Структурная схема телекоммуникационной транспортной сети

Для того чтобы спроектировать сеть в целом нужно пройти несколько этапов, на каждом из которых решается та или иная функциональная задача, поставленная в техническом задании на стадии проектирования. Первой из них является задача выбора топологии сети. Для данного курсового проекта выберем топологию ячеистая сеть (Рис.1). Ячеистая топология может иметь вид, приведенный на рис.1. Ячеистая сеть состоит из двух квадратных ячеек и содержит шесть узлов. Каждый из них на практике соответствует мультиплексору уровня STM-N, установленному на цифровой АТС.

. Виды топологии сети

Одной из основных задач проектирования является правильный выбор

топологии сети. Стандартные базовые топологии, получившие наибольшее распространение при организации связи, состоят из следующего набора:

топология "точка-точка";

топология "последовательная линейная цепь";

топология "звезда";

топология "кольцо".

Аппаратура плезиохронной цифровой иерархии (ПЦИ) используется в основном в сетевых структурах типа "точка-точка", поскольку реализация с помощью такой аппаратуры более надежных кольцевых, разветвленных и других сетей оказывалась слишком, дорогой и сложной в управлении.

Аппаратура синхронной цифровой иерархии (СЦИ) может применяться во всех структурах, где используется и аппаратура ПЦИ, однако присущие

СЦИ особенности делают ее особенно привлекательной при реализации высоконадежных управляемых сетевых структур. Особенности базовых топологий реальных сетей СЦИ заключаются в следующем. Топология "точка-точка". Сеть топологии "точка-точка" (рис. 2.1) наиболее простая и используется при передаче больших цифровых потоков по высокоскоростным магистральным каналам. Она может быть реализована с помощью терминальных мультиплексоров (ТМ), как по схеме без резервирования канала приема/передачи, так и по схеме со 100% резервированием типа 1+1, использующей основной и резервный электрический или оптический агрегатные выходы (каналы приема/передачи). При выходе из строя основного канала, сеть в считанные десятки миллисекунд может автоматически перейти на резервный.

Топология "последовательная линейная цепь". Сеть топологии "последовательная линейная цепь используется в тех случаях, когда в ряде пунктов необходимо осуществить ввод-вывод цифровых потоков. Она реализуется с помощью терминальных (оконечных) мультиплексоров и мультиплексоров ввода-вывода. В этом случае мультиплексоры промежуточного пункта снабжаются двумя блоками STM-N, а в мультиплексорах оконечных пунктов устанавливается только по одному такому блоку. Данная сеть может быть представлена в виде простой последовательной линейной цепи без резервирования, либо более сложной цепью с резервированием типа 1+1. Последний вариант топологии называют уплощенным кольцом Топология "звезда". В сети топологии "звезда" один из мультиплексоров выполняет функции концентратора, у которого часть трафика передается в магистраль, а другая часть распределена между мультиплексорами удаленных узлов. Такой мультиплексор обладает функциями мультиплексора ввода-вывода и системы кроссовой коммутации. Необходимо отметить, что при общем стандартном наборе функций оборудования СЦИ, определяемом Рекомендациями ITU-T, мультиплексоры, выпускаемые конкретными производителями оборудования, могут не иметь полный набор вышеперечисленных возможностей, либо иметь дополнительные.

Топология "кольцо". Данная топология является характерной для сетей СЦИ. Основное преимущество кольцевой топологии состоит в легкости организации защиты 1+1, благодаря наличию в мультиплексорах SMUX двух пар (основной и резервный) оптических агрегатных выходов: восток-запад, дающих возможность формирования двойного кольца со встречными потоками.

Схема организации потоков в кольце может быть либо двухволоконной (как однонаправленной, так и двунаправленной с защитой потоков по типу 1+1 или без нее), либо четырехволоконной (как правило, двунаправленной, позволяющей организовать различные варианты защиты потоков данных). Несмотря на более высокую стоимость четырехволоконного варианта он стал использоваться в последнее время, так как обеспечивает более высокую надежность. При организации сетей SDH наиболее часто используется топология типа “кольцо”, при которой достигается не только высокая надежность ее функционирования, но и возможность сохранения или восстановления (за очень короткое время в десятки миллисекунд) работоспособности сети даже в случае отказа одного из ее элементов или среды передачи - кабеля. Такие сети называют самовосстанавливающиеся или "самозалечивающиеся". Топология типа "кольцо" может быть организовано с помощью двух волокон (топология "сдвоенное кольцо") или четырех волокон (два сдвоенных кольца). Защита маршрута в сдвоенном кольце, которая соответствует типу 1+1, может быть организована двумя путями.

Рис 2.1 Топология "точка-точка"

Рис. 2.2. Топология "последовательная линейная цепь", реализованная на ТМ и TDM.

Рис. 2.3. Топология "последовательная линейная цепь" типа "упрощённое кольцо" с защитой 1+1.

Рис. 2.4 Топология "звезда" c мультиплексором в качестве концентратора.

 

Рис. 2.5 Топология "кольцо" c защитой 1+1.

3. Расчет количества эквивалентных потоков Е1 между узлами сети

Рассчитаем эквивалентное число первичных цифровых потоков в соответствии с техническим заданием (таблица 3).

Эквивалентное число первичных 2 М потоков (Е1) определяется из соотношений:

.        цифровой поток со скоростью 8 Мбит/с (Е2) эквивалентен четырем потокам со скоростью 2 Мбит/с (4x2 М);

.        цифровой поток со скоростью 34 Мбит/с (Е3) эквивалентен 16-ти потокам со скоростью 2 Мбит;

.        цифровой поток со скоростью 140 Мбит/с (Е4) эквивалентен 64-м потокам со скоростью 2 Мбит.

.        STM-1 эквивалентен 63-м потокам со скоростью 2 Мбит.

Результаты расчетов числа 2 М потоков по направлениям занесите в Таблица 3.1

Таблица 3.1. Эквивалентное число первичных цифровых потоков

Локальные узлы

А

Б

В

Г

Д

Е

А







Б







В







Г







Д







E







Сумма








Определите емкости линейных трактов между сетевыми узлами проектируемой транспортной сети.

Топология сети с учетом числа потоков Е1 в заданных направлениях передачи представьте как на рис. 3.1.

Результаты расчетов занесите таблица 3.2.

Таблица 3.2. Количество эквивалентных потоков Е1 по направлениям

 Участки Направления

А - Б

Б - В

В - Г

Г - Д

Д - Е

E - A


Количество эквивалентных потоков Е1

А - Г







А - В







А - Д







Б - В







В - Е







В - Д







Сумма








Рисунок 3.1

. Выбор кабелей между узлами сети

Емкость канала связи и дальность передачи сигнала зависят от типа применяемых в кабеле волокон. Для передачи информации на большое расстояние от 1 до 100 км и дальше, используют одномодовое волокно, с различными характеристиками. Для малых расстояний и некритичных по скорости и объему передаваемой информации задач используют многомодовые оптические волокна.

Количество волокон в кабеле может быть различно. Число волокон в кабеле должно быть не менее 4х. Общее число волокон определяется исходя из емкости цифровых линейных трактов, необходимости их резервирования, а также иными соображениями.

Оптический кабель может иметь разную конструкцию, предусматривающую его прокладку в различных условиях. Оптический кабель, предназначенный для внешней прокладки, обязан иметь температурный диапазон соответствующий месту его пролегания. Как правило, рабочий температурный диапазон оставляет . Оболочка кабеля должна обеспечивать защиту от попадания влаги внутрь кабеля. Оптический кабель для прокладки в открытом грунте имеет более мощную броню в виде повива из стальной проволоки.

При выборе оптического кабеля следует, разумеется, учитывать его стоимость, так как примерно 80% всех капитальных затрат на организацию сети связи необходимы для приобретения кабеля и строительство кабельных магистралей. С учетом вышеизложенного тип кабеля выбираем для прокладки в грунт одномодовый. Для участков А-Б, В-Г, Г-Д, Д-E с рабочей длиной волны . Потери в оптическом волокне при этом малы , что позволяет организовать связь на значительные расстояния (порядка 100 км).  Для участков А-E и Б-В с рабочей длиной волны . Потери в оптическом волокне . Рабочая длина волны позволит избежать установки аттенюаторов на коротких участках, а так же уменьшит затраты на приобретение кабеля и оптические интерфейсы мультиплексоров.

Основные характеристики стандартного одномодового оптического волокна (рекомендация МСЭ-Т G.652) приведены на рис. 4.1.

Рис. 4.1. Основные характеристики стандартного одномодового оптического волокна (рекомендация МСЭ-Т G.652)

Используем продукцию фирму ЗАО «ОКС 01» г. Санкт-Петербург кабель марки ОАС.

Рис. 4.2. Конструкция кабеля марки ОАС ЗАО «Окс-01»

Рис. 4.3. Назначение и основные технические параметры

Рис. 4.4. Расшифровка кодового обозначения

Выбираем стандартный одномодовый кабель марки ОАС-008-E-04-02-20,0/1,0-X-H с 8 оптическими волокнами с рабочей длиной волны  и  для длинных и коротких участков сети соответственно.

5. Расчет требуемого количества мультиплексоров всех уровней

Топология «кольцо» предполагает использование во всех узлах кольца мультиплексоров ввода-вывода ADM.

Мультиплексор ввода-вывода ADM (Add/Drop Multiplexor) может иметь на входе тот же набор трибов, что и терминальный мультиплексор, он позволяет вводить/выводить соответствующие им каналы. Дополнительно к возможностям коммутации, обеспечиваемым ТМ, мультиплексор ADM позволяет осуществлять сквозную коммутацию выходных потоков в обоих направлениях. ADM также позволяет осуществлять замыкание канала приема на канал передачи на обоих сторонах (восточной и западной) в случае выхода из строя одного из направлений. Наконец, он позволяет (в случае аварийного выхода из строя мультиплексора) пропускать (в аварийном пассивном режиме) основной оптический поток в обход мультиплексора.

Рис. 5.1.

Уровень STM для всех мультиплексоров ADM в кольце определяется максимальным потоком на одном из его участков.

В нашем случае максимальный трафик на участке В-Г равен 148Е1. STM-4 позволяет организовать передачу до 252 потоков Е1.

Таблица 5.1. Системы SDH

Тип системы SDH

STM-1

STM-4

STM-16

STM-64

Количество основных цифровых каналов

1920

7680

30720

122880

Количество потоков Е1

63

252

1008

4032

Скорость, Мбит/с

155,520

622,080

2488,320

9953,280







Итак, предварительно, в каждом из пунктов должны быть установлены мультиплексоры ADM уровня STM-4.

Определим оптические интерфейсы на каждом из участков.

Таблица 5.2. Классификация стандартных оптических интерфейсов

Использование

Внутри станции

Между станциями



Короткая секция

Длинная секция

Номинальная длина волны источника, нм

1310

1310

1550

1310

1550

Тип волокна

Rec. G.652

Rec. G.652

Rec. G.652

Rec. G.652

Rec. G.652 Rec. G.654

Rec. G.653

Расстояние, км

≤ 2

~ 15

~ 40

~ 80

Уровни STM

STM-1

I-1

S-1.1

S-l.2

L-1.1

L-1.2

L-1.3


STM-4

I-4

S-4.1

S-4.2

L-4.1

L-4.2

L-4.3


STM-16

I-16

S-16.1

S-16.2

L-16.1

L-16.2

L-16.3


На коротких участках В-Б и А-Е используем оптический интерфейс S-4.1.

В остальных случаях (участки А-Б, В-Г, Г-Д, Д-E) - оптический интерфейс L-4.2.

Предварительно можно предположить, что на участках А-E и Д-Г потребуется установка регенераторов. Окончательный вывод о необходимости установки регенераторов будет сделан после расчета длины регенерационного участка.

Окончательный выбор уровня мультиплексоров в кольце, а так же оптических интерфейсов произведем после определения метода защиты.

. Выбор способов защиты линейных и групповых трактов

Кольцевая топология широко используется для построения транспортных сетей местного и регионального масштаба. Защита в кольцевых сетях - автоматического типа (сети с самовосстановлением self-healing) с активизацией переключений в случаях повреждения и случайного понижения качества сигнала.

Возможности ADM позволяют образовать кольцевые самовосстанавливающиеся сети двух типов:

·              однонаправленные, когда во время нормального осуществления связи между узлами А и В, сигналы от А к В и от В к А следуют по кольцу в одном направлении.

·              двунаправленные, когда во время нормального осуществления связи между двумя узлами А и В, сигнал транспортного потока от А к В протекает по кольцу в направлении противоположном относительно сигнала В к А.

В большинстве случаев двунаправленное кольцо сети оказывается более экономичным, поскольку требует меньшей пропускной способности. Это объясняется тем, что для сигналов, передаваемых на различных пересекающихся участках кольцевой сети, используют одни и те же оптические волокна (как в основном, так и в аварийном режиме работы). В то же время однонаправленное кольцо сети проще в реализации.

Двунаправленное кольцо может быть реализовано в двух вариантах:

·              двухволоконное кольцо

·              четырехволоконное кольцо.

Двунаправленное 2-х волоконное кольцо с переключением секции мультиплексирования, где каждая секция кольца содержит 2 волокна (одно для передачи ТХ и одно для приема RX), то в каждом волокне половина каналов будет использоваться в рабочем режиме, в то время как другая половина будет использоваться как резерв. Т.е. при выбранном способе защиты, для окончательного определения уровня STM в кольце, максимальное количество потоков Е1 необходимо удвоить.

х 2 = 296Е1, следовательно, уровень STM в кольце изменился до STM-16. При этом, очевидно, что часть виртуальных контейнеров в STM-16 может быть необорудованными. Так же необходимо использовать соответствующие оптические интерфейсы S-16.1, L-16.2.

Двунаправленное 4-х волоконное кольцо с переключением секции мультиплексирования, где в каждой секции кольца - 4 волокна (два для передачи ТХ и два для приема RX); рабочие и резервные потоки направлены по двум разным волокнам, как в направлении передачи ТХ, так и в направлении приема RX. В этом случае все соседние сетевые элементы в кольце должны соединяться двумя кабельными линиями с использованием двух пар волокон в каждой. Аппаратура сетевых элементов должна оснащаться четырьмя агрегатными интерфейсами. Данный вид защиты позволит сохранить уровень STM4, при этом очевидно, расходы на кабель значительно увеличатся, а так же установка мультиплексоров с 4 оптическими интерфейсами потребует дополнительных затрат. Четырёхволоконные кольцевые сети сохранят свою работоспособность и при двойном повреждении любой из секций мультиплексирования MS, т.е. являются более надежными для защиты больших информационных потоков.

С экономической точки зрения, с учетом заданного трафика разрабатываемой сети, целесообразно использовать метод защиты 2F MS SPRING.

С учетом выбранного способа защиты 2F MS SPRING, во всех узлах сети необходимо установить мультиплексоры ADM STM-16, с 2 оптическими интерфейсами в каждом (S-16.1 и/или L-16.2 для коротких и длинных линий соответственно в зависимости от участка сети).

. Выбор типа аппаратуры

Аппаратуру и оборудование для систем передачи SDH предлагают многие известные фирмы-изготовители, такие как «ECI Telecom», «Alcatel», «Siemens», «Nortel», «NEC» и другие. Практически все производители представлены на российском рынке. Для лучшего использования и обслуживания желательно выбрать аппаратуру одной фирмы.

Большинство из представленных на рынке телекоммуникационного оборудования мультиплексоров имеют гибкие возможности конфигурирования и позволяют организовать необходимый тип мультиплексора в зависимости от назначения, защиту не только линейных трактов, но и аппаратных средств.

Изменение конфигурации синхронного мультиплексора осуществляется путём установки или удаления сменных модулей и переконфигурирования с помощью интерфейсов управления.

В силу высокого уровня стандартизации технологии SDH мультиплексоры в значительной степени унифицированы по основным параметрам.

Остановим свой выбор на продукции Alcatel мультиплексоре 1661SM-C. Внешний вид мультиплексора 1661SM-C представлен на рисунке 7.1.

Рис. 7.1. Внешний вид мультиплексора 1661SM-C

Мультиплексор Alcatel 1661SM-C является компактным мультиплексором SDH уровня STM-16, основанным на алгоритме мультиплексирования стандарта G.707. Данный мультиплексор является модернизацией мультиплексора STM-4 1651 SM до уровня STM-16. Возможно использование данной системы в режимах мультиплексора ввода-вывода, оконечного мультиплексора, двойного оконечного мультиплексора, регенератора (поддерживается не полностью). Поддерживается использование полки расширения 1641 SM-D. Система совместима с оптическими усилителями 1610 OA и 1664 OA, при этом аварии усилителя обрабатываются мультиплексором.

Поддерживаются интерфейсы управления Q2 (не во всех версиях), Q3, F.

Рис. 7.2. Структурная схема

Основным отличием мультиплексоров 1651SM и 1661SM-C от 1641SM и 1651SM-C является наличие в схеме выделенной коммутационной матрицы. Соединение матрицы с агрегатными и компонентными портами производится с помощью четырёхпроводной шины со скоростью передачи 38.88 Мбит/с.

Агрегатные блоки выполняют следующие функции:синхронный физический интерфейс. мультиплексор, выполняет последовательно-параллельное преобразование STM-4(16) в STM-1 и наоборот. окончание регенерационной секции, управляет дополнительными байтами RSOH. - окончание секции мультиплексирования, управляет байтами MSOH. - адаптация секции, обрабатывает указатель AUG для синхронизации линии и системы. коммутация трактов высокого порядка, позволяет выбирать и подключать потоки AU-4 от коммутационной матрицы или агрегатного порта противоположного направления для размещения в STM-4 (16). При использовании полной матрицы коммутация ВСЕХ AU-4 происходит через матрицу, т.е. часть функций HPC выполняется матрицей. Полная матрица позволяет осуществлять ЛЮБЫЕ соединения между агрегатными и компонентными портами (в том числе, агрегатный-агрегатный и компонентный-компонентный).

Модули компонентных портов выполняют следующие функции:физический интерфейс.размещает/извлекает плезиохронный сигнал в/из контейнера (С-12, С-3, С-4). LPT- окончание тракта низкого уровня, структурирует виртуальный контейнер (VC-12, VC-3, VC-4). адаптация тракта верхнего уровня, обрабатывает указатель TU (TU-12, TU-3). LPC- коммутация трактов низкого порядка, осуществляет коммутацию любой позиции STM-1 через коммутационную матрицу. (SA)- генератор указателя секции, вводит фиксированиие значение указателя AUOH. обрабатывает данные AU-4. PPS - выбирает между основными/резервными трактами и стороной восток/запад.

Блок трансмультиплексора содержит плезиохронный мультиплексор, формирующий 16 потоков 2 Мбит/с из сигнала 34 Мбит/с. Затем полученные 2 Мбит/с потоки вместе с ещё пятью потоками 2 Мбит/с размещаются как обычно.

Модуль оптических компонентных потоков 155 Мбит/с выполняет следующие функции: - синхронный физический интерфейс. RST- управляет первыми тремя строками SOH. - окончание секции мультиплексирования, управляет последними пятью байтами SOH. - обрабатывает указатель AU-4. - окончание тракта высокого порядка, структурирует VC-4. соединение тракта низкого порядка, осуществляет коммутацию позиций STM-1 и обеспечивает соединения через матрицу коммутации.

Блок ввода/вывода потоков 1631 FOX CO позволяет ввести/вывести три потока STM-0. Выполняются следующие функции: - обеспечивает взаимодействие электрических/оптических сигналов с внешним источником. Со стороны приёма извлекает из сигнала импульсы тактирования. - окончание регенерационной секции, управляет первыми тремя строками SOH. - оконечная нагрузка секции мультиплексирования, управляет последними пятью стоками SOH. - адаптация секции мультиплексирования, обрабатывает AU. - окончание тракта высокого порядка, управляет в направлении передачи служебным байтом(POH), структурируя виртуальный котейнер VC-3. - адаптация тракта высокого порядка, синхронизирует в направлении приёма указатель AU-3 и указатели TU-12, которые могут находиться в контейнере VC-3. LPC- коммутация трактов низкого порядка, выполняет подключение любой позиции кадра STM-0, обеспечивая взаимодействие агрегатных блоков. - защита секции мультиплексирования, выбирает основной/резервный модуль.

Основным преимуществом наличия коммутационной матрицы, является гибкая коммутация потоков и упрощение карт агрегатных портов.

Рис. 7.3. Расположение модулей

Карта агрегатного интерфейса STM-16 (слоты 16+17, 20+21) существуют в двух версиях: первое и второе поколение.

Характеристики используемых оптических интерфейсов:

Интерфейс S-16.1 (разъёмы DIN, SC-PC, FC-PC).

Рабочий диапазон: 1290-1330 нм

В точке S.

Тип лазера: SLM

Максимальная ширина спектра на уровне -20 дБ: 1< нм

Минимальный коэффициент подавления боковой моды: 30 дБ

Максимальная средняя излучаемая мощность: 0 дБм

Минимальная средняя излучаемая мощность: -4 дБм

Минимальный коэффициент затухания: 10 дБ

Между S и R.

Затухание: 0-13 дБ

Дисперсия: пс/нм

Минимальные потери кабеля в точке S, включая все соединители: 24 дБ

Максимальная дискретная отражательная способность между S и R: -27 дБ

В точке R.

Минимальная чувствительность: -18 дБм

Максимальная перегрузка: 0 дБм

Максимальные потери после точки R: 1 дБ

Максимальная отражательная способность приёмника в точке R: -27 дБ

Интерфейс L-16.2 HE1 (разъёмы DIN, FC-PC).

Рабочий диапазон: 1500-1580 нм

В точке S.

Тип лазера: SLM

Максимальная ширина спектра на уровне -20 дБ: <1 нм

Минимальный коэффициент подавления боковой моды: 30 дБ

Максимальная излучаемая мощность: +2 дБм

Минимальная излучаемая мощность: -2 дБм

Минимальный коэффициент затухания: 8.2 дБ

Между S и R.

Затухание: 9-24 дБ

Дисперсия: 1600 пс/нм

Минимальные потери кабеля в точке S, включая все соединители: 24 дБ

Максимальная дискретная отражательная способность между S и R: -27 дБ

В точке R.

Минимальная чувствительность: -28 дБм

Максимальная перегрузка: -8 дБм

Максимальные потери после точки R: 2 дБ

Максимальная отражательная способность приёмника в точке R: -27 дБ

Карта коммутационной матрицы (основная - слот 6, резервная - слот 7). Возможно использование одного из двух вариантов: полная матрица (соединения на уровне VC-12, любая коммутация), соединительная плата (коммутация на уровне VC-4 в картах агрегатных портов, соединения портов: агрегатный-агрегатный, компонентный-агрегатный, используется только с компонентными портами STM-1 и 140 Мбит/с).

При резервировании карт компонентных потоков 1+N слоты 1, 2, 3, 4, 8, 9, 10, 11 предназначены для рабочих карт компонентных потоков, слоты 5 и 12 - для резервных (каждый для своей группы). При резервировании 1+1 блоки разбиваются на пары стоящие рядом (1+2, 3+4, 8+9,10+11), карта с большим номером является резервной; в этом случае слоты 5 и 12 не используются. Возможно разное конфигурирование групп (в одной 1+1, в другой 1+N)

Карты 21х2 Мбит/с размещаются только в слотах 1, 2, 3 и 5 (резервная). Ввод/вывод более 63 потоков производится с помощью полки расширения 1641 SM-D. (HDB3, амплитуда 3 В (пиковое), 75 или 120 Ом, ослабление сигнала 0-6 дБ на 1 МГц).

Карта компонентных потоков 3х34 Мбит/с (резерв1+ N, 1+1, HDB3, амплитуда 1 В, 75 Ом, ослабление сигнала 0-12.7 дБ на 1 МГц).

Карта компонентных потоков 3х45 Мбит/с (резерв 1+N, 1+1).

Карта трансмультиплексора 1х34 Мбит/с + 5х2 Мбит/с (резерв 1+N, 1+1).

Карта компонентных потоков 1х 140/155(электрический) Мбит/с (резерв 1+N, 1+1; CMI, ослабление сигнала 0-12.7 дБ на 70 или 78 МГц соответственно).

Карта компонентных потоков 1х155 (оптический) Мбит/с (резерв не обеспечивается).

Блок синхрогенератора (CRU) основной - слот 19, резервный - слот 18. Существует две версии: обычный (стабильность 1Е-6) и улучшенный (стабильность 0.37Е-6).

Блок доступа к заголовкам AUX/EOW (слот 15, не резервируется). Версия WIDE NETWORK обеспечивает транзит цифрового речевого сигнала между агрегатными портами, версия EXTENSION обеспечивает подключение телефонного аппарата.

Контроллер оборудования (слот 22, не резервируется). Обеспечивает управление мультиплексором, полкой расширения, контроль оптического усилителя. Подключение к сети TMN через интерфейсы Q3, F, Q2 (есть не во всех версиях мультиплексора).

Блок шины Futurebus (слот 14, не резервируется), используется при подключении полки расширения для передачи информации управления и контроля.

Защита.

Обеспечивается защита блоков мультиплексора (EPS). Для компонентных потоков защита 1+N или 1+1, переключение обратимое (при замене неисправного блока или возврате характеристик блока в пределы нормы происходит переключение с блока защиты на рабочий блок). Агрегатные порты STM-16 не защищаются на уровне блоков. Блоки коммутационных матриц и блоки синхрогенераторов защищены 1+1, переключение необратимое (обратное переключение с блока защиты на рабочий - принудительное).

Защита линии - однонаправленная MSP.

Защита трактов - SNCP (обратимая и необратимая, время восстановления в обратимом режиме 5 минут). Структура защиты - однонаправленное двухволоконное кольцо. Переключение автоматическое (контроль тракта на уровне TU-12, TU-3 или VC-4). Возможно использование метода drop-and-continue для защиты сложных ячеистых сетей. В этом случае между подсетями должно быть не менее двух общих точек.

Защита трактов 2F-MS-SPRING. Двухволоконное двунаправленное кольцо. Половина ёмкости кольца отводится под резерв, в резервной полосе может передаваться низкоприоритетный трафик, отбрасываемый при аварии.

Синхронизация.

Блок синхрогенератора позволяет подключать следующие сигналы внешней синхронизации: тактовые частоты компонентных потоков 2 Мбит/с (Т2), тактовая частота от агрегатных портов или компонентных потоков STM (T1), тактовая частота 2048 кГц от внешнего генератора (Т3). Суммарное количество используемых источников синхросигнала не более шести. Стабильность частоты в режиме удержания 1Е-6 (0.37Е-6 для блока с термостабилизацией), в режиме автогенерации: 4.6Е-6.

Управление.

Управление блоками мультиплексора осуществляет системный контроллер при помощи контроллеров плат, расположенных в каждом блоке оборудования. Управление и мониторинг сигналов от полки расширения осуществляется через шину Futurebus (IECB). Подключение к сети TMN через интерфейсы QB3 и F (некоторые версии поддерживают QB2). Подключение Q3 осуществляется при помощи AUI и сети Ethernet 10Base2. Интерфейс F реализован в виде порта RS-232C.

. Выбор конфигурации оборудования

В результате конфигурации, мультиплексор содержит основные и сменные блоки. На их основе производится комплектация оборудования.

Т.к. во всех узлах устанавливаются мультиплексоры ADM STM-16, конфигурирование сводится к выбору агрегатных оптических интерфейсов (для обеспечения защиты 2F MS SPRING достаточно 2х агрегатных портов) и трибутарных интерфейсов.

Все мультиплексоры должны содержать основные блоки:

Карта коммутационной матрицы (основная - слот 6, резервная - слот 7) полная матрица (соединения на уровне VC-12, любая коммутация)

Блок синхрогенератора (CRU) основной - слот 19, резервный - слот 18 (стабильность 0.37Е-6)

Блок доступа к заголовкам AUX/EOW (слот 15, не резервируется). Версия WIDE NETWORK обеспечивает транзит цифрового речевого сигнала между агрегатными портами, версия EXTENSION обеспечивает подключение телефонного аппарата.

Контроллер оборудования (слот 22, не резервируется). Обеспечивает управление мультиплексором, полкой расширения, контроль оптического усилителя.

Блок питания

Состав сменных блоков в узлах без учета резервирования (минимальный набор):

Узел А:

Ввод/вывод потоков А-В, А-Г, А-Д:

Е1, 1STM-1

Транзитные потоки отсутствуют.

Агрегатные порты:

Карта агрегатного интерфейса STM-16 S-16.1 - 1шт. (направление А-Е) - слот 17

Карта агрегатного интерфейса STM-16 L-16.2 - 1шт. (направление А-Б) - слот 21

Компонентные интерфейсы:

Карта компонентных потоков 21х2 Мбит/с - 2шт. - слот 1, 2

Карта компонентных потоков 1х155 (оптический) Мбит/с (резерв не обеспечивается).

Узел Б:

Ввод/вывод потоков Б-В:

12Е1, 2Е3

Транзитные потоки А-В, А-Г, А-Д:

Е1, 1STM-1

Агрегатные порты:

Карта агрегатного интерфейса STM-16 S-16.1 - 1шт. (направление Б-В) - слот 17

Карта агрегатного интерфейса STM-16 L-16.2 - 1шт. (направление Б-А) - слот 21

Компонентные интерфейсы:

Карта компонентных потоков 21х2 Мбит/с - 3шт. - слот 1, 2, 3

Карта компонентных потоков 3х34 Мбит/с - 1шт. - слот 8

Карта компонентных потоков 1х155 (оптический) Мбит/с - слот9

Узел В:

Ввод/вывод потоков Б-В, А-В, В-Д, В-Е:

Е1, 4Е3, 1Е4, 1STM-1

Транзитные потоки А-Г, А-Д:

Е1

Агрегатные порты:

Карта агрегатного интерфейса STM-16 S-16.1 - 1шт. (направление Б-В) - слот 17

Карта агрегатного интерфейса STM-16 L-16.2 - 1шт. (направление В-Г) - слот 21

Компонентные интерфейсы:

Карта компонентных потоков 21х2 Мбит/с - 4шт. - слот 1, 2, 3 (слот 1 на полке расширения 1641 SM-D)

Блок шины Futurebus (слот 14, не резервируется), используется при подключении полки расширения для передачи информации управления и контроля.

Карта компонентных потоков 3х34 Мбит/с - 2шт. - слот 8, 9

Карта компонентных потоков 1х155 (оптический) Мбит/с - слот 10

Узел Г:

Ввод/вывод потоков А-Г:

Е1

Транзитные потоки А-Д, В-Д, В-Е:

Е1, 2Е3, 1Е4

Агрегатные порты:

Карта агрегатного интерфейса STM-16 L-16.2 - 2шт. - слот 17, 21

Компонентные интерфейсы:

Карта компонентных потоков 21х2 Мбит/с - 3шт. - слот 1, 2, 3

Карта компонентных потоков 3х34 Мбит/с - 1шт. - слот 8

Карта компонентных потоков 1х 140/155(электрический) Мбит/с - 1шт. - слот 9

Узел Д:

Ввод/вывод потоков А-Д, В-Д:

Е1, 2Е3

Транзитные потоки В-Е:

Е1, 1Е4

Агрегатные порты:

Карта агрегатного интерфейса STM-16 L-16.2 - 2шт. - слот 17, 21

Компонентные интерфейсы:

Карта компонентных потоков 21х2 Мбит/с - 2шт. - слот 1, 2

Карта компонентных потоков 3х34 Мбит/с - 1шт. - слот 8

Карта компонентных потоков 1х 140/155(электрический) Мбит/с - 1шт. - слот 9

Узел Е:

Ввод/вывод потоков В-Е: 6Е1, 1Е4

Транзитные потоки отсутствуют.

Агрегатные порты:

Карта агрегатного интерфейса STM-16 S-16.1 - 1шт. (направление Е-А) - слот 17

Карта агрегатного интерфейса STM-16 L-16.2 - 1шт. (направление Е-Д) - слот 21

Компонентные интерфейсы:

Карта компонентных потоков 21х2 Мбит/с - 1шт. - слот 1

Карта компонентных потоков 1х 140/155(электрический) Мбит/с - 1шт. - слот 8

При резервировании карт компонентных потоков 1+N слоты 1, 2, 3, 4, 8, 9, 10, 11 предназначены для рабочих карт компонентных потоков, слоты 5 и 12 - для резервных (каждый для своей группы). При резервировании 1+1 блоки разбиваются на пары стоящие рядом (1+2, 3+4, 8+9,10+11), карта с большим номером является резервной; в этом случае слоты 5 и 12 не используются. Возможно разное конфигурирование групп (в одной 1+1, в другой 1+N)

. Расчет длины регенерационного участка

Определение длины участка регенерации является важной составной частью проектирования линейного тракта ВОСП. После выбора уровня интерфейса системы передачи и типа оптического кабеля можно определить длину регенерационного участка для данного интерфейса.

По мере распространения сигнала по оптическому кабелю, с одной стороны происходит его ослабление, а с другой увеличение дисперсии. Это ведет к ограничению пропускной способности ОК. При проектировании ВОЛС должны рассчитываться отдельно длина участка регенерации по затуханию и длина участка регенерации по широкополосности , так как причины, ограничивающие предельные значения и  независимы.

Рассчитаем длину регенерационного участка для используемых интерфейсов оборудования уровня STM-16.

Длина регенерационного участка (РУ) определяется двумя основными параметрами передачи: затуханием и дисперсией информационных сигналов. Для оценки величины длины участка регенерации могут быть использованы выражения:

;

,

где: - максимальная проектная длина участка регенерации;

 - минимальная проектная длина участка регенерации;

 - максимальное значение перекрываемого затухания аппаратуры, обеспечивающее к концу срока службы значение коэффициента ошибок не более 10-10;

- минимальное значение перекрываемого затухания аппаратуры, обеспечивающее значение коэффициента ошибок не более 10-10;

- среднее значение затухания мощности оптического излучения на стыке между строительными длинами кабеля на участке (0,04 дБ/км);

 - среднее значение строительной длины на участке регенерации (4 км);

- затухание мощности оптического излучения разъемного оптического соединителя (0,1 дБ);

- затухание оптического кабеля;- число разъемных оптических соединителей на участке регенерации 2 шт.;

М - системный запас ВОЛП по кабелю на участке регенерации (2÷6 дБ).

По широкополосности:

,

где:  - результирующая дисперсия одномодового оптического волокна ;

- ширина спектра источника излучения на уровне мощности, равной половине максимальной ( ширины спектра одномодовых лазеров Dl, которая указывается для уровня - 20дБм от максимума излучаемой мощности.), нм;

В - широкополосность цифровых сигналов, передаваемых по оптическому тракту, МГц.

Критерием окончательного выбора аппаратуры или кабеля является выполнение соотношения: с учетом требуемой способности ВОЛП на перспективу развития.

Произведем расчет для оптического интерфейса S-16.1


Соотношение выполняется.

Поскольку максимальная длина короткого участка составляет 20км, установка регенераторов на участках А-Е и Б-В не требуется.

Произведем расчет для оптического интерфейса L-16.2 HE1.


Соотношение выполняется.

Минимальный участок длинной линии в нашем случае составляет 50 км, следовательно, установка аттенюаторов не потребуется.

Максимальный - 85 км, очевидно, что необходимости в установке регенераторов так же нет.

10. Разработка схемы организации связи

Схема организации связи проектируемой сети SDH представлена на рис. 10.1.

Рис. 10.1. Схема организации связи.

11. Разработка схемы синхронизации и управления сетью

Синхронизация в транспортной сети необходима для устранения потерь информации из-за проскальзываний, которые возникают из-за колебаний тактовых частот генераторов цифрового оборудования (узлы электронной коммутации, цифровые системы передачи).

Синхронизация сетей SDH производится от первичного эталонного генератора (ПЭГ) со стабильностью частоты не хуже 10-11. Для устранения накопления фазовых дрожаний применяют вторичные задающие генераторы (ВЗГ) со стабильностью частот не хуже 10-9 в сутки.

Блок синхрогенератора позволяет подключать следующие сигналы внешней синхронизации:

·              тактовые частоты компонентных потоков 2 Мбит/с (Т2),

·              тактовая частота от агрегатных портов STM (T1),

·              тактовая частота от компонентных потоков STM (T1),

·              тактовая частота 2048 кГц от внешнего генератора (Т3).

Суммарное количество используемых источников синхросигнала не более шести. Стабильность частоты в режиме удержания  (для блока с термостабилизацией), в режиме автогенерации: .

Указанные синхросигналы, кроме последнего, работающего в режиме автоколебания, должны быть синхронизированы от первичного или вторичного источников эталонных сигналов.

Выбор источника синхросигнала в аппаратуре программируется и осуществляется автоматически. При этом возможен автоматический выбор наилучшего по качеству источника синхронизации среди нескольких (как правило, не менее трех). Если источники синхронизации имеют одинаковое качество, то должен быть запрограммирован приоритет использования.

Уровень качества тактового сигнала, используемого для генерации линии STM-N, показывается байтом S1 (ITU-T G.704).

Существуют правила распространения синхросигнала:

1.      Выбранное качество синхросигнала мультиплексор обязан передать на все выходы.

2.      Качество в обратном направлении присваивается «не использовать».

.        Выбор синхросигнала из сигналов с равным качеством делается по приоритету (Р).

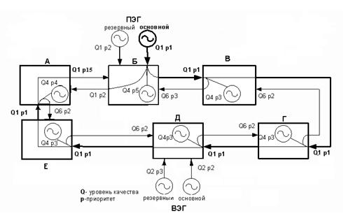
Схема синхронизации (рис. 11) содержит: один первичный эталонный генератор ПЭГ (узел Б) и один вторичный источник в узле Д. (G.812).

Рис. 11.1. Схема синхронизации

В каждом пункте сети предусмотрено не менее трех источников синхронизации, каждому из которых присвоен уровень качества и приоритет.

В пункте Б основному ПЭГ присвоен первый уровень качества и первый приоритет, резервному ПЭГ - первый уровень качества и второй приоритет. Внутреннему источнику присвоены четвертый уровень качества и пятый приоритет. В аварийных ситуациях предусмотрена возможность получения синхросигнала от пункта В (третий приоритет) и от пункта А (четвертый приоритет). Уровень качества для этих сигналов в рабочем режиме самый низкий - шестой. Сигнал синхронизации в рабочем режиме поступает для пунктов В, Г и Д, Е, А от основного ПЭГ по внешнему кольцу. Чтобы избежать петли по синхронизации, сигналу, поступающему по внешнему кольцу от п. А к п. Б, присваивается пятнадцатый приоритет («не использовать для синхронизации»).

Управление блоками мультиплексора осуществляет системный контроллер при помощи контроллеров плат, расположенных в каждом блоке оборудования. Управление и мониторинг сигналов от полки расширения осуществляется через шину Futurebus (IECB). Подключение к сети TMN через интерфейсы QB3 и F (некоторые версии поддерживают QB2). Подключение Q3 осуществляется при помощи AUI и сети Ethernet 10Base2. Интерфейс F реализован в виде порта RS-232C.

Рис. 11.2. Схема управления сетью

Заключение

сеть мультиплексор аппаратура регенерационный

Целью курсового проекта являлось приобретение практических навыков в расчёте и проектировании транспортных сетей электросвязи. При выполнении данной работы были выполнены расчёты по нагрузке между заданными узлами, определена структура и способы защиты проектируемой сети. Рассмотрено и подобрано оборудование. Составлены схемы связи, синхронизации и управления.

Список литературы

1. Слепов Н.Н. Современные технологии цифровых оптоволоконных сетей связи (ATM, PDH, SDH, SONET и WDM) / Н.Н. Слепов. - М.: Радио и связь, 2003. - 468 с.

. Скляр Б. Цифровая связь. Теоретические основы и практическое применение. / Б. Скляр.

. Гроднев И.И. «Волоконно-оптические системы передачи». - М. Радио и связь 1993. - 264с.

Похожие работы на - Проектирование транспортных сетей электросвязи

 

Не нашли материал для своей работы?
Поможем написать уникальную работу
Без плагиата!
Без нейросетей!