Обеспечение связью на основе технологии GSM
АННОТАЦИЯ
Дипломный проект посвящен решению задачь обеспечение связью на основе
технологии GSM 2,5+ подвижных абонентов Рязанской
области. Выполнено проектирование расположения базовых станций и рассчитана
зона покрытия по критериям максимального охвата территории и приоритетности
регионов имеющих высокую плотность населения. Разработана архитектура
транспортной сети для передачи сигнального и разговорного трафика,
обеспечивающая высокую пропускную способность, живучесть, надежность и
позволяющая наращивать технические ресурсы передачи информации. Вышеуказанные
проектные работы выполнялись с учетом предстоящего перехода к технологиям связи
третьего поколения.
THE SUMMARY
This diploma project solves the problem of provision will the
rolling abonents Ryazan region, on base of technology GSM 2.5+. The designing
the location of base stations and is calculated zone of covering on base of
maximum incidence of territory and priority of regions having high density of
population it is executed. The architecture of transport network for issue
signal and colloquial traffic, providing high information capacity, stability,
reliability and allowing increase the technical facility of issue of
information it is designed. Said design works were executed with provision for liing
ahead transition to technologies of relationships of the third generation.
СОДЕРЖАНИЕ
Аннотацияsummary
Введение
. Технико-экономическое
обоснование
. Теоретическая часть
.1 Система сотовой подвижной радиотелефонной связи
стандарта GSM
2.1.1 Принципы построения систем сотовой связи
.1.2 Территориальное деление сети
2.1.3 Общие характеристики стандарта GSM
2.1.4 Интерфейсы в сетях GSM
.1.41 Интерфейсы с внешними сетями
.1.4.2 Внутренние интерфейсы
.1.5 Функциональное построение системы
2.2 Организация физических и
логических каналов в стандарте GSM
.2.1 Физические и логические
каналы
.2.2 Радиоинтерфейс стандарта
GSM
.3 Цифровые технологии
передачи информации
.3.1 Технология PDH
.3.2 Недостатки PDH
.3.3 Технология SDH и её
особенности
.3.4 Обобщенная схема
мультиплексирования потоков в SDH
.3.5 Архитектура сети SDH
.3.6 Резервирование
3. Техническая часть
3.1 Проектирование зоны
обслуживания сети СПРС
.1.1 Оценка распределения
абонентов и нагрузки
.1.1.1 Исходные
статистические данные
.1.1.2 Расчет карты нагрузки
.1.2 Проектирование карты
покрытия
.1.2.1 Проектирование
местоположения БС
.1.2.2 Проектирование
секторов излучения БС
.1.3 Проектирование
конфигурации БС
.1.3.1 Структура и
конфигурация БС проектируемой сети
.1.3.2 Составные части БС
.2 Проектирование
транспортной сети СПРС
.2.1 Выбор среды доставки для
соединения ПБС ULTRASITE BTS с контроллером базовой
станции BSC
.2.2. Расчет ёмкости
интерфейса A-BIS
.2.3. Построение карты
емкости A-BIS интерфейса
.2.4. Проектирование
архитектуры транспортной сети и организация кольцевой защиты
.2.5. Выбор аппаратуры
4.
Конструкторско-технологическая часть
4.1 Общие сведения
.2 Проектирование
конфигураций станций
.3 Механическая конструкция
.3.1 Наружный блок станции
FLEXIHOPPER
.3.2 Комнатный блок FIU 19
.3.3 Комнатный блок FC
RRI
.3.4 Комнатный блок FXC
RRI
5. Экспериментальная часть
5.1 Программа измерения
параметров радиопередатчиков радиорелейной линии
5.2 Протокол измерений
технических параметров излучения радиоэлектронных средств
6. Экономическая часть
6.1 Технико-экономическое
обоснование
.2 Ленточный график
.3 Составление сметы затрат
на разработку
6.4 Расчёт проектной
стоимости НИР
6.5 Выводы по экономической
эффективности
7. Безопасность и
экологичность проекта
7.1 Организация рабочего
места пользователя ПВЭМ
.1.1 Анализ опасных и вредных
факторов при работе с ПЭВМ
.1.2 Организация рабочего
места пользователя
.2 Пожарная безопасность
Заключение
Список литературы
Приложение 1: Перечень
условных обозначений и сокращений
ВВЕДЕНИЕ
За последние 40 лет можно выделить два этапа в развитии российских
телекоммуникаций: первый характеризуется эволюцией Единой автоматизированной
сети связи с 1963 г. до 1992 г.; второй обусловлен созданием и развитием
Взаимоувязанной сети связи РФ с 1992 г. до конца 2003 г. Согласно закону «О
связи» с 1 января 2004 г. сетевой основой российских телекоммуникаций
определена Единая сеть электросвязи (ЕСЭ), которая входит в Федеральную связь
РФ и объединяет все сети электросвязи, расположенные на территории России.
Генеральной целью развития ЕСЭ является способствование преобразованию
российского общества в высокоразвитое постиндустриальное информационное
общество, а также обеспечение недискриминантного доступа для предприятий,
организаций и граждан к телекоммуникационным сетям.
В соответствии с генеральным планом эволюционного развития ЕСЭ РФ до 2015
г. предусматривается интеграция существующих сетей (включая сети подвижной
связи, вещания и Интернет) в единую «федерацию сетей».
В настоящее время потребность в услугах сетей подвижной связи имеет
стабильно возрастающую тенденцию. Сети подвижной связи - важная составляющая из
всей совокупности сетей связи, многочисленная и общедоступная. Она занимает
заметное место в социальной инфраструктуре общества, обеспечивая быстроту
обмена сообщениями и сокращая нерациональные траты времени.
Одним из необходимых условий для удовлетворения современных требований
общества к услугам сетей сотовой подвижной радиотелефонной связи является
построение сетей передачи данных обладающих достаточной пропускной способностью
и высокой надежностью.
Целью проектирования сети является:
обеспечение охвата требуемой зоны обслуживания с высоким качеством
речевой связи;
обеспечение емкости для обслуживания абонентской нагрузки с низкой
интенсивностью потерь;
обеспечение работоспособности сети в условиях аварийной ситуации.
Указанные цели достигаются путем эффективного проектирования сети (точное
определение зоны обслуживания, разработка топологии транспортной сети в ходе
анализа возможных вариантов, организация кольцевой защиты и резервирования).
Целью данного проекта является проектирование сети оператора сотовой
связи стандарта GSM 900 Рязанской
области, а также структуры транспортной сети сотовой связи.
1.
ТЕХНИКО-ЭКОНОМИЧЕСКОЕ ОБОСНОВАНИЕ
В современных условиях быстрого развития сотовой связи стандарта GSM важной задачей является
проектирование сетей сотовой подвижной связи с большой зоной покрытия,
достаточной пропускной способностью и высокой надежностью передачи информации.
В некоторых районах емкость и надежность существующих сетей подвижной связи
является недостаточной, и такие районы нуждаются в усовершенствовании и
расширении сетей, что дает возможность выхода на рынок услуг сотовой связи
новым операторам. В целях обеспечения конкурентоспособности операторы ищут
новые более дешевые и качественные решения для постройки новых сотовых сетей и
расширения существующих сетей.
В связи с тем, что конкуренция на рынке оборудования сотовой связи к
настоящему времени значительно возросла, произошло заметное снижение стоимости
этого оборудования (за последние 10 лет стоимость оборудования снизилась в 5 -
8 раз). Таким образом, на сегодняшний день развертывание сети сотовой связи
обойдется значительно дешевле и является экономически выгодным.
Можно выделить ряд основных особенностей, которыми должна обладать
проектируемая сеть сотовой связи, чтобы иметь высокую конкурентоспособность в
среде аналогов.
· обеспечивать высокое качество связи;
· охватывать необходимую зону покрытия;
· предоставлять абонентам широкий спектр услуг;
· иметь возможность расширения ёмкости сети, при увеличении
числа абонентов, а также возможность расширения территориальной ёмкости;
· соответствовать современным технологиям и обладать
способностью плавного перехода к сетям третьего поколения (3G);
· поддерживать стандарты GSM и CDMA
одновременно;
· обеспечивать конфиденциальную связь для государственных
структур.
Данный проект предлагает вариант решения задачи построения сети сотовой
связи стандарта GSM в Рязанской
области, с учетом всех вышеперечисленных требований.
В проекте используются базовые станции NOKIA UltraSite производства фирмы NOKIA NETWORKS OY (Финляндия). БС UltraSite поддерживает режим усовершенствованной пакетной передачи EDGE (Enhanced Data rates for GSM Evolution), а также имеет возможность
поддерживать стандарты GSM, EDGE и WCDMA (Wideband Code Division Multiple Access) одновременно.
Транспортная сеть сотовой связи реализуется с помощью радиорелейной
аппаратуры компании Nokia, которая является первым изготовителем, полностью
интегрировавшим микроволновую радиорелейную аппаратуру с базовой станцией.
Кроме преимуществ интеграции, инновационное оборудование Nokia FlexiHopper
обеспечивает компактное решение для меняющихся требований радиодоступа.
Радиорелейная станция Nokia FlexiHopper уменьшает общие расходы в течение всего
срока службы, обеспечивая постоянный доступ к предоставляемым услугам.
Устойчивое к отказам оборудование и эффективные системы управления сетями
упрощают выполнение ежедневных процедур и гарантируют высокое качество услуг,
уменьшая необходимость посещений станций. Защита сети, организованная в виде
замкнутого кольца, гарантирует более высокую надежность работы всей сети с
меньшими капиталовложениями.
2. ТЕОРЕТИЧЕСКАЯ ЧАСТЬ
2.1
Система сотовой подвижной радиотелефонной связи стандарта GSM
2.1.1
Принципы построения систем сотовой связи
Система сотовой связи является сложной и гибкой системой, позволяющей
организовать не только телефонную связь, но и передачу других видов информации
(факсимильные сообщения, передачу данных) и позволяющая оказывать множество
услуг связи. Система сотовой связи представляет собой совокупность ячеек (сот),
обеспечивающих радиосвязью обширные зоны. Пользователь этой системы может
находиться как в фиксированном месте, так и может перемещаться пешком или на
автомобиле. В минимальной конфигурации имеется всего одна сота, в которой
устанавливается стационарный радиопередатчик - базовая станция (БС). С помощью
специальной антенны обеспечивается зона радиосвязи некоторого радиуса. В этой
зоне располагаются абоненты системы. Радиус зоны радиосвязи зависит от мощности
передатчика мобильной станции пользователя и принципиальных особенностей
организации одновременной связи с ближними и дальними абонентами.
В случае необходимости покрытия больших территорий применяют многосотовые
структуры [2]. Радиозоны соседних сот на границах соседствующих зон имеют
взаимное перекрытие, что обеспечивает безобрывную связь при переходе
пользователя из одной зоны в другую. Каждая сота имеет свою БС, а вся система
имеет единый центр управления - центр коммутации (ЦК). Возможны системы с
несколькими ЦК, один из которых назначается ведущим.
На рис. 2.1. показан пример многосотовой структуры.
Рис.2.1. Структура многосотовой системы.
Систему из сот, окружающих одну общую соту, называют кластером (Cluster). Разбиение большой системы на
кластеры производится с целью повторного использования частот одного кластера в
других кластерах.
Для увеличения емкости всей системы в зонах с большой плотностью
пользователей (крупных городах) используют разбиение на более мелкие соты с
одновременным уменьшением мощности передатчиков БС.
Еще одним способом повышения емкости системы является применение
секторных антенн [1]. Конструктивно такая антенна представляет собой набор
направленных антенн, каждая из которых обслуживает свой сектор. Например,
трехсекторная антенна с диаграммой направленности по 1200 на сектор, покрывает
все 3600 окружающего пространства. В каждом секторе может быть использован свой
набор частот из предусмотренных частотным планом.
При перемещении пользователя из зоны действия одной БС к другой (из одной
соты в другую) ЦК организует передачу связи к другой БС (Handover).
2.1.2 Территориальное деление сети
Для упрощения функционирования системы и снижения служебного трафика, БС
объединяют в группы - домены, получившие название LA (Location
Area - области расположения) [1]. Каждой LA соответствует свой код LAI (Location Area Identity). ЦК осуществляет постоянное слежение
за подвижными станциями, используя регистры положения (HLR) и перемещения (VLR). В HLR хранится та часть информации
о местоположении какой-либо подвижной станции, которая позволяет центру
коммутации доставить вызов станции. Один VLR может контролировать несколько LA. Именно LAI помещается в VLR для задания местоположения мобильной станции (МС). В
случае необходимости именно в соответствующей LA (а не в отдельной соте) будет произведен поиск МС. При
перемещении МС из одной соты в другую в пределах одной LA перерегистрация и изменение записей в HLR и VLR не производится. Но стоит МС попасть на территорию
другого домена, как начнется взаимодействие ПС с сетью. При смене LA код старого домена стирается из VLR и заменяется новым LAI. Если же следующий LA контролируется другим VLR, то произойдет смена VLR и обновление записи в HLR.
Разбиение сети на домены довольно непростая инженерная задача, решаемая
при проектировании и построении каждой сети индивидуально. Слишком мелкие LA приведут к частым перерегистрациям
МС и, как следствие, к возрастанию трафика служебных сигналов и более быстрой
разрядке батарей мобильного аппарата. Если же сделать размеры домена большими,
то в случае необходимости соединения с абонентом при поступлении ему входящего
вызова, сигнал вызова придется передавать всем сотам, входящим в домен, что
также ведет к неоправданному росту передачи служебной информации и перегрузке
внутренних каналов связи.
2.1.3 Общие характеристики стандарта GSM
В соответствии с рекомендацией СЕРТ 1980 г., касающейся использования
спектра частот подвижной связи в диапазоне частот 862-960 МГц, стандарт GSM на
цифровую общеевропейскую (глобальную) сотовую систему наземной подвижной связи
предусматривает работу передатчиков в двух диапазонах частот: 890-915 МГц (для передатчиков
MС), 935-960 МГц (для передатчиков БС)[1]. В стандарте GSM используется
узкополосный многостанционный доступ с временным разделением каналов (NB ТDМА).
В структуре ТDМА кадра содержится 8 временных позиций на каждой из 124 несущих.
Система синхронизации рассчитана на компенсацию абсолютного времени
задержки сигналов до 233 мкс, что соответствует максимальной дальности связи
или максимальному радиусу ячейки (соты) 35 км.
В стандарте GSM выбрана гауссовская частотная манипуляция с минимальным частотным
сдвигом (GMSK). Обработка речи осуществляется в рамках принятой системы
прерывистой передачи речи (DTX), которая обеспечивает включение передатчика
только при наличии речевого сигнала и отключение передатчика в паузах и в конце
разговора. В качестве речепреобразующего устройства выбран речевой кодек с
регулярным импульсным возбуждением/долговременным предсказанием и линейным
предикативным кодированием с предсказанием (RPE/LTR-LTP-кодек). Общая скорость
преобразования речевого сигнала - 13 кбит/с.
В целом система связи, действующая в стандарте GSM, рассчитана на ее
использование в различных сферах. Она предоставляет пользователям широкий
диапазон услуг и возможность применять разнообразное оборудование для передачи
речевых сообщений и данных, вызывных и аварийных сигналов; подключаться к
телефонным сетям общего пользования (PSTN), сетям передачи данных (PDN) и
цифровым сетям с интеграцией служб (ISDN). В таблице 2.1. представлены основные
характеристики стандарта GSM
[1].
Таблица 2.1.
Основные характеристики стандарта GSM
|
Частоты передачи подвижной
станции приема базовой станции, МГц
|
890-915
|
|
Частоты приема подвижной
станции и передачи базовой станции, МГц
|
935-960
|
|
Дуплексный разнос частот
приема и передачи, МГц
|
45
|
|
Скорость передачи сообщений
в радиоканале, кбит/с
|
270, 833
|
|
Скорость преобразования
речевого кодека, кбит/с
|
13
|
|
Ширина полосы канала связи,
кГц
|
200
|
|
Максимальное количество
каналов связи
|
124
|
|
Вид модуляции
|
GMSK
|
|
Вид речевого кодека
|
RPE/LTP
|
|
Максимальный радиус соты,
км
|
до 35
|
|
Схема организации каналов
комбинированная TDMA/FDMA
|
|
2.1.4 Интерфейсы в сетях GSM
В системах стандарта GSM
имеются интерфейсы трех видов: для соединения с внешними сетями; между
различным оборудованием сетей GSM;
между сетью GSM и внешним оборудованием. Они
соответствуют рекомендациям ETSI/GSM 03.02.
2.1.4.1 Основные интерфейсы с внешними сетями
u Интерфейс к ТФОП: соединение с телефонной сетью осуществляется через MSC (или GMSC при нескольких коммутаторах мобильной связи) по линии
связи 2 Мбит/с в соответствии с сигнализацией ОКС 7 (SS 7). Электрические характеристики 2 Мбит/с интерфейса
соответствуют рекомендациям МККТТ G.732 [5].
u Интерфейс с сетью ISDN:
предусматривает четыре линии связи по 2 Мбит/с с сигнализацией SS 7 или EDSS в соответствии с рекомендациями МККТТ серии Q.700.
u Интерфейс с международными сетями стандарта GSM: эти соединения осуществляются на основе протоколов
подсистемы SCCP сигнализации SS 7.
2.1.4.2 Внутренние интерфейсы
u Интерфейс между MSC и BSC: (А-интерфейс) обеспечивает передачу
сообщений для управления передачи вызова BSC, управления передвижением. А-интерфейс объединяет
каналы связи и линии сигнализации. Полная спецификация изложена в требованиях
серии 08 рекомендаций ETSI/GSM.
u Интерфейс между MSC и HLR: (С-интерфейс).
u Интерфейс между MSC и VLR: (В-интерфейс).
u Интерфейс между HLR и VLR: (D-интерфейс) используется для
расширения обмена данными о положении мобильного абонента и управления
процессом связи.
u Интерфейс между коммутаторами мобильной связи MSC: (Е-интерфейс) обеспечивает взаимодействие между
разными MSC при осуществлении процедуры handover-передачи абонента из зоны в зону в
процессе сеанса связи.
u Интерфейс между BSC и BTS: (A-bis-интерфейс)
служит для установления соединений и управления оборудованием. Передача
осуществляется цифровыми потоками 2 Мбит/с (возможно использование физического
интерфейса 64 Кбит/с).
u Интерфейс между BSC и OMC: (O-интерфейс) используется в сетях
Х25.
u Внутренний BSC-интерфейс
обеспечивает связь между различным оборудованием BSC и оборудованием транскодирования (TCE).
u Интерфейс между BTS и MS: (Um-интерфейс) (Air-интерфейс)
обеспечивает связь между базовой станцией и оборудованием мобильного абонента
(воздушный интерфейс). Этот интерфейс определен в сериях 04 и 05 рекомендаций ETSI/GSM.
u Сетевой интерфейс между центром управления OMC и сетью (управляющий интерфейс). Он определен
рекомендациями 12.01 ETSI/GSM и является аналогом интерфейса Q.3. Соединение сети с OMC может обеспечиваться системой SS 7 или протоколом Х.25.
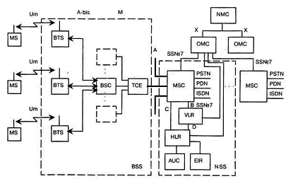
2.1.5 Функциональное построение системы
Оборудование сетей GSM
включает в себя мобильные (радиотелефоны) и базовые станции (МС и БС),
контроллеры БС (BSC), цифровые
коммутаторы (ЦК - MSC), центр
управления и обслуживания (ЦУО - OMC) и
различные другие системы и устройства (рис.2.2.). Функциональное их сопряжение
осуществляется с помощью рассмотренных выше интерфейсов [1].
Рис. 2.2. Структурная схема и состав оборудования сетей связи
Здесь обозначено: MS (Mobile Station) - мобильная (подвижная) станция (возимая, носимая
или карманного типа); BTS (Base Transceiver Station) - трансивер БС; BSC (Base Station
Controller) - контроллер БС; TCE - транскодер; BSS ( Base Station Subsystem) - подсистема (радиочастотная часть)
БС; MSC (Mobile services Switching Center) - коммутатор подвижной связи; HLR (Home Location Register) - «домашний» регистр; VLR (Visitor Location Register) - «гостевой» регистр; AuC (Authentification Center) - центр авторизации (аутентификации); EIR (Equipment Identity Register) - регистр идентификации
оборудования; NSS (Network and Switching Subsystem) - подсистема сети и коммутации.ОМС
(Operations and Maintenance Centre) - центр управления и
обслуживанияФункциональное сопряжение элементов системы осуществляется рядом
интерфейсов. Все сетевые функциональные компоненты в стандарте GSM
взаимодействуют в соответствии с системой сигнализации МККТТ SS N 7 (CCITT SS.
N 7).
Центр коммутации подвижной связи обслуживает группу сот и обеспечивает
все виды соединений, в которых нуждается в процессе работы подвижная станция.
MSC представляет собой интерфейс между фиксированными сетями (PSTN, PDN, ISDN и
т.д.) и сетью подвижной связи. На MSC возлагаются функции коммутации
радиоканалов и обеспечения handover-a. также формирует данные, необходимые
для выписки счетов за предоставленные сетью услуги связи, накапливает данные по
состоявшимся разговорам и передает их в центр расчетов (биллинг-центр). MSC
составляет также статистические данные, необходимые для контроля работы и оптимизации
сети. MSC поддерживает процедуры безопасности, применяемые для управления
доступами к радиоканалам. MSC не только участвует в управлении вызовами, но
также управляет процедурами регистрации местоположения и передачи управления,
кроме передачи управления в подсистеме базовых станций (BSS). Процедура
передачи вызова (handover)
позволяет сохранять соединения и обеспечивать ведение разговора, когда
подвижная станция перемещается из одной зоны обслуживания в другую. Передача
вызовов в сотах, управляемых одним контроллером базовых станций (BSC),
осуществляется этим BSC. Когда передача вызовов осуществляется между двумя
сетями, управляемыми разными BSC, то первичное управление осуществляется в MSC.
Если в системе используется несколько MSC, то один из них назначается ведущим (главным) GMSC (Gateway Mobile Services Switching Center), через который осуществляется соединение сотовой
сети с сетью ТФОП.
Центр коммутации осуществляет постоянное слежение за подвижными
станциями, используя регистры положения (HLR) и перемещения (VLR). В HLR
хранится та часть информации о местоположении какой-либо подвижной станции,
которая позволяет центру коммутации доставить вызов станции. В таблицах 2.2.,
2.3. и 2.4. указаны основные данные, хранящиеся в регистрах HLR и VLR.
Таблица 2.2.
Основные долгосрочные данные, хранимые в HLR и VLR.
|
1.
|
Международный
идентификационный номер подписчика (IMSI)
|
|
2.
|
Телефонный номер абонента в
обычном смысле (MSISDN)
|
|
3.
|
Идентификация номера
вызываемого абонента
|
|
4.
|
Ключ идентификации абонента
(Ki)
|
Таблица 2.3.
Основные временные данные, хранимые в HLR.
|
1.
|
Параметры идентификации и
шифрования
|
|
2.
|
Временный номер мобильного
абонента (TMSI)
|
|
3.
|
Адрес реестра перемещения,
в котором находится абонент (VLR)
|
|
4.
|
Состав используемых в
данный момент паролей
|
|
5.
|
Активность связи
|
Таблица 2.4.
Основные временные данные, хранимые в VLR.
|
1.
|
Временный номер мобильного
абонента (TMSI)
|
|
2.
|
Идентификаторы области
расположения абонента (LAI)
|
|
4.
|
Номер соты при эстафетной
передаче
|
|
5.
|
Параметры идентификации и
шифрования
|
К данным, содержащимся в HLR, имеют дистанционный доступ все MSC и VLR
сети и, если в сети имеются несколько HLR, в базе данных содержится только одна
запись об абоненте, поэтому каждый HLR представляет собой определенную часть
общей базы данных сети об абонентах. Доступ к базе данных об абонентах
осуществляется по номеру IMSI или MSISDN (номеру подвижного абонента в сети
ISDN). К базе данных имеют доступ MSC или VLR, относящиеся к другим сетям, в
рамках обеспечения межсетевого роуминга абонентов.
С помощью регистра перемещения VLR достигается функционирование подвижной
станции за пределами зоны, контролируемой HLR. Когда в процессе перемещения
подвижная станция переходит из зоны действия одного BSC, объединяющего группу
базовых станций, в зону действия другого BSC, она регистрируется новым BSC, и в
VLR заносится информация о номере области связи, которая обеспечит доставку
вызовов абоненту.
В сети подвижной связи GSM соты группируются в географические зоны (LA),
которым присваивается свой идентификационный номер (LAC). Каждый VLR содержит
данные об абонентах в нескольких LA. Когда подвижный абонент перемещается из
одной LA в другую, данные о его местоположении автоматически обновляются в VLR.
Если старая и новая LA находятся под управлением различных VLR, то данные на
старом VLR стираются после их копирования в новый VLR. Текущий адрес VLR
абонента, содержащийся в HLR, также обновляется. обеспечивает также присвоение
номера "блуждающей" подвижной станции (MSRN). Когда подвижная станция
принимает входящий вызов, VLR выбирает его MSRN и передает его на MSC, который
осуществляет маршрутизацию этого вызова к базовым станциям, находящимся рядом с
подвижным абонентом. также распределяет номера передачи управления при передаче
соединений от одного MSC к другому. Кроме того, VLR управляет распределением
новых TMSI и передает их в HLR. Он также управляет процедурами установления
подлинности во время обработки вызова. По решению оператора TMSI может
периодически изменяться для усложнения процедуры идентификации абонентов.
Доступ к базе данных VLR может обеспечиваться через IMSI, TMSI или MSISDN. В целом VLR представляет собой
локальную базу данных о подвижном абоненте для той зоны, где находится абонент,
что позволяет исключить постоянные запросы в HLR и сократить время на
обслуживание вызовов.
Для исключения несанкционированного использования ресурсов системы связи
вводятся механизмы аутентификации - удостоверения подлинности абонента. Центр
аутентификации состоит из нескольких блоков и формирует ключи и алгоритмы
аутентификации. С его помощью проверяются полномочия абонента и осуществляется
его доступ к сети связи. AUC принимает решения о параметрах процесса
аутентификации и определяет ключи шифрования абонентских станций на основе базы
данных, сосредоточенной в регистре идентификации оборудования (EIR - Equipment
Identification Register). Каждый подвижный абонент на время пользования
системой связи получает стандартный модуль подлинности абонента (SIM), который
содержит: международный идентификационный номер (IMSI), свой индивидуальный
ключ аутентификации (Ki), алгоритм аутентификации (A3). С помощью записанной в
SIM информации в результате взаимного обмена данными между мобильной станцией
(МС) и сетью осуществляется полный цикл аутентификации и разрешается доступ
абонента к сети. - регистр идентификации оборудования, содержит
централизованную базу данных для подтверждения подлинности международного
идентификационного номера оборудования МС (IМЕI). База данных EIR состоит из списков номеров IМЕI, организованных следующим образом:
БЕЛЫЙ СПИСОК - содержит номера IМЕI, о которых есть сведения, что они
закреплены за санкционированными МС.
ЧЕРНЫЙ СПИСОК - содержит номера IМЕI МС, которые украдены или которым отказано в обслуживании по другой
причине.
СЕРЫЙ СПИСОК - содержит номера IМЕI МС, у которых существуют проблемы, выявленные по данным
программного обеспечения, что не является основанием для внесения в
"черный список".
К базе данных EIR получают дистанционный доступ MSC данной сети, а также
MSC других подвижных сетей.
ОМС - центр эксплуатации и технического обслуживания, является
центральным элементом сети GSM, который обеспечивает контроль и управление
другими компонентами сети и контроль качества ее работы. ОМС соединяется с
другими компонентами сети GSM по каналам пакетной передачи протокола Х.25. ОМС
обеспечивает функции обработки аварийных сигналов, предназначенных для
оповещения обслуживающего персонала, и регистрирует сведения об аварийных
ситуациях в других компонентах сети. В зависимости от характера неисправности
ОМС позволяет обеспечить ее устранение автоматически или при активном
вмешательстве персонала. ОМС может обеспечить проверку состояния оборудования
сети и прохождения вызова подвижной станции. ОМС позволяет производить
управление нагрузкой в сети. Функция эффективного управления включает сбор
статистических данных о нагрузке от компонентов сети GSM, записи их в дисковые
файлы и вывод на дисплей для визуального анализа. ОМС обеспечивает управление
изменениями программного обеспечения и базами данных о конфигурации элементов
сети. Загрузка программного обеспечения в память может производиться из ОМС в
другие элементы сети или из них в ОМС. - центр управления сетью, позволяет
обеспечивать рациональное иерархическое управление сетью GSM. Он обеспечивает
эксплуатацию и техническое обслуживание на уровне всей сети, поддерживаемой
центрами ОМС, которые отвечают за управление региональными сетями. -
оборудование базовой станции, состоит из контроллера базовой станции (BSC) и
приемо-передающих базовых станций (BTS). Контроллер базовой станции может
управлять несколькими приемо-передающими блоками. BSS управляет распределением
радиоканалов, контролирует соединения, регулирует их очередность, обеспечивает
режим работы с прыгающей частотой, модуляцию и демодуляцию сигналов,
кодирование и декодирование сообщений, кодирование речи, адаптацию скорости
передачи для речи, данных и вызова, определяет очередность передачи сообщений
персонального вызова. BSS совместно с MSC, HLR, VLR выполняет некоторые функции,
например: освобождение канала, главным образом, под контролем MSC, но MSC может
запросить базовую станцию обеспечить освобождение канала, если вызов не
проходит из-за радиопомех. BSS и MSC совместно осуществляют приоритетную
передачу информации для некоторых категорий подвижных станций.
ТСЕ - транскодер, обеспечивает преобразование выходных сигналов канала
передачи речи и данных MSC (64 кбит/с ИКМ) к виду, соответствующему
рекомендациям GSM по радиоинтерфейсу (Рек. GSM 04.08). В соответствии с этими требованиями
скорость передачи речи, представленной в цифровой форме, составляет 13 кбит/с.
Этот канал передачи цифровых речевых сигналов называется
"полноскоростным", в отличие от "полускоростного" речевого
канала (скорость передачи 6,5 кбит/с). Снижение скорости передачи
обеспечивается применением специального речепреобразующего устройства,
использующего линейное предикативное кодирование (LPC), долговременное
предсказание (LTP), остаточное импульсное возбуждение (RPE - иногда называется
RELP).
Транскодер обычно располагается вместе с MSC, тогда передача цифровых
сообщений в направлении к контроллеру базовых станций - BSC ведется с
добавлением к потоку со скоростью передачи 13 кбит/с, дополнительных битов
(стаффинг) до скорости передачи данных 16 кбит/с. Затем осуществляется
уплотнение с кратностью 4 в стандартный канал 64 кбит/с. Так формируется
определенная рекомендациями GSM 30-канальная ИКМ линия, обеспечивающая передачу
120 речевых каналов. Шестнадцатый канал (64 кбит/с), "временное
окно", выделяется отдельно для передачи информации сигнализации и часто
содержит трафик SS N7 или LAPD. В другом канале (64 кбит/с) могут передаваться
также пакеты данных, согласующиеся с протоколом X.25 МККТТ. Таким образом,
результирующая скорость передачи по указанному интерфейсу составляет 30х64
кбит/с + 64 кбит/с + 64 кбит/с = 2048 кбит/с. - мобильная станция, состоит из
приемника, передатчика, устройства преобразования речи (кодека) и логического
блока, управляющего всеми функциональными узлами подвижной станции. Аппаратная
часть и логический блок ПС обеспечивают организацию доступа абонентов сетей GSM
к существующим фиксированным сетям электросвязи
Подвижный абонент и базовая станция независимы друг от друга
2.2 Организация физических и логических каналов в стандарте GSM
.2.1 Физические и логические каналы
Итак, каждый пользователь получает свой временной интервал - слот в
частотном канале. Именно слоты образуют физический канал. Восемь слотов
образуют кадр (фрейм), в одном фрейме восемь физических каналов. Физический
канал (ФК) - это временной слот с определенным номером в последовательности
кадров радиоинтерфейса. С помощью временной синхронизации каждый пользователь
может работать во время сеанса связи только в своем слоте [8].
Как во всякой многоканальной системе помимо информации пользователя
(голос или данные) - трафика, в системах сотовой связи необходимо передавать
для управления множество дополнительных сигналов (синхронизация по времени и
частоте, сигналы вызова различные запросы и подтверждения и многое другое).
По своей структуре и назначению эти сигналы отличаются от сигналов
трафика. Отвлекаясь от физической природы сигналов, принято говорить, что в
физических каналах образуются логические каналы. Их подразделяют на два типа:
каналы трафика (передача речи и/или данных пользователя) и каналы управления. В
системах сотовой связи (ССС) принято классифицировать каналы следующим образом
(таблица 2.5).
Таблица 2.5.
Классификация каналов в стандарте GSM
|
Признак
|
Обозначение
|
Название канала
|
|
Направление связи
|
F
|
Прямой (Forward)
|
|
R
|
Обратный (Reverse)
|
|
Тип канала
|
L
|
Логический (Logical)
|
|
P
|
Физический (Physical)
|
|
Назначение канала
|
A
|
Доступ (Access)
|
|
P
|
Вызывной (Paging)
|
|
S
|
Сигнализации
(Signaling)
|
|
T
|
Трафика
(Traffic)
|
|
C
|
Управления (Control)
|
|
Способ организации связи
|
A
|
Совмещенный
(Associated)
|
|
B
|
Широковещательный (Brodcast)
|
|
C
|
Общий (Common)
|
|
D
|
Выделенный
(Dedicated)
|
|
SD
|
Автономный
(Stand-alone)
|
|
Вспомогательные каналы
|
A
|
Вспомогательный (Auxiliary)
|
|
PI
|
Пилот - сигнал(Pilot)
|
|
S или
SYNC
|
Синхроканал (Synchronization)
|
В практике описания структуры радиоинтерфейса взаимодействия различных
узлов сотовой системы связи принято обозначать каналы аббревиатурами.
Каналы трафика: TCH / FS; TCH / HS
Каналы управления: BCCH
(состоит из FCCH и SCH); CCCH
(состоит из PCH, RACH и AGCH; SDCCH; ACCH (состоит из FACCH и SACCH).
Каналы трафика (Traffic Channels) делятся
на полноскоростные (22,8 кбит/с) - TCH / FS (Full Speech) с полноскоростным кодированием речи и полускоростные
(11,5 кбит/с) - TCH / HS (Half Speech). Также предусмотрены каналы трафика для передачи
данных со скоростью 2,4 кбит/с, 4,8 и 9,6 кбит/с (TCH/F2.4, TCH/F4.8, TCH/9.6).
Каналы управления CCH
делятся на 4 типа:
¨вещательные BCCH (Broadcast Control Channels);
¨общие CCCH (Common Control Channels);
¨выделенные закрепленные SDCCH (Standalone
Dedicated Control Channels);
¨совмещенные (ассоциированные) ACCH (Associated Control
Channels).
Каналы BCCH предназначены для передачи
информации от БС к МС в вещательном режиме, т.е. без адресования к конкретной
МС. В число вещательных каналов управления входят:
канал коррекции частоты FCCH (Frequency Correction Channel) - для подстройки частоты МС под соответствующую
частоту БС;
·
канал
синхронизации SCH - для цикловой синхронизации МС;
·
канал общей
информации, не имеющий отдельного наименования.
Общие каналы управления CCCH
включают:
·
канал вызова PCH, используемый для вызова МС со
стороны БС;
·
канал разрешения
доступа AGCH (Access Grant Channel) для назначения закрепленного канала управления,
которое также передается от БС на МС;
·
канал случайного
доступа RACH ( Random Access Channel) - для выхода с МС на БС с запросом о назначении
выделенного канала управления.
При передаче информации по общим каналам управления прием информации не
сопровождается подтверждением.
Выделенные закрепленные каналы управления SDCCH - автономные каналы управления, используемые для
сигнализации в процессе установления соединения до назначения пользовательского
канала, например, для аутентификации и регистрации.
Совмещенные каналы управления ACCH, также используемые для передачи информации управления в обоих
направлениях, включают в себя:
·
SACCH (Slow Associated Control Channel) (A) -
медленный совмещенный (присоединенный) канал управления, который совмещается с
каналом трафика (т.е. передается совместно с каналом трафика). Этот канал
управления передается в 13-м кадре мультикадра канала трафика. SACCH может быть совмещен также с каналом SDCCH. В обоих случаях SACCH используется для передачи
сравнительно редкой информации, например, результаты измерения уровня сигнала
своей и смежных сот, сигналы для регулировки уровня мощности МС, временная
синхронизация.
·
FACCH (Fast Associated Control Channel) (A’) -
быстрый совмещенный канал управления. Он совмещается с каналом трафика, заменяя
в соответствующем слоте информацию речи. Причем, эта замена помечается скрытым
флажком (поле S).
Канал FACCH используется, если в процессе обмена
пользовательской информацией необходимо передать объем информации больше, чем
может обеспечить канал SACCH.
В этом случае вместо 20 мс речевой информации передается, например, информация
необходимая для переключения вызова. Прерывание в разговоре незначительно. При
этом абоненту повторно передается информация предыдущего цикла.
Логические каналы коррекции частоты - F (FCCH), временной
синхронизации - S (SCH), вещательный - B (BCCH) и общие - C (AGCH / PCH) имеют направление передачи от БС к МС, т.е. прямой
канал, а общий канал случайного доступа - R (RACH) от ПС к БС (обратный
канал). Выделенный индивидуальный сигнальный - D (SDCCH), медленный
совмещенный - A (SACCH) и быстрый совмещенный - A (FACCH) являются
двусторонними. При этом каналы управления типа F, S и B имеют конфигурацию
«точка-многоточие» и их достаточно иметь по одному каналу в каждой соте.
Требуемое число логических каналов управления типов C, R, D, A зависит от нагрузки в системе, создаваемой МС в каждой соте.
В зависимости от создаваемой нагрузки для организации логических каналов
управления используется один или более физических каналов.
В отличие от дуплексных каналов - трафика и совмещенных каналов
управления, размещаемых в каналах трафика эфирного интерфейса, симплексные
каналы BCCH и CCCH размещаются в нулевом слоте кадров эфирного
интерфейса на так называемых несущих BCCH, выделенных в данной соте [8]. Чтобы передать информацию этих каналов
управления необходимо 51 фрейм, что и составляет 51-фреймовый мультикадр. В
последнем, 51-м фрейме нулевой слот остается свободным (I - idle). В течении его длительности ПС производит измерения
уровня сигналов своей и смежных сот. Первые 50 фреймов делятся на 5 блоков по
10 кадров. В начале каждого блока передается сообщение канала FCCH (структура слота - интервал
подстройки частоты), далее идет сообщение канала SCH (структура слота - интервал синхронизации по
времени). Затем в первом блоке передается сообщения канала BCCH и четыре сообщения канала AGCH или канала PCH, а в остальных четырех блоках все восемь сообщений
отводятся под канал AGCH или PCH. Сообщения логических каналов
управления в большинстве случаев кодируются со значительной избыточностью с
целью защиты от ошибок при передаче.
Сообщения в обратном канале, т.е. сообщения RACH могут быть переданы в нулевом слоте каждого фрейма в
пределах 51-ти фреймового мультикадра. Структура 51- фреймового мультикадра
каналов управления прямого и обратного каналов приведена на рис.2.4.
В обратном канале мультикадр не разбивается на блоки. Так как
длительность одного фрейма 4,615 мс, то длительность 51-го фреймового мультикадра
равна 4,615 * 51 = 235 мс, т.е. сообщения RACH (R)
передаются от МС 235 раз в мс.
Информация быстрого совмещенного канала (FACCH) передается в каналах трафика совместно с информацией
пользователя. Логические каналы A (FACCH) и D (SDCCH) являются
двусторонними и для их организации используется первый слот радиоканала. Для
обеспечения требуемого качества обслуживания вызовов достаточно иметь в каждой
соте по 8 логических каналов D со
скоростью передачи 1,94 кбит/с и такое же количество совмещенных с ними каналов
A со скоростью передачи в два раза
ниже (0,97 кбит/с). В одном мультикадре (51 фрейм) передают информацию D-типа для 8 каналов (это занимает 8 *
4 = 32 фрейма) и информацию A-типа
для первых 4-х каналов. Следовательно, чтобы передать информацию A- для всех 8-ми каналов необходимо
использовать два мультикадра по 51-му фрейму. За это время информация D-типа передастся дважды. Порядок
размещения каналов этого типа показана на рис. 2.5.
Логические каналы прямого и обратного направлений смещены во времени друг
относительно друга. Это необходимо для того, чтобы ПС успевала сформировать
свой ответ на сообщение БС.
Логические каналы трафика организуются следующим образом. Каждый канал
трафика должен иметь медленный ассоциированный совмещенный канал A со скоростью передачи 950 бит/с,
который используется, например, для регулировки мощности ПС в процессе обмена
пользовательской информацией. Кроме того, ПС требуется выделить время для
реализации процедуры измерения уровня сигнала от своей и смежных сот. Учитывая
это при размещении пользовательских логических каналов организуется мультикадр
из 26 кадров. В полноскоростном режиме 13-й мультикадра используется для
размещения логического канала управления А, а 26-й кадр остается свободным (он
отводится для такого же канала управления типа А при полускоростном режиме).
Остальные 24 кадра предназначены для размещения одного пользовательского канала
трафика со скоростью передачи 22,8 кбит/с (24*114 бит за 120 мс).
В полускоростном режиме передается информация двух пользователей. Их
каналы передается поочередно через кадр. Каналы управления А передаются для
одного в 13-м кадре, а для другого в 26-м.
2.2.2. Радиоинтерфейс стандарта GSM
Передача каналов трафика и каналов управления по радиоэфиру организуется TDMA -кадрами (фреймами), которые имеют
длительность 4,615 мс. Каждый кадр состоит из восьми слот по 577 мкс. Из кадров
составляются мультикадры [1].
Мультикадр канала трафика (длительностью 120 мс) состоит из 26 кадров. В
24-х передается информация пользователя (кадры 1-12 и 14-25), в кадре 13
передается информация медленного совмещенного канала SACCH, а кадр 16-й оставлен свободным (зарезервирован для
передачи второго сегмента канала SACCH
при полускоростном кодировании).
Мультикадры каналов управления имеют длительность 235 мс и состоят из
51-го фрейма.
Но и мультикадры не позволяют передать всю необходимую для работы системы
информацию. Поэтому мультикадры каналов трафика и каналов управления еще
объединяют в суперкадры. Чтобы суперкадры каналов трафика и каналов управления
имели одинаковую длительность в суперкадр объединяют 51 мультикадр канала
трафика или 26 мультикадров канала управления. Длительность суперкадра в обоих
случаях 6,12 с (1326 кадров).
суперкадров образуют один гиперкадр длительностью 3ч 28 мин 53 с 760 мс.
В гиперкадре 2 715 648 кадров. Номер кадра в пределах гиперкадра используется в
процессе шифрования передаваемой информации.
Кадр канала трафика и канала управления имеют одинаковую длительность, но
они имеют различную структуру и разное информационное содержание. В кадре
содержится 8 слотов, длительность каждого слота 0,577 мс.
При передаче разговорного канала используется так называемый нормальный
интервал (нормальная пачка) (Normal Burst)
длительностью 0,577 мс, что составляет 156,25 бит. Таким образом длительность
одного бита в стандарте GSM
составляет 0,577 : 156,25 = 3,693 мкс.
Структура радиоинтерфейса приведена на рис.2.6.
На рисунке 2.6. обозначено:
T (Tail bits) - хвостовые биты; ED (Encripted Data) - кодированные данные пользователя
(речь или данные); S (Stealing flag) - скрытые флажки - признак речь/управление; G (Guard period) - защитный интервал; TS (Training
Sequence) - обучающая последовательность; ETS (Extended Training Sequence) - расширенная обучающая
последовательность.
2.3 Цифровые Технологии передачи информации
.3.1 Технология PDH
Cовременная цифровая первичная сеть (ПЦС) строится на основе трех
основных технологий: плезиохронной иерархии (PDH), синхронной иерархии (SDH) и
асинхронного режима переноса (передачи) (ATM) [28]. Технология ATM как
технология построения первичной сети является пока молодой и до конца не
опробованной.
Рассмотрим более подробно историю построения и отличия плезиохронной и
синхронной цифровых иерархий. Схемы ПЦС были разработаны в начале 80х. Всего их
было три:
. принята в США и Канаде, в качестве скорости сигнала первичного
цифрового канала ПЦК (DS1) была выбрана скорость 1544 кбит/с и давала
последовательность DS1 - DS2 - DS3 - DS4 или последовательность вида: 1544 -
6312 - 44736 - 274176 кбит/с. Это позволяло передавать соответственно 24, 96,
672 и 4032 канала DS0 (ОЦК 64 кбит/с);
. принята в Японии, использовалась та же скорость для DS1; давала
последовательность DS1 - DS2 - DSJ3 - DSJ4 или последовательность 1544 - 6312 -
32064 - 97728 кбит/с, что позволяло передавать 24, 96, 480 или 1440 каналов
DS0;
. принята в Европе и Южной Америке, в качестве первичной была выбрана
скорость 2048 кбит/с и давала последовательность E1 - E2 - E3 - E4 - E5 или
2048 - 8448 - 34368 - 139264 - 564992 кбит/с. Указанная иерархия позволяла
передавать 30, 120, 480, 1920 или 7680 каналов DS0 (Рис.2.7.).
Рис.2.7. Схема мультиплексирования в американской (АС), японской (ЯС), и
европейской (ЕС) цифровых иерархиях.
Система PDH использует принцип плезиохронного мультиплексирования,
согласно которому для мультиплексирования, например, четырех потоков Е1 (2048
кбит/с) в один поток Е2 (8448 кбит/с) производится процедура выравнивания
тактовых частот приходящих сигналов методом стаффинга [9].
Комитетом по стандартизации ITU - T был разработан стандарт, согласно
которому:
. во-первых, были стандартизированы три первых уровня первой иерархии,
четыре уровня второй и четыре уровня третьей иерархии в качестве основных, а
также схемы кросс-мультиплексирования иерархий;
. во-вторых, последние уровни первой и третьей иерархий не были
рекомендованы в качестве стандартных.
Система СЕРТ начала развиваться с начала 70-х годов. Она целиком
базировалась на двоичных, а не на двоично-десятичных эквивалентах (как три
предыдущие). В результате была выбрана 8-битная схема кодификации и 32 (а не
24) канала для первичного уровня мультиплексирования. Один из каналов
(тайм-слот 0) целиком используется для синхронизации (выравнивания фреймов) и
передачи системного статуса, второй (тайм-слот 16) - для организации общего
канала сигнализации - 64 кбит/с. Число фреймов в мультифрейме также кратно 2 и
зависит от типа сигнализации. При внутриканальной сигнализации используется 16
фреймов на мультифрейм, при использовании общего канала сигнализации - 2 фрейма
на мультифрейм. Схема выравнивания проста и кратна 2: 8 бит на 16 фрейм при
выравнивании фрейма и 8 бит на 16 фреймов для выравнивания мультифрейма.
Система СЕРТ фактически стала доминирующей не только в Европе но и в мире.
Третья иерархия, порожденная скоростью 2048 кбит/с, давала
последовательность Е1- E2 - ЕЗ - Е4 - Е5 или последовательность 2048 - 8448 -
34368 - 139264 - 564992 - кбит/с (ряд приближенных величин составляет 2 - 8 -
34 - 140 - 565 Мбит/с). Указанная иерархия позволяет передавать
соответственно 30, 120, 480, 1920 и 7680 каналов что отражается и в
названии ИКМ систем: ИКМ-30, ИКМ-120, ИКМ-480 и т.д.
2.3.2 Недостатки PDH
• затруднённый ввод/вывод цифровых потоков в промежуточных пунктах;
• отсутствие средств сетевого автоматического контроля и управления;
• многоступенчатое восстановление синхронизма требует достаточно большого
времени;
В результате при демультиплексировании необходимо производить пошаговый
процесс восстановления исходных каналов. Например, во вторичных сетях цифровой
телефонии наиболее распространено использование потока Е1. При передаче этого
потока по сети PDH в тракте ЕЗ необходимо сначала провести пошаговое
мультиплексирование Е1-Е2-ЕЗ, а затем - пошаговое демультиплексирование
ЕЗ-Е2-Е1 в каждом пункте выделения канала Е1. Также можно считать недостатком
наличие трёх различных иерархий. Указанные недостатки PDH, а также ряд других
факторов привели к разработке в США ещё одной иерархии - иерархии синхронной
оптической сети SONET, а в Европе аналогичной синхронной цифровой иерархии SDH,
предложенными для использования на волоконно-оптических линиях связи(ВОЛС).Но
из-за неудачно выбранной скорости передачи для STS-1, было принято решение --
отказаться от создания SONET, а создать на её основе SONET/SDH со скоростью
передачи 51.84 Мбит/с первого уровня ОС1 этой СЦИ. В результате OC3 SONET/SDH
соответствовал STM-1 иерархии SDH.
Иерархии PDH и SDH взаимодействуют через процедуры мультиплексирования и
демультиплексирования потоков PDH в системы SDH.
2.3.3 Технология SDH и её особенности
Технология SDH представляет собой современную концепцию построения
цифровой первичной сети. В настоящее время эта концепция доминирует на рынке
[28].
Сравнивая технологию SDH с технологией PDH, можно выделить следующие
особенности технологии SDH:
• предусматривает синхронную передачу и мультиплексирование. Элементы
первичной сети SDH используют для синхронизации один задающий генератор, как
следствие, вопросы построения систем синхронизации становятся особенно важными;
• предусматривает прямое мультиплексирование и демультиплексирование
потоков PDH, так что на любом уровне иерархии SDH можно выделять загруженный
поток PDH без процедуры пошагового демультиплексирования. Процедура прямого
мультиплексирования называется также процедурой ввода-вывода;
• опирается на стандартные оптические и электрические интерфейсы, что
обеспечивает лучшую совместимость оборудования различных фирм-производителей;
• позволяет объединить системы PDH европейской и американской иерархии,
обеспечивает полную совместимость с существующими системами PDH и, в то же
время, дает возможность будущего развития систем передачи, поскольку
обеспечивает каналы высокой пропускной способности для передачи ATM, MAN, HDTV
и т.д.
• обеспечивает лучшее управление и самодиагностику первичной сети.
Большое количество сигналов о неисправностях, передаваемых по сети SDH, дает
возможность построения систем управления на основе платформы TMN. Технология
SDH обеспечивает возможность управления сколь угодно разветвленной первичной
сетью из одного центра.
Все перечисленные преимущества обеспечили широкое применение технологии
SDH как современной парадигмы построения цифровой первичной сети.
Выделим общие особенности построения синхронной иерархии:
• первая - поддержка в качестве входных сигналов каналов доступа только
трибов (прим. от trib, tributary - компонентный сигнал, подчинённый сигнал или
нагрузка, поток нагрузке) PDH и SDH;
• вторая - трибы должны быть упакованы в стандартные помеченные
контейнеры, размеры которых определяются уровнем триба в иерархии PDH;
• третья - положение виртуального контейнера может определяться с помощью
указателей, позволяющих устранить противоречие между фактом синхронности
обработки и возможным изменением положения контейнера внутри поля полезной
нагрузки;
• четвёртая - несколько контейнеров одного уровня могут быть сцеплены
вместе и рассматриваться как один непрерывный контейнер, используемый для
размещения нестандартной полезной нагрузки;
• пятая - предусмотрено формирование отдельного поля заголовков размером
9*9=81 байт.
Скорости передач иерархии SDH представлены в таблице 2.6.
Таблица 2.6.
Скорости передач иерархии SDH
|
Уровень SDH.
|
Скорость передачи, Мбит/с
|
|
STM-1
|
155,520
|
|
STM-4
|
622,080
|
|
STM-8
|
1244,160
|
|
STM-12
|
1866,240
|
|
STM-16
|
2.3.4 Обобщенная схема мультиплексирования потоков в SDH
Рассмотрим процессы, связанные с загрузкой и выгрузкой цифрового потока в
транспортный модуль системы SDH (транспортный модуль STM-N). Процесс загрузки
цифрового потока в транспортные модули представлен схематически на рис. 2.8.
Рис.
2.8. Процесс загрузки цифрового потока в синхронные транспортные модули (STM-N)
В
качестве примера рассмотрим процесс формирования синхронного транспортного
модуля STM-1 из нагрузки потока Е1 (рис.2.9.).
Рис.2.9.
Формирование синхронного транспортного модуля STM-1 из нагрузки потока Е1.
Как
видно из рисунка, в процессе формирования синхронного транспортного модуля к
нагрузке сначала добавляются выравнивающие биты, а также фиксированные,
управляющие и упаковывающие биты.
К
сформированному контейнеру С-12 добавляется заголовок маршрута VC-12 РОН (Path
Overhead), в результате формируется виртуальный контейнер.
Добавление
к виртуальному контейнеру 1 байта указателя (PTR) превращает первый в блок
нагрузки (TU). Затем происходит процедура мультиплексирования блоков нагрузки в
группы блоков нагрузки (TUG) различного уровня вплоть до формирования
виртуального контейнера верхнего уровня VC-4. В результате присоединения
заголовка маршрута VC-4 РОН образуется административный блок (AU), к которому
подсоединяется секционный заголовок SОН (Section Overhead). Учитывая разделение
маршрута на два типа секций, SОН состоит из заголовка регенераторной секции
(RSOH) и заголовка мультиплексорной секции (MSOH).
Как
видно, процесс загрузки цифрового потока связан с использованием процессов
выравнивания (битового стаффинга), активностью указателей, а также с
использованием заголовков РОН и SOH.
Размер
контейнера в системе передачи SDH стандартизирован. Его размер несколько больше
размера, необходимого для загрузки потока PDH соответствующего уровня иерархии
с учетом максимально допустимой вариации скорости загружаемого потока. При
загрузке цифрового потока производится процедура выравнивания его скорости
методом битового стаффинга, для этого используется часть контейнера.
2.3.5
Архитектура сети SDH
Архитектурные
решения при проектировании сети SDH могут быть сформированы на базе
использования элементарных топологий сети в качестве её отдельных сегментов
[28].
Архитектура
типа "кольцо-кольцо".
Другое
часто используемое в архитектуре сетей SDH решение - соединение типа
"кольцо-кольцо". Кольца в этом соединении могут быть либо
одинакового, либо разного уровней иерархии SDH. На рис.2.10 показана схема
соединения двух колец одного уровня - STM-4, а на рис.11. каскадная схема
соединения трёх колец - STM-1, STM-4, STM-16.
Рис.
2.10.Два кольца одного уровня.
Рис.
2.11. Каскадное соединение трёх колец.
Линейная
архитектура для сетей большой протяженности.
Для
линейных сетей большой протяженности расстояние между терминальными
мультиплексорами больше или много больше того расстояния, которое может быть
рекомендовано с точки зрения максимально допустимого затухания
волоконно-оптического кабеля. В этом случае на маршруте между ТМ (рис.2.12.)
должны быть установлены кроме мультиплексоров и проходного коммутатора ещё и
регенераторы для восстановления затухающего оптического сигнала. Эту линейную
архитектуру можно представить в виде последовательного соединения ряда секций,
специфицированных в рекомендациях ITU-T G.957 и ITU-T G.958.
Рис.
2.12. Сеть SDH большой протяженности со связью типа "точка-точка" и
её сегментация.
В
процессе развития сети SDH разработчики могут использовать ряд решений,
характерных, для глобальных сетей, таких как формирование своего
"остова" (backbone) или магистральной сети в виде ячеистой (mush)
структуры, позволяющей организовать альтернативные (резервные) маршруты,
используемые в случае возникновения проблем при маршрутизации виртуальных
контейнеров по основному пути. Это наряду с присущими сетям SDH внутренним
резервированием, позволяет повысить надёжность всей сети в целом. Причём при
таком резервировании на альтернативных маршрутах могут быть использованы
альтернативные среды распространения сигнала. Например, если на основном
маршруте используется ВОК, то на резервном - РРЛ, или наоборот.
Архитектура разветвленной сети общего вида
В процессе развития сети SDH разработчики могут использовать ряд решений,
характерных для глобальных сетей, таких как формирование своего
"остова" (backbone) или магистральной сети в виде ячеистой (mash)
структуры, позволяющей организовать альтернативные (резервные) маршруты,
используемые в случае возникновения проблем при маршрутизации виртуальных
контейнеров по основному пути. Это, наряду с присущим сетям SDH внутренним
резервированием, позволяет повысить надежность всей сети в целом. Причем при
таком резервировании на альтернативных маршрутах могут быть использованы
альтернативные среды распространения сигнала. Например, если на основном
маршруте используется волоконно-оптический кабель (ВОК), то на резервном -
радиорелейная линия (РРЛ), или наоборот.
На рис. 2.13. представлена архитектура такой разветвленной (глобальной)
сети, остов (или опорная/магистральная сеть) которой сформирован для простоты в
виде одной сетевой ячейки, узлами которой являются коммутаторы типа SDXC,
связанные по типу "каждый с каждым".
Рис.
2.13. Разветвленная сеть SDH с каскадно-кольцевой и ячеистой структурой
К
этому остову присоединены периферийные сети SDH различной топологии, которые
могут быть "образами" либо корпоративных сетей, либо общегородских
сетей SDH либо сегментов других глобальных сетей. Эта структура может
рассматриваться как некий образ глобальной сети SDH.
2.3.6 Резервирование
К современной цифровой первичной сети предъявляются повышенные требования
в части параметров ее надежности. В связи с этим современные первичные сети
строятся с использованием резервных трактов и коммутаторов, выполняющих
оперативное переключение в случае неисправности на одном из каналов. В этом
случае в состав системы передачи включаются цепи резервирования
мультиплексорной секции (Multiplex Section Protection - MSP). В сети SDH
осуществляется постоянный мониторинг параметров ошибки (процедура контроля
четности BIP) и параметров связности. В случае значительного ухудшения качества
передачи в мультиплексорной секции выполняется оперативное переключение (APS)
на резервную мультиплексорную секцию. Это переключение выполняется
коммутаторами. По типу резервирования различаются коммутаторы APS с
архитектурой 1+1 и 1:n.
Наибольшее распространение имеют две схемы, непосредственно связанные с
кольцевой топологией сетей SDH -схема "горячего резервирования" (рис.
2.14 а)) и схема распределенной нагрузки (рис. 2.14 б)). В первом случае трафик
передается как в прямом, так и в резервном направлении. В случае повреждения
происходит реконфигурация и создается резервный канал. В схеме распределенной
нагрузки половина графика передается в прямом, половина - в обратном
направлении. В этом случае при возникновении неисправности происходит
переключение на уровне ресурсов.
Согласно ITU-T G.841 время резервного переключения не должно превышать 50
мс.
Рис.
2.14.Схемы резервирования в системах SDH.
3.
ТЕХНИЧЕСКАЯ ЧАСТЬ
.1
Проектирование зоны обслуживания сети СПРС
Приведенные
ниже принципы проектирования основываются на опыте проектирования сотовых сетей
связи во многих странах мира.
Целью
проектирования сети является:
обеспечение
охвата требуемой зоны обслуживания с высоким качеством речевой связи;
обеспечение
емкости для обслуживания абонентской нагрузки с низкой интенсивностью потерь.
Путем
эффективного проектирования сети (например, путем разделения зоны действия
базовой станции на секторные сотовые ячейки), а также использования имеющихся
сооружений (зданий, мачт, линий передач и т.д.), можно достичь минимальной
стоимости инфраструктуры сотовой сети. При проектировании сотовых сетей каждый
проект выполняется с учетом желаний и возможностей заказчика. Для составления
окончательного проекта сети требуется четкая информация о следующих основных
параметрах:
количество
имеющихся свободных частотных каналов (в зависимости от ширины полосы и разноса
между каналами);
планируемые
зоны обслуживания (города и магистральные дороги);
топография
и типы местностей в зонах обслуживания (карты);
существующие
сооружения и т.п. (список предлагаемых пунктов расположения базовых станций);
оценка
распределения абонентов и нагрузки;
прочие
параметры проектирования (нагрузка на абонента,
допустимая
интенсивность потерь и т.д.).
3.1.1
Оценка распределения абонентов и нагрузки
.1.1.1
Исходные статистические данные
При
проектировании зоны обслуживания сети необходимо использовать статистические
данные по численности населения Рязанской области (население области, районов и
районных центров, крупных населенных пунктов). Для этого воспользуемся
информацией предоставленной службой «Росстат» (таблица 3.1.).
Таблица
3.1.
Численности
населения Рязанской области
|
|
В том числе
|
|
Все население
|
Городское
|
Сельское
|
|
Рязанская область
|
1172325
|
820949
|
351376
|
|
г. Рязань
|
512207
|
512207
|
|
|
Ермишинский район
|
9820
|
4491
|
5329
|
|
пгт. Ермишь
|
4084
|
4084
|
|
|
Захаровский район
|
10320
|
|
10320
|
|
пгт. Захарово
|
2992
|
|
2992
|
|
Кадомский район
|
9609
|
5925
|
3684
|
|
пгт. Кадом
|
5925
|
5925
|
|
|
Касимовский район
|
32086
|
9422
|
22664
|
|
г. Касимов
|
34208
|
34208
|
|
|
пгт. Гусь-Железный
|
3700
|
3700
|
|
|
пгт. Елатьма
|
4491
|
4491
|
|
|
пгт. Лашма
|
1723
|
1723
|
|
|
пгт. Сынтул
|
1796
|
1796
|
|
|
Клепиковский район
|
27478
|
13014
|
14464
|
|
г. Спас-Клепики
|
6627
|
6627
|
|
|
пгт. Тума
|
6387
|
6387
|
|
|
Кораблинский район
|
24432
|
13569
|
10863
|
|
г. Кораблино
|
13569
|
13569
|
|
|
Милославский район
|
15042
|
6355
|
8687
|
|
пгт. Милославское
|
4564
|
4564
|
|
|
пгт. Центральный
|
1791
|
1791
|
|
|
Михайловский район
|
36353
|
19151
|
17202
|
|
г. Михайлов
|
12770
|
12770
|
|
|
пгт. Октябрьский
|
6381
|
6381
|
|
|
Новодеревенский район
|
12459
|
4084
|
8375
|
|
пгт. Александро-Невский
|
2203
|
2203
|
|
|
Пителинский район
|
6415
|
4084
|
8375
|
|
пгт. Пителино
|
2311
|
2311
|
|
|
Пронский район
|
33299
|
4084
|
8375
|
|
пгт. Пронск
|
4188
|
4188
|
|
|
г. Новомичуринск
|
20100
|
20100
|
|
|
Путятинский район
|
7838
|
|
7838
|
|
с. Путятино
|
3100
|
|
3100
|
|
Рыбновский район
|
36440
|
18973
|
17467
|
|
г. Рыбное
|
18973
|
18973
|
|
|
Ряжский район
|
29588
|
22173
|
7415
|
|
г. Ряжск
|
22173
|
22173
|
|
|
Сапожковский район
|
11653
|
4051
|
7602
|
|
пгт. Сапожок
|
4051
|
4051
|
|
|
Сараевский район
|
21022
|
6318
|
14704
|
|
пгт. Сараи
|
6318
|
6318
|
|
|
Сасовский район
|
48085
|
29247
|
18838
|
|
г. Сасово
|
29247
|
29247
|
|
|
Скопинский район
|
27456
|
2528
|
24928
|
|
г. Скопин
|
31590
|
31590
|
|
|
пгт. Павелец
|
1994
|
1994
|
|
|
пгт. Поплевинский
|
534
|
534
|
|
|
Спасский район
|
30896
|
8209
|
22687
|
|
г. Спасск-Рязанский
|
8209
|
8209
|
|
|
Старожиловский район
|
17551
|
5274
|
12277
|
|
пгт. Сторожилово
|
5274
|
5274
|
|
|
Ухоловский район
|
10918
|
5460
|
5458
|
|
пгт. Ухолово
|
5460
|
5460
|
|
|
Чучковский район
|
10299
|
4258
|
6041
|
|
пгт. Чучково
|
4258
|
4258
|
|
|
Шацкий район
|
27723
|
7033
|
20690
|
|
г. Шацк
|
7033
|
7033
|
|
|
пгт. Шилово
|
15938
|
15938
|
|
|
пгт. Лесной
|
7245
|
7245
|
|
3.1.1.2 Расчет карты нагрузки
Для расчета карты нагрузки, которая будет обслуживаться в различных
районах Рязанской области, необходимо:
1. На основе статистических данных по населению Рязанской области (п.
3.1.1.1.) найти вероятную нагрузку (объем трафика) на основе анализа рынка
услуг и числа потенциальных абонентов;
2. Рассчитать трафик и построить его географическое распределение по
районам Рязанской области;
. На основе данных по трафику вычислить необходимое количество
разговорных каналов в радиоинтерфейсе стандарта GSM.
При расчете карты нагрузки воспользуемся математической моделью системы с
отказами (модель Эрланга В), которую обычно используют для расчетов емкости
сотовых систем мобильной связи [1].
В данной модели вероятность отказа (вероятность поступления вызова в
момент, когда все каналы заняты) определяется выражением:
, (3.1)
где
N - число каналов, А - трафик.
По
известным данным:
данные
по численности населения;
вероятность
отказа РВ = 2 %;
количество
роумеров 20 %;
процент
звонящих в ЧНН (час наибольшей нагрузки) 65 - 95 %;
средняя
продолжительность разговора Т = 45 с.
Можно
количественно оценить предполагаемый трафик в населенных пунктах Рязанской
области с известной численностью населения.
Пусть
число абонентов NЗ, совершающих звонок в ЧНН составляет 65% от общего
числа абонентов сети NA. С учетом того, что в Рязанской области действуют 3
сотовых оператора (ОАО«МегаФон»,ОАО «МТС», и ОАО «Вымпелком») количество
звонков в ЧНН определится выражением:
NЗ = ((NA+0,2NA)0,65)/3.
(3.2)
Тогда
трафик составит:
А
= (NЗ * Т)/3600 эрл. (3.3)
Произведем
расчет трафика для каждого из населенных пунктов Рязанской области с известной
численностью населения. Результаты расчета представлены в таблице 3.2.
Таблица
3.2.
Результаты
расчета трафика
|
Населенный пункт
|
Численность населения
|
Количество роумеров
|
Число звонков в ЧНН (NЗ)
|
Трафик А,эрл
|
|
Касимов
|
34208
|
6841,6
|
8894,07
|
111,18
|
|
Скопин
|
31590
|
6318
|
8213,39
|
102,67
|
|
Сасово
|
29247
|
5849,4
|
7604,21
|
95,05
|
|
Ряжск
|
22173
|
4434,6
|
5764,97
|
72,06
|
|
Новомичуринск
|
20100
|
4020
|
225,99
|
65,32
|
|
Рыбное
|
18973
|
3794,6
|
4932,98
|
61,66
|
|
Шилово
|
15938
|
3187,6
|
4143,88
|
51,80
|
|
Кораблино
|
13569
|
2713,8
|
3527,94
|
44,10
|
|
Михайлов
|
12770
|
2554
|
3320,20
|
41,50
|
|
Спасск-Рязанский
|
8209
|
1641,8
|
2134,34
|
26,68
|
|
Лесной
|
7245
|
1449
|
1883,70
|
23,55
|
|
Шацк
|
7033
|
1406,6
|
1828,58
|
22,86
|
6627
|
1325,4
|
1723,02
|
21,54
|
|
Тума
|
6387
|
1277,4
|
1660,62
|
20,76
|
|
Октябрьский
|
6381
|
1276,2
|
1659,06
|
20,74
|
|
Сараи
|
6318
|
1263,6
|
1642,68
|
20,53
|
|
Кадом
|
5925
|
1185
|
1540,50
|
19,26
|
|
Ухолово
|
5460
|
1092
|
1419,60
|
17,74
|
|
Сторожилово
|
5274
|
1054,8
|
1371,24
|
17,14
|
|
Милославское
|
4564
|
912,8
|
1186,64
|
14,83
|
|
Елатьма
|
4491
|
898,2
|
1167,66
|
14,60
|
|
Чучково
|
4258
|
851,6
|
1107,08
|
13,84
|
|
Пронск
|
4188
|
837,6
|
1088,88
|
13,61
|
|
Ермишь
|
4084
|
816,8
|
1061,84
|
13,27
|
|
Сапожок
|
4051
|
810,2
|
1053,26
|
13,17
|
|
Гусь-Железный
|
3700
|
740
|
962,00
|
12,02
|
|
Путятино
|
3100
|
620
|
806,00
|
10,07
|
|
Захарово
|
2992
|
598,4
|
777,92
|
9,72
|
|
Пителино
|
2311
|
462,2
|
600,86
|
7,51
|
|
Александро-Невский
|
2203
|
440,6
|
572,7
|
7,16
|
|
Павелец
|
1994
|
398,8
|
518,44
|
6,48
|
|
Сынтул
|
1796
|
359,2
|
466,96
|
5,84
|
|
Центральный
|
1791
|
358,2
|
465,66
|
5,82
|
|
Лашма
|
1723
|
344,6
|
447,98
|
5,60
|
|
Поплевинский
|
534
|
106,8
|
138,84
|
1,74
|
При определении необходимого числа каналов (для обеспечения заданной
вероятности отказа) воспользуемся графиком зависимости числа каналов от трафика
(рис 3.1.) соответствующим вероятности отказа в системе РВ = 2 % [1].
Рис. 3.1. График зависимости числа каналов от трафика.
Результаты определения необходимого числа каналов для каждого из
населенных пунктов с известной численностью населения представлены в таблице
3.3.
Таблица 3.3.
Распределение трафика и числа каналов для населенных пунктов Рязанской
области.
|
Населенный пункт
|
Трафик А (эрл)
|
Число каналов N
|
|
Касимов
|
111,18
|
125
|
|
Скопин
|
102,67
|
116
|
|
Сасово
|
95,05
|
107
|
|
Ряжск
|
72,06
|
84
|
|
Новомичуринск
|
65,32
|
77
|
|
Рыбное
|
61,66
|
73
|
|
Шилово
|
51,80
|
63
|
|
Кораблино
|
44,10
|
54
|
|
Михайлов
|
41,50
|
52
|
|
Спасск-Рязанский
|
26,68
|
36
|
|
Лесной
|
23,55
|
31
|
|
Шацк
|
22,86
|
30
|
|
Спас-Клепики
|
21,54
|
29
|
|
Тума
|
20,76
|
28
|
|
Октябрьский
|
20,74
|
28
|
|
Сараи
|
20,53
|
28
|
|
Кадом
|
19,26
|
26
|
|
Ухолово
|
17,74
|
26
|
|
Сторожилово
|
17,14
|
25
|
|
Милославское
|
14,83
|
24
|
|
Елатьма
|
14,60
|
24
|
|
Чучково
|
13,84
|
21
|
|
Пронск
|
13,61
|
21
|
|
Ермишь
|
13,27
|
20
|
|
Сапожок
|
13,17
|
20
|
|
Гусь-Железный
|
12,02
|
20
|
|
Путятино
|
10,07
|
17
|
|
Захарово
|
9,72
|
17
|
|
Пителино
|
7,51
|
14
|
|
Александро-Невский
|
7,16
|
14
|
|
Павелец
|
6,48
|
12
|
|
Сынтул
|
5,84
|
12
|
|
Центральный
|
5,82
|
12
|
|
Лашма
|
5,60
|
11
|
|
Поплевинский
|
1,74
|
5
|
3.1.2 Проектирование карты покрытия
.1.2.1 Проектирование местоположения БС
При проектировании карты покрытия СПРС, помимо численности населения,
необходимо учитывать расположение автотрасс и железных дорог, которые также
желательно охватить зоной устойчивой связи. Поэтому базовые станции
целесообразно устанавливать вблизи автотрасс, где сосредоточено значительное
количество роумеров.
При расстановке заданного количества базовых станций (60 БС), в первую
очередь обеспечиваем связью районные центры области. На первом этапе выделим
районные центры имеющие структуру близкую к городской, предполагают большой
объем обслуживаемого трафика и его рост в перспективе. К таким райцентрам
относятся: Касимов, Скопин, Сасово, Ряжск, Новомичуринск, Рыбное, Шилово. Так
как выделенные на первом этапе рапе райцентры занимают значительную площадь и
обеспечить их радиопокрытие с помощью одной БС невозможно в силу особенностей
диаграмм направленности антенн, то число БС в этих райцентрах не менее двух.
Заметим, что карта нагрузки предполагает возможность использования и одной БС,
так как она позволяет обеспечить 168 абонентов в полноскоростном режиме или 336
абонентов в полускоростном режиме в максимальной конфигурации без расширения.
Однако вышеуказанные географические особенности требуют установки двух БС в
этих райрнных центрах. Специфика рельефа остальных районов, необходимое число
каналов в ЧНН, а также то,что они имеют меньшую площадь, позволяет обеспечит их
связью с помощью одной БС.
Результат распределения БС представлен в таблице 3.4.
Таблица 3.4.
Распределение БС по населенным пунктам.
|
Населенный пункт
|
Количество БС
|
Населенный пункт
|
Количество БС
|
|
Касимов
|
2
|
Сторожилово
|
1
|
|
Скопин
|
2
|
Милославское
|
1
|
|
Сасово
|
2
|
Елатьма
|
1
|
|
Ряжск
|
2
|
Чучково
|
1
|
|
Новомичуринск
|
2
|
Пронск
|
1
|
|
Рыбное
|
2
|
Ермишь
|
1
|
|
Шилово
|
2
|
Сапожок
|
1
|
|
Кораблино
|
1
|
Гусь-Железный
|
1
|
|
Михайлов
|
1
|
Путятино
|
1
|
|
Спасск-Рязанский
|
1
|
Захарово
|
1
|
|
Лесной
|
1
|
Пителино
|
1
|
|
Шацк
|
1
|
Александро-Невский
|
1
|
|
Спас-Клепики
|
1
|
Павелец
|
1
|
|
Тума
|
1
|
Сынтул
|
1
|
|
Октябрьский
|
1
|
Центральный
|
1
|
|
Сараи
|
1
|
Лашма
|
1
|
|
Кадом
|
1
|
Поплевинский
|
1
|
|
Ухолово
|
1
|
|
|
Таким образом, остались неразмещенными 18 БС из 60. Эти БС будут
установлены рядом с автотрассами в местах близкого расположения нескольких
населенных пунктов (сел и деревень), в наиболее крупных из оставшихся селах или
поселках городского типа.