|
Варіант
|
D, В
|
FB, кГц
|
P(1)
|
Mпом
|
Pш.кв, Вт
|
|
08
|
70
|
4,0
|
0,811
|
4,5
|
0,09
|
1.2 Опис роботи АЦП
Неперервні сигнали є найбільш
розповсюдженими. До їх числа відноситься мова, рухомі та нерухомі зображення,
різноманітні телеметричні параметри, характеристики положення у просторі
об’єктів, та ін..
Головна ідея цифрової передачі
полягає у тому, що відліки неперервного повідомлення (первинного сигналу), що
розділені інтервалом часу
, де FВ
- максимальна частота у спектрі повідомлення, відображаються кодовими
комбінаціями імпульсів напруги чи струму. Неперервне повідомлення перетворюється
у послідовність кодових комбінацій, тобто у цифрову послідовність.
На рис. 1.1 зображено перетворення
відліків неперервного повідомлення у кодові комбінації двійкових імпульсів.
Елементами кодових комбінацій є
імпульси струму прямокутної форми та паузи між ними. Значення неперервного
повідомлення с(t) у моменти відліків
замінюється
найближчими квантованими рівнями, які у свою чергу кодуються, тобто
відображаються кодовими комбінаціями імпульсів bk(t)
у двійковій системі числення. Кодування здійснюється шляхом представлення у
двійковому коді відповідних номерів квантованих рівнів.
Рис.1.1. Пояснення роботи АЦП
1.3 Розрахунок параметрів АЦП
У системах ІКМ спотворення сигналів
при їх відтворенні у приймачі обумовлені як дією адитивних завад, так і
помилками, що вносяться квантуванням неперервного повідомлення. Процес
квантування створює так званий шум квантування, середня потужність якого
визначається формулою:
,
де δ
- крок квантування неперервного повідомлення.
Звідки:
(c).
З іншого боку, відношення середньої
потужності сигналу, до потужності шуму квантування визначає відношення
сигналу/шуму квантування h2ш.кв:
.
Таким чином, отримаємо:
(Вт).
Число рівнів квантування M,
визначаємо за формулою:
,
Довжина кодової комбінації n,
визначається з умови
. Очевидно, що дана
нерівність реалізується при
. Оскільки n
- є цілим числом, то n=7.
Для того, щоб зобразити кодову
комбінацію, що відповідає числу 60 (68-8=60),
перетворимо його у двійкову систему:
6010=01111002
Отримане число є кодовою
комбінацією, що відповідає заданому числу.
1.4 Розрахунок параметрів
цифрового сигналу на виході АЦП
Згідно з умовою, задано верхню межу
частоти спектру сигналу FB.
Згідно з теоремою Котельникова, частота дискретизації Fd
повинна бути хоча б у два рази більшою, тобто Fd
і= 2FВ.
Тепер, користуючись формулою:
,
де N+2
- кількість каналів (два канальних інтервали при цьому передбачені для передачі
синхронізації сигналів управління та взаємодії, N+2=3).
Неважко
знайти тривалість передачі двійкового елементу цифрового сигналу з ІКМ у
багатоканальній системі передачі:
(c).
Тривалість кодової комбінації
знаходиться як добуток тривалості передачі двійкового елементу на кількість
елементів у кодовій комбінації:
(c)
Ширина спектру сигналу з ІКМ приблизно
рівна швидкості передачі цифрового сигналу з ІКМ, дорівнює:
(Гц).
.5 Побудова
графіку для ентропії джерела двійкових сигналів та розрахунок продуктивності
джерела цифрового сигналу
Нехай дискретне джерело видає
послідовність символів довжиною n
з алфавітом обсягом m.
Тоді кількість можливих послідовностей довжиною n
рівна nm.
Припустимо, що ймовірності P(ai[n])
появи цих послідовностей задані. Кількість
інформації, яка міститься в послідовності ai[n]
довжини
n є випадковою
величиною, і дорівнює:
.
Припустимо,
що всі повідомлення незалежні та несумісні, а також, крім цього
.
Вважатимемо, що шуми в каналі передачі відсутні. Тоді, кількість інформації, що
несе повідомлення ai
рівне:
.
У відповідності до правил теорії
ймовірностей, середня кількість інформації, що міститься в одному символі,
дорівнює математичному сподіванню величини I(ai),
тобто:
цифровий модулятор приймач код
.
Дану формулу можна переписати у
вигляді:
.
Дана величина називається ентропією
джерела повідомлень, і характеризує міру невизначеності сукупності повідомлень
даного джерела.
Розглянемо випадок, повідомлення
можуть приймати значення 0 та 1, з ймовірностями
P(0) та
P(1)=1-P(0).
Згідно з умовою варіанту: P(1)=p=0,611.
Тоді:
.
Графік залежності H(a)
від p
наведено на рис. 1.2.
З отриманого графіка визначаємо, що
ймовірності P(1)
відповідає значення ентропії H=0,699.
Рис.1.2. Графік залежності H(a)
від p
Аналіз виразу для ентропії вказує на
те, що при заданому n,
функція H(a)
максимальна і дорівнює Hmax(a)=logn
тоді, коли всі повідомлення рівноймовірні, тобто:
,
що відповідає найбільшій невизначеності. Продуктивність джерела двійкових
цифрових сигналів рівна:
.
Визначимо припустиме значення
ймовірності помилкового прийому двійкового символу. Середня кількість помилково
прийнятих квантованих рівнів Mпом
пов’язана з ймовірністю помилки Pпом
співвідношенням:
.
Звідки, отримуємо:
.
2. Розробка структури цифрового
лінійного тракту, розрахунок його завадостійкості і розробка структурної схеми
каналу зв’язку
.1 Постановка задачі
У відповідності з вимогами цифрового
лінійного тракту, визначеними у першому розділі (швидкість передачі та
ймовірність помилки) для заданого типу маніпуляції та способу демодуляції
розробити структуру модулятора та демодулятора, і розрахувати характеристики і
параметри завадостійкості.
Передбачається, що на вхід
демодулятора надходить адитивна суміш сигналу і шуму з рівномірною спектральною
щільністю G0 .
Необхідно:
. Для заданого типу маніпуляції
зобразити функціональну схему модулятора, описати алгоритм роботи його
елементів. Зобразити часові діаграми і спектри коливань на входах і виходах
усіх функціональних елементів модулятора для первинного сигналу типу
"меандр". Розрахувати ширину спектру маніпульованого сигналу.
. Записати формулу, що визначає
алгоритм роботи ідеального приймача, зобразити його функціональну схему і
коротко описати принцип його роботи.
. Зобразити часові діаграми коливань
на входах та виходах усіх функціональних елементів демодулятора. Записати
вирази для напруги на виходах пристроїв оптимальної обробки (кореляторів або
узгоджених фільтрах) в момент реєстрації.
. Розрахувати залежність
.
Оформити її у вигляді таблиці. За результатами розрахунку побудувати цю
залежність у напівлогарифмічному масштабі. По розрахованому в першому розділі
значенні ймовірності помилки, визначити значення Q2,
що забезпечує потрібну завадостійкість.
. Розрахувати мінімальне значення
середньої потужності Pc,
на вході демодулятора, яке відповідає потрібному значенню Q2.
. Зобразити структурну схему каналу
електрозв’язку ЦСП, що відповідає заданому способу обробки сигналу (модуляція,
демодуляція і спосіб прийому). Структурна схема каналу електрозв’язку повинна
бути достатньо повною і містити в собі блоки, які реалізують усі суттєві з
точки зору теорії електрозв’язку перетворення сигналів на передаючій та
приймальній сторонах.
Згідно умові варіанта, та
результатам, отриманим в розділі 1 маємо наступні вихідні дані:
Вид маніпуляції - АМ.
Спосіб демодуляції - КГ здвоєний
прийом на УФ в каналах із завмираннями з оптимальним додаванням сигналів.
Спектральна щільність шуму - G0
=
1.10-13
Вт/Гц.
Швидкість передачі -
Гц.
Ймовірність помилки -
2.2 Теоретичний аналіз алгоритму
роботи модулятора
,
.
Найбільше практичне застосування знайшла
АМ, у якої a2=0,
тобто імпульсу "1" відповідає передача радіоімпульсу з частотою ω0,
а символу "0" - відсутність коливання (пауза). Тому амплітудну
маніпуляцію називають маніпуляцією з активною паузою. Часові діаграми, що
пояснюють принцип АМ, показані на рис. 2.1.
у
Рис. 2.1. Алгоритм роботи
амплітудної маніпуляції
Принцип формування сигналів з АМ
пояснюється структурною схемою, що зображена на рис. 2.2. На схемі ключ К
керується первинним сигналом c(t):
при подачі на його керуючий вхід "1" він замикається, а при подачі на
вхід "0" - розмикається. Сигнал від генератора G
проходить, тільки у ті моменти часу, коли c(t)=1.
Рис. 2.2. Принцип формування
сигналів з АМ
Теоретична ширина спектру сигналів з
АМ нескінчена, однак її можна обмежити скінченим числом гармонік n.
Формула для обчислення ширини спектру має вигляд:
,
де V
- швидкість передачі сигналів.
Підставляючи чисельні дані при n=1,
маємо:
(Гц).
2.3 Опис роботи ідеального приймача
Нехай протягом часу (0, τi)
тривалості одного елемента сигналу аналізується прийняте коливання:
де Ai(t)
- переданий i-й
корисний сигнал; B(t)
- флуктуаційна завада у вигляді білого гауссівського шуму.
Апріорні ймовірності P(Ai)
появи i-го
елемента сигналу Ai(t)
є відомими. Приймач повинен вирішити статистичну задачу про те, який елемент
сигналу йому був переданий (A1,
A2,…,
Am,).
Коротко це правило будемо називати правилом вирішення, а схему, що працює по
алгоритму цього правила - вирішальною схемою.
Оскільки
у викладках, що наводяться нижче, завадостійкість оцінюється відносно
флуктуаційної завади, то оптимальне правило вирішення буде визначатися для
нормального розподілу миттєвих значень завади з густиною ймовірності:
.
Нехай приймач виносить рішення по результату
обчислення сумісної апостеріорної ймовірності n
відліків коливання, що приймається. Тоді, апостеріорні ймовірності будуть мати
вигляд:
Де
-
умовна густина ймовірності, що обчислена для сукупності прийнятих значень
прийнятої
реалізації
.
Якщо відліки
є
статистично незалежними, то:
де
-
умовна густина ймовірності, що обрахована для одиночного відліку.
Для нормального закону розподілу:
де
-
значення сигналу Аk(t)
в
l-й
момент відліку.
Відповідно, отримаємо:
.
Нехай коливання Z(t),
сигнал Аk
та
завада
у
точках відліку визначаються середніми значеннями:
,
,
.
де
,
n - кількість
відліків.
Тоді:
,
.
У відповідності до загального
принципу реєстрації сигналів по критерію максимуму апостеріорної ймовірності,
правило вирішення можна сформулювати наступним чином:
. Реєструється сигнал Ai(t),
якщо виконується нерівність:
2. Сигнал Aj(t)
у
протилежному випадку.
Отже, правило вирішення у
аналітичному вигляді можна записати як:
.
При необмеженому зменшенні інтервалу
Δt шляхом граничного
переходу та логарифмування, отримаємо:
.
де
-
питома інтенсивність (середня потужність у полосі 1 Гц) флуктуаційної завади,
-
прийнята реалізація коливання Z(t),
Ai(t)
і Aj(t)
- сигнали, апостеріорні ймовірності яких порівнюються між собою.
Далі піднесемо до квадрату попередню
формулу. Можна показати, що в цьому випадку:
,
де
-
енергія переданого
елемента сигналу.
Отримана формула, в загальному
випадку, є формулою, що визначає алгоритм роботи ідеального приймача.
Функціональна схема приймача, що реалізує даний алгоритм, зображена на рис.2.3.
Схема
має m
гілок обробки сигналу, що передається. Кожна з цих гілок узгоджена з одним із m
сигналів. Процедура обробки включає в себе множення прийнятого коливання з
даним сигналом, їх інтегрування та віднімання з отриманого результату рівня
.
Кожен
i-й
відлік
Zi
є
результатом обробки коливання Z(t)
в
інтервалі (0,τi)
у
припущенні, що був переданий i-й
елемент сигналу. Величина Zi
пропорційна апостеріорній ймовірності.
Рис.2.3. Структурна схема ідеального
приймача
З алгоритму роботи ідеального
приймача випливає, що для його реалізації необхідно на приймальному боці каналу
зв’язку
точно знати такі дані:
. копії переданих елементів сигналу A1(t),
A2(t),….Am(t);
2. енергії переданих
елементів E1,
E2,…,Em;
. апріорні
ймовірності появи кожного з елементів сигналу;
. спектральну щільність потужності
шуму G0;
. часові межі
елементів сигналу (0,τi).
У системах зв’язку
в основному використовується двійкові сигнали.
При
цьому апріорні ймовірності для обох символів однакові, і рівні 0,5. У цьому
випадку загальний алгоритм роботи ідеального приймача спрощується:
де Е1 та Е2 -
енергії відповідно елементів A1(t)
та A2(t).
Зауважимо, що послідовно з’єднана
схема множення та інтегрування називається корелятором, оскільки вона визначає
функцію взаємної кореляції між двома коливаннями Z(t)
Ai(t)
де i=1,2.
.4
Аналіз роботи демодулятора
Сигнал з АМ (пасивною паузою) можна
записати у вигляді:
,
.
При цьому енергія елемента сигналу А1(t)
рівна
E1=E,
а елемента сигналу E2
рівна нулю.
Оптимальне правило (2.1) для
сигналів з АМ приймає у цьому випадку вигляд:
, якщо передається
"1"
, якщо передається
"0".
Схема приймача Котельникова, яка
реалізує це правило, що побудована на УФ, зображена на рис. 2.4.
Рис. 2.4. Схема приймача
Котельникова для сигналів з АМ
Часові форми напруг на всіх ділянках
схеми, зображено на рис. 2.5.
Рис. 2.5. Часові форми сигналу на
елементах схеми
2.5 Розрахунок залежності
Ймовірність Pпом
помилкового прийняття елемента сигналу при когерентному способі прийому з
відносно-фазовою маніпуляцією сигналу визначається виразом:
,
де Q2
- відношення сигнал/завада сигналу, Ф - інтеграл
ймовірності, що визначається як:
У відповідності до цієї формули,
розрахуємо таблицю її значень (Таблиця 1), та побудуємо графік
.
Таблиця 1. Значення функції
ймовірності помилки
|
Q2
|
Pпом
|
ln(Pпом)
|
Q2
|
Pпом
|
ln(Pпом)
|
|
2
|
0,16
|
-1,84
|
28
|
9,14.10-4
|
-9,3
|
|
4
|
0,08
|
-2,54
|
30
|
7,83.10-5
|
-9,83
|
|
6
|
0,04
|
-3,18
|
32
|
3,17.10-5
|
-10,36
|
|
8
|
0,02
|
-3,78
|
34
|
1,87.10-5
|
-10,89
|
|
10
|
0,01
|
-4,37
|
36
|
1,1.10-5
|
-11,41
|
|
12
|
7,15.10-3
|
-4,94
|
38
|
6,54.10-6
|
-11,94
|
|
14
|
4,08.10-3
|
-5,5
|
40
|
3,87.10-6
|
-12,46
|
|
16
|
2,34.10-3
|
-6,06
|
42
|
2,3.10-6
|
-12,98
|
|
18
|
1,35.10-3
|
-6,61
|
44
|
1,36.10-6
|
-13,51
|
|
20
|
7,83.10-4
|
46
|
8,1.10-7
|
-14,03
|
|
22
|
4,56.10-4
|
-7,69
|
48
|
4,82.10-7
|
-14,55
|
|
24
|
2,66.10-4
|
-8,23
|
50
|
2,87.10-7
|
-15,06
|
|
26
|
1,56.10-4
|
-8,77
|
52
|
1,71.10-7
|
-15,58
|
Графік залежності
зображено
на рис.2.9
Рис.2.6.
Графік залежності
З графіка визначаємо, що ймовірності
(
)
відповідає значення Q2
рівне 13,8. Мінімальне значення середньої потужності
Pс
на вході демодулятора визначається співвідношенням:
,
де G0
- спектральна щільність середньої потужності шуму.
Маємо:
(Вт).
2.6 Структурна схема
каналу електрозв’язку
Структурна схема каналу електрозв’язку
ЦСП, основні вимоги до якого пред’явлені
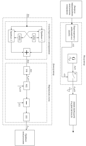
в завданні курсового проекту, представлено на рис.2.7.
Розглянемо основні процеси перетворення сигналів, що відбуваються в даній
схемі. Сигнал від джерела
інформаційних повідомлень (наприклад, звичайного мікрофона), модулюється
наступним чином. Елемент повідомлення у вигляді аналогового сигналу надходить
до аналогово-цифрового перетворювача (АЦП), основна функція якого полягає у
перетворенні аналогового (неперервного) сигналу у послідовність двійкового
коду. Ця двійкова послідовність, далі, у вигляді імпульсів прямокутної форми
надходить до схеми амплітудної маніпуляції (модулятора), яка складається із
генератора гармонічного сигналу G
та електронного ключа, який замикається тільки при наявності на виході АЦП
логічної одиниці. Проманіпульований таким чином сигнал поступає в лінію
передачі радіосигналу. Прийом
кодової послідовності починається із схеми боротьби із завмираннями. Ефективним
способом боротьби із завмираннями є спосіб, за якого передане повідомлення
відтворюється не по одному, а по двом чи декільком сигналам, що несуть одну і
ту ж інформацію. Це можуть бути сигнали, що передаються одночасно з різними
частотами (рознесення по частоті), або в різні моменти часу (рознесення в
часі). Найбільш розповсюдженим в радіозв’язку є спосіб прийому на рознесені
антени, при якому сигнал приймається одночасно декількома антенами, що
знаходяться одна від одної на відстані декількох довжин хвиль. Рознесений
прийом по двом сигналам називають здвоєним.
Ідея
рознесеного прийому полягає у тому, що замирання в різних гілках рознесення не
скорельовані між собою, а тому у той час, коли у одних місцях рівень сигналу
виявляється дуже слабким, у інших гілках він може бути достатньо високим, і по
ньому легко відновити передане повідомлення.
У даній курсовій роботі
використовується здвоєний когерентний прийом. Сигнали, приймаються приймачами 1
та 2, а потім надходять до суматора. Завадостійкість рознесеного прийому
залежить від конкретного способу додавання сигналів у суматорі. У даній курсовій
роботі реалізовано принцип оптимального додавання. Рівень сигналу на виході
одного приймача обернено пропорційний до амплітуди сигналу на виході іншого
приймача. Коефіцієнти пропорційності є коефіцієнтами підсилення кожного із
приймачів, які автоматично регулюються сигналами протилежного приймача за
допомогою схем АРП. Після
схеми боротьби із завмираннями, сигнал поступає на УФ вирішальної схеми. У
випадку, коли на вхід схеми надходить сигнал, що відповідає рівню логічної
одиниці, після УФ (через час одного імпульсу) напруга чисельно буде рівна
енергії E
сигналу. Якщо ж передавався логічний нуль, після УФ напруги не буде. Далі, від
сигналу з УФ віднімається напруга, що чисельно рівна половині енергії сигналу.
Тому, на пороговий пристрій надходять два можливих сигнали. При Z(t)=1 на ПП у
момент реєстрації на виході схеми буде сигнал, що чисельно рівний E/2.
При Z(t)=0 на ПП у момент реєстрації сформується сигнал, що чисельно рівний -E/2.
ПП, у свою чергу, додатній сигнал перетворить у імпульс позитивної полярності,
а від’ємний
- у імпульс негативної полярності.
Отримуючи інформацію про полярність
сигналу, приймач повідомлення має змогу зробити висновок про те, який символ
був переданий (логічний нуль, чи одиниця).
Рис.2.7.
Структурна
схема каналу електрозв’язку
ЦСП
3. Аналіз алгоритмів роботи кодеків
у системах із завадостійким кодуванням
3.1 Постановка
задачі
На вхід пристрою захисту від помилок
апаратури передачі даних надходять сигнали у вигляді кодових комбінацій коректуючого
коду Хемінга (9,5), який дозволяє виявити подвійні та виправляти поодинокі
помилки. Відомо, що через вплив завад у кожній кодовій комбінації спотворений
один елемент сигналу (1→0 або 0→1).
Необхідно:
. Зробити аналіз кодової комбінації,
визначити номер спотвореного елемента та значення переданого символу (букви),
якщо джерелом сигналу є телеграфний апарат СТА-67М;
. Визначити ймовірність помилкового
прийому комбінації символів коду Хемінга та простого безнадлишкового коду, якщо
на ймовірність прийому одного елемента сигналу без застосування завадостійкого
кодування рівна p;
. З’ясувати, у скільки разів
поліпшилася завадостійкість завдяки використанню коректуючого коду.
.2 Аналіз
заданої комбінації, визначення спотвореного елемента та зашифрованого символу
(букви)
Згідно умові варіанту задано
наступну послідовність символів (С1,…,С9) та ймовірності p:
|
Варіант
|
С9
|
С8
|
С7
|
С6
|
С5
|
С4
|
С3
|
С2
|
С1
|
p
|
|
8
|
0
|
0
|
0
|
1
|
0
|
1
|
0
|
0
|
1
|
0,007
|
Аналіз прийнятої кодової комбінації
на предмет виявлення спотвореного елемента сигналу проводиться шляхом перевірки
на парність сум відповідних елементів комбінації. З цією метою обчислюється
значення елементів шумового вектора (синдрому послідовності) відповідно до
алгоритму:
де знаком
позначено
операцію додавання за модулем 2.
Якщо у прийнятій комбінації є
помилкові елементи, то умови перевірки на парність одиниць не виконуються, а
отже у шумовому векторі
будуть міститись
ненульові елементи. Кодова комбінація цього вектора є номером спотвореного
елемента прийнятої комбінації, записаним у двійковій системі числення.
Перевівши його у десяткове число, та отримавши номер спотвореного елемента,
необхідно змінити його на протилежний (1→0 або 0→1). Інформаційними
елементами у прийнятій комбінації коректуючого коду Хемінга є елементи, що
знаходяться під номерами 9,7,6,5 та 3.
Для заданої комбінації, компоненти
шумового вектора матимуть значення:
Тобто:
.
Номер спотвореного елементу: 00112=310.
Таким чином, правильна послідовність
символів у коректуючому коді Хемінга має вид:
|
С9
|
С8
|
С7
|
С6
|
С5
|
С4
|
С3
|
С2
|
С1
|
|
0
|
0
|
0
|
1
|
0
|
1
|
1
|
0
|
1
|
Зашифроване повідомлення (код
символу):
Згідно таблиці кодів МТК-2,
визначаємо, що заданій комбінації відповідає символ "X".
3.3 Розрахунок ймовірності
помилкового прийому комбінації коду Хемінга та простого безнадлишкового коду
МТК-2
Під час передачі цифрових сигналів,
через вплив завад, трапляється ситуація, коли кодова комбінація виявляється
спотвореною. Дане явище підпорядковується статистиці Бернуллі, а отже, може
бути розрахованою за формулою:
де p
- ймовірність помилкового прийому одного елемента
комбінації, n - довжина
кодової комбінації (n=9
для коду Хемінга, та n=5
для коду МТК-2), i
- ціле число, що визначає кратність помилок (
для
коду МТК-2 та
для коду Хемінга),
- число сполучень з n
по i
визначається за формулою:
Розрахуємо значення
для
n=5
та n=9:
|
n
|
i=1
|
i=2
|
i=3
|
i=4
|
i=5
|
i=6
|
i=7
|
i=8
|
i=9
|
|
5
|
5
|
10
|
10
|
5
|
1
|
-
|
-
|
-
|
-
|
|
9
|
-
|
36
|
84
|
126
|
126
|
84
|
36
|
9
|
1
|
Ймовірність неправильного прийому
кодової комбінації коду МТК-2:

Таким чином, завдяки коректуючому
коду завадостійкість покращилася у
разів.
Висновки
В ході виконання курсового проекту,
в рамках частини, що присвячена розробці та розрахунку основних елементів ЦСП з
ІКМ було:
.Проаналізовано та вивчено процеси,
яким піддається аналоговий сигнал в АЦП. Зображено часові діаграми, що
пояснюють ці процеси. Розраховано параметри АЦП: крок квантування, відношення
середніх потужностей сигналу і шуму квантування, число рівнів квантування,
довжину кодової комбінації.
.Розраховано параметри цифрового
сигналу на виході АЦП: тривалість двійкового елементу та кодової комбінації,
ширину спектру групового цифрового сигналу, а також швидкість його передачі.
.Розраховано продуктивність джерела
двійкових цифрових сигналів.
.Побудовано графік залежності
ентропії джерела двійкових сигналів від їхньої ймовірності передачі, а також
розраховано значення допустимої кількості помилкового прийнятих квантованих
рівнів в одиницю часу.
.За заданою вимогою по припустимому
значенню кількості помилково прийнятих квантованих рівнів в одиницю часу,
розраховано припустиме значення ймовірності помилкового прийому двійкового
символу.
В рамках виконання другої частини по
розробці модулятора та демодулятора цифрового лінійного тракту було:
.Для заданого виду маніпуляції
зображено функціональну схему модулятора та описано алгоритм його роботи.
Зображено часові діаграми на входах та виходах усіх функціональних елементів
модулятора для первинного сигналу типу "меандр" зі шпаруватістю 2.
.Проаналізовано алгоритм роботи
ідеального приймача, зображено його функціональну схему.Зображено часові
діаграми коливань на входах та виходах усіх функціональних елементів
демодулятора.
.Зображено структурну схему каналу
електрозв’язку ЦСП, що
відповідає заданому способу обробки сигналу. Пояснено принцип роботи основних
вузлів схем модулятора та демодулятора.
В рамках виконання третьої частини
курсового проекту було проаналізовано алгоритм, за яким здійснюється
декодування двійкових повідомлень, зашифрованих коректуючим шифром Хемінга.
Виконано дешифрування заданої послідовності та розраховано ймовірності
неправильного прийому комбінації символів, зашифрованої шифром Хемінга та
простого, безнадлишкового коду МТК-2. Встановлено, що хоча безнадлишковий код
потребує передачі меншої кількості символів, ймовірність помилки, при його
передачі є значно більшою. Хоча б це робить коректуючи коди виправданими у
застосуванні.
Список використаної літератури
1. Теплов Н.Л. Теория
передачи сигналов-М.: Воениздат 1976 - 426с.
2. Бабич ВД, Кувшинов
О.В., Лівінцев С.П. Основи теорії інформації
К:КВІУС .2010
-42 с.
3. Руководство к групповым
упражнениям по учебной ДИСЦИПЛИНЕ "Основы военной техники связи. -К:
КВВИДКУС, 1981 - 46 с
4. Методичні рекомендації
для курсантів до семінарів та самостійних робіт під керівництвом викладача по
навчальній дисципліні "Теорія електрозв’язку" -К: КВІУЗ, 2009.
35 с.
5. Денисюк В.Н.
Модулированныесигналы. - К: КВВИДКУС < 1975.-231 с.
. Хмелев К.Ф., Волков А.В.
Цифровые системы передачи. - К КВИУС 2008.-
144 с.
. Бураченко. ДЛ. Заварин
Т.Д., Клюев Н.И и др., Общая теория связи. Под ред. Ч.М. Финка. -Л.:
ВАС,1°70-411 с.
. Аристов Ю. Д., Давыденко
А.А. Принципы построения цифровых систем передачи - К:КВВИДКУС, 1980.-95 с.
. ВС. Бородиня Н.Г. Руденко.
Методические рекомендации по оформлению дипломных проектов (работ). - К:
КВИДКУС, 1984 - 121 с.