Расчет силовых компонентов привода механизма подъема/опускания груза промышленного робота

  • Вид работы:
    Курсовая работа (т)
  • Предмет:
    Информатика, ВТ, телекоммуникации
  • Язык:
    Русский
    ,
    Формат файла:
    MS Word
    743,77 Кб
  • Опубликовано:
    2013-08-18
Вы можете узнать стоимость помощи в написании студенческой работы.
Помощь в написании работы, которую точно примут!

Расчет силовых компонентов привода механизма подъема/опускания груза промышленного робота















Расчет силовых компонентов привода механизма подъема / опускания груза промышленного робота

Введение

Эффективность средств производства, которыми располагает человеческое общество, в значительной степени определяется совершенством способов получения энергии, необходимой для выполнения механической работы в производственных процессах. Производственные механизмы, без которых нельзя в настоящее время представить ни одно производство, прошли длительный путь своего развития, прежде чем принять вид современного автоматизированного электропривода, приводящего в движение бесчисленное множество рабочих машин и механизмов в промышленности, транспорте, в сельском хозяйстве и в бытовой технике и управляющего их технологическими процессами.

Современный автоматизированный электропривод представляет собой сложную электромеханическую систему, предназначенную для приведения в движение рабочего органа машины и управления технологическим процессом. Он состоит из трех частей: электрического двигателя, осуществляющего электромеханическое преобразование энергии, механической части, предающей механическую энергию рабочему органу машины, и системы управления (регулирования), обеспечивающей оптимальное по тем или иным критериям управление технологическим процессом.

Многообразие производственных процессов обуславливает различные виды и характеры движения рабочих органов машины, а, следовательно, и электроприводов. По виду движения электроприводы могут обеспечить: вращательное однонаправленное движение, вращательное реверсивное движение и поступательное реверсивное движение. Характеристики двигателя и возможности системы управления определяют производительность механизма, точность выполнения технологических операций. Свойства электромеханической системы оказывают решающее влияние на важнейшие показатели рабочей машины и в значительной мере определяют качество и экономическую эффективность технологических процессов. Развитие автоматизированного электропривода ведет к совершенствованию конструкций машин, к коренным изменениям технологических процессов, к дальнейшему прогрессу во всех отраслях народного хозяйства, поэтому теория автоматизированного электропривода - техническая наука, изучающая общие свойства электромеханических систем, законы управления их движением и способы синтеза таких систем по заданным показателям, - имеет важнейшие практическое значение.

1.     
Постановка задачи


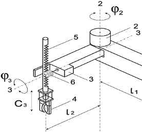
Необходимо произвести расчет электрического привода и его системы регулирования, предназначенного для программного управления линейным перемещением механизма подъема промышленного робота. Механизм подъема осуществляет поступательное перемещение зажатого в захватывающем механизме груза, посредством зубчато-реечной передачи, движимой двигателем постоянного тока (далее ДПТ). На рисунке 1.1 показан механизм подъема.

Рисунок 1.1 - Механизм подъема промышленного робота

На рисунке 1.1 цифрами показана ось вращения 3-3 ДПТ механизма подъема, механизм захвата 4, рейка 5, зубчатая шестерня 6. Перемещение зажатого груза осуществляется по некоторому закону C3(t).

Отметим, что данный промышленный робот работает по некоторой программе, состоящей из нескольких составляющих ее этапов. Подъем и опускание груза это один из этапов его программы. Робот выполняет программу периодически, и каждый такой период принято называть циклом. Цикл характеризуется своей продолжительностью Tц. В данной постановке задачи нам не требуется знать весь цикл, а необходимо лишь рассмотреть ту часть, которая приходится на этапы подъема и опускания груза. В соответствии с режимами работы привода механизма подъема и опускания в цикле, необходимо выбрать компоненты привода и подобрать параметры так, чтобы удовлетворить требованиям множества критериев, которые будут рассмотрены ниже в разных частях данной работы, а также исходным данным.

Исходные данные, необходимые для расчета электрического привода механизма подъема и опускания, приведены в таблице 1.1.

Таблица 1.1 - Исходные данные

Tц, c

C3m, м

Масса

η

ipn, рад/м



mp, кг

mmin, кг

mmax, кг



17

1,1

9

15

45

0,65

1,2

ky

Tm, с

eст%

eд%

s%

tп, c

Вариант

100

0,0035

1,35

1,02

18

1,1

51


В таблице 1.1 приняты следующие условные обозначения:

-       C3m [м] - максимальное значение траектории (максимальная высота опускания / подъема груза);

-       mp [кг] - масса рейки;

-       mmin, mmax [кг] - пределы массы поднимаемого / опускаемого груза;

-       h - минимальный КПД редуктора;

-       ipn - передаточное отношение зубчато-реечной передачи;

-       ky - коэффициент усилителя мощности;

-       Tm [с] - постоянная времени усилителя мощности;

-       eст% - относительная статическая ошибка системы регулирования;

-       eд% - относительная динамическая ошибка системы регулирования;

-       s% - максимальное перерегулирование;

-       tп [c] - максимальное время переходного процесса системы регулирования.

К исходным данным причисляется и закон С3(t), который может быть описан системой алгебраических уравнений. В данной постановке задачи рабочий цикл данного робота известен и представлен в виде двух аппроксимаций. На рисунке 1.2 показаны моменты времени, в которые работает механизм подъема и опускания груза, первого варианта рабочего цикла, а на рисунке 1.3 - второго.

Рисунок 1.2 - Первый вариант рабочего цикла

Рисунок 1.3 - Второй вариант рабочего цикла

График закона С3(t) рисунка 1.2, который принято называть траекторией, строится через следующую систему алгебраических уравнений

         (1.1)


Система уравнений траектории рисунка 1.3

       (1.2)


Отметим, что помимо самой траектории также изображены первая и вторая производные траектории. В совокупности они дают исчерпывающее представление о режимах работы электропривода в определенные моменты времени. Следующим необходимым шагом является определение параметров систем алгебраических уравнений (1.1) и (1.2).

Также отметим, что в данной постановке задачи представленные траектории являются возможными вариантами одной и той же программы робота. Впоследствии на одном из этих вариантов придется остановиться.

2.      Энергетический расчет привода

 

2.1    Определение параметров рабочих траекторий


Для дальнейшего расчета нагрузки необходимо знать максимальную скорость и максимальное ускорение нагрузки. Эти величины можно получить непосредственно из систем (1.1) и (1.2). Однако, в них еще остаются неопределенными постоянные параметры a, b и l. Так как подход к расчету параметров траекторий в целом одинаков, то рассмотрим более подробно расчет параметров только для первой траектории.

Внимательно рассмотрев систему (1.1) и рисунок 1.2, можно заметить, что для определения параметров a, b достаточно разрешить следующую систему уравнений



.




Подставляя известные константы, получим следующую систему

Разрешив систему, получаем параметры

Далее не составляет труда подставить найденные параметры и найти значение первой и второй производной, например, в точке 12 t3, в которой их значения максимальны.

Аналогично поступаем и со второй траекторией, описываемой (1.2). Отличительной чертой здесь является то, что параметра уже три. Чтобы их отыскать, следует разрешить следующую систему.








Разрешив систему, получаем

Сведем полученные результаты в таблицу 2.1 для дальнейшего удобства их использования. Далее первую производную будем называть, в соответствии с ее физическим смыслом, скоростью движения по траектории, а вторую производную - ускорением движения по траектории.

Таблица 2.1 - Параметры траекторий

Траектория

C3m, м

, м/с, м/с2


1

1,1

0,647

0,571

2


0,971

0,856


Подставим в (1.1) и (1.2) полученные параметры и получим графические представления траекторий.

Рисунок 2.1 - Графическое представление первой рабочей траектории

Рисунок 2.2 - Графическое представление второй рабочей траектории

 

2.2    Расчет рабочей нагрузки


При расчете нагрузки вводят упрощающую модель, показанную на рисунке 2.3. В этой модели нагрузка заменена эквивалентным вращающимся маховиком, который отделен от приводного двигателя приводным редуктором.

Рисунок 2.3 - Расчетная модель привода

Со стороны нагрузки в этой модели следует найти динамический момент нагрузки Mдин и статический момент нагрузки Мст.

Динамический момент нагрузки может быть найден по следующей формуле

      (2.1)

где  - момент инерции нагрузки;

 - максимальное ускорение вращения вала нагрузки.

Момент инерции для зубчато-реечной передачи определяется так

(2.2)

Подставляя в (2.2) границы интервала по массе из таблицы 1.1, получаем границы изменения момента инерции.

Переход от линейных перемещений рейки к вращательным движениям вала осуществляется по формулам

        (2.3)

        (2.4)

Величина статического момента в большей степени зависит от конструктивных особенностей. В механизме подъема и опускания данного робота предлагается использование пружинных уравновешивателей [1, с. 22]. Тогда статический момент определится по формуле

        (2.5)

Без вывода формула, получаемая из моментов (2.1) и (2.5), для выбора мощности двигателя выглядит так [1, с. 24]

       (2.6)

где g - ускорение свободного падения ().

Так как подстановка известных значений в формулы - задача тривиальная, то весь численный расчет выведен в приложение А 1. Здесь мы лишь ограничимся сводной таблицей.

В таблицу 2.2 выведены все интересующие нас значения из приложения по двум траекториям.

Таблица 2.2 - Сводная таблица по рабочей нагрузке

1-ая траектория

2-ая траектория

Общие*

Мдин, Н∙м P, Вт      ,

рад/с,

рад/с2Мдин, Н∙мP,

Вт,

рад/с,

рад/с2JΣ, кг∙м2Мст, Н∙м








 

25,692

413

0,776

0,685

38,538

665

1,165

1,028

16,7

37,5

130,8

294,3

* интервалы изменения


2.3    Выбор двигателей и редукторов


Следующим этапом является выбор силовых компонентов привода, а именно приводного двигателя и редуктора.

Напомним, что приводной двигатель относится к ДПТ, и выбор его осуществляется по мощности из каталогов. Рекомендуемый диапазон выбора составляет


где P - мощность двигателя из таблицы 2.2.

Так для первой траектории следует выбирать двигатель в интервале

  (2.7)

а для второй

(2.8)

Воспользовавшись каталогом [1, с. 47], выберем по два разных двигателя на каждую траекторию. Выбранные двигатели отражены в таблице 2.3.

Таблица 2.3 - Выбор приводного двигателя

Маркировка

Pн, Вт

nн, рад/с

Uя н, В

Iя н, А

Rя, Ом

Jд, кг×м2

Масса, кг

Tяц, мс

Lя, мГн

Для 1-ой траектории

МИГ-400А

400

314

60

8,30

0,76

160×10-6

14,6

0,68

-

2ПН100LУХЛ4

420

78,5

110

5,60

2,05

0,012

39

-

71

Для 2-ой траектории

МИГ-600А

600

314

110

6,30

1,40

430×10-6

20

0,75

-

2ПН100LГУХЛ4

630

111

220

3,40

4,92

0,012

39

-

169


Редуктор выбирается по передаточному отношению i и по массе . Наиболее простым способом определения передаточного числа является графический способ, основной идеей которого является совмещение на одной плоскости функции момента двигателя от передаточного числа редуктора M(i) и функции угловой скорости на валу нагрузки от передаточного числа редуктора и момента двигателя .

Затем отбрасываются такие значения i, которые не удовлетворяют следующим критериям

  (2.9)

где    - номинальный момент двигателя.

Первое условие в (2.9) гарантирует нормальную работу двигателя, а второе - необходимый диапазон выходных значений по угловой скорости.

(2.10)

Зависимость  строится через механическую характеристику ДПТ, которая определяется через следующие расчетные выражения

       (2.11)

где  - коэффициент, который учитывает потери в скорости;

 - номинальная мощность двигателя;

 - номинальная угловая скорость двигателя;

 - номинальный ток и сопротивление якорной цепи;

 - коэффициент момента и скорости соответственно.

Зная механическую характеристику двигателя и учитывая, что редуктор работает на понижение скорости, угловая скорость нагрузки рассчитается по формуле

       (2.12)

Отметим, что важно иметь графическое представление функций (2.10) и (2.12), и, так как процесс построения итерационный, его алгоритм можно записать так


Удобнее всего построение выполнить в пакете Mathcad, где имеется возможность программировать алгоритмы. Здесь мы лишь ограничимся графиками из приложения А 2, где отражен процесс построения.

Выбор редукторов производится для двигателей из таблицы 2.3 соответственно по графикам рисунков 2.4 - 2.7. Помимо необходимых графиков, построены линии уровня условий (2.9).

В таблицу 2.4 сведены все интересующие нас значения для выбора редукторов. В таблице 2.4 i1 и i2 - соответственно левый и правый допустимый предел выбора передаточного отношения редуктора для конкретного двигателя.

Рисунок 2.4 - Выбор передаточного числа редуктора для МИГ-400А

Рисунок 2.5 - Выбор передаточного числа редуктора для 2ПН100LУХЛ4

Рисунок 2.6 - Выбор передаточного числа редуктора для МИГ-600А

Рисунок 2.7 - Выбор передаточного числа редуктора для 2ПН100LГУХЛ4

Таблица 2.4 - Выбор передаточного отношения редукторов

№ п/п       Двигатель            Mд.ном, Н∙м            1,5∙Mд.ном, Н∙м     i1             i2             ,

рад/сПрим.


 

Для 1-ой траектории

1

МИГ-400А

1,274

1,911

262

335

0,776

Рис. 2.4

2

2ПН100LУХЛ4

5,350

8,025

66

83


Рис. 2.5

Для 2-ой траектории

3

МИГ-600А

1,911

2,867

184

223

1,165

Рис. 2.6

4

2ПН100LГУХЛ4

5,676

8,514

67

78


Рис. 2.7


Второе ограничение, которое накладывается на редуктор это его масса. Масса редуктора должна быть такой, чтобы в итоге выполнялось условие

         (2.13)

Выбор будем осуществлять среди планетарных редукторов фирмы Brevini. В частности данная фирма предлагает редукторы с большим диапазоном передаточных отношений и минимальным КПД 90% [3].

В таблицу 2.5 сведены выбранные редукторы. В приложение В выведены паспортные данные по редуктору ET3010.

Таблица 2.5 - Выбранные редукторы

Маркировка              Двиг.      i              Мm, Нм  ,

рад/сКПДредукт.,

кгkm




 

ET3010

(1)

276,6

859

5,4

0,9

22

2,51


(2)

79,29

925

18,9

0,9


1,56


(3)

211,4

852

7,1

0,9


2,10


(4)

68,55

920

21,9

0,9


1,56


2.4    Проверка пары двигатель-редуктор на нагрев


Протекающие токи и магнитные поля нагревают приводной двигатель, поэтому важно, чтобы в моменты работы механизма подъема и опускания груза, приводной двигатель не перегревался.

Самой простой методикой [1, c. 28] является проверка выполнения условия

,   (2.14)

где    - эквивалентный момент двигателя за время рабочего цикла.

Чтобы определить Мэ в инженерных расчетах прибегают к кусочно-линейным аппроксимациям характерных участков, после которых расчетная формула принимает вид

(2.15)

где    T - полное время работы приводного двигателя в цикле;

 - момент, развиваемый двигателем на i-ом участке рабочей траектории;

 - длительность i-го участка.

Исследованию подлежат рисунки 2.1 и 2.2 и двигатели с выбранными для них редукторами таблиц 2.4 и 2.5. Более подробно методику продемонстрируем на первом приводном двигателе первой траектории. Остальные двигатели рассчитываются аналогичным образом, что дает возможность программировать эти расчеты на компьютере. Внимательно рассмотрим рисунок 2.1 и выявим типовые участки.

На участке 10t3 - 12t3, который будем называть первым, механизм подъема и опускания груза начинает свою работу первый раз в текущем цикле. На первом участке согласно траектории груз начинает равноускоренно опускаться. Момент, который развивается двигателем, с учетом того, что опускаемый груз способствует ускорению, будет определяться выражением

        (2.16)

Пользуясь таблицами 2.1, 2.2, 2.3, 2.4 и 2.5, получим

Время участка составит

На следующем втором участке 12t3 - 14t3 двигатель опускает груз уже равномерно. Момент, развиваемый двигателем на этом участке, будет равен

    (2.17)

Отличительной особенностью этого участка является то, что в конце него двигатель должен резко сбросить скорость до нуля. В силу инерции, скачком сбросить скорость двигатель не может, поэтому нужно выделить подучасток, в течение которого двигатель будет совершать интенсивное торможение. Допустимо кратковременно подавать ток на двигатель выше номинального. Момент двигателя развиваемый при этом

         (2.18)

Условимся брать коэффициент k, учитывающий работу двигателя в режиме выше номинального, равным 2,5. Тогда

Так как время участков принудительного торможения и равномерного спуска разные и сильно отличаются, необходимо по времени отделить участки.

Время, которое затрачивает двигатель при принудительном торможении, будет определяться выражениями

.         (2.19)

Ускорение торможения при опускании груза, с учетом того, что опускающийся груз способствует ускорению, будет равно

.       (2.20)

Тогда время второго участка и участка принудительного торможения


На третьем участке скорость двигателя равна нулю и от двигателя требуется просто не уронить груз. Время этого участка совпадает с временем первого участка, а момент двигателя будет определяться выражением (2.17)

На четвертом участке груз начинает подниматься. В самом начале участка двигатель должен резко увеличить свою скорость, а затем вращаться равномерно. Так как увеличить свою скорость скачком двигатель не может по физическим причинам, следует выделить на третьем участке подучасток разгона.

Для разгона двигатель должен развить максимально возможный момент, который определяется (2.18) и совпадает с моментом, развиваемым при торможении

Время, затрачиваемое двигателем на разгон, будет определяться выражением подобным (2.19). В знаменателе ускорение разгона, с учетом того, что поднимаемый груз не способствует разгону, будет равно


Очевидно, что значения по (2.20) и (2.21) будут совпадать, тогда

Момент, развиваемый двигателем при равномерном подъеме груза, по значению будет совпадать с моментом равномерного спуска, т.е.

 Значение времени этого участка будет


На пятом участке двигатель равноускоренно тормозиться. Его момент на пятом участке будет совпадать по значению с моментом первого участка. Длительность пятого участка равна длительности первого участка

По формуле 2.15 эквивалентный момент, развиваемый двигателем в одном цикле, будет равен


Воспользовавшись таблицей 2.4, убеждаемся, что выбранный нами двигатель не будет перегреваться в течении рабочего цикла, т.е.

Для второго двигателя рассуждения абсолютно аналогичны, поэтому, чтобы не повторяться, ограничимся сведением числовых значений в таблицу 2.6. При расчете использовался программированный в Mathcad алгоритм, отраженный в приложении А 3.

Таблица 2.6 - Проверка на нагрев второго двигателя

Участок

М, Нм

Длит., с

МЭ, Нм

Мн, Нм

10t3 - 12t3

3,112

1,133

4,310

5,350

12t3 - tторм

4,124

1,054



tторм - 14t3

13,375

0,078



14t3 - 16t3

4,124

1,133



16t3 - tpазг

13,375

0,078



tpазг - 18t3

4,124

1,054



18t3 - 20t3

3,112

1,133




На рисунках 2.8 и 2.9 показаны реальные траектории для первых двух двигателей, которые учитывают участки интенсивного разгона и торможения.

Рисунок 2.8 - Реальная траектория с двигателем МИГ-400А

Рисунок 2.9 - Реальная траектория с двигателем 2ПН100LУХЛ4

Расчет двигателей второй траектории значительно облегчается за счет того, что на ней нет участков принудительного торможения и разгона. На второй траектории 5 одинаковых по длительности участков, на которых идет чередование равноускоренного разгона с равноускоренным торможением.

Так, для участков 10t3 - 12t3 и 18t3 - 20t3 применяется формула (2.16), для участков 12t3 - 14t3 и 16t3 - 18t3 применяется похожая формула, отличающаяся знаком, так как нагрузка на данных участках не способствует желаемому действию, т.е.

,      (2.22)

и на участке 14t3 - 16t3 используется формула (2.17). В таблицах 2.7 и 2.8 приведены результаты алгоритма приложения А 3 для оставшихся двигателей второй траектории.

Таблица 2.7 - Проверка на нагрев третьего двигателя

Участок

М, Нм

Длит., с

МЭ, Нм

Мн, Нм

10t3 - 12t3

1,251

1,133

1,569

1,911

12t3 - 14t3

1,843

1,133



14t3 - 16t3

1,547

1,133



16t3 - 18t3

1,843

1,133



18t3 - 20t3

1,251

1,133




Таблица 2.8 - Проверка на нагрев четвертого двигателя

Участок

М, Нм

Длит., с

МЭ, Нм

Мн, Нм

10t3 - 12t3

3,3

1,133

4,948

5,676

12t3 - 14t3

6,24

1,133



14t3 - 16t3

4,77

1,133



16t3 - 18t3

6,24

1,133



18t3 - 20t3

3,3

1,133




Очевидно, что ни один из двигателей не перегревается, так как для каждого из них выполняется условие (2.14).

 

2.5    Выбор рабочей траектории


Итак, мы получили 4 работоспособных привода: по два на каждую траекторию. Окончательно выберем одну из траекторий, для которой будем синтезировать систему регулирования.

Для начала следует отметить, что выше мы доказали, что траекторию, задаваемую системой (1.1), реализовать в таком виде, котором она задана формально, физически невозможно. При переходе со второго участка на третий и с третьего на четвертый мы вынуждены искусственно внедрять участки интенсивного торможения и разгона, чтобы «обойти» физические ограничения, что в свою очередь видоизменяют траекторию движения в точках стыковки этих участков (см. рисунки 2.8 и 2.9). Кроме того, работа двигателя в режиме сверх номинального, сокращает срок его службы: превышение номинального тока негативно влияет на жилы проводов и изоляцию обмоток, увеличивает разогрев корпуса и механические напряжения на корпус за счет магнитных полей, увеличивает нагрузку на коллектор за счет искра образований, увеличивает износ подшипников и т.д.

Второй вариант траектории имеет несколько плавный вид, однако, он полностью физически реализуем в своем формальном виде и не требует от двигателя работы в сверх номинальном режиме. Поэтому среди этих двух вариантов, при отсутствии требований на плавность, следует выбрать второй, так как выигрыш от этого варианта, несомненно, больше.

Так как мы имеем по два двигателя на каждый вариант, следует выбрать наиболее экономичный. По паспортным данным масса редуктора ET3010 не зависит от передаточного числа, поэтому правильнее всего осуществлять выбор относительно приводного двигателя. Анализируя таблицу 2.3, можно заметить, что МИГ-600А обладает меньшей мощностью, меньшим моментом инерции, меньшей массой, чем 2ПН100LГУХЛ4. Кроме того, по таблице 2.7 эквивалентный момент МИГ-600А намного меньше, чем 2ПН100LГУХЛ4, т.е. МИГ-600А экономичнее в плане энергопотребления, чем 2ПН100LГУХЛ4, при выполнении одних и тех же функций.

3.      Проектирование системы регулирования


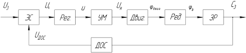
Итак, имея необходимые силовые компоненты электропривода, синтезируем систему регулирования. На рисунке 3.1 изображена функциональная схема привода.

Рисунок 3.1 - Функциональная схема привода

На схеме рисунка 3.1 приведены следующие условные обозначения: ЭС - элемент сравнения; Рег. - регулятор; УМ - усилитель мощности; Двиг. - приводной двигатель типа ДПТ; Ред. - редуктор; ЗР - зубчато-реечная передача; ДОС - датчик обратной связи.

Очевидно, что для числового расчета регулятора необходимо ввести математические модели отдельных компонент схемы: модель ДПТ вместе со всеми механическими передачами, в том числе и зубчато-реечной, и датчика линейного перемещения.

3.1    Математическая модель двигателя постоянного тока


Отметим, что предлагается использовать регулирование скорости вращения двигателя по цепи якоря. Для ДПТ в этом случае вводится линеаризованная модель, структурная схема которой представлена на рисунке 3.2.

Рисунок 3.2 - Линеаризованная модель ДПТ

Здесь и далее под базовыми параметрами двигателя будем понимать номинальные значения.

Для расчета параметров модели воспользуемся таблицей 2.3 и 2.4. Обратное значение относительного сопротивления якорной цепи равно

.

Интересующие нас отношения схемы 3.2 будут равны

,


Рабочее значение магнитного потока выбирается в промежутке , но в большинстве случаев достаточно задаться . Тогда .

Постоянная времени якорной цепи Tяц приведена в паспортных данных ДПТ (таблица 2.3). Статический момент Мст, действующий на вал двигателя со стороны редуктора и нагрузки, будет равен (пользуемся таблицей 2.2)

.

Условимся, что этот статический момент действует при любом грузе для упрощения модели.

Последний оставшийся параметр - механическая постоянная двигателя  - переменный и зависит от массы поднимаемого / опускаемого груза. Определим интервал, в котором данный параметр изменяется, воспользовавшись таблицами 2.2 и 2.3.


Таким образом, механическая постоянная двигателя изменяется в пределах

.         (3.1)

Подставим рассчитанные параметры в структурную схему рисунка 3.2.

Рисунок 3.3 - Линеаризованная модель ДПТ с подставленными параметрами

Для дальнейшего синтеза нам понадобится передаточная функция модели двигателя, однако, очевидно, что модель двигателя обладает переменной структурой. Тем не менее, колебания параметра  происходит в не очень широких пределах, поэтому нам достаточно рассмотреть два краевых случая: при максимальной массе груза и при минимальной.

Если сворачивать структурную схему в общем виде, пока не обращая внимания на самый правый интегратор (см. рисунок 3.2), то передаточная функция представится в следующем виде

.   (3.2)

Подставив известные параметры, с учетом переменной структуры (3.1), мы получаем две передаточные функции двигателя

   (3.3)

Убедимся, что передаточные функции представляют типовые колебательные звенья, для чего достаточно узнать значение коэффициента демпфирования.

Очевидно, что коэффициенты демпфирования больше единицы, а значит, двигатель не является колебательным звеном. В этом случае передаточная функция может быть представлена в виде произведения двух апериодических звеньев.

Свернув полиномы знаменателей (3.3) через теорему Виета получим

        (3.4)

Теперь учтем самый правый интегратор в схеме рисунка 3.3 и получим окончательную передаточную функцию модели двигателя. С учетом (3.4) запишем

(3.5)

 

3.2    Датчик линейных перемещений


Датчик линейных перемещений фиксирует текущее положение рейки и передает сигнал в виде напряжения на элемент сравнения. Его выбор производят на основании требуемой статической ошибки системы.

Эмпирически доказано, что доля ошибки измерения датчиков от всей ошибки системы составляет

.       (3.6)

Тогда, воспользовавшись таблицей 1.1, мы должны выбрать такой датчик, ошибка которого не должна превышать

Кроме того, выбираемый датчик должен удовлетворять по измеряемому диапазону и должен поддерживать скорости, на которых перемещается рейка.

Выбор датчика будем осуществлять среди тросиковых датчиков. Для целей регулирования вполне подходит датчик серии VP UniMesure. Согласно паспортным данным [4], данный датчик имеет диапазон до 1250 мм, что покрывает размер рейки (1100 мм). Ошибка измерения при этом составляет 0,1% от диапазона измерения, т.е.

.

Очевидно, что датчик обладает удовлетворительной точностью. Согласно паспортным данным, тросик способен выдерживать перегрузки больше 50g, что удовлетворяет требованиям таблицы 2.1. В приложение Г сведены основные паспортные данные выбранного датчика.

 

3.3    Синтез регулятора


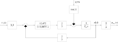
На рисунке 3.4 представлена структурная схема системы. В ней, помимо двигателя, также присутствует модель редуктора, коэффициент, учитывающий реечную передачу, усилитель мощности, датчик обратной связи и регулятор. Датчик обратной связи представлен в виде усилительного звена с коэффициентом усиления 10 В/м.

Рисунок 3.4 - Структурная схема системы с учетом переменной структуры приводного двигателя

Представим на плоскости располагаемую ЛАЧХ неизменяемой части системы. Так как система переменной структуры, то на плоскости, вообще говоря, образуется множество из располагаемых ЛАЧХ. Представим краевые случаи с учетом (3.5).

(3.7)

В первую очередь обеспечим регламентируемые ошибки таблицы 1.1, скорректировав низкочастотный участок.

Для обеспечения требуемой динамической ошибки системы, достаточно вывести располагаемые ЛАЧХ из запретной области, определяемой по контрольной точке. Координата контрольной по оси частот будет равна


Координата по оси амплитудного рассогласования


Очевидно, что при такой структуре система находится в запретной области и необходимо повышать коэффициент усиления разомкнутой системы минимум до 44 дБ. Однако, чтобы наверняка обеспечить статическую ошибку, мы можем взять еще больший коэффициент, например 50 дБ.

Для обеспечения перерегулирования необходимо выдержать протяженность среднечастотного участка. Воспользуемся методом Бесекерского [2]. Пользуясь таблицей соответствия, для обеспечения перерегулирования в 18% необходимо, чтобы система имела показатель колебательности .

Отложим вверх и вниз линии уровня, определяющие протяженность,


Воспользовавшись [2, с. 377] можно прикинуть переходный процесс и сделать оценку. По оценке время переходного процесса менее 1 секунды. Тем не менее, следует стараться делать частоту среза как можно больше левее, чтобы не увеличивать влияния шумов и не уменьшать запасы устойчивости. Этого можно добиться, если искусственно включить апериодическое звено на низкочастотном участке.

Другой проблемой является переменная структура неизменяемой части системы. Так как регулятор будет обладать постоянной структурой, то нет возможности обеспечить одинаковое качество регулирования для всего диапазона возможной нагрузки, однако, можно добиться удержания прямых показателей в заданных пределах. Для этого следует выбрать оптимальную точку включения регулятора на среднечастотном участке, в момент, когда начинаются отличия между случаями.

Мысленно попытаемся представить ситуацию, когда регулятор в большей степени корректирует максимальную нагрузку. В этом случае относительно минимальной нагрузки образуется участок наклоном в 0 дБ/дек, который искусственно сдвигает частоту среза направо, ухудшая прямые показатели качества системы. В обратном случае, относительно максимальной нагрузки будет образовываться участок с наклоном -40 дБ/дек, который также ухудшает прямые показатели качества.

Так как мы точно не знаем, как это влияние проявляется для максимальной и для минимальной нагрузки, и в полной степени это может быть исследовано на этапе моделирования, выберем момент включения, который бы уменьшил продолжительность нежелательного участка в равной степени для обоих краевых случаев.

Среднечастотный участок будем продолжать до частоты сопряжения апериодического звена усилителя мощности, а затем повторять располагаемые ЛАЧХ, специально не корректируя высокочастотный участок. Таким образом, действительные ЛАЧХ (приложение Б) разомкнутой системы выстроятся со следующими постоянными времени (таблица 3.1). Коэффициент усиления разомкнутой скорректированной системы будет равен

Таблица 3.1 - Постоянные времени скорректированной системы

Случай

T1

T2

T3

T4

T5

T6

T7


c

Минимум

0,886

0,167

-

0,030

0,0242

0,0035

0,0008,

Максимум



0,0396


-




Общий вид передаточной функции регулятора, полученной путем графического вычитания (приложение Б), примет вид

, (3.8)

где    K = 19,513.

После подстановки значений из таблицы 3.1, передаточная функция регулятора окончательно примет вид

. (3.9)

На рисунке 3.5 показана структурная схема скорректированной системы с учетом (3.8).

Рисунок 3.5 - Структурная схема скорректированной системы

 

3.4    Проверка ошибок скорректированной системы


Имея все компоненты системы, определим теоретические значения ошибок. Отметим, что относительно главного входа система обладает астатизмом, поэтому постоянные входные воздействия отрабатываются с нулевой ошибкой. Однако, в системе есть возмущающее воздействие в виде сил трения, которое вносит свою долю в ошибку системы. Важно, чтобы эта доля была как можно меньше. Обычно достаточно, чтобы она не превышала

Теоретическое значение можно получить, если разрешить следующее выражение

.        (3.10)

Передаточную функцию замкнутой системы по возмущению можно получить из рисунка 3.5. Перенося самый правый сумматор через два звена налево, можно получить следующую передаточную функцию (схема сворачивания показана на рисунке 3.6).

Рисунок 3.6 - Схема сворачивания для получения передаточной функции по возмущению


Разрешив предел и рассчитав (3.10) на Mathcad (Приложение А 5), получим следующие значения ошибки

Тогда,

Таким образом, доля ошибки возмущения не превышает порогового значения. Теоретическую динамическую ошибку системы можно получить, если составить частотную передаточную функцию по ошибке системы и определить ее значение на частоте контрольной точки, т.е.

,    (3.11)

где     - частотная передаточная функция разомкнутой системы, которая получается из (3.7).

Разрешая (3.11) в Mathcad (Приложение А 5), получим следующие значения

Не смотря на то, что полученная ошибка меньше регламента, следует помнить, что она не учитывает влияние сил сопротивления со стороны нагрузки, поэтому данное значение следует расценивать как минимальновозможное. Реальное положение дел можно узнать с помощью имитационного моделирования.

4.      Имитационное моделирование системы


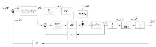
Соберем модель скорректированной системы в системе моделирования Simulink. На рисунке 4.1 показана модель Simulink, составленная по структурной схеме рисунка 3.5.

Рисунок 4.1 - Модель Simulink

Для начала определим прямые показатели системы для краевых случаев и величину статической ошибки. Для этого следует на главный вход системы подать единичное входное воздействие. Так как обратная связь не единичная, с точки зрения системы, единичным сигналом является величина задающего воздействия Uз = 10 В.

В таблицу 4.1 сведены все интересующие нас значения. На рисунках 4.2 и 4.3 показан выход системы соответственно для минимума нагрузки и максимума нагрузки.

Таблица 4.1 - Отработка единичного входного воздействия

Случай

Выход системы

Прямые показатели

εст%


С3 макс, м

С3 уст, м

σ%

tр (1,35%), с


Минимум

1,0750

0,9994

8

0,41

0,06

Максимум

1,1566

0,9994

16

0,38




Рисунок 4.2 - Переходная характеристика при минимуме нагрузки

Рисунок 4.3 - Переходная характеристика при максимуме нагрузки

Очевидно, что система не выходит по прямым показателям за пределы допустимых значений. Отметим, что ненулевая статическая ошибка в данной модели полностью обусловлена возмущением и примерно совпадает с теоретическим значением.

Затем следует проверить как система отрабатывает программную траекторию. Ниже представлен код программируемого блока системы Simulink.


На рисунке 4.4 показана система после ввода программируемого блока, на рисунках 4.5 и 4.6 показан выход системы при минимуме и при максимуме нагрузки и на рисунках 4.7 и 4.8 показана ошибка системы, переведенная в относительные единицы при минимуме и при максимуме нагрузки.

Рисунок 4.4 - Модель Simulink с введенным программируемым блоком

Рисунок 4.5 - Выход системы при минимуме нагрузки

Рисунок 4.6 - Выход системы при максимуме нагрузки

Рисунок 4.7 - Ошибка системы в относительных единицах при минимуме нагрузки

Рисунок 4.8 - Ошибка системы в относительных единицах при максимуме нагрузки

Внешне рисунки 4.5 и 4.6 достаточно хорошо повторяют рисунок 2.2, что воплощает основной замысел. По рисункам 4.7 и 4.8 можно определить максимальную динамическую ошибку системы, для чего необходимо засечь максимальный всплеск. По рисункам 4.7 и 4.8 максимальная динамическая ошибка системы равна

Отметим, что теоретическая динамическая ошибка совпадает по значению только в моменты торможения. В моменты разгона из неподвижного состояния, ошибка достигает пика и становится больше теоретического значения, но все же не превышает регламент.

Таким образом, регулятор обеспечивает заданный регламент, и нет необходимости менять его структуру.

Заключение


По результатам расчета были выбраны следующие силовые компоненты привода механизма подъема / опускания груза промышленного робота: двигатель - МИГ-600А и редуктор - ET3010 с передаточным отношением 211,4. Данные силовые компоненты были выбраны с расчетом на программную траекторию рисунка 2.2, лишенную участков принудительного разгона и торможения.

После коррекции был получен регулятор (3.9). Скорректированные показатели системы отражены в таблице 5.1.

промышленный привод робот редуктор

Таблица 5.1 - Параметры скорректированной системы

Показатель

Нагрузка

Требования ТЗ

Примечание


минимальная

максимальная




теор.

практ.

теор.

практ.



tр, с           0,410,381,1точность 1,35%;

в столбце практ. указана оценка






 

σ%

81618в столбце практ. указана оценка






εст%

0,057

0,06

0,057

0,06

1,35


εдин%         0,4          0,8          0,4          0,9          1,02       




Библиографический список

промышленный привод робот редуктор

1    Подлинева, Т.К. Проектирование управляемого электропривода: учебное пособие. - Челябинск: Изд-во ЮУрГУ, 2009. - 60 с.

2       Бесекерский, В.А., Попов, Е.П. Теория систем автоматического управления / В.А. Бесекерский, Е.П. Попов. - Изд. 4-е, перераб и доп. - СПб: Изд-во «Профессия», 2008. - 752 с.

3    http://www.brevini-russia.ru/gear/info/32

Похожие работы на - Расчет силовых компонентов привода механизма подъема/опускания груза промышленного робота

 

Не нашли материал для своей работы?
Поможем написать уникальную работу
Без плагиата!
Без нейросетей!