Система отопления трехэтажного жилого дома
1. Введение
Потребление энергии в нашей стране, как и во
всем мире, неуклонно возрастает и прежде всего для теплообеспечения зданий и
сооружений.
Известно, что на теплоснабжение гражданских и
производственных зданий расходуется более одной трети всего добываемого
органического топлива. Между тем, добыча и транспортировка топлива обходится
все дороже в связи с освоением глубоких месторождений в новых отдаленных
районах. Поэтому при дальнейшем развитии народного хозяйства страны необходима
экономия топлива.
Основными среди теплозатрат на коммунально-бытовые
нужды в зданиях (отопление, вентиляция, кондиционирование воздуха, горячее
водоснабжение) являются затраты на отопление. Это объясняется условиями
эксплуатации зданий в холодное время года на большей части территории страны,
когда теплопотери зданий через ограждающие конструкции значительно превышают
внутренние тепловыделения.
Таким образом, отоплением называется
искусственное обогревание помещений здания с целью возмещения теплопотерь и для
поддержания в них температуры на заданном уровне, определяемом условиями
теплового комфорта для находящихся в здании людей и требованиями протекающего
технологического процесса.
Отопление очень важно для нашей страны, где
почти каждое здание должно иметь систему отопления. В настоящее время
большинство городов имеет разветвленную систему теплоснабжения. Создаются
системы дальнего прямоточного теплоснабжения. В практике строительства
используются самые различные виды отопительных систем. В крупносборных зданиях
наряду с радиаторными нашли применение панельно-лучистые, воздушные и
конвекторные системы отопления. Начинают применяться системы электрического и
газового отопления (газовые инфракрасные излучатели).
Ведутся работы по выявлению и использование
дешевых источников тепла. Если во многих странах за рубежом в отопительных
установках используется преимущественно один вид топлива (в Западной Европе -
мазут, в странах Восточной Европы - бурый уголь), то в нашей стране применяют
различные виды местного топлива - газ, мазут, уголь, торф, сланцы - дрова и
т.д. Таковы тенденции развития отдельных направлений техники теплоснабжения.
В условиях рыночной экономики и всевозрастающих
потребностей, как промышленности, так и жилищного уровня людей, большое
значение имеет увеличение термического сопротивления ограждения в 2-3 раза, что
позволяет уменьшить бесполезные потери тепла и тем самым уменьшить расход
топлива. Также огромное значение для данной отрасли представляет введение и
использование автоматических систем и установка счетчиков. Это позволяет
экономичнее расходовать энергию и топливо и снизить затраты на ее
использование.
2. Исходные данные
Объект строительства: трех этажный жилой дом;
Место строительства: г. Боготол, Красноярского
края.
3. Тепловой режим здания
.1 Расчетные параметры наружного
воздуха
отопление тепловой ограждающий
конструкция
По СНиП 23-01-99*:
· Расчётная температура наружного
воздуха, tн=-390C;
· Температура отопительного периода, tот
пер=-7,60C;
· Продолжительность отопительного
периода, zоп=239 суток;
· Скорость ветра 4,3 м/с;
· Зона влажности - нормальная (прил.В
СНиП 23-02-2003);
.2 Расчётные параметры внутреннего
воздуха
· Расчетная температура внутреннего
воздуха tв=20
0С
· Влажность внутреннего воздуха 60%;
· Влажностный режим помещений зданий -
нормальный
(табл.1 СНиП 23-02-2003);
3.3 Теплотехнический расчет наружных
ограждающих конструкций
.3.1 Определение градусо-суток
отопительного периода и условие эксплуатации ограждающих конструкций
Определяем градусо-сутки отопительного периода:
ГСОП = (tв
- tоп)zоп
= (20 +7,6 )*239= 6596,4°С сут,
где: tв-
расчетная температура внутреннего воздуха, 0С;
tоп -
температура отопительного периода, 0С;
zоп
- продолжительность отопительного периода, сутки.
По табл.2, СНиП 23-02-2003 находим условие эксплуатации
ограждающих конструкций - «Б».
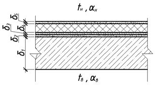
3.3.2 Стены
Наружная стена состоит из следующих слоёв (от
наружной поверхности к внутренней):
слой - штукатурка из цементно-песчаного
раствора:
r1 = 1800 кг/м3,
λ1=0,93
Вт/(м°С), d1=30 мм;
слой - утеплитель плиты минераловатные
(ГОСТ9573-82): r2=90
кг/м3, λ
2=0,064
Вт/(м°С), d2 =Х, мм
(определяется расчетом);
слой - кирпич глиняный обыкновенный: r3
= 1800 кг/м3,
λ3=0,81
Вт/(м°С), d3=380 мм;
слой - штукатурка из цементно-песчаного
раствора:
r4 = 1800 кг/м3,
λ4=0,93
Вт/(м°С), d4=20 мм;
αв = 8,7 Вт/(м2°С)
- коэффициент теплоотдачи внутренней поверхности ограждающих конструкций, Вт/(м
·°С), (табл.
7, СНиП 23-02-2003);
αн= 17
Вт/(м2°С) - коэффициент теплоотдачи наружной поверхности ограждающих
конструкций, Вт/(м
·°С), (табл.
6*, СНиП II-3-79*);
Определяем требуемое сопротивление
теплопередаче для стен:
R0трэн= a·Dd + b, (м2°С)/Вт,
где Dd - градусо-сутки
отопительного периода, °С×сут., для
конкретного пункта;
а, b - коэффициенты, значения
которых следует принимать по данным табл. 4, СНиП 23-02-2003, для
соответствующих групп зданий.
R0трэн=0,00035·6596,4+1,4
= 3,70 (м2°С)/Вт.
Фактическое сопротивление теплопередаче
для стен равно
R0ф=1/αв + δ1/λ1 + δ2/λ2+ δ3/λ3+ δ4/λ4 + 1/αн= R0трэн,
отсюда находим толщину утеплителя:
δ2 = (R0трэн -(1/αв + δ1/λ1 + δ3/λ3 + δ4/λ4 + 1/αн ))λ2 =
(3,70-(1/8,7+0,03/0,93+0,38/0,81+0,02/0,93+1/23))*0,064 = 0,193м.
Принимаем стандартную толщину
утеплителя, δ2=0,20м.
Таким образом, толщина стены
составит: δстены=30+200+380+20=630мм.
При пересчете, фактическое
сопротивление теплопередаче для стен будет равно: R0ф=1/8,7+0,03/0,93+0,2/0,064+0,38/0,81+0,02/0,93+1/23=3,80
(м2°С)/Вт.
Определяем коэффициент теплопередачи
для данной ограждающей конструкции: К = 1/ R0ф =1/3,8=0,26
Вт/(м°С).
3.3.3 Перекрытие чердачное
Чердачное перекрытие состоит из следующих слоёв
(снизу вверх):
слой - железобетонная плита перекрытия без
пустот: r1
= 2500 кг/м3, λ1=2,04
Вт/(м°С), d1=250 мм;
слой - выравнивающий слой из цементно-песчаного
раствора: r2 = 1800 кг/м3,
λ2=0,93
Вт/(м°С), d2=10 мм;
слой - пароизоляция - рубероид (ГОСТ 10923-82): r3
= 600 кг/м3, λ3=0,17
Вт/(м°С), d3=15 мм;
слой - утеплитель пенополистерол (ГОСТ
15588-70*): r4=35 кг/м3,
λ 4=0,05
Вт/(м°С), d4 =Х, мм
(определяется расчетом);
слой - стяжка цементно-песчаным раствором: r5
= 1800 кг/м3, λ5=0,93Вт/(м°С),
d5=40
мм;
αв = 8,7 Вт/(м2°С)
- коэффициент теплоотдачи внутренней поверхности ограждающих конструкций, Вт/(м
·°С), (табл.
7, СНиП 23-02-2003);
αн= 12
Вт/(м2°С) - коэффициент теплоотдачи наружной поверхности ограждающих
конструкций, Вт/(м
·°С), (табл.
6*, СНиП II-3-79*);
Определяем требуемое сопротивление
теплопередаче для чердачного перекрытия:
R0трэн= a·Dd + b, (м2°С)/Вт,
а, b - коэффициенты, значения
которых следует принимать по данным табл. 4, СНиП 23-02-2003, для
соответствующих групп зданий.
R0трэн=0,00045·6596,4+1,9
= 4,86 (м2°С)/Вт.
Фактическое сопротивление
теплопередаче для чердачного перекрытия равно
R0ф=1/αв + δ1/λ1 +δ2/λ2 + δ3/λ3 + δ4/λ4 +δ5/λ5 + 1/αн= R0трэн,
отсюда находим толщину утеплителя:
δ4 = (R0трэн -(1/αв + δ1/λ1 +δ2/λ2 + δ3/λ3 +δ5/λ5 + 1/αн ))*λ4 =
(4,86-(1/8,7+0,25/2,04+0,01/0,93+0,015/0,17+0,04/0,93+1/12))*0,05 = 0,219м.
Принимаем стандартную толщину
утеплителя, δ2=0,22м.
Таким образом, толщина чердачного
перекрытия составит: δчерд.=250+10+15+220+40=535мм.
При пересчете, фактическое
сопротивление теплопередаче для чердачного перекрытия будет равно:
R0ф=1/8,7+0,25/2,04+0,01/0,93+0,015/0,17+0,22/0,05+0,04/0,93+1/12=4,86
(м2°С)/Вт.
Определяем коэффициент теплопередачи
для данной ограждающей конструкции: К = 1/ R0ф =1/4,86=0,205
Вт/(м°С).
3.3.4 Перекрытие над неотапливаемым
подвалом
Перекрытие над подвалом состоит из
следующих слоёв (снизу вверх):
слой - железобетонная плита
перекрытия без пустот: r1 = 2500 кг/м3,
λ1=2,04
Вт/(м°С), d1=250 мм;
слой - пароизоляция - битумная
мастика: r2 = 1400 кг/м3,
λ2=0,27 Вт/(м°С),
d2=3 мм;
слой - утеплитель - маты из
стеклянного штапельного волокна «URSA»: r3 = 15 кг/м3, λ3=0,053
Вт/(м°С), d3= Х, мм
(определяется расчетом);
слой - выравнивающий слой из
цементно-песчаного раствора: r4 = 1800 кг/м3,
λ24=0,93
Вт/(м°С), d4=20 мм;
слой - линолеум поливинилхлоридный
на тканевой подоснове: r5 = 1400 кг/м3,
λ5=0,23
Вт/(м°С), d5=2 мм;
αв = 8,7 Вт/(м2°С)
- коэффициент теплоотдачи внутренней поверхности ограждающих конструкций, Вт/(м
·°С), (табл.
7, СНиП 23-02-2003);
αн= 12
Вт/(м2°С) - коэффициент теплоотдачи наружней поверхности ограждающих
конструкций, Вт/(м
·°С), (табл.
6*, СНиП II-3-79*);
Определяем требуемое сопротивление
теплопередаче для перекрытия над подвалом:
R0трэн= a·Dd + b, (м2°С)/Вт,
где Dd - градусо-сутки
отопительного периода, °С×сут, для
конкретного пункта;
а, b - коэффициенты, значения
которых следует принимать по данным табл. 4, СНиП 23-02-2003, для
соответствующих групп зданий.
R0трэн=0,00045·6596,4+1,9
= 4,86 (м2°С)/Вт.
Фактическое сопротивление
теплопередаче для чердачного перекрытия равно
R0ф=1/αв + δ1/λ1 +δ2/λ2 + δ3/λ3 + δ4/λ4 +δ5/λ5 + 1/αн= R0трэн,
отсюда находим толщину утеплителя:
δ3 = (R0трэн -(1/αв + δ1/λ1 +δ2/λ2 + δ4/λ4 +δ5/λ5 + 1/αн ))*λ3 =
(4,86-(1/8,7+0,25/2,04+0,003/0,27+0,02/0,93+0,002/0,23+1/12))*0,053 = 0,238м.
Принимаем стандартную толщину
утеплителя, δ2=0,24м.
Таким образом, толщина чердачного
перекрытия составит: δстены=250+3+240+20+2=435мм.
При пересчете, фактическое сопротивление
теплопередаче для чердачного перекрытия будет равно:
R0ф=1/8,7+0,25/2,04+0,003/0,27+0,24/0,053+0,02/0,93+0,002/0,23+1/12=4,89
(м2°С)/Вт.
Определяем коэффициент теплопередачи
для данной ограждающей конструкции: К = 1/ R0ф =1/4,89=0,204
Вт/(м°С).
3.3.5 Окна
Определяем требуемое сопротивление
теплопередаче для окон:
R0трэн= a·Dd + b, (м2°С)/Вт,
где Dd - градусо-сутки
отопительного периода, °С×сут, для
конкретного пункта;
а, b - коэффициенты, значения
которых следует принимать по данным табл. 4, СНиП 23-02-2003, для
соответствующих групп зданий.
R0трэн=0,00005·6596,4+0,3
= 0,63 (м2°С)/Вт.
Выбираем конструкцию окна [прил.6*,
СНиП II-3-79*.] в зависимости от величины R0трэн=0,63(м2°С)/Вт
и с учетом выполнения условия R0ф > R0трэн.
Таким образом, к установке принимаем
окна из обычного стекла с двухкамерным стеклопакетом в раздельных переплетах с
фактическим сопротивлением теплопередаче R0ф =0,68(м2°С)/Вт.
Определяем коэффициент теплопередачи
для данной ограждающей конструкции:
К = 1/ R0ф =1/0,68=1,47
Вт/(м°С).
3.3.6 Двери
Согласно п. 5.7 (СНиП 23-02-2003)
фактическое сопротивление теплопередаче наружной двери равно:
R0трэн
,
где:
- приведенное сопротивление
теплопередаче стен, определяемое по формуле:
,
где: п - коэффициент, учитывающий
зависимость положения наружной поверхности ограждающих конструкций по отношению
к наружному воздуху и приведенный в таблице <> (СНиП 23-02-2003);
Dtn -
нормируемый температурный перепад между температурой внутреннего воздуха tint и
температурой внутренней поверхности tint ограждающей
конструкции, °С, принимаемый по таблице <> (СНиП 23-02-2003);
aint -
коэффициент теплоотдачи внутренней поверхности ограждающих конструкций, Вт/(м2×°С),
принимаемый по таблице <> (СНиП 23-02-2003);
R0трэн
.
Определяем коэффициент теплопередачи
для данной ограждающей конструкции: К = 1/ R0ф =1/0,90=1,11
Вт/(м°С).
Найденные значения толщин
конструкций, фактических сопротивлений теплопередаче, коэффициентов
теплопередачи заносим в сводную таблицу 1.
Таблица 1
|
Наименование
ограждения
|
 
|
|
|
|
1.
наружная стена
|
0,630
|
3,80
|
0,26
|
|
2.
чердачное перекрытие
|
0,535
|
4,86
|
0,205
|
|
3.
перекрытие над подвалом
|
0,515
|
4,89
|
|
4.
оконный проем
|
-
|
0,68
|
1,47
|
|
5.
наружная дверь
|
-
|
0,90
|
1,11
|
.4 Тепловой баланс помещений
.4.1 Потери теплоты через
ограждающие конструкции
Основные и добавочные потери теплоты следует
определять суммируя
потери теплоты через отдельные ограждающие
конструкции Q, Вт, с округлением
до 10 Вт для помещений по формуле:
, Вт, (2)
где
- расчетная площадь ограждающих
конструкций, м2;
- коэффициент теплопередачи
ограждающей конструкции;
- внутренняя температура
воздуха.
-коэффициент, зависящий от положения
наружной ограждающей конструкции к наружному воздуху:
для наружных стен, чердачных
перекрытий, окон, наружных дверей n=0,6.
для перекрытий над подвалом n=0,6 .
- добавочный коэффициент,
учитывающий ориентацию наружного ограждения:
а) в помещениях любого назначения
через наружные вертикальные и наклонные стены, двери и окна обращенные на
север, восток, северо-восток и северо-запад
=0,1; на юго-восток и запад
=0,05.
б) в общественных
административно-бытовых и производственных помещениях через две наружные стены
и более
=0,15 ,если
одно из ограждений обращено на север, восток ,северо-восток и северо-запад и
0,1 - в других случаях.
в) через наружные двери, не
оборудованные воздушными или воздушно-тепловыми завесами, при высоте зданий H,
м, от средней планировочной отметки земли до верха карниза, центра вытяжных
отверстий фонаря или устья шахты в размере:
,2 H - для тройных дверей с двумя
тамбурами между ними;
,27 H - для двойных дверей с
тамбурами между ними;
,34 H -для двойных дверей без
тамбура;
,22 H -для одинарных дверей.
3.4.2 Расход теплоты на нагревание
инфильтрирующегося и
вентиляционного воздуха
Расход теплоты на нагревание
инфильтрирующегося воздуха, компенсирующего расход вытяжного воздуха при
естественной вентиляции:
,Вт, (8)
где: Ln - расход
удаляемого воздуха, м3/ч, не компенсируемый подогретым приточным
воздухом, для жилых зданий - удельный нормативный расход 3 м3/ч на 1
жилых
помещений.
Cr - удельная
теплоёмкость воздух, равная 1 кДж/кг 0С;
r - плотность воздуха в помещении,
кг/м3.
3.4.3 Бытовые тепловыделения
Определяем бытовые тепловыделения по
п. Г.6, СНиП 23-02-2003:
Qбыт.- бытовые
теплопоступления помещения.
Для жилых зданий без ограничения
социальной нормы:
Qбыт. = 10
Fпола , Вт, (9)
3.4.4 Определение расчетных
теплопотерь помещений
В качестве примера проведем расчет
потерь теплоты через ограждающие конструкции для помещения №202.
По формуле (2):
для наружной стены обращенной на
север:
;
для окна обращенного на север:
По формуле (5):
По формуле (2.6):
ρн = 353/(273+ti)= 353/(273
- 39)=1,50
;
- аэродинамические коэффициенты для
наветренной и подветренной поверхностей ограждений. (принимаемые по СНиП
2.01.07-85. Нагрузки и воздействия ,приложение 4, схема 1);
k1 =0,5-
коэффициент учета изменения скоростного давления ветра в зависимости от высоты
здания.
=10 Па - разность давления воздуха
при котором определяется сопротивление воздухопроницанию по (п.8.4, СНиП
23-02-2003);
Rитр=1/6 ·
(30,26/10)⅔=0,34 м2 ч Па/ кг
По (табл.5.4, спр. Староверова. 1ч.)
выбираем
- для окон
из обычного стекла с двухкамерным стеклопакетом в раздельных переплетах.
А=1,8·1,5=2,70 м2 -
площадь окон.
Отсюда по формуле (1.4) получим:
åGi = (0,216·åA·Dp0.67)/Rи =
(0,216·2,7·30,260,67)/0,56 = 10,22кг/ч
Расход теплоты на нагревание
инфильтрирующегося воздуха, формула (3):
= 0,28·10,22·1,2·1· (18+39)
·0,7=137,01Вт
Расход теплоты на нагревание
вентиляционного воздуха формула (8):
Qвент=0,28·3·5,04·1,2·
(18+39) ·0,7=202,7 Вт
Расход теплоты на нагревание
инфильтрующего воздуха помещений жилых зданий при естественной вентиляции, не
компенсируемого подогретым приточным воздухом, следует принять равным большей
из величин.
- следовательно, принимаем
=202,7Вт
Бытовые тепловыделения ищем по
формуле (9):
Qбыт. = 10
Fпола=10*5,04
=50,4Вт,
где: Fпола =50,4 -
площадь помещения.
Из уравнения (1) выражаем
:
Для всех остальных помещений расчет
аналогичен.
Теплопотери для жилых помещений
сведены в таблицу 2 [приложение 1].
4. Система отопления
.1 Выбор системы отопления и типа
нагревательных приборов
Выбор производится согласно прил.11
СНиП 2.04.05-91*:
Для жилых помещений - вертикальная
однотрубная система отопления с последовательным соединением нагревательных
приборов с параметрами теплоносителя 950С на подаче и 70 0С
в обратной линии.
Теплоноситель от ТЭЦ 95-700С
Система отопления с нижней разводкой
с тупиковым встречным движением воды в магистралях.
В качестве нагревательных приборов
принимаем конвекторы типа «Универсал».
На лестничной клетке принимаем к
установке конвекторы типа «Универсал».
4.2 Тепловой расчет нагревательных
приборов
Цель теплового расчета заключается в
определении площади нагревательной поверхности отопительных приборов,
достаточной для подачи в помещение требуемого количества тепла при расчетных
условиях.
Требуемый номинальный тепловой поток

для выбора типоразмера
отопительного прибора:
, (10)
где
- необходимая теплоотдача прибора,
определяется по формуле:
, (11)
- тепловые потери помещения;
- теплоотдача открыто проложенных в
пределах помещения труб стояка (ветки) и подводок, к которым непосредственно
присоединен прибор:
, (12)
где 
- теплоотдача 1 м вертикальных и
горизонтальных труб, Вт/м, для неизолированных труб принимаем по таблице 11.22,
(спр. Староверова. 1ч.);
для изолированных труб принимаем по
таблице 11.24, (спр. Староверова. 1ч.);
,
- длина вертикальных и
горизонтальных труб в пределах помещения;
Коэффициент
-
коэффициент приведения к расчетным условиям, определяется по формуле:
, (13)
где
- коэффициент учёта атмосферного
давления в данной местности принимается по табл.9.1, (спр. Староверова. 1ч.),
;
- коэффициент учета направления
движения теплоносителя воды в приборе снизу - вверх (табл.9.11 спр.
Староверова. 1ч.):
;
-показатели для определения
теплового потока отопительных приборов:
;
;
;
Количество воды, циркулирующей в
стояке:
, (14)
где
- коэффициент, учитывающий
дополнительный тепловой поток вследствие округления числа элементов
отопительного прибора до целого числа или увеличения площади нагревательной
поверхности его до стандартного значения (определяется по табл. 9.4 спр.
Староверова. 1ч.);
- коэффициент, учитывающий величину
дополнительного теплового потока вследствие расположения отопительного прибора
у наружной стены (табл. 9.5 спр. Староверова. 1ч.);
- теплоемкость воды,
;
Средняя температура в отопительном приборе:
,
, (2.15)
- температура теплоносителя на входе
в прибор;
- температура теплоносителя на
выходе из прибора:
,
, (16)
- расчетная разность температур
воды в системе.
Рассчитываем из условия что теплоноситель не
остывает при движении по магистральным трубопроводам.
Среднетемпературный напор:
,
, (17)
Расход воды, проходящей через каждый
отопительный прибор с учётом коэффициента затекания,
.
, (18)
Пример расчёта
В качестве примера проведем тепловой расчет
нагревательного прибора расположенного на первом этаже на стояке №1 в комнате
№121.
Ст.1 d=15;
Qст1=ΣQi=4017,5Вт;
По формуле (14) получим:
Gст1=3,6*4017,5·1,03·1,02/4,187·(95
- 70) = 145,2 кг/ч
Расход воды, проходящий через каждый
отопительный прибор с учетом коэффициента затекания
:
Gпр= Gст1·
=145,2·1=145,2кг/ч
Средний температурный напор в
приборе определяется по формуле:

Коэффициент
приведения
к расчетным условиям определяется по формуле:
=
Полезная теплоотдача труб стояков,
подводок к отопительным приборам, проложенных в помещении определяется по
формуле::
Необходимая теплоотдача прибора по
формуле::
Требуемый номинальный тепловой поток
для выбора типоразмера отопительного прибора определяется по формуле (10):
.
Согласно этому значению подпираем
тип нагревательного прибора по табл. X.1. (спр.
Староверова. 1ч) - КН20- 1,311к.
Аналогично делается тепловой расчёт
всех приборов.
Тепловой расчёт сведен в таблицу 3
[приложение 2].
4.3 Гидравлический расчет системы
отопления
Расчёт вертикальной системы
отопления (для двойных стояков) ведём по характеристикам гидравлического
сопротивления. Стояки принимаем с односторонним присоединением приборов.
Сначала определяем характеристики гидравлического сопротивления стояков
согласно табл. 10.19 (спр. Староверова. 1ч):
S1 -
сопротивление этажестояков;
S2 -
сопротивление приборных узлов верхнего этажа;
S4 -
сопротивление узла присоединения у обратной магистрали;
S5 -
сопротивление прямых участков труб стояков;
S6 -
сопротивление приборных узлов, определяется по формуле:
S6 = Sп + Sпр lпр
Sп -
сопротивления подвода, (Па/(кг/ч)2)
Sпр -
сопротивление прибора длиной 1 (м), (Па/(кг/ч)2)
lпр - длина
прибора
Перепад температур на первом стояке
(для ветки 1) принимаем 25 0С.
Потери давления на участках и в
холостых стояках определяем по по удельным потерям давления:
R - потери
давления на трения на 1 м, Па, принимается по табл. II.2 (спр.
Староверова. 1ч)
l - длина участка,
м.
Z - потери
давления на местные сопротивления, принимается по табл. II.3 [1]
Проведем гидравлический расчет
стояка 1 и участка магистрали 1-2.
Расчетная схема представлена в
приложении 3.1.
Стояк 1. диаметр
труб D =15 мм
t11=950C t2=700C
Потери давления в стояке 1:
S1=
113×2×10-4=92×10-4
(Па/(кг/ч)2)
S2=56×10-4
(Па/(кг/ч)2)3=266×10-4
(Па/(кг/ч)2)4=229×10-4
(Па/(кг/ч)2)5=28,6
×8,315×10-4
= 237,81×10-4
(Па/(кг/ч)2)6=
15*3+11,5*(1,16+1,26+1,66) =91,92×10-4 (Па/(кг/ч)2)
Sст1=(113×2+56+266+229+273,81+91,92)
×10-4 =1106,7×10-4 (Па/(кг/ч)2)
Потери давления в Ст.1 равны:
Па
Определим потери давления на участке
1-2 (D =15 мм) по
удельным потерям давления.
По диаметру участка и расходу по
табл. II.2 (спр.
Староверова. 1ч) определяем:
R=15Па/м; v=0,118 м/с.
По табл. II.10 (спр.
Староверова. 1ч) определяем
=1,5*4+1,5=7,5
По табл. II.3 (спр.
Староверова. 1ч) определяем Z=52,8 Па
Потери давления на участке 1-2:
Па
Аналогично определяются потери
давления на всех стояков и участков.
Потери давления в стояке 1 и
участках 1-2, 2-3:
Па
Потери давления в стояке Ст.2 (D=15мм):
S1=
113×4×10-4=92×10-4
(Па/(кг/ч)2)2=56×10-4
(Па/(кг/ч)2)3=266×10-4
(Па/(кг/ч)2)4=229×10-4
(Па/(кг/ч)2)5=28,6
×3,43×10-4
= 98,1×10-4
(Па/(кг/ч)2)6=
15*6+11,5*(0,66*3+0,76*2+0,66)= 137,84×10-4 (Па/(кг/ч)2)
Sст2 = (113×4+56+266+229+98,1+137,84) ×10-4 =12358,9×10-4 (Па/(кг/ч)2)
Потери давления в Ст.3 равны:
Па
Определяем невязку:
, что
является допустимым. Невязка для систем с тупиковым движением воды, не должна
превышать 15% .
Гидравлический расчёт сведен в таблицу
4 [приложение 3].
5. Противопожарные требования к
устройству систем отопления и вентиляции
В зданиях и сооружениях следует
предусматривать технические решения, обеспечивающие пожаровзрывобезопасность
систем отопления, вентиляции и кондиционирования.
Для материалов, конструкций и
изделий, подлежащих обязательной сертификации в области пожарной безопасности,
возможность использования в системах отопления, вентиляции и кондиционирования
следует определять подтверждением на их применение в строительстве - при
наличии сертификатов соответствия и пожарной безопасности России.
Трубопроводы в местах пересечения
перекрытий, внутренних стен и перегородок следует прокладывать в гильзах из
негорючих материалов.
Заделку зазоров и отверстий в местах
прокладки трубопроводов следует предусматривать негорючими материалами,
обеспечивающими нормируемый предел огнестойкости ограждений.
Пределы огнестойкости узлов
пересечений строительных конструкций трубопроводами из полимерных материалов
должны определяться по ГОСТ Р 53306.
В лестничных клетках не допускается
установка отопительных приборов, выступающих от плоскости стен на высоте менее
2,2 м от поверхности проступей и площадок лестницы.
Список использованной литературы
1.
Справочник проектировщика. Внутренние санитарно-технические устройства. Ч. 1.
Отопление/Под ред. И. Г. Староверова. - М.: Стройиздат, 1990.
.
СНиП 41-01-2003. Отопление, вентиляция и кондиционирование / Госстрой России .-
М.: ГУПЦПП, 2004.
.
СНиП 2.04.05- 91*. Отопление, вентиляция и кондиционирование / Госстрой России.
- М.: ГУПЦПП, 1992.
.
СНиП 23-01-99*. Строительная климатология / Госстрой России.-
М.:
ГУПЦПП, 2003.
.
СНиП 23-02-2003. Тепловая защита зданий/ Госстрой России.-
М.:
ГУПЦПП, 2003.
.
Справочник проектировщика. Внутренние санитарно-технические устройства. Ч. 3.
Вентиляция и кондиционирование воздуха Кн. 2 / Под ред. Н. Н. Павлова. - М.:
Стройиздат, 1990.
.
ГОСТ 21.602-2003. Система проектной документации для строительства. Отопление,
вентиляция и кондиционирование воздуха: Рабочие чертежи.- М., 2003.
.
СНиП 2.01.07-85. Нагрузки и воздействия/ Госстрой СССР.- М.: ЦНИИСК им.
Кучеренко, 1989.
.
СП 7.13130.2009 "Отопление, вентиляция и кондиционирование.
противопожарные требования."/ ФГУ ВНИИПО МЧС России. - М.:2009.