Сточные воды ТЭС и их очистка

  • Вид работы:
    Лекция
  • Предмет:
    Экология
  • Язык:
    Русский
    ,
    Формат файла:
    MS Word
    780,98 Кб
  • Опубликовано:
    2013-08-05
Вы можете узнать стоимость помощи в написании студенческой работы.
Помощь в написании работы, которую точно примут!

Сточные воды ТЭС и их очистка

Сточные воды ТЭС и их очистка

1. Классификация сточных вод ТЭС

Эксплуатация тепловых электрических станций связана с использованием большого количества воды. Основная часть воды (более 90%) расходуется в системах охлаждения различных аппаратов: конденсаторов турбин, масло- и воздухоохладителей, движущихся механизмов и др.

Сточной водой является любой поток воды, выводимый из цикла электростанции.

К сточным, или сбросным, водам кроме вод систем охлаждения относятся: сбросные воды систем гидрозолоулавливания (ГЗУ), отработавшие растворы после химических промывок теплосилового оборудования или его консервации: регенерационные и шламовые воды от водоочистительных (водоподготовительных) установок: нефтезагрязненные стоки, растворы и суспензии, возникающие при обмывах наружных поверхностей нагрева, главным образом воздухоподогревателей и водяных экономайзеров котлов, сжигающих сернистый мазут.

Составы перечисленных стоков различны и определяются типом ТЭС и основного оборудования, ее мощностью, видом топлива, составом исходной воды, способом водоподготовки в основном производстве и, конечно, уровнем эксплуатации.

Воды после охлаждения конденсаторов турбин и воздухоохладителей несут, как правило, только так называемое тепловое загрязнение, так как их температура на 8…10 °С превышает температуру воды в водоисточнике. В некоторых случаях охлаждающие воды могут вносить в природные водоемы и посторонние вещества. Это обусловлено тем, что в систему охлаждения включены также и маслоохладители, нарушение плотности которых может приводить к проникновению нефтепродуктов (масел) в охлаждающую воду. На мазутных ТЭС образуются сточные воды, содержащие мазут.

Масла могут попадать в сточные воды также из главного корпуса, гаражей, открытых распредустройств, маслохозяйств.

Количество вод систем охлаждения определяется в основном количеством отработавшего пара, поступающего в конденсаторы турбин. Следовательно, больше всего этих вод на конденсационных ТЭС (КЭС) и АЭС, где количество воды (т/ч), охлаждающей конденсаторы турбин, может быть найдено по формуле Q=KW где W - мощность станции, МВт; К-коэффициент, для ТЭС К= 100…150: для АЭС 150…200.

На электростанциях, использующих твердое топливо, удаление значительных количеств золы и шлака выполняется обычно гидравлическим способом, что требует большого количества воды. На ТЭС мощностью 4000 МВт, работающей на экибастузском угле, сжигается до 4000 т/ч этого топлива, при этом образуется около 1600…1700 т/ч золы. Для эвакуации этого количества со станции требуется не менее 8000 м3/ч воды. Поэтому основным направлением в этой области является создание оборотных систем ГЗУ, когда освободившаяся от золы и шлака осветленная вода направляется вновь на ТЭС в систему ГЗУ.

Сбросные воды ГЗУ значительно загрязнены взвешенными веществами, имеют повышенную минерализацию и в большинстве случаев повышенную щелочность. Кроме того, в них могут содержаться соединения фтора, мышьяка, ртути, ванадия.

Стоки после химической промывки или консервации теплосилового оборудования весьма разнообразны по своему составу вследствие обилия промывочных растворов. Для промывок применяются соляная, серная, плавиковая, сульфаминовая минеральные кислоты, а также органические кислоты: лимонная, ортофталевая, адипиновая, щавелевая, муравьиная, уксусная и др. Наряду с ними используются трилон Б, различные ингибиторы коррозии, поверхностно-активные вещества, тиомочевина, гидразин, нитриты, аммиак.

В результате химических реакций в процессе промывок или консервации оборудования могут сбрасываться различные органические и неорганические кислоты, щелочи, нитраты, соли аммония, железа, меди, трилон Б, ингибиторы, гидразин, фтор, уротропин, каптакс и т.д. Такое разнообразие химических веществ требует индивидуального решения нейтрализации и захоронения токсичных отходов химических промывок.

Воды от обмывки наружных поверхностей нагрева образуются только на ТЭС, использующих в качестве основного топлива сернистый мазут. Следует иметь в виду, что обезвреживание этих обмывочных растворов сопровождается получением шламов, содержащих ценные вещества - соединения ванадия и никеля.

При эксплуатации водоподготовки обессоленной воды на ТЭС и АЭС возникают стоки от склада реагентов, промывок механических фильтров, удаления шламовых вод осветлителей, регенерации ионитовых фильтров. Эти воды несут значительное количество солей кальция, магния, натрия, алюминия, железа. Например, на ТЭЦ, имеющей производительность химводоочистки 2000 т/ч, сбрасывается солей до 2,5 т/ч.

С предочистки (механические фильтры и осветлители) сбрасываются нетоксичные осадки - карбонат кальция, гидрооксид железа и алюминия, кремнекислота, органические вещества, глинистые частицы.

И, наконец, на электростанциях, использующих в системах смазки и регулирования паровых турбин огнестойкие жидкости типа иввиоль или ОМТИ, образуется небольшое количество сточной воды, загрязненной этим веществом.

Основным нормативным документом, устанавливающим систему охраны поверхностных вод, служат «Правила охраны поверхностных вод (типовое положение)» (М.: Госкомприроды, 1991 г.).

2. Влияние сточных вод ТЭС на природные водоемы

Природные водоемы представляют собой сложные экологические системы (экосистемы) существования биоценоза - сообщества живых организмов (животных и растений). Эти системы создавались в течение многих тысячелетий эволюции живого мира. Водоемы являются не только сборниками и хранилищами воды, в которых вода усредняется по качеству, но в них непрерывно протекают процессы изменения состава примесей - приближение к равновесию. Оно может быть нарушено в результате человеческой деятельности, в частности сброса сточных вод ТЭС.

Живые организмы (гидробионты), населяющие водоемы, тесно связаны между собой условиями жизни, и в первую очередь ресурсами питания. Гидробионты играют основную роль в процессе самоочищения водоемов. Часть гидробионтов (обычно растения) синтезируют органические вещества, используя при этом неорганические соединения из окружающей среды, такие, как СО2, NН3 и др.

Другие гидробионты (обычно животные) усваивают готовые органические вещества. Водоросли также минерализуют органические вещества. В процессе фотосинтеза они при этом выделяют кислород. Основная часть кислорода поступает в водоем путем аэрации при контакте воды с воздухом.

Микроорганизмы (бактерии) интенсифицируют процесс минерализации органики при окислении ее кислородом.

Отклонение экосистемы от равновесного состояния, вызванное, например, сбросом сточных вод, может привести к отравлению и даже гибели определенного вида (популяции) гидробионтов, которое приведет к цепной реакции угнетения всего биоценоза. Отклонение от равновесия интенсифицирует процессы, приводящие водоем в оптимальное состояние, которые называют процессами самоочищения водоема. Важнейшие из этих процессов следующие:

1 осаждение грубодисперсных и коагуляция коллоидных примесей;

2 окисление (минерализация) органических примесей;

3 окисление минеральных примесей кислорода;

4 нейтрализация кислот и оснований за счет буферной емкости воды водоема (щелочности), приводящая к изменению ее рН;

5 гидролиз ионов тяжелых металлов, приводящий к образованию их малорастворимых гидроокисей и выделению их из воды;

6 установление углекислотного равновесия (стабилизация) в воде, сопровождающееся или выделением твердой фазы (СаСО3), или переходом части ее в воду.

Процессы самоочищения водоемов зависят от гидробиологической и гидрохимической обстановки в них. Основными факторами, существенно влияющими на водоемы, являются температура воды, минералогический состав примесей, концентрация кислорода, показатель рН воды, концентрации вредных примесей, препятствующих или затрудняющих протеканию процессов самоочищения водоемов.

Для гидробионтов наиболее благоприятен показатель рН=6,5…8,5.

Так как сбросы воды из систем охлаждения оборудования ТЭС несут в основном «тепловое» загрязнение следует иметь в виду, что температура оказывает мощное воздействие на биоценоз в водоеме. С одной стороны, температура оказывает прямое влияние на скорость протекания химических реакций, с другой - на скорость восстановления дефицита кислорода. При повышении температуры ускоряются процессы размножения гидробионтов.

Восприимчивость живых организмов к токсичным веществам с повышением температуры обычно увеличивается. При повышении температуры до +30°С сокращается прирост водорослей, поражается фауна, рыбы становятся малоподвижными и перестают кормиться. Кроме того, с ростом температуры уменьшается растворимость кислорода в воде.

Резкий перепад температур, который возникает при сбросе в водоем нагретых вод, приводит к гибели рыбы и представляет серьезную угрозу рыбному хозяйству. Влияние сточных вод, температура которых на 6…9 °С выше температуры речной воды, губительно даже для рыб, адаптированных к летней температуре до + 25°С.

Среднемесячная температура воды в расчетном створе водоема хозяйственно-питьевого и культурно-бытового водопользования летом после сброса нагретой воды не должна повышаться более чем на 3°С по сравнению с естественной среднемесячной температурой воды на поверхности водоема или водотока для наиболее жаркого месяца года. Для рыбохозяйственных водоемов температура воды в расчетном створе летом не должна повышаться более чем на 5°С по сравнению с естественной в месте водовыпуска. Среднемесячная температура воды наиболее жаркого месяца в расчетном створе рыбохозяйственных водоемов не должна превышать 28°С, а для водоемов с холодноводными рыбами (лососевыми и сиговыми) не должна превышать 20°С.

Предельно допустимые концентрации вредных веществ в водоемах


Для водоемов санитарно-бытового водопользования

Для рыбохозяйственных водоемов

Вещество

Лимитирующий показатель вредности

ПДК мг/дм3

Класс опасности

Лимитирующий показатель вредности

ПДК мг/дм3

Аммиак NH3

санитарно-токсикологический

2,0

3

токсикологический

0,05

Ванадий V5+

то же

0,1

3

то же

0,001

Гидразин N2H4

то же

0,01

2



Железо Fe2+

органолептический (цвет)

0,3

3

то же

0,005

Медь Cu2+

органолептический (привкус)

1,0

3

то же

0,001

Мышьяк As2+

санитарно-токсикологический

0,05

2

то же

0,05

Никель Ni2+

то же

0,1

3

то же

0,01

Нитраты (по NO2-)

то же

3,3

2

то же

0,08

Полиакриламид

то же

2,0

2

то же

0,8

Ртуть

то же

0,0005

1

то же

отсутствие

Свицец Pb2+

то же

0,03

2

то же

0,1

Формальдегид

то же

0,05

2



Фтор F-

то же

1,5

2

то же

0,05

Сульфаты (по SO4)

органолептический (привкус)

500

4

санитарно-токсикологический

100

Фенолы

органолептический (запах)

0,001

4

токсикологический

0,001

Нефть и нефтепродукты

органолептический (пленка)

0,3

4

рыбохозяйственный

0,05


Предельно допустимой концентрацией (ПДК) вредного вещества в воде водоема называется его концентрация, которая при ежедневном воздействии в течение длительного времени на организм человека не вызывает каких-либо патологических изменений и заболеваний, обнаруживаемых современными методами исследований, а также не нарушает биологического оптимума в водоеме.

В табл. 1 приведены ПДК некоторых веществ, характерных для энергетики.

Какое же влияние оказывают на природные водоемы отдельные загрязнители, характерные для ТЭС?

Нефтепродукты. Попадающие в водоемы стоки, содержащие нефтепродукты, вызывают появление у воды запаха и привкуса керосина, образование пленки или масляных пятен на ее поверхности и отложений тяжелых нефтепродуктов на дне водоемов. Пленка нефтепродуктов нарушает процесс газообмена и препятствует проникновению в воду световых лучей, загрязняет берега и прибрежную растительность.

Попавшие в водоем нефтепродукты в результате биохимического окисления постепенно разлагаются на углекислоту и воду. Однако этот процесс протекает медленно и зависит от количества растворенного в воде кислорода, температуры воды и количества микроорганизмов в ней. В летнее время пленка нефтепродуктов разлагается на 50…80% в течение 5…7 дней, при температуре ниже +10°С процесс разложения идет более длительно, а при +4°С разложения вообще не происходит.

Донные отложения нефтепродуктов удаляются еще более медленно и становятся источником вторичного загрязнения воды.

Наличие в воде нефтепродуктов делает воду непригодной для питья. Особенно большой ущерб наносится рыбному хозяйству. Рыбы наиболее чувствительны к изменению химического состава воды и к попаданию в нее нефтепродуктов в эмбриональном периоде. Нефтепродукты, попадающие в водоем, приводят также к гибели планктона - важной составляющей кормовой базы рыб.

От загрязнения водоемов нефтепродуктами страдают также водоплавающие птицы. В первую очередь повреждаются оперение и кожа птиц. При обильном поражении птицы погибают.

Кислоты и щелочи. Кислые и щелочные воды изменяют показатель рН воды водоема в районе их сброса, Изменение рН отрицательно сказывается на флоре и фауне водоема, нарушает биохимические процессы и физиологические функции у рыб и других живых организмов. При повышении щелочности воды, т.е. рН>9,5 у рыб разрушается кожный покров, ткани плавников и жабры, водные растения угнетаются, ухудшается самоочищение водоема. При снижении показателя, т.е. рНг$5 неорганические (серная, соляная, азотная) и органические (уксусная, молочная, виннокаменная и др.) кислоты оказывают на рыб токсическое воздействие.

Соединения ванадия обладают способностью накапливаться в организме. Они являются ядами с весьма разнообразным действием на организм и способны вызвать изменения в органах кровообращения, дыхания, в нервной системе: приводят к нарушению обмена веществ и аллергическим поражениям кожи.

Соединения железа. Растворимые соли железа, образующиеся в результате воздействия кислоты на металл теплоэнергетического оборудования, при нейтрализации кислых растворов щелочи переходят в гидрат оксида железа, выпадающий в осадок и могущий отлагаться на жабрах рыб. Комплексы железа с лимонной кислотой отрицательно влияют на цвет и запах воды. Кроме того, соли железа обладают некоторым общим токсическим действием, а соединения трехвалентного (окисного) железа действуют обжигающе на пищеварительный тракт.

Соединения никеля поражают ткань легких, вызывают функциональные нарушения центральной нервной системы, желудочные заболевания, снижение кровяного давления.

Соединения меди обладают общим токсическим действием и при избыточном попадании в организм вызывают нарушения желудочно-кишечного тракта. Для рыб опасны даже незначительные концентрации меди.

Нитриты и нитраты. Воды, содержащие нитриты и нитраты в количествах, превышающих предельно допустимые. не могут быть использованы для питьевого водоснабжения. При их употреблении наблюдались случаи тяжелой метгемоглобинемии. Кроме того, нитраты неблагоприятно воздействуют на высших беспозвоночных и рыб.

Аммиак и соли аммония тормозят биологические процессы в водоемах и высокотоксичны для рыб. Кроме того, аммониевые соли в результате биохимических процессов окисляются до нитратов.

Трилон Б. Растворы трилона Б токсичны для микроорганизмов, в том числе и для тех, которые участвуют в процессах биохимической очистки. Комплексы трилона Б с солями жесткости обладают значительно меньшей токсичностью, однако комплексы его с солями железа окрашивают воду водоема и придают ей неприятный запах.

Ингибиторы ОП-7, ОП-10 придают запах воде и специфический привкус рыбе. Поэтому для водных объектов, используемых для рыбохозяйственных целей, лимитирующим показателем вредности ингибиторов ОП-7 и ОП-10 является токсикологический показатель, а для водных объектов хозяйственно-питьевого и культурно-бытового водопользования - органолептический (вкус, запах).

Гидразин, соединения фтора, мышьяка, ртути ядовиты как для человека, так и для фауны водоемов. Однако в воде, используемой для питьевых целей, должна быть определенная концентрация фтор-ионов (приблизительно 1,0-1,5 мг/л). Как меньшие, так и большие концентрации фтора вредны для человеческого организма.

Повышенное солесодержание сточных вод, даже обусловленное наличием нейтральных солей, близких по составу к солям, содержащимся в обычных водах водоемов, может оказать отрицательное влияние на флору и фауну водоемов.

Шлам, находящийся в сбросных водах предочисток водоподготовительных установок, содержит органические вещества. Попадая в водоем, он способствует снижению содержания кислорода в воде из-за окисления этих органических веществ, что может привести к нарушению процессов самоочищения водоема, а в зимнее время к развитию замора рыбы. Содержащиеся в шламе хлопья оксидов железа и избыток извести поражают слизистую жабр у рыбы, приводя ее к гибели.

Снижение отрицательного влияния ТЭС на водоемы осуществляется следующими основными путями: очисткой сточных вод перед их сбросом в водоемы, организацией необходимого контроля; уменьшением количества сточных вод вплоть до создания бессточных электростанций; использованием сточных вод в цикле ТЭС; усовершенствованием технологии самой ТЭС.

В табл. 2 представлен примерный усредненный состав стоков исходя из полученных данных химического анализа проб, взятых из бассейнов-отстойников некоторых электростанций. Вещества эти по своему влиянию на санитарный режим водоемов могут быть разделены на три группы.

Примерный состав стоков в бассейне-отстойнике до очистки, при различных методах химических промывок, мг/л    

Компоненты

Соляно-кислотный

Комплексный

Аддитиново-кислотный

Фталевокислотный

Гидразино-кислотный

Дикарбокислотный

Хлориды Cl-

2000

-

-

-

-

-

Сульфаты SO4

-

300

300

300

300

300

Железо Fe2+, Fe3+

300

250

230

230

300

230

Медь Cu2+

50

30

-

-

-

-

Цинк Zn2+

50

30

-

-

-

-

Фтор F-

250

200

-

-

-

-

ОП-7, ОП-10

40

40

40

40

-

40

ПБ-5, В-1, В-2

40

-

-

-

-

-

Каптакс

-

5

5

5

-

5

Формальдегид

200

-

-

-

-

-

Аммонийные соединения NH4+

300

300

150

150

150

150

Нитриты NO2-

270

270

-

-

-

-

Гидразин N2H4

-

-

25

25

30

25

Солесодержание

2500

2000

1800

1800

2000

1700


К первой должны быть отнесены неорганические вещества, содержание которых в данных растворах близко к значениям ПДК. Ими являются сульфаты и хлориды кальция, натрия, магния. Сброс в водоем сточных вод, содержащих эти вещества, будет лишь несколько повышать солесодержание воды.

Вторую группу составляют вещества, содержание которых значительно превышает ПДК; к ним необходимо отнести соли металлов (железа, меди, цинка), фторсодержащие соединения, гидразин, мышьяк. Эти вещества не могут быть пока биологически переработаны в безвредные продукты.

Третья группа объединяет все органические вещества, а также аммонийные соли, нитриты, сульфиды. Общим для веществ этой группы является то, что все они могут быть окислены до безвредных или менее вредных продуктов: воды, углекислоты, нитратов, сульфатов, фосфатов, поглощая при этом из воды растворенный кислород. Скорость этого окисления для разных веществ различна.

3. Обработка сбросных вод водоподготовительных установок

сточный электрический станция водоподготовительный

Методы очистки сточных вод подразделяются на механические (физические), физико-химические, химические и биохимические.

Непосредственное выделение примесей из сточных вод может быть осуществлено следующими путями (механические и физико-химические методы):

1 механическое удаление крупных примесей (на решетках, сетках);

2 микропроцеживание (мелкие сетки);

3 отстаивание и осветление;

4 применение гидроциклонов;

5 центрифугирование;

6 фильтрование;

7 флотация;

8 электрофорез;

9 мембранные методы (обратный осмос, электродиализ).

Выделение примесей с изменением фазового состояния воды или примеси (физико-химические методы):

10примесь - газовая фаза, вода-жидкая фаза (дегазация или отгонка с паром);

11примесь - жидкая или твердая фаза, вода - жидкая фаза (выпаривание);

12примесь и вода - две жидкие не смешивающиеся фазы (экстракция и коалесценция);

13примесь - твердая фаза, вода - твердая фаза (вымораживание);

14примесь - твердая фаза, вода - жидкая фаза (кристаллизация, сорбция, коагуляция).

Методы очистки сточных вод путем превращения примесей с изменением их химического состава (химические и физикохимические методы) разделяются по характеру процессов на следующие группы:

15образование труднорастворимых соединений (известкование и др.);

16синтез и разложение (разложение комплексов тяжелых металлов при вводе щелочей и др.);

17окислительно-восстановительные процессы (окисление органических и неорганических соединений сильными окислителями и др.);

18термическая переработка (аппараты с погружными горелками, сжигание кубовых остатков и др.).

Наибольшее практическое значение при очистке сточных вод ТЭС имеют методы: отстаивание, флотация, фильтрование, коагуляция и сорбция, известкование, разложение и окисление веществ.

В зависимости от качества исходной воды и требований к качеству добавочной воды котлов применяются различные варианты схем водоподготовительных установок. В общем виде они включают в себя предочистку воды и ионный обмен.

Непосредственный сброс сточных водоподготовительных установок в водоемы недопустим из-за резкопеременных значений рН, выходящих за пределы 6,5-8,5, оптимальных для водоемов, а также высокой концентрации в них грубодисперсных примесей и солей.

Удаление грубодисперсных примесей и регулирование рН не представляют проблемы. Наиболее сложной задачей является снижение концентрации истинно-растворенных примесей (солей). Ионообменный метод здесь непригоден, так как приводит к возрастанию количества сбрасываемых солей. Более предпочтительны безреагентные методы (выпаривание, обратный осмос) или с ограниченным применением реагентов (электродиализ). Но и в этих случаях обработка воды на водоподготовительных установках производится дважды.

Поэтому главной задачей при проектировании и эксплуатации водоподготовки ТЭС следует считать уменьшение сброса сточных вод.

В соответствии с условиями сброса сточных вод технология их очистки состоит обычно из трех этапов:

19сброса всех отработавших растворов и отмывочных вод в усреднитель;

20выделение из жидкости токсичных веществ второй группы с последующим обезвоживанием получающегося осадка; очистка от веществ третьей группы.

Продувочная вода осветлителей обрабатывается и повторно используется после осветления ее на шламоотвале, или в специальных отстойниках, или на фильтр-прессах, или барабанно-вакуумных фильтрах с возвратом воды во всех случаях в баки повторного использования промывочных вод механических фильтров. Шлам из отстойников периодического действия направляется на шламоотвал с использованием для этой цели нейтрализованных регенерационных вод ионитовых фильтров. Обезвоженный шлам, полученный на фильтр-прессе, необходимо вывозить в места захоронения, имеющие надежную защиту от попадания вредных веществ в окружающую среду.

Схема установки для обезвоживания шлама предочистки на одной из ТЭС представлена на рис1.

Рис. 1. Принципиальная схема установки для обезвоживания шлама продувки осветлителей:

- подвод шлама; 2 - осветленная вода на ВПУ; 3 - техническая вода; 4 - воздух;

- обезвоженный шлам; 6 - барабанно-вакуумный фильтр; 7 - воздуходувка; 8 - вакуум-насос; 9 - ресивер; 10 - бак постоянного уровня; 12 - насос; 12 - емкость; 13 - бункер для обезвоженного шлама

Продувочная вода из осветлителя направляется в сборную емкость. Для предупреждения осаждения шлама в этой емкости через продувочную воду барботируется воздух, затем вода перекачивается в бак постоянного уровня и поступает в вакуумный фильтр, в котором происходит отделение шлама. Обезвоженный шлам сбрасывается в бункер и затем направляется на шламоотвал. Вода после отделения шлама возвращается на водоподготовительную установку.

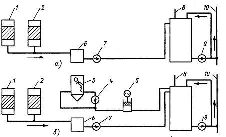
Рис. 2. Схемы самонейтрализации (а) и нейтрализации (б) известью сточных вод водоподготовительных установок:

-Н-катионитный фильтр; 2-анионитный фильтр; 3-известковая мешалка; 4-насос известковой мешалки; 5-насос-дозатор известкового молока; 6-приямок сбора регенерадионных вод; 7-перекачивающий насос; 8-бак-нейтрализатор; 9-насос перекачивания и сброса; 10-охлаждающая вода после конденсаторов турбин или водоисточник

Продувка осветлителей может направляться также в систему ГЗУ или на нейтрализацию кислых стоков (при рН>9).

Вода от промывки механических фильтров при наличии предочистки направляется либо в линию исходной воды (при коагуляции), либо в нижнюю часть каждого осветлителя (при известковании). Для обеспечения постоянного расхода эта вода предварительно собирается в бак регенерации промывочных вод механических фильтров.

При отсутствии предочистки вода от промывки механических фильтров может либо обрабатываться отстаиванием в специальном отстойнике с возвратом осветленной воды в линию исходной воды и удалением отстоявшегося шлама на шламоотвал, либо использоваться в системе ГЗУ, либо направляться в систему сбора регенерационных вод ионитовых фильтров.

Сточные воды ионообменной части водоподготовительной установки, если не считать некоторого количества грубодиперсных примесей, поступающих при взрыхлении фильтров, представляют собой истинные растворы солей. В зависимости от местных условий эти воды направляются: в водоемы с соблюдением санитарно-гигиенических и рыбохозяйственных требований; в системы гидрозолоудаления; в пруды-испарители при благоприятных климатических условиях; на выпарные установки; в подземные водоносные горизонты.

Сброс сточных вод в водоем возможен при соблюдении определенных условий. Так, при кислых сточных водах необходимо выполнение следующего неравенства:

;

а при щелочных

,

где а - коэффициент смешения на участке между выпуском сточных вод и расчетным створом ближайшего пункта водопользования;

Q - расчетный расход водоема, равный для незарегулированных рек наибольшему среднемесячному расходу воды 95%-ной обеспеченности;

Щ - изменение щелочности воды, которое вызовет изменение рН исходной воды до предельно допустимого значения, мг-экв/кг;

Q и QСК - суточные сбросы щелочи и кислоты в сточных водах соответственно, г-экв.

Сбросы кислоты и щелочи определяются по следующим выражениям:

;

,

где GЩ и GК - суточные расходы щелочи и кислоты соответственно, кг;

qЩ и qК - удельные расходы щелочи и кислоты при регенерации, г-экв/г-экв.

Величина Щ определяется по формуле

,

где Щ0 - щелочность исходной воды водоема, мг-экв/кг;

рНД - допустимый показатель рН воды после смешения сточной воды с водой водоисточника (6,5 и 8,5);

DрН=рНД-рН0 - величина, на которую допустимо изменять показатель рН воды водоисточника;

рН0 - показатель рН воды при температуре водоема;

m - ионная сила воды в водоеме;

К1 - константа первой ступени диссоциации Н2СО3 при температуре воды в водоеме.

Если сброс сточных вод в водоем нарушает эти условия, то необходимо применять предварительную нейтрализацию. В большинстве случаев сточные воды ионообменной части водоподготовительных установок после смешения сбросов регенеративных вод от катионитов и анионитных фильтров имеют кислую реакцию. Для нейтрализации применяют щелочные реагенты, как доломит, различные щелочи, но чаще всего известь.

Рис. 3. Схема нейтрализации щелочных регенерационных вод дымовыми газами:

1 - Н-катионитный фильтр; 2 - анионитный фильтр; 3 - приямок сбора регенерационныхвод; 4 - перекачивающий насос; 5 - бак нейтрализации; 6 - распределительная труба; 7 - насос перемешивания и сброса; 8 - эжектор; 9 - дымовые газы, очищенные от золы; 10 - охлаждающая вода после конденсаторов турбин

Нейтрализация известью не вызывает столь резкого повышения солесодержания воды, как при использовании других реагентов. Происходит это по той причине, что при нейтрализации известью образуется осадок, который затем выводится из воды. Положительный опыт получен также при нейтрализации сточных вод аммиачной водой.

Суточный расход реагентов, необходимых для нейтрализации кислых вод, можно записать как QСР=QСК-QСЩ, а щелочных - как QСР=QСЩ-QСК.

При нейтрализации известью суточный расход 100%-ного СаО составляет QСаО=28QСР×10-3.

На рис. 2 приведены схемы нейтрализации кислых сточных вод.

Если после смешения регенерационных сбросов вода имеет щелочной характер, то ее нейтрализацию можно проводить дымовыми газами за счет растворения СО2, SО3, NО2.

Необходимый объем дымовых газов V для нейтрализации суточного объема щелочных сточных вод определяется по формуле

,

где VГ - полный объем дымовых газов, образующихся при сжигании топлива, после золоуловителя, м3 /кг или м33;

VSO2; VCO2 и VNO2 - объемы соответствующих газов, образующихся при сжигании топлива, м3/кг или м33.

На рис. 3 приведена схема нейтрализации сточных вод водоподготовительных установок дымовыми газами с использованием барботажного способа растворения газа в воде.

Для тех же целей применяются и выпарные установки для концентрирования и глубокого упаривания сточных вод (Ферганская ТЭЦ, Казанская ТЭЦ-3). Концентрат подается на установку переработки концентрированных стоков. Установка представляет аппарат с погружными горелками (рис. 4), где упаривание производится до получения кристаллической соли, которая складируется в нефильтруемом хранилище.


Рис. 4. Аппарат погружного горения для выпаривания сточных вод:

1 - погружная горелка; 2 - аппарат; 3 - вентилятор; 4 - бак; 5 - регулятор уровня

Для очистки сточных вод от нефтепродуктов применяются методы отстаивания, флотации и фильтрования.

Метод отстаивания основан на способности самопроизвольного разделения воды и нефтепродуктов. Частицы нефтепродуктов под действием сил поверхностного натяжения приобретают сферическую форму, и их размеры находятся в диапазоне от 2 до 3×102 мкм. Величина, обратная размеру частицы, называется степенью дисперсности. В основе процесса отстаивания лежит принцип выделения нефтепродуктов под действием разности плотностей воды и частиц масла. Содержание нефтепродуктов в стоках находится в широких пределах и составляет в среднем 100 мг/л.

Отстаивание нефтепродуктов производится в нефтеловушках (рис. 5). Вода подается в приемную камеру и, пройдя под перегородкой, попадает в отстойную камеру, где и происходит процесс разделения воды и нефтепродуктов. Очищенная вода, пройдя под второй перегородкой, выводится из нефтеловушки, а нефтепродукты образуют пленку на поверхности воды и удаляются специальным устройством. При выборе нефтеловушки необходимо принимать следующие допущения: скорость движения воды во всех точках поперечного сечения одинакова; поток воды имеет ламинарный характер; скорость всплывания частиц нефтепродуктов постоянна в течение всего времени прохождения потока.

Рис. 5. Схема типовой нефтеловушки:

1-сточная вода; 2 - приемная камера; 3-отстойная зона: 4-очищенная вода; 5 - вертикальные полупогруженные перегородки; 6-нефтесборные трубы; 7-пленка всплывших нефтепродуктов

Значительное влияние на эффективность работы нефтеловушки оказывает температура воды. Увеличение температуры воды приводит к снижению ее вязкости, что способствует улучшению условий выделения частиц. Например, мазут при температуре воды ниже 30 С оседает в нефгеловушке, в интервале 30…40°С частицы мазута находятся во взвешенном состоянии и лишь свыше 40°С проявляется эффект всплытия частиц.

Рис. 6. Нефтеловушка Гипроспецпромстроя со скребковым механизмом:

1 - приемная камера; 2 - перегородка; 3 - отстойная зона; 4 - перегородка; 5 - выпускная камера; 6 - переливной лоток; 7 - скребок; 8 - поворотные щелевые трубы; 9 - приямок; 10 - гидроэлеватор

На рис. 6 представлена нефтеловушка Гидроспецпромстроя. Нефтепродукты, всплывающие на поверхность в отстойных камерах, сгоняют скребковым устройством к щелевым поворотным трубам, расположенным в начале и конце отстойных зон каждой секции, через которые они выводятся из нефтеловушки. При наличии тонущих примесей в сточной воде они выпадают на дно нефтеловушки, сгребаются тем же скребковым транспортером в приямок и при помощи данного клапана (или гидроэлеватора) выводятся из нефтеловушки. Нефтеловушки такого типа рассчитаны на производительность 15…220 кг/с по сточной воде.

Рис. 5.7. Схема установки для напорной флотации:

1-вход воды; 2-приемный резервуар; 3-всасывающая труба; 4-воздухопровод; 5-насос; 6-флотационная камера; 7-пеносборник; 8-отвод очищенной воды; 9-напорная емкость

Флотационный метод очистки воды заключается в образовании комплексов частица нефтепродуктов - пузырек воздуха с последующим выделением этих комплексов из воды. Скорость всплывания таких комплексов в 102…103 раз превышает скорость всплывания частиц нефтепродуктов. По этой причине флотация гораздо эффективнее отстаивания.

Рис. 8. Схема установки для безнапорной флотации:

1-вход воды; 2-приемный резервуар; 3-всасывающая труба; 4-воздухопровод; 5-насос; 6-флотационная камера; 7-пеносборник; 8-отвод очищенной воды

Различают напорную флотацию, при которой пузырьки воздуха выделяются из пересыщенного раствора его в воде, и безнапорную, которая осуществляется при помощи пузырьков воздуха, вводимых в воду специальными устройствами.

При напорной флотации (рис. 7) воздух растворяется в воде под избыточным давлением до 0,5 МПа, для чего в трубопровод перед насосом подается воздух, а затем водовоздушная смесь в течение 8-10 мин выдерживается в специальной напорной емкости, откуда и подается во флотатор, где происходят сброс давления, образование пузырьков воздуха и собственно флотационный процесс разделения воды и примеси. При снижении давления на входе воды во флотатор воздух, растворенный в воде, выделяется практически мгновенно, образуя пузырьки.

При безнапорной флотации (рис. 8) образование пузырьков происходит за счет механических (насосом, эжектором) или электрических сил и во флотатор вводится готовая дисперсная система пузырьки - вода. Оптимальные размеры пузырьков равны 15-30 мкм. Скорость всплывания пузырьков такого размера с захваченными частицами нефти составляет в среднем 0,9…10-3 м/с, что в 900 раз превышает скорость всплывания частицы нефти размером 1,5 мкм.

Фильтрование замазученных и замасленных вод осуществляется на заключительной стадии очистки. Процесс фильтрования основан на прилипании эмульгированных частиц нефтепродуктов к поверхности зерен фильтрующего материала. Так как фильтрованию предшествует предварительная очистка сточных вод (отстаивание, флотация), перед фильтрами концентрация нефтепродуктов невысока и составляет 10-4…10-6 в объемных долях.

При фильтровании сточных вод частицы нефтепродуктов выделяются из потока воды на поверхности зерен фильтрующего материала и заполняют наиболее узкие поровые каналы. При гидрофобной поверхности (не взаимодействующей с водой) частицы хорошо прилипают к зернам, при гидрофильной (взаимодействующей с водой) прилипание затруднено из-за наличия гидратной оболочки на поверхности зерен. Однако прилипающие частицы вытесняют гидратную оболочку и начиная с какого-то момента времени фильтрующий материал работает как гидрофобный.

Рис. 9. Изменение концентрации мазута в конденсате во время пропаривания фильтра при регенерации фильтрующего материала

При работе фильтра частицы нефтепродуктов постепенно заполняют объем пор и насыщают фильтрующий материал. В итоге по истечении некоторого времени устанавливается равновесие между количеством масла, выделяющегося из потока на стенки, и количеством масла, стекающего в виде пленки в следующие по ходу потока слои фильтрующего материала.

С течением времени насыщенность нефтепродуктами сдвигается к нижней границе фильтрующего слоя и концентрациямасла в фильтрате увеличивается. В этом случае фильтр отключается на регенерацию. Повышение температуры воды способствует уменьшению вязкости нефтепродуктов и, следовательно, более равномерному его распределению по высоте слоя.

Традиционными материалами для загрузки фильтров являются кварцевый песок и антрацит. Иногда применяют сульфоуголь, отработанный в Nа-катионитовый фильтр. В последнее время применяют доменный и мартеновский шлак, керамзит, диатомит. Специально для этих целей ЭНИН им. Г.М. Кржижановского разработал технологию получения полукокса из канско-ачинских углей.

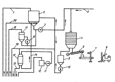
Рис. 10. Технологическая схема очистки сточных вод, содержащих нефтепродукты:

1-приемный бак: 2-нефтеловушка; 3-промежуточные баки; 4-флотатор; 5-напорная емкость; 6-эжектор; 7-мазутоприемник; 8-механический фильтр; 9-угольныий фильтр; 10-бак промывочной воды: 11-ресивер; 12-компрессор; 13-насосы: 14-раствор коагулянта

Регенерацию фильтра следует производить водяным паром давлением 0,03…0,04 МПа через верхнее распределительное устройство. Пар разогревает уловленные нефтепродукты, и они под давлением вытесняются из слоя. Длительность регенерации обычно не превышает 3 ч. Вытеснение масла из фильтра сопровождается сначала ростом его концентрации в конденсате, а затем ее уменьшением (рис. 9). Конденсат сбрасывается в баки перед нефтеловушкой или флотатором.

Эффективность очистки сточных вод в насыпных фильтрах от нефтепродуктов составляет около 80%. Содержание нефтепродуктов составляет 2…4 мг/кг, что значительно превышает ПДК. Вода с таким качеством может направляться для технологических целей ТЭС. В ряде случаев этот фильтрат необходимо доочистить на сорбционных (загруженных активированным углем) или намывных фильтрах.

Полная типовая схема очистки сточных вод от нефтепродуктов показана на рис. 10. Сточные воды собираются в буферные усреднительные баки, в которых происходит выделение части наиболее крупных грубодисперсных. примесей и частиц нефтепродуктов. Сточная вода, частично освобожденная от примесей, направляется в нефтеловушку. Затем вода поступает в промежуточный бак и оттуда насосом подается на флотатор. Выделенные нефтепродукты направляются в мазутоприемник, затем подогреваются паром для снижения вязкости и эвакуируются из установки для сжигания.

Частично очищенная вода направляется во второй промежуточный бак и подается из него на фильтровальную установку, состоящую из двух ступеней. Первая ступень представляет собой фильтр с двухслойной загрузкой из кварцевого песка и антрацита. Вторая ступень состоит из сорбционного фильтра. загруженного активированным углем. Степень очистки воды по этой схеме составляет около 95%.

5. Очистка обмывочных вод поверхностей нагрева котлов

Обмывочные воды регенеративных воздухоподогревателей (РВП) представляют собой кислые растворы (рН= 1,3…3), содержащие грубодисперсные примеси: оксиды железа, кремнекислоту, продукты недожога, нерастворившуюся часть золы, свободную серную кислоту, сульфаты тяжелых металлов, соединения ванадия, никеля, меди и др.

В среднем обмывочная вода содержит, г/л: свободную кислоту (в пересчете на Н24) 4…5, железо 7…8, никель0,1…0,15, ванадий 0,3…0,8, медь 0,02…0,05, взвешенные вещества 0,5, сухой остаток 32…45.

Сточные воды от обмывок РВП и конвективных поверхностей нагрева котлов обезвреживаются нейтрализацией их щелочами. При этом ионы тяжелых металлов осаждаются в шлам в виде соответствующих гидрооксидов. Так как обмывочные воды мазутных котлов содержат ванадий, шлам, образующийся при их нейтрализации, является ценным сырьем для металлургической промышленности. Поэтому процесс нейтрализации и очистки обмывочных вод организуется так. чтобы конечными продуктами являлись обезвреженная осветленная вода и обезвоженный ванадиевый шлам, который направляется на металлургические заводы.

Нейтрализация обмывочных вод производится в одну или две стадии. При нейтрализации в одну стадию сточные воды обрабатываются известковым молоком до рН=9,5…10 и выпадения всех токсичных компонентов в осадок.

На рис. 11 показан разработанный ВТИ и Теплоэлектропроектом и внедренный на Киевской ТЭЦ-5 вариант схемы нейтрализации и обезвреживания обмывочных вод РВП. В этой схеме обмывочные воды подаются в бак-нейтрализатор, в который также дозируется и раствор извести. Раствор перемешивается насосами рециркуляции и сжатым воздухом, затем отстаивается в течение 7…8 ч, после чего часть осветленной воды (50-60%) используется повторно на обмывку котлов, а шлам подается для обезвоживания на фильтр-прессы типа ФПАКМ. Шлам шнековым транспортером отправляется на расфасовку и на склад. Производительность фильтр-пресса 70 кг/(м2×ч). Фильтрат из фильтр-пресса поступает на катионитный фильтр для улавливания остатков катионов тяжелых металлов. Фильтрат катионитных фильтров сбрасывается в водоем.

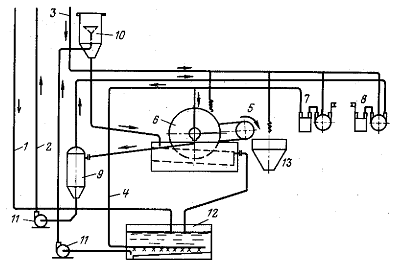
Рис. 11. Схема установки для обезвреживания и нейтрализации обмывочных вод котлов и РВП:

1-обмывочная вода; 2-бак-нейтрализатор; 3-насос; 4-фильтр-пресс; 5-техническая вода на промывку фильтровальной ткани; шнековый транспортер; 7-машина для зашивания мешков; 8-погрузчик; 9-бак-сборник; 10-насос фильтрата; 11-насос раствора соли; 12-бак-мерник раствора соли; 13-фильтрат; 14-регенерационный раствор; /5-катионитный фильтр; 16-известковое молоко; 17-мешалка; 18-насос; 19-осветленная вода на повторное использование; 20-сжатый воздух

Регенерация фильтра производится раствором NаСl, регенерационные воды сбрасываются в бак-нейтрализатор. Вода обезвреживается, однако получаемый шлам обогащен оксидами железа, сернокислым кальцием и беден соединениями ванадия (пентаоксида ванадия менее 3…5%).

Челябинским научно-исследовательским институтом металлургии (ЧНИИМ) совместно с Киевской ТЭЦ-5 разработан метод повышения содержания ванадия в осадке. При одностадийной нейтрализации в качестве реагента-осадителя используют смесь, содержащую гидрооксид железа Fе(ОH)2, кальция Са(ОН)2, магния Мg(ОН)2 и силикат-ион SiO32- Процесс осаждения производится при рН=3,4…4,2.

Для повышения концентрации соединения ванадия в шламе процесс осаждения можно организовать в две стадии. На первой стадии производится обработка щелочью (NаОН) до рН=4,5-4,0, при котором происходит осаждение Fе(ОН)3 и основной массы ванадия, а на второй стадии процесс нейтрализации проводится при рН=8,5…10, при котором осаждаются остальные гидроокиси. Вторая стадия осуществляется известью. В этом случае ценность представляет шлам, полученный на первой стадии нейтрализации.

6. Очистка сточных вод химических промывок и консервации оборудования

Сточные воды от предпусковых (после окончания монтажа) и эксплуатационных химических промывок и консервации оборудования представляют резкие, «залповые» сбросы с большим разнообразием содержащихся в них веществ.

Общее количество загрязненных стоков от одной химической промывки, подлежащих очистке, м3, можно определить из выражения

 

V=kа,

где а-суммарный объем промывочных контуров, м3;

К-коэффициент, равный 25 для газомазутных ТЭС и 15 дляпылеугольных, так как в последнем случае часть отмывочных вод с содержанием железа менее 100 мг/л может быть сброшена в ГЗУ.

Различают два основных варианта очистки отмывочных и консервационных вод:

1 на ТЭС, работающих на жидком и газообразном топливе, а также на угольных ТЭС с разомкнутой (прямоточной) системой ГЗУ;

2 на ТЭС, работающих на твердом топливе с оборотной системой ГЗУ.

По первому варианту предусматриваются следующие стадии очистки: сбор всех отработанных растворов в емкости-усреднители, выведение из раствора токсичных веществ второй группы, очистка воды от веществ третьей группы. Сбор и обезвреживание сточных вод производятся на установке, включающей двухсекционный открытый бассейн или емкость-усреднитель, баки-нейтрализаторы и бак для коррекции рН.

Стоки первоначальных водных промывок оборудования, загрязненные продуктами коррозии и механическими примесями, направляются в первую секцию открытого бассейна. После отстаивания осветленная вода из первой секции должна перепускаться во вторую - усреднитель бассейна. В эту же секцию отводятся стоки с рН=6…8 от водных промывок после завершения операции по вытеснению кислых и щелочных растворов.

Вода из секции-усреднителя должна повторно использоваться для подпитки оборотных систем водоснабжения или ГЗУ. Примерный состав стоков в бассейне-отстойнике указан в табл. 2. Кислые и щелочные растворы от химических очисток оборудования собираются в баки-нейтрализаторы (рис. 12), вмещающие 7…10 объемов очищаемого контура, для их взаимной нейтрализации. Растворы из баков-нейтрализаторов и использованные растворы от консервации оборудования направляются в бак для коррекции рН в целях проведения их окончательной нейтрализации, осаждения ионов тяжелых металлов (железа, меди, цинка), разложения гидразина, разрушения нитратов.

Донейтрализация и осаждение железа производятся путем подщелачивания растворов известью до рН=10…12 в зависимости от состава обезвреживаемых сточных вод. Для осаждения шлама и осветления вода отстаивается не менее двух суток, после чего шлам удаляется на шламоотвал предочисток водоподготовительных установок или на золоотвал.

Если в промывочных растворах на основе лимонной кислоты кроме железа присутствуют также медь и цинк, то для осаждения меди и цинка следует применять сульфид натрия, который необходимо добавлять в раствор после отделения шлама гидрооксида железа. Осадок сульфидов меди и цинка должен уплотняться отстаиванием не менее суток, после чего шлам удаляется на шламоотвал предочистки.

Рис. 12. Схема очистки промывочных сточных вод:

- бак; 2 - бак-нейтрализатор; 3 - шламоотстойник; 4 - бак для коррекции рН; 5 - подача известкового молока; б - подача хлорной извести; 7 - подача сульфида натрия (Nа2S); 8 - серная кислота: 9 - подача воздуха; 10 - вода на очистку; 11 - вода на фильтр-пресс: 12 - сброс

Для обезвреживания промывочных и консервирующих растворов, содержащих нитриты, можно использовать кислые промывочные растворы или производить обработку растворов кислотой. При этом следует учитывать, что при разрушении нитритов образуются газы NO и NО2, плотность которых выше плотности воздуха. Поэтому доступ в емкость, в которой проводилось обезвреживание растворов, содержащих нитрит, может быть разрешен только после тщательной вентиляции этой емкости и проверки ее на загазованность.

Гидразин и аммиак, содержащиеся в сточных водах, могут быть разрушены обработкой растворов хлорной известью. При этом гидразин окисляется хлорной известью с образованием свободного азота. Для практически полного разрушения гидразина количество хлорной извести должно быть увеличено по сравнению со стехиометрическим примерно на 5%.

При взаимодействии аммиака с хлорной известью образуется хлорамин, который в присутствии небольшого избытка аммиака окисляет его с образованием азота. При большом избытке аммиака в результате его взаимодействия с хлорамином образуется гидразин. Поэтому при обезвреживании хлорной известью растворов, содержащих аммиак, необходимо строго выдерживать стехиометрическую дозу извести.

Аммиак можно нейтрализовать в результате взаимодействия его с углекислотой воздуха при аэрации раствора в бакенейтрализаторе или в баке для коррекции рН. Осветленная вода, образующаяся после обезвреживания промывочных и консервирующих растворов, должна быть дополнительно обработана для придания ей нейтральной реакции (рН=6,5…8,5) и повторно использована на технологические нужды электростанции. Гидразин присутствует в стоках лишь в течение нескольких суток после слива растворов в усреднитель. Позже гидразин уже не обнаруживается, что объясняется его окислением при каталитическом участии железа и меди.

Рис. 13. Схема узла очистки консервирующих растворов:

1 - сброс консервирующего раствора; 2 - подвод реагентов; 3 - бак сбора консервирующего раствора; 4 - подвод греющего пара: 5 - насос; 6 - сброс обезвреженного раствора: 7 - циркуляционный насос; 8 - эжектор: 9 - линия рециркуляции

Технология очистки стоков от фтора заключается в обработке известью и сернокислым глиноземом в следующем соотношении: на 1 мг фтора - не менее 2 мг Аl2О3. Остаточное содержание фтора достигается не более 1,4…1,6 мг/л.

Осветленная вода из бака для коррекции рН отправляется на биохимическую очистку, являющуюся универсальным методом очистки.

В основе процесса биохимической очистки лежит жизнедеятельность некоторых видов микроорганизмов, которые могут использовать органические и минеральные вещества, содержащиеся в сточных водах, в качестве питательных веществ и источников энергии. Для биологической очистки применяют аэротенки и биофильтры. Существуют ограничения для концентраций некоторых веществ в воде, направляемой на биоочистку. При повышенных концентрациях эти вещества становятся ядовитыми для микроорганизмов.

Максимально допустимые концентрации веществ в воде, направляемой на биологическую очистку, составляют, мг/кг:

1 гидразина 0,1;

2 железа сернокислого 5;

3 хлора активного 0,3;

4 фталевого ангидрида 0,5.

Трилон Б в чистом виде подавляет процессы нитрификации при концентрации более 3 мг/л. Трилонаты при исходных концентрациях менее 100 мг/л полностью поглощаются активным илом очистных биологических сооружений.

На практике применяется также совместная очистка осветленной воды с бытовыми стоками на районных и городских очистных сооружениях. Такое решение узаконено существующими санитарными нормами и правилами, в которых указываются также и условия приема на очистные сооружения стоков и предельно допустимые концентрации в них вредных веществ.

На ТЭС с замкнутой системой ГЗУ возможен сброс промывочных и консервационных растворов непосредственно на золоотвалы, если рН>8. В противном случае промывочная вода предварительно нейтрализуется во избежание коррозии оборудования трубопроводов системы ГЗУ. Токсичные примеси сорбируются золой.

При отсутствии оборотной системы ГЗУ на ТЭС консервационные растворы подвергаются обработке различными окислителями: кислородом воздуха, хлорной известью и др.

На рис. 13 приведена принципиальная схема установки для очистки консервационных растворов. Отработанный раствор собирается в баке, емкость которого должна быть достаточной для приема сразу всего его количества. К баку подводятся пар и реагенты. Для ускорения процесса организуется циркуляция раствора с одновременным подводом воздуха при помощи эжектора. Продувка воздухом содействует разложению нитритов и гидразина.

. Обезвреживание сточных вод систем гидрозолоудаления

Количество сточных вод систем ГЗУ во много раз превышает суммарный объем всех остальных загрязненных стоков ТЭС. По этой причине очистка сточных вод систем ГЗУ, а для оборотных систем очистка продувочной воды весьма затруднительны. Очистка этих стоков усложняется высокой концентрацией фторидов, мышьяка, ванадия, ртути, германия и некоторых других элементов, обладающих токсичными свойствами. В применении к таким водам более целесообразно их обезвреживание, т.е. снижение концентрации вредных веществ до значений, при которых возможны их сбросы в водоемы.

Основные методы обезвреживания:

5 осаждение примесей;

6 сорбция примесей на различных сорбентах, в том числе на золе;

7 предварительная обработка с применением окислительно-восстановитель-ных процессов.

Наиболее проверенным методом, применяемым для удаления токсичных примесей из сточных вод, является осаждение примесей в результате образования малорастворимых химических соединений или в результате их адсорбции на поверхности образуемых в воде твердых частиц. В качестве реагента используется, как правило, известь. При необходимости применяются дополнительные реагенты, усиливающие процесс осаждения.

Некоторые образующиеся комплексы токсичных веществ с кальцием обладают достаточно высокой растворимостью. Например, даже наименее растворимый из комплексов мышьяк с кальцием ЗСа(АsО4)2×Са(ОН)2 имеет растворимость 4 мг/кг, что в 18 раз превосходит санитарную норму концентрации мышьяка в водоемах.

Для улучшения вывода мышьяка из воды одновременно с известью используют сернокислое железо (железистый купорос) FеSO4×7Н2О. При этом образуется труднорастворимое соединение FеАsО. Этот процесс усиливается адсорбцией мышьяка хлопьями гидрооксида железа. В результате совместной с известкованием коагуляции можно снизить содержание мышьяка в сточной воде ГЗУ при рН=9…10 до его ПДК в водоемах (ниже 0,05 мг/кг). Одновременно происходит и соосаждение хрома.

Соединения фтора хорошо осаждаются при добавочном вводе хлористого магния (МgСl2) в сточную воду. Фтор осаждается совместно с хлопьями образующегося гидрооксида Мg(ОН)2. Например, на Рефтинской ГРЭС, сжигающей экибастузский уголь, оптимальными условиями для снижения концентрации фтора являются рН= 10,2…10,4 при дозе магния, равной 50 мг/кг фтора.

На ТЭС должно быть создано специальное хранилище для захоронения там осажденных веществ из продувочных вод систем ГЗУ.

Применяется и ряд других веществ для осаждения фтора, например, на Рефтинской ГРЭС испытана коагуляция сточных вод ГЗУ сернокислым алюминием. При рН=4,5…5,5 и дозе сернокислого алюминия в виде безводного Аl2(SO4)3, равной 18…23 мг на 1 мг удаляемого фтора, его концентрация снижалась почти до нуля.

Сорбционная очистка основана на способности сорбентов извлекать токсичные примеси из сточных вод с образованием или без образования с сорбентами химических соединений. Сточные воды ГЗУ содержат сорбент - золу. В золе большинства углей содержится до 60% SiO2 и до 30% Аl2О3, которые образуют в процессе сжигания топлива алюмосиликаты. Последние являются ионообменными материалами, способными сорбировать ионы многих металлов. Наличие в золе недожога приводит к сорбции золой органических и малодиссоциированных соединений из воды.

Наладка системы ГЗУ позволяет откорректировать соотношение воды и золы, значение рН и в результате получить достаточно глубокое удаление токсичных примесей из сточных вод ГЗУ, используя свойства золы. Благодаря такой наладке можно избежать строительства специальных очистных сооружений.

Принципиальным решением проблемы обезвреживания сточных вод систем ГЗУ является переход на пневматические сухие системы транспортировки и хранения золы и шлака с полным их использованием в народном хозяйстве.

. Очистка сточных вод сероочистных установок

На ряде ТЭС Германии действуют установки по очистке сточных вод, образующихся на стадии осветления суспензии гипса в концентраторах.

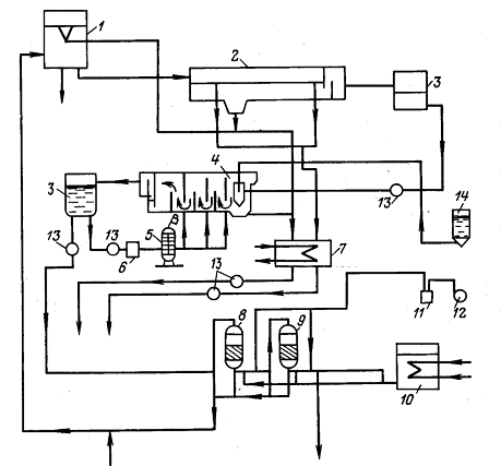
Например, на блоке 750 МВт ТЭС Бергкамен очистка сточных вод ведется в одноступенчатой установке, схема которой показана на рис. 14.

Загрязненная вода 1 поступает в двухкамерный резервуар 2, куда для осаждения металлов подается 45%-ый раствор едкого натра из емкости 3. Расчетное время действия NaOH - 5 мин. Этого достаточно для поддержания рН в диапазоне 8,7…9,3. Из резервуара 2 вода поступает в резервуар 4, куда из емкости 5 подается флокулянт. После ввода флокулянта сточная вода направляется в осветлитель 6.

По опускной трубе, образованной внутренней и наружной оболочками осветлителя, вода поступает в промежуточный объем. Скорость нисходящего потока в этом объеме равна 10…15 м/с. Окончательное разделение воды и шлама происходит при изменении направления потока воды после внутренней оболочки. Поток движется вверх со скоростью 3 мм/с и в это время происходит агломерация и осаждение твердых частиц, которое опускается в нижнюю часть осветлителя и удаляются из него скребковым механизмом.

Осветленная вода отводится через внутреннее сборное устройство 7 в бак отбора чистой воды 10.

Рис. 14. Схема установки очистки сточных вод на блоке 750 МВт ТЭС Бергкамен:

- загрязненная вода; 2 - двухкамерный резервуар; 3 - емкость едкого натра; 4 - резервуар; 5 - емкость флокулянта; 6 - осветлитель; 7 - сборное устройство осветлителя; 8 - шламонакопитель; 9 - фильтр-пресс; 10 - бак сбора чистой воды; 11 - насос; 12 - уровнемер; 13 - клапаны; 14 - расходомер и регулирующий клапан; 15, 16 - регулирующий клапан; 17 - очищенная вода; 18 - задвижка

Концентрация твердой фазы в шламе, удаляемом из осветлителя, составляет около 10%. Шлам поступает в специальный шламонакопитель 8. Небольшая часть шлама возвращается в стадию подщелачивания в качестве затравки.

Объем шламонакопителя расчитан на двое суток работы установки при полной нагрузке для предотвращения ее аварийного останова в случае повреждения фильтр-пресса.

Время работы фильтр-пресса 9 составляет 8 ч в сутки. За это время перерабатывается 3…4 загрузки. После опрессовки одной загрузки образуется 2 т шлама, содержание сухого вещества в нем 30…35%. Химический состав исходной и очищенной воды приводится в табл. 3.

Очищенная вода 17 возвращается в цикл сероочистки.

Схема управления установкой показана также на рис. 14. Раствор едкого натра дозируется в зависимости от исходной воды (расходомер и регулирующий клапан 14); флокулянт вводится пропорционально расходу воды (регулирующий клапан 15).

Химический состав исходной и очищенной воды после сероочистной установки

Показатель

Сточные воды


до очистки

после очистки

рН

6…7

9

Взевешенные вещества, мг/л

150

0,1

ХПК, мг/л

130

130

Кадмий, мг/л

0,05

0,03

Ртуть, мг/л

0,06

0,05

Хром, мг/л

0,5

0,5

Никель, мг/л

0,5

0,5

Цинк, мг/л

1,8

0,7

Свинец, мг/л

0,4

0,4

Медь, мг/л

0,5

0,02

Сульфиты, мг/л

20

20

Фториды, мг/л

80

15

Сульфаты, мг/л

2000

1700


Очищенные стоки откачиваются насосм из сборного бака 10. Если рН обработанной воды ниже требуемого значения, то закрывается задвижка 18 и прекращается подача исходной воды, а клапан 16 переключается и обработанная вода возвращается на подщелачивание.

Уравнемерами 12 непрерывно контролируется уровень шлама в осветлителе и шлакосборнике.

В целом установка работает надежно.

Похожие работы на - Сточные воды ТЭС и их очистка

 

Не нашли материал для своей работы?
Поможем написать уникальную работу
Без плагиата!
Без нейросетей!