Очистка дымовых газов от пыли с применением электрофильтров
Содержание
Введение
1. Вредные воздействия пыли на окружающую среду и ее свойства
2. Классификация пылеуловителей, применяемых для очистки газов
2.1 Осаждение под действием сил тяжести
2.2 Осаждение под действием инерционных сил
2.3 Фильтрование
2.4 Мокрая очистка путем промывки
3. Очистка дымовых газов от пыли электрофильтрами
3.1 Расчет вредных выбросов
Заключение
Список используемой литературы
Введение
В связи с широким использованием твердых топлив и повышением
требований к охране окружающей среды на ТЭС все большее значение приобретают
вопросы золоулавливания. Тепловые электростанции, потребляя свыше трети
добываемого топлива, могут оказывать существенное влияние как на окружающую
среду в районе их расположения, так и на общее состояние биосферы. Взаимодействие
электростанции с внешней средой определяется выбросами в атмосферу дымовых
газов, тепловыми выбросами и выбросами загрязненных сточных вод. При сжигании
твердого топлива наряду с окислами основных горючих элементов - углерода и
водорода в атмосферу попадают летучая зола с частицами недогоревшего топлива,
сернистый и серный ангидриды, окислы азота, некоторое количество фтористых
соединений, а также газообразные продукты неполного сгорания топлива.
Загрязнение атмосферного воздуха отходящими газами
промышленных предприятий может быть устранено или сведено, к минимуму. Для
этого необходимы:
) рациональная организация технологических процессов -
применение таких способов производства и аппаратуры, при которых атмосферный
воздух загрязняется в наименьшей степени;
) применение герметичных приспособлений для внутризаводского
транспортирования пылящих или выделяющих газы веществ;
) разработка и внедрение промышленных способов использования
золы, огарка, шламов и других отходов производства, загрязняющих воздух;
) механизация производственных процессов и автоматизация
управления ими.
Примеси, содержащиеся в отходящих промышленных газах в газо -
или парообразном состоянии, извлекаются путем поглощения жидкостями или
твердыми веществами, а также путем каталитического окисления или сжигания.
Очистка промышленных газов от взвешенных частиц производится осаждением под
действием сил тяжести, инерционных или электростатических сил, а также путем
промывки и фильтрования. Это обеспечивается установкой эффективных золоуловителей
и сооружением дымовых труб, позволяющих рассеивать дымовые газы на большие
расстояния, снижая тем самым локальные концентрации вредных веществ.
Золоуловители должны иметь коэффициент
золоулавливания не менее 99% для КЭС мощностью 2400 МВт и выше и ТЭЦ мощностью
500 МВт и выше при приведенной зольности топлива не более 4%, при большой
зольности коэффициент золоулавливания должен быть не менее 99,5%. Для КЭС и ТЭЦ
меньшей мощности коэффициент золоулавливания принимается от 96 до 99%. В
качестве золоуловителей, как правило, применяют электрофильтры, мокрые
золоуловители и батарейные циклоны.
В данной работе выбрана схема очистки
дымовых газов от пыли и произведен расчет электрофильтра.
дымовой газ электрофильтр пыль
1. Вредные
воздействия пыли на окружающую среду и ее свойства
Пылями называют дисперсионные аэрозоли с твердыми частицами,
независимо от дисперсности. Пылью обычно также называют совокупность осевших
частиц. В зависимости от происхождения различают пыль естественного
происхождения и промышленную. К пыли естественного происхождения относят пыль,
образующуюся в результате эрозии почвы, а также пыль, возникающую при
выветривании горных пород, пыль космического происхождения. Естественное
происхождение имеют также органические пылевидные частицы - пыльца, споры
растений. С пылью естественного происхождения приходится сталкиваться, главным
образом, при решении вопросов очистки приточного воздуха перед поступлением его
в вентилируемые помещения. Промышленная пыль возникает в процессе производства.
Почти каждому виду производства, каждому материалу или виду сырья сопутствует
определенный вид пыли. В зависимости от материала, из которого пыль образована,
она может быть органической и неорганической.
Основные свойства пыли и их определение:
1. Дисперсность пыли.
Дисперсность - степень измельчения вещества. Под дисперсным
составом понимают распределение частиц пыли по размерам. Он показывает, из
частиц какого размера состоит данная пыль, и массу или количество частиц
соответствующего размера. Дисперсный состав определяет в значительной мере
характер и условия распространения пыли в воздушной среде. Мелкодисперсная пыль
осаждается значительно медленнее, а особо мелкодисперсная пыль практически
вовсе не осаждается. Рассеивание пылевых частиц в воздухе в значительной мере
определяется дисперсным составом пыли. Важнейший вопрос пылеулавливания - выбор
пылеулавливающего оборудования - решается главным образом на основании
дисперсного состава пыли.
2. Плотность частиц пыли
Плотность - масса единицы объема, кг/м3. Различают истинную,
кажущуюся и насыпную плотность частиц пыли. Истинная плотность представляет
собой массу единицы объема вещества, из которого образована пыль. Кажущаяся
плотность - это масса единицы объема частиц, включая объем закрытых пор. Кажущаяся
плотность монолитной, частицы равна истинной плотности данной частицы. Насыпная
плотность - масса единицы объема уловленной пыли, свободно насыпанной в
емкость. В объем, занимаемый пылью, входят внутренние поры частиц и
промежуточное пространство между ними.
3. Удельная поверхность
Под удельной поверхностью пыли понимают отношение поверхности
всех частиц к их массе или объему. Значение удельной поверхности позволяет
судить о дисперсности пыли.
4. Слипаемость пыли
Взаимодействие пылевых частиц между собой называется
аутогезией. Аутогенным воздействием вызывается образование конгломератов пыли.
Взаимодействие пылевых частиц с поверхностями называется адгезией
(слипаемостью). Она обусловлена силами электрического, молекулярного и
капиллярного происхождения. Устойчивая работа пылеулавливающего оборудования во
многом зависит от слипаемости пыли. В качестве показателя слипаемости принимают
прочность пылевого слоя на разрыв, Па.
5. Сыпучесть пыли
Сыпучесть характеризует подвижность частиц пыли относительно
друг друга и их способность перемещаться под действием внешней силы. Сыпучесть
зависит от размера частиц, их влажности и степени уплотнения. Характеристики
сыпучести используются при определении угла наклона стенок бункеров, течек и
др. устройств, связанных с накоплением и перемещением пыли и пылевидных
материалов. Различают статический и динамический угол естественного откоса.
Динамический угол естественного откоса относится к случаю, когда происходит
падение частиц на плоскость. Под статическим углом естественного откоса (его
называют также углом обрушения) понимают угол, который образуется при обрушении
слоя в результате удаления подпорной стенки. Статический угол естественного
откоса всегда больше динамического угла естественного откоса.
6. Гигроскопичность пыли
Гигроскопичностью пыли называется ее способность поглощать
влагу из воздуха. Поглощение влаги оказывает влияние на такие свойства пыли,
как электрическая проводимость, Слипаемость, сыпучесть.
Содержание влаги в пыли выражает влагосодержание или влажность.
Влагосодержание - отношение количества влаги в пыли к количеству абсолютно
сухой пыли. Влажность - отношение количества влаги в пыли ко всему количеству
пыли.
7. Смачиваемость пыли
Смачиваемость пыли определяет возможность ее гидроудаления,
применение мокрой пылеуборки производственных помещений.
8. Абразивность пыли
Абразивность - способность пыли вызывать истирание стенок
конструкций и аппаратов, с которыми соприкасается пылегазовый поток. Она
зависит от твердости и плотности вещества, из которого образовалась пыль,
размера частиц, их формы, скорости потока. При значительной абразивности пыли
воздуховоды, газоходы, стенки пылеулавливающих аппаратов выходят из строя в
весьма короткий срок. Считают, что износ металлических элементов вследствие
абразивности пыли возрастает по мере увеличения размера частиц вплоть до 90
мкм, а затем по мере дальнейшего увеличения размера он уменьшается.
Пыль оказывает вредное действие как на человека, так и на
окруающую природу в целом: воду, растения, почву. Воздействие на человекалавным
образом отражается на дыхательных путях, вызывая заболевания как их верхних
отделов, так и легких, а также действует на кожу и глаза. При вдыхании пылевых
частиц размером 5 мк и более они всецело задерживаются в верхних дыхательных
путях, в первую очередь в полости носа. Это вызывает травмирование и
раздражение слизистой, которое при дальнейшем развитии процесса переходит в
катар, вначале гипертрофический (т.е. с разрастанием ткани), а затем
атрофический с заменой мерцательного эпителия плоским и гибелью железистого
аппарата. Фильтрующая способность носовой полости поэтому сильно снижается, а в
далеко зашедших случаях вовсе исчезает. Постепенно под влиянием длительного
воздействия различных видов пылей развиваются хронические воспалительные
процессы и на других участках дыхательных путей (риниты, фарингиты, трахеиты,
бронхиты). Некоторые виды пыли, обладающие большой химической активностью
(хром, мышьяк), могут при длительном воздействии вызвать изъязвление и
прободение носовой перегородки. Принято считать, что около 50% пыли достигает
легких и там задерживается. Как правило, это пылинки размером менее 5 мк,
причем более 95% - пылинки размером менее 3 мк. Пыль, проникшая глубоко в
дыхательные пути, может привести к развитию в них специфического заболевания -
пневмокониоза, сущность которого заключается в развитии фиброза, т.е. замещения
легочной ткани соединительной тканью. В зависимости от характера вдыхаемой пыли
различают следующие виды пневмокониозов: силикоз, силикатоз, антракоз, сидероз.
Пыли, оказывающие раздражающее действие на кожу (пыли синтетических смол,
извести, карбида кальция), могут вызвать различные воспалительные процессы
вплоть до язвенных поражений (дерматиты, экземы). Твердые пылинки с острыми
краями могут вызвать травмы глаз. Запыление глаз приводит к развитию
коньюктивита и изменению роговицы.
Атмосферный воздух в последние десятилетия интенсивно
загрязняется путем привнесения в него или образования в нем загрязняющих
веществ в концентрациях, превышающих нормативы качества или уровень
естественного содержания. Атмосфера обладает мощной способностью к самоочищению
от загрязняющих веществ. Движение воздуха приводит к рассеиванию примесей.
Пылевые частицы выпадают из воздуха на земную поверхность под действием силы
тяжести и дождевых потоков. Многие газы растворяются во влаге облаков и с
дождями также достигают почвы. Под воздействием солнечного света в атмосфере
погибают болезнетворные микроорганизмы. Но в настоящее время объем ежегодно
выбрасываемых в атмосферу вредных веществ резко возрос, составляет многие
миллионы тонн и превышает пределы способности атмосферы к самоочищению.
Загрязнения любого масштаба по многочисленным цепям природных связей переходит
из одной среды в другую. На этом пути первым оказываются автотрофные организмы
- растения. Газы, пыль, содержащие различные компоненты, легко проникают в
ткани растения через устьица и могут непосредственно влиять на обмен веществ в
клетках, вступая в химические взаимодействия на уровне клеточных стенок и
мембран. Пыль, оседая на поверхности листьев, затрудняет поглощение света,
нарушает водный обмен. Под действием загрязняющих веществ происходит подавление
фотосинтеза, нарушение водообмена, многих биохимических процессов, снижение
транспирации, общее угнетение роста и развития растений. Это приводит к
изменению окраски листьев, некрозу, опадению листьев, изменению формы роста.
Во избежание подобных последствий, или, по крайней мере для
снижения такой воздействий необходима очистка дымовых газов от пыли.
2.
Классификация пылеуловителей, применяемых для очистки газов
1. Осаждение под действием сил тяжести:
Пылеосадительные камеры;
. Осаждение под действием инерционных сил:
Инерционные пылеуловители;
Циклоны;
Механические вращающиеся сухие пылеуловители;
. Фильтрование:
Рукавные фильтры;
Керамические фильтры;
Масляные (висциновые) фильтры;
. Мокрая очистка путем промывки:
Скрубберы;
Механические вращающиеся мокрые пылеуловители;
Струйные скрубберы Вентури;
Пенные пылеуловители;
. Осаждение под действием электростатических сил:
Электрофильтры.
2.1 Осаждение
под действием сил тяжести
Отделение пыли в пылеосадительных камерах происходить пир
движении запыленного газ с такой малой скоростью, что частицы пыли успевают
осесть под действием силы тяжести прежде, чем газ вынесет их из камеры.
Пылеосадительные камеры громоздки и малоэффективны; они используются только для
предварительной грубой очистки аппаратами более совершенных типов.
2.2 Осаждение
под действием инерционных сил
· Инерционные пылеуловители.
В этих аппаратах очистка газ происходит под действием
инерционных сил, возникающих при резких изменениях направлении я газового
потока с одновременным уменьшением его скорости. При повороте потока взвешенные
в газе твердые или жидкие частицы, стремясь сохранить направление своего движения
удаляются из потока. Для эффективной очистки скорость газа на входе в
газоочиститель должна быть не менее 10-15м/с.
Достоинства инерционных пылеуловителей: простота и
компактность, отсутствие движущихся частей.
Недостатки: невысокая степень очистки - отделение только
грубой пыли, сравнительно небольшое гидравлическое сопротивление, износ и
забивание решеток.
· Центробежные пылеуловители (циклоны)
Циклоны широко распространены в промышленности. Запыленный
газ с незначительной скорость, поступая по касательной в корпус циклона,
приобретает вращательное движение. При этом частицы пыли под действием
центробежной силы отбрасываются в крайние слои газа и движутся вместе с ними
вниз по спирали вдоль стенок циклона. Взвешенные частицы пыли выносятся через пылеотводящий
патрубок. Газ вынесший пыль из циклона, поднимается кверху и продолжая
вращаться, образует вихрь, направленный по оси аппарата к выхлопной трубе. К
этому восходящему потоку присоединяется некоторая часть газа из опускающихся
вниз внутренних слоев, имеющих малую концентрацию пыли. Газ из этих слоев,
достигнув нижнего края выхлопной трубы и двигаясь в конической части корпуса,
поворачивает к оси циклона. Т.е. это сложный аэродинамический процесс, при
котором запыленный и очищенный газ движутся вихреобразно в противоположных
направлениях. Пыль концентрируется во внешних слоях газа и переносится ими в
сборник, причем образование множества мелких вторичных вихрей затрудняет
пылеотделение. Степень очистки газа от пыли в циклонах зависит от геометрических
размеров и формы аппарата, свойств пыли, скорости и степени турбулентности
вращающегося потока газа.
Недостатками циклонов являются сравнительно низкая степень
очистки от тонкодисперсной пыли, высокое гидравлическое сопротивление и
соответственно большой расход энергии на очистку, механическое истирание стенок
частицами пыли, чувствительность к колебаниям нагрузки.
· Механические вращающиеся сухие
пылеуловители.
2.3
Фильтрование
· Рукавные фильтры.
Рукавный фильтр состоит из корпуса, в котором находятся
тканевые мешки. Нижние концы рукавов закреплены на патрубках общей решетки,
верхние снабжены крышками, подвешенными к общей раме. Запыленный газ проходит
изнутри рукавов наружу. При этом пыль осаждается на внутренней поверхности и в
порах ткани. Очищенный газ удаляется через выхлопную трубу. По мере увеличения
толщины слоя пыли сопротивление ткани возрастает. Поэтому рукава периодически
очищают встряхиванием при помощи специального кулачкового механизма. В
некоторых фильтрах наряду с механическим встряхиванием рукава продувают
воздухом, пропускаемым в направлении, обратном движение газа. Запыленный газ
просасывается через фильтр вентилятором или подается под небольшим избыточным
давлением, в последнем случае исключается возможность подсоса воздуха через
неплотности. Достоинство рукавных фильтров - высокая степень очистки газа от
тонкодисперсной пыли; недостатки - сравнительно быстрый износ или сакупорка
ткани и непригодность для очистки горячих и влажных газов.
· Масляные и поритовые газовые фильтры
Для тщательной чистки газов применяются масляные фильтры,
керамические фильтры. Масляный фильтр состоит из отдельных стандартных
ячеек-кассет. Ячейка фильтра представляет собой металлическую коробку, закрытую
с двух сторон сетками. Коробка заполнена металлическими кольцами, которые
смачиваются высоковязким висциновым маслом. Ячейки устанавливаются
горизонтально или вертикально в стык друг с другом и образуют сплошную
фильтровальную перегородку. Улавливаемая пыль прилипает к насадке,
поэтому каждую ячейку периодически вынимают, насадку очищают
от пыли промывкой и смачивают свежим маслом.
2.4 Мокрая
очистка путем промывки
Мокрые пылеуловители.
Путем смачивания и поглощения частиц пыли жидкостью достигается
высокая степень извлечения пыли из газа. Мокрая очистка газа особенно
желательна в тех случаях, когда необходимо охлаждение газа независимо от его
очистки. При охлаждении влажного газа водяные пары конденсируются на
содержащихся в нем пылинках, вследствие чего увеличивается вес пылинок и
облегчается их удаление из газа. Выделение пыли в мокрых пылеуловителях
происходит под действием сил тяжести или сил инерции или центробежных сил.
Смачивание и поглощение пыли водой производится при разбрызгивании воды по
всему объему аппарата, при разбрызгивании воды по всему объему аппарата или
комбинированным способом. Предварительную очистку газов проводят в полых
скрубберах - башнях круглого или прямоугольного сечения. Запыленный газ
движется в скруббере снизу вверх, поглощающая жидкость распыляется форсунками,
которые часто устанавливают на разных уровнях, при этом все сечение скруббера
перекрывается распыляемой жидкостью. Для мокрой очистки газа применяются также
механические газопромыватели - дезинтеграторы - быстро вращается ротор в виде
диска, на котором по концентрическим окружностям укреплены стержни. При
вращении ротора его стержни проходят между неподвижными стержнями, укрепленными
на стенах корпуса, и тонко распыляют жидкость в газе. При этом жидкость смачивает
почти всю пыль, содержащуюся в газе, и удаляется вместе с нею. Достоинства
центробежного скруббера: высокая степень очистки в поле центробежных сил при
турбулентном движении газа и жидкости, низкое гидравлическое сопротивление,
простота устройства и экономичность эксплуатации.
3. Очистка
дымовых газов от пыли электрофильтрами
В качества золоуловителей на ТЭС наиболее широкое
распространение получили электрофильтры, т.к. они позволяют очистить газы от
золы с эффективностью 0.99-0.998 при гидравлическом сопротивлении не более
150Па.
Действие электрофильтра основано на ионизации газа, т.е.
расщеплении его молекул на положительно и отрицательно заряженные ионы. Газ
можно ионизировать в пространстве между двумя электродами, к которым подведен
электрический ток. Под действием электрического поля в газе образуются ионы и
свободные электроны, благодаря движению которых через газ начинает протекать
ток.
Если повысить разность потенциалов между электродами до
нескольких тысяч вольт, то скорость движения и кинетическая энергия ионов и
электронов настолько возрастет, что при соударениях они расщепляют встречные
молекулы на ионы. В условиях ударной ионизации число ионов очень резко
возрастает и газ полностью ионизируется. При этом наблюдается потрескивание и слабое
свечение газа ("корона") вокруг проводника, который носит название
коронирующего электрода. Ионы и электроны, имеющие тот же знак, что и заряд
коронирующего электрода, движутся к противоположно заряженному, так называемому
осадительному электроду.
В электрофильтре коронирующие электроды всегда присоединяются
к отрицательному полюсу источника тока, поэтому к осадительным электродам
движутся только отрицательные ионы и свободные электроны. Присоединяясь по пути
к нейтральным молекулам, электроны превращают их также в отрицательные ионы.
При движении в запыленном газе или тумане отрицательные ионы
сообщают заряд пылинкам или капелькам жидкости и увлекают их к осадительным
электродам. Подойдя к осадительному электроду, частицы пыли отдают ему свои
заряды и сбрасываются с электрода под действием собственно тяжести или при
встряхивании.
С увеличением напряжения сверх некоторой критической величины
происходят проскоки искр, а затем электрический пробой и короткое замыкание
электродов. Во избежание этого в электрофильтрах создают неоднородное
электрическое поле, напряжение которого убывает по мере удаления от
коронирующего электрода. В этом случае почти весь слой газа между короной и
осадительным электродом играет роль изоляции, предотвращающей искровой разряд между
электродами. Неоднородность поля достигается путем устройства электродов в виде
проводов, помещенных по оси труб в трубчатом электрофильтре или натянутых между
параллельными пластинами в пластинчатом электрофильтре.
Электрофильтры работают только на постоянном электрическом
токе, так как при переменном токе заряженные частицы быстро меняют направление
своего движения, вследствие чего часть их не успевает осесть на электродах и
выносится с газом из электрофильтра.
Питание электрофильтров осуществляется постоянным током
высокого напряжения.
При отрицательной полярности тока, подводимого к коронирующим
электродам, степень очистки газа увеличивается, т.к. в этом случае допустимо
более высокое напряжение без возникновения искрового разряда между электродами.
Процесс отделения пыли в электрофильтре зависит от ее
проводимости. Если пыль не проводит тока, осевший на электродах слой пыли
отталкивает приближающиеся одноименно заряженные частицы и при напряжении в
слое, превышающем критическое, у осадительного электрода появляется свечение -
"обратная корона". Это явление значительно ухудшает процесс очистки
газа.
Проводимость пыли обычно увеличивают путем увлажнения
горячего газа перед входом его в электрофильтр, не допуская, однако, снижения
температуры газа ниже точки росы. Очень хорошо проводящая пыль мгновенно отдает
свой заряд и, воспринимая заряд электрода, отталкивается от него. Это также
приводит к уносу газом части пыли и понижению степени очистки. При очень
высокой концентрации пыли или тумана большая часть ионов передает заряды
пылинкам. В результате резко снижается скорость движения ионов, и,
следовательно, уменьшается сила тока, так как скорость заряженных тяжелых
пылинок значительно меньше скорости ионов газа. При снижении силы тока до нуля
очистка полностью прекращается и происходит так называемое запирание короны.
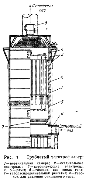
Трубчатый электрофильтр представляет собой вертикальную камеру 1,
в которой установлены осадительные электроды 2, выполненные в виде круглых или
шестигранных труб. Чаще применяют шестигранные трубы, собранные пакеты, имеющие
в плане форму пчелиных сот. При такой форме электродов достигается значительная
компактность конструкции электрофильтра. В качества коронирующих электродов
служат проволоки 3, натянутые по оси осадительных труб. Коронирующие электроды
сверху прикреплены к раме 4, подвешенной на изоляторах, а снизу связаны общей
рамой 5, что предотвращает колебания электродов.
Запыленный газ входит в электрофильтр через газоход 6. Для
равномерного распределения газа по трубам служит газораспределительная решетка
7. Очищенный газ удаляется по газоходу 8, а пыль собирается в нижней части
электрофильтра и периодически удаляется через отверстие в его днище.
В трубчатых электрофильтрах некоторых конструкций решетка и
осадительные электроды периодически встряхиваются при помощи специальных
молотков.
В пластинчатом электрофильтре осадительные электроды 2
представляют собой параллельные гладкие металлические листы или натянутые на
рамки сетки, между которым подвешены коронирующие электроды 3 в виде нихромовых
или фехралевых проволок. Для очистки горячих газов применяют осадительные
электроды, имеющие форму волнистых листов или прутков, что предотвращает их
коробление.
Существуют вертикальные пластинчатые электрофильтры (с движением
газов снизу вверх) и горизонтальные (с горизонтальным ходом газов).
Для лучшей очистки газов применяют многопольные (трубчатые и
пластинчатые) электрофильтры, состоящие из нескольких последовательно соединенных
секций осадительных электродов, т.е. нескольких электрических полей. Очистка
газа от влажной тонкодисперсной пыли и тумана производится в мокрых трубчатых
или пластинчатых электрофильтрах. В мокрых электрофильтрах очищаются газы, из
которых возможна конденсация влаги при охлаждении их до точки росы. Трубы
мокрых электрофильтров часто изготовляют из свинца (фильтры для улавливания
сернокислотного тумана) или из графита и ферросилида (фильтры для очистки
газов, образующихся при выпаривании серной кислоты). Коронирующие электроды
изготовляются из освинцованной проволоки и имеют круглое или звездообразное
сечение. Оседающая на электродах влажная пыль периодически смывается с них.
Преимущества трубчатых фильтров перед пластинчатыми:
1) Большая напряженность электрического поля и,
соответственно, более высокая допустимая скорость газа,
2) Лучшее отделение трудноулавливаемой пыли из газов
умеренной влажности.
Недостатки:
) Трудность удаления осевшей пыли,
2) Громоздкость, большой расход металла,
) Сложный монтаж,
) Больший расход энергии на единицу длины проводов.
3.3 Расчет электрофильтра
Состав твердого топлива
Основным топливом на станции является уголь Донецкого
бассейна марки Т. Наиболее важные характеристики топлива представлены в таблице
1.
Таблица 1. Основные характеристики твердого топлива
|
      
|
|
|
|
|
|
|
|
|
5,0
|
25
|
1,3
|
4,3
|
88,1
|
2,4
|
2,8
|
24,2
|
Описание основного оборудования
Турбина К-800-240 с параметрами:
давление свежего пара
; температура свежего пара
; давление пара в конденсаторе турбины
; расход охлажденной воды
; температура охлаждающей воды
; температура питательной воды
; расход пара в голову турбины
, объемы дымовых газов, поступающих в
электрофильтр:
V =1537 м/с
Котел ПП - 2650 - 25 - 545/542КТ (ТПП-804) с характеристиками:
шлакоудаление - твердое; коэффициент избытка воздуха
; температура уходящих газов
; степень улавливания золы η ≥0,96
. Критерий электрофизических свойств Кф =12. По табл.10.5. [4]
Выбираем скорость дымовых газов u=1,8 м/с.
. Принимая число параллельных корпусов z= 3 определяем необходимое сечение корпуса электрофильтра: ω = V/zu =1537/ (3*1,8) = 284,6 м.
. Выбираем электрофильтр типа ЭГА. По табл.10.4. [4] данной
площади поперечного сечения соответствует два типоразмера электрофильтров: ЭГА
2-88-12-6-3, ЭГА 2-88-12-6-4 с высотой электрода 27 м (ω = 285,6 м). Для электрофильтра ЭГА
2-88-12-6-4 длина поля Lп = 3,84 м,
расстояние между осадительным коронирующим электроном t = 0.15 м.
Уточняем скорость газов:
u = 1537/ (3*285.6) = 1.79 м/с.
. По таблице 10.5. [4] определяются средняя напряженность поля Е =
250кВ/м. коэффициент обратной короны Ко. к. = 1,0. По таблице 10.1. [4]
медианный диаметр при размоле ММТ d =23 *
10 м. Теоретическая скорость дрейфа
υт = 0,2 (ЕКо. к.) d = 0,25*250*1,0*23*10 = 0,359 м/с.
. Коэффициен вторичного уноса
Кун= КнКэлКвс [1-0,25 (u-1)]
КН =7,5/Н =7,5/27 = 0,278
Кэл =1, Квс=1,3
Кун = 0,278*1*1,3* [1-0,25 (1,79-1)] =0,29
. Параметр Пр при числе полей n=4 равен
Пр= 0,2Кун υ/u nLп/t = 0,2*0,29* 0,359/1,79 4*3,84/0,15 =2,66
Проскок при равномерном поле Рр =0,06.
. Принимаем к установке газораспределительное устройство МИ с
относительной длиной шахты 0.4 м и одной решеткой. При четырех полях 0,070.
Коэффициент, отражающий влияние наравномерности при различных отклонениях
скорости
R = 0,125 (1+Пр) Пр = 0,125 (1+2,66) 2,66=1,22.
ηа = ра =1 (1+R u) pp = (1 +1,22*0,070) 0,06 =0,065
. Изменение степени улавливания за счет движения чрез неактивные и
полуактивные зоны. Принимаем станартную схему с тремя вертикальными
перегородками в бункерах. φн = 0,009, доля полуактивных зон φп =0,15, возрастание проскока в
полуактивной зоне β=2.
Окончательно степень улавливания
η = (1 - φн) (1-ηа) - φп (β - 1) ра = (1-0,009) (1-0,065) - 0,15
(2-1) 0,065=0,923
. Определяем режим встряхивания. Поверхность осаждения А =33000м,
Одного поля Ап=8250м. lg pv =9,9.
Оптимальная пылеемкость
mо =3-0,25* lg pv =3-0,25*9,9 =0,50
свх=20г/м,
рп = 0,38
пауза между ударами по осадительному электроду:
τ=16,7 Апmо/Vсвхηп =
16,7*8250*0,50/ (1537*20*0,38) =6 мин
Расчетные интервалы времение встряхивания по полям:
τ1 = 1,0*6 = 6 мин;
τ2 = 2,1*6 =12,6 мин;
τ3 = 4,5*6 = 27 мин;
τ4 = 9,6*6 = 57,6мин.
. Мощность электроагрегата на каждое поле. Принимаем удельный ток Ia =0,3 мА/м.
Iп = IаA =
0,3*8250 =2475мА
Выбираем агрегат АТПОМ - 1000. Принимая среднее напряжение 80кВ,
получаем мощность агрегата питания электрофильтра
Wп =Iп*U= 2,475*80=198кВА
На Четыре пол электрофильтра W= 4*Wп =4*198 = 792кВА
На 1м очищаемого газа потребляется мощность
W/V =792/157=0,515кВ/м
3.1 Расчет
вредных выбросов
Расчет твердых частиц
Суммарное количество твердых частиц выбрасываемых в атмосферу
в единицу времени, рассчитывается по формуле:
,
где
доля золы уносимая из котла, которая зависит от вида топки;
доля твердых частиц улавливаемых в
золоуловителях;
q4 = 1 -
потери теплоты сгорания топлива.
.
А - коэффициент, зависящий от температурной стратификации
атмосферы при неблагоприятных метеорологических условиях и определяющий условия
вертикального и горизонтального рассеивания вредных веществ в атмосфере, для
города Новочеркасск А=160;
F - безразмерный коэффициент, учитывающий скорость оседания вредных
веществ в атмосферном воздухе F=1;
∆Т - разность между температурой выбрасываемых газов Т и
средней температурой воздуха Тв, оС, под которой
принимается средняя температура самого жаркого месяца в 14 часов, Тв=21
оС;
∆Т=135-21=114 оС;
z - число одинаковых дымовых труб;
V - объем дымовых газов, м3/кг;
m - безразмерный коэффициент, учитывающий условия выхода
газовоздушной смеси из устья источника выброса,
для
=10,8 м,
=300 м, z=1 шт:
где
- количество блоков;
- скорость газов на выходе из трубы, м/с;
- диаметр устья трубы, м;
n - безразмерный коэффициент, зависящий от скорости выходящих газов
из трубы,
, 
2,
следовательно
.
Значение высоты трубы для блока мощностью 800 МВт принимаем H=300 м, D=10,8 м.
Концентрация золы на входе в установку:
Так как эффективность электрофильтра составляет 98%, то количество
диоксида серы на выходе из установки
,
Концентрация золы на выходе из установки:
По ПДК максимальная концентрация золы составляет 0,5 мг/м3,
что меньше полученного значения с установки.
Значение опасной скорости ветра:
Расстояние от источника выбросов, на котором приземная
концентрация Сmax
,
где d - безразмерный коэффициент при f < 100 находим по формуле
;
.
Заключение
Примеси, заключающиеся в дымовых газах, загрязняя атмосферный
воздух, оказывают при определенных концентрациях весьма вредное влияние на
человеческий организм и растительный мир, а также увеличивают износ механизмов,
интенсифицируют процессы коррозии металлов, разрушающе действуют на строительные
конструкции зданий и сооружений.
Главной санитарной инспекцией России утверждена норма
предельно допустимых концентраций (ПДК) основных выбросов, загрязняющих
атмосферу отходящими газами предприятий в атмосферном воздухе на уровне дыхания
человека.
Предельно допустимой признана такая концентрация, которая не
оказывает на человека прямого или косвенного вредного и неприятного действия,
не снижает работоспособности, не влияет на его самочувствие.
Проектирование и сооружение электростанций должно удовлетворять
этим требованиям. Это обеспечивается на электростанциях, сжигающих пылевидное
топливо, установкой эффективных золоуловителей и сооружением дымовых труб
большой высоты, создающих более благоприятные условия для рассеивания дымовых
газов, включая и рассеивание окислов серы и азота.
Список
используемой литературы
1.
А.И. Абрамов, Д.П. Елизаров "Повышение экологической безопасности
ТЭС", Москва, Издательство МЭИ, 2002 год, 377 с.
.
Б.С. Белосельский "Технология топлива и энергетических масел", Москва,
Издательство МЭИ, 2003 год, 340 с.
.
В.Я. Путилов "Экология энергетики", Москва, Издательство МЭИ, 2003
год, 715 с.
.
Л.С. Стерман, В.М. Лавыгин, С.Г. Тишин "Тепловые и атомные электрические
станции". - М.: Энергоатомиздат, 1995. - 416с.
.
А.А. Русланов, И.И. Урбах, А.П. Анастаслади "Очистка дымовых газов в
промышленной энергетике" - М.: Энергия, 1969. - 456с. Ил.