Системы защиты среды обитания

  • Вид работы:
    Курсовая работа (т)
  • Предмет:
    Экология
  • Язык:
    Русский
    ,
    Формат файла:
    MS Word
    644,55 Кб
  • Опубликовано:
    2015-03-13
Вы можете узнать стоимость помощи в написании студенческой работы.
Помощь в написании работы, которую точно примут!

Системы защиты среды обитания

Введение

Во многих процессах производства получают или перерабатывают различные промышленные газы, а в некоторых технологических процессах газы образуются как отходы производства и выбрасываются в атмосферу.

В большинстве случаев промышленные газы (к которым относят также воздух в производственных помещениях) содержат мелкие твердые частицы (пыль) или жидкие частицы (туман) различных веществ, от которых по тем или иным причинам газы должны быть очищены.

Так, например, обжиговые газы сернокислотных заводов, используемые для производства башенной серной кислоты, необходимо очищать от огарковой пыли во избежание засорения башен и загрязнения продукционной кислоты. Эти же газы, поступающие на производство контактной серной кислоты, приходится, кроме того, очищать от тумана серной кислоты, мышьяка и селена, являющихся ядами для катализаторов контактных аппаратов.

Газы в производстве сажи, в процессе крекинга нефтепродуктов с пылевидными катализаторами, газы на заводах цветной металлургии и др. необходимо очищать для извлечения ценных продуктов, содержащихся в них в виде пыли.

Дымовые газы электростанций, работающих на твердом топливе, приходится очищать перед выбросом их через дымовые трубы с тем, чтобы предотвратить загрязнение золой атмосферного воздуха и окружающей территории.

Атмосферный воздух, поступающий в установки кондиционирования и в кислородные станции, в вентиляционные устройства электрогенераторов и крупных электродвигателей, в цехи производства фотокинопленки и др., необходимо очищать от микроскопических частиц атмосферной пыли, спор плесени, грибков и т. д.

Таким образом, почти в любой отрасли современной промышленности приходится очищать различные газы от пыли или туманов, Во многих случаях очистке подвергаются миллионы кубометров промышленных газов в час, а извлекается из них десятки тонн пыли или жидкости в час.

Так, например, из одной вращающейся печи для обжига клинкера производительностью 50 т/час выбрасывается в атмосферу около 500 тыс. м3 газов в час с содержанием 11 т пыли. Ежегодно с газами одного сажевого завода средней мощности выносится из печей 15-20 тыс. т сажи.

Выброс в атмосферу таких больших количеств газов без очистки недопустим прежде всего по санитарно-гигиеническим соображениям, не говоря уж о необходимости исключить потери в ряде случаев ценной продукции.

Одним из наиболее совершенных способов очистки промышленных газов от пыли и туманов является электрическая очистка в электрофильтрах, которая получила промышленное значение примерно в двадцатых годах этого столетия.

В СССР первый электрофильтр был сооружен в 1925 г. на заводе "Красный выборжец" в Ленинграде для улавливания из отходящих газов окиси цинка. Затем в 1926 г. была спроектирована и сооружена установка с электрофильтром на заводе "Победа рабочих" в Ярославле также для улавливания окиси цинка.

1. Характеристика процесса электроочистки газов

Электрическая очистка газов имеет следующие основные особенности:

) в зависимости от конкретных условий и требований можно сконструировать электрофильтры на любую степень очистки газов (до 99% и даже 99,9%) и на широкий диапазон производительности - от нескольких м3/час до нескольких миллионов м3/час;

) электрофильтры обладают наименьшим гидравлическим сопротивлением из всего известного оборудования для очистки газов. В электрофильтрах конструкции института Гипрогазоочистка перепад между давлением во входном и выходном газоходах равен 5-15 мм вод.ст;

) электрофильтры конструируются для работы как при атмосферном .давлении, так и при давлениях выше и ниже атмосферного;

) концентрация взвешенных частиц в очищаемых газах может колебаться от долей г/м3 газа до 50 г/м3 и более, а их температура может достигать 500°С и выше. Очистка газов может быть как сухой, так и мокрой;

) электрофильтры улавливают частицы размером от 100 до 0,01 мк.;

) электрофильтры могут выполняться из материалов, стойких к кислотам, щелочам и другим агрессивным веществам;

) процесс очистки газов в электрофильтрах может быть полностью автоматизирован;

) расход электроэнергии на очистку газов обычно меньше, чем при применении газоочистных аппаратов других типов;

Однако нельзя считать, что электрофильтры пригодны для любых условий, так как им присущи и недостатки:

В электрофильтре могут осаждаться только вещества, находящиеся во взвешенном состоянии, т. е. в виде пыли или тумана, но с помощью электрофильтра нельзя отделить один газ от другого или от пара без предварительной конденсации этого пара в возгон или туман или без применения предварительной химической реакции.

Некоторые продукты обладают такими физико-химическими свойствами, которые исключают возможность эффективного улавливания взвешенных частиц этих продуктов в электрофильтрах.

Примером этому является активная сажа, легкая по весу, обладающая очень малым удельным электрическим сопротивлением и состоящая из чрезвычайно мелких частиц. Частицы сажи легко заряжаются и осаждаются, но так как они электропроводны, то после соприкосновения с осадительным электродом теряют электрический заряд и в результате не пристают к осадительной поверхности, а перезаряжаются, отталкиваются от нее и увлекаются газовым потоком, выходящим из электрофильтра. Другим примером плохо улавливаемой пыли может служить возгон окиси цинка, также очень дисперсный, но обладающий, наоборот, высоким удельным электрическим сопротивлением, "благодаря чему "гасится" коронный разряд.

Эффективность работы электрофильтра зависит от режима его эксплуатации.

Например, электрофильтр, улавливающий золу из дымовых газов электростанции, использующей подмосковный уголь, работает неустойчиво с эффективностью 80-85 % при температуре газов 170-180 °С. При температуре газов 130-150 °С тот же электрофильтр работает вполне устойчиво и улавливает 95-97 % золы. Объясняется это следующим. При температуре газов выше 160 °С улавливаемая зола имеет удельное электрическое сопротивление 2·1010 ом·см и более, что вызывает в электрофильтре явление "обратной короны", которое препятствует осаждению. При температуре ниже 160 °С на частицах золы происходит конденсация SO3, содержащегося в дымовых газах, и сопротивление слоя улавливаемой золы на осадительных электродах падает ниже 2 • 1010 ом•см явление "обратной короны" прекращается и эффективность электрофильтра резко повышается.

На одном из металлургических заводов в скруббере-электрофильтре очищалось в час 30000-39000 м3 доменного газа от колошниковой пыли до остаточного содержания пыли 15- 20 мг/нм3. Небольшое увеличение подачи газа на очистку приводило к значительному повышению содержания пыли в очищенном газе. Для усиления очистки был установлен перед скруббер-электрофильтром турбулентный промыватель газа (труба Вентури), после чего через скруббер-электрофильтр стали пропускать 50000-70000 м3 газа в час, а содержание пыли в очищенном газе снизилось до 8-10 мг/нм3. Это показывает, что подготовка газа перед электрофильтром в турбулентном коагуляторе, заключающаяся в укрупнении взвешенных частиц, дала возможность в 1,5-2,0 раза увеличить производительность электрофильтра и в то же время примерно в два раза снизить содержание пыли в чистом газе.

Стоимость электрофильтра выше стоимости других аппаратов, которыми его в ряде случаев можно заменить. Поэтому если газы имеют невысокую температуру, а улавливаемый материал сухой и не вызывает коррозию, то целесообразнее использовать для очистки рукавный фильтр, который дешевле электрофильтра; если же материал грубый, то его можно очищать с меньшими затратами в циклонном пылеуловителе (однако оба эти аппарата обладают большим гидравлическим сопротивлением, чем электрофильтр).

Вместе с тем следует подчеркнуть, что при правильном выборе электрофильтра, эксплуатации его в оптимальном технологическом режиме и соответствующем для данных условий электрическом режиме питания электрофильтр по всем показателям в большинстве случаев превосходит газоочистные и пылеулавливающие аппараты всех известных типов.

Особенно высокого эффекта по очистке газов можно добиться, применяя электрофильтры в комбинации с другими аппаратами газоочистки или подготовки очищаемых газов.

Процесс электрического улавливания частиц состоит из следующих стадий: зарядка взвешенных частиц; движение заряженных частиц к электродам; осаждение и удаление частиц. На первой стадии частицы пропускают через корону постоянного тока, специально создаваемую на одном из электродов установки электростатического осаждения пыли (рисунок 1).

В принципе возможно использование как положительной, так и отрицательной короны, однако для промышленной газоочистки (кроме кондиционирования воздуха) предпочтительнее отрицательная корона, так как она более стабильна и позволяет получать высокие напряжение и ток.

Характеристики короны зависят от многих факторов: конфигурации электродов и расстояния между ними, состава газов, давления, температуры, концентрации пыли и размера частиц, наличия осадка на электродах, электропроводности осаждаемой пыли. Кроме того, имеет значение и характер электропитания. Обычно максимальное напряжение короны при расстоянии между электродами 100 - 150 мм составляет 40 - 80 кВ, плотность короны в зависимости от природы пыли и состава газа 0,1 -1 мкА/м2. Общий характер вольтамперных характеристик положительной (1) и отрицательной (2) корон показан на рисунке 2.

- трубчатый осадительный электрод; 2 - коронирующий электрод; 3 - свечение короны, содержащей положительные ионы и свободные электроны;

- область отрицательного ионообменного заряда.

Рисунок 1 - Схема коронного заряда

- отрицательная корона в воздухе; 2 - положительная корона в воздухе.

Рисунок 2 - Вольтамперные характеристики положительной и отрицательной корон в воздухе

Перенос заряда начинается при некотором критическом напряжении U0 называемом напряжением зажигания короны.

При описании процесса зарядки частиц в поле короны большинство исследователей исходят из существования двух механизмов: ионного и диффузионного. Первый состоит в зарядке ионами, движущимися под действием внешнего электрического поля, а второй обусловлен диффузией ионов, скорость которой зависит от энергии теплового движения. Считается, что действие электрического поля распространяется на частицы с размерами менее 0,5 мкм, а процессов диффузии - на частицы с размерами менее 0,5 мкм.

1.1 Общие сведения об устройстве и работе электрофильтров


Электрофильтры на предприятиях цветной металлургии применяются для улавливания частиц пыли, а иногда и капель жидкости, взвешенных в газовом потоке. Процесс улавливания включает зарядку частиц, поступающих на электрофильтр, последующее их выделение из потока на предусмотренные для этого поверхности осаждения и удаления постепенно накапливающегося на этих поверхностях пылевого слоя.

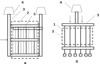
Как зарядка, так и осаждение частиц в электрофильтрах производятся с помощью электродной системы, соединенной с источником высокого напряжения. На рисунке 3 схематически показаны два типа электродных систем. Первая (рисунок 3 а) состоит из заземленной трубы 1, по оси которой натянута проволока 2, а вторая (рисунок 3 б) - из плоских металлических заземленных листов 3, между которыми также размещается проволока 2. В обоих случаях проволока присоединена к регулируемому источнику высокого напряжения 4, в результате чего между ней и зеземленными деталями 1 и 3 возникает электрическое поле, обеспечивающее создание коронного разряда, необходимого для зарядки частиц, поступающих с очищаемым газом, и осаждение этих частиц (после их зарядки) на заземленные детали 1 и 3.

а - трубчатый электрофильтр; б - пластинчатый электрофильтр; 1 - заземленная труба; 2 - проволока; 3 - плоские металлические заземленные листы; 4 - регулируемые источники высокого напряжения.

Рисунок 3 - Два типа электродной системы

Одним из условий создания в электрофильтре коронного разряда является местное резкое увеличение напряженности электрического поля или, как говорят в таких случаях, создание электрического поля большой неоднородности. Проволока, находящаяся под высоким напряжением, создает такую неоднородность - напряженность поля вблизи ее поверхности резко возрастает. Поэтому проволока 2, позволяющая выполнить одно из условий развития коронного разряда, получала название коронирующего электрода. В качестве коронирующих могут быть использованы детали и иной конфигурации.

Коронный разряд в газе связан с упорядоченным переносом электрических зарядов ионами. Если к коронирующим электродам 2 подведено напряжение отрицательного знака, то движущуюся в электродной системе газовую среду будут пересекать в основном потоки отрицательных ионов. Соответственно взвешенные в газе частицы пыли получат отрицательный заряд. В этом случае говорят, что в электрофильтре действует отрицательная корона. Если же к коронирующим электродам подведено напряжение положительного знака, то газовую среду будут пересекать в основном потоки положительных ионов и соответственно частицы получают положительный заряд. В этом случае говорят о положительной короне в электрофильтре.

Вследствие того, что в электрофильтре заряд частиц и потенциал коронирующих электродов имеют одинаковый знак, частицы под действием электрического поля движутся к заземленным деталям 1 и 3, осаждаясь на их поверхности. В связи с этим детали 1 и 3 электродной системы получили название осадительных электродов. При использовании осадительных электродов 1 электрофильтр называют трубчатым, а при использовании осадительных электродов 3 - пластинчатым. В конструкциях осадительных электродов наблюдается большое разнообразие. Так, электроды 1 могут выполняться не цилиндрическими, а многогранными, пластины электродов 3 часто делаются в виде набора профилированных вертикально подвешенных полос, в виде решеток из прутков, в виде металлических сеток и т.д.

Для того чтобы заряженные частицы интенсивно двигались к осадительному электроду, необходимо большое среднее значение напряженности поля на участке между коронирующими и осадительными электродами. Поскольку среднее значение напряженности обратно пропорционально расстоянию между коронирующим и осадительным электродами, то это расстояние, часто называемое разрядным промежутком, стремятся сделать относительно малым, обычно порядка 0,1 - 0,2 м при напряжении источника питания 25 - 50 кВ. Однако при ограничении разрядного промежутка пропускная способность каналов, образованных осадительными электродами, оказывается небольшой, и поэтому промышленный электрофильтр, рассчитанный на очистку большого количества газов, должен состоять из множества таких каналов, расположенных параллельно и объединенных одним общим корпусом.

Оптимальный электрический режим работы электродной системы зависит от концентрации и дисперсного состава пыли, взвешенной в газе. Поскольку газ, проходя через электродную систему, постепенно очищается и соответственно постепенно меняется концентрация и дисперсный состав этой пыли, часто оказывается выгодным разбивать электродную систему на несколько последовательно расположенных по ходу газа участков, каждый из которых имеет свой высоковольтный источник питания. Такой участок электрически независимый от других, называется полем электрофильтра. На рисунке 4 показан продольный разрез пластинчатого фильтра с тремя полями, объединенными одним корпусом.

Заряженная частица в канале электрофильтра участвует в двух движениях: она перемещается вместе с газом к выходу из аппарата со средней скоростью, равной скорости газа, и одновременно со скоростью, называемой скоростью дрейфа, движется в направлении к осадительному электроду. Чем больше скорость дрейфа и чем больше время пребывания частиц в электрофильтре, тем выше эффективность электрического пылеулавливания.

Ввиду малой скорости дрейфа частиц тонкой фракции в электрофильтрах обычно обеспечивается большее, чем в других аппаратах пылеулавливания, время пребывания, что приводит к сравнительно большим габаритам этих устройств. Однако, благодаря тому, что в электрофильтрах запыленному потоку преодолевать большее сопротивление газового тракта, как это имеет место в аппаратах других типов, энергоемкость электрофильтра сравнительно мала. Другими важнейшими преимуществами электрофильтров является их пропускная способность и возможность применения при температуре газов до 400 °С, а в особых случаях и при более высокой температуре.

- осадительный электрод; 2 - корпус; 3 - газораспределительная решетка; 4 - бункер; 5 - нижние отбойные листы; 6 - верхние отбойные листы.

Рисунок 4 - Трехпольный пластинчатый электрофильтр

Важным этапом в процессе электроулавливания является удаление осевших на электроды частиц. Оно может быть непрерывным, например, при постоянном орошении электродов водой в так называемых мокрых электрофильтрах, или прерывистым, например, при периодическом встряхивании электродов в сухих электрофильтрах. В последнем случае пылевой слой осевших на электродах частиц разрушается и падает в сборную емкость в основном в виде непрочных пылевых комков, проходя при падении через движущийся поток очищаемого газа. Очевидно, что при этом некоторая доля частиц снова переходит в очищаемый поток. Это явление называется вторичным уносом пыли.

При увеличении скорости газа, помимо увеличения вторичного уноса, образующегося при встряхивании электродов, растет и становится заметным вторичный унос пыли, связанный с эрозией пылевого слоя и происходящий в периоды между встряхиванием электродов.

Другим, ухудшающим работу электрофильтров, явлением может быть неравномерность поля скоростей газа, входящего в активную зону электрофильтра, т.е. в зону, где существует достаточно высокая для улавливания пыли напряженность электрического поля. Для выравнивания скоростей газа на входе в активную зону устанавливают дымчатые листы, называемые газораспределительными решетками или иные устройства того же назначения.

Работу электрофильтра ухудшает также движение небольшой части газа в обход сильных электрических полей. На рисунке 4 сплошными стрелками показано движение газа над электродной системой электрофильтра, а штриховыми стрелками - под его бункерами. Как правило, в этих зонах ("пассивных" зонах) электрическое поле весьма ослаблено и даже хорошо заряженные частицы пыли могут здесь не уловиться. С целью борьбы с этим явлением в электрофильтрах монтируют отбойные стальные листы 5 и 6, устанавливаемые на входе в пассивные зоны.

Высокое напряжение на коронирующие электроды электрофильтра подается от установки высоковольтного питания, включающей повышающие трансформаторы и выпрямительные устройства, а также устройства автоматического регулирования. Последние обеспечивают поддержание высокого напряжение на уровне, близком к полному переходу коронного разряда в искровой, т.е. на уровне предпробойного режима работы. Положительный полюс выпрямительного устройства в электрофильтрах обычно заземляется, а отрицательный - присоединяется к коронирующим электродам.

Для сбора и временного хранения уловленной пыли электрофильтры обычно снабжаются бункерами, расположенными под электродной системой, причем при давлении этой системы на поле каждому полю соответствует свой бункер или секция бункера.

Хотя на эффективности и надежности работы электрофильтров могут существенно сказываться такие характеристики улавливаемой пыли, как ее концентрация и содержание в ней мелких фракций, электрическое сопротивление слоя, образованного частицами, оседающими на электродах, липучесть улавливаемых частиц, а также температура и состав газа, использование электрофильтров оказывается возможным в очень широком диапазоне характеристик пылегазовых потоков.

.2 Отрицательная корона в электрофильтре

При повышении на коронирующем электроде величины отрицательного напряжения напряженность поля вблизи поверхности этого электрода может достичь некоторой величины, называемой критической (начальной) напряженностью коронного разряда. При этой напряженности находящейся в приэлектродной области электроны разгоняются до такой скорости, что разбивают молекулы газовой среды, образуя множество положительных ионов и свободных электронов. Ионизация молекул сопровождается процессом их рекомбинаций, в результате чего вокруг электрода возникает свечение. Соответствующие световые кванты и вновь образующиеся положительные ионы бомбардируют отрицательно заряженный коронирующий электрод, выбивая с его поверхности большое число свободных электронов, отбрасываемых затем сильным электрическим полем в сторону осадительных заземленных электродов.

Описываемый процесс сосредоточен в узкой области вокруг коронирующего электрода, называемой чехлом короны. В то время как образующиеся положительные ионы сразу же устремляются к отрицательному коронирующему электроду и потому обычно не выходят из области, ограниченной чехлом короны, свободные электроны вылетают из чехла во внешнюю область короны, характеризующуюся пониженными значениями напряженности электрического поля. Поскольку эти электроны являются носителями отрицательных зарядов, то при их встрече и соединении с нейтральными молекулами газа, т.е. при так называемом прилипании свободных электронов к молекулам газа, образуются отрицательные ионы.

Если допустить, что все свободные электроны прилипнут к нейтральным молекулам, то для случая коронного разряда в чистом (незапыленном) газе ток отрицательной короны определится как поток отрицательных ионов, движущийся в объеме межэлектродного канала.

Отрицательные ионы, заполняющие межэлектродный канал, создают между коронирующими и осадительными электродами пространственный (объемный) заряд, препятствующий дальнейшему развитию процесса ионизации в чехле короны. Таким образом, стабилизируется по току процесс коронного заряда при заданной величине рабочего на коронирующем электроде. Однако при дальнейшем повышении рабочего напряжения ионизация в чехле короны вновь растет и соответственно растет ток короны. В конце концов при некотором предельном значении рабочего напряжения объемный заряд уже не может ограничить ток короны, и происходит переход коронного разряда в искровой пробой. Опыт показывает, что для эффективной работы электрофильтра целесообразно поддерживать рабочее напряжение на уровне предпробойного режима, то есть на уровне появления ограниченного по интенсивности искрения.

Сложность процессов в электрофильтре не позволяет непосредственно использовать для расчета промышленных электрофильтров простейшие зависимости электростатики.

.3 Осаждение заряженных частиц

очистка газ электрофильтр осаждение

Заряженная частица, двигаясь в электрофильтре вместе с газовым потоком, одновременно участвует и в другом движении - в результате взаимодействия с электрическим полем, она перемещается к осадительному электроду. Величина этой составляющей (перпендикулярной к продольной оси межэлектродного канала), обычно называемой дрейфом частицы, может быть найдена как результат взаимодействия электрических (кулоновских) сил, действующих на частицу, и аэродинамической силы сопротивления газовой среды движению частицы.

Инерционными силами частицы ввиду их очевидной малости при расчетах обычно пренебрегают.

Время, за которое очищаемый газ проходит электрофильтр, колеблется обычно от нескольких до 10 - 15 секунд, и крупные частицы в случае горизонтального движения газа в активной зоне имеют возможность осесть в бункере аппарата под действием гравитационных сил. Поэтому даже при снятом с коронирующего электрода напряжении в бункера электрофильтра может попадать до

% от общей массы находившейся в газе пыли. Однако при расчетах электропылеулавливания этот эффект от действия гравитационных сил обычно не учитывается, так как правило, большой заряд и поэтому почти полностью улавливаются в электрофильтре вне зависимости от того, содействуют ли их улавливанию силы гравитации или нет. Что же касается мелких частиц, то действием на них гравитационных сил пренебрегают, исходя из того, что в условиях турбулентного перемешивания влияние на них незначительно.

Поток ионов, движущийся к осадительным электродам, увлекает в том же направлении и часть молекул газа. Однако согласно условию соблюдения закона неразрывности возникает и обратное движение молекул газа от осадительных электродов к коронирующим. Таким образом, на движение газа вдоль межэлектродного канала накладываются вторичные поперечные течения, называемые электрическим ветром. Однако разгон молекул ионами достигает сравнительно высокого уровня лишь в неподвижной газовой среде, когда возможно возникновение устойчивых замкнутых циркуляционных потоков. В условиях электрофильтров, где газовая среда движется вдоль межэлектродных каналов и возникновение указанных замкнутых вторичных течений затруднено (за исключением указанных областей у коронирующих электродов), прямое воздействие электрического ветра на перемещение частиц обычно незначительно и при расчетах не учитывается. Однако косвенное воздействие на движение частиц электрический ветер оказывает тем, что дополнительно увеличивает турбулизацию газового потока в электрофильтре.

Турбулентное состояние очищаемого потока оказывает значительное влияние на процессы электропылеулавливания. Если бы в электрофильтре существовало ламинарное течение газа, то для каждой частицы, вошедшей в электрофильтр, можно было бы указать место ее выделения на осадительном электроде. Значения начального положения частицы, скорости газа и скорости дрейфа полностью предопределили бы при ламинарном течение газа конечное положение выбранной частицы. Однако в случае турбулентного потока частицы движутся под действием завихрений и пульсаций газа произвольным образом, и поэтому можно лишь с той или иной степенью вероятности ожидать достижения заданной частицей определенного участка осадительной поверхности. Более того, нельзя даже утверждать, что заданная частица вообще выделится на каком-либо участке поверхности осадительного электрода.

Таким образом, процесс электроосаждения в электрофильтре носит вероятностный характер, определяемый турбулентностью очищаемого потока. Кроме того, все чаще в последние годы указывается, что турбулентные завихрения и пульсации приводят к повышению величины предельного заряда мелких частиц, так как увеличивают вероятность прохождения этими частицами области вблизи коронирующих электродов, где Ез больше, чем в других местах электрофильтра.

В мокрых электрофильтрах пыль, оседающая на орошаемые водой осадительные электроды, смачивается и уже не возвращается в газовый поток. Однако в сухих электрофильтрах может происходить обратный переход осевшей пыли снова в газовый поток (вторичный унос пыли). Особенно заметен процесс при сбрасывании пылевого слоя в бункера электрофильтра, так как сбрасывание обычно производится ударами по осадительным электродам с неизбежным при этом интенсивным разрушением пылевого слоя. Однако в интервалах между встряхиванием также существует вторичный унос за счет эрозии пылевого слоя. Он может оказаться значительным из-за возникающей при некоторых условиях перезарядке частиц в слое, а также при больших скоростях очищаемого газа.

Помимо очевидного осаждения пыли на осадительные электроды, имеет место и осаждение частиц пыли на коронирующие электроды. Возникновение этого процесса связано с тем, что возле коронирующего электрода возникает большой градиент напряженности и крупные частицы, получающие дополнительную форму заряда, стремятся приблизиться к коронирующему электроду. Расстояние между плюсовым полюсом частицы и коронирующим электродом оказывается меньше, чем между отрицательным полюсом частицы и этим же электродом. В результате сила притяжения между плюсовым зарядом электрода оказывается больше, чем отталкивающая сила между отрицательным зарядом частицы и одноименным зарядом электрода.

2. Классификация электрофильтров

Стоит отметить, что установка с электрофильтром для очистки газов состоит из двух частей: собственно электрофильтра - осадительной камеры, через которую пропускаются газы, подлежащие очистке, и преобразовательной подстанции с соответствующей аппаратурой. Конструкцию электрофильтров конкретного назначения определяют технологические условия его работы: состав и свойства очищаемых газов и содержащихся в них взвешенных частиц, температура, давление газов, требуемая степень очистки и т.д. Ввиду большого разнообразия конструкций электрофильтров они классифицируются по целому ряду существенных признаков. По числу зон для прохода газов электрофильтры делятся на две группы:

- однозонные, в которых зарядка и осаждение частиц происходит в одной конструктивной зоне, где расположены коронирующие и осадительные системы (рисунок 5);

двухзонные, в которых зарядка и осаждение происходит в двух зонах, в одной из них располагается коронирующая система-ионизатор, в другой - осадительная система-осадитель (рисунок 6).

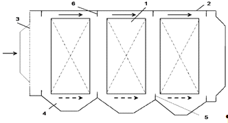
1 - высоковольтные проволоки для коронного разряда: 2 - осадительные пластины; 3 - коронный разряд вдоль проволоки; 4 - заземление; пыль, собранная на пластинах.

Рисунок 5 - Схема однозонного электрофильтра

,2 - положительные и отрицательные электроды ионизатора, 3.4 - - положительные и отрицательные электроды осадителя.

Рисунок 6 - Принципиальная схема двухзонного электрофильтра

По конструкции осадительных электродов в основном делятся по типу применяемых в них осадительных электродов на пластинчатые и трубчатые (рисунок 7). Трубчатые электрофильтры - аппараты с вертикальным входом газов. Подлежащие очистке газы отводятся через трубчатые осадительные электроды, заключенные в общий каркас. Их применяют преимущественно для улавливания жидкости. В трубчатых электрофильтрах в качестве осадительных электродов используют цилиндрические трубы диаметром 0,25...0,3 мм шестигранные (сотовые) с диаметром вписанной окружности 0,25 м. Длина труб 3...5 м.

- бункер; 2 - камера поступающего газа; 3 - осадительный электрод; 4 - коронирующий электрод; 5 - камера уходящего газа, 6 - рама подвеса корони- рующих электродов, 7 - изолятор; 8 - механизм встряхивания электродов; 9 - заземление, 10 - нижняя рама коронирующих электродов, 11- груз.

Рисунок 7 - Схема трубчатого электрофильтра:

Пластинчатые электрофильтры - аппараты с осадительными электродами в виде пластин, расположенных на расстоянии друг от друга. Между пластинами размещены коронирующие электроды, укрепленные на рамах. В пластинчатых электрофильтрах осадительные электроды выполняют в виде гладких пластин или набирают из прутков диаметром 8 мм, если скорость газа не превышает 1 м/с (рисунок 8). При более высоких скоростях газа (1,5... 1,7 м/с) осадительные электроды набирают из штампованных элементов специального профиля. В зависимости от типоразмера пластинчатого электрофильтра активная длина поля составляет 1,5...4 м, а высота 4... 12 м.

1 - коронирующие электроды; 2 - осадительные электроды; 3 - корпус; 4 - груз; 5 - рама осадительных электродов.

Рисунок 8 - Схема горизонтального трехпольного пластинчатого электрофильтра

В зависимости от направления движения газов электрофильтры делятся на вертикальные и горизонтальные. В одном корпусе электрофильтра можно разместить несколько независимых, последовательно расположенных систем электродов, такие электрофильтры называются по числу полей двух-, трех-, четырех- и многопольными. Пластинчатые электрофильтры применяют для улавливания жидких и твердых частиц.

Таблица 1 - Классификационные признаки электрофильтров

Признаки классификации

Тип электрофильтра

По типу осадительных электродов

Трубчатый, пластинчатый

По способу удаления осажденных частиц с электродов

Сухой, мокрый

По направлению хода газа

Вертикальный, горизонтальный

По количеству последовательных электрических полей

Однопольный, многопольный

По количеству параллельных секций

Односекционный, многосекционный


Однозонные электрофильтры подразделяются на следующие группы:

) "сухие" горячие электрофильтры для очистки газов из обжиговых печей, рассчитанные на работу при температуре до 423 °С;

) "сухие" электрофильтры для очистки дымовых газов и др, рассчитанные на работу при температуре до 250 °С;

) "мокрые" электрофильтры для очистки неагрессивных газов;

) "мокрые" электрофильтры для очистки холодных агрессивных газов;

) "мокрые" электрофильтры для очистки горячих агрессивных газов.

Сухие горячие электрофильтры, предназначенные для тонкой очистки обжиговых газов сернокислотных производств от огарковой пыли, нашли применение в химической промышленности и цветной металлургии. Разработано несколько типоразмеров: электрофильтры ВП (вертикальные пластинчатые) - двухсекционные с корпусом из кирпича, используются для очистки газов, отходящих при обжиге рядовых колчеданов и флотационных концентратов в механических полочных печах.

Электрофильтры ОГ-3-20 и ОГ - 3 - 30 (огарковые горизонтальные) - двухсекционные трехпольные с корпусом из кирпича.

Электрофильтры ОГ - 3 - 8, ОГ - 4 - 16 - односекционные трехпольные или четырехпольные с корпусом стальным или из жаропрочного бетона.

К сухим электрофильтрам для работы при температуре газов 250 °С относятся типы: ДВП - вертикальные; ДГП, ДГПН, ПГД и ПГДС - горизонтальные; Ц - горизонтальные; УВП - вертикальные, СГ - горизонтальные, ТС - вертикальные трубчатые.

Мокрые электрофильтры подразделяются на следующие типы: ДМ - для тонкой очистки доменного газа; С - для очистки от смолы регенераторного и коксового газов; ПГ и КПГ для очистки газов содового производства, поступающих на карбонизацию.

Электрофильтры ДМ (рисунок 8) устанавливают после мокрых скрубберов и турбулентных промывателей, рассчитаны на работу при избыточном давлении 0,18 - 0,25 мН/м2 (1,8 - 2,5 кгс/см2).

ДМ - вертикальный двухсекционный трубчатый аппарат в стальном корпусе цилиндрической формы. Внутри корпуса между двумя трубными решетками размещены осадительные электроды, выполненные из стальных цельнотянутых труб с внутренним диаметром 233 мм.

Мокрые электрофильтры для очистки холодных агрессивных газов разделяются на следующие типы: М - вертикальные трубчатые свинцовые без корпуса с осадительными электродами в виде шестигранных сот. Применяются для очистки газов от тумана Н2SO4, окислов мышьяка и селена в производстве контактной серной кислоты; ШМК - вертикальные трубчатые с осадительными электродами в виде шестигранных сот, корпус стальной, футерованный.

Электрофильтры ШМК (рисунок 9) рассчитаны на работу под напряжением и при температуре до 40 °С, устанавливаются после промывных башен в две ступени. ШМК представляет собой вертикальный односекционный однополый аппарат цилиндрической формы. Корпус стальной, внутри футерованный кислотоупорным кирпичом по подслою из полиизобутилена. Крышка стальная, защищенная листовым свинцом.

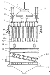
1- кислотоупорная футеровка; 2 - винипластовые осадительные электроды; 3 - винипластовая опорная решетка; 4 - коронирующий электрод звездообразного сечения; 5 - подвесные тяги; 6 - защитные коронирующие диски; 7- изоляторные коробки; 8 - газораспределительные решетки

Рисунок 9 - Общий вид мокрого трубчатого электрофильтра типа ШМК

Двухзонные электрофильтры применяются для очистки вентиляционного воздуха. Они отличаются от однозонных тем, что в последних процессы ионизации газа с помощью коронного разряда и осаждения заряженных частиц происходят в одном электрическом поле в одну фазу, в то время как в двухзонном электрофильтре эти процессы разделены.

- дроссель; 2 - фланец; 3 - штуцер изоляторной коробки; 4 - изоляторная коробка без подвода тока; 5 - изоляторная коробка с подводом тока; 6 - коллектор питания водой непрерывной пленки; 7 - рама подвеса коронирующих электродов; 8 - коронирующие электроды; 9 - осадительные электроды; 10 - нижняя рама коронирующих проводов; 11 - корпус аппарата; 12 - газораспределительная решетка; 13 - газораспределительные лопасти; 14 - опора корпуса электрофильтра.

Рисунок 8 - Мокрый" трубчатый электрофильтр типа ДМ для тонкой очистки доменного газа с непрерывной промывкой осадительных электродов

Двухзонный электрофильтр состоит из ионизатора, представляющего собой систему электродов, и осадителя с электродами пластинчатого типа, на которых осаждается заряженная пыль.

Процесс очистки газов в двухзонном электрофильтре протекает следующим образом: запыленные газы, попадая в аппарат, проходят через ионизатор, состоящий из электродов в виде проводов, находящихся под высоким напряжением, и чередующихся с ними трубок, присоединенных к отрицательному полюсу выпрямителя электроагрегата. В ионизаторе между проводами и трубками возникает коронный разряд и взвешенные частицы пыли получают положительные или отрицательные заряды. В поле осадителя заряженные частицы пыли оседают на пластины противоположного знака.

Двухзонные электрофильтры типов РИОН - 1,4 и РИОН - 2,7 снабжены устройствами для автоматической очистки осадительных электродов от улавливаемой пыли. В этих электрофильтрах система положительных пластин осадителя смонтирована неподвижно на высоковольтных фарфоровых изоляторах, а пакеты заземления отрицательных пластин укреплены на двух бесконечных цепях, вращающихся на верхней и нижней звездочках и образующих постоянно движущуюся завесу. Электрофильтры типов РИОН - 0, 17-ПМ рассчитаны на периодическую промывку электродов водой.

Электрофильтры с радиоактивными ионизаторами представляют собой видоизмененные двухзонные электрофильтры, в которых ионизация газа осуществляется не с помощью коронного разряда, а облучением газов от источника радиоактивного излучения.

Очистка газов в центробежных электрофильтрах, где осадительный эффект усилен одновременным воздействием на взвешенную частицу электрических и других сил (сил инерции, центробежных и т.д.), вполне возможна.

В производстве электрохимического синтеза органических соединений предложено много конструкций лабораторных электролизеров, рассчитанных на проведение реакций окисления или восстановления в самых различных условиях.

2. Работа электрофильтра

 

.1 Влияние на работу электрофильтра параметров газопылевого потока


Процесс коронирования в электрофильтре можно рассматривать как незавершенный искровой газовый разряд, стремящийся при отсутствии стабилизирующего фактора полностью перейти в искровой. Количество образующихся в электрофильтре отрицательных ионов, а следовательно, и стабилизированная величина тока короны определяются способностью нейтральных молекул газа устойчиво соединяться со свободными электронами. Если такая способность, то есть сродство к электрону, у молекул данного газа велика, то вылетающие из чехла короны свободные электроны интенсивно прилипают к молекулам газа и, таким образом, создаются условия для стабилизации.

Если способность соединяться со свободными электронами у молекул газа меньше, то соответственно и токи при заданных напряжениях оказываются выше, а вольтамперная характеристика получается более крутой. Элементы, обладающие хорошо выраженным сродством к электрону, получили название электроотрицательных. Электроотрицательными считаются следующие газы: Cl2, CCl4, HF, O2 и SO2. Даже сравнительно небольшие их примеси могут значительно снижать ток короны электрофильтра.

Чистые газы (без примесей других газов) азот, водород, гелий, неон и аргон не обладают сродством к электрону и не образуют отрицательных ионов. Поэтому в них не может сформироваться и стабильно существовать коронный заряд. Вместо этого при повышении напряжения в этих газах происходит искровой пробой.

При смешении различных газов интенсивность образования отрицательных ионов будет зависеть от соотношения в смеси газовых компонент. Поэтому и вольтамперные характеристики, так же как величины напряжения пробоя, будут зависеть от этого соотношения. Повышение температуры приводит к снижению такого важного показателя электрического режима в электрофильтре, каким является величина пробойного напряжения. Однако увеличение влажности газа или содержания сернистого ангидрида может вновь поднять величину напряжения пробоя.

Можно сделать вывод, что вольтамперные характеристики являются довольно чувствительным индикатором изменений состава, давления и температуры газов.

2.2 Характеристика осадительных и коронирующих электродов


Основными конструктивными узлами сухих горизонтальных электрофильтров являются осадительные и коронирующие электроды, механизмы встряхивания и изоляторные узлы.

Осадительные электроды должны иметь гладкую поверхность без острых кромок, обладать достаточной жесткостью и прочностью, обеспечивающей сохранение их формы в условиях температурных воздействий и ударных нагрузок при встряхивании, а также хорошо передавать ударный импульс по всей поверхности электрода. При этом металлоемкость осадительных электродов, как наиболее тяжелой части аппарата, во многом определяющей его стоимость, должна быть минимальной. Перечисленным требованиям лучше всего удовлетворяют электроды отрытого профиля, которые в настоящее время имеют преимущественное применение во многих странах, включая Россию. Эти электроды состоят из вертикальных профилированных элементов, скрепленных вверху и внизу. Профиль элемента представляет собой одно или несколько объединенных корытообразных сечений с фигурными выступами по краям, обеспечивающими высокую общую жесткость элемента. Элементы изготавливают холодной прокаткой из стальной ленты толщиной 1 - 1,5 мм. Применение электродов данного типа позволило создать электрофильтры с активной высотой до 12 м и тем самым решить проблему очистки больших объемов газа (до 1000000 - 150000 м3/час в одном аппарате).

Полосы встряхивания должны обеспечивать равномерную передачу ударного импульса всем элементам осадительного электрода. Важнейшую роль играет способ соединения полосы встряхивания с элементами.

Важным условием нормальной работы электрофильтра является предотвращение выхода элементов из общей плоскости осадительного электрода во время работы электрофильтра. Это достигается установкой специальных деталей, скрепляющих соседние элементы электрода между собой с интервалом по высоте электрода 3 - 4 м или приданием краям профиля элементов осадительного электрода такой формы, при которой они входят в зацепление друг с другом по всей высоте электрода.

Системы коронирующих электродов в сухих горизонтальных электрофильтрах выполняются в основном двух типов: с рамными коронирующими электродами и со свободно-подвешенными коронирующими электродами (рисунок 10).

а - рамная система; б - со свободно-подвешенными электродами; 1 - коронирующий электрод; 2 - осадительный электрод; 3 - рама коронирующего электрода; 4 - изолятор.

Рисунок 10 - Системы коронирующих электродов

При рамной конструкции коронирующие элементы закрепляются в жестких трубчатых рамах, которые устанавливают в проходах между осадительными электродами. Эти рамы в свою очередь подвешивают к размещенным в межпольных промежутках электрофильтра поперечным рамам подвеса, благодаря чему образуется объемная система, в которой обеспечивается фиксация положения коронирующих электродов и, тем самым, их надежная центровка. Всю систему подвешивают к опорным изоляторам, устанавливаемым на крыше электрофильтра. Встряхивание коронирующих электродов такого типа проводится путем продольных ударов по рамным электродам с помощью молотковых механизмов, закрепленных на рамах подвеса.

Коронирующие электроды рамной конструкции применяются обычно до 250 - 350 °С. При более высоких температурах эксплуатации наблюдается коробление трубчатых рам из-за наличия в них внутренних напряжений, в особенности, остаточных, возникающих в результате сварки.

Система со свободно подвешенными коронирующими электродами состоит из верхней рамы, закрепленной на изоляторах, подвешенных к этой раме отдельных коронирующих электродов, каждый их которых натягивается самостоятельным грузом, а также нижней рамы, фиксирующей электроды и грузы нижней части системы. Системы коронирующих электродов такого типа успешно используются в электрофильтрах, очищающих газ при высоких температурах (до 425 °С), поскольку температурные влияния им не опасны.

Самым распространенным случаем нарушения работы электрофильтра является обрыв коронирующего электрода. Это сразу выводит из строя поле аппарата ввиду короткого замыкания, так как происходит соприкосновение с заземленными деталями.

2.3 Удаление из электрофильтра осажденных твердых частиц


Для удаления осажденных в мокрых электрофильтрах твердых частиц применяются периодическая и непрерывная промывка электродов. Периодическая промывка создается подачей в активную зону электрофильтра большого количества промывной жидкости в течение короткого промежутка времени (до 15 минут). Естественно, что во время такой промывки напряжение с коронирующей системы должно быть снято, в противном случае неизбежны электрические пробои. Периодическая промывка применяется только в том случае, если осажденная на электродах пыль не склонна к схватыванию (к цементации) или хорошо растворяется промывной жидкостью.

Непрерывная промывка трубчатых осадительных электродов осуществляется подачей на них минимально необходимого количества промывной жидкости для создания пленки, непрерывно смывающей осажденную пыль. Основные требования: недопущение электрических пробоев в электрофильтре при струйном стекании жидкости с заземленных узлов электрофильтра на коронирующую систему.

Вода подается в верхнюю часть аппарата, подводится по каждому из трубчатых осадительных электродов и через специальные насадки тонкой пленки стекает во внутреннюю поверхность трубы.

3. Применение электрофильтров в промышленности

.1 Очистка печных газов в производстве серной кислоты

.1.1 Очистка печных газов от огарковой пыли

В процессе обжига сырья для производства серной кислоты из серного колчедана или флотационного концентрата из печей отходят газы, содержащие огарковую пыль - окислы железа. Большая часть серы огарка находится в виде FeS, а меньшая - в виде пирита и халькопирита с небольшой примесью сернокислых соединений железа и меди. Кроме того, в огарке содержится кварц и некоторые силикаты.

Огарковая пыль, если ее не удалять из газов, может загрязнить башенную или промывную кислоту, засорить башни и другую технологическую аппаратуру и коммуникации, препятствовать проведению технологического процесса.

Запыленность печных газов составляет (в г/м3 при н.у.): из механических печей с вращающимися гребками -от 1,0 до 10; из печей пылевидного обжига во взвешенном состоянии - от 20 до 80; из печей обжига в "кипящем слое" - от 50 до 250. В печных газах содержится 7-13 объемн. % SO2, 0,2- 1,0 объемн. % SO3, 30-40 г/м2 Н2О.

Для очистки в одну ступень газов, удаляемых из механических печей, и в две ступени газов, удаляемых из печей пылевидного обжига во взвешенном состоянии, на сернокислотных заводах применяли огарковые двухсекционные вертикальные электрофильтры типа ХК с корпусом из кирпича.

Содержащийся в газах SO3 (кондиционирующий реагент) способствует устойчивой работе электрофильтров при температуре 275-425° С. При более низкой температуре возможна конденсация SO3 и, как следствие, коррозия внутренних металлических частей и отложения влажной огарковой пыли внутри аппарата. При более высокой температуре наблюдается образование на коронирующих электродах твердых отложений ("колбас") и ухудшается газоочистка. Этому способствует также деформация внутренних металлических конструкций электрофильтров (коронирующих рам, балок подвеса электродов и др.).

3.1.2 Очистка газов от тумана серной кислоты, мышьяка и селена в контактном производстве серной кислоты

Газы контактных сернокислотных производств по выходе из промывных башен содержат примеси, агрессивно действующие на контактную массу: мышьяк в виде трехокиси (As2O3), селен в виде двуокиси (SeO2), брызги и. туман серной кислоты и тонкую огарковую пыль, не уловленную огарковыми электрофильтрами и промывными башнями. От этих примесей газы должны быть очищены.

Количество вредных примесей зависит от сырья, используемого для получения сернистого газа, способа обжига, степени очистки газов от огарковой пыли, температурного режима, интенсивности орошения и концентрации орошающих кислот в промывных башнях. При сжигании, например, чистой серы указанные примеси в газах отсутствуют и очистка от них не требуется. При сжигании серы, содержащей мышьяк и селен, а также при обжиге сульфидных руд или флотационного концентрата содержание мышьяка в газах достигает 80 мг/м3 и более (при н.у.); при обжиге серного колчедана в газах содержится 10-12 мг/м3 двуокиси селена, а при сжигании серы 35- 90 мг/м3. Содержание брызг и тумана серной кислоты в газах обычно составляет 1-8 г/ж3. При обжиге серного колчедана в печах с "кипящим слоем" по сравнению с обжигом его в других печах содержание мышьяка в газах резко уменьшается. Нормами предусмотрено содержание в очищенных газах мышьяка не более 0,005 мг/м3, а тумана серной кислоты не более 0,005 г/ж3; на двуокись селена и пыль такие нормы отсутствуют. Считают, что газы должны быть очищены от пыли практически полностью. Двуокись селена не оказывает вредного действия на контактную массу, однако необходимо стремиться к полному ее извлечению, так как из нее в дальнейшем получают селен. Из общего количества селена, содержащегося в печных газах, приблизительно 50 % осаждается в мокрых электрофильтрах в виде так называемого богатого шлама, в котором находится 45-70 % селена.

В основном принято очищать печные газы от тумана серной кислоты, мышьяка и селена в две ступени. Газы из второй промывной башни при 35-40° С поступают в мокрые электрофильтры первой ступени, затем в полые увлажнительные башни (на некоторых заводах башни с насадкой), орошаемые оборотной 5%-ной серной кислотой, после чего окончательно очищаются в мокрых электрофильтрах второй ступени.

.2 Очистка газов в производстве соды

.2.1 Очистка газов из известково-обжигательных печей

В производстве кальцинированной соды по аммиачному способу для карбонизации аммонизированного рассола используются газы с высоким содержанием двуокиси углерода (35-42 % СО2).

Двуокись углерода для процесса карбонизации получают обычно путем обжига известняка или мела в непрерывно-действующих вращающихся печах в присутствии пылевидного кокса или угля, вдуваемого в печь при 900-1200 °С. На обжиг расходуется 7-10 % кокса или угля от веса загружаемого известняка.

Обычно газы после печей имеют температуру 100-200 °С и содержат 1-2 г/м3 пыли (при н. у.). Для передачи газов в цех кальцинации центробежными компрессорами, которые очень чувствительны к пыли, необходима тонкая очистка газов до конечного содержания пыли около 5 мг/м3 (при н. у.).

Очистку газов, отходящих из известково-обжигательных печей, проводят в комбинированных аппаратах - скрубберах-электрофильтрах типа CMC.

В нижней скрубберной части этих аппаратов газы охлаждаются из частично отмываются от пыли. В верхней части аппарата, состоящей имокрого трубчатого электрофильтра с периодической промывкой электродов водой, газы подвергаются окончательной очистке.

.2.2 Очистка газов, отходящих из вращающих печей (тамбуров)

В производстве соды на основе природного сернокислого натрия газы, отходящие из вращающихся печей (тамбуров), уносят, большое количество пыли (до 45-60 г на 1 м3 газов при н. у.) примерно следующего состава (в %): Na2CO3 - 75; F2O3 - 24; Nad-1,0.

Температура газов при выходе из печей составляет 400 - 500 °С. Очистку этих газов производят по следующей схеме. Они проходят через зигзагообразные газоходы и пылеосадительные камеры, откуда при температуре 300-350 °С и запыленности около 12-15 г/м3 (при н. у.) поступают в горизонтальные трехпольные пластинчатые электрофильтры. При нормальном режиме сжигания в топках тамбуров и отсутствии в газах значительного количества сажи степень очистки газов в электрофильтрах при скорости 0,8 м/сек достигает 98 %; остаточное содержание пыли в газах не превышает 0,2 г/м3. Наличие сажи в газах заметно снижает эффективность очистки, поэтому для нормальной работы электрофильтров необходимо поддерживать топочный режим, обеспечивающий полное сгорание топлива. Более целесообразна схема очистки газов с охлаждением их по выходе из тамбуров до 200 °С в полых скрубберах, орошаемых слабым содовым раствором. После этого газы направляются в электрофильтры, а затем в эксгаустеры, откуда выбрасываются в атмосферу.

Увлажнение газов способствует улучшению очистки в электрофильтрах, так как улавливаемая пыль становится более электропроводной; одновременно укрепляется содовый раствор за счет упаривания в скруббере, что также представляет интерес для производства.

3.3 Очистка отходящих газов при производстве минеральных

Отходящие газы из сушильных барабанов в производстве минеральных удобрений (фосфоритного концентрата, фосфоритной муки и др.) уносят значительное количество пыли.

Например, при сушке нефелинового концентрата во вращающихся барабанных сушилках (снабженных топками, сжигающими мазут) на апатито-нефелиновой фабрике с отходящими газами уносится 10-20 % продукции.

Очистку этих газов обычно проводят в две ступени - в групповых циклонах НИИОгаз или в батарейных циклонах и горизонтальных двухпольных или трехпольных электрофильтрах типа Ц.

Электрофильтры типа Ц представляют собой горизонтальные односекционные или двухсекционные аппараты с двумя или тремя электрическими полями в каждой секции; корпуса электрофильтров - стальные или из железобетона. Для выравнивания газового потока в диффузорах установлены газораспределительные решетки, снабженные механизмами встряхивания. Осадительные электроды - пластинчатые из листовой волнистой стали или из пластин, составленных из стальных прутков.

Переток газов через бункерную часть электрофильтра предотвращается газоотсекателями, которые располагаются в нижней части осадительных электродов, перпендикулярно к ним.

Коронирующие электроды выполнены в виде прямоугольных рам из труб, внутри которых на крючках натянуты спирали из нихромовой проволоки диаметром 2 мм. Они укреплены при помощи кронштейнов к рамам, подвешенным к высоковольтным опорно-проходным изоляторам; изоляторы установлены на крышке электрофильтра в изоляторных коробках, утопленных внутрькорпуса для обогрева их горячими газами. Предусмотрена также возможность обогрева изоляторов с помощью электрических нагревательных элементов.

Электроды встряхиваются ударно-молотковыми механизмами с электроприводами, которые могут работать непрерывно или периодически. Уловленная пыль выгружается непрерывно через герметичные затворы.

При выборе пылеуловителя для первой ступени очистки следует иметь в виду, что по сравнению с батарейными циклонами на изготовление групповых циклонов расходуется меньше металла, они проще в изготовлении, несколько эффективнее в работе и менее склонны к образованию пылевых отложений. Одна-ко для улавливания абразивной пыли (например, апатита) следует применять батарейные циклоны как более стойкие к истиранию пылью и, следовательно, более надежные и долговечные.

.4 Очистка газов на сажевых заводах

Сажу получают в процессе сжигания нефтепродуктов или горючих газов при недостатке воздуха (в коптящем пламени).

Особенность сажи - высокая дисперсность частиц (размером 0,01-5,5 мкм) и их низкое удельное электрическое сопротивление. Плотность сажи 1750-2000 кг/м3, насыпная масса 40-300 кг/ м3. Отходящие газы сажевого производства взрывоопасны и горючи; теплотворная их способность около 3,34 Мдж/кг (800 ккал/кг). После очистки отходящие газы сажевых производств обычно выбрасывались в атмосферу. В последнее время на заводах начинают применять установки для дожигания отходящих газов в целях использования их тепловой энергии и обезвреживания выбросов в атмосферу. В зависимости от способа производства сажи и ее сорта применяют разные схемы сажеулавливания.

3.4.1 Очистка газов в производстве ламповой сажи

Ламповую сажу получают путем сжигания зеленого масла или других нефтепродуктов коптящим пламенем в чашах или распылением нефтепродуктов в реакторах при недостатке воздуха.

Температура отходящих газов на выходе из реакторов 1150-1200 °С. Перед поступлением в улавливающую установку они проходят через полые скрубберы, где увлажняются водой, распыляемой форсунками и полностью испаряющейся; для усиления эффекта охлаждения газов скрубберы снабжены водяными рубашками. В скрубберах газы охлаждаются до 220- 250 °С.

Для очистки газов после холодильников-скрубберов устанавливают горизонтальные односекционные трехпольные электрофильтры типа СГ. Такой электрофильтр имеет стальной корпус и снабжен взрывными клапанами для снятия пиковых давлений при возникновении "хлопков" в системе.

Осадительные электроды электрофильтра - пластинчатые, составленные из стальных прутков диаметром 8 мм с шагом 11 мм. Коронирующие электроды выполнены из нихромовой проволоки диаметром 2,2 мм. В верхней части коронирующие электроды каждого электрического поля подвешены к раме, а в нижней расположена рама для фиксации положения электродов; электроды натянуты при помощи подвешенных к их нижним концам чугунных грузов.

Коронирующая система висит на опорно-проходных фарфоровых изоляторах типа ПО-1, установленных в изоляторных коробках; для защиты изоляторов от загрязнения сажей в изоляторных коробках создается противодавление за счет подачи воздуха, подогретого до температуры выше точки росы (0,028-0,036 м3/сек на одну коробку).

Встряхивание осадительных и коронирующих электродов производится автоматически ударно-молотковыми механизмами. Электрофильтры СГ работают, во избежание подсоса воздуха и образования взрывоопасной смеси, под избыточным давлением 50-100 н/м2. В газах, поступающих в электрофильтры, допускается содержание кислорода до 1,3 объемн. %. В газах, находящихся в электрофильтрах и выходящих из них, содержание кислорода не должно превышать 2 объемн. %. При содержании сажи 120-140 г/м3 и скорости газов в электрофильтрах СГ 0,4-0,5 м/сек степень их очистки от сажи достигает 98-99 %.

При повышении скорости газов в электрофильтрах, когда форсируется производительность сажевых реакторов, степень очистки значительно снижается.

Температура газов, поступающих в электрофильтры, должна составлять 220-250 °С. Работа электрофильтров при более высокой температуре нежелательна, так как снижается их электрическая прочность, ухудшается очистка газов и увеличиваетсявозможность загораний саже-газовой смеси, что может привести к деформации внутренних металлоконструкций. При более низкой температуре электроды замазываются сажей и в электрофильтре выпадает влага, что приводит к коррозии металлических частей.

.4.2 Очистка газов в производстве печной газовой сажи

Печную газовую сажу получают при сжигании в печи-реакторе природного газа, предварительно очищенного от механических примесей, воды, нефти и сероводорода, в смеси с воз духом (около 50 % от количества, необходимого для полного сжигания углеводородов, содержащихся в сырье).

Газы выходят из реактора при 1150-1100 °С, проходят через испарительные скрубберы-холодильники, где охлаждаются до 200-230 °С, и поступают в установки улавливания сажи.

Для повышения эффективности улавливания сажи на некоторых сажевых заводах после электрофильтров установили циклоны. Однако из-за забивания печной газовой сажей (несмотря на устройство теплоизоляции и обогрева паром) циклоны оказались неэффективными. В газах, поступающих в электрофильтры при производстве печной полуактивной и активной сажи, допускается содержание кислорода до 0,7 объемн. %, а в газах, находящихся в электрофильтрах и выходящих из них, - до 2 объемн. %.

.5 Применение электрофильтров в черной металлургии

.5.1 Очистка доменного газа

Доменный газ является горючим газом и используется в качестве топлива для нагрева кауперов (воздухонагревателей), в мартеновских и коксовых печах, в котельных; возможно использование доменного газа в газовых турбинах.

Содержание пыли в газе, отходящем из доменной печи, зависит от содержания пыли в руде, агломерате и коксе, количества подаваемого в доменную печь воздуха, давления газа, марки выплавляемого чугуна и состояния печи и колеблется от 15 до 100 г/м3; концентрация пыли в газе перед скрубберами составляет 6-30 г/м3. Во всех случаях использования доменного газа требуется предварительная его очистка от пыли; при этом степень очистки определяется назначением газа. При использовании газа, например, в коксовых печах содержание пыли в очищенном газе не должно превышать 10 мг/ м3, при транспортировке газа по газопроводам большой протяженности и сжигании его в нагревательных, мартеновских печах и воздухонагревателях - 15 мг м3/, а при сжигании в топках котлов в смеси с угольной пылью - до 1 г м3/.

Надежность работы установок для очистки доменного газа и снижение их габаритов и стоимости достигаются заменой громоздких полых скрубберов, охлаждающих и увлажняющих газ перед электрофильтрами, турбулентными промывателями типа трубы Вентури и применением коронирующих электродов больших сечений для исключения их обрыва, что происходит при использовании проволочных электродов.

Очистку газа, отходящего из одной доменной печи, работающей под повышенным давлением, предусмотрено проводить на установке, состоящей из одного скруббера, двух труб Вентури, одного электрофильтра и одной дроссельной группы.

Второй электрофильтр - резервный и включается в работу при переводе одной из доменных печей на работу в течение длительного времени при низком давлении или при ремонте одного из электрофильтров.

4. Расчет и выбор электрофильтра

Необходимо выбрать электрофильтр для очистки дымовых газов объемом V0 = 80 000 м3/ч; плотность газов  = 1,27 кг/ м3; температура газов tr = 130 ; атмосферное давление В = 101,3 кПа ; разрежение в системе Р = - 3 кПа; рабочее напряжение Up = 70 кВ. Состав газов близок к атмосферному воздуху; средний размер пылевых частиц dср = 0,9 мкм.

Рассчитываем плотность газов при рабочих условиях

 (1)

Определяем расход газов при рабочих условиях

 (2)

Находим необходимую площадь сечения электрофильтра

 (3)

где Vг - скорость потока газов в электрофильтре; выбирается в пределах 0,3- 2 м/с. При наличии в газе тонких пылей Vг = 0,3 - 0,5 м/с, а в трубчатых аппаратах (вертикальных электрофильтрах) Vг принимается до 1 м/с. Для условий нашего примера примем Vг = 0,85 м/с, тогда

 (4)

Принимаем электрофильтр типа УВ-2х24 с площадью активного сечения фильтра Fф = 48 м2. Радиус коронирующего электрода R1= 0,001 м. Характеристика и условия применения электрофильтров представлены в таблице 2.

Унифицированные, вертикальные сухие электрофильтры предназначены в основном для очистки газов аспирационных систем с температурой до 250 °С. Они работают при невысоких запыленностях газа, отсутствии в нем мелких частиц, со скоростью газа до 1 м/с. Электрофильтр имеет одно поле длиной 7,4 м, через которое движется газ в вертикальном направлении. Он может состоять из одной, двух или трех параллельно работающих секций. Активное сечение одной секции 10; 16 или 24 м². Секции сечением 10 и 16 м² набираются из электродов шириной 4 м, а секция сечением 24 м² - из электродов шириной 6 м. Осадительные электроды - пластинчатые из элементов открытого профиля, коронирующие - рамные с верхним подвесом. Расстояние между плоскостями одноименных элементов 260 мм. Встряхивание в обоих случаях ударно-молотковое. Основные конструктивные узлы унифицированы в соответствии с конструктивными узлами электрофильтров серии ЭГА.

Таблица 2 - Характеристика и условия применения электрофильтров

Характеристика и условия применения электрофильтров

Тип

Условия применения

Рабочее напряже- ние, кВ

Площадь активного сечения, м2

Число коле- баний

Активная длина поля, м

Общая площадь осажде- ния, м2

УГ1-3-10 УГ1-3-15 УГ2-3-26 УГ2-3-37 УГ3-3-88 УГ3-4-115 УГ3-4-177 УГ3-4-230

   Сухие газы (t. 2500C)

   70 - 90

10 15 26 37 88 115 177 230

3 3 3 3 3 4 4 4

2,51 2,51 2,51 2,51 3,95 3,95 3,95 3,95

630 940 1690 2360 9200 16100 24600 32200

УВ-2х10 УВ-3х10 УВ-1х16 УВ-2х16 УВ-2х24

Сухие дымовые газы (t=2500C) аспирационный воздух


21 32 16 32 48

1 1 1 1 1

7,4 7,4 7,4 7,4 7,4

1200 1800 900 1800 2600

УВВ-8 УВВ-12 УВВ-16 УВВ-2х12

 Влажные газы

 40 - 50

8 12 16 24

1 1 1 1

6,2 6,2 6,2 6,2

285 430 570 870


Определяем фактическую скорость потока газов в электрофильтре

 (5)

Определяем относительную плотность газов при стандартных условиях (Вст = 101,3 кПа, tст = 200 °С)

 (6)

Рассчитываем критическую напряженность электрического поля

 (7)

Находим величину средней напряженности электрического поля

 (8)

где d = 13,7 · 10-2 - расстояние между плоскостями осадительных и коронирующих электродов, м.

Методом интерполяции по таблице 3 находим динамическую вязкость газов при заданной температуре tr = 130 °С

 (9)

Таблица 3 - Значения температуры „мокрого термометра" для различных значений температур и влажности газов

Исходная влажность газа, г/нм3

Исходная температура газов, °С


100

200

300

400

500

750

1000

38,5 44 52,5 61 68

49,5 53,5 59 66,5 71,5

57 59,5 63,5 70 74

62 64 68 72,5 78,5

65,5 67,5 70,5 75,5 -

72,5 74 76,5 79,5 -

77,5 78,5 80,5 - -


Рассчитываем скорость дрейфа для частиц пыли мельче 1 мкм

 (10)

Находим удельную площадь осаждения фильтра, учитывая, что общая площадь осаждения F0 для фильтра УВ-2х24 составляет 2600 м2

 (11)

Определяем фактический коэффициент эффективности пылеочистки

 (12)

Заключение

В итоге можно сказать, что среди известных способов очистки газов электрический является наиболее эффективным, а электрофильтр - наиболее универсальным аппаратом из всех известных аппаратов, созданных для извлечения измельченных веществ из воздуха и газов.

При выборе метода и аппарата очистки газов необходимо установить происхождение газовых взвесей, так как возможность разделения газовой неоднородной системы определяется главным образом размерами взвешенных частиц, а они зависят от условий образования.

Список использованных источников

1. Левитов, В.И. Дымовые электрофильтры / В. И. Левитова . - М. : Энергия, 1980. - 448 с.

. Ужов, В.Н. Очистка промышленных газов электрофильтрами / В.Н Ужов. - М.: Химия, 1967. - 344 с.

. Левитов, В.И. Дымовые электрофильтры / В. И. Левитова . - М. : Энергия, 1980. - 448 с.

4. Белов, С. В. Охрана окружающей среды / С.В. Белов, Ф.А. Барбенов, А.Ф. Козьяков, Г.П. Павлихин, В.П. Сивков, А.С. Терехин. - М.: Высш.шк., 1983. - 264 с.

. Коростовенко, В.В. Процессы и аппараты защиты атмосферы / В. В. Коростовенко. - Красноярск: СФУ, 2008. - 88 с.

. Ветошкин, А. Г. Процессы и аппараты пылеочистки / А.Г. Ветошкин. - Пенза: ПГУ, 2005. - 201 с.

7. Ужов. В.Н. Очистка промышленных газов от пыли / В.Н Ужов. А.Ю Вальдберг, Б.И. Мягков, И.К. Решидов. - М.: Химия, 1981. - 315 с.

Духин, С. С. Очистка технологических газов / C.С. Духин. - М.: Стройиздат, 1987. - 143 с.

Похожие работы на - Системы защиты среды обитания

 

Не нашли материал для своей работы?
Поможем написать уникальную работу
Без плагиата!
Без нейросетей!