Организация оплаты труда работников предприятия и пути ее совершенствования

  • Вид работы:
    Дипломная (ВКР)
  • Предмет:
    Эктеория
  • Язык:
    Русский
    ,
    Формат файла:
    MS Word
    197,99 Кб
  • Опубликовано:
    2013-06-15
Вы можете узнать стоимость помощи в написании студенческой работы.
Помощь в написании работы, которую точно примут!

Организация оплаты труда работников предприятия и пути ее совершенствования

Частное учреждение образования

«МИНСКИЙ ИНСТИТУТ УПРАВЛЕНИЯ»

Факультет экономики

Кафедра экономики и управления производством







ДИПЛОМНАЯ РАБОТА

на тему

Организация оплаты труда работников предприятия и пути ее совершенствования

Студентка Крезо Анастасия Сергеевна

Группа 80008-тз

Руководитель ст.преп. каф. ЭиУП МИУ

магистр экономических наук

Мартышевская Елена Александровна




Минск - 2013г.

РЕФЕРАТ

Ключевые слова: заработная плата, премия, надбавки, доплаты, бюджет прожиточного минимума, минимальная заработная плата, тарифная ставка первого разряда, производительность труда.

Объект исследования - Полоцкие электрические сети - филиал РУП «Витебскэнерго», занимающиеся передачей электроэнергии, обеспечением надежной и бесперебойной работы электрооборудования, установок, сооружений и передаточных устройств.

Предмет исследования - организация оплаты труда и эффективность производственно-хозяйственной деятельности на заданном объекте исследования.

Цель работы - на основе современных научных подходов изучить направления совершенствования оплаты труда работников на примере Полоцкие электрические сети.

Методы исследования: общенаучные методы познания, сравнительный анализ, экономико-математические методы, графико-аналитические построения.

Результаты исследования и разработки: раскрыта сущность и значение оплаты труда на предприятии. Выполнен анализ системы оплаты труда работников на Полоцкие электрические сети. Предложены мероприятия, направленные на совершенствование оплаты труда на предприятии.

ВВЕДЕНИЕ

Сложившаяся за долгие годы система управления экономикой привела к возникновению феномена экономического отчуждения трудящихся от средств производства. Выражается это в том, что в условиях общественной собственности важнейшие функции хозяйственного руководства выполняли не сами производители материальных благ, а государство в лице его различных органов, которые отстраняли конкретного человека, во-первых, от результатов собственного труда, во-вторых, от управления производством. При этом доходы трудовых коллективов и отдельных работников не зависели от эффективности использования ресурсов.

В условиях перехода к системе рыночного хозяйствования в соответствии с изменениями в экономическом и социальном развитии страны существенно меняется политика в области оплаты труда, социальной поддержке и защиты работников. Многие функции государства по реализации этой политики переданы непосредственно предприятиям, которые самостоятельно устанавливают формы, системы и размеры заработной платы, материального стимулирования в конечном результате деятельности предприятия. Вследствие этого понятие «заработная плата» наполнилось новым содержанием.

Выше сказанное позволяет сделать вывод об актуальности темы исследования.

Цель дипломной работы - оценить показатели и факторы, влияющие на эффективность использования средств оплаты труда, и предложить направления совершенствование оплаты труда на данном предприятии.

Для достижения данной цели поставлены и решены следующие основные задачи:

-   раскрыть сущность и понятие заработной платы, а также принципы организации оплаты труда;

-        рассмотреть существующие формы и системы оплаты труда;

         дать оценку использования фонда оплаты труда на предприятии;

         выявить факторы, влияющие на изменение фонда оплаты труда;

-   определить основные направления совершенствования организации оплаты труда.

Объектом исследования данной работы является Филиал «Полоцкие электрические сети» РУП «Витебскэнерго».

Предметом исследования выступает показатели организации оплаты труда на данном предприятии.

При выполнении исследования теоретический базой выступают публикации в отечественной и зарубежной печати, а практической - послужил фактический материал, собранный в Филиале «Полоцкие электрические сети» РУП «Витебскэнерго».

1 СОСТАВНЫЕ ЭЛЕМЕНТЫ И ПРИНЦИПЫ ПОСТРОЕНИЯ СИСТЕМЫ ОПЛАТЫ ТРУДА РАБОТНИКОВ ПРЕДПРИЯТИЯ

1.1 Сущность, принципы и методы организации оплаты труда на предприятии

В соответствии с изменениями в экономическом и социальном развитии страны существенно меняется и политика в области оплаты труда, социальной поддержке и защиты работников. Многие функции государства по реализации этой политики возложены непосредственно на предприятия, которые самостоятельно устанавливают формы, системы и размеры оплаты труда, материального стимулирования его результатов.

Одним из факторов, определяющих экономическое положение предприятия, является действенность применяемой на нем системы оплаты труда.

У предприятия возникают отношения с работниками, выполняющие производственные задания, что влечет за собой расчеты с работниками, с государственными внебюджетными фондами и другими организациями. Все эти расчеты осуществляются в денежной форме. Учет труда, заработной платы и расчетов с работниками предприятий ведется на основе федеральных, региональных и отраслевых законодательных норм регулирования трудовых отношений работников и администрации предприятий. Для обеспечения стабильной и эффективной деятельности коллектива предприятия, необходимо регулирование заработной платы ориентировать на повышение качества трудовой жизни персонала, усиление его заинтересованности в достижении максимальных результатов руда и реализации своего творческого потенциала. Это требует соответствующей организации оплаты труда, с одной стороны, обеспечивающей гарантированный заработок за выполнение нормы труда независимо от результатов деятельности предприятия, а с другой стороны, увязывающей заработок с индивидуальными и коллективными результатами труда.

Под организацией заработной платы понимается ее построение, обеспечение взаимосвязи количества труда с размером его оплаты, а также составных элементов (выбор форм и систем оплаты труда, тарифная система, нормирование).

Оплата труда - это вознаграждение, исчисленное, как правило, в денежном выражении, которое по трудовому договору собственник либо уполномоченный им орган выплачивает работнику за выполненную работу. Размер оплаты труда зависит от сложности и условий выполняемой работы, профессионально-деловых качеств работника, результатов его труда и хозяйственной деятельности предприятия. Оплата труда обеспечивает нормальное воспроизводство рабочей силы (воспроизводительная функция) и мотивирует работников для эффективных действий на своем рабочем месте (стимулирующая функция). Продуманная система оплаты труда должна предусматривать контроль и эффективное управление затратами на содержание персонала.

Различают два основных метода регулирования заработной платы: централизованный и локальный.

Централизованный метод предполагает законодательное установление норм оплаты труда, исполнение которых обязательно либо для всех предприятий и организации РБ, либо только для отдельных отраслей и профессиональных групп. Централизованное регулирование заработной платы осуществляется путем использования следующих механизмов:

Применение норм ТК РБ, регламентирующих условия и порядок оплаты труда.

Использование тарифной системы. Она является средством государственного регулирования заработной платы работников бюджетной сферы. Для работников других отраслей она носит рекомендательный характер.

Установление минимального размера оплаты труда. Минимальная заработная плата является государственной гарантией и устанавливается Законом РБ. Этот государственный норматив обязателен для всех организаций и предприятий независимо от форм собственности, отрасли, территории.

Локальные методы регулирования заработной платы включают все процедуры, механизмы и методы организации заработной платы, которые предприятия разрабатывают самостоятельно. В частности, в локальном порядке определяется размер средств, идущих на оплату труда работников; решение о выборе тарифной или бестарифной системы; введение различных доплат и надбавок к заработной плате; разработка положений о премировании и выплате вознаграждений по результатам работы за год.

Наиболее целесообразно классифицировать принципы организации оплаты труда в соответствии с функциями, на реализацию которых они направлены. Каждый принцип связан не с одной, а с совокупностью функций.

На основе принципов организации и функций заработной платы в условиях построения рыночных отношений создается организационная система оплаты труда непосредственно на предприятии. Перестройка организации заработной платы в соответствии с требованиями рынка предусматривает решение следующих задач:

повышение заинтересованности каждого работника в выявлении и использовании резервов эффективности своего труда при исключении возможностей получения не заработанных денежных средств;

устранение случаев уравнительности в оплате труда, достижение прямой зависимости заработной платы от результатов труда, как индивидуальных, так и коллективных;

оптимизация соотношений в оплате труда работников различных категорий и профессионально-квалификационных групп с учетом сложности выполняемых работ, условий труда, учитывающих дефицитность профессий, а также влияние различных групп, работа которых обеспечивает достижение конечных результатов и конкурентоспособность производства.

Организация оплаты труда на предприятии состоит из следующих элементов:

формирование фонда оплаты труда;

нормирование труда;

установление тарифной системы;

выбор форм и систем оплаты труда.

Через организацию заработной платы достигается необходимый компромисс между интересами работодателя и работника, способствующий развитию отношений социального партнерства между двумя движущими силами рыночной экономики.

Таким образом, каждое предприятие разрабатывает собственную систему оплаты и стимулирования труда. Наиболее важной задачей является установление взаимосвязи заработной платы каждого работника с количественными и качественными результатами труда.

1.2 Основные формы и системы оплаты труда, применяемые на предприятиях

Формы и системы оплаты труда устанавливают строго определенный порядок исчисления заработной платы по каждой группе и категории персонала в зависимости от количества и качества, а также результатов труда.

Расходы на оплату труда состоят из:

основной заработной платы - вознаграждения за выполненную работу в соответствии с установленными нормами труда. Она устанавливается в виде тарифных ставок (окладов) и сдельных расценок для рабочих и должностных окладов для служащих;

дополнительной заработной платы - вознаграждения за труд сверх установленной нормы, за трудовые успехи и изобретательность, и особые условия труда. В нее входят доплаты, надбавки, гарантийные и компенсационные выплаты, предусмотренные действующим законодательством; премии, связанные с выполнением производственных заданий и функций;

других поощрительных и компенсационных выплат в форме вознаграждений по итогам работы за год, премий по специальным системам и положениям, компенсационных и других денежных и материальных выплат, не предусмотренные актами действующего законодательства, либо которые проводятся сверх установленных указанными актами норм.

Уровень заработной платы формируется под воздействием сложных разнонаправленных механизмов социально-ориентированной рыночной экономики. Процесс формирования заработной платы зависит в целом и от государственной политики, и принятых социальных программ, и действия работодателей и профсоюзов, и других факторов.

Анализ состава фонда заработной платы рабочих дает возможность более точно вскрыть причины образования перерасхода и выяснить резервы экономии фонда оплаты труда, оценить эффективность его использования, выявить непроизводительные выплаты. Сведения о составе фонда оплаты труда позволяют установить, в какой мере используются на предприятии поощрительные формы оплаты труда, стимулирующие повышение его производительности.

Согласно Трудовому законодательству Республики Беларусь формы, системы и размеры оплаты труда работников, в том числе и дополнительные выплаты стимулирующего и компенсирующего характера, устанавливаются нанимателем на основании коллективного договора, соглашения и трудового договора.

При приеме на работу наниматель с работником заключает трудовой договор. В одном из пунктов договора оговаривается условие оплаты труда, одна из форм может быть гибкая заработная плата. Гибкая заработная плата заключается в том, что при начислении заработной платы форма оплаты труда может быть как сдельной, так и повременной, на усмотрение нанимателя торгового предприятия.

Сдельная оплата труда производится за количество выработанной продукции по установленным сдельным расценкам, которые определяются на основании установленных часовых ставок и норм времени (выработки). Она используется в тех случаях, когда необходимо стимулировать увеличение количества производимой продукции (услуг). Сдельная форма оплаты труда подразделяется на ряд систем: прямая сдельная, сдельно-премиальная, сдельно-прогрессивная, косвенная сдельная, аккордная.

При прямой сдельной системе, труд оплачивается по расценкам за единицу произведенной продукции. Индивидуальная сдельная расценка за единицу продукции или работы определяется путем умножения часовой тарифной ставки, установленной в соответствие с разрядом выполняемой работы на норму времени на единицу продукции, или путем деления часовой тарифной ставки на норму выработки. Общий заработок рабочего времени определяется путем умножения сдельной расценки на количество произведенной продукции за расчетный период времени:

Зр = Зч / Вч,                                                                                    (1.1)

Зр = Зч х Тн                                                                                     (1.2)

где Зч - часовая тарифная ставка, устанавливаемая в соответствии с разрядом выполняемой работы, руб/ч;

Вч - часовая норма выработки данной продукции;

Тн - норма времени на единицу продукции (работы), ч.

При сдельно-премиальной системе рабочему сверх заработка по прямым сдельным расценкам выплачивается премия за выполнение и перевыполнение заранее определенных конкретных количественных показателей работы. Как правило, устанавливается не более двух-трех основных показателей и условий для премирования. Это могут быть показатели роста производительности труда, повышение объемов производства, снижение нормируемой трудоемкости, экономии сырья и др.

Сдельно-прогрессивная система оплаты труда предусматривает выплату по прямым сдельным расценкам в приделах выполнения норм, а при выработке сверх норм - по повышенным расценкам.

Заработок рабочего при сдельно-прогрессивной оплате труда определяется в зависимости от принятой системы прогрессивной оплаты (за весь объем или за часть объема работ, выполненных сверх нормы

Зсп = Зт.с + [ Зт.с х (Jн - Jбаз ) х Qпр ] / Qпр                               (1.3)

Зсп = Зт.с + З т.п (Q´пр - 1) / Qпр                                                 (1.4)

где Зт.с - сумма основного заработка рабочего, исчисленная по прямым сдельным расценкам, руб;

З т.п - сумма сдельного заработка рабочего-сдельщика, начисленная по прямым сдельным расценкам за часть работы (продукции), оплачиваемую по прогрессивной системе оплаты труда, руб.;

Jн - выполнение норм выработки рабочим, %;

Jбаз - базовый уровень норм выработки, сверх которого применяется оплата по повышенным расценкам, %;

Qпр - коэффициент, показывающий, на сколько увеличивается сдельная расценка за выработку продукции сверх установленной нормы;

Q´пр - коэффициент, показывающий отношение прогрессивной сдельной расценки (по шкале к основной сдельной расценке этот коэффициент больше единицы).

Эта система оплаты труда обычно применяется на работах, связанных с освоением новой техники и вводится временно

Сдельная форма оплаты труда может применяться индивидуально для каждого конкретного работника, а может иметь и коллективные формы.

Широко распространена подрядная форма оплаты труда. Суть ее в заключении договора, по которому одна сторона обязуется выполнить определенную работу и берет подряд, а другая сторона, т.е. заказчик, обязуется оплатить эту работу после ее окончания. Заработок бригады рабочих Збр определяется по формуле:

Збр = Збрсд х Вбрфакт                                                                   (1.5)

где Збрсд - бригадная сдельная расценка за единицу производимой продукции;

Вбрфакт - фактически выполненный бригадой объем работ.

Косвенная сдельная система оплаты труда применяется в основном для рабочих, занятых на обслуживающих и вспомогательных работах (водители транспортных средств, наладчики, ремонтники и др.). Размер их заработка ставится в прямую зависимость от результатов деятельности обслуживаемых основных рабочих сдельщиков.

Зк = Зч / Вчр                                                                                    (1.6)

где Зч - тарифная часовая ставка обслуживаемого рабочего, оплачиваемого по косвенной сдельной системе, руб.;

Вч - часовая норма выработки (производительности) одного обслуживаемого рабочего (объекта, агрегата) в единицах продукции.

Общий заработок рассчитывается умножением либо ставки вспомогательного рабочего на средний процент выполнения норм обслуживаемых рабочих-сдельщиков, либо косвенно-сдельной расценки на фактический выпуск продукции обслуживаемых рабочих:

Зобщ = Зч х Фвспу /100                                                                  (1.7)

где Зобщ - общий заработок рабочего, руб.;

Зч - часовая тарифная ставка вспомогательного рабочего, переведенного на косвенную сдельную оплату труда, руб.;

Фвсп - фактически отработанное данным вспомогательным рабочим количество человеко-часов.

Аккордная сдельная система предусматривает оплату всего объема работ. Стоимость всей работы определяется исходя из действующих норм и расценок на отдельные элементы работы путем их суммирования. Данная система оплаты труда стимулирует, прежде всего, объем работ с меньшей численностью работающих и в более короткие сроки.

Применение сдельной оплаты труда возможно только при соблюдении следующих условий:

-    имеются количественные показатели выработки, правильно отражающие затраты труда и возможность применить их с достаточной точностью;

-        рабочим созданы реальные возможности увеличить выпуск продукции по сравнению с установленными нормами;

         существует необходимость увеличить объем производства или выполняемых работ на данном рабочем месте;

         выяснена эффективность затрат на организацию нормирования труда и точный учет изготовленной продукции или выполненного объема работ;

         обеспечен рост выработки вследствие сдельной оплаты труда, исключающий ухудшение качества продукции, нарушение технологии производства и правил техники безопасности.

Сдельную оплату труда не рекомендуется применять в том случае, если ее применение ведет к:

-    ухудшению качества продукции;

-        нарушению технологических режимов;

         ухудшению обслуживания оборудования;

         нарушению требований техники безопасности;

         перерасходу сырья и материалов.

Повременная форма оплаты труда характеризуется тем, что заработная плата работникам начисляется в зависимости от количества отработанного в соответствии с табельным учетом времени и установленной тарифной ставки и оклада. Эта зависимость выражается формулой:

ЗП = Т х ТС                                                                                     (1.8)

где ТС - тарифная ставка;

Т - количество отработанного времени.

Системы повременной оплаты труда включают простую повременную и повременно-премиальную системы.

При простой повременной системе заработок работнику начисляется по присвоенной тарифной ставке или окладу за фактически отработанное время. По способу начисления заработной платы данная система подразделяется на почасовую, поденную, помесячную.

При почасовой оплате расчет заработной платы производится исходя из часовой тарифной ставки работника и фактического количества отработанных им часов за расчетный период:

Зпов = Тч х Вч                                                                                (1.9)

где Зпов -общий заработок повременщика за расчетный период;

Тч - часовая тарифная ставка, соответствующая разряду рабочего;

Вч - фактически отработанное время, ч.

При поденной системе заработную плату рассчитывают на основе дневной тарифной ставки и фактического количества отработанных дней:

Зпов = Тд х Вдн                                                                              (1.10)

где Тд - дневная тарифная ставка;

Вдн - фактически отработанное время, дней.

При помесячной оплате расчет заработной платы осуществляется исходя из твердых ставок (окладов) за месяц, числа рабочих дней, предусмотренных графиком работы за месяц, и числа рабочих дней, фактически отработанных в данном месяце:

Зпов = Тм / (Вг х Вф)                                                                      (1.11)

где Тм - месячный должностной оклад (ставка);

Вг - время работы по графику за данный месяц;

Вф - время, отработанное фактически.

Повременно-премиальная система оплаты представляет собой простую повременную систему, дополненную премированием за выполнение конкретных количественных и качественных показателей работы. Сущность этой системы заключается в том, что в заработную плату работника сверх оплаты по тарифу (окладу, ставке) за фактическое отработанное время работы включается премия за конкретные достижения в работе по заранее установленным показателям. Премии могут устанавливаться как в твердых суммах, так и в процентах от оклада.

Использование повременной формы заработной платы требует соблюдения ряда условий, важнейшими из которых являются:

-    высокий уровень квалификации и ответственности работников;

-        четко налаженный учет и контроль;

         отработанная система установления сменных заданий на основе хронометражных наблюдений и статистических данных о работе оборудования;

         высокий уровень исходных тарифных ставок (окладов), обеспечивающий материальную заинтересованность в высокопроизводительном труде;

         ограниченное число рабочих мест;

         возможность обеспечить устойчивую прибыльную работу предприятия на основе заключенных соглашений и договоров.

Таким образом, при повременной заработной плате работник получает денежное вознаграждение в зависимости от количества отработанного времени. Однако в силу того, что труд может быть простым или сложным, низко- и высококвалифицированным, необходима дифференциация оплаты труда, которая осуществляется с помощью тарифных систем.

Недостатком повременной системы оплаты труда является то, что должностной оклад не в состоянии учесть различия в объемах работ, выполненных работниками одной профессии и квалификации.

Нормативные или жесткие системы оплаты труда в последнее время вытесняются гибкими системами, в которых заработная плата увязывается с конечным результатом предпринимательской деятельности. К этой группе можно отнести системы: остаточную, контрактную, тарифно-аттестационную. При полной хозяйственной самостоятельности предприятия его коллектив использует остаточную систему оплаты труда. Она предполагает образование фонда заработной платы труда как остатка дохода после компенсации всех видов расходов. В состав последних входят материальные и приравненные к ним расходы, расходы на содержание оборудования, отчисления в ремонтный фонд, выплаты государственным органам, социальные платежи, отчисления в фонды резервный, социального развития и развития производства. На протяжении планового периода работающие получают авансовые выплаты.

По окончании периода и подведения итогов хозяйственной деятельности единый фонд оплаты труда распределяется между работающими и выплачивается им с учетом ранее произведенных авансовых выплат.

Эта система в максимальной степени заинтересовывает работника в экономии энергетических и материальных ресурсов, снижении вспомогательных расходов, рациональном использовании основных и оборотных фондов, так как их экономия переходит в фонд оплаты труда или используется в интересах коллектива.

Остаточная система применяется на предприятиях, где есть структурные подразделения. Для каждого подразделения главный бухгалтер в отчётном году определяет норму прибыли. Денежные средства, полученные сверх этой нормы, распределяются между сотрудниками отдельных подразделений.

Контрактная система предусматривает заключение трудового контракта. Кроме размера тарифной ставки, в трудовом контракте могут быть предусмотрены различные доплаты и надбавки за профессиональное мастерство и высокую квалификацию, за знание иностранных языков, за отклонение от нормальных условий труда. Бестарифная система применяется в хорошо организованном коллективе. Каждому работнику присваивается коэффициент оплаты труда, который учитывает его квалификацию и результативность работы в коллективе при выполнении определённого объёма работ.

На большинстве предприятий основой для начисления заработной платы является тарифная система, особенно её такие элементы, как тарифная ставка и тарифные сетки.

Тарифная ставка - это размер оплаты труда различных групп и категорий, рабочих за единицу времени. Исходной является минимальная тарифная ставка или тарифная ставка первого разряда. Она определяет уровень оплаты наиболее простого труда.

Тарифные сетки служат для установления соотношения в оплате труда в зависимости от уровня квалификации. Это совокупность тарифных разрядов и соответствующих тарифных коэффициентов. Тарифный коэффициент позволяет определять соотношение между размерами тарифных ставок в зависимости от разряда выполняемой работы.

2. ОРГАНИЗАЦИЯ ОПЛАТЫ ТРУДА И НАПРАВЛЕНИЕ ЕЕ СОВЕРШЕНСТВОВАНИЯ

2.1 Организационно - экономическая характеристика Полоцкие электрические сети

Полоцкие электрические сети являются филиалом Витебского республиканского унитарного предприятия электроэнергетики "Витебскэнерго" и действуют на основании действующего законодательства и Положения о филиале Полоцкие электрические сети, утвержденного генеральным директором РУП "Витебскэнерго" 1 февраля 2001 года.

Основными задачами Полоцких электрических сетей являются:

-      передача электроэнергии;

-      обеспечение надежной и бесперебойной работы электрооборудования, установок, сооружений и передаточных устройств, гарантирующее выполнение РУП "Витебскэнерго" задач по удовлетворению нужд субъектов хозяйствования и граждан Республики Беларусь в электрической энергии при минимальных затратах;

-      увеличение вклада в ускорение социально-экономического развития и обеспечение на этой основе роста благосостояния всего трудового коллектива;

-      производственно-хозяйственная деятельность, направленная на получение прибыли.

Предметом деятельности Филиала является:

• Организация получения от предприятия потоков энергии, транспортировка и доведение потоков энергии до потребителей при минимальных потерях на ее технологический транспорт;

• Содержание основных фондов в состоянии эксплуатационной готовности и соблюдение оперативно-диспетчерской дисциплины, а также обеспечение надежности, экономичности, безопасности и безаварийности оборудования, сооружений, устройств в соответствии с ПТЭ, ПТБ и другими нормативными документами.

В соответствии с Уставом РУП «Витебскэнерго» и Декретом Президента Республики Беларусь от 14 июля 2003 года № 17 «О лицензировании отдельных видов деятельности» филиал осуществляет следующие виды лицензируемой деятельности:

Геодезическая и картографическая деятельность;

Деятельность в области промышленной безопасности;

Деятельность в области связи;

Деятельность по заготовке и переработке древесины;

Деятельность по заготовке (закупке) лома и отходов черных и цветных металлов;

Деятельность, связанная с использованием природных ресурсов и воздействием на окружающую среду;

Деятельность, связанная с оздоровлением детей за рубежом;

Издательская деятельность;

Медицинская деятельность;

Перевозка пассажиров и грузов (исключая технологические внутрихозяйственные перевозки пассажиров и грузов, выполняемые юридическими лицами и индивидуальными предпринимателями для собственных нужд) автомобильным, внутренним водным, морским транспортом;

Проектирование и строительство зданий и сооружений I и II уровней ответственности и проведение инженерных изысканий для этих целей;

Деятельность по обеспечению безопасности юридических и физических лиц;

Деятельность по обеспечению пожарной безопасности;

Деятельность по технической защите информации, в том числе криптографическими методами, включая применение электронной цифровой подписи;

Транспортно-экспедиционная деятельность.

Материально - техническую базу и средства Филиала «Полоцких электрических сетей», т. е имущество, составляют закрепленные за ним РУП "Витебскэнерго" основные и оборотные средства, а также иные материальные ценности и финансовые ресурсы. Имущество, закрепленное за Филиалом «Полоцких электрических сетей», находится в собственности Республики Беларусь, принадлежит РУП "Витебскэнерго" на праве хозяйственного ведения, является неделимым и не может быть распределено по вкладам (долям, паям), в том числе и между работниками РУП "Витебскэнерго" (Филиала).

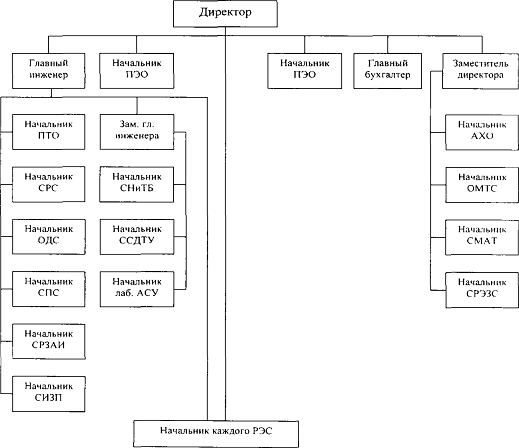
На рисунке 2.1 представлена организационная структура управления Полоцких электрических сетей.

Рисунок 2.1 - Организационная структура управления Полоцких электрических сетей

Управление Филиалом «Полоцких электрических сетей» осуществляет его директор. Директор «Полоцких электрических сетей» назначается на должность приказом генерального директора РУП «Витебскэнерго» по согласованию с Министром энергетики Республики Беларусь. Трудовой договор (контракт) с директором Филиала от имени РУП «Витебскэнерго» подписывает генеральный директор РУП «Витебскэнерго».

Должностные лица, отделы, участки и цеха Филиала «Полоцких электрических сетей» в соответствии с утвержденной организационной структурой находятся в подчинении директора. Указанные должностные лица, отделы и службы полностью подчинены директору Филиала и обязаны исполнять его приказы и распоряжения.

Руководители структурных подразделений, начальники цехов назначаются на должность директором Филиала по согласованию с РУП «Витебскэнерго».

В 2012 году за счет средств республиканского бюджета РУП «Витебскэнерго» Полоцкие электрические сети было выделено на тех.перевооружение 158708 тыс.руб. За счет собственных средств было приобретено оборудование на сумму 131002 тыс.руб.

Основные производственные средства однородны, выполнение ими разнообразных функций и различное их целевое использование обусловили разделение основных средств на разные группы. В зависимости от функционального назначения в производственно-хозяйственной деятельности они подразделяются на производственные (промышленные и производственные средства других отраслей) и непроизводственные. Из указанных трех групп промышленно-производственные средства непосредственно связаны с производством продукции и поэтому имеют наибольший удельный вес. Их наличие, состав и структуру проанализируем по данным таблицы 2.1.

заработный тарификация система труд

Таблица 2.1 - Анализ состава и структуры основных средств РУП «Витебскэнерго» Полоцкие электрические сети за 2012 год

Группы основных фондов и их наименования

На начало 2012

На конец 2012

Изменение за 2012 (+, - )


сумма, млн. руб

удельный вес, %

сумма, млн. руб

удельный вес, %

сумма, млн. руб

удельный вес, %

Промышленно-производственные основные средства:

424520

100

1098634

100

+674114

-

Здания и сооружения

61503

14,5

118106

10,8

+56603

-3,7

Передаточные устройства

206051

48,5

530581

48,9

+324530

+0,4

Машины и оборудование:

148779

35

435253

39,6

+286474

+4,6

Транспортные средства

6967

1,6

11833

1,1

+4866

-0,5

Инструмент, инвентарь и принадлежности

179

0,04

278

0,03

+99

-0,01

Многолетние насаждения

1041

0,21

1542

0,14

+501

-0,07

Всего основных средств

424520

100

1098634

100

+674114

-


Данные таблицы 2.1 показывают, что промышленно-производственные основные средства за год увеличились на 674114 млн.руб или на 158%. Однако удельный вес зданий снизился на 3,7%. Что касается силовых машин и оборудования, то стоимость увеличилась на 286474 млн.руб., и удельный вес их также увеличился на 4,6%. Стоимость транспортных средств увеличилась на 4866 млн.руб., но удельный вес снизился на 0,5%.

Основными документами, в которых отражаются показатели себестоимости транспортировки электроэнергии являются смета затрат и калькуляция себестоимости. Наибольшую долю в затратах занимают затраты на эксплуатацию и содержание оборудования. В таблице 2.2 представлен анализ себестоимости электроэнергии за 2011 - 2012 года.

Таблица 2.2 - Анализ себестоимости электроэнергии РУП «Витебскэнерго» Полоцкие электрические сети за 2011 - 2012 года (тыс.руб)

Статьи затрат

2011

2012

Изменение за 2012 (+, - )

Затраты на оплату труда персонала

20 680 818

35 690 527

+15 009 709

Отчисления от оплаты труда производственного персонала

7 462 077

7 813 066

+350 989

в том числе:




на социальные нужды

7 457 602

7 806 930

+349 328

обязательное страхование от несчастных случаев на производстве и профессиональных заболеваний

4 475

6 135

+1 160

Общепроизводственные затраты

43 500 406

75 246 373

+31 745 967

в том числе:




затраты по содержанию и эксплуатации оборудования

30 773 340

63 792 984

+33 019 644

из них:




амортизация производственного оборудования

12 727 066

37 085 123

+24 358 057

общецеховые затраты

9 261 099

11 453 389

+2 192 290

Затраты на подготовку и освоение производства

144 083

9 353

-134 730

Себестоимость энергии всего,

56 148 064

106 114 534

+49 966 470

в т.ч.затраты электростанций

359 688

930 634

+570 946

затраты сетей

55 788 375

105 183 900

+49 395 525

Себестоимость 1кВтч

117,35

234,53

+117,18


Как видно из таблицы 2.2, себестоимость электроэнергии увеличилась в 2012 году на 49 966 470 тыс.руб., или на 88,9%. Рост себестоимости вызван в первую очередь увеличением затрат по содержанию и эксплуатации оборудования на 107%. Также увеличению себестоимости энергии сопутствует рост фонда оплаты труда рабочих, который в 2012 году увеличился 15 009 709 тыс.руб по сравнению с 2011 годом.

Персонал предприятия и его изменения имеют определенные количественные, качественные и структурные характеристики, которые могут быть с меньшей или большей степенью достоверности измерены и отражены следующими абсолютными и относительными показателями:

1.   списочная и явочная численность работников предприятия и (или) его внутренних подразделений, отдельных категорий и групп на определенную дату;

2.      среднесписочная численность работников предприятия и (или) его внутренних подразделений за определенный период;

.        удельный вес работников отдельных подразделений (групп, категорий) в общей численности работников предприятия;

.        темпы роста (прироста) численности работников предприятия за определенный период;

.        средний разряд рабочих предприятия;

.        удельный вес служащих, имеющих высшее или среднее специальное образование в общей численности служащих и (или) работников предприятия;

.        средний стаж работы по специальности руководителей и специалистов предприятия;

.        текучесть кадров;

.        фондовооруженность труда работников и (или) рабочих на предприятии и др.

Штатное расписание отдела оперативно-диспетчерской службой Полоцкие электрические сети приведено в таблице 2.3 и таблице 2.4.

Таблица 2.3 - Штатное расписание отдела оперативно-диспетчерской службой Полоцкие электрические сети с января 2013 года

Наименование структурных подразделений, должностей (профессий)

Тарифная ставка, руб.

Кол-во

Категория

Тарифный разряд

Тарифный коэффициент

Увеличения согласно Положению по организации оплаты труда РУП "Витебскэнерго"

Декрет 29, %







За квалификационную категорию, %

Руководителям основных производственных структурных подразделений, %

За сложност, %

Оперативному персоналу за прием- передачу смены, %

За специфику работы в энергетической отрасли

Всего, %


Руководители, специалисты, служащие

Начальник службы

4 026 000

1

4.26


7

27


20

54

35

Заместитель начальника службы

3 761 000

1


17

3.98


7

27


20

54

35

Диспетчер предприятия (района) сетей

3 219 000

1


15

3.48



27

3

20

50

35

Диспетчер предприятия (района) сетей

3 219 000

1


15

3.48



27

3

20

50

35

Диспетчер предприятия (района) сетей

3 219 000

1


15

3.48



27

3

20

50

35

Диспетчер предприятия (района) сетей

3 219 000

1


15

3.48



27

3

20

50

35

Диспетчер предприятия (района) сетей

3 219 000

1


15

3.48



27

3

20

50

35

Инженер по расчетам и режимам

2 868 000

1

1

12

2.84

18


29


20

67

35

Инженер по расчетам и режимам

2 556 000

1


12

2.84



25


20

45

35

Итого по подразделению:

29 306 000

9












Таблица 2.4 - Штатное расписание отдела оперативно-диспетчерской службой Полоцкие электрические сети с января 2013 года

Наименование структурных подразделений, должностей (профессий)

Тарифная ставка, руб.

Кол-во шт.ед

Классность води- теля

Разряд

Отраслевой коэффициенте

Корректирующий коэф.

Тарифный коэффициент

Увеличения согласно Положению по организации оплаты труда РУП "Витебскэнерго"

Контракт (Декрет №29)









За сложность, %

Оперативному персоналу за прием- передачу смены, %

За специфику работы в энергетической отрасли, %

Всего, %


Рабочие

Водитель автомобиля ГАЗ-27057 ВА 7346

2 084 000

1

2


1

1.15

2.12

12

2

20

34

37

Водитель автомобиля ГАЗ-27057 ВА 7346

2 084 000

1

1


1

1.15

2.12

12

2

20

34

37

Водитель автомобиля ГАЗ-27057 ВА 7346

2 084 000

1



1

1.15

2.12

12

2

20

34

37

Водитель автомобиля ГАЗ-27057-438 АА 54-24-2

2 084 000

1



1

1.15

2.12

12

2

20

34

37

Водитель автомобиля ГАЗ-27057-438 АА 54-24-2

2 084 000

1

2


1

1.15

2.12

12

2

20

34

37

Электромонтер оперативно-выездной бригады

2 101 000

1


4

1.3

1.15

1.57

12

2

20

34

45

Электромонтер оперативно-выездной бригады

2 315 000

1


5

1.3

1.15

1.73

12

2

20

34

45

Электромонтер оперативно-выездной бригады

2 101 000

1


4

1.3

1.15

1.57

12

2

20

34

45

Электромонтер оперативно-выездной бригады

2 542 000

1


6

1.3

1.15

1.9

12

2

20

34

45

Электромонтер оперативно-выездной бригады

2 077 000

1


4

1.3

1.15

1.57

12

2

20

34

43

Электромонтер выездной бригады

2 422 000

2


3

1.3

1.15

1.35



20

20


Электромонтер оперативно-выездной бригады

2 542 000

1


6

1.3

1.15

1.9

12

2

20

34

45

Итого по подразделению:

26 520 000

13












На конец 2012 списочная численность работников составила 1021 человека (в 2011 году - 1026 человек, в 2010 году - 1027), из них занятых во вспомогательном производстве - 696 человек, непосредственно в отделе ОДС - 13 человек, в администрации - 325 человек.

Управление структурными подразделениями осуществляется управленцами среднего звена, которыми являются руководители отделов и служб. Связям между отделами присущ, в основном, горизонтальный характер

Поскольку трудовыми показателями, характеризующими деятельность предприятий, считаются: использование рабочей силы, рабочего времени и производительность труда, то основными задачами анализа являются:

изучение и оценка обеспеченности предприятия и его структурных подразделений трудовыми ресурсами в целом, а также по категориям и профессиям;

определение и изучение показателей текучести кадров;

выявление резервов более полного и эффективного использования трудовых ресурсов.

Таким образом, целью анализа трудовых ресурсов является выявление резервов и неиспользованных возможностей, разработка мероприятий по приведению их в действие.

Наиболее ответственный этап в анализе обеспеченности предприятия рабочей силой - изучение ее движения. Для характеристики движения рабочей силы рассчитывают и анализируют динамику следующих коэффициентов:

) коэффициент оборота по приему рабочих (Кпр):

Кпр = Чпр / Чср                                                                               (2.1)

где Чпр - количество принятого на работу персонала;

Чср - среднесписочная численность персонала.

) коэффициент оборота по выбытию (Кв):

Кв = Чув / Чср                                                                                 (2.2)

где Чув - количество уволившихся работников;

Чср - среднесписочная численность персонала.

) коэффициент общего оборота (Коб):

Коб = (Чпр + Чув) / Чср;                                                                 (2.3)

где Чпр - количество принятого на работу персонала;

Чув - количество уволившихся работников;

Чср - среднесписочная численность персонала.

) коэффициент текучести кадров (Кт):

Кт = (Чув.собст + Чув.нар) / Чср;                                                   (2.4)

где Чув.собст - количество уволившихся по собственному желанию;

Чув.нар - количество уволившихся за нарушение трудовой дисциплины;

Чср - среднесписочная численность персонала.

) коэффициент постоянства состава персонала предприятия (Кпс):

Кт = Чп.год / Чср;                                                                            (2.5)

где Чп.год - количество работников, проработавших весь год;

Чср - среднесписочная численность персонала.

Рассчитаем данные коэффиценты для отдела ОДС и проследим их динамику за последние два года (2011 и 2012 года). Для этого составим таблицу 2.5.

Таблица 2.5 - Движение рабочей силы за 2011 - 2012 годы

Показатель

2011

2012

Отклонение

Прирост %

1

Состояло работников на начало периода, чел.

1026

1021

-5

99

2

Принято всего, чел.

286

166

-120

58

3

Выбыло всего, чел, в т.ч.:

316

302

-14

95

4

-по собственному желанию;

290

276

-14

95

5

-переведено на другие предприятия

2

6

+4


6

-уволено за нарушение трудовой дисциплины;

20

10

-10

50

7

-по сокращению штатов

4

10

+6

20

8

Состояло работников на конец периода, чел.

996

885

+174

109

9

Среднесписочная численность, чел.

1022

997

-25

98

10

Количество работников, проработавших год, чел.

900

905

+5

101

11

Коэффициент оборота по приёму, % (стр.2:стр.9)

15,1

7,8

-7,3

52

Коэффициент оборота по выбытию, % (стр.3:стр.9)

30,9

30,3

-0,6

98

13

Коэффициент общего оборота, % [(стр.2+стр.3):стр.9]

58,9

46,9

-12

79

14

Коэффициент текучести кадров, % [(стр.4+стр.6):стр.9]

30,3

28,7

-1,6

95

15

Коэффициент постоянства кадров, % (стр.10:стр.9)

88

91

+3

103


Коэффициенты движения кадров не планируются, поэтому их анализ производится сравнением показателей отчетного года с показателями предыдущего года. Текучесть рабочих играет большую роль в деятельности предприятия. Постоянные кадры, длительное время работающие на предприятии, совершенствуют свою квалификацию, осваивают смежные профессии, быстро ориентируются в любой нетипичной обстановке, создают определенную деловую атмосферу в коллективе, активно влияя на производительность труда. Коэффициенты постоянства и стабильности кадров отражают уровень оплаты труда и удовлетворенность работников условиями труда, трудовыми и социальными льготами.

Из анализа движения рабочей силы из таблицы 2.5 видно, что в отделе ОДС коэффициент общего оборота снизился на 21%. Коэффициент оборота по приему в 2012 году ниже коэффициента выбытия.

Дисциплине на предприятии уделяется большое внимание, поэтому количество уволенных за нарушение трудовой дисциплины (прогулы, опоздания и др.) снизилось в 2 раза. Зато по собственному желанию в 2012 году уволилось на 14 человек меньше - 276 человек.

Снизился процент принятых работников на 48 %. Увеличилось и количество работников, проработавших на предприятии весь год. Можно сделать вывод о том, что работники довольны условиями труда и уровнем заработка.

Полноту использования трудовых ресурсов можно оценить по степени использования фонда рабочего времени. Фонд рабочего времени зависит от численности рабочих, количества отработанных дней одним рабочим в среднем за год, средней продолжительности рабочего дня:

ФРВ = Чраб х Д х П;                                                                       (2.6)

Где Чраб - численность рабочих, чел;

Д - количество отработанных дней одним рабочим;

П - средняя продолжительность рабочего дня.

Объектом анализа в данном случае является величина отклонения фактически отработанного времени в человеко-часах в отчетном периоде от соответствующего показателя за предыдущий год. На это отклонение могут повлиять такие факторы как: изменение численности рабочих, изменение продолжительности рабочего периода и изменение продолжительности рабочей смены.

Использование трудовых ресурсов ОДС приведены в таблице 2.6.

Таблица 2.6 - Использование трудовых ресурсов

Показатель

2011

2012

Отклонение, +/-

Среднесписочная численность рабочих (ЧР)

11

13

+2

Отработано за год одним рабочим:




-дней (Д)

204,4

224,1

+19,7

-часов (Ч)

1624,9

1783,8

+158,9

Средняя продолжительность рабочего дня (П), ч.

7,95

7,96

+0,01

Фонд рабочего времени, ч.

17874,8

23189,9

+5315,1


На анализируемом предприятии фактический фонд рабочего времени больше прошлого года на 5315,1 ч. Влияние факторов на его изменение можно установить способом абсолютных разниц:

Следует провести факторный анализ методом цепных подстановок зависимости фонда рабочего времени в 2012 году по отношению к 2011 году:

ФРВ0=11 х 204,4 х 7,95 = 17874,8 часов в 2011 г.

изменяется численность рабочих:

ФРВ1=13 х 204,4 х7,95 = 21124,7 часов.

изменяется количество отработанных дней:

ФРВ2=13 х 224,1 х 7.95 = 23160,7 часов.

изменяется продолжительность рабочего дня:

ФРВф=13 х 224,1 х 7,96 = 23189,9 часов.

Следовательно, фонд рабочего времени изменился за счет:

роста численности работников:

,7 - 17874,8 = 3249,9 часов

увеличения количества отработанных дней:

,7 - 17874,8 = 5285,9 часов

увеличения продолжительности рабочего дня

,9 - 17874,8 = 5313,1 часов.

Таким образом, за счет увеличения численности работников фонд рабочего времени увеличился на 3249,9 чел-ч, увеличение ФРВ произошло также за счет увеличения продолжительности рабочего дня на 5313,1 чел-ч. Общий рост ФРВ составил 13848,9 чел-ч. Но в дальнейшем на предприятии необходимо проводить работу по увеличению времени работы работников за счет сокращения целосменных и внутрисменных простоев, эффективной организации рабочих мест.

Для выявления причин целодневных и внутрисменных потерь рабочего времени сопоставляют данные фактического и планового баланса рабочего времени (таблица 2.7).

Таблица 2.7 - Баланс рабочего времени на одного среднесписочного рабочего

Показатель

2011

План

2012

Изменение





На одного рабочего

На всех рабочих

1. Календарное количество дней

365

365

366

+1

+13

2. Выходные и праздничные дни

111

114

111

0

0

3. Номинальный фонд рабочего времени, дн.

254

251

255

+1

+13

4. Неявки на работу, дн.

40

30

42

+2

+26

- ежегодные отпуска

26

27

27

+1

+13

- больничные

12

12

12

0

0

- прогулы

2

-

3

+1

+13

5. Явочный фонд рабочего времени, дн.

204,4

220

224,1

+19,7

+256,1

6. Продолжительность рабочей смены, ч.

8

8

8

0

0

7. Предпразничные сокращённые дни, ч.

9

9

9

0

0

8. Внутрисменные простои, ч.

7,96

5

1,6

-6,36

-82,68

9. Средняя продолжительность рабочей смены, ч

7,95

7,96

7,96

+0,01

+0,13


Отсутствие сверхурочно отработанного времени говорит о хорошей организации производственного процесса.

Сокращение потерь рабочего времени - один из резервов увеличения выпуска продукции. Однако надо иметь в виду, что потери рабочего времени не всегда приводят к уменьшению объёма производства продукции, т.к. они могут быть компенсированы повышением интенсивности труда работников. Поэтому при анализе использования трудовых ресурсов большое внимание уделяется изучению показателей производительности труда.

Как видно по данным таблицы, планом намечалось улучшить использование рабочего времени. Каждый член трудового коллектива в 2012 году должен был отработать 220 рабочих дней вместо 204,4 за прошлый год.

Снижение целодневных потерь рабочего времени предусматривалось в результате проведения мероприятий по сокращению прогулов, простоев и заболеваний. Число неявок в 2012 году предполагалось снизить на 15%, а вместо этого число неявок увеличилось на 28,5%.

Из всех целодневных потерь рабочего времени особое внимание уделяется потерям рабочего времени в результате прогулов. В 2012 году предприятие уволило 10 человек за нарушение трудовой дисциплины. Проводились мероприятия по сокращению прогулов, выяснялись причины невыходов на работу и других нарушений.

2.2 Тарификация и нормирование труда рабочих

В РУП «Витебскэнерго» в качестве основной принята повременно - премиальная система оплаты труда работников, при которой работнику сверх заработной платы по тарифной ставке (должностному окладу) за фактически отработанное время начисляется и выплачивается премия за выполнение и перевыполнение определенных показателей работы.

При наличии возможности учета объема выпускаемой продукции или выполненных работ директора филиалов самостоятельно принимают решение о введении сдельной формы оплаты труда, исходя из экономической целесообразности стимулирования увеличения выпускаемой продукции и в пределах планового фонда оплаты труда.

Тарификация рабочих и должностей служащих производится по разрядам Единой тарифной сетки работников Республики Беларусь (далее - ЕТС) с 1 по 27 разряды.

Отнесение выполняемых работ к конкретным тарифным разрядам (профессиям, должностям), кратным размерам тарифной ставки первого разряда и присвоение работникам соответствующей квалификации (далее - тарификация) осуществляются в соответствии с Единым тарифно-квалификационным справочником работ и профессий рабочих (далее - ЕТКС), Единым квалификационным справочником должностей служащих (далее - ЕКСД) и иными квалификационными справочниками, утверждаемыми в установленном порядке.

Структурные подразделения предприятия (филиалов) в зависимости от содержания выполняемых функций делятся на:

аппарат управления предприятия (филиала);

производственные структурные подразделения филиала.

Производственные структурные подразделения филиалов в зависимости от участия в основном производственном процессе (оценки их роли и важности в этом процессе), а также их трудового вклада в общие результаты деятельности филиала, делятся на основные и неосновные.

В зависимости от группы по оплате труда филиала (струпурного подразделения филиала) устанавливается группа ставок руководителей основных производственных структурных подразделений по строкам или уровням управления, согласно Положению о филиале Полоцкие электрические сети, утвержденному генеральным директором РУП "Витебскэнерго" 1 февраля 2001 года, а также повышения тарифных окладов этих руководителей, рассчитанных по ЕТС.

Тарифные разряды руководителей неосновных производственных структурных подразделений филиалов устанавливаются на один разряд ниже относительно установленных тарифных разрядов для руководителей основных производственных структурных подразделений.

Списочная численность работников предприятия (филиала) определяется по данным государственной статистической отчетности в среднем за период с начала года по состоянию на 1-е число месяца, в котором заключается, изменяется либо заключается новый контракт по истечении максимального срока действия ранее заключенного контракта.

При изменении, в течение срока действия контракта, списочной численности работников филиала в сторону уменьшения за счет проведения организационно-технических мероприятий, способствующий повышению эффективности производства и труда, тарифный разряд директора филиала в сторону его понижения не пересматривается.

Тарифные ставки (должностные оклады) персонала РУП «Витебскэнерго» формируются на основе Единой тарифной сетки работников Республики Беларусь (далее - ЕТС) в следующем порядке:

осуществляется распределение работников по тарифным разрядам;

применяется коэффициент повышения по технологическим видам работ, производствам, видам экономической деятельности и отраслям (далее коэффициент повышения);

применяется корректирующий коэффициент к тарифным коэффициентам рабочих;

определяется тарифная ставка (оклад), рассчитанная по ЕТС;

применяется повышение тарифных ставок (окладов) или сдельных расценок;

производится суммирование тарифной ставки (оклада), рассчитанной по ЕТС и повышений по всем основаниям.

Конкретный размер корректирующих коэффициентов устанавливается приказами РУП «Витебскэнерго».

Округление тарифных ставок (должностных окладов) до разряда тысяч
производится в следующем порядке:

в сторону увеличения» если тарифная ставка (должностной оклад) заканчивается 500 рублями и выше;

в сторону уменьшения, если тарифная ставка (должностной оклад) заканчивается до 500 рублей.

При установлении коэффициентов повышения по технологическим видам работ, производствам, видам экономической деятельности и отраслям учитываются комплексно:

конкретный вид выполняемой работы (эксплуатационные, ремонтные, строительные и другие виды работ);

отраслевая принадлежность оборудования, на котором производятся работы.

Сдельные расценки определяются путем умножения часовой тарифной ставки, соответствующей разряду выполняемой работы с учетом коэффициента повышения по технологическим видам работ, на норму времени в часах.

Работникам предприятия (филиала) устанавливаются следующие повышения тарифных ставок (окладов), рассчитанных по ЕТС:

специалистам, имеющим вторую квалификационную категорию - на 10 процентов;

специалистам, имеющим первую квалификационную категорию - на 18 процентов;

руководителям, специалистам и другим служащим аппарата управления предприятия за работу с филиалами - на 15 процентов;

техникам-конструкторам, техникам-технологам, техникам проектировщикам, инженерам-конструкторам (конструкторам), инженерам технологам (технологам), инженерам-проектировщикам, инженерам программистам (программистам) всех категорий и по производной должности _ «ведущий»-на 6 процентов;

специалистам, в квалификационных характеристиках должностей которых отсутствуют квалификационные категории, другим служащим и рабочим при установлении производной должности (профессии) «старший» на 15 процентов;

руководителям, специалистам, служащим и рабочим сельскохозяйственных филиалов - до 50 процентов включительно;

работникам предприятия в зависимости от сложности, характера и ответственности выполняемых работ и трудовых функций, участия в разработке и реализации инвестиционных и инновационных проектов, способствующих модернизации производства, внедрению новейших технологий и т.д. - до 40 процентов включительно;

отдельным работникам, обеспечившим улучшение качественных показателей эффективности работы структурного подразделения, предприятия (филиала) -до 50 процентов включительно (по согласованию с РУП);

оперативному персоналу, в обязанности которого входит ~ эксплуатация оборудования, работающего в безостановочном режиме, и предъявляются повышенные требования по своевременной и качественной передаче и приемке смены - до 3 процентов включительно.

рабочим, тарифицируемым с первого по второй разряд за характер и специфику труда - до 20 процентов включительно;

рабочим (уборщик помещений, мусоропроводов, территорий, рабочий по комплексной уборке и содержанию домовладений, по обслуживанию в бане, горничная, дворник), использующим дезинфицирующие вещества - до 20 процентов включительно;

уборщикам территории, дворникам за сезонный характер работ (с 1 октября по 31 марта в период уборки листьев и снега) -на 50 процентов;

водителям автомобилей при работе на автомобилях с прицепами, за дни их фактической работы с прицепами - до 20 процентов включительно;

водителям служебных легковых автомобилей за особый характер работы - на 20 процентов;

водителям погрузчиков (работающим на электро- и дизельных карах) за особый характер работ в стесненных условиях овощехранилищ и теплиц - до 30 процентов включительно;

водителям автомобилей на которых смонтированы установки, механизмы и другое специальное оборудование за сложность и ответственность выполняемых функций -до 5 процентов;

руководителям филиалов (директор, главный инженер), руководителям аппарата управления по итогам работы за квартал, по показателям, отражающим эффективность работы. Конкретные основания, размеры и условия повышений предусматриваются в контрактах с руководителями;

работникам промышленно-производственного персонала за специфику работы в энергетической отрасли - до 50 процентов включительно; работникам непромышленного персонала (кроме работников сельскохозяйственных филиалов) -до 30 процентов включительно;

Сдельные расценки могут увеличиваться за специфику работы в отрасли - до 50% включительно.

Повышения тарифных ставок (окладов) производится работникам предприятия (филиала) в соответствии с пунктом 2.5 Декрета Президента Республики Беларусь от 26.07.1999г. №29 до 50 процентов включительно. Максимальные размеры стимулирования при заключении контрактов по категориям персонала устанавливаются приказами РУП «Витебскэнерго».

Надбавки, доплаты, премии и иные выплаты, предусмотренные законодательством, исчисляются исходя из тарифных ставок рабочих и должностных окладов служащих, рассчитанных в порядке, предусмотренном настоящим пунктом.

Сумма повышений тарифной ставки (тарифного оклада) по совокупности всех оснований не должна превышать 300 процентов.

Часовые тарифные ставки определяются путем деления месячной тарифной ставки (оклада) на среднемесячное количество расчетных рабочих часов. Среднемесячное количество расчетных рабочих часов, применяемое при расчете часовой тарифной ставки, определяется делением соответствующей годовой расчетной нормы рабочего времени на 12 месяцев (Постановление Министерства труда РБ от 18.10.1999г. №133).

Доплаты и надбавки к тарифным ставкам (должностным окладам) и другие выплаты компенсирующего и поощрительного характера.

Доплата за работу в ночное время или в ночную смену при сменном режиме работы производится в соответствии со статьей 70 Трудового Кодекса Республики Беларусь и комментария к ней. За каждый час работы в ночное время или в ночную смену производятся доплаты в размере 40% часовой тарифной ставки (должностного оклада) работника. Ночным считается время с 22.00 до 6.00 часов, а ночной сменой - смена, в которой более 50% рабочего времени приходится на ночное время.

Оплата труда при совмещении профессий (должностей), расширение зоны обслуживания (увеличение объема выполняемых работ) или выполнении обязанностей временно отсутствующих работников производится в соответствии со статьей 67 Трудового Кодекса Республики Беларусь и комментария к ней. Доплаты за совмещение профессий (должностей), расширение зоны обслуживания (увеличение объема выполняемых работ) или выполнение наряду со своей основной работой обязанностей временно отсутствующего работника устанавливаются в пределах тарифной ставки (должностного оклада) отсутствующего работника. При этом доплаты за совмещение профессий (должностей), расширение зоны обслуживания (увеличение объема выполняемых работ) устанавливаются в размере не более 20% (в исключительных случаях до 50%) тарифной ставки (должностного оклада) по основной работе конкретному исполнителю.

Оплата труда при временном заместительстве производится в соответствии со статьей 68 Трудового Кодекса Республики Беларусь и комментария к ней.

При временном заместительстве замещающему работнику устанавливается должностной оклад замещаемого работника, предусмотренный платным расписанием (с учетом увеличения по контракту замещаемого работника).

Замещающий работник премируется по условиям и в размерах, установленных по должности замещаемого им работника. При этом премия начисляется на должностной оклад замещаемого работника. Установленные работнику по основной работе надбавки и доплаты на время его замещения сохраняются.

Доплаты к тарифным ставкам (должностным окладам) работникам, за работу во вредных и (или) опасных условиях труда устанавливаются по результатам аттестации рабочих мест в размерах, предусмотренных действующим законодательством.

При суммированном учете рабочего времени компенсация за работу с вредными и (или) опасными условиями труда представляется за фактически отработанное во вредных условиях время.

Руководителям, специалистам и служащим надбавки за высокие достижения в труде, сложность и напряженность работы, выполнение особо важных работ на срок их проведения, устанавливаются в соответствии разработанным на предприятии «Положением по установлению надбавок за высокие достижения в труде, сложность и напряженность работы, выполнение особо важных работ на срок их проведения руководителям, специалистам и служащим РУП «Витебскэнерго».

Работникам, имеющим ученую степень доктора или кандидата наук и работающим по специальности, нанимателем могут устанавливаться надбавки за ученые степени в размере до шести и трех базовых величин соответственно. Надбавки за ученые степени выплачиваются та чистой прибыли.

Оплата за работу в сверхурочное время, в государственные праздники, праздничные и выходные дни производится в соответствии со статьей 69 Трудового Кодекса Республики Беларусь и комментария к ней.

Каждый час работы в сверхурочное время оплачивается:

работникам со сдельной оплатой труда - в размере двойных сдельных расценок;

работникам с повременной оплатой труда, а также получающим должностные оклады - в размере двойных часовых тарифных ставок (должностных окладов).

За работу в сверхурочное время работнику может предоставляться другой день отдыха.

Работа в государственные праздники, праздничные и выходные дня оплачивается в двойном размере. При этом для работников, получающих месячный оклад, оплата производится в размере одинарной часовой или дневной тарифной ставки сверх оклада, если работа производилась в пределах месячной нормы рабочего времени, и в размере двойной часовой или дневной тарифной ставки сверх оклада, если работа производилась сверх месячной нормы.

Если работа в праздничные дни выполнялась сверх месячной нормы, работнику кроме оплаты в двойном размере может быть предоставлен другой неоплачиваемый день отдыха.

Минимальный размер заработной платы для низкооплачиваемых категорий работников при условии выполнения ими норм выработки, установленных         надлежащего качества и полного использования фонда рабочего времени, устанавливается в размере 120 процентов минимальной заработной платы (МЗП), установленной Советом Министров Республики Беларусь, Доплата сверх установленного Советом Министра размера МЗП производится из прибыли.

Индексация заработной платы персоналу производится на величину индекса потребительских цен в пределах норматива, устанавливаемого Правительством Республики Беларусь, если индекс потребительских цен, исчисленный нарастающим итогом с момента предыдущей индексации, превысит пятипроцентный порог. Индексация заработной платы может осуществляться в виде единовременно го пересмотра размеров оплаты труда (тарифных ставок, должностных окладов).

Премирование персонала за основные результаты финансово- хозяйственной деятельности осуществляется в соответствии с Положением о премировании руководителей и персонала РУП «Вигебскэнерго» за основные результаты произволе венно-хозяйственной деятельности.

Для оценки соответствия квалификации рабочих сложности выполняемых работ по участку, цеху и предприятию сравниваются средние тарифные разряды работ и рабочих, которые определяются отношениями:

         (2.7)

        (2.8)

где Тр - тарифный разряд;

КР - количество (численность) рабочих;

VPi - объем работ каждого вида.

Исходя из штатного расписания ОДС за 2012 и 2011 годы количество водителей в период не менялось и составило в 2011 - 2012 годы 6 человек. Однако, тарифная ставка в 2012 году водителей увеличилась на 56,8%, а следовательно увеличился коэффициент за работу в энергетической отрасли и в 2012 году составил 20% по сравнению с 2011 годом, который составлял всего лишь 2%.

Также в составе ОДС работают электромонтеры оперативно-выездной службы в количестве 8 человек в 2011 - 2012 году. Каждому электромонтеру присвоен определенный разряд, с учетом которого соответствует свой тарифный коэффициент при начислении заработной платы. Тарифная ставка электромонтера у каждого разная, в зависимости от разряда. За 2012 год сумма увеличений к заработной платы электромонтеров увеличилась на 23%, что является благоприятным стимулом для дальнейшей работы в ОДС.

Рассчитаем на основании штатного расписания квалификационный уровень рабочих за 2011 - 2012 годы результаты представим в виде таблицы 2.8.

Таблица 2.8 - Квалификационный состав рабочих

Разряд рабочих

Тарифный коэффициент

Число рабочих

Абсолютное отклонение



2011

2012


3

1,35

1

2

-1

4

1,57

3

3


5

1,73

0

1

+1

6

1,9

1

2

+1

Итого


5

8



Из данных табл. 2.8 видно, что структура рабочих в 2012 году отличается от структуры рабочих в 2011 году. Численность рабочих низших разрядов (II - III) в 2012 году ниже, чем в 2011 году, а высших (IV-VI) - выше. Изменение структуры рабочих обусловливает необходимость изучения их квалификационного уровня. Квалификационный уровень рабочих определяется на основе сопоставления, например, среднего тарифного коэффициента в 2012 году со средним тарифным коэффициентом в 2011 году, для чего устанавливается:

)        тарифный коэффициент (средний разряд работ) в 2011году:

(1х1,35 + 3х1,57 + 0х1,73 + 1х1,9) / 5 = 1,59

)        тарифный коэффициент в 2012 году:

(2х1,35 + 3х1,57 + 1х1,73 + 2х1,9) / 8 = 1,62

Как видно из расчетов, средний тарифный коэффициент в 2012 году выше, чем в 2011 году на 0,03. Это говорит о том, что квалификационный уровень в 2012 году выше квалификационного уровня (среднего разряда работ) в 2011 году, что безусловно повышает эффективность работы.

Планирование средств на оплату труда осуществляется на основе расчета плановых фондов оплаты труда по отдельным категориям работников и по предприятию в целом.

2.3 Анализ средней заработной платы


Далее необходимо рассчитать среднюю заработную плату по отдельным категориям работников отдела ОДС Полоцкие электрические сети и оценить ее динамику (таблица 2.9).

Таблица 2.9 - Динамика средней заработной платы работников ОДС Полоцкие электрические сети, млн.руб

Категории персонала

2011

2012

Абс. откл. средней з/пл +/-, млн..руб

Темп роста заработной платы, %


ФЗП, млн.руб.

Среднесписочная численность, чел.

Средняя заработная плата, млн.руб. в мес.

ФЗП, млн. руб

Среднесписочная численность, чел.

Средняя заработная плата, млн.руб. в мес.



Руководители

5,758

2

2,879

8,052

2

4,026

+1,147

139,8

Специалисты

16,072

7

2,296

22,533

7

3,219

+0,923

140,2

Рабочие

14,85

11

1,350

26,52

13

2,040

+0,69

151,1

Итого

36,68

20

2,175

57,105

22

3,095

+0,92

142,3


Как показывают данные таблицы 2.9 и рис. 2.2, среднемесячная заработная плата в целом по предприятию в 2012 году составила 3,095 млн.руб., что выше прошлогоднего уровня на 0,92 млн.руб., или на 42,3 %. Самая высокая заработная плата характерна для руководителей - 4,026 и 2,879 млн.руб. в 2012 году и в 2011 году соответственно. При этом для заработной платы данной категории работников характерны самые низкие темпы прироста - 39,8 %.

Заработная плата работников специалистов в 2012 году возросла по сравнению с прошлым годом на 40,2 % и составила 3,219 млн.руб. Среднемесячная оплата труда рабочих в 2011 году составила 1,350 млн.руб., в 2012 году данный показатель возрос на 0,69 млн.руб. При этом темп ее прироста высок по сравнению с остальными категориями персонала - 51,1 %.

Рисунок 2.2 - Динамика среднемесячной заработной платы отдела ОДС Полоцкие электрические сети

В ходе анализа необходимо установить соответствие между темпами роста средней заработной платы и производительностью труда. Для расширенного воспроизводства, получения прибыли и рентабельности нужно, чтобы темпы роста производительности труда опережали темпы роста его оплаты. Если такой принцип не соблюдается, то происходит перерасход фонда зарплаты, повышение себестоимости продукции и, соответственно, уменьшение суммы прибыли.

Изменение среднего заработка работающих за тот или иной отрезок времени (год, месяц, день, час) характеризуется его индексом, который определяется отношением средней зарплаты за отчетный период к средней зарплате в базисном периоде:

Iсз = СЗф / СЗпл                                                                              (2.7)

где Iсз - индекс изменения среднего заработка,

СЗф - средняя заработная плата за отчетный период,

СЗпл - средняя заработная плата в базисном году.

Таблица 2.10 - Расчет средней заработной платы ОДС Полоцкие электрические сети, млн.руб.

Показатели

2011

2012

Фонд заработной платы, млн.руб.

36,68

57,105

Среднесписочная численность, чел.

20

22

Средняя зарплата на 1 работника в месяц, млн.руб.

2,596


Рассчитаем индексы среднего заработка (Iсз) по формуле, взяв за базисный период 2010 год (таблица 2.11).

Таблица 2.11 - Расчет индексов среднего заработка (Iсз ОДС Полоцкие электрические сети за 2011 - 2012 годы

Показатели

2011

2012

Индекс среднего заработка (Iсз)

2,105

2,261


Для наглядности динамику индексов среднего заработка (Iсз) за 2011 - 2012 годы можно отразить графически (рис. 2.3).

Рисунок 2.3 - Динамика индексов средней заработной платы ОДС Полоцкие электрические сети за 2011 - 2012 годы

Как видно из вышеприведенных расчетов, темп роста средней заработной платы ОДС Полоцкие электрические сети в 2012 году превышает индекс заработной платы в 2011 году на 0,156 пункта или 74,1%.

Из фонда оплаты труда работников ОДС производятся следующие отчисления:

.        отчисления в фонд социальной защиты населения (35 % от фонда оплаты труда);

.        отчисления в фонд занятости (1 %);

.        чрезвычайный налог (4 %).

Для выплаты заработной платы используется платежная ведомость. В ней указывается фамилии и инициалы работников, их табельные номера, суммы к выдаче и графа для росписи работников в получении заработной платы. Платежная ведомость подписывается руководителем предприятия, главным бухгалтером, регистрируется и выдается кассиру для выдачи заработной платы.

Выплата заработной платы производится не менее двух раз в месяц, до 23 числа каждого месяца (аванс) и до 10 числа каждого месяца (расчет). Выплату заработной платы за время отпуска работникам выдают не позднее, чем за три дня до его начала.

Для анализа состава и структуры фонда заработной платы и его динамики использованы данные в сопоставимых ценах по ФЗП за 2011 и 2012 год. Документами, на основании которых заполняется таблица 2.10, являются отчеты 1-Труд за 2011 и 2012 год и своды по заработной плате за те же периоды. Данные по фонду заработной платы обозначенных периодов сводятся в аналитическую таблицу 2.10.

Таблица 2.10 - Анализ состава, структуры и динамики ФЗП

Показатель

2011

2012

Изменение уд. веса, %

Темп роста к 2012, %


Сумма, млн. руб

% к итогу

Сумма, млн. руб

% к итогу



1. Расходы на оплату труда в составе себестоимости (затрат на производство)

20680,82

72,6

23045,74

72,8

+0,2

111,4

2. Выплаты за счет прибыли, остающейся в распоряжении предприятия

7813,07

27,4

8594,38

27,2

-0,2

110

Итого ФЗП

28493,89

100

31640,12

100

0

111,04


Для анализа динамики ФЗП также определяется:

.темп изменения ФЗП:

Тизм(%) = ФЗП2012 / ФЗП2011 х 100                                           (2.8)

Тизм(%) = 31640,12 / 28493,89 х 100 = 111,04%

.относительное изменение ФЗП (прирост или снижение):

∆ФЗПотн(%) = ∆ФЗПабс / ∆ФЗП2011                                           (2.9)

∆ФЗПотн(%) = Тизм(%) - 100                                                         (2.10)

∆ФЗПотн(%) = Тизм(%) - 100=114,04 - 100 = 14,04%.

На основании данных, приведенных в таблице 2.10, можно сделать вывод, что в отчетном 2012 году структура ФЗП организации была на 72,8% представлена расходами на оплату труда в составе себестоимости и на 0,2% выплатами за счет прибыли, остающейся в распоряжении предприятия. Имело место незначительное отклонение в удельном весе расходов на оплату труда в составе себестоимости - на 0,2% пункта и, соответственно, по выплатам за счет прибыли - на -0,2% пункта по сравнению с 2012 годом.

В ходе анализа выявлены основные недостатки применения системы тарифных сеток на предприятии Полоцкие электрические сети:

1.   При массовом увеличении окладов, тарифная сетка с применением минимальной месячной тарифной ставки (оклада) дает непропорциональное увеличение заработных плат для персонала с различными тарифными коэффициентами.

2.      Оценивает состав работ различных категорий профессий в соответствии с Единым тарифно-квалификационном справочником, что зачастую не соответствует фактическому составу работ.

.        Расчет вознаграждения осуществляется только по базовой заработной плате (оклад, тариф).

Обобщая вышеизложенное, можно отметить, что в настоящее время размер заработной платы на предприятии соответствует условиям «удовлетворительной оплаты труда» и обеспечивает выполнение зарплатой воспроизводственной функции.

3. НАПРАВЛЕНИЯ СОВЕРШЕНСТВОВАНИЯ ОРГАНИЗАЦИИ ОПЛАТЫ ТРУДА В ПОЛОЦКИХ ЭЛЕКТРИЧЕСКИХ СЕТЯХ

3.1 Мероприятия по совершенствованию организации труда

 

На сегодняшний день система грейдов - это наилучшая и единственно оправданная система начисления должностных окладов на основе балльно-факторного метода и матрично-математических моделей. Автором этой методики является американский ученый Эдвард Хей. Поэтому часто в шутку ее называют «зарплатомер по Хею».

Грейдинг (от англ. grading) - классификация, сортировка, упорядочивание. Грейдирование - это позиционирование должностей, то есть распределение их в иерархической структуре предприятия в соответствии с ценностью данной позиции для предприятия.

Очень трудно найти такой универсальный метод оплаты труда, который учитывал бы интересы и работодателя, и сотрудника. Предприятие всегда старается платить с учетом своих целей, но ровно столько, чтобы работник не уходил, а последний в свою очередь стремится получать как можно больше. Именно система грейдов позволяет «увязать» оплату труда и логику бизнеса, а также развязать узел проблем, связанных с мотивацией персонала.

Внедрение этой системы оплаты труда делает предприятие конкурентоспособным на внутреннем и внешнем рынках, поскольку повышается «прозрачность» компании для инвесторов и, соответственно, увеличивается капитализация. Тарифно-разрядная сетка, и грейды представляют собой иерархическую структуру должностей, где оклады выстроены по нарастающему принципу. Но имеются и существенные отличия (таблица 3.1).

Таблица 3.1 - Отличия между тарифной системой и грейдами

Тарифные системы

Системы грейдов

Построены на основе оценки профессиональных знаний, навыков и стажа работы

Предусматривает более широкую линейку критериев, включающую такие показатели оценки должности, как: - управление; - коммуникации; - ответственность; - сложность работы; - самостоятельность; - цена ошибки и другие

Должности выстраиваются по нарастающему принципу

Грейдинг допускает пересечение частей двух близлежащих грейдов. В результате этого рабочий или мастер низшего грейда благодаря своему профессионализму может иметь более высокий должностной оклад, чем, например, специалист по охране труда, находящийся в грейде рядом стоящего высшего порядка

Иерархическая структура тарифной сетки основана на минимальной зарплате, умноженной на коэффициенты (межразрядные, межотраслевые, междолжностные и межквалификационные)

Структура грейдов построена только на весе должности, которая просчитывается в баллах

Все должности выстраиваются по строгому нарастанию вертикали (от рабочего до управленца)

Должности размещаются только по принципу важности для компании


Внедрение системы грейдов на предприятии происходит в несколько этапов, а именно:

1.     Подготовка рабочей группы, изучение методики.

2.      Разработка документации (концепция, положение и другие).

.        Оценка должностей (анкетирование, интервьюирование, беседа).

.        Определение требований к должностям, уточнение факторов.

.        Распределение факторов по уровням (ранжирование).

.        Оценка каждого уровня.

.        Оценка веса фактора.

.        Расчеты количества баллов для каждой должности.

.        Распределение баллов по грейдам.

.        Установление должностных окладов и расчет вилок окладов.

.        Воспроизведение графика и анализ результатов.

Поскольку пункты 1-3 - это подготовительные, очень объемные в описании этапы, то в данной публикации они рассматриваться не будут. Желательно, чтобы на этих этапах внедрения системы грейдов помогал обученный внутренний эксперт или внешний консультант. Это позволит избежать ошибок в дальнейшем.

Практика показала, что система грейдов имеет следующие преимущества:

1.     помогает управлять фондом оплаты труда (ФОТ) и делает систему начисления зарплаты гибкой;

2.      повышает эффективность ФОТ от 10 до 30%;

.        упорядочивает дисбаланс зарплаты на предприятии. Когда принцип начисления зарплаты становится прозрачным, то сразу отпадают ленивые и бесполезные сотрудники, которые привыкли только выбивать надбавки. В то же время автоматически повышается базовый оклад тех, кто реально играет важную роль для предприятия;

.        позволяет, при необходимости, быстро проводить анализ структуры как должностных окладов, так и постоянной части зарплат, а также отслеживать их динамику;

.        является удобным инструментом для определения размера базового оклада новой должности;

.        позволяет отслеживать уровни и подразделения, где имеются несоответствия в начислениях зарплаты;

.        позволяет сравнить уровни выплат своей компании с выплатами других в одном сегменте рынка или же в пределах концерна;

.        позволяет соотносить среднюю заработную плату любой должности в своей компании со среднерыночными;

.        позволяет устранить существенную неэффективность работы, так как выявляет дублирование функций, неумелое руководство линейных менеджеров своими подчиненными;

.        решает проблему начисления доплат за работу, выполненную по стандартам, которые являются ниже или выше должностных;

.        облегчает процесс индексирования зарплат;

.        позволяет определить, в какую сумму обходится предприятию должность любого уровня;

.        является эффективным способом интеграции разнокалиберных подразделений холдинга в единую структуру;

.        оптимизирует расстановку трудовых ресурсов.

Исходными данными для формирования структуры грейдов являются:

1.     Утвержденный перечень типовых рабочих мест, описание и оценка которых проведены на предшествующем этапе.

2.      Данные о размере заработной платы для типовых рабочих мест.

.        Данные о размере заработной платы формируются на основании действующего в ОДС штатного расписания и других нормативно-регламентных документов системы оплаты труда.

Также необходимы следующие данные по заработной плате для каждого типового рабочего места:

1)    минимальный размер заработной платы, установленный в соответствии с действующей системой оплаты труда;

2)      максимальный размер заработной платы, установленный в соответствии с действующей системой оплаты труда.

3.2 Разработка методики формирования системы грейдов


Предприятие РУП «Витебскэнерго» представляет собой крупную, многоуровневую, многофункциональную компанию со сложной организационной структурой. Соответственно требуется система компенсаций, сочетающая в себе широкий диапазон значений заработной платы и одновременно четкое распределение по иерархическим уровням.

Система грейдов является практическим инструментом, который дает возможность оценить должности в организации и на их основании сформировать квалификационные группы.

Цель внедрения системы - сформулировать единые правила связи между квалификацией и должностным окладом сотрудников компании, повысить мотивацию сотрудников на повышение квалификации.

Внедрение грейдовой системы оценивания должностей и оплаты труда дает возможность решить следующие задачи:

определение относительной ценности существующих должностей с точки зрения стратегии предприятия;

оптимизация системы оплаты труда;

проведение оценивания работников относительно соответствия должностям, которые они занимают;

создание дополнительных условий для карьерного роста и т. д.

На основании качественного анализа данных о заработной плате осуществляется выбор размера заработной платы, который используется для построения грейдов. Список типовых рабочих мест, составленный на основании результатов этапа оценки, дополняется данными о заработной плате. Полученный список ранжируется по принципу убывания значений показателя размера заработной платы и разбивается на грейды в соответствии с принципами формирования системы грейдов.

Для того чтобы для каждой должности (профессии) определить грейд, следует:

. Выбрать критерии, по которым будет происходить оценка должностей (профессий) всех работников (для отбора критериев следует ответить на вопрос о том, что в деятельности сотрудников прямо или косвенно способствует увеличению прибыли субъекта хозяйствования). Отобранные критерии должны иметь ясные значения и не пересекаться друг с другом.

. Описать критерии по уровням.

На практике встречается применение шкалы уровней без расшифровки (только перечисляются возможные числовые значения). Однако, полагаем, что для повышения прозрачности и объективности процесса распределения работников по грейдам целесообразно составить описание уровней используемых критериев.

Таблица 3.2 - Критерий «Самостоятельность в принятии решений»

Уровень критерия

Описание уровня критерия

1

Работник выполняет стандартные повторяющиеся задания, принятия самостоятельных решений для выполнения возложенных задач не требуется

2

Работник выполняет различные задачи, требующие принятия самостоятельных решений после консультаций с непосредственным руководителем

3

Работник выполняет нетипичные задания различной степени сложности, самостоятельно принимает решения в рамках своих должностных обязанностей


. Оценить степень важности каждого критерия для конкретного нанимателя в баллах.

Таблица 3.3 - Критерии оценки

Критерии оценки должностей

Оценка (в баллах)

Управление работниками

30

Ответственность

25

Самостоятельность в принятии решений

20

Опыт работы

5

Сложность работы

20

Итого

100


. Разработать итоговую таблицу оценки, определяющей, какое количество баллов соответствует каждому уровню критерия оценки должности.

Таблица 3.4 - Уровни оценивания критериев оценки должностей

Критерии оценки должностей

Уровень оценивания


1-й

2-й

3-й

Управление сотрудниками

0

15

30

Ответственность

0

12

25

Самостоятельность в принятии решений

0

10

20

Опыт работы

0

2

5

Сложность работы

0

10

20


. Провести оценку должностей (профессий) с использованием итоговой таблицы оценки.

Таблица 3.5 - Суммарная оценка должностей в баллах по критериям оценки должностей

Должность

Оценка по критериям оценки должностей

Сумма баллов


1

2

3

4

5


Начальник службы ОДС

30

25

20

5

20

100

Заместитель начальника службы ОДС

15

25

20

5

20

85

Диспетчер предприятия

15

25

10

5

10

65

Инженер по расчетам

15

12

10

5

10

42

Электромонтер выездной группы

0

12

0

5

10

37

Водитель

0

0

0

5

10

15


. В зависимости от полученного количества баллов отнести конкретную профессию (должность) к определенному грейду.

Таблица 3.6 - Распределение должностей по грейдам

Номер грейда

Количество баллов

Должности, которые вошли в этот грейд

Грейд 5

90 - 100

Начальник службы ОДС

Грейд 4

84 - 91

Заместитель начальника службы ОДС

Грейд 3

42 - 83

Диспетчер предприятия, инженер по расчетам

Грейд 2

32 - 41

Электромонтер выездной группы

Грейд 1

0 - 31

Водитель


. Для каждого грейда устанавливается диапазон должностных окладов (минимальный и максимальный).

Таблица 3.7 - Диапазоны окладов

Номер  грейда

Должности, которые вошли в этот грейд

Диапазоны окладов, руб.

Грейд 5

Начальник службы ОДС

5000000-5500000

Грейд 4

Заместитель начальника службы ОДС

4000000-4900000

Грейд 3

Диспетчер предприятия, инженер по расчетам

4000000-4200000

Грейд 2

Электромонтер выездной группы

2800000-3800000

Грейд 1

Водитель

2500000-2700000


. Устанавливается размер оплаты труда конкретного работника в пределах диапазона окладов грейда, к которому относится профессия (должность) работника.

Таблица 3.8 - Оклады, определенные на основании грейдов

Должность

Оклад, руб.

Начальник службы ОДС

5100000

Заместитель начальника службы ОДС

4700000

Инженер по расчетам

3570000

Диспетчер предприятия

4020000

Электромонтер выездной группы

2900000

Водитель

2600000


В таблице 3.9 приведены различные уровни знаний в соответствии со спецификой деятельности Полоцкие электрические сети.

Расчет баллов по фактору «Знание».

При расчете конкретных значений баллов использовалось базовое положение метода Хея о том, что различия между уровнями субфакторов являются значимым при шаге равном 15 %. Если значение баллов для комбинации А1 = 100 баллам, то для комбинации А2 = 100 + 15% = 115 и т.д.

Таблица 3.9 - Уровни знаний

Уровень

Характеристика

А

Опытен в применении процедур и методик выполнения работы, которые точно определены и выполняются последовательно; возможно знание специализированных средств (ПК); может выполнять простейшие административные функции по обеспечению деятельности

В

Применяет специализированные навыки для выполнения работы. Навыки могут быть приобретены как посредством профессионального обучения, так и получены за счет значительного опыта выполнения работ. Хорошо знает практические процедуры и специализированные средства и системы.

С

Требуется понимание и применение основ теоретических и практических знаний, обычно получаемых путем учебной подготовки + объем предметных знаний, полученных практическим путем. Работы на данном уровне требуют специализированных знаний. На данном уровне важно понимать «почему» надо делать тем или иным образом в дополнение к «что» и «как» надо делать.

D

Работы на данном уровне требуют практического применения предметных знаний в широком диапазоне ситуаций. Рабочие места данного уровня требуют профессиональной сформированности навыков, при котором теоретические знания дополнены реальным опытом или дополнены за счет профессионального обучения.

E

Рабочие места данного уровня исключительно требуют высокой профессиональной и практической подготовки, требуется отличное владение теорией, принципами и методиками работы в своей области.


Оценка по субфактору «Коммуникативные навыки» представлена в таблице 3.10.

Таблица 3.10 - Коммуникативные навыки

Уровень

Характеристика

1

Работа на этом уровне предполагает взаимодействие для получения и предоставления информации. Требование к данным навыкам включают специализированную терминологию, способность донести необходимую информацию до объекта её получения

2

Работа на данном уровне предполагает частое влияние на решения людей; изменения мнения или окружающей ситуации методом убеждения; а также внимания к чужой точке зрения; четкое доведение в понятной форме специфической информации до людей, не сведущих в данной области.

3

Высший уровень навыка взаимодействия. Требуется для должностей, которые имеют значительное влияние на людей как внутри организации, так и вне её. Должность требует хорошо развитого понимания механизмов поведения людей и тех факторов, которые вызывают изменения в поведении людей. Также требуется умение решать и предотвращать конфликтные ситуации


Данные навыки необходимы для непосредственного межличностного взаимодействия с коллегами, командами, клиентами, членами семьи, общественностью, учитывая изменение уровня ответственности как внутри организации, так и с другими организациями.

Таблица «Знания» также показывает какие комбинации двух субфакторов возможны, маловероятны и невероятны. Маловероятные оценки указаны в связи с тем, что опыт оценивания рабочих мест и результаты проведенного исследования, показали наличие маловероятных и практически невероятные комбинаций между двумя субфакторами. Это подтверждает, что определенный уровень «Профессиональных знаний» необходим для успешного выполнения некоторых уровней и «Межличностного взаимодействия». Например, маловероятно, что при низком уровне «Профессиональных знаний» требуется 2 или 3 уровень «Межличностного взаимодействия»

Распределение баллов представлено в таблице 3.11.

Таблица 3.11 - Распределение баллов


Коммуникативные навыки


1

2

3

Профессиональные знания

А

87

100

115



100

115

132



115

132

152


В

115

132

152



132

152

172



152

175

200


С

152

175

200



175

230



200

230

264


D

200

230

264



230

264

304



264

304

350


Е

264

304

350



304

350

400



350

400

460


Фактор «Творческий потенциал»

Творческий потенциал - это мера оптимального, креативного мышления, с помощью которого человек может достигать высоких результатов работы. Творческий потенциал показывает уровень самостоятельности мышления, его независимости от принятых правил и стандартов.

Творческий потенциал необходимо применять в тех случаях, когда нет однозначных правил принятия решений, например при выполнении следующих задач:

анализ ситуации;

оценивание беседы с клиентом;

осмысление;

выводы и т.д.

Творческий потенциал, в основном, необходимо применять при решении следующих проблем, соответствующих деятельности Полоцкие электрические сети, характер которых:

технический;

ориентированный на программы;

исследовательский;

административный.

Фактор Творческий потенциал/Решение проблем имеет дело с использованием факторов Знания при классификации окружающей среды от строго контролируемой к неструктурированной. Творческий потенциал отражает строгие взаимоотношения между «мышлением, зависящим от окружающей среды» и «мышлением, меняющим окружающую среду». Когда мышление ограничено стандартами, охвачено прецедентами или ссылками на других, Творческий потенциал уменьшается. Творческий потенциал измеряется интенсивностью, с которой используются Знания: «Вы думаете тем, что вы знаете». Поэтому Творческий потенциал оценивается, как процент использования Знаний.

Творческий потенциал измеряется интенсивностью, с которой используются знания и оценивается как процент использования знаний.

Оценки уровней могут располагаться в диапазоне от 22% до 57%. От уровня к уровню оценка увеличивается с шагом 15% от предыдущего значения. Например: если первое значение 22%, то следующее будет 22+(22/100*15)=22+3,3=25,3. При этом значения процентов округляются, соответственно в таблице следующий уровень имеет значение 25%.

Каждая оценка отражает значимое различие в Творческом потенциале. Когда в ходе оценивания трудно принять решение между двумя уровнями данного фактора, то следует определить профиль по фактору Ответственность. Если рабочее место имеет профиль С, то следует выбрать высший из двух возможных баллов. Если работа соответствует профилю R, то надо выбрать низшее из двух значений. Это показывает значительную роль субфактора «Творческий потенциал» в работах С-профиля. Оценка факторов «Творческий потенциал» представлена в таблице 3.12.

Таблица 3.12 - Оценка фактора «Творческий потенциал»

Уровень

Характеристика

22 %

- ситуации в большинстве случаев известны - процедуры проводятся по известному сценарию - решения находятся быстро и основаны на рабочих знаниях

25 %

- проблемы и решения стандартизированы - процедуры проводятся в соответствии с установленными принципами и в соответствии с текущей ситуацией - проблемы и задачи могут решаться несколькими процедурами; большая самостоятельность решений от ситуации

29 %

- изменение рабочих приоритетов - ситуации требуют расширения известных процедур - обеспечен доступ к помощи со стороны высшего руководства

33 %

- решения и принципы известны - разнообразные ситуации влияют на использование различных профессиональных и технических принципов - решения находятся в пределах собственных знаний и опыта

38 %

- проблемы известны, решения неизвестны - широта работы с заданными принципами и целями - разработка новых процедур принятия решений - определение и анализ альтернативных путей работы

43 %

- требуется аналитическое мышление - общая цель известна, но работник достигает её уникальным способом. -проблемы неизвестны и требуют выделения из области задач - подразумевается возможность быстрых решений.

50 %

- проблемы и решения должны быть выделены из области задач - используются широко определенные политики и специфические цели для оценивания и подготовки решений по изменяющимся ситуациям - определение проблемы в соответствии с целями организации - проблемы часто имеют стратегическое значение

57 %

- работа заключается в решении существенных проблем в деятельности компании - применяется полтика оценивания и подготовки решений по изменяющимся ситуациям в деятельности компании - используется стратегическое мышление в управлении деятельностью компании


Между общим уровнем по фактору «Знания» и процентному фактору «Творческий потенциал» имеется значительная взаимосвязь. Чем выше творческий потенциал, тем ожидается более высокий уровень знаний. И наоборот, высокий уровень знаний предполагает высокий творческий потенциал. Отношение между факторами и расчет уровня творческого мышления в различных комбинациях показывает таблица 3.13:

менее вероятный на низкой стороне,

наиболее вероятный,

менее вероятный на высокой стороне.

Так как творческий потенциал рассчитывается определением процента от уровня использования знаний, то если знания 100, а творческий потенциал 22 %, то значение творческого потенциала равно 22.

Таблица 3.13 - Распределение баллов

Уровень знаний

Уровень творческого потенциала


Менее вероятный Мало

Наиболее вероятно

Менее вероятный Много

Балл

%

Балл

%

Балл

%

Балл

%

Балл

87

16

14

19

16

22

19

25

22

100

16

16

19

19

22

22

25

25

115

19

22

22

25

25

29

29

33

132

22

29

25

33

29

38

33

43

152

22

33

25

38

29

43

33

50

175

25

43

29

50

33

57

38

66

200

25

50

29

57

33

66

38

76

230

29

66

33

76

38

87

43

100

264

29

76

33

87

38

100

43

115

304

33

100

38

115

43

132

50

152

350

38

132

43

152

50

175

57

200

400

38

152

43

175

50

200

57

230

460

43

200

50

230

57

264

66

304

528

43

230

50

264

57

304

66

350

608

50

304

57

350

66

400

76

460


Фактор «Ответственность»

При оценке фактора «Ответственность» используется следующий принцип: Оценка работы наиболее точна, когда оценщик может сделать шаг назад и рассмотреть работу в целом.

Поэтому на завершающем этапе оценки рассматривают объем работы, выполняемой на оцениваемом рабочем месте, отвечая на вопрос: Почему и где она существует в организации? Ответственность - это степень, с которой рабочее место имеет прямое влияние на конечные результаты, с учетом важности этих результатов для организации. Поэтому при оценке Ответственности необходимо Рассматривать ее в соотношении с Творческим потенциалом или делать оценку Профиля Рабочего места, который отражает различия между аспектами работы и соотношение между Творческим потенциалом и Ответственностью.

Профиль рабочего места.

Профиль рабочего места говорит нам о характере работы и используется для определения точек ответственности. В организации можно выделить три типичные разновидности работы: исследование и разработка рекомендаций (творческий потенциал), получение конкретных результатов и координация совокупности работ (ответственность), а также баланс между этими двумя видами. Факторы «Ответственность» и «Творческий потенциал» располагаются по шкале от 0 до 3 с шагом 1. Характеристика профилей представлена в таблице 3.14.

Таблица 3.14 - Характеристика профилей

Профиль

Различие шагов

Описание

R3

+3

Координация. Отвечает за конечный результат выполнения программ в русле основных бизнес-решений. В других случаях реализует политику компании.

R2

+2

Регулирование. Уполномочен принимать окончательные решения в своей области ответственности в рамках политики компании и законодательства.

R1

+1

Процесс. В первую очередь поставка программы/обслуживания. Может быть вовлечен в разработку/анализ.

B

0

Консультирование. Деятельность сбалансирована между разработкой и внедрением.

C1

-1

Анализ. Концентрируется на анализе и/или разработке программы.

C2

-2

Прикладные исследования. Как правило, анализ и результаты прикладных исследований.

C3

-3

Проводит оригинальные исследования

Проблема соответствия между «Творческим потенциалом» и «Ответственностью» С-профиль означает высокую долю Творческого потенциала и малую долю Ответственности. R-профиль означает работу обычно менее творческую, но более ответственную. И, наконец, рабочее место может иметь баланс между «Ответственностью» и «Творческим потенциалом».

Однако профиль сам по себе не определяет итоговую ценность рабочего места.

Например, работа по научным исследованиям на высоком профессиональном уровне может иметь профиль С3 и более высокую ценность, чем управленческая работа с профилем ответственности R3, но на низком профессиональном уровне.

Оценка ответственности проясняет причины того, почему рабочее место существует в организации.

Как правило, рабочие места в Полоцкие электрические сети, выполняющие обеспечивающие функции (администрация, финансы, персонал), которые отвечают за развитие и внедрение систем или процессов получают оценки из среднего диапазона (С1, В или R1), в зависимости от наиболее значимой части работы. Естественно, что этими тремя центральными оценками ответственность рабочих мест обеспечивающих подразделений не ограничивается.

Оценки рабочих мест могут изменяться от отдела к отделу часто вследствие организационной структуры/модели, используемой для реализации различных программ.

Например, сотрудник отдела охраны труда и здоровья, отвечающий за непосредственную реализацию программы охраны труда, получит оценку R1. В то время как другой сотрудник ответственный за развитие и внедрение новой программы страхования здоровья получит более низкую оценку B. Хотя на самом деле его работа является более сложной, требует более высокой квалификации и усилий и должна получить больший балл. В данном случае второй сотрудник явно должен получить более высокие оценки по фактору Творческий потенциал или субфакторам Знания.

Для таблицы оценки уровня по фактору «Ответственность» (разница между шкалой Ответственность и Творческий потенциал), мы определяем уровни работы, которые имеют больше Ответственности, (R-профиль) и работы, которые имеют больший Творческий потенциал (C-профиль).

В бальном соотношении каждое значение отличается от предыдущего на 15 % и получается шкала значений, приведенная в таблице 3.15.

Таблица 3.15 - Шкала значение для фактора «Профиль»


Творческий потенциал выше, чем ответственность

Баланс

Ответственность выше, чем творческий потенциал

Шаги оценок

C3

C2

C1

0

R1

R2

R3

% разницы

-52%

-32%

-15%

0%

+15%

+32%

+52%


Обобщим полученные результаты для должностей в таблице 3.16.

Таблица 3.16 - Результаты оценки должностей

Должность

Знания

Творческий потенциал

Итоговый балл


Профессиональные

Коммуникативные

Балл

%

Балл


Начальник ОДС

С D

3 3

200-230 264

33 38

66 100

299-329 402

Заместитель начальника ОДС

С

3

175-200

29

50-57

254-289

Диспетчер

Б С

2 3

132-152 152-175

25 29

50 33-50

207-227 214-254

Электромонтер, водитель

А Б

1 2

87-115 100-132

19 25

25 33

131-159 158-190

Таким образом, грейдинговая система, предложенная для разработки новой оплаты труда в Полоцких электрических сетях, предполагает интервальную систему в каждой отдельно взятой группе.

Например, суммарное значение баллов должности «менеджер активных продаж» предусматривает «нижняя граница» для сотрудников, вновь прибывших в организацию и не имеющих опыта большого опыта работы, профессиональных навыков и соответствующего образования. Верхняя граница, как и промежуточные значения, предусматривает овладение профессиональными навыками, опыт работы в аналогичной должности, уровень обучения (учебные заведения, повышение квалификации) и т.д.

3.3    Оценка экономической эффективности проекта

Принимая во внимание рекомендации и предложенные мероприятия по усовершенствованию системы оплаты труда в Полоцких электрических сетях необходимо оценить экономическую эффективность проекта.

Экономическую эффективность проекта оценим с точки зрения:

) социальная эффективность;

) экономическая эффективность.

Оценка социальной эффективности представлена в таблице 3.17.

Таблица 3.17 - Оценка социальной эффективности проекта методом экспертных оценок

Направление оценки эффективности

Основные критерии оценки эффективности

Оценка эффективности в баллах (0 - 1)

Достижение цели

Степень достижения цели Сохранение организации как целостности Получение прибыли

1.0 0.8 1.0

Качество функционирования

Соотношение централизации и децентрализации Соподчинение дерева целей и уровней иерархии Эффективность текущей обработанной информации Скорость и точность выделения информации по специальным запросам Надежность информации Своевременность информации Наличие необходимой информации

0.8 0.8 1.0 1.0  1.0 1.0 1.0

Экономичность

Затраты на подготовку управляющих Затраты на консультирование управляющих Эффективность управленческих решений Точность управленческих решений Надежность управленческих решений Быстрота подготовки управленческих решений Последовательность принятия управленческих решений

0.5 0.5 0.9 1.0 1.0 1.0 1.0

Изменение в качестве рабочей силы

Гибкость в системе продвижения по службе Полномочия работников и их ответственность Степень удовлетворения выполненной работой

0.6 0.9 1.0

Внешние и внутренние социально-экономические условия

Способность СТЭП - факторного анализа Наличие обоснованных целей

0.9 1.0


ИТОГО:

19.7


Как показывают результаты экспертных оценок, социально-экономическая эффективность проекта достаточно велика.

Оценку экономической эффективность проекта проведем путем расчета потерь организации, вызванных текучестью кадров.

Излишняя текучесть персонала, по данным западных психологических исследований, отрицательно сказывается на моральном состоянии оставшихся работников, на их трудовой мотивации и преданности организации. С уходом сотрудников разваливаются сложившиеся связи в трудовом коллективе, и текучесть может приобрести лавинообразный характер.

Для определения величины экономического ущерба от текучести кадров в «Полоцких электрических сетях» были использованы следующие методы оценки:

. Потери, обусловленные необходимостью обучения и переобучения новых работников, исчисляются как произведение затрат на обучение, доли текучести в общем числе выбывших, деленное на коэффициент изменения численности работников в отчетном году по сравнению с базовым:

По = Зо х Ди х Ки                                                                           (3.1)

где По - потери, вызванные необходимостью обучения и переобучения сотрудников;

Зо - затраты на обучение и переобучение;

Ди - доля излишнего оборота, текучести;

Структура затрат на персонал в Полоцкие электрические сети представлена в таблице 3.18.

Таблица 3.18 - Структура затрат на персонал в Полоцкие электрические сети

Направление затрат

Уд. вес в общей сумме затрат, %

Затраты Из них:

100,0

Заработная плата - всего В том числе:

64,9

оплата за отработанное время

58,2

оплата за неотработанное время

5,9

единовременные поощрительные выплаты

0,8

оплата стоимости питания

-

Расходы на жилье

-

Расходы на социальную защиту, всего

31,3

в том числе обязательные отчисления

24,9

Расходы на обучение и переобучение

0,4

Расходы на культурно-бытовые обслуживание

1,5

Прочие расходы

1,9


Среднегодовые затраты на персонал в Полоцкие электрические сети в 2012 году составили 3268 млн. руб.

Затраты на обучение и переобучение = 3268 х 0,4 = 1307,2 млн.руб. за 2012 год.

По = 1307,2 х 12 х 1,22 = 19,137 млн.руб.

. Затраты по проведению набора персонала в результате текучести Зорг определяется как произведение затрат на набор и доли текучести в общем числе уволившихся, деленное на коэффициент изменения численности работников:

Зорг = (Зн х Дт ) / Кизм                                                                  (3.2)

где Зн - затраты на набор (75 млн.руб. - усредненный показатель общих затрат на отбор персонала в действующих ценах);

Кизм - коэффициент изменения численности работников, равный отношению численности на конец периода к численности на начало периода;

Дт - доля текучести.

Зорг = (75 х 1,22) / 1,3 = 0,07 млн.руб.

Общая величина потерь, экономического ущерба, вызванного текучестью персонала равна сумме всех частных потерь.об = 19,137 + 0,07 = 19,207 млн.руб.

Социально-экономическая эффективность внедрения проекта объясняется:

) подбором сотрудников соответствующего профессионального и социально-психологического уровня;

) сокращением текучести кадров, которая вызвана увольнением сотрудников в связи с профессиональным несоответствием с занимаемой должностью или отсутствием интереса к выполняемой работе;

) повышением качества работы работников Полоцкие электрические сети;

) снижением затрат на поиск, отбор, найм и обучение персонала;

) снижением затрат на качество предоставляемых работ и услуг;

) повышением дисциплины на предприятии;

) улучшению социально-психологического климата.

Основными общими показателями экономической эффективности мероприятий, определяющими целесообразность их внедрения, являются: рост экономической эффективности и годовой экономический эффект, то есть экономия приведенных затрат.

Годовой экономический эффект (Эг) (экономия приведенных затрат, в рублях) рассчитывается по формуле:

Эг = ( С1 - С2) х В2 - Ен х Зед                                                       (3.3)

где С1 и С2 - себестоимость работ (услуг) до и после внедрения мероприятий (текущие затраты);

В2 - годовой объем работ (услуг) после внедрения мероприятий, в натуральном выражении;

Ен - нормативный коэффициент сравнительной экономической эффективности (величина, обратная нормативному сроку окупаемости);

Зед - единовременные затраты, связанные с разработкой и внедрением мероприятий.

Нормативный коэффициент сравнительной экономической эффективности (Ен) для мероприятий по улучшению отбора и найма персонала устанавливается 0,4. При коэффициенте, равном 1 отбор и найм персонала короткий и простой. Чем ниже значение коэффициента, тем больше гарантия, что организация наймет на работу соответствующих ее критериям работников.

Себестоимость одной услуги по управленческой деятельности до внедрения мероприятий - 2181 млн.руб.

Себестоимость данной услуги после проведенных мероприятий - 2100 млн.руб.

Эг = (2 181 - 2 100) х 25500 - 0,4 х 12331 = 3377,3 млн.руб.

Таким образом, ожидаемая экономическая эффективность от внедрения мероприятий составляет 3377,3 млн.руб.

Обобщим проведенную оценку социально-экономической эффективности проекта в таблице 3.19.

Таблица 3.19 - Социально-экономическая эффективность проекта внедрения грейдинговой системы оплаты труда в Полоцкие электрические сети

Мероприятия

Социальная эффективность

Экономическая эффективность

Внедрение в организацию грейдинговой системы оплаты труда

Улучшатся результаты работы всего предприятия. Повышается заинтересованность работника в результатах своего труда. Способствует повышению уровня профессиональной и управленческой компетенции.

Снижение текучести кадров. Увеличение прибыли. Сокращение затрат на привлечение новых работников


Таким образом, система грейдов будет способствовать созданию ясной и прозрачной методики, позволяющей определить взаимосвязь возможного уровня дохода работника, занимающего ту или иную должность, с относительной ценностью данной позиции среди существующих в ОДС Полоцкие электрические сети. Работники также будут иметь представление о критериях изменения их уровня доходов при различных карьерных передвижениях.

На сегодняшний день в ОДС используется повременная система оплаты труда для членов бригады и оплата по должностным окладам руководящего звена сетей.

Применение системы грейдинга в ОДС имеет место быть. Там, где много людей, там много и характеров, различия в стремлениях и целях каждого в отдельности. Для организации грамотной работы каждого сотрудника начальник службы ОДС должен управлять с целиковым коллективом, и знать о персональных потребностях подчиненных.

Система грейдинга обращена к управлению персоналом в ОДС. Суть ее заключается в том, что относительно планируемой деятельности опытный специалист по кадрам изначально создает разрядную сетку, в которой каждой позиции в ОДС предъявляются определенные требования по компетенциям, возможные послабления, и вероятные вознаграждения. Также определяются размеры окладов для сотрудников, имеющих те или иные разряды в своем профиле и размеры премий/штрафов.

Затем, при поступлении новых сотрудников в ОДС работник отдела кадров проводит оценку каждого по установленной шкале, устанавливая каждому свой уровень. В процессе работы, возможно, проводится обучение работников, например, на курсах повышения квалификации, затем аттестация, оценка внешних факторов (брак, неявки на работу, прогул и т.д.), и при необходимости всегда можно перевести человека в новый разряд и изменить его оплату труда.

Данная система очень гибкая, но требует тщательной настройки, профессиональной оценки сотрудников, и очень хорошо подходит для ОДС при умелом использовании.

С введением новой системы оплаты труда системы руководству Полоцкие электрические сети будет значительно проще принимать решения относительно индексации заработной платы, а службе управления персоналом будет легче администрировать корпоративную систему материального стимулирования. Создав эффективную систему грейдов, ОДС должен получить инструмент влияния на персонал: на оклады, премии и социальный пакет.

Заключение


Переход к рыночной экономике обусловил новые подходы к организации оплаты труда. Происходит становление новых по содержанию регуляторов заработной платы, меняются функции основных экономических субъектов в решении вопросов по ее определению.

Система оплаты труда - метод, способ определения заработной платы. При этом заработная плата понимается как форма проявления отношений между работником, работодателем, профсоюзом и государством при определении доли созданной и реализованной стоимости, обеспечивающей воспроизводство и развитие членов общества.

Каждый работающий по найму получает некоторую сумму денежных средств, как всеобщего товарного эквивалента. В некоторых случаях происходит натуральная оплата труда, когда реализация продукции переносится на самого работника. Это доход работника, который он стремится максимизировать.

Для работодателя же заработная плата относится к издержкам производства, которые он, естественно, стремится минимизировать. Что касается общества в целом, то здесь заработная плата выступает довольно существенным компонентом совокупного спроса. Она тесно связана с ценами на потребительские товары и услуги, которые позволяют судить об уровне номинальной и реальной заработной платы.

Формирование и реализация системы оплаты труда - это процесс, в котором приходится решать проблемы выбора, внедрения, действия и влияния. Прежде всего, следует определить различия между системой, структурой и уровнем оплаты труда. Эти понятия часто тесно связаны, но с точки зрения анализа различны. Структура оплаты или классификации - это рациональная систематизация, упорядочение видов деятельности, часто осуществляемое на основе оценки трудовой деятельности и обычно отражающее различные роли (должностные функции) и их вклад в деятельность организации. Уровень оплаты труда определяет получаемую сотрудником сумму или ставку и формируется обычно посредством комбинированного применения системы и структуры оплаты труда.

В рамках данной дипломной работы был проведен анализ системы оплаты труда филиала РУП «Витебскэнерго» - предприятия Полоцкие электрические сети. В результате исследования были выявлены следующие проблемы:

1.   При реализации системы оплаты труда, базирующейся на единой тарифно-квалификационной сетке, которая определяет соотношение заработной платы работников в зависимости от их квалификации и сложности выполняемых работ, сложно определить критерии, являющиеся основой для установления тарифного коэффициента для специалистов Полоцкие электрические сети.

2.   Квартальная премия в большей степени ориентирована на административно-управленческий и производственный персонал и не учитывает интересов сотрудников, участвующих в процессе технической поддержки объектов.

Предлагаемая система оплаты труда - система грейдов, поможет оценить значимость для компании каждого рабочего места по широкому спектру факторов. Кроме знания и опыта, в новой системе оплаты труда будут учитываться такие факторы, как масштаб управления и ответственности, цена ошибки, уровень коммуникации, физические нагрузки.

Прозрачная и понятная система определения уровня оплаты даст сотруднику предприятия возможность наглядно представить как изменится его доход при том или ином варианте развития карьеры.

Кроме того, переход к новой системе оплаты труда позволит упорядочить схему начисления заработной платы и премий на предприятии и создать эффективную систему мотивации и стимулирования труда персонала.

СПИСОК ИСПОЛЬЗОВАННЫХ ИСТОЧНИКОВ

1.      Закон Республики Беларусь «О бухгалтерском учете и отчетности» от 18 октября 1994г №3322-Х11 в редакции от 25 июня 2001г. № 42-3 Национальный реестр правовых актов Республики Беларусь. 2001, № 63. С. 215.

2.      Постановление Совета Министров Республики Беларусь от 27.04.2006 № 555 «О некоторых мерах по совершенствованию государственного регулирования оплаты труда» // Главный бухгалтер. - 2006. - № 19. - С.42-47.

. Постановление Министерства труда и социальной защиты от 27.03.2006 № 37 «Инструкция о порядке исчисления среднего заработка, сохраняемого в случаях, предусмотренных законодательством» Национальный реестр правовых актов Республики Беларусь. - 2006. - № 24 . - С. 115-119.

. Постановление Минтруда и Соцзащиты Республики Беларусь от 26.11.2004 № 134 «Методические рекомендации по установлению норм и нормативов для нормирования труда рабочих» Национальный реестр правовых актов Республики Беларусь. - 2004. - № 58 . - С. 98-102.

. Аврашков Л.Я. Экономика предприятия / Л.Я. Аврашков, В.В. Адамчук, О.В. Антонова. - М.: ЮНИТИ, 2000. - 455 с.

. Антикризисное управление предприятием / В.П. Ельсуков, В.С. Каменков, Б.М. Конанов, А.И. Мирониченко. Мн.: Аверсэв, 2008, 574 с.

. Бухгалтерский учет: Учебно-практическое пособие / Под ред. проф. Н.И. Ладутько. - Мн.: АУАинформ, 2006. 672 с.

. Бабук И.М. Экономика предприятия: Учебное пособие для студентов технических специальностей / И.М. Бабук. - Минск: «ИВЦ Минфина», 2006. - 327 с.

. Бухгалтерский учет: учебное пособие/ О.А. Левкович, И.Н.Бурцева.- 5-е издание, переработанное и дополненное. Мн.: Амалфея, 2007, 800 с.

. Гражданский кодекс Республики Беларусь. Мн., 2008, 608 с.

. Куликов А. Мотивация и производительность труда // Консультант директора. 2004. № 19. С. 22.

. Лебедева С.Н. Сущность заработной платы: ретроспективный анализ подходов. - Мн.: НИЭИ Госэкономплана Республики Беларусь, 2007. - 117с.

. Менеджмент: учебное пособие/ Брасс А.А. Мн., 2006, 348 с.

. Оплата труда: Сборник нормативных актов / Сост. Г.В. Прохорчик и др., Мн., Амалфея, 2009, 304 с.

. Организация заработной платы на основе единой тарифной сетки. Рекомендации по организации заработной платы. Новая редакция инструкции о порядке применения ЕТС. Изменения и дополнения в ЕТКС и ЕКСД. - Мн., 2007. - 412 с.

. Организация, нормирование и оплата труда: учебное пособие / Головачев А.С. и др. Мн., 2007, 603 с.

. Прокопович К.В. О социально-экономическом развитии Республики Беларусь в январе-июле 2009 года // Экономика. Финансовое управление, 2009, №9, 133 с.

. Трудовой кодекс Республики Беларусь. Принят Палатой представителей 8 июня 1998 года. Одобрен Советом Республики 30 июня 1999 года. - Мн.: Дикта, 2001. - 312 с.

Похожие работы на - Организация оплаты труда работников предприятия и пути ее совершенствования

 

Не нашли материал для своей работы?
Поможем написать уникальную работу
Без плагиата!
Без нейросетей!