Расчет электрической цепи
Министерство
транспорта Российской Федерации
Федеральное
агентство железнодорожного транспорта.
Государственное
образовательное учреждение высшего профессионального образования.
Омский
государственный университет путей сообщения (ОмГУПС).
КОНТРОЛЬНАЯ
РАБОТА
по
дисциплине
«Теоретические
основы электротехники»
Студент:
190901 - 10593
Першин
А. В.
Омск 2013 г.
Задание №1
Расчет линейной электрической цепи при
несинусоидальном входном напряжении
Схема 03
строка 9
Таблица №1
|
U0, В
|
Um, В
|
ω,
1/с
|
r1, Ом
|
r2, Ом
|
L1, мГн
|
C1, мкФ
|
L2, мГн
|
C2, мкФ
|
|
-15
|
95
|
5000
|
100
|
100
|
20
|
2
|
15
|
5
|
Рис.1
Разложим заданное напряжение в ряд
Фурье, ограничившись пятью гармониками.
Построим в одной системе координат
временные графики гармоник напряжения, суммарную кривую и заданное напряжение.
гармоники напряжения:
Рис.2
Определим действующее значение напряжения:
Сопротивление цепи постоянному току
(
)
Постоянная составляющая тока на
неразветвленном участке цепи:
Сопротивление цепи на частоте ω для первой
гармоники:
Комплексная амплитуда тока первой
гармоники на неразветвлённом участке цепи:
Ток первой гармоники на
неразветвленном участке цепи:
Аналогично произведем расчеты для
третьей и пятой гармоник. Результаты сведем в табл.2
Таблица 2
Ток третьей гармоники на неразветвленном участке
цепи:
Ток пятой гармоники на
неразветвленном участке цепи:
Ток на неразветвленном участке цепи:
Определим действующее значение
напряжения:
Активная мощность цепи:
где ß - начальная
фаза гармоники напряжения; α - начальная фаза гармоники тока
Реактивная мощность цепи:
Полная мощность цепи:
Построим токи гармоник и суммарную
кривую тока, полученную в результате графического сложения отдельных гармоник.
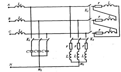
Задание № 2.
Расчет симметричной трёхфазной электрической
цепи
В соответствии с исходными данными, приведенными
в табл.1., выбрать симметричную трёхфазную электрическую цепь, найти токи в
линии, составить баланс мощностей, построить векторную диаграмму токов и
напряжений. Параметры элементов схемы замещения и значение приложенного
напряжения принять в соответствии с данными в табл.2.
Таблица 1
|
Последние
цифры шифра
|
Номер
рисунка
|
Положение
ключа
|
|
|
К1
|
К2
|
К3
|
|
03
|
2.13
|
З
|
З
|
Р
|
Таблица 2
|
Номер
предпоследней цифры шифра
|
Сопротивление
элементов схемы замещения, Ом.
|
|
|
|
   
|
|
|
|
|
|
9
|
220
|
4
|
12
|
12
|
9
|
36
|
Рис.1
электрический цепь
мощность сопротивление
Рис.2
Для симметричного источника,
соединенного звездой:
Для расчетной схемы:
Токи в фазах В и С получаются путем
умножения токов фазы А на соответствующие фазные множители:
Активная, реактивная и полная
мощности симметричной нагрузки независимо от соединения:
где
- сдвиг по фазе между фазным
напряжением и током.
Рассчитаем падения напряжения на
всех элементах схемы замещения фазы А:
Построим векторную диаграмму.
Выбираем масштаб по току и по напряжению:
Векторная диаграмма токов и
напряжений трёхфазной электрической цепи
Рис.3
Задание № 3.
Расчет несимметричной трёхфазной
электрической цепи
В трехфазной несимметричной цепи
найдём ток в ветвях при ЭДС фазы А
Номера расчетной схемы замещения и
положения ключей приведены в табл.1. Параметры элементов схемы замещения
принимаем в соответствии с данными табл.2.
Таблица 1
|
Последние
цифры шифра
|
Номер
рисунка
|
Положение
ключа
|
|
|
К1
|
К2
|
К3
|
|
03
|
3.4.a
|
P
|
P
|
Таблица 2
|
Номер
предпоследней цифры шифра
|
Сопротивление
элементов схемы замещения, Ом.
|
|
ХL1
|
R
|
XL
|
XC
|
|
9
|
2
|
8
|
24
|
20
|
Для симметричного источника,
соединенного звездой при ЭДС фазы А
ЭДС фаз В и С:
Напряжение смещения нейтрали:
Сопротивления фаз несимметричной
звезды:
Линейные токи:
Ток в нейтральном проводе:
Активная мощность цепи равна
суммарной мощности потерь в резисторах:
Реактивная мощность цепи:
Комплексная мощность источника:
Построим векторную диаграмму.
Выбираем масштаб по току и по напряжению:
Задание № 4
Расчет переходных процессов в цепях с одним
накопителем энергии.
В цепи с одним накопителем энергии размыкание
ключа происходит в момент t=0.
Определим в переходном режиме законы изменения токов и напряжений, если в цепи
действует источник:
1. постоянного тока.
· Установившийся режим до коммутации.
По полученным значениям далее
записываем:
· Дифференциальные уравнения,
описывающие токи и напряжения в момент времени t=0.
Решение этой системы для каждой
неизвестной представляется в форме:
· Принужденные составляющие находим из
установившегося режима, наступившем после переходного процесса.
По законам Кирхгофа запишем систему
алгебраических уравнений:
· Получим характеристическое уравнение
через входное сопротивление.
Входное комплексное сопротивление схемы для
послекоммутационного состояния
Так как характеристическое уравнение
имеет один корень, то свободные составляющие записываются в следующей форме:
· Определение постоянных. В результате
расчета, получим выражения для неизвестных:
Для определения неизвестных
постоянных А1, А2 определим начальные значения
По первому правилу коммутации
Окончательно, после подстановки:
Задание № 5
Расчет переходного процесса в цепи с
двумя накопителями энергии
Определим независимые и зависимые
начальные условия при наличии источников:
а) постоянных ЭДС(токов)
2. Установившийся режим до коммутации.
По полученным значениям далее
записываем:
3. Запишем систему алгебраических уравнений
для схемы при новом установившемся режиме с учетом правил коммутации:
б) синусоидальных ЭДС (токов)
1. Установившийся режим до коммутации.
Входное сопротивление цепи:
Комплексная амплитуда тока
Мгновенное значение тока на
индуктивности:
Комплексная амплитуда напряжения на
ёмкости:
В момент коммутации (при t=0-)
2. Запишем систему алгебраических уравнений
для схемы при новом установившемся режиме с учетом правил коммутации:
Найдем корни характеристического
уравнения.
Получим характеристическое уравнение
через входное сопротивление.
Входное комплексное сопротивление
схемы для послекоммутационного состояния
В этом случае имеет место колебательный
режим.