Проект автоматизации установки нагревания жидкости

  • Вид работы:
    Курсовая работа (т)
  • Предмет:
    Другое
  • Язык:
    Русский
    ,
    Формат файла:
    MS Word
    650,63 Кб
  • Опубликовано:
    2013-10-04
Вы можете узнать стоимость помощи в написании студенческой работы.
Помощь в написании работы, которую точно примут!

Проект автоматизации установки нагревания жидкости

Введение


Развитие промышленности, в том числе и химической, в данное время тесно связано с автоматизацией, позволяющей повысить производительность оборудования, снизить себестоимость продукции, улучшить ее качество и повысить прибыль от реализации.

Для того чтобы повысить выше перечисленные показатели, на производстве усовершенствуется старая, и вводится новая система автоматизированного управления. На рынке средств производства в данное время присутствует высокое разнообразие средств автоматизации технологических процессов, выпускаемых как отечественными, так и зарубежными производителями.

Задачи, которые ставятся перед специалистами, требуют не только глубокого знания технологических процессов, но и знания принципов составления автоматических систем, позволяющих управлять процессом наиболее эффективно, а также умение выбирать современные средства автоматизации.

1. Процесс ректификации

В качестве объекта управления при автоматизации процесса ректификации примем установку для разделения бинарной смеси, состоящей из тарельчатой ректификационной колонны выносного кипятильника, дефлегматора и теплообменника для подогрева исходной смеси (функциональная схема). Показателем эффективности его является состав целевого продукта. В зависимости от технологических особенностей в качестве целевого продукта могут выступать как дистиллят, так и кубовый остаток. Поддержание постоянного состава целевого продукта и будет являться целью управления. Состав другого продукта при этом может колебаться в определенных пределах вследствие изменения состава исходной смеси.

Ректификационная установка является сложным объектом управления со значительным временем запаздывания (например, в отдельных случаях выходные параметры процесса начнут изменяться после изменения параметров сырья лишь через 1-3 ч), с большим количеством параметров характеризующих процесс, многочисленными взаимосвязями между ними, распределенностью и т. д.

Большое значение для процесса ректификации имеет температура исходной смеси. Если смесь начинает поступать в колонну при температуре меньшей, чем температура кипения, она должна нагреваться до этой температуры парами, идущей из нижней части колонны. Конденсация паров при этом увеличивается, что нарушает весь режим процесса ректификации. Поэтому температуру исходной смеси стабилизируют изменением расхода теплоносителя, подаваемого в теплообменник; тем самым ликвидируют одно из возмущений.

Итак, для достижения цели управления необходимо стабилизировать давление и состав жидкости в верхней части колонны путем изменения расхода хладоносителя, поступающего в дефлегматор, и расхода флегмы. Качество регулирования этих параметров зависит от состава и скорости паров, движущейся из нижней исчерпывающей части колонны и определяемых ее технологическим режимом - главным образом давлением, температурой и составом жидкости в кубе колонны.

2. Выбор средств автоматизации


Для того чтобы получить высококачественную продукцию в результате проведения определенного технологического процесса необходимо эффективно вводить средства автоматизации, которые имеют оптимальные технические данные и возможность работать, управлять и регулировать технологический процесс с наименьшей погрешностью и как можно более длительный отрезок времени.

Для нормального (безопасного) течения процесса и для получения качественной продукции необходимо контролировать следующие технологические параметры: давление, расход, температуру, уровень и концентрацию. Для контроля данных параметров необходимо подобрать приборы.

При выборе средств автоматического контроля и регулирования учитываются требования, которые определяются:

o   по виду измеряемого параметра (приборы температуры, давления, расхода, уровня и т.д.);

o   по величине параметра (диапазон шкалы прибора, верхний предел);

o   по характеру измеряемой среды (жидкость, газ, твердое вещество);

o   по характеру окружающей среды - внешние воздействующие факторы (механические, электромагнитные, радиационные и т.д.);

o   по месту прибора;

o   по размещению объекта (расстояние от мест установки датчиков и исполнительных механизмов до щитов контроля и управления).

2.1 Измерение температуры

При выборе средств автоматизации контроля, необходимо учитывать предельные значения температур, в диапазоне которых можно применять различные датчики температуры, а также вид выходного сигнала. При выборе датчиков следует учитывать среду, в которой они должны работать.

Выпускаемые в настоящее время преобразователи сопротивления с унифицированным выходным сигналом позволяют использовать их с разнообразными вторичными приборами с унифицированным входом без дополнительных преобразователей.

Для данного технологического процесса выбираем термопреобразователь с унифицированным выходным сигналом ТСМ - 5008, (1-1). Предел измерения (0…4250С), выходной сигнал 4-20мА, вторичным прибором является ДИСК-250И-1321 (1-2).

.2 Измерение уровня

Выбор метода измерения уровня зависит от вида среды, температуры, агрессивности, токсичности, взрыво и пожароопасности среды, а так же параметров окружающей среды.

Измерение уровня в ректификационной колонне осуществляется при помощи гидростатического уровнемера (Метран 100 ДГ) (5-1). С помощью него, возможно, измерить уровень в емкостях с давлением до 0,5 МПа. С уровнемера подается выходной сигнал 4-20 мА, который подается на вторичный прибор ДИСК-250И-1321 (5-2).

2.3 Изменение расхода

Количество жидкости (объем или масс), газа или пара, проходящее через данное сечение канала в единицу времени называют расходом и измеряют расходомерами.

Расход газа или жидкости на современных предприятиях измеряют различными способами, подавляющее большинство промышленных установок оснащено дроссельными расходомерами (переменного перепада давлений), основным элементом, которых является сужающее устройство.

Стандартизованы сужающие устройства трёх видов: диафрагма (камерная и бескамерная), сопло и сопло Вентури. Выбор того или иного сужающего устройства определяется обычно следующими соображениями: диафрагма обычно проще в изготовлении и устройстве, чем сопло, однако сопло позволяет измерять большой расход и в ряде случаев обеспечивает более высокую точность, чем диафрагма.

Главный параметр, который необходимо контролировать при выборе, является контролируемая среда.

Измерение расхода производится в трубопроводе, по которому движется нагреваемый продукт. Осуществление контроля за расходом производится при помощи камерной диафрагмы (ДКС 0,5 - 50) (3-1, 4-1, 6-1) и преобразователя расхода (Метран 100 ДД) (3-2, 4-2, 6-2). Сигнал 4-20 мА с преобразователя расхода подается на вторичный прибор, выполняющий также функцию регулятора (PI-регулятор) ДИСК-250И-1321 (3-3, 4-3, 5-2, 6-3). Контроль за расходом осуществляется при помощи тиристорного пускателя (ПБР-3А) (4-4, 5-3, 6-4) и исполнительного однооборотного механизма МЭО-73 (4-5, 5-4, 6-5).

2.4 Измерение концентрации

Измерение концентрации компонента исходной смеси производят при помощи концентратомера (КВЧ-5М) (2-1), с унифицированным выходным сигналом 4-20 мА, который поступает на вторичный прибор ДИСК-250И-1321 (2-3).

3. Расчетная часть

.1 Расчет ротаметра

Таблица 3.1 - Исходные данные

Наименование

Обозначение

Значение

1. Конусность трубки ротаметра

k

0,01

2. Длина шкалы ротаметра (шкала имеет 11-ть оцифрованных делений с градацией Dl = 0,025 м)

l

0,25 м

3. Диаметр трубки ротаметра в месте нулевого деления шкалы

D0

0,0171 м

4. Объём поплавка

V

3,075×10-6 м3

5. Диаметр миделя поплавка

d

0,0164 м

6. Материал поплавка

Сталь Х18H9Т

-

7. Вес поплавка

G0

0,0176 Н

8. Измеряемая среда

Хлор

-

9. Температура измеряемой среды

t0

200

10. Плотность среды (при t0 = 200)

2,995 кг/м3


11. Динамическая вязкость вещества

m20

13,3×10-6 Па×с

Ротаметр является расходомером постоянного перепада давлений. Так же к ним относятся поплавковые и поршневые расходомеры. Наибольшее применение имеют ротаметры и поплавковые расходомеры, шкалы которых практически равномерны. Их можно использовать для измерения малых расходов, так как потери давления в них незначительны и не зависят от расхода. Ротаметры и поплавковые расходомеры имеют большой диапазон измерения (Qmax/Qmin = 10:1).

Рисунок 1-поплавок в потоке

Проходящий через ротаметр снизу поток жидкости или газа поднимает поплавок до тех пор, пока расширяющаяся кольцевая щель между телом поплавка и стенками конусной трубки не достигнет такой величины, при которой действующие на поплавок силы уравновешиваются. При равновесии сил поплавок устанавливается на некоторой высоте, зависящей от расхода.

На поплавок ротаметра сверху вниз действуют две силы: сила тяжести (где - объём поплавка;  - плотность материала поплавка; - ускорение свободного падения) и сила от давления потока на верхнюю плоскость поплавка  (где  - среднее давление потока на единицу площади верхней поверхности поплавка;  - площадь наибольшего поперечного сечения поплавка).

Снизу вверх на поплавок действуют также две силы: сила от давления потока на нижнюю плоскость поплавка  и сила трения потоков о поплавок  (где - коэффициент сопротивления, зависящий от числа Рейнольдса и степени шероховатости поверхности; - средняя скорость потока в кольцевом канале, охватывающем боковую поверхность поплавка; - площадь боковой поверхности поплавка; - показатель, зависящий от скорости).

Поплавок уравновешен в случае, если соблюдается равенство

 (1)

. (2)

Если допустить, что  при всех расходах - величина постоянная (с увеличением расхода увеличивается площадь кольцевого канала), то правая часть уравнения (2.1) будет постоянной, так как остальные величины для данного прибора неизменны. Следовательно, разность давлений на поплавок , т.е. ротаметр является прибором постоянного перепада давления

Коэффициент расхода a для ротаметров зависит от большого числа величин, которые не поддаются аналитическому определению, поэтому ротаметры градуируют экспериментально. Для экспериментальной градуировки ротаметров, предназначенных для измерения расхода жидкостей или газов, применяют в качестве градуировочной среды воду или воздух (ГОСТ 13045 - 81). Экспериментальная градуировка шкалы ротаметра точна лишь в том случае, если при эксплуатации значения всех величин соответствуют градуировочным условиям. Изменение температуры потока меняет плотность среды и её вязкость, а следовательно, и коэффициент расхода. Ещё большей степени будут изменяться величины в случае, если ротаметр применяют для измерения расхода среды, отличающейся от градуировочной.

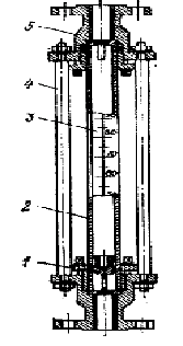
Ротаметр со стеклянной трубкой (рисунок 2.2) состоит из конической трубки 1, закреплённой в двух металлических головках 2 и 3, снабжённых сальниками и фланцами для монтажа в вертикальном трубопроводе. Головки соединены несколькими тягами 4, образующими вместе с поперечными 5 защитную решетку вокруг стеклянной трубки. Внутри трубки 1 свободно перемещается поплавок 6, имеющий форму волчка. В нижней головке имеется седло, на которое опускается поплавок при прекращении потока. Верхняя головка снабжена ограничителем хода поплавка. Седло и ограничитель хода не позволяют поплавку выйти за пределы стеклянной трубки. Шкала 7 прибора вытравлена на поверхности стеклянной трубки; отсчёт ведут по верхней горизонтальной плоскости поплавка.

В верхней части поплавка иногда делают косые прорези, благодаря чему поплавок вращается вокруг вертикальной оси. При вращении поплавок центрируется внутри трубки, не соприкасаясь со стенками; его чувствительность повышается. По вращению поплавка определяют состояние прибора (отсутствие трения и засорения).

Ротаметры со стеклянной трубкой изготовляют на давление жидкости или газа не более 0,58 МПа. При более высоких давлениях жидкости или газа, а также для измерения расхода пара применяют ротаметры с металлической конусной трубкой.

Ротаметры имеют следующие недостатки: невозможность регистрации показаний и передачи их на расстояние; недостаточная четкость шкал приборов.

 

Рисунок 2 - Ротаметр со стеклянной конусной трубкой

3.2.1 Расчет параметров ротаметра

1     Определяем диаметр трубки ротаметра D10 в месте усиления шкалы для максимального расхода Qmax по формуле:

, (м). (3)

м.

2     Определяем расстояние от нулевого сечения шкалы D0 до сечения диаметром d (высота нулевой отметки) по следующей формуле:

, (м). (4)

м.

Вычисляем безразмерный параметр аi для оцифрованных отметок шкалы:

 ; (5)

 ; (6)

; (7)

т.к , то получим:

 h, м

0

1

2

3

4

5

6

7

8

9

10


0,07

0,095

0,12

0,145

0,17

0,195

0,22

0,245

0,27

0,295

0,32


Исходя из полученных данных, вычислим:

а

0

1

2

3

4

5

6

7

8

9

10


4,268

5,793

7,317

8,841

10,366

11,89

14,939

16,463

17,988

19,512


Определим вес поплавка в измеряемой среде:

 Н ; (8)

Определим значение безразмерной величины  и значение ее десятичного логарифма:

 м2/с ; (9)

; (10)

 (11)

Определим значение безразмерной величины :

Для нахождения этой величины воспользуемся графиком, который изображен на рисунке 2.

Рисунок 3 - График для определения безразмерной величины

Для нахождения промежуточных значений аi воспользуемся формулой нелинейной интерпретации:

; (12)

где:

х - расстояние от искомой точки до нижней кривой;

 - значение нижней кривой;

 - значение верхней кривой;

b - расстояние между верхней и нижней кривой.

Получим:

Таблица 2.2 - Определение недостающих расчетных данных


0

1

2

3

4

5

6

7

8

9

10

Х

0.03202

0.18266

0.11210

0.038

0.016

0.08

0.0542

0.033

0.0157

0.065

0.0459

3.77202

4.03266

4.03210

4.138

4.197

4.301

4.3042

4.353

4.3957

4.465

4.466


, м3/с0.00043

0.00079

0.00078

0.001

0.00115

0.00146

0.00147

0.00164

0.00181

0.00212

0.00213



Все полученные данные сведем в таблицу 2.3:

Таблица 2.3 - Расчетные данные








0

4,268

3.772022,2495,9151.551*103






0,025

5,793


4.03266

3,182


10,780

2.827*103

0,05

7,317


4.03210

4,307


10,767

2.823*103

0,075

8,841


4.13810

5,417


13,743

3.603*103

0,1

10,366


4.19675

6,305


15,730

4.124*103

0,125

11,89


4.30072

7,498


19,985

5.240*103

0,15

13,415


4.30422

8,812


20,147

5.282*103

0,175

14,939


4.35282

9,754


22,532

5.908*103

0,2

16,463


4.39576

10,77


24,874

6.522*103

0,225

17,988


4.46463

11,74


29,149

7.642*103

0,25

19,512


4.46594

13,41


29,237

7.665*103


7. Построим градуировочный график в виде зависимости , который изображен на рисунке 3:

 

Рисунок 4 - График зависимости

Выполним чертеж поплавка ротаметра, трубки ротаметра и чертеж в сборке, которые изображены на рисунке 4, рисунке 5, рисунке 6

Рисунок 4 - Чертеж поплавка ротаметра

Рисунок 5 - Чертеж трубки ротаметра

Рисунок 6 - Ротаметр в сборе

1 - Поплавок

- Стеклянная трубка

- Шкала

- Шпильки

- Металлические головки

Расчет геометрических размеров поплавка

Расчет веса поплавка

Найдем вес поплавка по формуле

 (13)

.

Найдем объем, высверловки м3

 (14)

.

Найдем диаметр высверловки, м3

 (15)

.

Глубина высверловки и длина поплавка, м

 (16)


3.2 Расчет сопротивлений резисторов измерительной схемы автоматического потенциометра типа КСП4

Таблица 3.4 - Исходные данные

Наименование

Обозначение

Значение

1. Шкала прибора


0 - 400 0С

2. Градуировка температуры свободных концов термометра


ХА

3. Расчетное значение температуры свободных концов термометра

t0

20 0C

4. Возможное значение температуры свободных концов термометра

tI0

30 0C

5. Начальное значение шкалы

E(tн, t0)

0,0 мВ

6. Конечное значение шкалы

E(tк, t0)

16,4 мВ

7. Диапазон измерений

16,4 мВ

8. Нормированное номинальное сопротивление реохорда

RН.Р.

90 Ом

9. Нерабочие участки реохорда

2l

0,05

10. Нормированное номинальное значение падения напряжения на резисторе RК

1019 мВ

11. Выходное напряжение ИПС - 148П

UИ.П.

5 В

12. Номинальное значение силы тока в цепи ИПС - 148П

I0

5 мА

13. Сопротивление нагрузки ИПС - 148П

RИ.П.

1000 Ом

14. Номинальное значение силы тока в верхней ветви измерительной схемы прибора

I1

3 мА

15. Номинальное значение силы тока в нижней ветви измерительной схемы прибора

2 мА

16. Температурный коэффициент электрического сопротивления меди

a

4.25 *10-3 К-1


Рисунок 7 - Принципиальная компенсационная измерительная схема автоматического потенциометра.

. Определим сопротивление резистора RП:

 Ом; (11)

Ом;

принимаем  Ом и

. Определим приведенное сопротивление реохорда RПР:

 Ом; (12)

 Ом.

Производим проверку правильности определения RПР:

мВ.

. Определим сопротивление контрольного резистора RК:

 Ом; (13)

 Ом;

принимаем сопротивление контрольного резистора  Ом.

. Определим сопротивление резистора Rб:

 Ом; (14)

 Ом;

принимаем значение сопротивления резистора  Ом.

. Найдём сопротивление медного резистора Rм:

 (15)

;


принимаем значение сопротивления медного резистора  Ом.

. Определим значение сопротивления резистора RН:

 Ом; (16)

 Ом;

принимаем  Ом и  Ом.

. Определим значение сопротивления резистора Rbd;

 Ом; (17)

 Ом.

. Определим сопротивление резистора R1 по формуле:

 Ом; (18)

 Ом;

принимаем Ом,  Ом и  Ом.

. Определим изменения показания потенциометра для конечного значения шкалы при изменении температуры свободных концов термометра от до  по формуле:

 (19)

ректификационный ротаметр автоматизация нагревание

Заключение

Результатом выполнения курсовой работы была разработана функциональная схема автоматизации установки нагревания Cl2 и была подобрана спецификация средств автоматизации использованных в функциональной схеме.

Расчетная часть содержит расчет ротаметра и потенциометра.

Список использованных источников

1. Клюев А.С. Проектирование систем автоматизации технологических процессов, справочное пособие. М. «Энергия» 1980 г.

. Кулаков М.В. Технологические измерения и приборы для химических производств, М. «Машиностроение» 1983 г.

. Преображенский В. П. Теплотехнические измерения и приборы, 3 изд. перераб. и доп. , М: «Энергия» 1978 г.

. Техника чтения схем автоматического управления и технологического контроля /А.С.Клюев, Б.В.Глазов, М.Б.Миндин, С.А.Клюев; Под ред. А.С.Клюева. -3-е изд., перераб. и доп. - М.:Энергоатомиздат, 1991.- 432 с.: ил.


Не нашли материал для своей работы?
Поможем написать уникальную работу
Без плагиата!
Без нейросетей!