|
Кузов
|
с
плоско-гофрированной обшивкой наружных боковых и плоской обшивкой торцевых
стен.
|
|
Длина вагона по
осям сцепления с автосцепкой
|
25500±20
|
|
Масса тары
вагона: с обшивкой и каркасом кузова из углеродистой стали
|
59,6
|
|
- с обшивкой и
каркасом кузова из коррозионно-инертной стали
|
58,6
|
|
Количество мест
для сидения: Для вагона со стандартным интерьером Для вагона с улучшенным
интерьером
|
60
|
|
40
|
|
База вагона
|
1700 мм
|
|
Конструкционная
скорость
|
160 км/ч
|
2. Общая
характеристика вагона
Пассажирский вагон открытого типа с
креслами для сидения предназначен для выполнения массовых перевозок пассажиров
по магистральным путям МПС колеи 1520 мм с длительностью пребывания в пути не
более 12 часов. Пассажирский салон кузова (рис. 2.1) оборудован 30 двухместными
стационарными креслами с подножками; поперечными выгородками, разделяющими
пассажирское помещение на две части; откидными столами у поперечной выгородки,
телевизорами. Окна в салоне оснащены опускными рамами с двойным остеклением,
два из которых являются аварийными выходами, используемыми при экстремальных
ситуациях. Все окна имеют занавески и светомаскировочные шторы. Отопительная
система - водяная, нагрев воды в котле осуществляется электронагревателями или твердым
топливом.
Рис.2.1 Схема планировки вагона
1 - тамбур тормозного конца вагона. 2 - кладовая, 3 -
служебное отделение, 4 - купе проводников, 5 - пассажирское помещение, 6 -
туалет I, 7 - туалет II, 8 - тамбур нетормозного конца вагона, 9 - коридор
нетормозного конца вагона, 10 - коридор тормозного конца вагона, 11 - тамбур
тормозного конца вагона.
В данном вагоне применена двухосная безлюлечная тележка мод.
68-4095 (68-4096) предназначенной для подкатки под пассажирские вагоны дорог
колеи 1520 мм, для скоростей движения вагона до 160 км/час.
Вагон оснащен беззазорным сцепным
устройством БСУ-3. Соединение хвостовика автосцепки с тяговым хомутом,
осуществляемое типовым клином, выполняет только крепежные функции, а поворот
сцепки в горизонтальной и вертикальной плоскостях обеспечивается специальным
шарниром в виде шаровой опоры. В сцепном устройстве БСУ-3 используется
поглощающий аппарат Р-5П.
Обшивка кузова выполнена из нержавеющей
стали Х14Г14НЗТ, а элементы, подкрепляющие обшивку, - из низколегированной
стали 10ХНДП. Такие кузова имеют массу, на 3 т меньшую, чем кузова,
изготовленные из углеродистых сталей. Достигнуто это за счет уменьшения толщины
обшивки и подкрепляющих элементов в среднем на 1 мм.
Настил пола, обшивка надоконного пояса и
средней части крыши выполнены из листов толщиной 1 мм, подоконного пояса,
боковых стен и межоконных простенков - из листов толщиной 1,5 мм, а скаты крыши
- 2 мм.
Кузов вагона состоит из рамы 5, боковых 2
и торцовых 3 стен, крыши 1 и пола 4. Основными несущими элементами кузова
являются каркас и обшивка, выполненные из прессованных и холодноштампованных
профилей (алюминиевые сплавы 1915 Т - для каркаса и АМгбМ - для обшивки),
соединенных между собой аргонодуговой сваркой.
Обшивка изготовлена из гофрированных
листов. Из условий динамического вписывания в очертание габарита и для
уменьшения аэродинамического сопротивления боковые стены кузова наклонены к
вертикальной оси под углом 2°, подвагонное пространство на длине 8,3 м в
средней части кузова перекрыто кожухом-обтекателем.
На остальной части кузова поставлены
откидные фальшборты, служащие для улучшения аэродинамики вагона и одновременно
обеспечивающие доступ для технического обслуживания подвагонного оборудования и
автотормоза. Кожух одновременно является несущим элементом конструкции и
повышает ее изгибную жесткость.
Наличие несущего кожуха-обтекателя
позволяет также понизить центр тяжести вагона, что повышает его поперечную
устойчивость при вписывании в кривых участках пути с увеличенными скоростями
движения.
Кузов спроектирован без подножек, так как
рассчитан на эксплуатацию по участкам железных дорог, оборудованным высокими
посадочными платформами.
Рама кузова выполнена без хребтовой балки,
с усиленной консольной частью. Хребтовая балка 5 в консольных частях состоит из
двух швеллеров 300X80X14 мм, перекрытых верхним (6 мм) и нижним (14 мм)
горизонтальными листами.
Концевые балки П-образной формы сварены из
листов толщиной 10 мм. Шкворневые балки замкнутого сечения из вертикальных
листов толщиной 14 мм и горизонтальных - 10 мм. Между шкворневыми балками рамы
расположены поперечные балки пола (швеллер 150X70X5 мм).
В местах установки подвагонного
оборудования эти балки имеют замкнутое поперечное сечение. Раскосы рамы
переменной высоты по длине сварены в форме двутавра из вертикальных листов
толщиной 14 мм и горизонтальных-10 мм.
3.
Определение основных параметров
К параметрам пассажирского вагона,
определяющим его технико-экономические показатели, относятся населенность,
масса тары, линейные размеры и конструктивная скорость. Поскольку пассажирские
вагоны проектируются на базе типовых кузовов длиной 23,6м и 26,5м, то задача
расчетчика сводится к разработке планировки внутреннего помещения для выбранного
или заданного варианта кузова и на основе ее определения населенности, массы
кузова и вагона. Пусть требуется спроектировать некупейный межобластной
пассажирский вагон длиной 23,6м, кузов которого выполнен из нержавеющей стали
Х14Г14НЗТ (нижний пояс) и низколегированной стали 10ХНДП (верхний пояс).
3.1
Планировка вагона
В соответствии с заданием на
проектирование наружная длина вагона равна 23,6м. Согласно паспортным данным
вагон указанной длины имеет размеры:
длину по осям сцепления автосцепок -
25,5м;
базу - 17м;
наружную ширину - 3,05м;
внутреннюю ширину - 2,826 м;
высоту внутри салона от пола до потолка -
2,923м;
полную высоту - 4,377м.
3.2
Населенность
Согласно планировке вагон длиной 23,6м
имеет 30 сдвоенных сидений, следовательно, его населенность составляет 60 мест
для пассажиров и 2 места в отделении для отдыха проводников.
3.3 Массы
кузова и вагона
ОАО33 "Тверской вагоностроительный
завод" выпускает некупейные вагоны длиной 23,6м из тех же низколегированных
и углеродистых сталей, но планирует перейти на изготовление кузовов из
нержавеющих и низколегированных сталей. Если заложить эти материалы, то его
масса снизится с 58,4 до 55,6 т, а при замене углеродистых сталей на
низколегированные в рамах и надрессорных балках тележек и внедрении пустотелых
осей в колесных парах масса вагона снизится до 55 т. Принимаем массу тары
вагона Т равной 55т.
Масса брутто вагона
,
Где
T - масса тары, Т=55т;
n - расчетная населенность
вагона, n=62
m - средняя масса одного
пассажира с багажом, =0,1т.
т.
Масса брутто кузова
,
Где 
- масса тележки, т. 
= 7,2 т.
т.
3.4
Конструкционная скорость
Конструкционная скорость вагона определена
заданием на проектирование и оставляет 45 м/с (160 км/ч).
4. Расчет
устойчивости колесной пары против схода с рельсов
На процессы взаимодействия колёс с
рельсами и безопасность движения поездов существенно влияет профиль поверхности
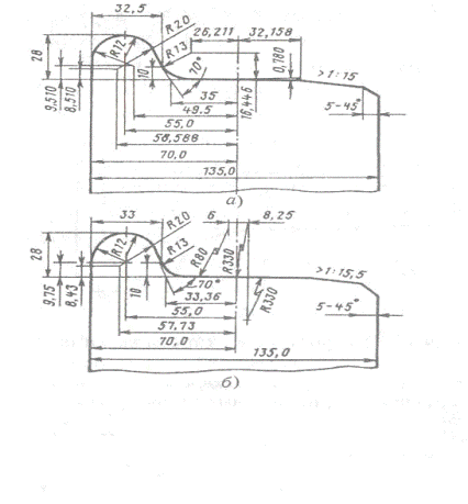
катания. Стандартный профиль поверхности обода колеса (рис. 1.1., а)
распространяется на колёса для колёсных пар грузовых и пассажирских вагонов
локомотивной тяги, немоторных вагонов электро - и дизель-поездов, а также
путевых машин. Объединённый профиль поверхности обода колеса (рис. 1.1., б) применяется
для обработки колёсных пар пассажирских вагонов, эксплуатируемых со скоростями
движения свыше 160 км/ч, а колёса вагонов промышленного транспорта
обрабатывают, используя специальный криволинейный профиль (рис. 1.1., в).
Профиль поверхности катания обода для
колёсных пар пассажирских вагонов, эксплуатируемых со скоростями движения свыше
160 км/ч (см. рис. 1.1., б), имеет горизонтальную площадку между размерами от
60,7 до 70 мм, а далее конусности 1: 50; 1: 10; 1: 3,5 - и фаску 6 мм-Х 45°.
Наружная грань гребня составляет 65° к горизонтали вместо 60°, как это
предусмотрено в стандартном профиле (см. рис. 1.1., а), переходные
радиусы закруглений также изменены. Цилиндрическая часть катания, обработанная
в соответствие с горизонтальной частью профиля, исключает извилистое движение
колёсной пары. Вместе с уменьшенной конусностью до 1: 50 рабочей части колеса
она не допускает ухудшения плавности хода вагона. Увеличение угла наклона
наружной грани гребня совместно с изменением профиля рабочей части поверхности
катания колеса улучшает устойчивость движения колёсной пары, способствует
уменьшению износа гребня, повышает безопасность движения вагонов скоростных
поездов, который является одним из мер комплексных организационных и
технических мероприятий направленных на защиту жизни и здоровья граждан,
создание условий безаварийной работы организаций железнодорожного транспорта,
содержание в исправном состоянии железнодорожных путей, подвижного состава.
Несоблюдение мер безопасности на
железнодорожном транспорте могут привести следующим последствиям:
крушению, аварии, особому случаю брака в
работе, затруднению в работе, к прочим нарушениям безопасности движения.
Кроме стандартных, разработаны два типа
профилей вагонного колеса, один из которых (рис. 1.2., а) предназначен
для колёсных пар вагонов российских дорог с выходом их на дороги
западноевропейских стран, а другой (рис. 1.2., б) - для
западноевропейских вагонов.
Рис. 1.1 Профили поверхности катания
колёс:
а - для грузовых и
пассажирских вагонов локомотивной тяги, немоторных вагонов электро- и
дизель-поездов, а также путевых машин; 6 - для пассажирских вагонов,
эксплуатируемых со скоростями движения свыше 160 км/ч; в - вагонов
промышленного транспорта
Поверхность катания указанных профилей -
круголинейная, а угол наклона наружной грани гребня увеличен до 70°. В
результате на 25% улучшается устойчивость движения колёсной пары, снижаются
контактные напряжения, на 25% уменьшается износ гребня и на 50% увеличивается
срок службы колёс. Плавность хода вагонов с колёсами, имеющими профили
поверхности катания (см. рис. 1.2.) при повышенных скоростях движения поездов,
значительно выше по сравнению со стандартным (см. рис. 1.1., а).
Каждый из приведенных профилей поверхности
катания колеса имеет гребень, служащий для направления движения и предохранения
от схода колёсной пары. Он имеет высоту 28 мм, измеряемую от его вершины до
горизонтальной линии, проходящей через точку пересечения круга катания с
профилем. Угол наклона наружной грани гребня оказывает влияние на безопасность
движения: его увеличение повышает устойчивость колёсной пары на рельсах и
уменьшает износ.
Технология изготовления стальных колёс
основана на штамповано-катанном способе, включающем в себя процессы подготовки
заготовок, их нагрева, горячей деформации, противофлоксной, термической и
механической обработки, контроля и испытания.
Поверхность профиля катания колеса с
конусностью 1: 3,5 гораздо реже катится по рельсу, поэтому она меньше
изнашивается. Благодаря наличию этой конусности и фаски 6 мм х 45° наружная
грань б приподнимается над головкой рельса даже при наличии допускаемого
проката, наплыва металла и др. дефектов поверхности катания колёс, обеспечивая
безопасный проход стрелочных переводов.
Устойчивость колёсной пары в рельсовой
колее оценивается коэффициентом устойчивости колеса против схода с рельса,
учитывающим соотношение вертикальных и горизонтальных составляющих сил,
возникающих при движении вагона. При неблагоприятном сочетании вертикальных и
горизонтальных сил, а также при нарушении условий загрузки и отклонении в
состоянии вагона могут возникнуть случаи вползания гребня колеса на головку
рельса, что приводит к сходу вагона с рельсов. Для предупреждения схода вагона
в эксплуатации производится проверка устойчивости движения колеса по рельсу, для
чего подсчитывается коэффициент по формуле:

,
Рисунок 1.2 Профили поверхности катания
колес вагонов, разработанные стандартами железных дорог западноевропейских
стран
где
- угол наклона
образующей гребня конусообразной поверхности колеса с горизонталью: для
стандартного профиля (см. рис. 1.1., а)
= 60°, для объединённого
профиля (см. рис. 1.1., б)
= 65°, для профилей
железных дорог западноевропейских стран (см. рис.1.2.)
=70°;
- коэффициент трения
взаимодействующих поверхностей колёс и рельсов, принимается
= 0,25;
Pвl и Рв2 -
вертикальные составляющие силы реакции соответственно набегающего и
ненабегающего колёс на головку рельса;
Рб - горизонтальная
составляющая силы реакции набегающего колеса на головку рельса, действующая
одновременно с Рв| и Рв2. Составляющие силы Рв1,
Ps2 и Рб
определяются по формулам:
(1.2.)
(1.3.)
(1.4.)
где Р0, Ркп - соответственно
осевая статическая нагрузка и собственная сила тяжести колёсной пары;
- среднее значение
коэффициента вертикальной динамики, приближённо
= 0,75-кдв;
- среднее значение
коэффициента динамики боковой качки, приближённо
= 0,25*
;
Нр - среднее значение
рамной силы;
b - половина расстояния между
серединами шеек оси, для стандартных осей b = 1,018 м;
l - расстояние между
точками контакта колёс с рельсами, l = 1,555 м;
а1, а2 - расстояния
от точек контакта до середины шеек, а1 = 0,217 м, а2 =
0,264 м;
r - радиус колеса, м.
Допустимое значение коэффициента запаса
устойчивости колёсной пары от схода с рельсов:
для пассажирских вагонов - [KVK] = 1,8;
для изотермических вагонов - [кук]
= 1>6;
для грузовых вагонов - [кук] =
1,4.
При кук < [кук] может
произойти вползание гребня колеса на головку рельса и сход вагона с рельсов.
Заключение
В результате разработки курсового проекта были решены
основные задачи, такие как: вписывание в габарит вагона, расчет устойчивости
колесной пары против схода с рельсов, рассмотрены существующие конструкции
вагонов.
В первом разделе оценили технико-экономические показатели
вагонов.
Во втором разделе была приведена общая характеристика
межобластного вагона.
В третьем разделе выполнялись расчеты основных
технико-экономических параметров, так же определили конструкционную скорость.
В четвертом разделе произвели вписывание спроектированного
вагона в габарит.
В пятом разделе пояснительной записки выполнили расчет
устойчивости колесной пары против схода с рельсов.
В результате решения этих задач были закреплены теоретические
знания, полученные в теоретическом курсе.