Монтаж оборудования нефтегазодобывающей отрасли

  • Вид работы:
    Контрольная работа
  • Предмет:
    Другое
  • Язык:
    Русский
    ,
    Формат файла:
    MS Word
    2,64 Мб
  • Опубликовано:
    2013-10-01
Вы можете узнать стоимость помощи в написании студенческой работы.
Помощь в написании работы, которую точно примут!

Монтаж оборудования нефтегазодобывающей отрасли

ВВЕДЕНИЕ

Монтаж оборудования - важнейший этап производственного процесса строительства новых и технического перевооружения действующих цехов промышленных предприятий. Он неразрывно связан со всеми предшествующими технологическими процессами изготовления оборудования и является завершающим этапом сборки из отдельных машин и узлов целых линий и установок на месте их эксплуатации. От монтажа в значительной мере зависят сроки освоения выпуска новых видов продукции и работоспособность технологического оборудования.

Разнообразие видов технологических процессов монтажа, сложность монтируемого оборудования, как правило, являющегося уникальным, специфические условия монтажной площадки требуют от рабочих глубоких профессиональных знаний, высокой квалификации и владения смежными специальностями.

Цель данной работы - получить необходимые сведения по современной технологии выполнения как всего комплекса монтажных работ, так и отдельных слесарных, такелажных, сборочных и контрольных операций, работ по установке, выверке, закреплению на фундаментах смонтированного оборудования, его испытанию и сдаче в эксплуатацию. Также внимание уделено прогрессивным средствам механизации технологических процессов, инструменту и приспособлениям, средствам и методам обеспечения точности монтажа.


МЕТОДЫ ПРОИЗВОДСТВА МОНТАЖНЫХ РАБОТ

Существуют три метода монтажа буровых установок: обычный (индивидуальный), мелкоблочный и крупноблочный.

Обычный метод монтажа буровых установок заключается в индивидуальном монтаже оборудования и строительстве сооружений установки с применением фундаментов однократного использования. В этом случае строят бетонные или деревянные фундаменты отдельно под каждый агрегат установки. На рисунке 1 показаны конструкции наиболее распространенных фундаментов однократного использования. При повторном монтаже буровую установку разбирают на агрегаты и узлы и перевозят на универсальном транспорте на новую точку бурения, где вновь строят фундаменты, сооружения и монтируют оборудование.

Обычный метод монтажа связан с большим комплексом трудоемких работ (строительных, плотничных, слесарных, подсобно-вспомогательных и других), выполняемых на месте монтажа, что вызывает удлинение сроков монтажа буровых установок. Поэтому этот метод в настоящее время применяется очень редко, только при монтаже буровых установок большой грузоподъемности.

Мелкоблочный метод монтажа буровых установок заключается в том, что агрегаты и узлы монтируют не на бетонных или деревянных фундаментах, а на металлических основаниях. Металлическое основание со смонтированным на нем каким-либо узлом установки составляет мелкий блок (рис. 2). Количество мелких блоков буровой установки определяется конструкцией установки, условиями разработки месторождения и географическими условиями, обычно буровая установка расчленяется на 15-20 мелких блоков. Габаритные размеры и вес мелких блоков позволяют перевозить их на универсальном транспорте или волоком, а в труднодоступных районах - на вертолетах.

Этот метод монтажа буровых установок широко применяют в разведочном бурении, а в некоторых районах и в эксплуатационном бурении, когда местные условия не позволяют перевозить установки крупными блоками.

Крупноблочный метод монтажа буровых установок заключается в перевозке агрегатов и узлов установки крупными блоками на специальном транспорте (тяжеловозах), установке блоков на фундаменты и соединении коммуникаций между ними. При этом буровую установку расчленяют на два-три блока весом по 60-120 тонн. Крупный блок состоит из металлического основания, перевозимого на специальных транспортных средствах, и смонтированных на нем агрегатов и узлов буровой установки, кинематически связанных между собой (рис. 3). При перевозке таких блоков почти не нарушаются кинематические связи узлов установки и коммуникации и не демонтируются укрытия, что позволяет исключить трудоемкие работы, выполняемые при обычном методе монтажа, такие как строительные, плотничные, слесарные и ряд подсобно-вспомогательных. Применение крупных блоков позволяет сократить сроки монтажа буровых установок до минимума. Крупноблочный метод монтажа буровых установок широко применяется в эксплуатационном бурении.

МОРСКИЕ НЕФТЕПРОМЫСЛОВЫЕ ГИДРОТЕХНИЧЕСКИЕ СООРУЖЕНИЯ

Сооружения, используемые в настоящее время для работы в море, подразделяют на три типа: стационарные, передвижные и плавучие.

Применяют также комбинированные сооружения, сочетающие принципы сооружений стационарного, передвижного и плавучего типов.

Сооружения стационарного типа широко применяют при разведке и разработке морских нефтяных месторождений. Для разработки месторождений используют островные, эстакадные и намывные (грунтовые дамбы с площадками) сооружения. К последней группе относятся земляные сооружения, возводимые преимущественно на мелководной прибрежной акватории на глубине до 4-5 м в виде отдельных намывных площадок, соединенных с берегом грунтовыми дамбами.

Островные сооружения крупноблочной конструкции применяют преимущественно для структурного, глубокого разведочного бурения, а также для эксплуатационного бурения в тех случаях, когда разработка месторождения при помощи других сооружений экономически нецелесообразна. Конструкции морских оснований выполняют, как правило, из металла.

Наиболее ответственным в строительстве островных оснований является крепление его ко дну моря. Крупноблочные островные основания крепят при помощи комбинированных бурозаливных свай, которые изготовляют следующим образом. После установки блока на заданном месте внутреннюю стойку его ноги отсоединяют от башмака и молотом забивают в дно на глубину 6-8 м, чтобы пройти верхние слои слабого грунта. Затем через внутреннюю полость стойки ноги блока, вбитой в дно моря, бурят скважину, глубина которой устанавливается расчетом и зависит от действующей на ногу нагрузки и физико-механических свойств грунтов дна моря на участке работ.

Бурение ведут с использованием воды, в целях качественной очистки скважину дополнительно промывают после бурения. По окончании промывки для обеспечения надежной работы сваи в скважине в зависимости от действующих на ногу блока нагрузок устанавливают один или несколько концентрично расположенных трубчатых анкеров различных диаметров.

Схема крепления крупноблочного основания на бурозаливных сваях с анкерами и без них показана на рисунке 4.

Концентричность анкеров относительно друг друга и пробуренной скважины достигается приваркой к ним направляющих фонарей. После установки анкеров в скважину нагнетают цементный раствор по методу «снизу вверх». Ввиду того, что цементный поток не имеет сообщения с затрубным пространством и, следовательно, выхода из скважины, заливку можно производить выше уровня дна моря до верхнего конца забитой в грунт стойки.

Размер блока в плане определяется в первую очередь технологическими требованиями и возможностями завода-изготовителя и организации, производящей монтаж основания в море (оснащенность монтажной площадки, грузоподъемность крановых судов).

Высота блока зависит от глубины моря и средней высоты волны с учетом сгонно-нагонных явлений на акватории строительства. Блоки крупноблочных оснований изготовляют размерами в плане 8x8; 8x16; 16x16; 10x20 м. В зависимости от высоты блоки бывают одно-, двух-, трех-, четырех- и пятиярусными.

Крупноблочные основания монтируют при помощи специальных кранов судов.

Морские эстакадные сооружения. При разработке нефтяных месторождений Каспийского моря, в тяжелых гидрометеорологических условиях открытых акваторий широко используются сооружения мостового типа - магистрали эстакад с примыкающими к ним специальными производственными (ириэстакадными) площадками различного назначения. Эстакады в основном сооружают из металла и сборного железобетона.

Эстакады на свайных опорах представляют собой пролетные строения, состоящие из деревянной или железобетонной проезжей части и металлических пространственных или сплошных балочных ферм и опоры. Длина пролетного строения эстакады зависит от конструкции последней и характеристики эстакадно-строительных агрегатов. Современные эстакадостроительные агрегаты позволяют сооружать эстакады с пролетом до 20 м. Опоры представляют собой рамную систему, образованную наклонно-забитыми в грунт моря металлическими трубчатыми сваями и опорным ригелем, непосредственно воспринимающим нагрузку от пролетных строений.

Эстакады на крупноблочных опорах, сооружаемые с помощью крановых судов, представляют собой многопролетную конструкцию, состоящую из опорных блоков пирамидальной формы, расставленных на определенном расстоянии вдоль осп эстакады. Эстакады такого типа сооружают преимущественно на глубоководных акваториях. Пролетная часть выполняется в виде металлической спаренной цельносварной балки со сплошной стенкой, объединенной с железобетонной проезжей частью.

Эстакадные сооружения на свайных опорах из сборного железобетона применяют в целях экономии металла и обеспечения долговечности сооружений в коррозионно-агрессивных условиях.

Сооружения передвижного типа. Передвижные буровые установки подразделяют на три типа:

) установки с погружным понтоном;

) установки самоподъемного типа;

) установки самоподъемного типа с погружным понтоном.

Основной конструктивной особенностью передвижной буровой установки с погружным понтоном является то, что производственная площадка при помощи системы стоек или колонн, соединенных между собой распорками и подкосами, связана в общую жесткую систему с понтонами. Эту установку применяют при небольшой глубине водоемов.

Передвижные установки самоподъемного типа предназначены для бурения разведочных и эксплуатационных скважин. Преимуществами установок этого типа являются:

использование в качестве опор мощных колонн или пространственных решетчатых конструкций, имеющих большую поперечную жесткость, что позволяет создавать установки для бурения на сравнительно больших глубинах моря;

широкий диапазон применения ПБУ на различных глубинах моря в соответствии с длиной опорных колонн.

Передвижные установки самоподъемного типа с погружным понтоном имеют жестко закрепленные опорные колонны, которые составляют одно целое с понтоном. В транспортном положении понтон несет на себе опорные колонны и корпус установки. На точке бурения после приема балласта понтон с опорными колоннами погружается на дно моря. Затем корпус при помощи системы подъемников поднимают на необходимую высоту. Наличие самостоятельного понтона, опирающегося на дно моря, позволяет значительно уменьшить удельное давление на грунт и использовать ПБУ для буровых работ при слабых грунтах дна моря.

Сооружения плавучего типа. При глубинах моря свыше 100 м сооружения, опирающиеся на дно моря, отличаются громоздкостью, металлоемкостью, высокой стоимостью. Возникают трудности при их изготовлении, транспортировке и моитаже на точке бурения. Поэтому применение таких сооружений, особенно для разведочного бурения, нецелесообразно. Вместе с тем необходимость изучения геологического строения многочисленных месторождений нефти и газа, залегающих на глубоководных акваториях, требует своевременной организации на первом этапе структурного и глубокого разведочного бурения. Эти задачи решают с помощью сооружений плавучего типа, которые позволяют вести буровые работы независимо от глубины.

СТРОИТЕЛЬСТВО ДОРОГ И ОСНОВАНИЙ

Для эффективного разбуривания сильнозаболоченных и затапливаемых участков разработаны и успешно внедрены:

лежнево-сланевые дороги, площадки и трассы для перетаскивания буровых;

дороги и площадки на промороженном основании для перетаскивания буровых, так называемые ледовые дороги и основания;

лежнево-мерзлотные основания под кусты скважин с комплексным использованием лежнево-сланевого настила и промороженного грунта;

упрощенные конструкции оснований на железнодорожном ходу под буровые на затапливаемых участках.

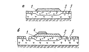
Лежнево-сланевые дороги и площадки (рис. 5) сооружают для обустройства разбуриваемых площадей и участков, покрытых болотами средней проходимости I и II типов, то есть болотами, заполненными торфом, на которых работа технических средств возможна только при снижении удельного давления на поверхность площадки.

В сланевых настилах основная нагрузка приходится на верхний, растительный слой торфяной залежи и частично на лесоматериалы, поэтому при подготовке основания корневую систему сохраняют, а пни, оставшиеся после расчистки трассы, отпиливают или обрубают заподлицо с поверхностью болота.

На болотах I типа непосредственно на поверхность торфяной залежи укладывают лежни 6 из леса первого и второго сортов (рис. 5), а на болотах II типа для равномерного распределения нагрузок сначала настилают в один слой хворост 5 и на него укладывают лежни. На лежнях располагают поперечный настил из бревен 3 диаметром 12-16 см, который крепят к лежням и прижимным брусьям 4 скрутками из проволоки. Между бревнами настила укладывают лапник 2, который засыпают слоем 1 из торфа и дренирующего грунта толщиной 0,3 м.

Размеры сланевых настилов определяют в зависимости от несущей способности болота и расчетных нагрузок. Равномерное распределение давления на торфяную залежь обеспечивают изменением размеров основания.

Дороги и площадки на промороженных основаниях (рис.6) строят на глубоких непроходимых болотах III типа только в зимний период.

Технологический процесс строительства включает в себя ряд последовательно выполняемых операций:

утрамбовку трассы для предварительного промораживания поверхности болот;

очистку дорожной полосы и площадки от снега, мохового очеса, древесной и кустарниковой растительности для ускоренного промораживания болот;

систематическую очистку сооружаемой дороги и площадки от снега в течение всего периода промораживания основания;

устройство водопропускных сооружений, деревянных настилов на непромерзающих или слабопромерзающих участках болот.

покрытие промороженного основания дороги и площадки теплоизоляционным материалом и устройство водоотводных каналов.

Лежнево-мерзлотные основания с использованием промороженного грунта (рис. 7) применяют для строительства кустов скважин на глубоких болотах; в конструктивном отношении они аналогичны лежпево-сланевым покрытиям и ледовым основаниям.

На поверхность предварительно промороженного болота укладывают лежнево-сланевый настил и насыпают дренирующий слой. Дальнейшее промораживание грунта в период строительства куста скважин происходит за счет естественной вентиляции лежневого слоя с помощью вентиляционных труб, устанавливаемых в торцевой части основания.

Такой способ дает возможность одновременно вести работы по строительству лежнево-сланевого покрытия, монтажу бурового оборудования в кусте и дальнейшему промораживанию торфяной залежи вплоть до наступления плюсовых температур. Это очень важная особенность лежнево-мерзлотных оснований с использованием промороженного грунта, так как для болот Западной Сибири характерно медленное промерзание поверхностных слоев.

Упрощенная конструкция основания для бурения кустов скважин в зонах затопления представляет собой брусчатый настил из однокантных брусьев, укладываемых непосредственно на грунт через 50 см один от другого и скрепленных сверху рельсами, которые служат для передвижения оборудования. Во избежание всплытия ненагруженных участков брусчатый настил в нескольких местах заякоривают.

В отличие от других типов искусственных оснований для затопляемых участков такая конструкция оснований, помимо простоты исполнения, не зависит от глубины паводковых вод.

УСТРОЙСТВА ДЛЯ ГИБКИ ТРУБ

Гибку труб применяют при изготовлении гнутых отводов и узлов трубопроводов. Применяют следующие основные способы гибки труб: холодный (гибочным сегментом на двух опорах, обкаткой роликом и с внутренним дерном) и горячий с нагревом в пламенных печах или токами высокой частоты.

Для гнутья стальных водогазопроводных (газовых) труб в холодном состоянии без предварительной набивки их песком (или другими наполнителями) применяют трубогибы типа ТГР.

Для гибки труб диаметром 15-32 мм в стационарных условиях применяют трубогибы ВМС23В.

Для труб диаметром 25-80 мм применяют механизм ГСТМ21, который относится к трубогибочным станкам с вращающимся гибочным роликом и работает с применением специальной оправки (дорна), вставляемой внутрь изгибаемой трубы для предотвращения образования при гибке овального сечения трубы. Гибка осуществляется в холодном состоянии.

С помощью универсального стационарного устройства УШТМ-2 наряду с гибкой стальных труб под углом до 90° можно осуществлять гибку алюминиевых и медных шин по плоскости и по ребру.

ПРИБОРЫ ДЛЯ ИЗМЕРЕНИЯ УГЛОВ

Угломеры: универсальные, оптические и маятниковые.

Уровни: брусковые, микрометрические, рамные, маятниковые, электронные, индуктивные, дифференциальные индуктивные,

Квадрант конструктивно объединяет угломер с уровнем. Бывает механические и синусным.

Автоколлиматоры применяют для точного контроля углов в небольшом диапазоне их изменения. Автоколлиматоры основаны на оптическом принципе действия; их применяют в сочетании с плоским зеркалом.


УСТАНОВКА ОБОРУДОВАНИЯ НА БЕТОННЫХ ОПОРАХ

Установка и закрепление механизмов, машин и другого оборудования - важнейшие монтажные работы, от качества выполнения которых во многом зависит их последующая работоспособность. Оборудование устанавливают на несущие строительные конструкции, которые разделяют на фундаменты (перекрытия, промышленный пол) и опорные металлоконструкции.

На бетонных опорах устанавливают оборудование, поверхность основания которого может выполнять функции установочной базы, погрешности изготовления которой значительно меньше допускаемых отклонений расположения оборудования по высоте. Суммарные погрешности изготовления поверхности бетонных опор и установочной поверхности оборудования (включая отклонения формы) не должны превышать допускаемых отклонений положения оборудования по высоте и горизонтали.

Бетонные опоры представляют собой местные возвышения на поверхности фундамента, изготовляемые перед установкой оборудования.

Размеры опор выбирают такими, чтобы давление от оборудования не превышало 500 кПа. Опоры изготовляют из бетона марки не ниже 200 с наполнителем в виде щебня или гравия фракции 5-12 мм.

Оборудование устанавливают при прочности бетона 1500 кПа. После опускания на опоры оборудование выверяют в плане и закрепляют путем предварительной затяжки гаек фундаментных болтов. В процессе выверки допускается точное регулирование высоты опорных элементов добавлением на пластину тонких металлических подкладок.

УСТАНОВКА ФУНДАМЕНТНЫХ БОЛТОВ

Фундаментные болты для крепления технологического оборудования различают по условиям эксплуатации и назначению, конструкции, способам установки и закрепления в фундаменте. Конструктивные (малонагруженные) болты служат для фиксации машин на фундаментах, повышения жесткости корпусных деталей и для предотвращения их смещения под действием случайных нагрузок. Расчетные (силовые) болты воспринимают нагрузки, которые возникают при работе оборудования.

Применяют шесть типов конструкций фундаментных болтов: изогнутые, с анкерной плитой, составные, съемные (рис, 8), прямые (рис. 9) и распорные (рис. 10).

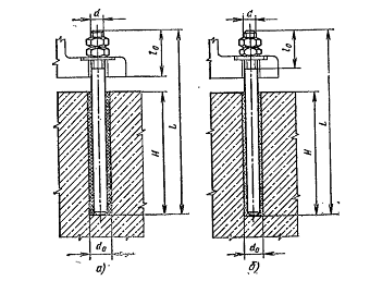
К основным установочным и конструктивным параметрам болтов относятся: глубина заложения Н, длина L болта, диаметр d резьбы, длина l0 резьбы, диаметр стержня du длина l изогнутой части, диаметр или сторона А анкерной плиты, размер S под ключ, диаметр do отверстия в фундаменте, высота h конуса.

В зависимости от конструкции болты устанавливают на кондукторах до бетонирования фундаментов; в колодцах, оставляемых при бетонировании, и в скважинах (отверстиях), пробуриваемых в готовых фундаментах, перекрытиях или полу цеха. Наиболее перспективно применение болтов, устанавливаемых в пробуриваемых скважинах (отверстиях). Этим способом устанавливают прямые болты, закрепляемые в фундаменте с применением клея различного типа и цементной зачеканки, а также болты распорного типа. Прямые болты не имеют специальных анкерующих устройств, поэтому менее надежны в эксплуатации по сравнению с другими и требуют тщательного соблюдения технологии установки. Болты распорного типа (рис. 10) обладают более высокой надежностью и простотой установки, хотя и сложнее по конструкции. Применение болтов распорного типа, обладающих малой глубиной заложения, в случаях, когда размеры фундаментов определяются длиной болтов, позволяет устанавливать оборудование без фундаментов с креплением непосредственно на перекрытиях или полу цеха.

Установку болтов осуществляют в соответствии со специально разработанным планом их расположения, в котором болты «привязаны» к разбивочным осям оборудования.

ИЗОБРАЗИТЬ И ОПИСАТЬ СХЕМУ МОНОЛИТНОГО ФУНДАМЕНТА С АНКЕРНЫМ БОЛТОМ

Фундамент - это подземная часть сооружений, которая воспринимает нагрузку от его надземной части и передает ее на основание.

Бетонный фундамент под вышку применяют для глубоких скважин с длительным сроком бурения, в основном для разведочных. Высота его должна позволять устанавливать противовыбросовое оборудование. Котлован под тумбы роют до плотной породы, но глубиной не менее 1,2 м.

Если фундамент располагается на неустойчивой породе, то для предупреждения возможного смещения угловые и промежуточные тумбы связывают якорями из 102-миллиметровых бурильных труб. Для соединения якорей в центре каждой тумбы забивают металлические вставки из бурильных труб диаметром 90 мм. В каждой тумбе оставляют отверстие размером 100х100 мм для анкерных болтов рамных брусьев.

Рисунок 12. Виды гнутых болтов и установка их в фундаментах


ИЗОБРАЗИТЬ И ОПИСАТЬ СХЕМУ УСТАНОВКИ КОНИЧЕСКИХ БОЛТОВ С РАСКЛИНИВАНИЕМ

Конические болты с распорными втулками или разрезными цангами устанавливают в скважинах с помощью монтажных оправок, легким ударом слегка осаживая втулки или цанги на конусе (рис. 11). Так как эти болты являются самоанкерующимися и их расклинивание происходит в процессе затяжки, то при установке требуется обеспечить лишь первоначальное зацепление цанг.

Рисунок 11. Схема установки конических болтов с расклиниванием цанг:

а - бурение скважины; б - установка болта; в - расклинивание болта монтажной оправкой;

г -установленный болт



ЗАКЛЮЧЕНИЕ

монтаж оборудование нефтегазодобывающий сооружение

При выполнении работы я рассмотрела такие вопросы, как:

методы производства монтажных работ;

морские нефтепромысловые гидротехнические сооружения;

строительство дорог и оснований;

устройства для гибки труб;

приборы для измерения углов;

установка оборудования на бетонных опорах;

установка фундаментных болтов.

Рассмотрев заданные вопросы, я получила представление о технологической подготовке производства, методах и приемах слесарных, сборочных, вспомогательных и основных монтажных работ, о составе и технологической структуре работ, выполняемых при монтаже оборудования промышленных предприятий. Узнала о технических характеристиках инструмента, машин и приспособлений, используемых монтажниками. Отсюда сделала выводы, что при правильном монтаже оборудования и сопутствующих монтажу подготовительных работах можно существенно повысить эффективность труда и в итоге получить высокие результаты работы.

Используемая литература:

А. Л. Ильский, А. П. Шмидт «Буровые машины и механизмы» Москва «Недра» 1989

В. С. Кузнецов «Обслуживание и ремонт бурового оборудования» Москва «Недра» 1973

А. А. Раабен, П. Е. Шевалдин, Н. Х. Максутов «Ремонт и монтаж нефтепромыслового оборудования» Москва «Недра 1989

П. П. Алексеенко «Справочник слесаря-монтажника технологического оборудования»

В. Н. Яковлев «Справочник слесаря-ремонтника». М., «Машиностроение», 1983

В. Г. Никитенко «Монтаж и ремонт нефтепромыслового оборудования» М., «Недра», 2005

Приложение

Рисунок 1. Фундаменты под буровое оборудование:

а - выкладка из брусьев с бутобетонным заполнением под ноги вышки; б - фундамент под лебедку на деревянных стульях; в - бетонный фундамент под ноги вышки


Рисунок 2. Мелкоблочные основания буровой установки:

- основание под силовой привод; 2 - привод лебедки; 3 - лебедка; 4 - основание под лебедку и ротор; 5 - ротор; 6 - подсвечник; 7 желоб; 8 - мостик; 9 - вышка; 10 - укрытие


Рисунок 3. Крупноблочные основания под буровую установку: 1 - основание вышечно-лебедочного блока; 2 - основание силового блока; 3 - основание насосного блока; 4 - мерник; 5 - насосы; 6 - каркасы укрытия; 7 - силовые агрегаты; 8 - лебедка; 9 - вышка




Рисунок 4. Схема крепления основания:

а - без анкера; б - одним анкером; в - двумя анкерами; г - тремя анкерами


Рисунок5. Конструкция лежнево-сланевой дороги и площадки под буровые



Рисунок 6. Конструкции дорог и площадок под буровые на промороженныхоснованиях:

а - временного типа; 6 - для длительной эксплуатации; 1 - снеготорфяное покрытие,

- промороженный слой торфа; 3 ~ талый слой торфа; 4 - смесь песка, щепы и опилок; 5.- водоотводные каналы


Рисунок 7. Лежнево-мерзлотное основание: 1 - песок; 2 - лежневка; 3 - торф; 4 - грунт

 

Рисунок 8. Фундаментные болты:

а и б - изогнутые; в - с анкерной плитой; г - составные; д - съемные


Рисунок 9. Фундаментные прямые болты, устанавливаемые:

а - на клее, б - виброзачеканкой



Рисунок 10. Фундаментные болты распорного типа:

в - конические с разжимными цангами (самоанкерующиеся); г - составные с распорным конусом;

д - дюбель-втулки; g - дюбели анкерные распорные

Похожие работы на - Монтаж оборудования нефтегазодобывающей отрасли

 

Не нашли материал для своей работы?
Поможем написать уникальную работу
Без плагиата!
Без нейросетей!