Ремонт трансформаторов 1 и 2 габаритов
Введение
Тема работы «Ремонт трансформаторов 1 и 2
габаритов» является актуальной, потому что трансформаторы это наиболее
распространённые устройства в современной энергетике. Трансформаторы большой
мощности составляют основу систем передачи электроэнергии от электростанций до
потребителей. Они повышают напряжение переменного тока, что необходимо для
экономной передачи электроэнергии на значительные расстояния. В местах
распределения энергии между потребителями применяют трансформаторы, понижающие
напряжение до требуемых для потребителей значений. Наряду с этим,
трансформаторы являются элементами электроустановок, где они осуществляют
преобразование напряжения питающей сети до значений необходимых для работы.
Вследствие того, что трансформаторы получили широкое
применение, возникает огромная необходимость в их качественном обслуживании.
Качественно и грамотно обслужить может только высококвалифицированный
электромонтер. Поэтому считаю, основными целями моей работы являются углубление
знаний в вопросах технического ремонта трансформаторов 1 и 2 габаритов -
повышение профессионального уровня.
Для достижения выше поставленных целей
необходимо решить следующие задачи:
подбор и анализ информации по теме дипломной
работы;
систематизация полученной информации;
оформление обработанной информации в
соответствии с ГОСТ;
представление и защита диплома;
использование полученных знаний на практике.
1.
Аналитическая часть
.1
Общая характеристика предприятия
Одно из старейших машиностроительных предприятий
«Тольятти - Трансформатор». Основанное в 1957 году, оно всегда было и остаётся
ведущим в России производителем и поставщиком трансформаторного оборудования,
преобразовательной техники и комплектующих к ним.
Стратегическая цель ООО «Тольяттинский
Трансформатор» в области качества - выпуск современной надежной качественной
продукции для удовлетворения требований потребителей, сохранения их полного
доверия, динамическое развитие организации и повышение ее имиджа, обеспечения
работников достойной оплатой за высококачественный труд.
Предприятием освоены современные технологии
производства трансформаторов с целью повышения их надежности, обеспечения
экономичности эксплуатации продукции у заказчика, снижения капитальных затрат
при строительстве или реконструкции энергетических объектов.
Основные усилия предприятия сосредоточены по
следующим направлениям:
расширение номенклатуры, т.е. увеличение
количества типов и тип исполнений выпускаемых изделий;
совершенствование существующих конструкций,
направленное на улучшение их технических параметров, снижение материалоемкости,
на основе внедрения новых технических решений, повышение качества и удобства
технического обслуживания;
комплексное диагностическое обследование
трансформаторного оборудования с использованием современных методик и приборов;
проведение капитального ремонта трансформаторов
на месте установки по эффективной технологии обмыва изоляции маслом, содержащим
моющие присадки. Монтаж трансформаторов;
разработка и внедрение новых высокоэффективных
систем акустического мониторинга высоковольтного оборудования;
приборы и методики для измерений и испытаний
трансформаторного оборудования;
обследование контуров заземления по современной
методике с локацией поврежденных участков;
проведение работ по обеспечению электромагнитной
безопасности, разработка и изготовление защитных экранов от магнитного поля
промышленной частоты;
техническое освидетельствование
электротехнического оборудования станций, подстанций и распределительных сетей;
технология обмыва изоляции ЛЭП и высоковольтного
оборудования подстанций под рабочим напряжением;
акустические обследования КРУЭ, концевых
кабельных муфт, высоковольтных вводов, экранированных токопроводов и другого
оборудования с целью локации источников электрических разрядов;
тепловизионное обследование электротехнического
оборудования;
проведение широкого спектра анализов
трансформаторных масел в современной физико-химической лаборатории;
установка устройств непрерывного контроля
изоляции высоковольтных вводов;
разработка и внедрение в электроэнергетику новых
прогрессивных технологий;
создание и освоение новых конструкций,
оборудования для нужд энергетики в сферах производства, передачи и обеспечения
качества электроэнергии;
разработка и поставка изделий, обеспечивающих
выполнение требований международных и национальных стандартов и специфических
требований Заказчика.
Заказчиками «Трансформатора» являются
практически энергосистемы России во главе с РАО «ЕЭС» и СНГ. (Поставки для РАО
ЕЭС и крупных народно-хозяйственных объектов 1999-2004гг указаны в Приложении
7). Все крупные предприятия Тольятти, ГЭС и ТЭЦ оснащены производимой им
техникой. Акционерное общество продолжает надёжно обеспечивать
работоспособность ведущих отраслей промышленности - энергетики,
нефтегазодобывающего комплекса и железных дорог, производит электромашины для
передачи и распределения электроэнергии, тяговые для электровозов,
трансформаторы питания промышленных установок нефтедобычи.
Сегодня продукция предприятия эксплуатируется в
48 странах с различными климатическими условиями: Финляндия, Вьетнам, Куба,
Алжир, Афганистан, Болгария, Марокко, Пакистан, Ирак, Сирия.
Предприятием освоены современные технологии
производства трансформаторов с целью повышения их надежности, обеспечения
экономичности эксплуатации продукции у заказчика, снижения капитальных затрат
при строительстве или реконструкции энергетических объектов.
История "Тольяттинского
трансформатора" началась в 1956 году, когда вышло распоряжение Совета
министров СССР о строительстве Ставропольского завода ртутных выпрямителей
(прежнее название Тольятти - Ставрополь-на-Волге). Предприятие прошло несколько
стадий развития и неоднократно меняло название - Тольяттинский
электротехнический завод, Средневолжское производственное объединение
"Трансформатор", ОАО "Трансформатор", ООО
"Тольяттинский трансформатор". Сейчас ООО "Тольяттинский
трансформатор" - один из крупнейших на постсоветском пространстве
изготовитель силовых высоковольтных трансформаторов с установленной
производственной мощностью до 30 000 000 кВА (трансформаторы общего и
специального назначения классов напряжений от 35 до 500 кВ и мощностью от 2,5
тыс. до 400 тыс. кВА). Продукция предприятия эксплуатируется более чем в 50
странах мира, в том числе в Восточной и Западной Европе.
Смена собственника на предприятии произошла в
2003 году. Изношенное оборудование, устаревшие технологии, отсутствие оборотных
средств, слабый рынок - реалии, в которых необходимо было принять решение о
будущем завода. В то время могли быть две стратегии: максимизация прибыли на
"старых мощностях" при отсутствии инвестиций на перевооружение или же
активная инвестиционная политика, направленная на коренное обновление основных
фондов, внедрение современного оборудования и освоение новейших технологий.
Акционеры компании в тот очень сложный период совместно с новым менеджментом
предприятия приняли решение реинвестировать прибыль в технологическое развитие.
И "Тольяттинскому трансформатору" в рамках принятой стратегии
развития за несколько лет удалось обновить оборудование на 80%. При этом на
замену было выбрано не просто хорошее, а самое лучшее оборудование у наиболее
авторитетных зарубежных компаний. На производственных мощностях завода
используются лучшие импортные образцы станков и оборудования. Например, для
производства баков трансформаторов применяются шведские линии плазменной и
газовой резки по электронному чертежу Suprarex SXE-P1, финские и шведские
сварочные аппараты с синергетическим управлением компаний ESAB и Kempi,
японские сварочные тракторы Koike, чешские ленточнопильные станки с ЧПУ Pegas,
токарное и фрезерное оборудование фирм Hermle (Германия), Hyundai-KIA (Корея),
Goodway (Тайвань).
Генеральный директор "Тольяттинского
трансформатора" Игорь Птицын, говоря о модернизации производства, отмечал,
что предприятие имеет значительные площади. Это позволило в процессе
реконструкции завода не останавливать производство. Уже сейчас можно говорить о
том, что предприятие по оснащению не уступает 90% аналогичных заводов мира, а к
2012 году оно будет представлять собой вполне "западное" производство,
отмечают в "Тольяттинском трансформаторе".
У компании исходно было представление о том, что
силовые трансформаторы и другое оборудование - "элементы кровеносной
системы энергетики", от которых во многом зависит надежное
функционирование электроэнергетической отрасли в частности и экономики в целом.
На сегодняшний день отложенный спрос на высоковольтное трансформаторное
оборудование в России можно оценить в 300-400 млрд рублей, и по мере
устаревания советского оборудования потребности экономики в энергосетевом
оборудовании будут только расти.
"Тольяттинский трансформатор" - одно
из немногих предприятий города, которое не имеет отношения к автомобильной
промышленности. В условиях кризиса автопрома существование такого производства
имеет большое значение для Тольятти, поскольку не зависит напрямую от положения
дел в отрасли, сильно затронутой кризисом. Губернатор Самарской области
Владимир Артяков в феврале 2009 года определил "Тольяттинский
трансформатор" как "уникальное производство с новейшими технологиями"
и назвал предприятие "островком стабильности".
Этапы строительства силовых
трансформаторов и новые технологические процессы за время существования
«Тольяттинского Трансформатора» по 2005г.
-1968 - Освоение
производства силовых трансформаторов 110,220 кв. Начало производства в 1964
ТМГ-5600/110, освоение выпуска трансформаторов 40000/110, 40000/220? 63000/220;
Продольный раскрой рулонной трансформаторной стали на линии КОМЭК, поперечный
раскрой стали на линиях 720, отжиг пластин электротехнической стали в печах
ОКБ-885
1969-1978 - Совершенствование
конструкции и технологии производства силовых трансформаторов 110 и 220 кВ. и
освоение трансформаторов напряжением свыше 220 кВ. В 1978 начало производства
трансформаторов напряжением 500кВ., первый автотрансформатор ОРЦ135000/500 для
Волжской ГЭС; Разработана технология производства трансформаторов с
бесшпилечным соединением остовов, изготовление пластин из рулонной
холоднокатной стали, подпрессовка обмоток телескопическими пружинами в процессе
сушки.
1979-1987 - Вторичная
модернизация силовых трансформаторов серии 110кВ; Усовершенствование продольной
и главной изоляции, разработка схем рационального размещения отводов и
переключателя напряжения в баке, уменьшены габариты трансформаторов.
1988-1990 - В
1978 по заказу Минуглепрома выпущен шахтный трансформатор ТДТНШ-16000/110. В
1980 разработаны трансформаторы напряжения 220кВ для БАМа, Сибири и Дальнего
Востока. В 1981 разработан трансформатор ТРДНФ-25000/110 c повышенной
нагрузочной способностью, освоены трансформаторы мощностью 16000,25000,40000
кВА. В 1983-1990 внедрены трансформаторы для питания электрифицированных ЖД на
переменном токе системы 27,5 кВ и 2х27,5кВ для работы в составе сетей
передвижных тяговых подстанций.В 1995 освоены тяговые однофазные трансформаторы
напряжением 25кВ для электровоза. Разработаны трансформаторы для питания
резкопеременных нагрузок главных приводов прокатных станов металлургических
производств и дуговых сталеплавильных печей.В 1989 освоены трансформаторы в
сейсмостойком исполнении. В 1990 изготовлен трансформатор АТДТН-63000/220/110.
2002 - Освоены
трансформаторы класса напряжения 0,4-500 кВА, выпускались выпрямители для
питания радиоустройств постоянным током, автотрансформаторы трехфазные
регулировочные и стабилизирующие для питания установок, требующих плавного
регулирования и стабилизации напряжения.
2003
- Изготовление для РАО ЕЭС блоков тиристорных вентилей для пилотного СТК100
Мвар ПС 500кВ Ново-Анжерская.
2004
- Произведено товарной продукции на 17990 тысяч рублей.
2005
- Произведено товарной продукции на 360940 тысяч рублей.
Юридический адрес
ООО "Тольяттинский Трансформатор"
Адрес: 445601, Россия, г. Тольятти, Самарская
область, ул. Индустриальная, д.
Лицензии и сертификаты
. Разрешение на эксплуатацию передвижной электролаборатории
ЛВИ Мега-1 на шасси а/м ГАЗ - 2705; (Приложение 1)
.Свидетельство о допуске к работам, которые
оказывают влияние на безопасность объектов капитального строительства;
(Приложение 2)
. Свидетельство о юридических и правовых
полномочиях ООО "Сервисный-Центр Тольяттинский Трансформатор".
(Приложение 3)
4.Свидетельство и приложение о допуске к
работам, которые оказывают влияние на безопасность объектов капитального
строительства; 2011г. (Приложение 4)
. О работе по модернизации группы АТ ПС
"Красноармейская" (Приложение 5)
. Сертификат соответствия СМК от
2007г.;1(Приложение 6)
2.
Организационно - расчетная часть
.1 Общие требования и условия работы силовых трансформаторов
Силовые трансформаторы являются
основой системы электроснабжения крупных предприятий, имеющих в своем составе
главные понижающие подстанции - ГПП (5УР), в средних предприятиях, имеющих
распределительные подстанции - РП на 6;10 кВ (4УР) с разветвленными
высоковольтными сетями и несколькими трансформаторными подстанциями ТП на 6;10
кВ(3УР). Производственная деятельность малых предприятий, как правило, имеющих
в своем составе одну - две ТП на 6;10/0,4КВ, во многом зависит от надежной
работы силовых трансформаторов [щитов и шкафов, распределительных пунктов РП на
0,4кВ (2УР)]. В реальных условиях каждый из шести уровней системы
электроснабжения может быть границей раздела предприятие - энергосистема,
решения по которой юридически согласовываются между энергоснабжающими
организациями и потребителем (абонентом) .
По расчетной электрической нагрузке
Рр предприятия определяется необходимость сооружения ГПП (или ПГВ -
подстанции глубокого ввода, или ОП - опорной подстанции электроснабжения
предприятия). Наиболее распространенное число подстанций с напряжением пятого
уровня на одном предприятии одна - две, но бывает до двух и более десятков. ГПП
принимают электроэнергию от трансформаторов энергосистемы или, например, от
блочной ТЭЦ или гидроэлектростанции (ГРЭС). Высшее напряжение трансформаторов
ГПП в России35,110,154,220,330кВ; питание подводится по воздушным и кабельным
линиям электропередач (ЛЭП). Отходящие от ГПП высоковольтные распределительные
сети, рассчитанные на 6;10 кВ (хотя могут быть и на 110кВ), называют
межцеховыми (заводскими). Обычно ряд мощностей ГПП: 10,16,25,40,63,80,110, 125МВ∙А,
а в отдельных случаях и выше.
Для электроснабжения потребителей
напряжением до 1 кВ (220,380,500,600В) сооружают трансформаторные подстанции с
высшим напряжением чаще всего на 6;10 кВ (но существуют подстанции, напряжением
3,20 кВ), которые обычно называют цеховыми, а с учетом комплектной поставки (с
транформаторами, щитом низкого напряжения и оцинковкой, вводным высоковольтным
отключающим устройством) их обозначают КТП. Ряд применяемых мощностей ТП:100,
160,250,400, 630, 1000, 1600,2500кВ∙А. Из - за больших токов короткого
замыкания (КЗ) на стороне 0,4кВ, вызывающих сложности коммутации и передачи
электроэнергии приемникам, трансформаторы на 2500кВ∙А применяются только
в специальных случаях.
Кроме трансформаторов,
устанавливаемых на 5 УР для присоединения предприятия к энергосистеме, и
трансформаторов, устанавливаемых на 3УР, обеспечивающих потребителей низким (до
1кВ) напряжением трехфазного переменного тока, существуют специальные
подстанции со своими силовыми трансформаторами: печными, выпрямительными (для
создания сети постоянного тока до 1,5кВ), преобразовательными, сварочными и
другими, которые могут использоваться и как ГПП, и как цеховые ТП.
Решение о строительстве
трансформаторной подстанции принимается в составе решения о строительстве завода
(цеха). Особенностью решения о строительстве трансформаторной подстанции
является то, что она не выделяется, а рассматривается и утверждается как часть
предприятия, сооружения - объекта, подлежащего новому строительству,
реконструкции, модернизации, расширению перевооружению. Конечно, для электриков
подстанции и сети являются самостоятельными объектами, согласование параметров
которых с субъектами электроснабжения, а также их последующее проектирование,
строительство и принятие в эксплуатацию осуществляется по отдельным срокам и
графикам, не зависящих от основного производства.
Принятие технологического решения
начинается с утверждения технологического задания на строительство завода
определенного состава. По технологическим данным оценивают параметры энергопотребления,
определяют нагрузку по цехам (для выбора мощности цеховых трансформаторов и
выявления высоковольтных двигателей) и заводу в целом (для выбора ГПП, их числа
и единичной мощности трансформаторов на каждой подстанции).
Готовые решения служат материалом
для получения технических условий от энергосберегающей организации
(энергосистемы). Одновременно собирают следующие сведения: особенности
энергосистемы и вероятных мест присоединения потребителей; данные по объектам -
аналогам и месту строительства. Определяющими данными на начальном этапе
являются:
значения расчетного максимума
нагрузки и число часов использования этого максимума, связанных с
электропотреблением;
схема примыкающей районной
энергосистемы с характеристиками источников питания, и сетей внешнего
электроснабжения, позволяющая решать вопрос выбора мощности трансформатора и
схемы его присоединения (размещение трансформатора следует увязывать с заходами
ЛЭП) .
Предложения или проектные проработки
по выбору трансформатора 3УР (в диапазоне мощности 100…..2500кВ∙А),
определяются условиями потребителя, а для средних и крупных предприятий -
особенностями энергосистемы, к сетям которой они подключены.
Основными параметрами, определяющими
конструктивное выполнение и построение сети являются:
для линий электропередачи -
номинальное напряжение, направление (откуда и куда), протяженность, число
цепей, сечение провода;
для подстанций - сочетание
номинальных напряжений, число и мощность трансформаторов, схема присоединения к
сети и компенсация реактивной мощности.
В России сложились две системы
электрических сетей на номинальные напряжения 110 кВ и выше (110, 200, 500кВ),
принятая на востоке страны, и 110(154), 330, 750 кВ, принятая в западной части
страны.
Для электроэнергетики страны это
означает:
увеличение потерь электроэнергии из
- за повышения числа ее трансформаций, необходимость создания сложных
коммутационных узлов и ограничения пропускной способности межсистемных связей;
дополнительную нагрузку предприятий
электропромышленности, то есть номенклатуры выпускаемых видов продукции;
финансирование дополнительного
строительства подстанций и линий передач предприятиям, попавшим в зону
«стыковки»;
необходимость учета тенденций
развития электрохозяйства, то есть расчет и прогнозирование параметров электропотребления.
Таким образом, подводя итог,
необходимо сделать следующие выводы.
На всех подстанциях для изменения
напряжения переменного тока служат силовые трансформаторы различного
конструктивного исполнения, выпускаемые в широком диапазоне номинальных мощностей
и напряжений.
Выбор трансформаторов заключается в
определении их требуемого числа, типа, номинальных напряжений и мощности, а
также группы и схемы соединения обмоток.
2.2 Диагностика
трансформаторов
Актуальность
вопроса определения состояния трансформаторного оборудования (диагностика)
возрастает с каждым днем и напрямую зависит от динамики износа парка
оборудования, находящегося в эксплуатации. На сегодняшний день около 60%
работающего оборудования отслужило свой эксплуатационный срок, и нуждаются в
замене. 40% трансформаторов имеют средний возраст 18 лет и, согласно
регламенту, требуют проведение капремонта. Правильная оценка возможности
дальнейшей эксплуатации оборудования на основании проведенной диагностики
позволяет избежать неоправданных финансовых затрат, а также потерь, связанных с
аварийным отключением электроснабжения.
Технические
средства, практический опыт производства и проведения исследовательских работ
Испытательным Центром и Сервисным Центром предприятия дают возможность
проведения диагностических работ как на трансформаторе, выведенном в ремонт,
так и находящимся под рабочим напряжением.
Комплекс измерений
под рабочим напряжением:
Анализ данных
технических архивов, эксплуатационной документации, результатов испытаний и
измерений;
Хромотографический
и физико-химический анализ масла (Анализ данных за весь период службы);
Тепловизионное
обследование оборудования;
Определение уровня
частичных разрядов в оборудовании двумя методами электрическим и акустическим;
Определение
вибрационных характеристик оборудования;
Диагностика
маслонасосов и системы охлаждения;
Диагностика
переключающего устройства трансформатора (РПН).
Комплекс измерений
на оборудовании, выведенном из работы:
Измерение потерь
холостого хода на пониженном напряжении;
Измерение
параметров короткого замыкания на пониженном напряжении;
Измерение
коэффициента трансформации;
Измерение
сопротивлений обмоток постоянному току;
Измерение
сопротивления изоляции, R15/R60;
Измерение tgδ и С°;
Диагностика
переключающего устройства трансформатора (РПН).
Диагностика
механических деформаций обмоток трансформаторов основанная на применении метода
низковольтных импульсов/частотного анализа.
2.2.1 Определение основных физико-химических свойств
трансформаторного масла
В случае отсутствия паспортных
данных поступившего в ремонт трансформатора необходимо провести испытание
трансформаторного масла а основные физико-химические свойства (табл.1)
(Приложение 8) .
Масло для испытания отбирают из
специально предусмотренного крана в чистую сухую стеклянную посуду,
предварительно слив 2- 3 л масла и ополоснув им посуду. Масло испытывают на
пробой на специальной установке. Для трансформаторов с номинальным напряжением
до 15 кВ пробивное напряжение должно быть не менее 25 кВ при условии выполнения
шести проб. Проводят сокращенный химический анализ для проверки соответствия их
приведенным в таблице.
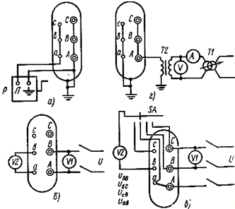
2.2.2 Измерение сопротивления изоляции обмоток
Измерения выполняют мегаомметром
1000 В. Для двухобмоточных трансформаторов измеряют сопротивление изоляции
между обмоткой ВН и баком при заземленной обмотке НН (рис.2, а); между обмоткой
НН и баком при заземленной обмотке ВН; между соединенными между собой обмотками
ВН и НН и баком. Сопротивление изоляции при 10 °С должно быть в пределах
800-600 МОм.
2.2.3 Определение коэффициента трансформации
Коэффициент трансформации определяют
методом двух вольтметров (рис.2, б). На вводы НН подают напряжение порядка
100-400 В. С помощью вольтметров V1 и V2 измеряют поочередно напряжение па всех
ступенях напряжения обмоток ВН и НН. Вольтметр V2 присоединяется через
трансформатор напряжения. Определяют коэффициент трансформации для всех фаз и
ступеней. Допустимое отклонение коэффициента от расчетного должно быть ±0,5%.
отклонение по фазам 1-2 %.
2.2.4 Определение группы соединения обмоток
Определение группы выполняю; методом
двух вольтметров (рис.2, в) VI и V2. Вводы А и а испытуемого трансформатора
соединяют. К одной из обмоток подводят напряжение 220 В и измеряют поочередно
напряжения между вводами в - В, в - С и с - В. По измеренным напряжениям и
полученным коэффициентам трансформации по справочным таблицам находят группу
соединения обмоток.
Рис.1 Схемы измерения:
а - сопротивления изоляции,
б - коэффициента трансформации,
в - группы соединения обмоток,
г - прочности изоляции
2.2.5 Испытание прочности изоляции между обмотками ВН и НН и
каждой из них относительно бака
(рис.2, г)
С помощью автотрансформатора T1
(рис.2,г), подключенного к сети переменного тока промышленной частоты 50 Гц,
плавно поднимают напряжение трансформатора Т2 до 35 кВ для масляных
трансформаторов и 23 кВ для сухих с номинальным напряжением 10 кВ. Если в
течение 1 м не наблюдается потрескивания или перекрытия, стрелки вольтметра и
амперметра не изменяют своих показаний, плавно снижают напряжение до нуля и
считают, что трансформатор выдержал испытания.
Если в результате осмотра и
приведенных выше испытаний повреждения активной части трансформатора
установлены, приступают к ее осмотру.
Трансформатор устанавливают под крюк
подъемного механизма так, чтобы крюк находился над центром тяжести
трансформатора (пересечения осей крышки трансформатора), демонтируют термометр
и пробивной предохранитель, чтобы не повредить их при подъеме выемной части,
отвинчивают болты, крепящие крышку, ослабляют крепления изоляторов и вводов,
установленных на крышке.
Активную часть трансформатора
поднимают после частичного слива масла до уровня ниже уплотняющей прокладки
крышки в трансформаторах с расширителем. Чтобы избежать появления влаги (росы)
на остове и обмотках трансформатора, активную часть разрешается поднимать
только при условии, когда температура ее равна или выше температуры окружающего
воздуха.
Чтобы не повредить обмотки, подъем
рекомендуется проводить вдвоем, удерживая стропы и крышку трансформатора, чтобы
магнитная система и обмотки не задевали за края бака. Подняв активную часть на
15-20 см, определяют уровень масла в трансформаторе и проверяют, полностью ли
были покрыты маслом обмотки и отводы. Только после этого допускается полный спуск
масла.
Подняв активную часть
трансформатора, осматривают ее. Проверяют чистоту обмоток, обращая особое
внимание на каналы между обмотками и магнитопроводом. Твердые парафиновые
отложения очищают протирочной ветошью или кистью, смоченными в бензине.
Почерневшие или подгоревшие места
катушек свидетельствуют о межвитковом замыкании обмоток или пробое на корпус.
Выявляют на ощупь места ослабления витков. В этих местах, как правило,
поврежденной оказывается изоляция обмотки, обуглившаяся в результате межвитковых
замыканий, не видимых с внешней стороны. Проверяют внешним осмотром состояние
изоляции, отсутствие деформаций и смещений обмоток или ее витков, наличие
изоляционных прокладок, клиньев, распорок.
Ослабление витков обмотки устраняют
под прессовкой обмоток. Между уравнительной и ярмовой изоляциями забивают
дополнительные изоляционные клинья, изготовленные из сухого дерева,
электрокартона или гетинакса. Расклинивают ряд за рядом равномерно по всей
окружности. При этом применяют вспомогательный брусок. Чтобы не размочалить
торцы забиваемых клиньев, ударяют по деревянному бруску. Для небольших
трансформаторов подпрессовка выполняется ярмовыми балками.
Мегаомметром 1000 В проверяют
отсутствие обрывов и сопротивление изоляции обмоток НН и ВН на корпус и между
обмотками ВН и НН.
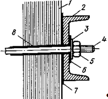
Проверяют также надежность контактов
концов обмотки с вводами, места паек, изоляцию шпилек (рис.3) и бандажей бес
шпилечных трансформаторов, стягивающих сталь магнит проводах.
Рис.2. Изоляция стяжной шпильки
ярма:
- ярмо,
- ярмовая балка,
- стальная шайба,
- шпилька.
- гайка,
- изоляционная шайба,
- изоляционная прокладка,
- изоляционная трубка
При внешнем осмотре обращают
внимание на состояние переключателей. Одновременно осматривают бак, расширитель,
соединительные трубопроводы и уплотнения.
Если оказываются поврежденными
магнитная система или обмотки, трансформатор подлежит капитальному ремонту с
разборкой активной части. При повреждениях других частей ремонт последних
производят без полной разборки трансформатора.
2.3
Расчет годового объёма ремонтных работ в «Тольятти Трансформатор», трудоемкости
работ и численности штата предприятия
Так как «ТТ» обеспечивает ремонт силовых
трансформаторов разных модификаций, размеров и мощностей, то для упрощения
расчетов его производственную программу приводят по трудоемкости одной модели,
принимаемой за основную , производственные , временные и экономические затраты
на ремонт которой можно принять за средние, с помощью специально разработанных
коэффициентов. В качестве основной модели примем силовой трансформатор средних
параметров.
Коэффициент приведения капитального ремонта
силового трансформатора к основной модели Кс представляет собой отношение
трудоемкости капитального ремонта силового трансформатора различных моделей к
трудоемкости капитального ремонта силового трансформатора основной модели.
Исходные данные:
- номенклатура и количество ремонтируемых
силовых трансформаторов……………. 1200 ед. в год ,
- односменная пятидневная рабочая неделя.
Рассчет годовой производственной программы в
приведенных капитальных ремонтах определяется по формуле:
пр = Ni∙ Кс
,
где Ni-
количество заданных капитальных ремонтов в год по конкретным моделям силовых
трансформаторов;
Кс - коэффициент
привидения капитального ремонта силового трансформатора к основной модели К =
1,75.
пр = 1200 ∙ 1,75 = 2100 ед.
Норматив трудоемкости определяется по формуле.
ta = to.м
∙ Кn
∙
Кс ∙Ка ,
где ta-
трудоемкость капитального ремонта силового трансформатора , чел.ч;
tо.м - трудоемкость
капитального ремонта силового трансформатора основной модели при эталонной
годовой программе , tо.м = 520
чел. ч.;
Кn-
коэффициент коррекции трудоемкости, учитывающий годовую производственную
программу, Кс = 0,97;
Кс - коэффициент коррекции трудоемкости ,
учитывающий структуру производственной программы предприятия , Кс = 1
Ка - возьмем из
раздела 1 пункт 1.3 , Ка = 1,75.
ta= 520 ∙ 0,97
∙ 1 ∙ 1,75 = 882 чел. ч.
Годовой объем работ предприятия определяется по
формуле:
Тг = ta∙
Nпр
Тг= 520 ∙ 2100
= 1092000 чел.ч.
Годовые фонды времени рабочих и оборудования
определяются исходя из режима работы « ТТ » и подразделяются на номинальные и
действительные.
Номинальный годовой фонд времени Фк.р
определяется числом рабочих дней в году , продолжительностью рабочей недели и
количеством рабочих смен по формуле:
Фн.р = [ 365 - ( 104
+dп )] ∙ Tс.м ∙ y ,
где 365 - число календарных дней в году;
104 - число выходных дней в году;
dп - число
праздничных дней в году;с.м - продолжительность смены , ч.;
y- количество смен.
Фн.р = [ 365 - ( 104
+ 11 )] ∙ 8 ∙ 1 = 2000 ч.
Действительный годовой фонд рабочего времени Фд.р
определяется вычитанием из номинального годового фонда неизбежных потерь
рабочего времени , учитывающих продолжительность профессиональных и учебных
отпусков , отпусков по болезни , а также пропусков рабочего времени по другим
уважительным причинам по формуле:
Фд.р = [ 365 - ( 104
+ dп + dо + dб + dд)] ∙ Тс.м ∙ у ,
где do-
продолжительность профессионального отпуска;
dб -продолжительность
отпуска по болезни;
dд - пропуск
рабочего времени по другим уважительным причинам.
Фд.р = [ 365 - ( 104
+ 11 + 24 + 15 + 7 )] ∙ 8 ∙ 1 = 1632 ч.
Действительный годовой фонд времени оборудования
определяется по формуле:
Фд.о = [ 365 - ( 104
+ dп)] ∙ Tс.м ∙ у ∙ no,
где no- коэффициент
использования оборудования , учитывающий простой в профилактическом
обслуживании и ремонте , no= 0,93…0,98.
Фд.о = [ 365 - ( 104
+ 11 )] ∙8 ∙ 1 ∙ 0,98 = 2744 ч.
mcп = Тр / Фдр; mсп = 1092000 /1632 =669.
Принимаем 669 чел.
яв = Тr / Фн.р, mяв = 1092000 / 2000 = 546.
Принимаем 546чел.
Число вспомогательных рабочих на предприятии
будет:
всп = mcп · 30 / 100 , mвсп = 669 · 30 / 100 =
200,7
Принимаем 201 чел
Число инженерно-технических работников ,
служащих и младшего обслуживающего персонала будет:
инж = (mсп + mвсп) · 20 /100 , mинж = (669 +201)
· 20 / 100 = 174.
Принимаем 174 чел.
Количество ИТР определяется в процентном
отношении от списочного
количества производственных и вспомогательных
рабочих по формуле:
итр = ( 0,06…0,08 ) ∙ ( mсп- mинж) ,
mитр = 0,06 ∙ ( 669 - 210) = 27,54 %
Профессионально-квалифицированный состав «ТТ».
Таблица 1
|
Вспомогательные
рабочие
|
Общая
численность рабочих
|
в
том числе по разрядам
|
|
|
I
|
II
|
III
|
IV
|
V
|
VI
|
VII
|
|
ИТР
|
93
|
__
|
__
|
45
|
48
|
__
|
__
|
__
|
|
Инженеры
|
124
|
|
|
69
|
55
|
|
|
|
|
Производственные
рабочие
|
156
|
__
|
__
|
74
|
82
|
__
|
__
|
__
|
|
Вспомогательные
рабочие
|
201
|
|
|
201
|
|
|
|
|
|
И
того по ТТ
|
|
|
|
|
|
|
|
|
3. Технологическая часть
.1 Капитальный ремонт
Наиболее часто в
трансформаторах повреждаются обмотки ВН, реже НН. Повреждения в основном
происходят из-за снижения электрических свойств изоляции на каком-нибудь
участке обмотки, в результате чего наступает электрический пробой изоляции
между витками и их замыкание, приводящее к выходу трансформатора из строя.
Повреждение внешних
деталей трансформатора (расширителя, бака, арматуры, вводов, пробивного
предохранителя) можно обнаружить при внимательном осмотре, а внутренних - в
результате испытаний.
Сначала
трансформатор очищают от грязи, а затем внимательно осматривают его снаружи с
целью выявления внешних неисправностей: трещин в армировочных швах, сколов
фарфора вводов, нарушений сварных швов и протекания масла из фланцевых
соединений, механических повреждений циркуляционных труб, расширителя и других
деталей. Обнаруженные неисправности записывают в дефектировочные карты.
Перед разборкой из
трансформатора сливают (частично или полностью) масло. Частично (до уровня
верхнего ярма магнитопровода) масло сливают, если ремонтные работы выполняются
без подъема активной части трансформатора (например, при замене вводов, ремонте
контактов переключателя) или с ее подъемом, но на время, не превышающее
допустимое время пребывания обмоток трансформатора без масла. Полностью масло
сливают, если необходима сушка активной части трансформатора или в случаях,
требующих замены поврежденных обмоток или замены масла при его непригодности
для дальнейшего использования из-за загрязнения и увлажнения.
Последовательность
разборки трансформатора зависит от его конструкции. Рассмотрим основные
операции разборки и ремонта трансформаторов большого диапазона мощностей и
различного конструктивного исполнения.
Разборку начинают с
демонтажа газового реле, предохранительной трубы, термометра, расширителя и
других устройств и деталей, расположенных на крышке трансформатора. При
демонтаже газового реле под него подкладывают деревянную планку шириной 200 мм
или резиновую пластину толщиной около 10 мм. Затем отвертывают болты крепления
(придерживая реле рукой) и, перемещая корпус реле параллельно фланцам, снимают
его. Отверстия реле закрывают листами фанеры или картона и закрепляют
освободившимися болтами. Реле аккуратно кладут на стеллаж или передают в
электролабораторию для испытаний и ремонта.
Расширитель
демонтируют в следующем порядке: снимают с него маслопровод с краном, стекло
масло указателя закрывают временным щитком из фанеры, привязав его к арматуре
масло указателя веревками; стропят расширитель пеньковым или стальным стропом
(в зависимости от массы) и отвертывают крепежные болты; устанавливают наклонно
две доски и по ним опускают расширитель на пол; закрывают отверстия в крышке и
расширителе временными фланцами из листовой резины, фанеры или картона во
избежание попадания в них грязи и влаги.
Далее демонтируют
крышку трансформатора, при этом освободившиеся болты укомплектовывают шайбами и
гайками, смачивают керосином и хранят в металлической таре до сборки.
Для подъема
активной части трансформатора применяют специальные приспособления и стропы,
рассчитанные на массу поднимаемого груза и прошедшие необходимые испытания. При
подъеме активной части трансформатора с вводами, расположенными на стенках
бака, сначала отсоединяют отводы, демонтируют вводы и только затем поднимают
активную часть. При этом, когда крышка будет приподнята над баком на 200 - 250
мм, подъем временно прекращают, чтобы убедиться в отсутствии перекоса
поднимаемой активной части, который может привести к повреждению обмоток. Если
обнаружится перекос, активную часть опускают на дно бака и снова поднимают
только после его ликвидации. В начале подъема рекомендуется убедиться в
исправности грузоподъемного механизма, для чего необходимо поднять активную
часть на 50 - 200 мм над уровнем дна бака и держать ее на весу в течение 3-5
мин, затем продолжить подъем. Подняв активную часть над баком не менее чем на
200 мм, бак удаляют. Стоять под активной частью или в опасной близости от нее,
а также производить ее осмотр категорически запрещается.
Активную часть,
поднятую из бака, устанавливают на прочном помосте из досок или брусков так,
чтобы обеспечить ее устойчивое вертикальное положение и возможность осмотра,
проверки, ремонта.
Продолжая разборку,
отсоединяют отводы от вводов и переключателя, проверяют состояние их изоляции,
армированных швов ввода и контактной системы переключателя (все неисправности
записывают в дефектировочную карту). Затем отвертывают рымы с вертикальных
шпилек, снимают крышку и укладывают так, чтобы не повредить выступающие под
крышкой части; вводы закрывают цилиндрами из картона или обертывают мешковиной.
Основные операции
по демонтажу обмоток выполняют в такой последовательности: удаляют вертикальные
шпильки, отвертывают гайки стяжных болтов и снимают ярмовые балки
магнитопровода, связывая и располагая пакеты пластин по порядку, чтобы удобнее
было их затем шихтовать. Далее разбирают соединения обмоток, удаляют отводы,
извлекают деревянные и картонные детали расклиновки обмоток ВН и НН и снимают
обмотки вручную или с помощью подъемного механизма (обмотки трансформаторов
мощностью 100кВ-А и выше) сначала ВН, а затем НН.
При дефектировке
обмоток для определения мест витковых замыканий используют комплект специальных
приборов. После дефектировки поврежденные обмотки доставляют в обмоточное
отделение, а расширитель, переключатель, вводы и другие детали трансформатора,
требующие ремонта, - в отделение ремонта электромеханической части.
При ремонте обмоток
с поврежденной изоляцией (в результате электрического пробоя или износа)
целесообразно использовать повторно провод обмоток после его пере изолировки.
Процесс пере изолировки заключается в обжигании его в печи (при температуре 550
- 600°С), промывке в горячей воде и покрытии новой изоляцией на оплеточных
станках или специальными приспособлениями на обычном токарном станке. В
качестве изоляционных материалов применяют хлопчатобумажную (шелковую,
стеклянную, из химических волокон) пряжу высоких номеров (Л-» 60 и более),
ленты из кабельной или телефонной бумаги шириной 10 - 25 мм, толщиной 0,05 -
0,12 мм. При правильном выполнении операций пере изолированный обмоточный
провод по своим качествам будет равноценен новому.
Обмотки, имеющие
небольшой участок повреждений проводов (оплавление или выгорание) и изоляции, в
некоторых случаях ремонтируют только частичной перемоткой. Однако при таком
ремонте возникают трудности с удалением поврежденной части обмотки и намотки
новых секций. Кроме того, продолжительность работы трансформаторов с частично
перемотанными обмотками в 2 - 3 раза меньше, чем трансформаторов с полностью
перемотанными обмотками.
Намотку новых
обмоток выполняют по образцам поврежденных обмоток на специальных намоточных
станках, оснащенных шаблонами, натяжными приспособлениями и стойками с
натяжными устройствами для барабанов с обмоточным проводом. Перед ремонтом,
пользуясь чертежами, дефектировочной, маршрутной и технологической картами,
подготавливают необходимые изоляционные и проводниковые материалы и инвентарные
приспособления, а также рабочие и измерительные инструменты.
При изготовлении,
сборке и монтаже обмоток в качестве изоляционных материалов применяют бумагу
(кабельную, телефонную), электротехнический картон и деревянные детали, а также
изоляционные конструкции из этих материалов.
Провод обмотки
обычно наматывают на бумажно-бакелитовый цилиндр; кабельную и телефонную бумагу
используют чаще всего в качестве межслойной изоляции, картон - в виде прокладок
и штампованных или клееных изоляционных деталей, а изоляционные конструкции -
как уравнительную и ярмовую изоляцию.
Изготовленную
обмотку стягивают с помощью круглых стальных плит и шпилек (чтобы обмотка не
рассыпалась при транспортировке к месту выполнения очередной технологической
операции) и отправляют на сушку. Она повышает качество обмотки и
продолжительность ее работы в результате удаления влаги из бумажной изоляции,
которая резко снижает электрическую прочность и срок ее службы.
Обмотки на напряжение
до 35 кВ сушат при температуре до 105 °С в обычных сушильных камерах с вытяжной
вентиляцией и электрическим или паровым подогревом, а на напряжение 35 кВ и
выше - в вакуумных сушильных камерах.
После сушки обмотку
сжимают с помощью гидропресса без снятия плит, пока ее размер по оси не
достигнет требуемого. Затем проверяют другие размеры обмотки, ликвидируют (с
помощью клиньев) наклон катушек, обрезают выступающие части реек и клиньев,
выявляют и ликвидируют другие дефекты обмотки, появившиеся в процессе намотки,
сушки или прессовки.
Готовую обмотку
подвергают различным проверкам и испытаниям с целью определения ее качества.
Затем обмотку
направляют в сборочное отделение или устанавливают в специальную рамку и хранят
в сухом и отапливаемом помещении.
3.1.1 Ремонт отдельных
частей
Магнит проводы
требуют чаще всего частичного ремонта, реже - ремонта с полной разборкой и
перешихтовкой активной стали.
Частичный ремонт
выполняют при небольших повреждениях изоляционных деталей, ослаблении крепления
ярмовых балок и т. п.
Места прогара и
оплавления активной стали зачищают, снимая наплывы металла карборундовым
камнем, насаженным на вал электросверлильной машинки, или вырубая зубилом.
Затем на этих местах распрессовывают пластины магнитопровода, отделяют сваренные
пластины, снимают заусенцы и, очистив участки от остатков старой изоляции и
металлических опилок, изолируют пластины, прокладывая между ними листы
телефонной или кабельной бумаги.
Часто в магнит
проводах бывают полностью повреждены бумажно-бакелитовые трубки, изолирующие
стяжные шпильки от активной стали. В этих случаях изготавливают новые трубки.
Необходимость
ремонта с полной разборкой и перешихтовкой возникает при таких тяжелых
повреждениях, как "пожар стали". В этом случае может выйти из строя
значительная часть пластин активной стали магнитопровода и изоляционных
деталей. При таких повреждениях ремонт магнитопровода состоит из следующих
основных операций: подготовка к ремонту; разборка магнитопровода; очистка и
изоляция пластин; изготовление изоляционных деталей; сборка.
Переключающее
устройство предназначено для изменения числа витков первичной (или вторичной)
обмотки трансформатора и, следовательно, коэффициента трансформации для
регулирования вторичного напряжения трансформатора. На рис. 3 приведена
принципиальная электрическая схема трехступенчатого переключателя (положение
переключателя соответствует номинальному напряжению во вторичной обмотке
трансформатора).
Рис. 3.
Принципиальная электрическая схема трехступенчатого переключателя коэффициента
трансформации трансформатора
Если рукоятку
переключателя повернуть на 120° по часовой стрелке, в первичной обмотке число
витков уменьшится, а вторичное напряжение увеличится на 5%. При повороте
переключателя в обратную сторону вторичное напряжение уменьшится также на 5 %.
При ремонте
переключающих устройств особое внимание уделяют состоянию их контактной
системы. Причиной выхода из строя трансформаторов в десяти случаях из ста
бывает неисправность переключающих устройств, в частности повреждение их
контактов. Неисправности в контактной системе переключающего устройства:
недостаточная плотность прилегания подвижных контактов к неподвижным;
ослабление соединений регулировочных отводов к контактам переключающего
устройства; нарушение прочности соединений отводов с обмоткой и др. Эти
неисправности вызывают повышенные местные нагревы, часто приводящие к выходу
трансформатора из строя.
В трансформаторах
применяются переключающие устройства ПБВ (переключение без возбуждения) и РПН
(регулирование под нагрузкой).
Рис. 4.
Переключатель ТПСУ: 1 - неподвижный контакт; 2 - подвижный сегментный контакт;
3, 4 - бумажно-бакелитовые трубка и цилиндр; 5 - болт; 6 - крышка бака
трансформатора; 7 - металлический фланец; 8 - стопорный болт; 9 - колпак
привода
Рис. 5. Контактная
система переключателя ПБВ типа ТПСУ
Большинство силовых
трансформаторов выполняется с устройством ПБВ различных конструкций, однако
основным их элементом является система подвижных и неподвижных контактов.
Например, в трансформаторах напряжением 6 или 10 кВ применяют переключатель ПБВ
типа ТПСУ (рис. 4). Рабочее положение переключателя фиксируется стопорным
болтом, который необходимо открутить, перед тем как повернуть переключатель. На
фланце переключателя цифрами помечены положения, а на колпаке имеется стрелка,
показывающая положение контактной системы. На рис. 6 приведена контактная
система переключателя ПБВ типа ТПСУ. На бумажно-бакелитовом цилиндре 1
закреплены неподвижные контакты 3 с болтами 2 для подключения отводов.
Подвижные контакты 5 сегментного типа установлены на валу 4 и прижаты пружинами
к неподвижным контактам. Нижний валик б, вал 4 и контакты (сегменты) 5
приводятся в действие (поворачиваются) с помощью рукоятки колпака.
Переключающие устройства
РПН выполняются с токоограничивающим реактором, токоограничивающими
сопротивлениями и без них. На рис. 6 приведено переключающее устройство РПН с
реактором. РПН состоит из избирателя отводов Ai - А„ обмотки 1, контакторов для
отключения тока в цепях переключающего устройства, реактора или сопротивлений,
с помощью которых ограничивается ток в переключаемой части обмотки во время
перевода тока нагрузки с одного отвода на другой без разрыва цепи тока нагрузки
трансформатора. Кроме этого, переключающие устройства могут иметь ручной
привод, электрический с кнопками управления или автоматический, а также
элементы автоматики и сигнализации.
Рис. 6.
Переключающее устройство РПН с токоограничивающим реактором: а - электрическая
схема (одной фазы); б - расположение в трансформаторе устройства РПН типа
РНТ-13-623/35
Электрическая схема
каждой фазы устройства РПН (рис. 6, а) состоит из двух симметричных цепей
(избиратель В с системой подвижных и неподвижных контактов, контакторы К у и К
2 и реактор Р). На схеме показано рабочее положение на одном из отводов обмотки
РО. При необходимости перехода на другую ступень напряжения включением привода
переключаются на соответствующие отводы контакты одной параллельной цепи, а
затем другой в такой последовательности: размыкается контакт К1 (или К2)
контактора, избиратель одной цепи переходит на нужный отвод обмотки РО, после
чего контакт контактора замыкается (переход на другой отвод первой параллельной
цепи окончен). Далее в той же последовательности осуществляется переход другой
параллельной цепи на тот же отвод, на который перешел избиратель первой цепи.
На этом цикл перехода с одного отвода на другой без разрыва цепи рабочего тока
заканчивается. Реактор в этой схеме ограничивает ток в цепи "моста",
когда одна параллельная цепь перешла на следующий отвод, а другая еще находится
на предыдущем отводе. Рабочий ток реактора при этом не ограничивается, так как
индуктивное сопротивление реактора практически равно нулю, потому что в каждой половине
его обмотки рабочие токи, а соответственно и магнитное поле имеют
противоположное направление.
Однофазные
избиратели 3 (рис. 6, б) и реактор 4 крепятся на ярмовых балках. Контактная
система избирателей работает без разрыва цепи тока, их контакты не подгорают,
поэтому избиратели располагают на активной части трансформатора. Действие
контакторов 2 сопровождается разрывом тока в параллельных цепях и
возникновением дуги, поэтому контакторы располагают в отдельном отсеке,
заполненном трансформаторным маслом. Это позволяет проводить осмотр и ремонт
контакторов с заменой масла без вскрытия бака трансформатора. Ремонт
переключающего устройства ПБВ начинают с внимательного осмотра всех деталей.
Особое внимание обращают на состояние рабочих поверхностей подвижных и
неподвижных контактов, так как при длительной работе контактов в масле они
покрываются тонкой пленкой желтоватого цвета, которая увеличивает переходное
сопротивление в контактах, вызывая повышенный их нагрев и повреждение. Поэтому
контакты старательно очищают, протирая технической салфеткой, смоченной в
ацетоне или чистом бензине. Подгоревшие и оплавленные контакты заменяют новыми.
При ремонте переключающего устройства ПБВ подтягивают все крепежные детали,
заменяют поврежденные пружины, изолирующие детали и прокладки, проверяют
отсутствие заеданий в контактах и совпадение рабочих поверхностей подвижных
контактов с неподвижными, устраняют также другие дефекты, обновляют надписи и
обозначения на переключателе.
Полностью
отремонтированный переключатель проверяют десятью циклами переключения по всем
ступеням (цикл - это ход механизма от первого положения до последнего и
обратно). Ремонт переключающего устройства РПН значительно сложнее, чем
переключателя ПБВ. Кроме очистки, промывки, протирки внутренних и внешних
деталей, выполняют дополнительные работы, определяемые конструкцией отдельных
частей переключателя и наличием большого числа контактов. Проверяют состояние
поверхностей контактов избирателя ступеней, контакторов и электрической части
приводного механизма (контактов контроллера, реле, конечных выключателей).
Контакты всех элементов переключающего устройства, покрытые копотью и слегка
оплавленные, зачищают и опиливают, удаляя подгары и наплывы металла, контакты с
металлокерамическим покрытием промывают, а сильно поврежденные - заменяют
новыми. В системе привода могут быть сверхдопустимые люфты, которые устраняют
подтяжкой креплений и заменой деталей, имеющих разработанные отверстия и
большой износ, а также регулировкой контактора и избирателя.
(-5%) 1
5 (+5%)
Рис. 7. Круговая
диаграмма переключающего устройства на 5 ступеней с регулировкой напряжения
трансформатора ±2,5% номинального напряжения на одной ступени
Ремонт отдельных
частей переключающего устройства РПН обусловлен необходимостью их разборки и
сборки. В случае сборки и регулировки приводов руководствуются рисками, которые
наносятся на соединяемые детали при изготовлении трансформатора на заводе.
Ошибка в подключении отводов может стать причиной выхода из строя
переключающего устройства, а следовательно, и трансформатора. Например,
неправильное подключение реактора к контактору, нарушающее последовательность
работы контактной системы. Во избежание ошибок в схеме подключения отводов
после сборки, регулировки и визуальной проверки схемы соединений строят
круговую диаграмму (рис. 7), которая показывает последовательность действия
контактной системы переключателя, а также углы опережения и запаздывания при
работе контактов контакторов и избирателя.
Построив круговую
диаграмму последовательности действия контактов избирателя и контакторов при
прямом и обратном ходах, по величине люфта судят о качестве сборки избирателя
(если люфт меньше 16°, сборка считается удовлетворительной). Затем выполняют
десять циклов переключений и если дефекты отсутствуют, считают, что
переключающее устройство отремонтировано удовлетворительно и может быть
установлено на трансформатор.
В эксплуатации
находится большое количество трансформаторов с армированными вводами для
обмоток НН и ВН. Вводы трансформатора работают в тяжелых условиях. В то время,
когда часть ввода, находящаяся внутри бака, нагревается до 70 °С, другая его
часть, возвышающаяся над крышкой, может подвергаться воздействию отрицательной
температуры (-35 °С и ниже), а также агрессивных веществ из атмосферы. На
изоляторы вводов действуют атмосферные явления (грозовые разряды), в десятки и
сотни раз превышающие номинальные напряжения трансформатора и даже
испытательные напряжения изолятора. Наиболее часто в армированных вводах повреждаются
армировочные швы в месте соединений фарфоровых изоляторов с металлическими
фланцами. Это объясняется тем, что при воздействии на изолятор переменных
температур в швах возникают значительные механические усилия, обусловленные
различными коэффициентами расширения фарфора и металла. Разрушение швов может
вызываться и электродинамическими силами. Они действуют на вводы, если через их
стержни часто проходят токи короткого замыкания.
При ремонте
трансформатора вводы тщательно осматривают. Если на поверхности изолятора
имеется не более двух (на одной вертикальной линии) сколов площадью до 1см2 и
глубиной до 1мм, дефектные места промывают, а затем покрывают двумя слоями
бакелитового лака, просушивая каждый слой в сушильном шкафу при 50 - 60 °С.
Изоляторы с большим количеством дефектов заменяют новыми.
Вводы, армированные
швы которых разрушены не более чем на 30% по окружности, ремонтируют, очищая
поврежденные участки и заливая их цементирующим составом. При значительных
разрушениях армированного шва ввод переармируют. Для этого фасонным зубилом
разрушают старую замазку и удаляют ее. Если замазка не поддается зубилу, ее
предварительно смачивают 5 %-м раствором плавиковой или 30%-м раствором соляной
кислоты. Работу с растворами кислот выполняют в защитных очках и перчатках из
кислотоупорной резины.
Старую армировочную
замазку ввода удаляют и путем разрушения после предварительного нагревания. Для
этого ввод помещают в термошкаф и в течение 1,5 - 2ч выдерживают при 450 -
500°С, а затем легкими ударами по фланцу удаляют замазку.
Переармировку ввода
(рис. 8) выполняют следующим образом. Очистив изолятор ввода от пыли и грязи, а
его фланец от остатков старой замазки, собирают ввод и устанавливают его
вертикально в приспособление, которое состоит из стальной нажимной плиты
толщиной 5 мм, двух вертикальных стальных шпилек диаметром 10 - 12 мм с гайками
и деревянной опорной плиты толщиной 40 - 50 мм. Далее приготавливают порцию
цементирующей смеси (140 мае. ч. магнезита, 70 мае. ч. фарфорового порошка и
170 мае. ч. раствора хлорного магния) и вливают ее тонкой струей до полного
заполнения пространства между изолятором и фланцем. После затвердевания замазки
(12 - 15 ч) ввод освобождают из приспособления, очищают от брызг магнезита и
окрашивают армированный шов нитроэмалью 642 или 1.201. Вводы армируют в
помещении при температуре не ниже 10 °С.
Рис. 8. Ремонт
ввода трансформатора: а - сборка; б - переармировка; I - колпачок; 2 -
токопроводящий медный стержень; 3 - фарфоровый изолятор; 4 - резиновая
маслостойкая прокладка; 5 - фланец; 6, 7 - гетинаксовая и стальная шайбы; 8 -
гайка; 9, 11 - нажимная и опорная плиты; 10 - шпилька
Вводы
трансформатора должны быть герметичны, поэтому переармированный ввод испытывают
на специальном приспособлении: с помощью ручного гидравлического насоса создают
избыточное давление (400кПа) трансформаторного масла, подогретого до 70 °С
Продолжительность испытания составляет 30 мин.
В трансформаторах с
неисправными обмотками часто повреждается (частично или полностью)
бумажно-бакелитовая изоляция отводов (обуглены отдельные места или вся изоляция
отводов). Удаление поврежденной изоляции отводов осуществляется в такой
последовательности: отсоединяют отвод от переключателя и обмотки; снимают с
него поврежденную изоляцию; надевают новую бумажно-бакелитовую изоляционную
трубку; соединяют отвод с обмоткой и вводом или контактом переключателя. Эти
работы выполняет обычно обмотчик-изолировщик. Однако при тяжелых авариях
трансформатора может быть повреждена не только изоляция, но и токопроводящий
проводник отвода (оплавляется проводник отвода, нарушается пайка в месте
соединения отвода с демпфером). В таких случаях повреждение устраняет
электрослесарь, изготавливая новый отвод или восстанавливая соединение отвода с
демпфером.
При нарушении
соединения отвода с демпфером напильником очищают концы отвода и демпфера от
остатков припоя, а затем соединяют пайкой. Соединение демпфера с шиной отвода
может быть выполнено и сваркой.
Баки и крышки
трансформаторов повреждаются редко. При ремонте трансформаторов проверяют
состояние сварных швов бака, протекает ли масло из арматуры, целость резьбы
крепежных деталей, наличие и состояние уплотняющих прокладок, крепление фланца
предохранительной трубы на крышке, целость мембраны предохранительной трубы.
Замеченные неисправности устраняют. Поврежденные участки сварного шва вырубают
зубилом и, очистив от грязи и масла, сваривают вновь; протекание масла в местах
соединения циркуляционных труб с баком устраняют чеканкой, а из пробкового
крана - притиркой пробки абразивными порошками; крепежные детали (болты, гайки,
винты) с сорванной резьбой заменяют новыми; уплотняющие резиновые прокладки
заменяют прокладками из маслостойкой резины; поврежденную стеклянную диафрагму,
установленную на предохранительной трубке, и прокладку, потерявшую упругость,
заменяют новыми. Внутреннюю полость предохранительной трубы очищают от грязи,
протирают тряпками и промывают чистым трансформаторным маслом. Поврежденную или
потерявшую эластичность резиновую прокладку между фланцем предохранительной
трубы и крышкой бака заменяют прокладкой, изготовленной из листа маслостойкой
резины толщиной не менее 8 мм.
Расширитель,
термосифонный фильтр, воздухоосушитель и маслозапорную арматуру разбирают,
очищают от шлама и грязи, промывают в трансформаторном масле, а затем собирают.
Покрытые ржавчиной поверхности очищают стальными щетками и окрашивают. В
фильтрах и воздухоосушителях заменяют силикагель (свежим или восстановленным).
Газовое реле, термометрический сигнализатор, пробивной предохранитель и другие
контрольные и защитные приборы ремонтируют в соответствующих лабораториях
(электротехнической, контрольно-измерительных приборов и др.).
Отремонтированные и
изготовленные сборочные единицы и детали после проверок и испытаний поступают в
отделение сборки.
3.1.2 Сборка
трансформаторов
Сборку
трансформатора начинают со сборки его основной части - каркаса (остова)
магнитопровода. К месту работы доставляют полный комплект изолированных
пластин, изоляционных деталей, приспособлений и инструмента и располагают в
таком порядке, чтобы при выполнении операций не нужно было делать лишних
движений.
Магнит проводы в
зависимости от габаритных размеров собирают на металлических столах,
приспособлениях или кантователях.
Пластины собранного
магнитопровода неплотно прилегают одна к другой, поэтому его сначала прессуют,
устанавливая груз или стягивая пластины временными шпильками, а затем проверяют
по всему периметру толщину магнитопровода. Надевают на стяжные шпильки
бумажно-бакелитовые трубки, электрокартонные и стальные шайбы, навинчивают
гайки и слегка стягивают. Затем устраняют неровности и прессуют магнитопровод
до требуемого размера (равномерно закручивая гайки на шпильках). После этого к
нижним ярмовым балкам крепят опорные планки. Полностью собранный магнитопровод
стропят, поднимают, ставят вертикально на шпалы и устанавливают вертикальные
прессующие шпильки.
После выполнения
всех операций сборки магнитопровод осматривают, окончательно подтягивают
шпильки, измеряют мегаомметром сопротивление изоляции ярмовых балок и шпилек по
отношению к активной стали.
Полностью собранный
магнитопровод доставляют в обмоточное отделение, где сначала расшихтовывают
верхнее ярмо, устанавливают ярмовую изоляцию и изоляционные цилиндры, а затем
насаживают обмотки на стержни и шихтуют верхнее ярмо.
При ремонте
трансформаторов небольшой мощности в электроремонтном цехе магнитопровод
собирают полностью (но без шихтовки верхнего ярма). На стержни такого
магнитопровода насаживают обмотки НН и ВН. Изолируют их и только затем шихтуют
верхнее ярмо и полностью собирают магнитопровод.
Заключительными
операциями первого этапа сборки трансформатора являются сборка и соединение
схемы обмоток.
Обмотки современных
трансформаторов, применяемых в электроустановках промышленных предприятий, как
правило, соединены "звездой" (в редких случаях -
"треугольником"). Концы обмоток соединяют пайкой специальными
паяльниками. После пайки участки соединений очищают от выступающих частиц
припоя, изолируют лакотканью шириной 20 - 25 мм и покрывают лаком ГФ-95.
Для обеспечения
высокой электрической прочности изоляции активную часть трансформатора
подвергают сушке, в результате которой удаляется влага из его твердой изоляции.
Существуют различные способы сушки трансформаторов (например, в специальном шкафу,
инфракрасными лучами, методом индукционных потерь, токами короткого замыкания и
др.).
После окончания
сушки выполняют так называемую "отделку" активной части:
подпрессовывают обмотку вертикальными шпильками верхнего и нижнего ярм
магнитопровода. Затем проверяют сопротивление изоляции обмоток, стяжных шпилек
и ярмовых балок и переходят к операциям второго этапа сборки трансформатора.
При сборке
трансформаторов без расширителя, вводы которых расположены на стенках бака,
сначала опускают активную часть в бак, устанавливают вводы, присоединяют к ним
и переключателю отводы обмоток, а затем размещают крышку на баке.
Крышки
трансформаторов мощностью до 560 кВ-А устанавливают на подъемных шпильках
магнитопровода и снабжают необходимыми деталями, а более мощных - комплектуют
отдельно и закрепляют на подъемных шпильках выемной части или баке. При этом
особое внимание обращают на правильность установки уплотняющих прокладок,
прочность затяжки гаек, правильность присоединения отводов к вводам и
переключателю, уплотнения, исключающих протекание масла.
Активную часть с
закрепленной на ней крышкой стропят за подъемные кольца тросами, поднимают
краном и медленно опускают в бак, соблюдая меры предосторожности; монтируют
крышку, равномерно затягивая болты по всему периметру; на крышке устанавливают
кронштейны, на которых крепят расширитель с масло указателем; располагают
предохранительную трубу; устанавливают реле и пробивной предохранитель.
После сборки
трансформатора перед заполнением его маслом еще раз проверяют мегаомметром на
1000 В электрическую прочность изоляции обмоток. Затем трансформатор заполняют
до требуемого уровня сухим трансформаторным маслом соответствующей
электрической прочности, проверяют герметичность арматуры и установленных на
крышке деталей, а также отсутствие течи масла из соединений и сварных швов.
Затем трансформатор
подвергают электрическим испытаниям, объем и нормы которых установлены ГОСТом.
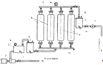
3.1.3 Очистка и сушка
трансформаторного масла
Трансформаторное
масло очищают от механических примесей и влаги с помощью специальных аппаратов
- центрифуги и фильтр-пресса. Масло проверяют, периодически отбирая пробы из
крана на выходном патрубке фильтр-пресса.
Рис. 9. Устройство
цеалитовой установки:- вентиль; 2 - насос; 3 - электронагреватель масла; 4 -
манометры; 5 - фильтры; 6 - адсорберы; 7 - верхний коллектор; 8 - кран для
выпуска воздуха, 9 - объемный счетчик; 10 - кран для отбора проб и слива масла;
11 - нижний коллектор
Для повышения
качества и электрической прочности трансформаторное масло сушат в цеолитовой
установке (рис. 9). Сушка осуществляется фильтрованием масла через слой
молекулярных сит, находящихся в адсорберах, которые заполнены гранулированным
цеолитом. Фильтруемое масло подогревается электронагревателем.
Сушка в цеолитовой
установке весьма эффективна, так как только за один цикл фильтрования позволяет
увеличить пробивное напряжение масла с 8 - 10 до 50 кВ и выше. Такую установку
для сушки трансформаторного масла применяют на больших ремонтных предприятиях в
случае необходимости переработки большого количества масла.
3.2 Текущий ремонт
силовых трансформаторов
Периодичность
текущих ремонтов силовых трансформаторов (без подъема магнитопровода)
определяется в соответствии с установленными нормами и зависит от их
технического состояния.
При текущем ремонте
масляного трансформатора его осматривают снаружи и устраняют выявленные
дефекты, чистят изоляторы, бак и радиаторы, удаляют грязь из расширителя,
доливают масло, проверяют маслоуказатель, спускной кран и уплотнения,
надежность контактных соединений, берут пробу масла, проводят испытания и
измерения.
В процессе осмотра
проверяют герметичность уплотнений. Если она нарушена и имеется течь масла
между крышкой и баком или фланцевыми соединениями, то подтягивают гайки. Если
же это не помогает, уплотнения заменяют новыми, из маслостойкой резины.
Бак трансформатора
и радиаторы очищают от пыли и масла, изоляторы протирают бензином. Удаляют
грязь из расширителя и проверяют работу масло указателя. При необходимости доливают
масло. Необходимо помнить, что температура доливаемого масла должна отличаться
от температуры масла в трансформаторе не более чем на 5°С.
Затем проверяют
воздухоосушитель. Если индикаторный силикагель имеет розовый цвет, его заменяют
новым (голубым). Силикагель для повторного использования восстанавливают путем
сушки: индикаторный - при 100 - 120 °С в течение 15 - 20 ч (до ярко-голубого
цвета), гранулированный - при 400 - 500 °С в течение 2ч.
Перезарядка
термосифонного фильтра выполняется, если кислотное число масла составляет 0,1мг
КОН (по результатам испытания пробы масла). Для этого сливают масло из
расширителя, снимают крышку фильтра, а затем решетку с силикагелем. Бывший в
употреблении силикагель заменяют свежим, сухим. Установив крышку, заливают
масло в расширитель, предварительно выпустив воздух из фильтра через пробку на
его крышке. Масло доливают до соответствующей отметки на масло указателе
расширителя в зависимости от температуры масла, которую контролируют
термометром, установленным на крышке бака. В корпус оправы термометра также
заливают трансформаторное масло.
При текущем ремонте
сухого трансформатора необходимо снять кожух и удостовериться в отсутствии
механических повреждений обмоток, изоляторов и других частей трансформатора,
проверить надежность контактных соединений и заземлений, продуть трансформатор
чистым сухим воздухом и протереть изоляторы.
По окончании
ремонта замеряют сопротивление изоляции обмоток трансформатора R60" и
определяют коэффициент абсорбции (отношение R60" и R15", где
R60" - сопротивление изоляции через 60 с, R15" - через 15 с после
начала измерения) мегаомметром на 2500 В. Сопротивление изоляции измеряют между
каждой обмоткой и корпусом и между обмотками.
3.3 Нормы испытаний
трансформаторов
Целью испытаний,
проводимых в период ремонта, является проверка состояния трансформатора и
качества ремонта. При капитальном ремонте без смены обмоток в объем испытаний
входят:
химический анализ
масла из бака трансформатора и вводов;
измерение
сопротивления обмоток постоянному току при всех положениях переключателя
ответвлений. Значение сопротивлений обмоток разных фаз не должны отличаться
друг от друга более чем на 2 %;
измерение
коэффициента трансформации на всех ответвлениях. Для трансформаторов с РПН
разница коэффициентов трансформации не должна превышать значения ступени
регулирования;
измерение
сопротивления изоляции доступных стяжных шпилек, ярмовых балок и прессующих
колец. Измерение выполняется мегаомметром. Значение сопротивления изоляции не
нормируется, рекомендуемое значение не менее ЮМОм.
измерение
характеристик изоляции.
Характеристики
изоляции при капитальном ремонте измеряются дважды: до начала ремонта, как было
сказано в § 8.3, и после окончания всех ремонтных работ. После капитального
ремонта, проводимого без смены обмоток и изоляции, измеряется сопротивление
изоляции обмоток трансформатора и определяется отношение Reo" /Ris" .
Измерение выполняется мегаомметром на 2500 В. Показания мегаомметра отсчитывают
через 15 и 60 с от начала вращения его рукоятки. Наименьшее допустимое значение
сопротивления изоляции R&)" для масляных трансформаторов до НО кВ при
температуре 20 °С должно быть не менее 600 МОм, а отношение Rqo"IRi5"
-не менее 1,3. Для трансформаторов на большее номинальное напряжение сопротивление
не нормируется, но учитывается при комплексном рассмотрении результатов
измерений.
Измеряется емкость
обмоток при частоте 2 и 50 гЦ и определяется отношение С2/С50, а также
отношение АС/С Для измерения указанных отношений применяются приборы ПКВ-7,
ПК.В-8. Для трансформаторов с номинальным напряжением ПО-150 кВ при температуре
20 °С значение отношения С2/С5о должно быть менее 1,2 %, отношения А С/С- менее
12%, а приращение отношений АС/С, измеренных в конце и начале ремонта и
приведенных к одной температуре, - менее 4 %
При помощи моста
переменного тока измеряется tg б обмоток трансформатора. Для трансформаторов с
номинальным напряжением 110-150 кВ при температуре 20 °С значение tg б должно
быть менее 2,5 %.
По результатам
измерений делают заключение о состоянии и необходимости сушки изоляции.
Считается возможным включение трансформаторов в работу без контрольной подсушки
и сушки, если измерения по окончании ремонта покажут, что сопротивление
изоляции Rw понизилось, но не более чем на 30 %, отношение С2/С50 возросло не
более чем на 20 %, tg б возрос не более чем на 30 %, а отношение АС/С не более
допустимых значений. Во всех остальных случаях изоляция подвергается сушке.
При капитальных
ремонтах трансформаторов испыты-ваются и их вводы: измеряется tg б вводов;
сопротивление изоляции измерительной и последней обкладок вводов с
бумажно-масляной изоляцией относительно соединительной втулки; проводится
анализ масла, залитого в маслонапол-ненные вводы; проверяется качество их
уплотнений путем создания избыточного давления масла.
3.4 Фазировка трансформатора
Фазировка трансформаторов производится перед их
включением в зксплуатацию после монтажа или капитального ремонта со сменой
обмоток. Перед тем как включить трансформатор после капитального или текущего
ремонта, проверяют результаты предписанных испытаний и измерений. Релейную
защиту трансформатора устанавливают на отключение. После этого тщательно
осматривают трансформаторную установку. При осмотре установки обращают внимание
на состояние системы управления и сигнализаций, а так же на положение
коммутационной аппаратуры. Опробуют действия привода выключателя путем
однократного включения и отключения, без чего приступать к оперированию
разъединителями не разрешается. Пробное включение трансформатора в сеть
производят толчком на полное напряжение. Такое включение опасности для
трансформатора не представляет, так как при наличий в нем повреждений он под
действием защиты своевременно отключатся от сети.
Включение трансформатора на параллельную работу
после его монтажа, а также после работ, связанных с возможностью нарушения
фазировки (капитальный ремонт со сменой обмоток) отсоединение кабелей,
прокладка нового кабеля и пр. Допустимо только после предварительной фазировке,
т.е. после того, как будет проверено совладение по фазе вторичных напряжений у
двух трансформаторов, присоединенных со стороны высшего напряжения к одной и
той же сети.
4.
Конструкторская часть
.1 Описание устройства
трансформатора, конструкции приспособления
Основными деталями трансформатора являются:
а) магнитная систем; магнитопровод, состоящий из
стержней, верхнего и нижнего ярма. Различают плоские и пространственные магнит
проводы, последние имеют ряд преимуществ перед обычными плоскими, а именно:
уменьшаются трудозатраты па изготовление и сборку; повышается надежность
стержня, так как прессующие шпильки отсутствуют; уменьшаются потери холостого
хода, так как сечение стержня увеличивается за счет отсутствия отверстий под
шпильки, а в результате при равных мощностях трансформаторов для
пространственных магнит проводов требуется меньше стали;
б) обмотки ВН и НН, выполненные из круглых или
прямоугольного сечения проводов, одна из которых называется первичной, а вторая
вторичной. Магнитопровод с обмотками называется активной частью трансформатора;
в) бак и расширитель (только у масляных
трансформаторов;
г) вводы, предназначенные для присоединения
концов обмотки трансформатора к внешней электрической сети;
д) переключатель для переключения числа витков
обмотки ВН;
е) контрольно-защитные устройства, приборы и
арматура.
Различают трансформаторы маслонаполненные
(масляные) и сухие, однофазные и трехфазные. На рис.1 показаны маслонаполненные
трансформаторы с плоской (а) и пространственной (б) магнитными системами
Рис.10. Трансформаторы мощностью 400 кВ·А с
плоским (а) и пространственным (б) магнит проводами:
- транспортный ролик,
- болт заземления,
- радиатор,
- бак,
-щиток,
- крюк для подъёма,
- воздухоосушитель.,
- маслоуказатель,
- расширитель
-ввод ВН.
- ввод НН.
термометр.
- термосифонный фильтр,
- пробке для отбора пробы масла,
17- переключатель,
- пробивной предохранитель
Станция
испытательная силовых трансформаторов 1-2ых габаритов
Используется для испытания
силовых трансформаторов габаритов 1-2ых габаритов напряжением до 10кВ согласно
требованиям ГОСТ 3484.1, ГОСТ 22756, ГОСТ 21023-, ГОСТ 3484.3.
Станок для вырезки
сегментов из электрокартона
Предназначен для вырезки
сегментов и полос из электрокартона при изготовлении деталей изоляции силовых
трансформаторов.
Станок
для вырезки колец из электрокартона
Предназначен для
вырезки колец из электрокартона при изготовлении деталей изоляции силовых
трансформаторов
Станок для гофрирование
электрокартона
Предназначен для гофрирования
электрокартона, используемого в процессе намотки трансформаторных катушек
(гофры формируют каналы циркуляции трансформаторного масла).
Шаблон намоточный
раздвижной
Предназначен для намотки
обмоток трансформаторов на изоляционных цилиндрах.
Станок намоточный
Предназначен для намотки
катушек трансформаторов из проводников круглого и прямоугольного сечения на
картонные цилиндры. Станок укомплектован задней бабкой.
Установка
маслоочистительная
Предназначена для адсорбционной
осушки и очистки от механических примесей трансформаторного масла, заливаемого
в маслонаполненные электрические аппараты. Установка может использоваться для
регенерации трансформаторного масла при условии замены синтетического цеолита
на силикагель, либо другой, предназначенный для этой цели сорбент.
Комплекс для измерения
активного сопротивления обмоток электрических машин
Комплекс для измерения активного
сопротивления обмоток электрических машин» (КИСО) предназначен для измерения
активного сопротивления обмоток и выявления неисправностей трёхфазных
трансформаторов. Изготавливается в двух вариантах: в корпусе ПК либо в корпусе
под 19'' стойку.
Станок для нанесения
лака на электрокартон
Предназначен для нанесения лака
на детали из электрокартона при изготовлении изоляции трансформаторов.
5. Инструкция по охране труда для
электроcлесаря по ремонту силовых трансформаторов
Общие положения
1. Настоящая инструкция
содержит основные требования для электрослесаря по ремонту силовых
трансформаторов. Каждый электрослесарь должен хорошо знать и выполнять все
требования, изложенные в данной инструкции, а руководство цеха обязано создать
нормальные условия для работы и обеспечить электрослесаря всем необходимым для
безопасного выполнения порученной работы. Лица, нарушившие данную инструкцию
привлекаются к ответственности согласно правилам внутреннего трудового
распорядка предприятия.
. Для выполнения обязанностей
электрослесаря по ремонту трансформаторов допускаются лица, не моложе 18 лет,
прошедшие медицинское освидетельствование, прошедшие обучение по
соответствующей программе и проверку знаний в квалификационной комиссии.
. К работе с грузоподъемными
механизмами могут быть допущены лица не моложе 18 лет, специально обученные,
сдавшие экзамены в квалификационной комиссии и имеющие на руках удостоверение.
. Не курить в цехе по ремонту
трансформаторов и в местах слива и наполнения масляных аппаратов, вблизи
газовых баллонов, ацетиленового /газосварочного/ аппарата, это может привести к
взрыву или пожару.
. Проверка знаний
электрослесаря производится комиссией цеха:
по охране труда и ППБ 1 раз в
год, по технологии работ и производственным инструкциям не реже 1 раза в два года.
. Электрослесарь по ремонту
трансформаторов работает по нормированному учету рабочего времени. По
распоряжению начальника службы PC, начальника цеха /ст.мастера/ электрослесарь
может быть направлен для выполнения работ на любой объект службы PC.
. Электрослесарь по ремонту
силовых трансформаторов обеспечивается спецодеждой, спецобувью и средствами
защиты в соответствии с действующими нормами.
Электрослесарь по ремонту
трансформаторов должен знать:
общие понятия из
электротехники;
общие понятия об электрических
и электроизоляционных материалах;
методы ремонта силовых масляных
трансформаторов с разборкой выемной части и сменой обмоток;
монтаж схем отводов с
подключением к вводам и пepeключaтeлям;
методы ремонта и замены
поврежденных обмоток, сушки керна трансформаторов индуктивным способом;
наладку вспомогательных
механизмов /насосы, вентиляторы и т.п./, а также применять соответствующий
инструмент, приспособления, такелаж и грузоподъемные механизмы;
схемы и группы соединения
обмоток;
способы сушки и регенерации
трансформаторного масла и нормы качества масла;
действующие Правила безопасной
эксплуатации электроустановок в объеме согласно приложения № 1;
действующие Правила технической
эксплуатации эл.станций и эл.сетей в объеме приложения № 1;
действующие Правила
эксплуатации электрозащитных средств используемых при выполнении работ в
электроустановках в объеме приложения № 1;
действующие Правила безопасной
работы с инструментом и приспособлениями применяемые при монтаже и ремонте
энергетического оборудования в объеме приложения № 1;
действующие Правила пожарной
безопасности в компаниях, на предприятиях и в организациях энергетической
отрасли Украины в полном объеме;
действующие производственные
инструкции по ремонту трансформаторов и оборудования, относящиеся к
производственной деятельности;
Правила внутреннего трудового
распорядка предприятия и действующее трудовое законодательство.
Требования
безопасности перед началом работ.
Привести в порядок рабочую
одежду: застегнуть обшлага рукавов, подобрать волосы под платок, облегающий
головной убор. Запрещается работать без спецодежды.
Получить задание на выполнение
работ и соответственно инструктаж по безопасному выполнению работ.
Подготовить необходимый
инструмент, приспособления, предварительно проверить их исправность, материалы
расположить в удобном и безопасном для пользования месте.
Организовать свое рабочее место
так, чтобы все необходимое было под руками. Осмотреть рабочее место, убрать все
лишнее из-под ног, верстака и проходов, положить под ноги деревянную решетку,
если пол мокрый или скользкий.
Убедиться, что крышка бака
слива масла закрыта и исправна.
Во время сушки керна следить,
чтобы камера была плотно закрытой и исключить попадание вредных газов в
помещение цеха ремонта трансформаторов, проверить работу вентиляции.
электрослесарь по ремонту
силовых трансформаторов несет ответственность за:
- каждую аварию и отказ в
работе, происшедшего из-за некачественного ремонта силовых трансформаторов и
несчастных случаев происшедших по его вине;
нарушение ПБЭЭ, ПУЭ, ППБ и
производственных инструкций;
поломку оборудования,
инструмента и др., неэкономное расходование материалов;
невыполнение дневного задания,
нарушение трудовой и производственной дисциплины, хищение имущества
предприятия, а также за невыполнение распоряжений руководства цеха,
предприятия.
При использовании переносной
электрической лампы проверить наличие защитной сетки, исправность шнура,
напряжение переносной лампы допускается не выше 12В.
Требования
безопасности во время работы.
1. Приступать к выполнению
производственного задания, если известны безопасные способы его выполнения. В
сомнительных случаях обращаться за разъяснениями к руководству цеха.
. Выполняя работу, надо быть
внимательным, не отвлекаться на посторонние дела и разговоры и не отвлекать
других.
. При получении новой
/неизвестной/ работы получить от мастера дополнительный инструктаж по ТБ, ТР.
. Во время работы по разработке
и сборке трансформаторов пользоваться только исправным инструментом.
. Собираемые активные части или
другие узлы трансформатора должны быть расставлены так, чтобы имелся свободный
подход к ним. Не разрешается работать или находиться под поднятым
трансформатором.
. Все работы с грузоподъемными
механизмами проводить внимательно, проверять качество стропов и соответствие их
грузоподъемности поднимаемому грузу.
. Трансформаторы и их активные
части поднимать только за специально предназначенные для этой цели детали
/крюки, подъемные скобы, кольца/.
. При сварке и пайке отводов
электросварочные и паечные электроинструменты должны быть надежно заземлены, а
для защиты глаз от вредного действия дуги во время сварки пользоваться
защитными очками. При пайке, сварке выделяются дым и газ, для их удаления с
рабочих мест, должна работать постоянно вытяжная вентиляция.
. Не останавливать вращающийся
инструмент руками или каким-либо инструментом. При работе на сверлильном станке
выполнять требования "Инструкции по охране труда при работе на сверлильном
станке".
. Промывать активные части,
баки и другие узлы трансформаторов только в специальной для этого ванне,
соблюдать при этом противопожарную безопасность.
. При работе с переносных
лестниц устанавливать их под углом 75°, подниматься на высоту не доходя 1м от
верхней ступени, с обязательной страховой устойчивости лестницы вторым человеком
внизу.
. При работах в
электроустановках необходимо соблюдать нормы приближения к токоведущим частям,
находящимся под напряжением.
Требования
безопасности после окончания работ.
Убрать детали и привести в
порядок инструмент, приспособления, материалы.
Привести в порядок рабочее
место (собрать с рабочего места мусор и остатки материалов).
Доложить начальнику цеха или
мастеру об окончании работ.
Доложить руководству цеха
(мастеру) о всех замеченных неполадках в отношении безопасности работы.
Снять спецодежду, убрать ее в
специальное место, вымыть руки и лицо теплой водой с мылом или принять душ.
Требования
безопасности в аварийных ситуациях.
В случае получения травмы или
недомогания, прекратить работу, известив об этом мастера, обратиться в медпункт
или вызвать скорую помощь.
При поражении электрическим
током необходимо немедленно освободить пострадавшего от действия тока, соблюдая
требования электробезопасности, оказать доврачебную помощь и вызвать работника
медицинской службы, поставить в известность руководство.
При возникновении пожара
сообщить в пожарную охрану по телефону 01, руководству цеха и приступить к
тушению.
В случае загорания масла в
ёмкости, она должна быть немедленно плотно закрыта крышкой. Разрешается
загоревшееся масло гасить сухим песком (землёй) или при помощи пенного
огнетушителя.
6.
Экономическая часть
.1
Технико - экономическая оценка технологического процесса
капитального ремонта силового трансформатора
Для технико-экономической оценки
технологического процесса капитального ремонта силового трансформатора
рассчитываем полную себестоимость капитального ремонта силового трансформатора.
Полную себестоимость (Сп) капитального ремонта
силового трансформатора рассчитываем по формуле:
Сп = Спр.н + Ср.м + Соп + Сох,
где Спр.н - заработная плата производственных
рабочих с начислениями, руб.;
Ср.м - стоимость ремонтных материалов с
наценкой, руб.;
Соп и Сох - соответственно стоимость
общепроизводственных и общехозяйственных накладных расходов, руб.
Спр.н = Спр + Ссоц + Сдоп.
где Спр - основная заработанная плата;
Ссоц - начисления по социальному страхованию;
Сдоп - дополнительная заработанная плата
производственных рабочих
Спр = Сч · Т1рем. = 200руб · 669чел=133800руб.
где Сч - часовая ставка рабочих исчисляемая по
среднему разряду, руб.
Т1 - Трудоемкость одного К. Р. чел/ч.
К - коэффициент, учитывающий доплаты к основной
заработанной плате, (К = 1,025 … 1,030);
Спр.ч. 0,01 · 46,9ч · 156,7руб · 1,030 =75,7руб
· ч
Спр.кр. = 669чел/ч · 75,7руб/ч = 50643руб.
Сдоп = ( 5 … 12 ) · Спр/ 100 = 12 · 50643 / 100
= 6077руб.
Ссоц = 4,4 · ( Спр + Сдоп ) / 100 = 4,4 · (50643
+ 6077 ) / 100 = 2495руб.
Спр.н = 50643 + 6077 + 2495 = 59215руб.
Себестоимость (ремонтных) материалов укрупнено
можно определить, исходя из доли заработной платы (Кс.пр.н) и стоимость
материалов (Км ):
Ср.м. = Км · Спр.н. / Кс.пр.н, где Км = 0,25 …
0,35;
Кс.пр.н = 0,65 … 0,75.
Ср.м. =0,35 · 59215 / 0,75 = 27634 руб.
Зная размер общепроизводственных (Roп)
и общехозяйственных (Rох)
накладных расходов, устанавливают их стоимость:
Соп = Спр · Rоп/100;
Сох = Спр · Rох/100,
где Rоп
- 67-70 % общепроизводственные накладные расходы;
Rох - 12,5-13,8 %
общехозяйственные накладные расходы.
Соп = 50643 · 70 / 100 = 35450руб.
Сох =50643 · 13,8 / 100 = 6988руб.
Вычислив все составляющие полной себестоимости
капитального ремонта силового трансформатора Сп подведем итог:
Сп =59215 + 27634 + 35450 + 6988= 129287руб.
Стоимость одного капитального ремонта силового
трансформатора составляет 129287руб.
Заключение
В результате проделанной мною
работы я пришел к заключениям:
. Предприятие «Тольятти
Трансформатор» ведущее в России по производству, обслуживанию и выпуску
комплектующих частей трансформаторов.
. Трансформаторы это
электромагнитное устройство, служащее для преобразования электрической энергии.
. Основные части трансформатора
- это магнитопровод и обмотки, которые составляют активную часть
трансформатора.
. При осмотре силовых
трансформаторов проверяют показания термометров и мановакууметров; состояние
кожухов трансформаторов; отсутствие течи масла; наличие масла в
маслонаполненных вводах; соответствие уровня масла в расширителе температурной
отметке; состояние изоляторов, маслоохлаждающих и маслосборных устройств.
Трансформаторы нуждаются в
диагностике. Проводится капитальный и текущий ремонт.
На ремонт уходят большие
затраты средств и труда.
. При обслуживании
трансформаторов должны быть обеспечены безопасные условия труда при любых видах
работ.
Согласно выше приведенным
заключениям, считаю, что поставленные цели достигнуты, задачи решены.
Список литературы
1. Воробьев В.А. Эксплуатация и
ремонт электрооборудования и средств автоматизации. Москва «Колосс» 2009.
2. В. Б. Атабеков.
Ремонт электрооборудования промышленных предприятий - Москва: Высшая школа,
2008
. А. А. Пястолов, А. А.
Мешков, А.А. Вахрамеев. Монтаж, эксплуатация и ремонт электрооборудования.
Москва: Колос, 2010
. ПУЭ. Издание третье
дополненное и переработанное. Москва: Энергия, 1964.
. Т. Б. Лещинская, И. В.
Наумов. Электроснабжение сельского хозяйства. Колосс. 2008
. Б. А. Алексеев.
Контроль состояния (диагностика) крупных силовых трансформаторов. НЦ ЭНАС;2008
. Г. А. Дегтярь.
Трансформаторы в цепях согласования и сложение мощностей радиочастотных
генераторов. Новосибирский
государственный технический университет (НГТУ);2009
. Л. Линдорф.
Международный электротехнический словарь. Машины и
трансформаторы. Государственное издательство физико-математической
литературы;1958
. Технологические карты
на работу по текущему демону оборудования тяговых подстанций электрифицированных
железных дорог. Москва, 2009.
. А. И. Вольдек, В. В.
Попов.
Электрические машины. Введение в электромеханику.
Машины постоянного тока и трансформаторы. Питер; 2008
. Электротехнический
справочник: Учебное пособие для энергетических и электротехнических институтов
и факультетов. - М.: Госэнергоиздат, 2011.
. А. В. Хныков. Теория и расчет
трансформаторов источников вторичного электропитания. Солон-Пресс; 2008
. Интернет
Приложение 1
Приложение 2
Приложение 3
Приложение 4
Приложение 5
Таблица 2
Основные физико-химические свойства
трансформаторного масла
|
Показатели качества масла
|
Норма
|
|
Содержание механических примесей
|
Отсутствуют
|
|
Кислотное число , мг КОН из 1 кг
масла, не более
|
0,05
|
|
Содержание водорастворимых кислот и щелочей
|
Отсутствуют
|
|
Температура вспышки, °С, не ниже
|
135
|
|
Кинематическая вязкость, сСт, не более:
|
|
|
при 20 °С
|
30
|
|
при 50 °С
|
9,6
|
|
Зольность, %, не более
|
0,005
|
|
Температура застывания, °С, не выше
|
-45
|
|
|
Кислотное
число определяется количеством миллиграммов едкого кали, которое необходимо для
нейтрализации всех свободных кислых соединений, входящих в состав 1 г масла.
Приложение 6
|
Поставки для РАО ЕЭС и крупных народно-хозяйственных объектов
1999-2004гг.
|
|
|
|
|
№ п/п
|
Тип трансформатора
|
Кол.
|
Объект поставки
|
|
|
1999г.
|
|
|
|
1
|
ТДТ-63000/220
|
1
|
Алексинская ТЭЦ
|
|
2
|
ТДТНЖ-40000/220
|
1
|
Дальневосточная ж.д.
|
|
3
|
ТДЦ-80000/110
|
1
|
Новолипецкий меткомбинат
|
|
4
|
ТД-40000/110
|
1
|
Новомосковская ГРЭС
|
|
5
|
ТДНС-16000/20
|
2
|
Норильский комбинат
|
|
6
|
ТДТН-25000/110
|
2
|
Оренбургэнерго
|
|
7
|
ТДТН-40000/110
|
1
|
Оренбургэнерго
|
|
8
|
ТМН-2500/110
|
1
|
Оренбургэнерго
|
|
9
|
ТРДН-40000/110
|
1
|
Ростовэнерго
|
|
10
|
ТДНС-16000/35
|
1
|
Самараэнерго
|
|
11
|
ТРДН-40000/110
|
1
|
Самараэнерго
|
|
12
|
ТРДН-63000/110
|
2
|
Соликамскбумпром
|
|
13
|
ТРДН-25000/110
|
1
|
Тюменьэнерго
|
|
14
|
ТРДНС-32000/35
|
1
|
Харанорская ГРЭС
|
|
15
|
ТДНС-16000/35
|
1
|
Челябэнерго
|
|
16
|
ТМН-2500/110
|
2
|
Челябэнерго
|
|
|
2000г.
|
|
|
|
17
|
ТРДЦНКМ-63000/100000/110
|
2
|
АвтоВАЗ
|
|
18
|
ТДН-16000/110
|
2
|
АЛРОСА
|
|
19
|
ТДТНЖ-40000/220
|
5
|
Дальневосточная ж.д.
|
|
20
|
ТДТН-16000/110
|
2
|
Ингушэнерго
|
|
21
|
ТРНДЦН-40000/25000/110
|
2
|
Красноярский з-д цветных металлов
|
|
22
|
ТДН-10000/110
|
2
|
Красноярскэнерго
|
|
23
|
ТРДН-40000/110
|
1
|
Красноярскэнерго
|
|
24
|
ТДНС-16000/35
|
1
|
Кузбассэнерго
|
|
25
|
ТРДН-25000/110
|
2
|
Куйбышевский НПЗ
|
|
26
|
ТДТН-25000/110
|
1
|
Магаданэнерго
|
|
27
|
ТМН-6300/110
|
2
|
Магнитогорские эл. Сети
|
|
28
|
ТДНМ-63000/100000/110
|
1
|
Мотовилихинские заводы
|
|
29
|
ТДЦ-80000/110
|
1
|
Новолипецкий меткомбинат
|
|
30
|
ТД-40000/110
|
1
|
Новомосковская ГРЭС
|
|
31
|
ТДНС-16000/20
|
1
|
Новочебоксарская ТЭЦ-3
|
|
32
|
ТДТН-40000/110
|
1
|
|
33
|
ТМН-6300/110
|
1
|
Оренбургэнерго
|
|
34
|
ТДЦ-125000/110
|
1
|
Пензенская ТЭЦ-1
|
|
35
|
ТДТН-25000/110
|
1
|
Самараэнерго
|
|
36
|
ТДТН-25000/110
|
1
|
Соликамская ТЭЦ
|
|
37
|
ТДТН-16000/110
|
2
|
Татэнерго
|
|
38
|
ТДТН-25000/110
|
2
|
Татэнерго
|
|
39
|
ТРНДЦН-40000/25000/110
|
1
|
Татэнерго
|
|
40
|
ТРДН-25000/110
|
1
|
Тюменьэнерго
|
|
41
|
ТДТН-10000/110
|
1
|
Удмуртэнерго
|
|
42
|
ТРДН-40000/110
|
1
|
Челябэнерго
|
|
43
|
АТДЦТН-125000/220
|
1
|
Читаэнерго
|
|
44
|
ТДЦ-80000/110
|
1
|
Якутскэнерго
|
|
|
2001г.
|
|
|
|
45
|
ТДН-16000/110
|
1
|
АвтоВАЗ
|
|
46
|
ТРДЦНКМ-63000/100000/110
|
1
|
АвтоВАЗ
|
|
47
|
ТМН-6300/110
|
2
|
АЛРОСА
|
|
48
|
ТДТН-10000/110
|
2
|
Бурятзолото
|
|
49
|
АОРЦТ-135000/500
|
1
|
ВоГЭС
|
|
50
|
ТДЦ-125000/110
|
1
|
Волгодонская ТЭЦ-2
|
|
51
|
ТДТНЖ-40000/220
|
1
|
Восточно-Сибирская ж.д.
|
|
52
|
ТДН-16000/110
|
1
|
Западно-Сибирский меткомбинат
|
|
53
|
ТДТН-16000/110
|
1
|
Ингушэнерго
|
|
54
|
ТРДН-63000/110
|
2
|
Ленэнерго
|
|
55
|
ТДТН-25000/110
|
1
|
Магаданэнерго
|
|
56
|
ТДЦ-125000/110
|
1
|
Нижегородская ГЭС
|
|
57
|
ТРДН-25000/110
|
2
|
Норильский никель
|
|
58
|
ТД-10000/35
|
1
|
Самараэнерго
|
|
59
|
ТДНС-16000/35
|
1
|
Самараэнерго
|
|
60
|
ТДТН-25000/110
|
1
|
Самараэнерго
|
|
61
|
ТРДН-25000/110
|
1
|
Самараэнерго
|
|
62
|
ТРДН-63000/110
|
1
|
СУАЛ
|
|
63
|
ТДТН-25000/110
|
1
|
Татэнерго
|
|
64
|
ТРДН-25000/110
|
1
|
Удмуртэнерго
|
|
65
|
АТДЦТН-125000/220
|
1
|
Череповецкая ГРЭС
|
|
66
|
ТДН-16000/110
|
1
|
Якутскэнерго
|
|
67
|
ТДЦ-80000/110
|
1
|
Якутскэнерго
|
|
|
2002г.
|
|
|
|
68
|
ТРДЦНМ-63000/100000/110
|
1
|
АвтоВАЗ
|
|
69
|
ТДН-16000/110
|
2
|
АЛРОСА
|
|
70
|
ТРДНС-25000/15
|
1
|
Благовещенская ТЭЦ
|
|
71
|
АТДЦТН-63000/220
|
2
|
Вилюйская ГЭС-3
|
|
72
|
ТМН-6300/110
|
1
|
Владимирэнерго
|
|
73
|
ТДЦ-125000/110
|
1
|
Зеленчукская ГЭС, блок №2
|
|
74
|
ТРДН-25000/110
|
3
|
Каббалкэнерго
|
|
75
|
ТДТН-63000/110
|
1
|
Кировэнерго
|
|
76
|
ТДТН-25000/110
|
1
|
Красноярскэнерго
|
|
77
|
ТДТН-25000/110
|
1
|
Кубаньэнерго
|
|
78
|
ТРДЦН-80000/110
|
1
|
Кузбассэнерго
|
|
79
|
ТДН-16000/110
|
2
|
Курскэнерго
|
|
80
|
ТДНС-16000/35
|
1
|
Ленэнерго
|
|
81
|
ТДТН-25000/220
|
1
|
Ленэнерго
|
|
82
|
ТРДН-63000/110
|
1
|
Ленэнерго
|
|
83
|
ТМН-2500/110
|
1
|
Нурэнерго
|
|
84
|
ТМН-6300/110
|
1
|
Пермэнерго
|
|
85
|
ТДТНЖ-40000/220
|
2
|
Приволжская ж.д.
|
|
86
|
ТДТН-16000/110
|
1
|
Ростовэнерго
|
|
87
|
ТД-10000/35
|
1
|
Самараэнерго
|
|
88
|
ТДНС-16000/35
|
1
|
Саратовэнерго
|
|
89
|
ТРДН-63000/110
|
1
|
Соликамскбумпром
|
|
90
|
ТМН-2500/110
|
1
|
Татэнерго
|
|
91
|
ТДНС-10000/35
|
1
|
Хабаровскэнерго
|
|
92
|
ТРДН-25000/110
|
1
|
Якутскэнерго
|
|
93
|
ТДТН-25000/110
|
1
|
Ярэнерго
|
|
|
2003г.
|
|
|
|
94
|
ТДН-16000/110
|
1
|
АвтоВАЗ
|
|
95
|
ТРДЦНКМ-63000/100000/110
|
1
|
АвтоВАЗ
|
|
96
|
ТРДН-25000/110
|
1
|
Балтнефтепровод
|
|
97
|
ТРДН-25000/110
|
2
|
Башкирэнерго
|
|
98
|
ТДНС-10000/35
|
2
|
Бурейская ГЭС
|
|
99
|
ТМН-4000/35
|
2
|
Бурейская ГЭС
|
|
100
|
ТРНДЦН-40000/25000/110
|
1
|
Владимирэнерго
|
|
101
|
ТРДН-25000/110
|
2
|
Воронежэнерго
|
|
102
|
ТДТН-16000/110
|
1
|
Дагэнерго
|
|
103
|
АТДЦТН-125000/220
|
1
|
Дашогуз-энерго (Туркмения)
|
|
104
|
ТДН-16000/110
|
1
|
Колэнерго
|
|
105
|
ТРДН-40000/110
|
1
|
Краснодарэнерго
|
|
106
|
ТДТНЖ-40000/220
|
1
|
Красноярская ж.д.
|
|
107
|
ТДТН-25000/110
|
1
|
Красноярскэнерго
|
|
108
|
ТМН-6300/110
|
1
|
Красноярскэнерго
|
|
109
|
ТДТН-25000/110
|
1
|
Кузбассэнерго
|
|
110
|
ТДЦ-125000/110
|
1
|
Нижегородская ГЭС
|
|
111
|
ТДНМ-63000/100000/110
|
1
|
Нижнетагильский металлургический комбинат
|
|
112
|
ТДТН-63000/110
|
1
|
Новолипецкий меткомбинат
|
|
113
|
ТДТН-16000/110
|
1
|
Оренбургэнерго
|
|
114
|
ТДНС-10000/35
|
1
|
Пермэнерго
|
|
115
|
ТДНС-16000/35
|
1
|
Пермэнерго
|
|
116
|
ТДТН-10000/110
|
1
|
Пермэнерго
|
|
117
|
ТДТН-40000/110
|
Пермэнерго
|
|
118
|
ТМТН-6300/110
|
1
|
Пермэнерго
|
|
119
|
ТДНС-16000/35
|
2
|
Рязанская НПК
|
|
120
|
ТРДН-63000/110
|
1
|
Рязанская НПК
|
|
121
|
ТДТН-16000/110
|
2
|
Самараэнерго
|
|
122
|
ТДТН-40000/110
|
1
|
Самараэнерго
|
|
123
|
ТДТН-63000/110
|
1
|
Самараэнерго
|
|
124
|
ТДЦ-125000/110
|
1
|
Сейдинская ТЭЦ (Туркмения)
|
|
125
|
ТМН-2500/110
|
1
|
Тобольские эл. Сети
|
|
126
|
ТДН-10000/110
|
2
|
Туркменэнергокомплект (Туркмения)
|
|
127
|
ТРДНС-25000/15
|
1
|
Туркменэнергокомплект (Туркмения)
|
|
128
|
ТДЦ-250000/220
|
1
|
Тюменьэнерго
|
|
129
|
ТДЦ-200000/110
|
1
|
Тюменьэнерго
|
|
130
|
ТДТН-25000/110
|
1
|
Удмуртэнерго
|
|
131
|
ТДТН-25000/110
|
1
|
Уралэнерго
|
|
132
|
ТРДН-25000/110
|
1
|
Якутскэнерго
|
|
133
|
ТДТН-25000/110
|
1
|
Янтарьэнерго
|
|
134
|
ТДН-16000/110
|
1
|
Ярэнерго
|
|
|
2004г.
|
|
|
|
135
|
ТРДН-25000/110
|
3
|
Балтнефтепровод
|
|
136
|
ТДН-10000/110
|
1
|
Башкирэнерго
|
|
137
|
ТДН-16000/110
|
1
|
Волго-Донской канал
|
|
138
|
ТДЦ-125000/110
|
1
|
Дальэнерго
|
|
139
|
ТДТНЖ-40000/110
|
1
|
Казахстан
|
|
140
|
АТДЦТН-125000/330
|
2
|
Каоининская АЭС
|
|
141
|
ТДТН-25000/110
|
1
|
Ленэнерго
|
|
142
|
ТДТН-40000/110
|
1
|
Липецкэнерго
|
|
143
|
ТДТН-63000/110
|
1
|
Невинномысская ГРЭС
|
|
144
|
ТДН-16000/110
|
2
|
|
|
Пермский завод им. Кирова
|
|
|
|
|
145
|
ТДТН-40000/110
|
1
|
Пермэнерго
|
|
146
|
ТРДН-63000/110
|
1
|
Рязанская НПК
|
|
147
|
ТДТН-25000/110
|
2
|
Туркменэнергокомплект (Туркмения)
|
|
148
|
АОДЦТН-167000/500
|
7
|
Узбекистан
|
|
149
|
ТДТН-10000/110
|
1
|
Черномортранснефть
|
|
150
|
ТДТН-16000/110
|
1
|
Чувашэнерго
|