Применение, ремонт и эксплуатация масленого трансформатора

  • Вид работы:
    Курсовая работа (т)
  • Предмет:
    Физика
  • Язык:
    Русский
    ,
    Формат файла:
    MS Word
    577,33 Кб
  • Опубликовано:
    2014-08-06
Вы можете узнать стоимость помощи в написании студенческой работы.
Помощь в написании работы, которую точно примут!

Применение, ремонт и эксплуатация масленого трансформатора

Содержание

Введение

. Технический ремонт масленого силового трансформатора

.1 Назначение трансформаторов

.2 Осмотр масленого силового трансформатора

.3 Ремонт переключателя трансформаторного переключателя системы управления (ТПСУ)

.4 Ремонт силовых трансформаторов

.5 Модернизация силовых трансформаторов

.6 Методы испытаний силовых трансформаторов

. Техника безопасности при техническом обслуживании и ремонте масленых силовых трансформаторов

3. Расчет электроснабжения ремонтного цеха

.1 Характиристика электроснабжения

3.2 Перечень оборудования

.3 Расчет электрооборудования

. Графическая часть

Введение

Одним из важнейших преимуществ переменного тока перед постоянным является легкость и простота, с которой можно преобразовать переменный ток одного напряжения в переменный ток другого напряжения. Достигается это посредством простого и остроумного устройства - трансформатора, созданного в 1876 г. замечательным русским ученым Павлом Николаевичем Яблочковым.

П.Н. Яблочков предложил способ “дробления света” для своих свечей при помощи трансформатора. В дальнейшем конструкцию трансформаторов разрабатывал другой русский изобретатель И.Ф. Усагин, который предложил применять трансформаторы для питания не только свечей Яблочкова, но и других приемников.

Важная роль в развитии электротехники принадлежит М.О. Доливо-Добровольскому. Он разработал основы теории многофазных и, в частности, трехфазных переменных токов и создал первые трехфазные электрические машины и трансформаторы. Трехфазный трансформатор современной формы с параллельными стержнями, расположенными в одной плоскости, был сконструирован им в 1891 г. С тех пор происходило дальнейшее конструктивное усовершенствования трансформаторов, уменьшалась их масса и габариты, повышалась экономичность.

В своей письменной экзаменационной работе я рассмотрел масленые силовые трансформаторы, их применения, ремонта и эксплуатации, т.к. они наиболее распространены в применении.

1.     
Технический ремонт масленого силового трансформатора

.1 Назначение трансформаторов

Трансформатором называется статический электромагнитный аппарат, преобразующий переменный ток одного напряжения в переменный ток другого напряжения той же частоты. Трансформаторы позволяют значительно повысить напряжение, вырабатываемое источниками переменного тока, установленными на электрических станциях, и осуществить передачу электроэнергии на дальние расстояния при высоких напряжениях (110, 220, 500, 750 и 1150 кВ). Благодаря этому сильно уменьшаются потери энергии в проводах и обеспечивается возможность значительного уменьшения площади сечения проводов линий электропередачи.. Трансформаторы подразделяются по мощности: 100, 135, 180, 240, 320, 420, 560, 630, 1000 кВА и т.д. Кроме трансформаторов, применяемых в системах передачи и распределения электроэнергии, промышленностью выпускаются трансформаторы: тяговые (для э. п. с), для выпрямительных установок, лабораторные с регулированием напряжения, для питания радиоаппаратуры и др. Все эти трансформаторы называют силовыми. [1]

трансформатор электроснабжение ремонт переключатель

Рис.1. Виды трансформаторов.

1.2 Осмотр масленого силового трансформатора

При осмотре масленых силовых трансформаторов (далее силовых трансформаторов) проверяют показания термометров и мановакууметров; состояние кожухов трансформаторов; отсутствие течи масла; наличие масла в маслонаполненных вводах; соответствие уровня масла в расширителе температурной отметке; состояние изоляторов, масло охлаждающих и масло сборных устройств, ошиновки и кабелей; отсутствие нагрева контактных соединений; исправности пробивных предохранителей и сигнализации; состояние сети заземления трансформаторного помещения.

Осмотры без отключения трансформаторов производят:

.        1 раз в сутки - в установках с постоянным дежурным персоналом.

.        Не реже 1 раза в месяц - в установках без постоянного дежурного персонала.

.        Не реже 1 раза в 6 мес.- на трансформаторных пунктах.

Внеочередные осмотры производят при резком изменении температуры наружного воздуха и при каждом отключении трансформатора от действия токовой или дифференциальной защиты.

Трансформатор выводят из работы при обнаружении:

1.      Потрескивания внутри трансформатора и сильно неравномерного шума;

2.      Ненормального и постоянно возрастающего нагрева трансформаторов при нормальных нагрузке и охлаждении;

.        Выброса масла из расширителя или разрыва диафрагмы выхлопной трубы;

.        Течи масла с понижением уровня его ниже уровня масломерного стекла;

.        При необходимости немедленной замены масла по результатам лабораторных анализов. У трансформаторов мощностью 160 кВА и более масло подвергают непрерывной регенерации, осуществляемой в термосифонных фильтрах или путем периодического присоединения абсорбера.

Находящееся в эксплуатации изоляционное масло подвергают лабораторным испытаниям в следующие сроки:

1.      Не реже 1 раза в 3 года для трансформаторов, работающих с термосифонными фильтрами (сокращенный анализ);

2.      После капитальных ремонтов трансформаторов и аппаратов;

.        1 раз в год для трансформаторов, работающих без термосифонных фильтров (сокращенный анализ).

Допустимость смешения разных масел при доливах его в трансформаторы мощностью 1000 кВА и более, а также смешение свежего и эксплуатационного масел должны подтверждаться лабораторным испытанием на выпадение осадка и стабильность.

Температура верхних слоев масла при номинальной нагрузке трансформатора и максимальной температуре охлаждающей среды (30°С - воздуха, 25 °С - воды) не должна превышать:

1.      70 °С в трансформаторах с принудительной циркуляцией масла и воды;

2.      75 °С в трансформаторах с принудительной циркуляцией масла и воздуха;

.        95 °С в трансформаторах с естественной циркуляцией воздуха и масла или принудительной циркуляцией воздуха и естественной циркуляцией масла.

Допускается работа трансформаторов с принудительным охлаждением масла с выключенным охлаждением, если нагрузка меньше номинальной и температура верхних слоев масла не превышает 55 °С и при минусовых температурах окружающего воздуха и температуре масла не выше 45 °С, вне зависимости от нагрузки.

Очистку и сушку трансформаторного масла от механических примесей и влаги в процессе эксплуатации производят, используя специальные установки типа ПСМ 1-3000, СМ 1-3000, адсорбционные цеолитовые, ПСМ 2-4. Опыт центрифугирования показывает, что за один цикл очистки можно повысить электрическую прочность масла до 5-7 кВ. Для глубокой и качественной очистки трансформаторного масла применяют цеолитовую установку, в которой с помощью цеолита из масла абсорбируется влага. [1]

.3 Ремонт переключателя трансформаторного переключателя системы управления (ТПСУ)

Таблица 1. Виды ремонтных операций переключателя ТПСУ [3]

Операция

Ремонтные работы

Пояснение

Проверка и ремонт переключателя для регулирования напряжения

Поворачивают несколько раз переключатель по часовой стрелке в положения I, II и III, что с ответствует фазам A, B, C. Проверяют плотность прилегания контактных колец к контактным стержням. Убеждаются в надежности паек отводов и переключателей и плотности затяжек контргайки наконечника стойки.

Наличие четкого щелчка при переключении свидетельствует об исправности механизма переключения. В переключенном положении фиксирующие шпильки должны входишь в свои гнезда. Перепайку отводов при необходимости производят припоем ПОС-40.

Установка переключателя после ремонта

Протирают место установки ветошью, смоченной в бензине. Старые уплотнение заменяют новыми.

Поверхности контактирующих деталей зачищают


.4 Ремонт силовых трансформаторов

При техническом обслуживании силовых трансформаторов, проводят их текущий ремонт, с отключением от питающей сети, в порядке реализации планово-предупредительного ремонта.

Периодичность текущих ремонтов силовых трансформаторов зависит от их технического состояния и от условий эксплуатации. Сроки текущих ремонтов устанавливаются в местных инструкциях предприятия. Однако такие ремонты надо производить не реже одного раза в год.

Текущий ремонт силовых трансформаторов с отключением от питающей сети включает наружный осмотр трансформатора, устранение обнаруженных дефектов, а также очистку изоляторов и бака. Спускают грязь из расширителя, доливают при необходимости в него масло и проверяют правильность показаний масло указателя. Проверяют спускной кран и уплотнения, осматривают охлаждающие устройства и чистят их, проверяют состояние газовой защиты и целость мембраны выхлопной трубы. Проводят также необходимые измерения и испытания.

У каждого силового трансформатора, находящегося в работе, происходит постепенный износ имеющихся в нем изоляционных материалов. Износ изоляции ускоряется вместе с повышением нагрузки. При неполной загрузке силового трансформатора износ его изоляции замедляется. За счет этого допускается в отдельные периоды перегрузка трансформатора, которая не сокращает нормальный срок его работы.

Современные силовые трансформаторы при номинальном первичном напряжении работают с большими величинами магнитной индукции. Поэтому даже небольшое увеличение первичного напряжения вызывает повышенный нагрев стали трансформатора и может угрожать его целости. В связи с этим при эксплуатации трансформатора величина подведенного напряжения ограничивается и ее необходимо контролировать. Максимально допустимое превышение первичного напряжения принимается для трансформаторов равным 5% от напряжения, соответствующего данному ответвлению.

Особенностью силовых трансформаторов, работающих с принудительным охлаждением масла, является быстрое повышение температуры масла при прекращении работы системы охлаждения. Однако учитывая значительную теплоемкость трансформаторов, допускают их работу в аварийных режимах при прекращении циркуляции масла или воды, а также при остановке вентиляторов. Предельная длительность работы трансформаторов в указанных условиях определяется местными инструкциями. В инструкциях учитываются как результаты предыдущих испытаний, так и заводские данные трансформаторов. Но при всех условиях работу трансформаторов при прекращении системы охлаждения допускают не больше, чем в течение одного часа.

Величина сопротивления изоляции обмоток силовых трансформаторов не нормируется, тем не менее, эта характеристика относится к числу важнейших показателей состояния трансформатора и ее систематически контролируют, сравнивая с величиной, которая имела место при вводе трансформатора в эксплуатацию. Измерения производят при одинаковой температуре и одинаковой продолжительности испытания (обычно 1 мин). Величина сопротивления изоляции обмоток трансформатора считается удовлетворительной, если она составляет не менее 70% от первоначального значения.

Фразировка трансформаторов производится перед их включением в эксплуатацию после монтажа или со сменой обмоток. Перед тем как включить трансформатор после текущего ремонта, проверяют результаты предписанных испытаний и измерений. Релейную защиту трансформатора устанавливают на отключение. После этого тщательно осматривают трансформаторную установку. При осмотре установки обращают внимание на состояние системы управления и сигнализации, а также на положение коммутационной аппаратуры.

Увлажнение масла и старение изоляции обмоток, как правило, влекут за собой серьезные неисправности - замыкание на корпус (пробой на корпус) и междуфазные замыкания в обмотках трансформатора.

Иногда происходит обрыв электрической цепи в результате отгорания отводов обмотки, разрушения соединений из-за низкого качества пайки или сварки отводов.

В отдельных случаях встречается неисправность в виде "пожара в стали", которая бывает вызвана нарушениями межлистовой изоляции или изоляции стяжных болтов, а также образованиями короткозамкнутого контура при повреждении изоляционных прокладок между ярмом и магнитопроводом. Это повреждение приводит к возрастанию нагрева корпуса и масла при нормальной нагрузке, гудению и потрескиванию трансформатора.

Увеличение тока холостого хода по сравнению с заводскими данными, как правило, происходит за счет ослабления шихтованного пакета магнитопровода.

Перегрев трансформатора может определяться низким уровнем масла, в результате чего обнаженная часть обмотки и активной стали перегреваются. Убедившись в отсутствии течи масла из бака, доливают масло до нормального уровня. Пробой обмоток на корпус или между обмотками высшего и низшего напряжений, или между фазами одного напряжения чаще всего происходит за счет перенапряжения, резкого ухудшения качества масла, понижения уровня масла, старения изоляции.

Трещины в изоляторах, понижение уровня масла в трансформаторе при загрязнении их внутренней поверхности приводят к пробою вводов на корпус, а при повреждении изоляции отводов - к перекрытию между вводами отдельных фаз.

Нарушение регулировки переключающего устройства приводит к отсутствию контакта, а термическое воздействие на контакты при коротких замыканиях вызывает оплавление контактной поверхности переключателя напряжения трансформатора.

Поэтому для определения категории ремонта проводят дефекацию трансформатора, т.е. комплекс работ по выявлению характера и степени повреждения его частей. На основании дефекации определяют причины и масштабы повреждений, объем и технологическую последовательность ремонта трансформатора, а также необходимые материалы, инструменты, приспособления для производства ремонта.

Последовательность операций при разборке трансформатора состоит в следующем. Из расширителя сливают масло, снимают газовое реле и расширитель и ставят заглушку на отверстие в крышке бака. С помощью грузоподъемных устройств (кран, таль) стропами за кольца поднимают крышку с активной частью трансформатора. Приподняв ее на 10 - 15 см, осматривают состояние и положение уплотняющей прокладки, отделяют ножом ее от рамы бака и сохраняют для повторного применения. После этого извлекают из бака активную часть.

У трансформаторов небольшой мощности иногда вводы расположены на стенках бака. В этом случае вначале снимают крышку, сливают масло из бака на 10 см ниже изоляторов ввода и, отсоединив вводы, снимают изоляторы, а затем вынимают активную часть. Разборку, осмотр и ремонт трансформатора производят в сухом закрытом и приспособленном для производства таких работ помещении. Вынув полностью активную часть из бака и приподняв ее на 20 см, бак отодвигают в сторону, а активную часть устанавливают на сколоченном из оструганных чистых досок помосте высотой 30 - 50 см для удобства осмотра, дальнейшей разборки и ремонта.

При техническом ремонте трансформатора с выемкой активной части проверяют состояние отдельных блоков:

магнитопровода - плотность сборки и качество шихтовки; прочность креплений ярмовых балок;

состояние изоляционных гильз, шайб и прокладок, степень затяжки гаек, шпилек, стяжных болтов;

состояние заземления;

обмоток - расклиновку на стержнях магнитопровода и прочность посадки обмоток;

отсутствие следов повреждений;

состояние изоляционных деталей;

прочность соединений выводов, демпферов;

переключающих устройств - прочность присоединений отводов обмоток и состояние контактов переключателя;

четкость действия механизма;

целость изоляции отводов, прочность крепления всех деталей переключателя;

внешних частей - расширителя, бака, наружной части вводов, пробивного предохранителя;

масло указателей и других приборов, отсутствие вмятин на циркуляционных трубах и течи масла из сварных швов, фланцевых и других уплотнений. Для снятия отмоток отвертывают верхние гайки вертикальных и гайки горизонтальных шпилек, вынимают их из отверстий в ярме, снимают ярмовые балки. После этого приступают к расшихтовке верхнего ярма магнит провода, начиная с крайних пакетов, вынимая по две-три пластины. Снятые пластины складывают в той же последовательности, в какой извлекали из ярма, и связывают в пакеты. После разборки верхнего ярма приступают к демонтажу обмоток.

Ремонт обмоток является одной из наиболее ответственных операций. Провод поврежденных катушек трансформаторов используют для дальнейшей эксплуатации. Для этого катушку обжигают в печи при температуре 450-500 °С, разрыхляют старую изоляцию и полностью очищают провод. После очистки провод рихтуют, протягивая между сжатыми деревянными плашками, изолируют кабельной бумагой или тафтяной лентой в два слоя с перекрытием одного на другой. Для этого используют специальные изолировочные станки или приставки к токарному станку. Обмотки наматывают на шаблон, на который предварительно намотан слой электротехнического картона толщиной 0,5 мм. Катушку пропитывают лаком ТФ-95 и запекают при температуре 100 °С в течение 10 ч в печи.

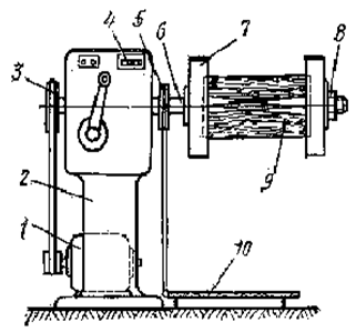
Для намотки новых катушек трансформаторов небольшой и средней мощности используют различные станки. На рис. 2 показан консольный намоточный станок, предназначенный для намотки катушек трансформаторов мощностью до 630 кВА. Электродвигатель вмонтирован в станину 2 станка. Шаблон представляет собой два деревянных встречных клина 9, зажатых текстолитовыми дисками 7 и закрепленных гайками 8. Шаблон установлен на консольном шпинделе 6 станка, и вращение ему передается от электродвигателя через ременную передачу. Станок снабжен счетчиком витков 4, учитывающим число витков провода, намотанных на шаблон (катушку). Для снятия с шаблона готовой катушки достаточно отвернуть гайку 5, снять правый диск и развести клинья 9 шаблона. Пуск и остановку станка производят педалью 10, соединенной с муфтой сцепления 5.

Клиновой шаблон можно также установить на валу, закрепленном в кулачке обычного токарного станка.

При намотке катушек барабаны с проводом устанавливают на козлы и специальным зажимом обеспечивают необходимое натяжение провода при намотке.

 

Рис. 2. Консольный станок для намотки обмоток трансформатора: 1- электрический двигатель, 2- станина, 3 - ременная передача, 4 - счетчик витков, 5 - муфта сцепления, 6 - шпиндель, 7 - текстолитовый диск, 8 - гайка, 9 - клинья шаблона, 10 - педаль управления станком.

Конец провода закрепляют петлей тафтяной ленты в вырезе упорного диска и пускают намоточный станок. При намотке катушки пользуются чертежами и расчетной запиской.

При ремонте трансформатора осматривают и ремонтируют все его части: бак, расширитель, вводы, переключатель напряжения, термосифонный фильтр.

Внутреннюю поверхность бака очищают металлическим скребком, после чего промывают отработанным маслом.

Ремонт расширителя заключается в проверке целости стеклянной трубки масло указателя, исправности запорного болта, состояния уплотняющих прокладок. Если при осмотре выявлено, что неисправно плоское стекло или треснула стеклянная трубка маслоуказателя, а также повреждены и потеряли упругость резиновые прокладки, то во время ремонта эти детали и уплотнения меняют. Прокладки изготовляют из маслостойкой резины. Со дна расширителя удаляют осадок и влагу, промывают его чистым маслом. Проверяют исправность крана, находящегося на маслопроводе между баком и расширителем. Если пробка крана неплотно прилегает к месту посадки в корпусе крана, то эти поверхности притирают мелким абразивным порошком, а непригодную сальниковую набивку заменяют новой, которую готовят из асбестового шнура, пропитанного в смеси из жира, парафина и графитового порошка.

В трансформаторах старых конструкций для ремонта фланцевых вводов необходимо снимать крышку и вынимать активную часть из бака. В настоящее время применяются съемные вводы и замену фарфоровых изоляторов производят без подъема активной части. Для этого достаточно отвернуть с токопроводящего стержня верхние гайки, раскрепить устройство, прижимающее ввод к крышке, снять с ввода колпак и находящееся под ним уплотняющее резиновое кольцо, после чего заменить изолятор и собрать ввод вновь.

Наиболее часто в армированных вводах повреждаются армированные швы в том месте, где соединяются фарфоровые изоляторы с металлическими фланцами. Причиной этого повреждения является воздействие на изолятор переменных температур, которые вызывают значительные механические усилия вследствие различных коэффициентов расширения металла и фарфора. Если на изоляторе обнаружены сколы площадью не более 3 см2 или царапины глубиной не более 0,5 мм, то эти места промывают бензином и покрывают двумя слоями бакелитового лака, просушивая каждый слой в сушильном шкафу при температуре 50-60 °С.

Вводы, в которых армированные швы разрушены менее чем на 30% относительно длины окружности, ремонтируют. Для этого расчищают зубилом поврежденный участок шва и заливают вводы новым цементирующим составом (Рис. 3). При размерах разрушения армированного шва более 30% ввод пере армируют. Цементирующий состав на порцию для одного ввода приготовляют из смеси, состоящей (по массе) из 140 ч. магнезита, 70 ч. фарфорового порошка и 170 ч. раствора хлористого магния. Этот состав пригоден к использованию в течение 20 мин.

Рис. 3. Операции переармировок ввода: а - удаление старой цементирующей замазки, б - установка ввода в приспособление и заливка цементирующим составом

 

Рис. 4. Термосифонный фильтр: 1 - воздушный кран, 2 - загрузочный люк, 3 - абсорбент, 4 - спускная пробка, 5 - разгрузочный люк

Термосифонный фильтр (рис. 4), служащий для непрерывного восстановления трансформаторного масла, при ремонте очищают от остатков старого сорбента, промывают внутреннюю полость трансформаторным маслом, заполняют новым поглощающим веществом и прочно присоединяют к баку трансформатора фланцевыми соединениями. При ремонте переключателей проверяют качество контактных соединений. Слегка закопченные контакты очищают, промывают бензином и трансформаторным маслом, сильно обгоревшие и оплавленные контакты опиливают напильником, а разрушенные - заменяют новыми. В переключателях могут быть повреждения изоляционных деталей (трубка, цилиндр) в виде сколов, трещин, нарушений лаковой поверхности и царапин. Небольшие повреждения изоляции восстанавливают путем покрытия их двумя слоями бакелитового лака, а детали, имеющие большие сколы и трещины, заменяют.

После ремонта переключатель собирают, протирают ветошью место установки, осматривают сальниковое уплотнение и при необходимости заменяют. Затянув сальниковую пробку, ставят на место ручку переключателя и затягивают шпильки.

Качество работы переключателя проверяют путем изменениям положения его для определения плотности прилегания контактных колец к контактным стержням. При переключении в положение І, II и III, что соответствует фазам А, В и С, должны быть четко слышны щелчки, а фиксирующие шпильки в переключаемых положениях должны входить в свои гнезда.

Процесс сборки трансформатора после ремонта состоит из насадки обмоток и их расклинивания, шихтовки и прессовки верхнего ярма магнитопровода, сборки и соединения схемы обмоток. До начала насадки обмоток стержни магнитопровода плотно стягивают лентой, пропущенной через отверстия в них.

Насадка обмоток на стержни магнитопровода трансформатора начинается с крайних фаз обмоток низшего напряжения, а затем на них устанавливают обмотки высшего напряжения. Насадку производят без применения молотков, так как это может привести к деформации обмоток и повреждению изоляции. Отводы обмоток низшего и высшего напряжений располагают с противоположных сторон.

Шихтовка ярма заключается в последовательной установке пластин ярма магнитопровода, при которой один их слой располагается между слоями пластин стержня, а следующий - встык с этим слоем. Хорошо сшихтованное ярмо не имеет зазоров между слоями пластин, пропусков и перекрытий в месте стыка.

Рис. 5. Изоляция ярмовых балок и стяжных шпилек от активной стали: а - магнитопровода трансформатора мощностью до 630 кВ*А, б - магнит провода трансформатора мощностью 1000 кВ*А и более;1 - бумажно-бакелитовая трубка, 2 - стальные шайбы, 3 - шпилька, 4 - гайка, 5 - электрокартонная шайба, 6 - электрокартонная прокладка, 7 - ярмовая балка, 8 - изоляционная втулка, 9 - ярмо.

На (рис. 5) показаны варианты изоляции ярмовых балок и стяжных шпилек в трансформаторах мощностью до 630 кВ*А и выше 1000 кВ*А.

В трансформаторах I и II габаритов ярмовые балки изолируют от пластин электро картонной прокладкой (Рис. 5, а) толщиной 2 - 3 мм, а в трансформаторах III габарита применяют такие же прокладки, но с приклепанными к ним вертикальными картонными планками, которые образуют масляные каналы (рис.5, б).

Ярмовые балки устанавливают с обеих сторон верхнего ярма магнитопровода, а в отверстия в полках балок вводят четыре вертикальные стяжные шпильки с бумажно-бакелитовыми трубками. На концы шпилек надевают картонные и стальные шайбы и затягивают гайками.

Заземление верхних ярмовых балок осуществляют несколькими медными лужеными лентами, которые устанавливают одним концом между пластинами верхнего ярма на расстоянии 10 - 15 см от края пакета и на глубину 65 - 70 мм, а другой ее конец зажимают между ярмовой балкой и активной частью на стороне низшего напряжения. Медная луженая лента имеет размеры 0,3x30x120 мм.[3]

.5 Модернизация силовых трансформаторов

Модернизация является самым сложным видом ремонтных работ, во время которой изменяются номинальные параметры, а соответственно и конструкция отдельных частей трансформатора. Наибольшие трудности возникают в случае необходимости повышения мощности трансформатора. В принципе повышение мощности трансформатора в существующих габаритах возможно за счет лучшего использования магнитопровода, т.е. повышения магнитной индукции; вложения в те же габариты большего количества большей массы металла обмоточного провода; более эффективной системы охлаждения; общего комплекса всех указанных факторов.

К сожалению, увеличение мощности за счет повышения магнитной индукции, принятой заводом исключается, т.к. готовый магнитопровод обычно рассчитан на оптимальную магнитную индукцию. В практике модернизации мощность увеличивают как правило или за счет размещения в тех же габаритах большей массы металла обмоточного провода или за счет применения более эффективной системы охлаждения, или за счет одновременного использования этих двух мероприятий.

Кроме увеличения мощности возможно изменение напряжения по высокой и низкой сторонам, смена группы соединения. [5]

1.6 Методы испытаний силовых трансформаторов

Измерения и испытания масляных силовых трансформаторов, автотрансформаторов, масляных реакторов и заземляющих дугогасящих реакторов (в дальнейшем, трансформаторов) в процессе подготовки и монтажа, проведении приемо-сдаточных испытаний производятся в соответствии с требованиями гл.1.8 ПУЭ, РТМ 16.800.723-80, ОАХ.458.000-73 и гл. 6 "Нормы испытания электрооборудования".

Измерения и испытания трансформаторов, находящихся в эксплуатации, производится в соответствии с требованиями "Нормы испытания электрооборудования и аппаратов электроустановок потребителей" (приложение 1 ПЭЭП). Измерения и испытания проводятся при капитальном ("К") и текущем ("Т") ремонтах, а также в межремонтный ("М") период (профилактические испытания, не связанные с выводом электрооборудования в ремонт). [3]

2. Техника безопасности при техническом обслуживании и ремонте масленых силовых трансформаторов

Требования безопасности перед началом работ.

. Подготовить необходимый для выполнения данной работы инструмент, приспособления и средства защиты, проверить внешним осмотром и убедиться в их исправности.

. Надеть спецодежду и средства индивидуальной защиты.

. При выполнении работы по распоряжению - получить целевой инструктаж.

. На распределительном силовом щите (РСЩ) отключить рубильник блока профилактируемой камеры. На рукоятке рубильника повесить плакат «Не включать! Работают люди».

. Произвести разряд конденсаторов выпрямителей; открыть дверь трансформаторной камеры и индикатором низкого напряжения убедиться в отсутствии напряжения на блок-контактах контактора выхода.

. При осмотре трансформатора необходимо проверить:

а) состояние кожухов трансформаторов и отсутствие течи масла;

б) соответствие уровня масла в расширителе температурной отметке;

в) состояние маслосборных устройств и изоляторов;

д) состояние сети заземления;

е) состояние трансформаторного помещения.

Требования безопасности во время работы.

. Запрещается:

Производить работы и переключения на трансформаторе, включенном в сеть хотя бы с одной стороны.

Оставлять переключатель в промежуточном положении без фиксации.

Эксплуатировать трансформатор с поврежденными вводами (трещины, сколы).

Эксплуатировать трансформатор без масла или при понижении уровня масла в расширителе ниже температурной отметки.

Эксплуатировать трансформатор при несоответствии отобранного масла нормам качества по результатам физико-химического анализа.

Включать трансформатор без заземления блока.

. Во время работы разрешается пользоваться переносной лампой напряжением не выше 12 В.

. Доливка масла производится с помощью широкой воронки и специальным сосудом, емкостью до 3-х литров.

. При пользовании гаечными ключами их следует подбирать по размерам гаек. Отвертывать гайки ключами большого размера с прокладкой металлических пластинок между гранями гайки и ключа, удлинять гаечные ключи вторым ключом или трубой запрещается.

. При обслуживании масляных трансформаторов запрещается применение металлических лестниц и стремянок.

. Прежде, чем приступить к работе на лестнице, необходимо обеспечить ее устойчивость.

. Запрещается эксплуатация трансформаторов при обнаружении:

Сильного неравномерного шума и потрескивания трансформатора.

Ненормального и постоянного возрастающего нагрева трансформатора при нормальных нагрузке и охлаждении.

Выброса масла из расширителя.

Течи масла с понижением его уровня ниже уровня масломерного стекла.

Требования безопасности в аварийных ситуациях.

. В случае возникновения пожара в трансформаторной камере:

Выключить всю аппаратуру на станции проводного вещания (СПВ).

Вызвать пожарную команду.

Приступить к тушению пожара углекислотными огнетушителями (в крайнем случае - песком).

Требования безопасности по окончании работы.

. Убрать из трансформаторной камеры ветошь, инструмент, переносной электроинструмент.

. Внешним осмотром убедиться в отсутствии подтеков масла.

. Закрыть на замок дверь трансформаторной камеры.

. Включить рубильник на распределительном щите (РСЩ).

. Снять запрещающий плакат.

. Включить аппаратуру, проверить режимы работы.

. Убрать спецодежду в специально отведенное место.

. Вымыть руки теплой водой с мылом.

. О всех недостатках по охране труда, обнаруженных во время работы, необходимо известить непосредственного руководителя. [6]

3. Расчет электроснабжения ремонтного цеха

3.1 Характиристика электроснабжения

Специализация ремонтного цеха. Цех предназначен для ремонтов автотранспорта и стоянки автомобилей. Среда ремонтного цеха нормальная.

Электрооборудование и РУ (НН)

В качестве электрооборудования распределительного устройства низкого напряжения используется автомат АП50Б-3М3ТД-40А.

Электродвигатели.

В качестве электропривода технологического оборудования применяются асинхронные электродвигатели.

.2 Перечень оборудования

. Наждачный станок 3.5 кВт АМХ132М4У3 Cos f=0.85

. Компрессор 7 кВт А4АММУ225М2У3 Cos f= 0.89

. Тельфер 3.2 кВт А234ААМС100S49 Cos f=0.85

. Стенд для ремонта топливной аппаратуры 2.2 кВт АМХ132М4У3 Cos f=0.85

. Освещение 14шт по 500Вт

.3 Расчет электрооборудования

Наждачный станок Р=3500 Вт.

I = Р / √3 U·cosµ

I =3500/ 1,73·380·0,85 =6,26 А

Согласно таблице допустимых длительных токовых нагрузок выбираем сечение провода 2.5 ммІ.

Мы выбираем провод марки АППВ 4Ч2.5.

Провод с алюминиевой жилой с поливинилхлоридной изоляцией, плоский, с раздельным основанием.

Выбор пускозащитной аппаратуры.

Выбираем магнитный пускатель серии ПМЛ-121.

Величина 1, 2 пылезащещенные, 1 без теплового реле не реверсивным.

Выбираем автомат марки АП50Б-2МН-6,3

Компрессор Р=7000Вт

I = Р / √3 U·cosµ

I =7000/ 1,73·380·0,85 =11,96 А

Согласно таблице допустимых длительных токовых нагрузок выбираем сечение провода 2.5 ммІ.

Мы выбираем провод марки АППВ 4Ч2.5

Провод с алюминиевой жилой с поливинилхлоридной изоляцией, плоский, с раздельным основанием.

Выбор пускозащитной аппаратуры

Выбираем магнитный пускатель серии ПМЛ-121

Величина 2, 2 пылезащещенные, 1 без теплового реле не реверсивным.

Выбираем автомат марки АП50Б-2М3ТО-16

Тельфер Р=6400Вт


I =6400/ 1,73·380·0,89 =11,45 А

Согласно таблице допустимых длительных токовых нагрузок выбираем сечение провода 0.75 ммІ.

Мы выбираем провод марки ПРД 4Ч0.75.

Провод с медной жилой, гибкий, с резиновой изоляцией в непропитанной оплетке.

Выбор пускозащитной аппаратуры.

Выбираем магнитный пускатель серии ПМЛ-221.

Величина 2, 2 пылезащещенные, 1 без теплового реле не реверсивным.

Выбираем автомат марки АП50Б-2М3ТО-16.

Стенд для ремонта топливной аппаратуры Р=2200 Вт.

I = Р / √3 U·cosµ

I =2200/ 1,73·380·0,85 =3,93 А

Согласно таблице допустимых длительных токовых нагрузок выбираем сечение провода 2.5 ммІ.

Мы выбираем провод марки АППВ 4Ч2.5.

Провод с алюминиевой жилой с поливинилхлоридной изоляцией, плоский, с раздельным основанием.

Выбор пускозащитной аппаратуры.

Выбираем магнитный пускатель серии ПМЛ-121.

Величина 1, 2 пылезащещенные, 1 без теплового реле не реверсивным.

Выбираем автомат марки АП50Б-2МН-6,3. освещение Р=7000 Вт

Ру=Р1+Р2+Р3 Pу=500∙14=7000Вт

Р= Рр∙Кс Р=7000∙0,8=5600Вт=P ∕ U I=5600∕ 220=25,45 A

Согласно таблице допустимых длительных токовых нагрузок выбираем сечение провода 4,0 ммІ.

Мы выбираем провод марки АППВ 2Ч4,0

Провод с алюминиевой жилой с поливинилхлоридной изоляцией, плоский, с раздельным основанием.

Выбираем автомат марки АП50Б-3М3ТД-40А.

Расчет ввода

Робщ=Р1+Р2+Р3

Робщ=3500+7000+6400+2200+5600=24700 Вт

I=P/√3Ч380=24700/√3Ч380=37,57 А

Согласно таблице допустимых длительных токовых нагрузок выбираем сечение провода 6,0 ммІ.

Мы выбираем провод марки АППВ 3Ч6,0+1Ч4,0.

Провод с алюминиевой жилой с поливинилхлоридной изоляцией, плоский, с раздельным основанием.

Выбираем автомат марки АП50Б-3М3ТД-40А.

4. Графическая часть

План электроснабжения ремонтного цеха.


План заземления ремонтного цеха.

Похожие работы на - Применение, ремонт и эксплуатация масленого трансформатора

 

Не нашли материал для своей работы?
Поможем написать уникальную работу
Без плагиата!
Без нейросетей!